Технологии и машины для посева зерновых культур

  • Вид работы:
    Контрольная работа
  • Предмет:
    Сельское хозяйство
  • Язык:
    Русский
    ,
    Формат файла:
    MS Word
    679,93 Кб
  • Опубликовано:
    2015-06-29
Вы можете узнать стоимость помощи в написании студенческой работы.
Помощь в написании работы, которую точно примут!

Технологии и машины для посева зерновых культур














Контрольная работа

Технологии и машины для посева зерновых культур

Введение

Одним из путей увеличения производства зерна является повышение производительности и качества работы сельскохозяйственной техники, занятой на возделывании и уборке зерновых культур.

В общем комплексе технологических операций и приемов при возделывании зерновых важнейшее значение имеют основная и предпосевная обработка почвы и посев, отличительной особенностью которого при интенсивной технологии возделывания является образование технологической колеи. Это позволяет во время вегетации провести многократные подкормки растений минеральными удобрениями, внести ретарданты, обеспечить химическую защиту посевов от сорняков, болезней и вредителей.

Качество выполнения этих технологических операций определяется выбором технических средств для их выполнения, их техническим состоянием, настройкой, регулировкой и проведением работ в оптимальные агротехнические сроки. При этом агрегаты должны быть взаимоувязаны по ширине захвата, производительности, ширине колеи, качеству работы.

1. Агротехнические и технологические требования к посеву зерновых культур при интенсивной технологии возделывания

В зависимости от имеющихся в хозяйстве технических средств применяют рядовой посев с междурядьями 12,5 см и 15 см, а также узкорядный (6,25 и 7,5 см) с образованием технологической колеи, а при использовании сеялок С-6, С-6Т, СЗ-5,4 и с одновременным внесением в рядки гранулированного суперфосфата или аммофоса в дозе до 50 кг/га. При использовании сеялок типа СПУ перед предпосевной обработкой почвы необходимо внести недостающие в почве микроэлементы, а также стартовую дозу фосфорных удобрений. Семена должны быть протравлены.

Посев должен быть проведен в оптимальные агротехнические сроки. В каждом хозяйстве сроки сева как озимых, так и яровых должны корректироваться в зависимости от погодных условий, влажности, состава почвы, высеваемой культуры. Следует учесть, что почти 20% урожая теряется из-за нарушения сроков выполнения посевных работ.

При определении нормы высева следует учитывать качество семян, оцениваемое хозяйственной годностью и полевой всхожестью, которые определяются в лабораторных условиях.

Сеялки должны обеспечивать высокую равномерность высева по ширине захвата, глубине заделки и ходу движения. Максимальное отклонение высева между отдельными высевающими аппаратами допускается в пределах ±4%, всеми аппаратами ±3%. Повреждение семян высевающими аппаратами не должно превышать 1% для зерновых и 2% для зернобобовых. Глубина заделки семян в подготовленную под посев почву зависит от влажности, механического состава почвы, сроков посева и высеваемой культуры. На тяжелых почвах семена высевают на глубину 2 - 3 см, на средненесуглинистых, супесчаных и торфяных - на 3 - 4 см. При запаздывании с посевом и пересыхании почвы глубину увеличивают на 1 - 2 см. Отклонение глубины заделки семян от заданной не должно превышать 15%. Наличие незаделанных в почву семян не допускается. Отклонение ширины стыковых междурядий смежных проходов от основных не должно превышать 15 см.

Норма высева семян (4 - 6 млн. шт/га) зависит от сорта, типа почвы, климатических условий, состояния поля, степени и характера засоренности. В условиях нашей республики по чистому и удобренному полю в начале оптимального срока сева зерновых культур достаточно высевать 4 млн. шт/га (200 кг/га) всхожих семян. В условиях Дании нормы высева зерновых культур корректируются в зависимости от сроков сева, качества предпосевной обработки почвы, массы 1000 зерен (табл. 1).

Таблица 1. Нормы высева семян зерновых культур в условиях Дании, кг/га

Сроки сева

Прохладный климат

Умеренный климат


Масса 1000 зерен

Масса 1000 зерен


45

50

55

45

50

55

До 1 сентября

113

125

138

88

97

107

1 - 5

125

139

153

100

111

122

6 - 10

138

153

168

113

125

138

11 - 15

150

167

183

125

139

153

16 - 20

163

181

199

138

153

168

21 - 25

175

194

214

150

167

183


Поле перед посевом должно быть обработано на глубину заделки семян, не иметь свальных гребней и развальных борозд, скрытых глыб, крупных комков диаметром более 5,0 см, пожнивных остатков. Объемная масса почвы на глубине заделки семян должна составлять 1,1 - 1,25 г/см3. Влажность подготовленной под посев почвы в слое 0 - 10 см не должна превышать 22%. Поворотные полосы засевают сразу после посева основного поля. При посеве должна строго соблюдаться прямолинейность рядков и образование технологической колеи для последующего ухода за посевами.

Рис. .1.Схема оптимальной  заделки семян

В условиях Могилевской и Витебской областей для получения высоких урожаев и снижения себестоимости зерновых и зернобобовых культур весьма важно выбрать норму высева семян на гектар. В условиях нашей республики норма высева семян зерновых культур устанавливается в пределах 4-5 млн. шт/га (200 - 220 кг/га).

Норму высева семян для получения оптимального количества растений на 1м2 необходимо корректировать в зависимости от качества посевного материала, срока посева, температуры воздуха, сорта, получения оптимального количества растений на 1м2, качества подготовки почвы и др. При некачественной предпосевной подготовке почвы, запаздывании со сроками посева необходимо дифференцированное увеличение норм высева семян с целью недопущения изреженности и снижения урожайности высеваемой культуры.

Поверхность засеянного поля должна быть ровной, без следов колес трактора, сцепки и сеялок.

зерновой сеялка комбинированный агротехнический

2. Условия качественного посева зерновых культур при интенсивной технологии возделывания

Наукой установлено и практикой подтверждено, что урожай сельскохозяйственных культур на 25% зависит от качественной и своевременной обработки почвы и на 25% - от качества посева.

.1 Обработка почвы под посев зерновых культур

Многократные проходы однооперационной техники приводят к уплотнению пахотных и подпахотных слоев почвы до 1,47- 1,69 г/см3, что близко к критической (1,6 - 1,7 г/см3). Для устранения этого недостатка необходимо применять разуплотнение почвы или использовать комбинированные почвообрабатывающие машины и агрегаты. Предприятиями Республики Беларусь созданы и выпускаются новые конструкции почвообрабатывающих машин и орудий и рабочих органов к ним на основе новейших достижений науки и практики в области сельхозмашиностроения. Применение их в хозяйствах позволяет повышать качество работ при обработке почвы, снижать расход топлива и затраты труда, увеличивать производительность, выполнять работы в оптимальные агросроки.

Под озимые зерновые культуры - рожь, пшеницу, озимое тритикале - рекомендуется приведенная ниже последовательность выполнения технологических операций предпосевной подготовки почвы:

лущение стерни за уборкой предшественников (на легких почвах):

а) дисковыми лущильниками ЛДГ-5 или ЛДГ-10, на средних и тяжелых почвах);

б) дисковыми боронами БДТ-7, Л-113 или чизельными культиваторами КЧ-5,1; КЧ-5,1М с приставками ПК-5,, ПКД-5,1; КПЧ-6; КПМ-4; КПС-6М; КНЧ-4,2; АЧУ-2,8);

вспашка через 10 - 15 дней после лущения и вслед за внесением минеральных и органических удобрений на глубину 20 - 22 см плугами с соответствующими приспособлениями ПВР-3,5 или ПВР-2,3; ПП-2,8; ПП-2 для разрушения глыб, уплотнения и выравнивания почвы. Заделку развальных борозд производят секциями тяжелой дисковой бороны;

предпосевная обработка почвы комбинированными агрегатами АКШ-3,6; АКШ-6; АКШ-7,2; АКШ-9; АПУ-6,5; АПВ-4,5; АКП-3; АКП-4; АКП-6.

На засоренных полях и при повышенной влажности на глинистых почвах вместо комбинированных агрегатов типа АКШ следует применять агрегаты для предпосевной подготовки почвы КП-3; КПН-8,4; КНС-6,3; КСО-6; КПН-5,6; КПС-6М; КСО-4; КНС-4; КПН-4; КПМ-4 и др. Если после культивации почва остается чрезмерно вспушенной или глыбистой, то ее следует прикатать катками, установленными на комбинированных агрегатах АКШ, выглубив из почвы S-образные зубья.

Весной предпосевная обработка почвы под посев яровых культур (ячменя, овса, пшеницы) начинается с раннего весеннего боронования или культивации на глубину до 8 см с целью закрытия влаги, а финишная обработка - комбинированными агрегатами типа АКШ. При отсутствии последних обработку можно проводить культиваторами типа КПС; КПН; КПМ и др. На глинистых и сильно уплотненных почвах используют чизельные культиваторы КЧ-5,1; КЧ-6; КНЧ-4,2; КПМ-4 с набором сменных рабочих органов на глубину до 30 см с целью разрушения плужной подошвы. Требованиям предпосевной обработки почвы под яровые культуры наиболее полно отвечает следующая схема: ранневесенняя культивация + предпосевная культивация с боронованием и прикатыванием комбинированными агрегатами типа АКШ с учетом состояния почвы и погоды.

Последнюю предпосевную обработку почвы необходимо проводить перед посевом без разрыва во времени, иначе проростки сорняков будут обгонять в развитии и росте культурные растения и угнетать их.

В Дании и других странах Западной Европы вспашка почвы совмещается с предпосевной обработкой за счет использования дополнительных приспособлений к оборотным плугам - кольчато-зубчатых катков, роторных боронок и комбинированных агрегатов на базе вертикально-роторной бороны.

.2 Современные сеялки для посева зерновых культур

В настоящее время хозяйства используют пневматические сеялки СПУ-6; СПУ-4; СПУ-3, С-6, С-6Т производства Республики Беларусь, выпускаемые на предприятиях ПО «Лидагропроммаш» и «Брестский электромеханический завод». Кроме того, находят применение зернотуковые сеялки СЗ-5,4, выпускаемые заводами «Красная Звезда» (Украина), "Белинсксельмаш" (Россия) и др.

Опыт использования сеялок типа СПУ показал, что на глинистых и тяжелых суглинистых почвах и засоренных полях они не всегда в полной мере обеспечивают агротехнические требования заделки семян по глубине. В связи с этим сеялки типа СПУ выпускаются в настоящее время с килевидными (СПУ-6(4;3)) и дисковыми (СПУ-6Д(4;3Д)) сошниками.

В Республике Беларусь на предприятии ОАО "Брестский электромеханический завод" выпускаются комбинированные агрегаты АПП-3, АПП-4,5, АПП-6 к тракторам «Беларус-800/820», «Беларус-1221», «Беларус-1522», которые совмещают предпосевную обработку почвы с посевом и обеспечивают высокий технологический и экономический эффект.

Сеялки типа СЗ-5,4, укомплектованные дисковыми сошниками, могут хорошо работать как на отвальных, так и на мульчированных агрофонах, а также при минимальной подготовке почвы к посеву; однако они имеют большую металлоемкость, громоздкость, неравномерно заделывают семена по глубине, особенно по следам колес трактора, где разброс по глубине находится в пределах 0 - 10 см, и не обеспечивают уплотненное ложе для семян. При использовании килевидных и катковых сошников на хорошо выровненных почвах колебания составляют 0,6 - 1,1 см, они образуют уплотненное ложе для семян.

Зернотуковые сеялки типа СЗ-5,4 комплектуются разными сошниковыми группами (анкерными, килевидными, одно- и двухдисковыми, катковыми и др.) для различных почвенно-климатических зон. В зависимости от типа почв применяется та или другая сошниковая группа: на легких окультуренных, песчаных и супесчаных - килевидные и анкерные; на средних, тяжелых глинистых - дисковые. Кроме этого разные типы почв требуют неодинаковой предпосевной обработки почвы. Наличие пожнивных, растительных остатков, а также камней влияет на качество подготовки почвы и не позволяет применять в любых условиях одну какую-либо сошниковую группу (табл. 2).

В БГСХА разработана однодисковая сошниковая группа с опорно-прикатывающими каточками к серийной зернотуковой сеялке СЗ-5,4, представленная на рис. 2, в которой устранены недостатки серийных сошников.

     

Рис..2. Однодисковая сошниковая группа: к сеялке СЗ-5,4: а,б - схемы работы сошников; в - регулятор глубины: 1 - поводок; 2 - пружина; 3 - корпус сошника; 4 - регулятор; 5 - опорно-прикатывающий каточек; 6 - диск; 7 - направитель семян; 8 - пружинный поводок; 9 - прикатывающий каточек; 10 - семена; 11 - хвостовик; 12 - штифт; 13 - прорезь; 14 - пружина; 15 - головка-указатель

Исследования показали, что применение предлагаемой сошниковой группы (в сравнении с сеялками СЗ-5,4 -04) позволяет:

заделать на 15% больше высеваемых семян в сантиметровом слое заданной глубины;

повысить полевую всхожесть семян и в связи с этим сократить на 10... 15% норму высева зерновых культур;

уменьшить на 6% тяговое сопротивление сеялки.

Преимущества сеялок СПУ-6, СПУ-4, СПУ-3 - универсальность, меньшая металлоемкость, тяговое сопротивление и расход топлива на 1 га посева, простота конструкции, лучшая маневренность агрегата. Однако они более требовательны к подготовке почвы под посев, техническому обслуживанию и подготовке к работе. Сеялка не имеет устройства для внесения одновременно с посевом стартовой дозы минеральных удобрений. Почва для посева должна быть хорошо подготовленной: выровненной, мягкой, без камней, древесных остатков, кусков дернины, остатков соломы и трав. Уклон поля не должен превышать 15%.

Сеялка не имеет устройства для внесения одновременно с посевом стартовой дозы минеральных удобрений. Почва для посева должна быть хорошо подготовленной: выровненной, мягкой, без камней, древесных остатков, кусков дернины, остатков соломы и трав. Уклон поля не должен превышать 15%.

Пневматические сеялки типа СПУ имеют один или два бункера 7 (рис.3), дозатор 8, пневматическую систему, включающую вентилятор 1, гофрированный семявоздухопровод 4 с распределительной головкой 5, семяпроводы 6, подающие семена к сошникам 11.

Рис..3. Технологическая схема сеялки СПУ-6: 1 - вентилятор; 2 - рама; 3- диффузор; 4 - вертикальный семявоздухопровод; 5 - распределительная головка; 6 - отдельный семявоздухопровод; 7 - бункер; 8 - катушка-дозатор; 9 - семена; 10 - семянаправитель, 11 - сошник; 12 - клапан; 13 - регулировочная пружина; 14 - рыхлитель колеи колес; 15 - опорно-приводное колесо.

Вентилятор подачи воздушного потока приводится в движение от ВОМ клиновидным ремнем. Привод дозирующего устройства осуществляется от колеса сеялки.

Рекомендуемая рабочая скорость посевного агрегата - 2,2 - 3,0 м/с (8 - 11 км/ч).

Для создания безопасной работы трактора «Беларус-820» с сеялкой СПУ-6 используются специальные грузы для догрузки переднего моста трактора: 180 кг на одинарной рамке, 360 кг и 440 кг - на удлиненной рамке (табл. 3).

Определение коэффициента устойчивости агрегата «Беларус-820»+СПУ-6 производилось при различной степени загрузки семенного бункера сеялки. Установлено, что по критерию устойчивости (Ку) трактор «Беларус-820» с сеялкой СПУ-6, поднятой в транспортное положение при массе противовеса 440 кг, может агрегатироваться при максимальной загрузке бункера семенами массой 800 кг (Ку=0,21 при допустимом 0,20).

Таблица 3. Коэффициенты устойчивости трактора «Беларус-820» при работе с сеялкой СПУ-6

Масса семян в бункере, кг

Масса сменных грузов на переднем мосту (без учета массы рамки), кг


180

360

440


Нагрузка на передний мост, кг

Коэф. устойчивости Ку

Нагруз-ка на передний мост, кг

Нагруз-ка на передний мост, кг

Коэф. Устойчивости Ку

Нагруз-ка на передний мост, кг

Нагрузка на передний мост, кг

Коэф. устойчивости Ку

Без семян

980

0,25

4265

1170

0,3

4145

1370

0,35

200

855

0,22

4560

1075

0,27

4510

1205

400

-

-

4865

970

0,24

4850

1065

0,27

600

-

-

5180

855

0,21

5180

935

0,21

800

-

-

-

-

-

5490

825

0,21


При уменьшении массы противовеса (360 и 180 кг) нормативный коэффициент устойчивости достигается при максимальной массе семян в бункере соответственно 600 и 200 кг (табл. 3).

Максимальная длина катушки у сеялок типа СПУ составляет 110мм. Задвижка перекрывает катушку, оставляя ее рабочую часть. Шкала на задвижке указывает длину рабочей части катушки. При малом высеве катушка работает с рабочей длиной в пределах 25 мм. Для переключения нормального высева на малый необходимо выполнить три операции: уменьшить глубину желобков катушки, частоту ее вращения и скорость воздушного потока.

Для уменьшения глубины желобков катушки необходимо фиксатор из крайнего левого положения повернуть на 180°, втулку переместить до упора влево и застопорить ее фиксатором в прорези вала катушки.

При нормальном высеве малая шестерня на приводном валу дозатора семян находится внутри большой.

При таком положении шестерен можно высевать повышенные нормы в режиме малого высева. Для высева пониженных норм малую шестерню необходимо переместить влево и ввести ее в зацепление со свободной шестерней на валу катушки.

На выходе вентилятора имеется дроссельная заслонка. При нормальном высеве она должна быть полностью открыта (переключатель находится в положении «А»). В противном случае система забьется семенами. Для предотвращения выдувания легковесных семян из бороздок при малом высеве заслонку надо прикрыть (положение переключателя «Z»).

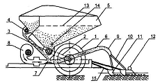
Пневматическая универсальная сеялка С-6 (рис. 4) включает раму, спицу, опорно-приводное и опорное колесо, бункер 5, дозаторы 3 и 4, эжектор 7, вентилятор 8 с механизмом привода, семявоздухопроводы 6 и 10, распределитель потока семян, сошники 11 и загортачи 12, сетку 13 и ворошилку 14. При движении агрегата по полю материал из бункера вращающимися катушками дозатора высевающих агрегатов 3 и 4 подается в эжектор 7, подхватывается потоком воздуха, создаваемого вентилятором 8, и транспортируется по семяпроводам в распределитель 9, затем - в сошники 11 и дальше - на дно бороздок.

Рис..4. Технологическая схема пневматической универсальной сеялки С-6: 1 - опорно-приводное колесо; 2 - цепная передача; 3, 4 - высевающие аппараты; 5 - бункер; 6, 10 - семявоздухопроводы; 7 - эжектор; 8 - вентилятор; 9 - распределитель; 11 - сошник; 12 - пружинный загортач; 13 - сетка; 14 - ворошилка

Привод дозаторов осуществляется от приводного колеса сеялки цепной передачей, а вентилятора - от ВОМ трактора. Вождение сеялки осуществляется по следам маркера, закрепленного на тракторе.

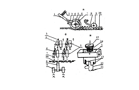
Рабочая ширина захвата - 6 м, производительность - 6 га/ч при рабочей скорости посевного агрегата 12 км/ч, обслуживает сеялку тракторист. Комбинированные сеялки MegaSeеd (рис. 5) имеют различную рабочую ширину захвата - 3; 4; 4,5; 6 м. Межрядковое расстояние при посеве составляет 12,5 см. Сеялка может использоваться в зависимости от состава рабочих органов как для обычного посева по вспаханной почве, так и для мульчированного сева (бесплужная обработка почвы). При этом посев производится в смесь из измельченных остатков растений и земли (поверхностная мульча), которая подготавливается благодаря предшествующей технологической обработке. На относительно легких почвах возможен процесс прямого посева "Direktsaat", т.е. без предварительной обработки почвы может производиться посев с использованием только рабочих органов комбинированной сеялки для мульчированного сева.

Сеялка MegaSeed в зависимости от имеющегося поверхностного слоя почвы может оснащаться по выбору: двухрядной диско-ножевой бороной, комбинацией борон с S-образными вибрационными зубьями, расположенными в два ряда, а также двухрядным зубчатым катком или двухрядными дисковыми мульчирующими рабочими органами для обработки почвы, которые комбинируются соответственно с зубчатым катком диаметром 660 мм, мульчирующим катком (640 мм) или обрезиненным катком (640 мм).

Рабочий процесс комбинированной сеялки MegaSeed протекает следующим образом.

В начале работы гидравлический рычаг управления сеялкой устанавливают в рабочее положение. Глубина хода рабочих органов в зависимости от высеваемой культуры и типа почвы устанавливается регулировочным механизмом относительно прикатывающих катков.

Прикатывающие катки обеспечивают оптимальное уплотнение и равномерную заделку семян на заданную глубину посадки. Широкие гибкие эластичные шины предотвращают их утопание на лёгких почвах, а также налипание клеящихся почв. Вырезные дисковые сошники на шарикоподшипниках нарезают бороздки для посева семян. Высокое давление на сошники (до 800 Н/сошник) обеспечивает устойчивую работу высевающих органов на повышенной и высокой рабочих скоростях и равномерную глубину заделки семян на различных почвах. При недостаточной несущей способности почвы нагрузку на сошники во время работы можно снизить.

а

б

Рис. . Комбинированная сеялка MegaSeed: а - вид сбоку; б - вид сверху: 1 - рама; 2 - вентирятор; 3 - бункер; 4 - распределительная головка; 5 - мульчирующий каток; 6 - пружинный загортач; 7- прикатывающие катки; 8 - дисковые сошники; 9 - опорно-приводное колесо; 10 - зубчатый каток; 11- диско-ножевая борона; 12 - рыхлители; 13 - талреп; 14 - прицепное устройство; А - длина; б - ширина; С - высота сеялки

Идущий сзади пружинный загортач, благодаря изменению угла атаки, позволяет работать на участках с высоким содержанием остатков растений, при этом не забиваясь. Сеялка с диско-ножевыми боронами и мульчирующими дисками рекомендуется для работы с интенсивным заделыванием растительных остатков в почву.

Электронно-механический привод высевающих катушек позволяет точно установить сеялку на заданную норму высева материала и благодаря специальному устройству исключает преждевременный высев семян до начала посева ( при трогании с места).

.3 Применение комбинированных машин для посева зерновых культур

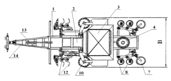
В РУНИП «ИМСХ НАН Беларуси» на базе комбинированного почвообрабатывающего агрегата АКШ-3,6 разработан почвообрабатывающе-посевной агрегат АПП-3,0 (рис. 6).

Рис..6. Комбинированный почвообрабатывающе-посевной агрегат АПП-3,0 (АПП-4,5; АПП-6)

Агрегат предназначен для предпосевной обработки почвы и посева зерновых, зернобобовых, крестоцветных культур и трав. Комплектуется сменными рабочими органами для использования как в отвальных, так и безотвальных технологиях; агрегатируется с тракторами «Беларус-820»; «Беларус-1005»; «Беларус-1025»; производительность за час основного времени - 2,31 - 2,7 га/ч; рабочая скорость - 3,0 км/ч; глубина обработки - до 5,8 см; норма высева семян - 2 - 400 кг/га; глубина заделки семян - 1 - 5 см; масса - 2200 кг.

За рубежом широко используются комбинированные агрегаты, одновременно выполняющие предварительную обработку почвы и посев зерновых культур с использованием тракторов на спаренных колесах, пневматических катков, различных рыхлящих и выравнивающих рабочих органов активного и пассивного действия.

Находят также применение и пахотно-посевные агрегаты на базе обычных и оборотных плугов.

2.4 Образование технологической колеи при посеве

Образование технологической колеи при интенсивной технологии возделывания зерновых культур производят для последующего ухода за посевом. Ширину полос в постоянной технологической колее принимают равной утроенной ширине междурядий для сеялок СЗ-5,4 - 45см, сеялок типа СПУ-6 и С-6 - 37,5 см.

При работе сеялок СПУ-6 (С-6) для образования технологической колеи при отсутствии на сеялке специального устройства наиболее целесообразно в хозяйствах установить постоянно в делительную головку две пробки в отверстия, соединенные пневмосемяпроводами с 7-м и 8-м сошниками с правой стороны сеялки. При этом ширина образуемой колеи будет равна 37,5 см (ширина междурядий 12,5 см). Агрегат должен двигаться челночным способом.

После поворота при движении по маркерному следу правым колесом трактора расстояние между центрами образуемой технологической колеи от двух смежных проходов составит 175 см.

После двух проходов (третьего и четвертого) образуется еще одна такая же технологическая колея. Расстояние между центрами соседних образованных технологических колей составит 12 м.

При такой схеме работы необходимо использовать опрыскиватели с шириной захвата 12 м (ОТМ-2-3) или настраивать другие опрыскиватели на такую же рабочую ширину захвата. При этом расстояние между центрами колес тракторов и опрыскивателя должно составлять 175см. Ширина колес трактора при посеве при этом варианте не регламентируется.

При наличии в хозяйстве трех сеялок СПУ-6 (С-6) наиболее просто и надежно образовать технологическую колею путем постоянного перекрытия подачи семян в четыре сошника средней сеялки, идущих по следам колес трактора.

У пневматических сеялок СПУ-4, СПУ-3 технологическая колея образуется с помощью специальных насадок с управляемыми заслонками, которые закрывают подачу семян в идущие по следам колес трактора сошники через определенное количество проходов агрегата.

На участках неправильной конфигурации, имеющих западины, "блюдца", начало сева с образованием технологической колеи следует начинать в месте, имеющем наибольшую прямолинейную длину гона с последующим засевом участка справа и слева.

3. Организация работы посевных агрегатов

Направление и способ посева следует выбирать с учетом характеристики полей (площади, длины гона, конфигурации, рельефа) и требований агротехники. Направление посева - поперек вспашки и последней предпосевной обработки или под углом к ней; на склонах - под углом к направлению склона или поперек его.

Способы движения посевных агрегатов: челночный - при работе одного, двух и трех агрегатов на полях с длиной гона более 200 м; гоновый - при работе многосеялочных агрегатов на полях прямоугольной формы больших размеров; перекрытием - на полях квадратной формы при гонах до 150 м, где можно разворачивать агрегат в пределах поля, и на очень узких участках - до 60 - 80 м. На этих полях также применяется диагонально-перекрестный способ. Ширину загона при движении агрегата гоновым способом выбирают по табл. 4.

Таблица 4. Рекомендуемая ширина загонов и поворотных полос при работе

 Марка сеялок

Ширина поворотных полос


500

700

при петлевом повороте

при беспетлевом повороте

СПУ-6

72,0

84,0

18,0

12,0

С-6

72,0

84,0

24,0

18,0

СЗ-5,4

57,6

72,0

14,4

10,8

СПУ-3

60,0

76,0

12,0

8,0

СПУ-4

60,0

76,0

12,0

8,0


Маркеры и следоуказатели устанавливают на посевных агрегатах для того, чтобы на двух смежных проходах не было огрехов и пересевов по одному и тому же следу.

Маркер оставляет на поле линию-ориентир, по которой тракторист направляет правое колесо или гусеницу трактора при обратном проходе. Следоуказатель - это брус с подвешенным по краям стержнем или цепочкой, на концах которых укреплен грузик, свободно скользящий по следу колеса от предыдущего прохода или по маркерной линии. При вождении по следу правым колесом или гусеницей правый маркер короче, а левый - длиннее на величину расстояния между серединами передних колес или краями гусениц трактора. Состав посевных агрегатов и вылет маркеров приведен в табл.

Общую оценку состояния посевов делает комиссия, которая учитывает не только выполнение каждого технологического приема, но и значение его для формирования урожая (табл. 6). Если какое-либо требование агротехнически выполнено некачественно, то соответственно ставится прочерк в графе оценочного коэффициента, так как после посева во многих случаях невозможно исправить ошибку и переделать работу.

Таблица Состав посевных агрегатов и установка вылета маркера

Трактор

Число сеялок в агрегате

Ширина захвата, м

Ширина колеи трактора, мм

Вылет маркера, м

Передача трактора





левого

правого


«Беларус-800»

1

3,0

1800

2,48

0,68

VII

«Беларус-800»

1

4,0

1800

2,98

1,18

VII

«Беларус-820»

1

6,0

1800

3,98

2,18

VII


Таблица 6. Способы и оценка качества посева

Показатели качества

Контроль качества

Оценка качества


Способ определения

Способ замера

Кол-во замеров

Баллы

Отклонение глубины заделки семян, мм

Путем вскрытия рядка на длине 20 … 30 см

Две линейки, лопаточка

3…4

До +10 От +10 до +15

3 2

Отклонение от заданной равномерности высева, %

Изменение длины рабочей части катушек, мм

Шаблон

2…3

До +3% От +3 до +5 Более +5%

3 1 0

Отклонение стыковых междурядий от заданного значения, мм

Изменение в конце и середине участка

Линейка

3…4

До +50 От +50 до +60 Более +60

2 1 0

Соблюдение междурядий по ширине агрегата

Замер расстояния между сошниками

Линейка, трафарет


Соблюдается Не соблюдается

2 0


Низкая общая сумма оценочных коэффициентов служит сигналом для более тщательного контроля за ходом посевных работ и принятия мер по устранению нарушений технологического процесса.

Литература

1. Подготовка опрыскивателей к работе и оценка качественных показателей технологии процесса: метод. указ. / В.Р. Петровец, Н.В. Чайчиц. Горки: БГСХА, 2012. 16с.

. Петровец, В.Р. Сельскохозяйственные машины: практикум / В.Р. Петровец, Н.В. Чайчиц. Минск: Ураджай, 2012. 292 с.

. Подготовка посадочных агрегатов и работа на них: метод. указ. / В.Р. Петровец, Н.В. Чайчиц. Горки: БГСХА, 2012. 11с.

. Сельскохозяйственная техника. Каталог. Растениеводство. Минск, 2006. С. 111 - 115.

.Ресурсосберегающие технологии сельскохозяйственного производства. Минск: БГАТУ, 2003. 183с.

Похожие работы на - Технологии и машины для посева зерновых культур

 

Не нашли материал для своей работы?
Поможем написать уникальную работу
Без плагиата!
Без нейросетей!