Технологическое оснащение нефтегазовых месторождений

  • Вид работы:
    Отчет по практике
  • Предмет:
    Другое
  • Язык:
    Русский
    ,
    Формат файла:
    MS Word
    1,49 Мб
  • Опубликовано:
    2016-05-23
Вы можете узнать стоимость помощи в написании студенческой работы.
Помощь в написании работы, которую точно примут!

Технологическое оснащение нефтегазовых месторождений

Содержание

Введение

1. Краткая характеристика предприятия

1.1Функции и назначение ДНС

2. Местонахождения предприятия

3. Техническое обслуживание и ремонт задвижек

3.1 Надзор, техническое обслуживание и ревизия задвижек

4. Техническое обслуживание шарового крана

5. Обслуживание предохранительного клапана

6. Охрана труда и техника безопасности

7. Виды выполненных работ на преддипломной практики

Заключение

Список использованных источников и литературы

Приложения

Введение


Нефть играет огромную роль в народном хозяйстве. Из нефти вырабатываются жидкие топлива различных видов: бензины, керосины, реактивные и дизельные сорта горючего для двигателей внутреннего сгорания, мазуты, различные виды смазочных материалов, битумы, синтетические кислоты и многое другое.

Попутные нефтяные газы, газы деструктивных процессов переработки нефти, ароматические углеводороды служат основным сырьем для химической промышленности.

В настоящее время роль нефтяной промышленности как сырьевой базы нефтехимии существенно возросла. Применение в нефтехимии попутных газов и газов деструктивных процессов переработки гораздо эффективнее, чем газов коксового происхождения. Нефть, газ и продукты их переработки играют важную роль в укреплении экономического сотрудничества стран с различным социальным строем на базе развития взаимовыгодных международных торговых отношений.

Значение нефти и газа в развитии мировой экономики в основном определяет темпы роста объема добычи. Добыча нефти и газа в нашей стране значительно увеличивается. За последний период добыча нефти увеличилась более чем в 28 раз.

Высокие темпы прироста добычи нефти в послевоенный период были обусловлены открытием и вводом в эксплуатацию нефтяных месторождений районов Урало-Поволжья, а также эффективных методов разработки нефтяных месторождений.

1. Краткая характеристика предприятия


ЦДНГ расположен на территории Бардымского, Чернушинского, Уинского районах Пермского края.

В состав ЦДНГ входят Батырбайское, Таныпское, Аспинское месторождения нефти. Батырбайское месторждение (Константиновская, Асюльская, Зайцевская, Пальниковская, Северо-Качинская площади) расположены в границах Бардымского района. Таныпское в Чернушинском и Уинских районах. Аспинское в Уинском районе.

Нефтегазопромысел реорганизован с 01.03.1996 года на базе месторождений:

Таныпское месторождение введено в эксплуатацию в 1958 г.

Батырбайское месторождение в 1962 г.

Аспинское месторождение в 1973 г.

Сагринское месторождение в 2009 г.

Сыповское месторождение в 2009 г.

ВЕХИ ИСТОРИИ ЦДНГ № 6.

г. - вступило в эксплуатацию Батырбайское месторождение.

г. - в районе села Сараши пробурена разведочная скважина № 57, действующая и по сей день. Получена фонтанная высокодебитная нефть, 80 тонн в сутки. Это дало начало пробной эксплуатации и развитию в дальнейшем Константиновского нефтепромысла.

г., апрель - построена ДНС на центральной площадке, пущены в эксплуатацию фонтанным способом скважины № 69 и № 40, затем - скважины 1-го и 2-го ряда.

г., июнь - пущена в эксплуатацию первая газовая скважина № 703 с суточным дебитом 65 000 м3.

г. - создание ЦДНГ № 6. Константиновская площадь Батырбайского месторождения передана в состав НГДУ "Осинскнефть".

г., декабрь - к Константиновской добавилась Асюльская площадь.

г. - в связи с проводимой реструктуризацией в состав ЦДНГ № 6 вошли еще 2 месторождения - Аспинское и Таныпское.

г., октябрь - в состав ЦДНГ-6 вошла Восточно-Аспинская площадь Аспинского месторождения.

г., январь - состав ЦДНГ № 6 пополнился Сыповским и Сагринским месторождениями.

г., март - в составе ЦДНГ № 6 появилась Северо-Качинская площадь Батырбайского месторождения

1.1Функции и назначение ДНС


Дожимная насосная станция (сокр. ДНС) - технологическая часть системы сбора нефти и газа на промыслах и их последующей транспортировки.

Дожимные насосные станции предназначены для осуществления первой ступени сепарации нефти от газа в целях дальнейшей раздельной транспортировки нефти с помощью центробежных насосов, а газа под давлением сепарации. Станция состоит из технологического, щитового канализационного блоков и свечи аварийного сброса газа.

Как правило, ДНС применяются на отдаленных месторождениях. Необходимость применения дожимных насосных станций обусловлена тем, что зачастую на таких месторождениях энергии нефтегазоносного пласта для транспортировки нефтегазовой смеси до УПСВ недостаточно.

нефтегазовое месторождение дожимная насосная станция

2. Местонахождения предприятия


"ЛУКОЙЛ-Пермь" ЦДНГ-6: Пермский край Бардымский район, УППН "Константиновка" (административно-бытовой корпус) Константиновского поднятия Батырбайского месторождения.


3. Техническое обслуживание и ремонт задвижек


Задвижки предназначены для отключения, распределения, регулирования, смешения или сброса потоков среды. Перечисленные процессы обеспечиваются основным функциональным узлом - узлом затвора с помощью совокупности вспомогательных механизмов и деталей арматуры. Для них являются два важнейших показателя качества, которые должны быть обеспечены после ремонта: герметичность корпусных деталей и всех соединений по отношению к внешней среде и внутренняя герметичность в затворе. Критерием внутренней герметичности в затворе является допустимая величина протечки.

Конструктивные особенности базовых деталей задвижек характеризуются сложной геометрической формой. В связи с этим большинство конструктивных элементов изготавливается из литья. Это корпуса, крышки, стойки, диски, тарелки, клинья. При этом стенки этих деталей делаются со значительным запасом прочности и коррозионной долговечности, так как превалирующим фактором при изготовлении литья выступают литейные технологические требования.

Именно эти факторы создают благоприятные условия для проведения восстановительного ремонта, так как обеспечивается сохранность всех базовых деталей задвижки как заготовок, подвергающихся совокупности технологических воздействий по восстановлению функций. Стоимость этих заготовок в общей цене задвижек колеблется от 30% до 40%.

Функциональными поверхностями базовых деталей задвижек, которые обеспечивают требования по герметичности, являются уплотнения фланцевых соединений, уплотнения клина и сальник. От их состояния во многом зависит выбор того или иного вида ремонта. Опыт эксплуатации задвижек показывает, что наиболее часто встречаются следующие неисправности, подлежащие устранению при ремонте:

) потеря герметичности в клине в связи с пропуском среды между уплотнительными поверхностями корпуса и запорного органа (клина);

) потеря герметичности в затворе в связи с пропуском среды под уплотнительным кольцом корпуса;

) потеря герметичности сальникового узла в связи с пропуском среды между шпинделем и сальниковой набивкой;

) потеря герметичности сальникового узла в связи с пропуском среды между поверхностью сальниковой камеры и сальниковой набивкой;

) потеря герметичности фланцевого соединения в связи с пропуском среды между поверхностями фланцев корпуса, крышки и прокладки;

) образование задиров на поверхности шпинделя в зоне сальниковой набивки;

) защемление шпинделя в сальниковом узле;

) выход из строя ходовой резьбы шпинделя и ходовой гайки ввиду износа;

) выход из строя крепежных деталей.

Этот перечень неисправностей не возникает единовременно при эксплуатации задвижек. Они возникают постепенно в результате накопления повреждений. Для устранения неисправностей требуется провести ремонт,

Наиболее целесообразно установить три вида ремонта, используя технологические критерии: первый ремонт - РМ-1 (мелкий), второй ремонт - РМ-2 (средний) и третий ремонт - РМ-З (капитальный).

РМ-1 должен производиться (как правило) без снятия задвижки из трубопровода с использованием доводочных операций, шлифования, притирки, выполняемые переносными устройствами. Ремонту подвергаются фланцевые соединения, элементы клина, сальниковые узлы. для контроля качества ремонта используются приборы и устройства ддя измерения метрических параметров: шероховатости, волнистости, отклонений формы, угловых и линейных параметров.

РМ-2 может производиться как в условиях нахождения корпуса задвижки в трубопроводе, так и в стационарных условиях, когда арматура

демонтирована. Характерная особенность этого ремонта состоит в использовании не только доводочных операций, но и операций лезвийной обработки.

При этом могут быть использованы как универсальные средства механической обработки, так и специальные мобильные устройства и установки. Кроме того, при этом ремонте должны более широко использоваться методы контроля качества материала (наличие скрытых трещин, пор, качества сварных швов и т.д.). Также широко используются средства метрологического контроля метрических параметров.

При РМ-З производится более широкий фронт работ. При необходимости заменяются крепежные детали, детали бугельного и сальниковых узлов, производится замена материалов уплотнения клина. В этом случае используется весь ассортимент технологических операций восстановления. Здесь применяются процессы наплавки и сварки, лезвийной обработки и доводки. Для оценки качества выполнения операций должны использоваться средства контроля качества материалов и метрических параметров деталей и поверхностей. РМ-З производится в стационарных условиях, когда задвижка демонтирована с трубопровода. Для проведения этого вида ремонта может быть использовано универсальное оборудование, оснащенное специальной оснасткой и инструментом. Может быть использовано как специализированное оборудование, предназначенное для стационарного применения, так и мобильное.

Для всех видов ремонта обязательно проведение дефектации деталей задвижки и анализ характера износных повреждений.

Особенности конструктивного исполнения базовых деталей задвижек, технологическая целесообразность проведения ремонта, определяемая структурой технологических процессов, достаточно убедительно, но все-таки косвенно свидетельствуют, что имеют место конструктивно-технологические предпосылки эффективности ремонтов. Однако необходимы дополнительные аргументы и подтверждения. Они представлены в таблице 2.1 [20].

Таблица 2.1

№ операции по структуре

Наименование технологических процессов

Относительный уровень затрат (%)

РМ-1 (малый)

РМ-2 (средний)

РМ-3 (капитальный)

1

Изготовление литья

26

-

-

-

 

2

Изготовление заготовок из проката, наплавка

14

-

3…4

9…11

 

3

Лезвийная обработка вспомогательных поверхностей

38

-

4…6

9…12

 

4

Лезвийная обработка функциональных поверхностей

10

-

3…4

7…10

 

5

Прецизионная обработка функциональных поверхностей

4

2…2,5

3…4

4

 

6

Термическая обработка

1

-

-

0,5

 

7

Гальваника

1

-

-

0,5

 

8

Сборка

4

1,5…2

3…4

4

 

Разборка и дефектовка

-

1,5…2

3…4

4

 

9

Испытания

1.5

0,5

1

1,5

 

10

Покраска

0.5

-

-

0,5

 

Итого

5,5…7,0

20…27

40…48

 


Анализ представленных данных свидетельствует, что затраты на проведение рассмотренных видов ремонта колеблются от 7% до 48% от стоимости новой задвижки.

Таким образом, проведенный анализ и представленные данные позволяют вполне определенно утверждать, что в современных экономических условиях и при современном уровне качества задвижек правильно организованный и в достаточной мере технически оснащенный процесс ремонта экономически выгоден потребителю арматуры.

3.1 Надзор, техническое обслуживание и ревизия задвижек


В период эксплуатации трубопроводов одной из основных обязанностей обслуживающего персонала является постоянное и тщательное наблюдение за состоянием наружной поверхности трубопроводов и их деталей (сварных швов, фланцевых соединений, включая крепеж. трубопроводную арматуру) антикоррозионной защиты и изоляции, дренажных устройств, компенсаторов, опорных конструкций и т.д.

Основным методом контроля за надежной и безопасной эксплуатацией технологических трубопроводов является периодическая ревизия, которая проводится службой технического надзора совместно с механиками, начальникам и установок (производств).

Результаты ревизии служат основанием для оценки состояния трубопровода и возможности его дальнейшей эксплуатации. Как правило, ревизия трубопроводов должна быть приурочена к планово-предупредительному ремонту трубопроводной арматуры, отдельных агрегатов, установок или цехов [20]. Сроки проведения ревизии трубопроводов при давлении до 10 МПа (100 кгс/см2) устанавливаются администрацией предприятия в зависимости от скорости коррозионно-эрозионного износа трубопроводов, опыта эксплуатации, результатов предыдущего наружного осмотра, ревизии. Сроки должны обеспечивать безопасную, безаварийную эксплуатацию трубопровода в период между ревизиями [20].

Для трубопроводов высокого давления [свыше 10 МПа (100 кгс/см2)] установлены следующие виды ревизии:

выборочная, генеральная выборочная и полная. Сроки выборочной ревизии устанавливаются администрацией предприятия в зависимости от условий эксплуатации, но не реже одного раза в 4 года [15].

Арматура технологических трубопроводов - наиболее ответственный элемент коммуникаций, поэтому должны быть приняты необходимые меры по организации постоянного и тщательного надзора за исправностью арматуры, а также за своевременным высококачественным проведением ревизии и ремонта.

Ревизию и ремонт трубопроводной арматуры, в том числе и обратных клапанов, а также приводных устройств арматуры (электро-, пневмо-, гидропривод, механический привод), как правило, производят в период ревизии трубопровода. Ревизию и ремонт арматуры следует производить в специализированных мастерских или на ремонтных участках. В отдельных случаях по усмотрению технического надзора допускается ревизия арматуры путем ее разборки и осмотра непосредственно на месте установки (приварная арматура, крупногабаритная, труднодоступная и т.д.). При ревизии арматуры должны быть выполнены следующие работы:

а) внешний осмотр;

б) разборка и осмотр состояния отдельных деталей;

в) осмотр внутренней поверхности и при необходимости контроль неразрушающими методами;

г) притирка уплотнительных поверхностей;

д) сборка, опробование и опрессовка на прочность и плотность.

При планировании ревизии и ремонта арматуры следует и в первую очередь проводить ревизию и ремонт арматуры, работающей в наиболее сложных условиях, при этом соблюдать принцип чередования. Результаты ремонта и испытания арматуры оформляются актом.

4. Техническое обслуживание шарового крана


Во избежание отказа крана во время работы, необходимо регулярно, но не реже одного раза в шесть месяцев проводить технический осмотр. Частоту проведения периодического технического осмотра обслуживания необходимо определять в зависимости от типа используемых рабочих сред и условий эксплуатации. В случае обнаружения нарушений в работе крана, его необходимо заменить. Если шаровой кран на момент демонтажа находится в работающем трубопроводе, то необходимо предварительно перекрыть подачу рабочей среды, затем, открыв шар в кране стравить давление. Во избежание повреждения шара, перед демонтажом с трубопровода шар всегда необходимо полностью открывать.

Шаровой кран - разновидность трубопроводного крана, запирающий или регулирующий элемент которого имеет сферическую форму. Это один из современных и прогрессивных типов запорной арматуры, находящий всё большее применение для различных условий работы в трубопроводах, транспортирующих природный газ и нефть, системах городского газоснабжения, водоснабжения, отопления и других областях. Имеется также возможность использовать его в качестве регулирующей арматуры.

После установки кранового запорного устройства необходимо дополнительно набить уплотнительную смазку и проверить их на плавность работы затвора. Смазка подается масленкой, которая ввинчивается в резьбовое отверстие шпинделя вместо нажимного болта. Кран в момент набивки смазки должен быть или полностью открыт или полностью закрыт. Допускается производить набивку смазки при помощи нажимного болта. Однако, это менее удобно и требует большего времени.

Появление и внедрение в арматуростроение таких материалов как фторопласт, синтетических каучуков для изготовления сёдел привели к началу широкого использования шаровых кранов. Новые материалы позволили обеспечить плотность закрытия и существенно снизить усилия, необходимые для управления краном.

Подвижным элементом (затвором) таких кранов служит пробка сферической

формы - шар, по оси которой выполнено сквозное круглое отверстие для прохода среды. В проходных кранах для полного закрытия или открытия прохода достаточно повернуть шар на 90°.

По типу шаровые краны делятся на полнопроходные и редуцированные (стандартнопроходные). Полнопроходной шаровой кран - диаметр отверстия в шаре которого, соответствует внутреннему диаметру трубопровода, на который устанавливается кран. Гидравлические потери при проходе рабочей среды через полностью открытый кран весьма малы, практически такие же как при проходе среды через трубу, равную по длине корпусу крана, что в разы меньше, чем в других типах запорной арматуры. Это ценное качество сделало краны данного типа основным запорным устройством на линейной части магистральных трубопроводов. Редуцированные или стандартнопроходные шаровые краны - диаметр отверстия в шаре которого на один типоразмер меньше диаметра трубопровода. Данный тип шаровых кранов применяется на трубопроводах в которых не критична частичная потеря напора.

По типу присоединения шаровые краны могут быть: фланцевые, под приварку, муфтовые и комбинированные. Фланцевые шаровые краны применяются на трубопроводах которые предусматривают частичную разборку/сборку, а так же помещениях в которых запрещена сварка. Краны с типом соединения под приварку используют на особо ответственных или труднодоступных участках трубопроводов, за счет полной герметичности перекрытия и прочности соединения. Краны с муфтовым соединением имеют внутреннюю коническую или цилиндрическую резьбу. В основном применяются в коммунальном хозяйстве. Шаровые краны с комбинированным присоединением, являются универсальными и применяются в различных трубопроводных системах (соединение резьба/сварка, фланец/сварка и т.д.).

Кроме вышесказанного шаровые краны имеют ряд других достоинств, среди которых:

·        простота конструкции;

·        высокая и надёжная герметичность;

·        небольшие габариты;

·        простая форма проточной части и отсутствие в ней застойных зон;

·        удобное управление;

·        малое время, затрачиваемое на поворот;

·        применимость для вязких и загрязнённых сред, суспензий, пульп и шламов.

Как недостаток можно отметить необходимость наличия "мёртвой" зоны для поворота у кранов с консольной ручкой. Данный недостаток можно компенсировать краном с ручкой-барашком.

Сёдла в корпусе выполняются в виде колец из различных видов пластмасс (в основном фторопласта), что обеспечивает надёжную герметичность, лёгкость и плавность поворота шаровой пробки, но ограничивают применения таких кранов для сред с температурой не более 200°C.

Управляются шаровые краны вручную (на малых диаметрах) и с использованием механизированного привода - электрического, пневмо - и гидравлического, причём для кранов на газопроводах имеется возможность использовать в качестве управляющей среды пневмопривода рабочую среду, транспортируемую по трубопроводу.

5. Обслуживание предохранительного клапана


Предохранительный клапан - трубопроводная арматура, предназначенная для защиты от механического разрушения оборудования и трубопроводов избыточным давлением путём автоматического выпуска избытка жидкой, паро - и газообразной среды из систем и сосудов с давлением сверхустановленного. Клапан также должен обеспечивать прекращение сброса среды при восстановлении рабочего давления.

Сборка предохранительных клапанов

К сборке клапана приступают после очистки, ревизии и восстановления всех его деталей. При сборке клапана соблюдают следующую последовательность.

·        установить сопло в корпус клапана, произвести керосином проверку на герметичность соединения сопла с корпусом;

·        установить регулировочную втулку сопла;

·        установить направляющую втулку с прокладкой и верхней регулировочной втулкой в корпус клапана; отверстие для стока среды в направляющей втулке должно быть повернуто в сторону выкидного патрубка клапана;

·        установить золотник, соединенный со штоком, в направляющую втулку;

·        установить перегородку и разделитель;

·        поставить пружину вместе с опорными шайбами 6 на шток;

·        поставить прокладку на прилегающую поверхность корпуса и опустить на корпус крышку, следя за тем, чтобы не повредить шток; затем отцентровать крышку по выступу направляющей втулки и равномерно закрепить ее на шпильках; проверка правильности установки крышки

·        определяется равномерным зазором по окружности между фланцем крышки и корпусом.

Прежде чем регулировать пружину, необходимо убедиться, что шток не заедает в направляющих. В тех случаях, когда пружина свободно располагается в крышке, шток должен свободно вращаться от руки.

Если пружина имеет высоту, несколько большую высоты крышки, и зажимается ею после установки, проверка производится тоже поворотом штока вокруг оси. Равномерное усилие, требуемое во время поворота штока вокруг своей оси, будет показывать правильность сборки клапана.

Далее следуют создать предварительное натяжение пружины регулировочным винтом и окончательно отработать его на стенде, а затем поставить колпак и закрепить его к крышке.

При работе клапана на жидкости нижняя регулировочная втулка устанавливается в крайнем нижнем положении, верхняя регулировочная втулка устанавливается так же, как указано выше.

В качестве контрольной среды для клапанов, работающих на парогазообразных продуктах, применяется воздух, а для клапанов, работающих на жидких средах - вода, воздух.

Контрольная среда должна быть чистой, без механических включений. Наличие твердых частиц в контрольной среде может послужить причиной повреждения уплотнительных поверхностей.

Регулировка клапанов на установочное давление производится посредством регулировочного винта путем затяжки или ослабления его. После каждой регулировки пружины необходимо закреплять регулировочный винт контргайкой.

Замер давления при регулировке производится по манометру класса точности 1,0 по ГОСТ 2405.

Клапан считается отрегулированным, если он при заданном давлении и с применением в качестве контрольной среды воздуха открывается и закрывается с чистым резким хлопком (при регулировке клапана с применением воды открытие его происходит без хлопка).

6. Охрана труда и техника безопасности


Вопросам безопасного ведения технологического процесса на территории Батырбайского месторождения необходимо уделять исключительное внимание. Нефть и попутный газ характеризуются высокой взрыво и пожароопасностью, пары нефти и попутный газ ядовиты. Неправильное выполнение той или иной технологической операции может послужить причиной образования горючей и взрывоопасной среды, привести к авариям и несчастным случаям.

Промысловая система сбора и транспорта нефти имеет следующие опасные факторы:

-       наличие легковоспламеняющейся жидкости (нефти) и горючих (попутных нефтяных) газов;

-       способность паров нефти и нефтяного газа образовывать вместе с воздухом взрывоопасные смеси;

-       способность нефти и попутных газов действовать отравляюще на организм человека;

-       наличие в попутном газе сероводорода - сильного ядовитого газа;

-       способность нефти и попутно добываемой пластовой воды оказывать коррозионное воздействие на оборудование, арматуру и трубопроводы;

-       способность нефти образовывать на воздухе самовоспламеняющиеся пирофорные соединения;

-       способность нефти при своём движении по трубопроводам, в ёмкостях и резервуарах образовывать статическое электричество;

-       наличие электрооборудования.

-       В целях предотвращения действия опасных факторов на территории месторождения предусмотрены следующие меры:

-       для предотвращения загорания пирофорных отложений на стенках оборудования перед подготовкой к осмотру и ремонту последние должны заполнятся паром по мере их освобождения;

-       внутренняя поверхность должна очищаться от продуктов коррозии, в которых содержатся пирофорные соединения;

-       отдельно установленное оборудование также заземляется;

-       все металлические части электрооборудования, которые при нормальных условиях не находятся под напряжением, но могут оказаться под напряжением в аварийных ситуациях (нарушение изоляции и т.п.) должны быть заземлены. Это - корпуса электродвигателей, светильников, пусковых устройств, трансформаторов, металлические оболочки и брони контрольных и силовых кабелей, стальные трубы электропроводки и другие металлические конструкции, связанные с установкой электрооборудования;

-       Основные причины, которые могут привести к авариям на объектах Батырбайского месторождения:

-       несвоевременная ревизия и ремонт оборудования, арматуры, трубопроводов и контрольно-измерительных приборов и автоматики;

-       производство огневых работ на территории объектов при нарушении условий их выполнения, предусмотренных "Типовой инструкцией о порядке ведения сварочных и других огневых работ на взрывоопасных, взрывопожароопасных и пожароопасных объектах нефтяной промышленности”;

-       несоблюдение противопожарного режима;

-       отсутствие контроля и нетребовательность к выполнению действующих правил безопасности от работников сторонних организаций, производящих работы на объектах;

-       некачественная подготовка трубопроводов, арматуры, оборудования к ремонту.

Требования безопасности на территории предприятия и в производственных помещениях:

.        Входить на территорию предприятия и выходить разрешается только через проходную.

2.      Ходить по территории предприятия разрешается только по тротуарам и пешеходным дорожкам, а где их нет по обочине или по краю левой стороны проезжей части дороги, навстречу движущемуся транспорту.

.        Переходить через трубопроводы можно только по переходным мостикам.

.        Переходить железнодорожные пути и автодороги необходимо в установленных местах, убедившись в отсутствии приближающегося поезда или автотранспорта.

.        Запрещается проходить между расцепленными железнодорожными вагонами, под вагонами, ездить на подножках вагонов, ходить по железнодорожным путям.

.        Стоящие автотранспортные средства следует обходить сзади.

.        Запрещается ездить на транспортных средствах, не оборудованных для перевозки людей.

.        Территорию предприятия, резервуарного парка, насосных, вспомогательных цехов, зданий и сооружений, а также дороги, проезды и проходы необходимо содержать в чистоте. Не допускается засорение территории и скопление на ней различных нефтепродуктов и воды. В летнее время трава должна быть скошена и вывезена с территории в сыром виде.

.        При разливе нефтепродуктов место разлива следует засыпать песком с последующим удалением его в безопасное место.

При необходимости убрать загрязненный нефтепродуктами грунт.

В помещениях, где произошел разлив этилированного бензина, производится дегазация дихлорамином (3% -ный раствор в воде) или хлорной известью в виде кашицы (одна часть сухой хлорной извести на 2-5 частей воды). Во избежание воспламенения запрещается дегазация сухой хлорной известью.

.        Уборку производственных помещений производить не реже одного раза в смену. Запрещается использовать для мытья полов и стен горючие и легковоспламеняющиеся жидкости.

11.    Проходы, выходы, коридоры, тамбуры, лестничные клетки, запасные выходы не должны загромождаться какими-либо предметами, материалами, оборудованием. Запрещается устройство кладовок, мастерских и т.п. под маршами лестничных клеток.

.        Лотки, каналы производственных помещений должны быть перекрыты легкосъемными огнестойкими плитами.

.        На территории предприятия запрещается применять источники открытого огня для освещения, отогревания замороженных участков трубопроводов и т.д.

.        Курение на территории и в производственных помещениях предприятия за исключением специально отведенных для этого мест (по согласованию с пожарной охраной), где вывешиваются надписи "Место для курения".

.        Подъезды к пожарным гидрантам и другим источникам водоснабжения должны быть всегда свободными для беспрепятственного проезда пожарных машин.

.        В зимнее время необходимо:

очищать от снега и льда, посыпать песком, чтобы исключить скольжение: настилы, лестницы, переходы, тротуары, пешеходные дорожки и дороги;

своевременно удалять сосульки и корки льда, образующиеся на оборудовании, крышах зданий, металлоконструкциях.

.        Каждый работник, обнаруживший на территории предприятия не закрытый крышкой колодец, отсутствие ограждения траншеи или котлована, возникшую течь нефтепродукта, загорание или другого рода аварийную ситуацию, немедленно должен сообщить об этом руководству предприятия, цеха или работнику охраны.

18.    Каждое производственное помещение должно быть оснащено аптечкой с набором медикаментов в соответствии с действующими нормами.

7. Виды выполненных работ на преддипломной практики


Прохождение инструктажа по технике безопасности

Прохождение инструктажа по безопасности методом иследования скважин

Ревизия и ремонт задвижки:

а) внешний осмотр;

б) разборка и осмотр состояния отдельных деталей;

в) осмотр внутренней поверхности и при необходимости контроль неразрушающими методами;

г) притирка уплотнительных поверхностей;

д) сборка, опробование и опрессовка на прочность и плотность.

Сборка клапана:

.        установить сопло в корпус клапана, произвести керосином проверку на герметичность соединения сопла с корпусом;

2.      установить регулировочную втулку сопла;

.        установить направляющую втулку с прокладкой и верхней регулировочной втулкой в корпус клапана; отверстие для стока среды в направляющей втулке должно быть повернуто в сторону выкидного патрубка клапана;

.        установить золотник, соединенный со штоком, в направляющую втулку;

.        установить перегородку и разделитель;

.        поставить пружину вместе с опорными шайбами 6 на шток;

.        поставить прокладку на прилегающую поверхность корпуса и опустить на корпус крышку, следя за тем, чтобы не повредить шток; затем отцентровать крышку по выступу направляющей втулки и равномерно закрепить ее на шпильках; проверка правильности установки крышки определяется равномерным зазором по окружности между фланцем крышки и корпусом.

Установка кранового запорного устройства:

Необходимо дополнительно набить уплотнительную смазку и проверить их на плавность работы затвора.

Смазка подается масленкой, которая ввинчивается в резьбовое отверстие шпинделя вместо нажимного болта. Кран в момент набивки смазки должен быть или полностью открыт или полностью закрыт. Допускается производить набивку смазки при помощи нажимного болта. Однако, это менее удобно и требует большего времени.

Заключение


В ходе преддипломной практики целью было изучение оборудования по теме дипломной работы, а также изучение инструкций по охране труда и промышленной безопасности исходя из цели были изучены такие оборудования как: шаровый кран, задвижки, предохранительные клапаны. Также были проанализированы возможные неисправности и методы их устранения. На основании проделанной работы можно сделать вывод, что своевременное техническое обслуживание запорной арматуры обеспечивает его надежную, безотказную работу на протяжении всего срока службы.

Список использованных источников и литературы


1.      Бойко В.С. Разработка и эксплуатация нефтяных месторождений. М.: Недра, 2004;

2.      Муравьев В.М. Спутник нефтяника. - М.: Недра. 2006;

.        Муравьев В.М. Эксплуатация нефтяных и газовых месторождений

.        РД - 13.200.00 - КТН - 116-14. Магистральный трубопроводный транспорт нефти и нефтепродуктов. Учебно-информационные плакаты по безопасному производству работ.

.        Техника безопасности и охрана экологии НГДУ "Чернушканефть”, 2001.

.        Интернет-ресурсы

7.      #"866870.files/image002.gif">

Технологические аппараты и оборудование:

С-1,2 - сепараторы нефтегазовые 1 ступени,

СГ, ГС - сепараторы газовые,

О-1,2 - отстойники нефти,

КСУ - концевая сепарационная установка,

РВС-1,2,3 - резервуары нефти,

РВС-4,5 - резервуары пластовой воды,

РВС-6,7 - пожарные резервуары,

АВО - аппараты воздушного охлаждения для охлаждения товарной нефти,

Н-1/1,2 - насосы внутренней перекачки нефти,

Н-2/1,2 - насосы внешней откачки нефти,

НПВ-1-4 - насосы пластовой воды,

УУГ - узел учета газа.

Приложение 2

Полнопроходная задвижка с цельным клином

- корпус; 2 - седло; 3 - направляющая движения клина; 4 - клин; 5 - шпиндель; 6 - верхняя крышка; 7 - шпилька; 8 - уплотнительная прокладка; 9 - направляющая втулка, 10 - сальник; 11 - нажимной фланец; 12 - бугель; 13 - ходовая гайка; 14 - маховик.

Приложение 3

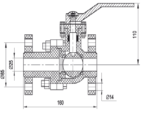
Шаровый кран


Приложение 4

Предохранительный клапан

Похожие работы на - Технологическое оснащение нефтегазовых месторождений

 

Не нашли материал для своей работы?
Поможем написать уникальную работу
Без плагиата!
Без нейросетей!