Теория формования керамики. Полусухое прессование, гидростатическое прессование, вибрационное формование, шликерное литье

  • Вид работы:
    Реферат
  • Предмет:
    Другое
  • Язык:
    Русский
    ,
    Формат файла:
    MS Word
    555,47 Кб
  • Опубликовано:
    2015-12-13
Вы можете узнать стоимость помощи в написании студенческой работы.
Помощь в написании работы, которую точно примут!

Теория формования керамики. Полусухое прессование, гидростатическое прессование, вибрационное формование, шликерное литье

Федеральное государственное автономное образовательное учреждение

высшего профессионального образования

"Национальный исследовательский ядерный университет "МИФИ""

ДИМИТРОВГРАДСКИЙ ИНЖЕНЕРНО-ТЕХНОЛОГИЧЕСКИЙ ИНСТИТУТ - ФИЛИАЛ НИЯУ МИФИ

(ДИТИ НИЯУ МИФИ)





Реферат на тему:

"Теория формования керамики. Полусухое прессование, гидростатическое прессование, вибрационное формование, шликерное литье”



Выполнил: студент группы ХТ-51

Яндаев Д.М.

Преподаватель: Погляд С.С.





Димитровград 2015

Оглавление

 

Введение

1. Виды керамики

2. Подготовка материалов

2.1 Приготовление керамической массы

3. Полусухое прессование

4. Гидростатическое прессование

5. Вибрационное формование

6. Шликерное литье

Заключение

Список использованной литературы

Введение

Под керамикой обычно понимают изделия и материалы, получаемые спеканием порошков. Более современное понимание керамики значительно шире и включает материалы, получаемые в процессах химического осаждения из газовой фазы, реакционного спекания, высокотемпературного синтеза, с помощью физических и химических методов нанесения покрытий, если они близки по структуре к материалам, получаемым спеканием.

Для получения изделия керамическому материалу необходимо придать специфическую форму с контролируемыми допусками и заданными свойствами: определенную плотность, прочность и т.д.

Использование автоматического оборудования, возможность достижения высоких давлений и обеспечение тщательного контроля обусловили появление большого числа разнообразных способов и развитие новых методов формования. Во многих случаях эти методы оказались более точными и экономичными, чем традиционные.

Особенность метода формования обуславливает соблюдение необходимых допусков и оказывает значительное влияние на свойства получаемой керамики. В частности, изменение пористости, ориентация зерен, достижение равновесия полностью связаны с методами производства керамики.

Керамика - неорганический материал, получаемый из отформованных минеральных масс в процессе высоко температурного обжига. В результате обжига (1200-2500ОС) формируется структура материала (спекание), и изделие приобретает необходимые физико-механические свойства.

Большинство видов специальной технической керамики обладает плотной спекшейся структурой поликристаллического строения, для ее получения применяют специфические технологические приемы.

1. Виды керамики


В производстве оксидной керамики используют в основном следующие оксиды: Аl2О3 (корунд), ZrO2, MgO, СаО, ВеО, ThO2, UO2. Структура керамики однофазная поликристаллическая. Кроме кристаллической фазы может содержаться небольшое количество газов (поры) и стекловидной фазы, которая образуется в результате наличия, примесей в исходных материалах. Температура плавления чистых оксидов превышает 2000С, поэтому их относят к классу огнеупоров. Как и для других неорганических материалов, оксидная керамика обладает высокой прочностью при сжатии по сравнению с прочностью при растяжении или изгибе.

Более прочными являются мелко кристаллические структуры, так как при крупнокристаллическом строении на границе между кристаллами возникают значительные внутренние напряжения.

Таблица 1 - Основные свойства керамики на основе чистых оксидов.

Оксиды1

Температура плавления, оС

Плотность (Теоретическая) кг/м3

Предел прочности, МПа

Модуль упругости, ГПа

Твёрдость по Моосу




При растяжении

При изгибе

При сжатии



Al2O3

2050

3 990

260

150

3000

382

9

ZrO2

2700

5 600

150

230

2100

172

7-8

BeO

2580

3 020

100

130

800

310

9

MgO

2800

3 580

100

1400

214

5-6

CaO

2570

3 350

-

80

-

-

4-5

ThO

3050

9 690

100

-

1500

140

7

UO2

2760

10 960

-

-

980

164,5

6


Таблица 2 - Свойства бескислородной керамики

 Название

Температура плавления, оС

Плотность, кг/м3

Предел прочности при 20 оС, МПа

Модуль упругости, ГПа

Твёрдость по Моосу




При растяжении

При изгибе

При сжатии



Карбит кремния SiC

2600

3200

155

-

2250

394

9,2-9,5

Диборит титана TiB2

2980

4520

140

246

1350

-

-

Диборит циркония ZrB2

3040

6090

-

-

-

-

-

Нитрит бора BN "белый графит"

2350

2340

50-110 (25); 0,7-1 (1000)

50-110

500-600

8,65 (25); 1,16 (1000)

1-2

Нитрид кремния Si3N4

3200

-

160

-

317

-

Дисилицид молибдена MoSi2

2030

6240

281 (980)

437 (980)

1130 (20); 340 (1400)

430

-



2. Подготовка материалов


Материалы, используемые для формования керамических изделий, обычно характеризуются как размером частиц, так и распределением их по размерам. Размер частиц сильно влияет на свойства каждого материала. Тонкозернистые материалы имеют высокую пластичность и прочность в высушенном состоянии, но из-за небольших размеров, присутствующих в них капилляров, они медленно обезвоживаются и дают высокую усадку при сушке.

Грубозернистые материалы имеют малую пластичность и низкую прочность в высушенном состоянии, но быстрее обезвоживаются и имеют малую усадку в высушенном состоянии.

Помимо размера частиц важно также их распределение по размерам. Для шихты из частиц одного размера беспорядочная упаковка дает около 40% по объему пористости или пустого пространства. Однако если ввести в шихту тонкозернистый материал, для заполнения промежутков между более крупными частицами, общая пористость понизится до 16 % об. На практике этот результат не достигается из-за целого ряда причин.

Теоретическое изменение плотности при заполнении формы материалом различного размера можно проследить на примере укладки шаров различного размера различными способами. Максимальная теоретическая плотность укладки шаров одинакового размера составляет 74% при тщательной ручной укладке. Свободно насыпанные шары дают плотность 55%, а при вибрационной утряске до 64%.

На свойства изделий оказывает влияние не только объем пор, но и их структура. Поэтому следует рассматривать влияние зернового состава и на структуру пор. Тонкомолотая составляющая массы образует особый элемент структуры изделий, называемый связкой. Увеличение связки в общей массе сверх оптимального содержания приводит к увеличению внутренних пор в связке, а при снижении - к увеличению пор между крупными зернами и связкой. При оптимальном содержании связки пористость должна определяться главным образом пористостью самых крупных зерен.

Оптимальный зерновой состав масс сам по себе еще не обеспечивает получение плотных прессовок. Более существенным фактором является давление прессования, т.к. при прессовании происходит перемещение частиц под давлением и уплотнение массы. Однако правильный подбор зернового состава шихты позволяет достичь минимальной пористости прессовки при меньшем давлении статического прессования.

 

2.1 Приготовление керамической массы


В приготовлении керамической массы важнейшими операциями являются: составление шихты, измельчение исходных материалов, гранулирование и сушка керамических масс.

Составление шихты (шихта - исходные материалы) - важнейшая операция, определяющая качество и свойства керамики. Состав шихты обычно рассчитывают в массовых процентах и затем исходные материалы измельчают до однородного тонкодисперсного состояния и смешивают.

Исходные материалы, синтезированные химические соединения (иногда и спеченный керамический материал) в виде кусков различных размеров с различными физическими свойствами размельчают механическим путем (дробят и размалывают). Сначала производят грубое дробление на щековых дробилках до размера частиц 10-15 мм, а затем среднее до размера частиц 1 мм и мелкое дробление - на бегунах, валковых и конусных дробилках или на конических мельницах. Измельченный материал просеивают через металлические сита и пропускают через магнитный сепаратор для отделения ферромагнитных примесей. Частицы, не прошедшие через сита, возвращаются для повторного дробления.

Рисунок 1 - Щековая дробилка

Рисунок 2 - Валовая дробилка

Рисунок 3 - Конусная дробилка

3. Полусухое прессование


При полусухом прессовании изделия изготавливают из масс, содержащих от 7 до 12 % воды, которая обеспечивает их достаточную пластичность и делает легко формуемыми. Масса сжимается прессом в вертикальном направлении с одной стороны (одностороннее давление) или с двух сторон (двухстороннее давление) непрерывно в течение времени прессования (одноступенчатое прессование) или с паузами (ступенчатое прессование). При полусухом прессовании развиваемые давления составляют 200 - 700 кГ/см2. После окончания сжатия изделие (сырец) выталкивается из пресс-формы, и цикл прессования повторяется.

В результате прессования увеличиваются контактная поверхность между частицами и их сцепление. При прессовании снижается размер крупных пор и увеличивается общая удельная поверхность пор. Компоненты массы в процессе прессования частично перераспределяются. Это выражается в переориентации частиц, измельчении зерен, особенно продолговатой формы. Образуется анизотропия макроструктуры, которая после обжига и обуславливает анизотропию некоторых свойств изделий. Из оксидных масс уже при давлении 2 МПа удаляется 85 - 95% воздуха, однако дальнейшее его удаление затруднено. Воздух запрессовывается (сжимается) особенно в тонкозернистых массах, что создает растягивающие усилия, и образуются разрывы в сырце. Удаление воздуха происходит во время паузы в конце прессования.

Вода при полусухом прессовании участвует в передаче давления. Максимальное уплотнение массы достигается тогда, когда объем массы равен сумме объемов твердых частиц и воды - критическая плотность. Давление, при котором наступает такая плотность, называют критическим. Если давление выше критического, наступает перепрессовка, сопровождающаяся образованием трещин в плоскостях, параллельной плоскости прессования. Значение критического давления резко снижается при избытке воды в массе. Однако это не выгодно, т.к. при последующей сушке вода уходит, оставляя поры. При полусухом прессовании применяют не только воду, но и различного вида растворы, смолы, парафин и т.д.

Процесс прессования длится 3-10 секунд. На начальной стадии происходит сближение частиц. Эта стадия может быть высокоскоростной (100 мм/с). На второй стадии происходит зацепление частиц и их перемещение друг относительно друга. Допустимая скорость прессования 8-9 мм/с. На последней стадии происходит выравнивание напряжений и частичное разрушение зерен. Допустимая скорость прессования 2 мм/с.

Прессы полусухого прессования в соответствии с современными требованиями должны обеспечить:

достаточное прессовое усилие;

регулируемое и автоматически поддерживаемое на постоянном заданном уровне прессовое давление;

автоматически поддерживаемое постоянство толщины изделий;

автоматический съем изделий при полном отсутствии ручного труда;

режимы прессования, позволяющие осуществлять паузу в конце прессования;

высокую производительность.

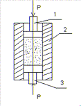
Рисунок 4 - Двустороннее прессование: 1-верхний пуансон, 2-матрица, 3-нижний пуансон

4. Гидростатическое прессование


Гидростатическое прессование обеспечивает равномерное давление на пресс-порошок по всей длине, что позволяет получать изделие с однородной по всей длине плотностью. Этот способ применяют для изготовления изделий с большим отношением высоты к диаметру (толщине стенки). Схема установки для гидростатического прессования изделия трубчатого сечения представлена на рисунке 5.

Рисунок 5 - Схема установки для гидростатического прессования: 1-крышка, 2 - стержень, 3 - эластичная оболочка, 4 - зона засыпки пресс-порошка, 5 - каркас-ограничитель, 6 - камера, 7 - вибрационная площадка, 8 - трубы к вакуумному насосу.

Пресс-порошок загружают в рабочую полость между эластичной оболочкой 3 и стержнем 2. Воздух из камеры прессования 6 и эластичной оболочки 3 откачивают по трубам 8 вакуумным насосом. Для равномерного распределения порошка по зоне прессования применяют вибрацию установки. Для ограничения растяжения эластичной оболочки 3 в установке предусмотрен каркас-ограничитель 5, содержащий отверстия, через которые передается давление жидкости (воды) на эластичную оболочку под высоким давлением (около 400 МН/м2) подается в камеру 6. После прессования снимают давление, сливают воду, открывают крышку 1 и вынимают с сердечником 2 изделие. Изделие снимают с сердечника. Для генерации виброколебаний используют пневматические, электромагнитные и механические вибраторы.

Недостатки гидростатического прессования: невысокая производительность, сравнительно низкое качество поверхности изделия отформованной эластичной оболочкой, сложность процесса подготовки к прессованию.

5. Вибрационное формование


Различные варианты виброуплотнения применяют при изостатическом формовании, а также в качестве самостоятельного метода формования изделий. Вибрация служит средством придания формовочной массе необходимой текучести.

При вибровоздействии отдельным частицам порошка сообщаются индивидуальные скорости и ускорения, в результате чего ослабляются силы внутреннего трения, разрушаются прочные образования и частицы размещаются в наиболее выгодных для плотной упаковки местах. Создаются благоприятные условия для равномерного заполнения формы.

Порядок вибрационного формования заключается в следующем. Массу засыпают в форму. Сверху дают небольшое постоянное давление - пригруз. Стенкам формы сообщают колебательные движения - вибрацию. В результате действия давления, вибрации и силы тяжести частицы перемещаются относительно друг друга, образуя плотную укладку. Продолжительность вибрации зависит от объема массы, и составляет от нескольких секунд до нескольких минут.

Интенсивность вибрации выражают виброускорением в единицах ускорения силы тяжести. Максимальное ускорение равно сумме ускорений вибрации и земного тяготения. Оптимум амплитуды определяется глубиной проработки слоя массы. В общем случае при одночастотном вибрировании предпочтительны большие амплитуды, т.к. они приводят к большим перемещениям частиц массы. При вибрировании масс с виброускорением меньше оптимального плотность укладки снижается из-за недостаточного разрушения прочных образований. При вибрации с ускорением больше оптимального происходит разрыхление и разделение частиц по крупности.

Основное уплотнение происходит в начальный период, а затем снижается и прекращается. Виброуплотнение более чувствительно к правильности подбора зернового состава, чем статическое прессование. При вибрационном уплотнении отсутствует упругое расширение изделий. Под влиянием вибрации лучше уплотняются более твердые материалы. Вибрационным прессованием не только достигают заданной пористости изделий при значительно меньших затратах энергии, но и существенно повышают качество изделий. Виброизделия не обладают анизотропией свойств. Они имеют равномерную структуру, не смотря на некоторое влияние трения вблизи стенок формы. Эффективность виброуплотнения повышается при вакуумировании и уплотнении под пригрузом.

По сравнению с другими методами формования, вибрационный характеризуется большим числом регулируемых параметров самого процесса. Это дает больше возможностей для получения изделий заданной структуры и свойств.

6. Шликерное литье


Шликерным литьем называют метод формования изделий из концентрированных суспензий с использованием пористых форм. Содержанием жидкости в суспензии составляет 50…70% (по объему).

Шликерное литье применяют для получения тонкостенных изделий, или изделий больших размеров и сложной геометрической формы.

Сущность метода заключается в следующем. Шликер заливают в пористую форму (чаще всего изготовленную из гипса). Вода из шликера под действием капиллярных сил проникает в поры формы, а твердые частицы отлагаются и упаковываются на стенках формы (происходит "набирание формы заготовки"). После набора формы до требуемой толщины избыток шликера удаляют, заготовку предварительно высушивают, затем извлекают из разборной формы и подвергают дальнейшей обработке (сушка, обжиг).

Для изготовления изделий методом литья необходимо обеспечить оптимальные условия процесса. Шликер должен иметь:

высокую текучесть (малую вязкость) без сильно выраженных тиксотропных и дилатантных свойств;

не содержать газовых включений;

обладать седиментационной устойчивостью;

достаточно высокими скоростями набора массы и фильтрации через слой осадка (проницаемость осадка).

Заготовки должны иметь возможно более высокие плотность и прочность.

Хороший шликер должен удовлетворять разнообразным требованиям, некоторые из которых противоречивы:

иметь достаточно низкую вязкость для обеспечения хорошей текучести;

давать чистую поверхность и высокое качество изделий;

быть высокоустойчивым (иметь низкую скорость оседания);

обеспечивать возможность быстрого высвобождения изделия из формы;

обеспечивать низкую усадку изделий при сушке и высокую прочность в - -высушенном состоянии;

иметь удовлетворительную скорость "набора тела";

шликер, предназначенный для получения плотных изделий, должен быть свободным от пены, газовых пузырей и др. включений;

Рисунок 6 - Последовательность литейного процесса: 1 - заливка шликера в форму; 2 - сливание лишнего шликера; 3 - отделение изделия от стенок в процессе подсыхания; 4 - готовая керамическая отливка.

Заключение


Бескислородные керамические материалы (карбиды, бориды, нитриды и т.д.) используют в различных областях техники и технологии, в том числе и в ядерной энергетике. Из карбидных материалов наиболее перспективными являются карбиды переходных металлов и неметаллов. Эти соединения обладают высокими температурами плавления и твердостью (в том числе и при высоких температурах), высокой термостойкостью и износостойкостью в сочетании со специфичными тепло- и электропроводностью, магнитными, ядерными и химическими свойствами, что позволяет использовать карбиды и материалы на их основе в энергетике, электротехнике, машиностроении.

Высокая прочность, долговечность и большой ассортимент керамических изделий дают возможность широко использовать их в разных областях - от дома и фасада до атомной энергетики.

Список использованной литературы


1.      Allrefs. Теория формования керамики: [Электронный ресурс]. Режим доступа: http://allrefs.net/ (дата обращения: 27.11.2015)

2.      FindPatent. Способ формования керамических изделий: [Электронный ресурс]. Режим доступа: http://www.findpatent.ru/ (дата обращения: 27.11.2015)

3.      Википедия. Керамическое топливо: [Электронный ресурс]. Режим доступа: https: // ru. wikipedia.org/ <https://ru.wikipedia.org/> (дата обращения: 27.11.2015)

.        Chem21. Формование керамики: [Электронный ресурс]. Режим доступа: http://chem21. info/ <http://chem21.info/> (дата обращения 27.11.2015)

Похожие работы на - Теория формования керамики. Полусухое прессование, гидростатическое прессование, вибрационное формование, шликерное литье

 

Не нашли материал для своей работы?
Поможем написать уникальную работу
Без плагиата!
Без нейросетей!