Разработка схемы и определение основных параметров капустоуборочной машины УКМ-2

  • Вид работы:
    Курсовая работа (т)
  • Предмет:
    Сельское хозяйство
  • Язык:
    Русский
    ,
    Формат файла:
    MS Word
    383,39 Кб
  • Опубликовано:
    2015-06-13
Вы можете узнать стоимость помощи в написании студенческой работы.
Помощь в написании работы, которую точно примут!

Разработка схемы и определение основных параметров капустоуборочной машины УКМ-2

Министерство образования и науки Российской Федерации

Федеральное государственное бюджетное образовательное учреждение

высшего профессионального образования

«Петрозаводский государственный университет»

Агротехнический факультет

Кафедра механизации сельского хозяйства

Специальность: 110800.62 «Агроинженерия»





Разработка схемы и определение основных параметров капустоуборочной машины УКМ-2



Исполнитель: студент группы 43401

Пархомчук В.Н

Руководитель: Кондрашов В.Ф.





Петрозаводск, 2014

Содержание

1. Особенности технологии выращивания капусты

1.1 Общие сведения о капусте

1.2 Планирование работ по выращиванию культуры и выбор сортов       

1.3 Технологические особенности агропоники рассады

1.4 Уборка урожая и его хранение        

2. Двухрядная машина для сплошной уборки капусты УКМ - 2.       7

2.1 Технические характеристики

2.2 Технологический процесс работы

2.3 Элеватор

2.4 Механизм уравновешивания режущего аппарата машины для уборки капусты

3. Указания по мерам безопасности

1. Особенности технологии выращивания капусты

капуста машина сорт урожай

Белокочанная капуста считается практически единственным овощем, обладающим выраженными противоязвенными свойствами. Из нее готовится множество разнообразных блюд, благоприятно влияющих на желудочно-кишечный тракт человека. У капусты много и других лечебных свойств, она содержит большое количество важных микроэлементов (P, Mg, K, Fe, Ca и др.) и витаминов (РР, A, C, E, большинство витаминов группы B). Именно поэтому она широко культивируется по всему земному шару, в том числе в России. Технология выращивания белокочанной капусты пришла к нам из глубины тысячелетий - от земледельцев Древней Греции и Рима, а позднее - Кавказа и Забайкалья. Капуста различных видов занимает ¼ всех площадей, отводимых под овощные культуры в РФ, и 98% из них принадлежат именно белокочанной.

.1 Общие сведения о капусте

Капуста - двулетнее растение, образующее в первый год кочан, а во второй развивающее цветоносный стебель и дающее семена. Правильно выращенное растение имеет плотный твердый кочан и хорошо сохраняется. Культура обладает развитой корневой системой, распространяющейся в слое почвы до 40-50 см. Это холодостойкое растение, прорастание семян которого начинается при температуре +2-+3°С (хотя оптимальной является температура +18-+20°С). После высадки в поле хорошо закаленная рассада способна переносить кратковременные морозы до 5-6°С ниже нуля. В период вегетации для белокочанной капусты оптимальной считается температура +15-+18°С. В осенний период (время созревания кочана) рост и развитие культуры продолжается и при +5-+10°С. Более того, температурный режим выше 25°С отрицательно сказывается на развитии растения (ухудшается кочанообразование, повышается растрескиваемость кочанов и общая заболеваемость растения), а при t° выше 35°С кочаны и вовсе не образуются.

А вот требования к свету у капусты довольно высокие - этому растению для нормального развития нужен световой день, превышающий 13 часов. Еще более требовательна она к влаге: при недостаточной почвенной и воздушной влажности растение развивается слабо, образует мало листьев, дает мелкие плоды. Оптимальной влажностью почвы для капусты белокочанной является показатель в 75-80% НВ. Лучшими почвами для этой культуры считаются суглинистые и глинистые влагоемкие или орошаемые полевые, богатые органическими веществами. Капусте требуются хорошо дренируемые почвы с достаточным слоем для глубокой корневой системы и содержанием извести (pH 6-7,5).

.2 Планирование работ по выращиванию культуры и выбор сортов

На все вышеуказанные аспекты необходимо обратить особое внимание, поскольку они имеют огромное значение для успешного выращивания культуры. Специалисты рекомендуют начинать этот процесс с составления 3 планов:

агротехнического;

сортового;

выполнения работ

Фактор технических работ, более связанный с себестоимостью продукции и возможностью экономии, приобретает большое значение при масштабном культивировании. При этом для значительных площадей возделывания специалистами составляется так называемая технологическая карта выращивания культуры. В ней отражаются основные параметры выполнения работ с перечислением видов операций и указанием технологических требований к ним, способов и приемов работы, перечня машин и оборудования, требований к технике безопасности, исполнителей работ и их функций, режимов труда и отдыха, затрат труда и его оплаты и пр. Для удобства расчетов карта выращивания составляется на 1, 10 или 100 га посевов.

В индивидуальном хозяйстве тоже может быть использована подобная технологическая карта. Ее составление способствует четкому определению этапов выполнения работ, выявлению всех потребностей и потенциальных проблем, устранению последних до начала выращивания белокочанной капусты, что в итоге позволяет собрать более богатый и качественный урожай.

Процесс планирования работ тесно взаимосвязан с выбором сортов, так как последний во многом определяет способы выращивания, состав и характер будущих культивационных мероприятий. Существует множество сортов и гибридов белокочанной капусты, среди которых Адема F1, Балбро F1, Гранада F1, Капорал F1, Леопольд F1, Менди F1, Славия, Толсма F1, Харрикейн F1 и прочие. При сортовом отборе должны быть учтены следующие факторы:

время уборки урожая (поскольку существуют ранние и поздние сорта капусты);

возможность проведения посева в разное время без ущерба для качества продукции (к примеру, 15 марта можно осуществлять посев в туннельную теплицу, а 10 апреля - уже в открытый грунт с пленочным колпаком);

желаемый размер кочана (от этого показателя будет зависеть количество растений, посаженных на 1 га);

правильность выбора сортов, сроков посева и высадки для того, чтобы получить максимальный и качественный урожай и убрать его в оптимальные сроки с учетом климатических условий;

1.3 Технологические особенности агропоники рассады

Технология выращивания капустной рассады содержит следующие важные моменты:

Оптимальная температура почвы составляет 12-15 градусов.

На 1 кв. м высевают 400-500 семян. Наилучшим способом считается точный посев, при котором расстояние между семенами составляет 2,7 см, ширина междурядий 8 см, дающий однородный посадочный материал. При посеве вразброс нормой высева являются 1,5-2 г семян на кв. м, при этом нужно следить за равномерным распределением семян по засеваемой площади.

Глубина посева должна составлять 1-1,5 см в зависимости от состояния и влажности почвы (посев на глубину более 2 см затрудняет прорастание семян).

После посева землю поливают, чтобы ускорить прорастание и усилить действие противосорнячных препаратов (обработку ими проводят сразу после посева). Лучшим из таких препаратов считается пропахлор (Рамрод), его требуется 5-7 кг на 1 га.

При высевании в открытый грунт желательно закрывать посевы пленкой (лучше с перфорацией 4,5%), что обеспечивает появление равномерных всходов; после достаточного развития первых листочков пленку целесообразно снять (перфорированную можно использовать дольше).

Температура в помещении после появления всходов должна быть ночью не менее +5.°С и днем минимум +8 (в солнечную погоду допустимы более высокие дневные температуры).

Хорошо поливать рассаду нужно только на стадии прорастания, так как в дальнейшем избыток влаги ослабляет ростки и вызывает появление Botrytis cinerea (серой гнили), Rhizoctonia (корневой гнили), Peronospora par. (ложной мучнистой росы). Оптимален полив в 20-25 мм, обеспечивающий устойчивый рост рассады и заставляющий ее развивать корневую систему.

После развития первых настоящих листьев рекомендуется начать вентилирование помещения, чтобы закалить рассаду, уделяя особое внимание ее быстрому подсыханию в утренние часы.

Нужно тщательно следить за возникновением болезней или появлением насекомых и своевременно производить необходимую обработку.

Фактический выход рассады при оптимальных условиях для ее развития рассчитывается по следующей формуле: посев в стеклянные или туннельные теплицы в количественном выражении минус 70%, посев под пленку (перфорированную) за вычетом 60%, в открытый грунт -50%.

Обычно рассада бывает готова к высадке через 45-50 дней. Использование переросшей, крупной рассады провоцирует развитие неравномерных кочанов.

.4 Уборка урожая и его хранение

Убирают урожай капусты вручную, иногда с применением вспомогательных механизмов (машин, комбайнов, ленточных транспортеров с самосвальными уборочными тележками). Полная механизация этого процесса пока невозможна, так как продукция требует заботливого сбора и транспортировки, а технические средства не могут этого обеспечить. Повреждение кочанов при уборке приводит к ухудшению не только их внешнего вида, но и лежкости, уменьшению сроков хранения. Важнейшим условием хорошего сохранения белокочанной капусты является ее своевременная уборка. К ней можно приступать лишь после окончательного формирования кочанов, когда они станут достаточно крупными и плотными, их вес достигнет 1,5-4 кг, а сверху появится более светлое блестящее пятно, свидетельствующее об окончании роста и созревания кочана. Убирают кочаны в один прием или выборочно, если они созревают не одновременно. Среднеспелая капуста предназначена для хранения в течение всего 2-3 месяцев, и то лишь при условии ее целостности. Рекомендуется хранить капусту в контейнерах (ящиках-клетках) на поддонах. Треснувшие, перезревшие, затронутые болезнями или промерзшие во время заморозков в поле кочаны (если замерзание коснулось не только наружных листьев) для хранения не годятся.

2. Двухрядная машина для сплошной уборки капусты УКМ - 2

Двухрядная прицепная уборочная машина УКМ-2 осуществляет сплошную уборку кочанов средне- и позднеспелой капусты с зеленым листом и одновременной погрузкой ее в рядом движущееся транспортное средство. Ее агрегатируют с тракторами МТЗ-80 и МТЗ-82. Машина состоит из рамы, срезающего аппарата, выгрузного элеватора, гидросистемы, привода. УКМ-2 движется по убранной части поля. Клавиши срезающего аппарата поднимают и направляют кочаны под прижимные барабаны, которые фиксируют и подают кочаны в приемную часть выгрузного элеватора. После среза сегментными ножами, расположенными на качалках под прижимными барабанами, кочаны из приемной части выгрузного элеватора подаются на наклонный участок и затем поступают в кузов транспортного средства, которое перевозит срезанные растения (кочаны с розеточными листьями) на линию послеуборочной обработки или в хранилище. Обслуживают машину два человека. Она убирает одновременно два ряда капусты, выращенной при междурядьях 70 см.

.1 Технические характеристики

Тип машины

полунавесной

Производительность за 1 час. основного времени, га

до 0,3

Рабочая скорость, км / ч

2-4

Транспортная скорость, км / ч

до 15

Ширина междурядий, см

70

2

Габаритные размеры:


- В рабочем положении, мм

5600х (5900 ... 6850) х3550

- В транспортном положении, мм

5600 * 3100 * 3880

Дорожный просвет, мм

300

Обслуживающий персонал:

2-4

- Тракторист

1

- Оператор

1

- Работники на очистке

0-2

Масса, кг

3350


.2 Технологический процесс работы

Машина состоит из режущего аппарата бокового расположения, двух колес 3 (рис. XV. 18), выгрузного элеватора 17, листоотделителя 13 и гидропривода рабочих органов.
Режущий аппарат имеет два рабочих русла, образованных центральным неподвижным лифтером и боковыми колеблющимися клавишами 11. Над каждым руслом расположен прижимной барабан 6, поверхность которого образована эластичной сеткой. На рамках 10 клавишей 11 закреплены ножи 9. Рамки с клавишами закреплены на подвесках 4 и приводятся в колебательное движение шатуном 8 от вала 7. Срезающий аппарат может копировать поле в продольном и поперечном направлениях. При работе агрегата клавиши 11 поднимают полеглые кочаны и направляют их под прижимные барабаны 6. На качающихся рамках 10 кочаны выравниваются, срезаются ножами 9 и подаются на нижнюю ветвь выгрузного элеватора 17. Его скребки подают капусту к листоотделителю 13. В зазор между вальцами затягиваются свободные листья и растительные остатки, которые падают на поле. Кочаны с поверхности листоотделителя сходят в кузов рядом движущегося транспортного средства. Для раздельной уборки капусты выгрузной элеватор 17 переводят в горизонтальное положение. При первом проходе машины открывают первый от срезающего аппарата люк, при втором проходе - второй (первый люк закрыт), при третьем проходе кочаны выгружают в конце транспортера (оба люка закрыты). Сформированный из шести рядков валок вручную загружают в транспортное средство и доставляют на реализацию или в хранилище.

Рис. XV.18. Схема капустоуборочной машины УКМ-2:

а - общий вид; б - вид сбоку; в - вид сверху; 1 - трактор; 2 - режущий аппарат; 3 - ходовые колеса; 4 - телескопические подвески; 5 -рама срезающего аппарата; 6-прижимной барабан; 7-коленчатый вал; S’-шатун; 9-нож; 10- качающиеся рамки; 11 - клавиши; 72-рама машины; 13-листоотделитель; 14- боковина; 15 - гидрошлиндр; 16- гидромотор; 17- выгрузной элеватор вальцов со спиралями. В каждой паре кожух одного вальца гладкий, а на поверхности другого нанесены эластичные шипы из пальчиковой резины.

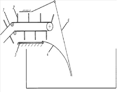
.3 Элеватор

Изобретение относится к сельскохозяйственному машиностроению. Отгрузочное устройство содержит прутковый элеватор (1) со скребками (2), скатный лоток. Под горизонтальной частью пруткового элеватора со скребками установлен жесткий поддон (3) параллельно траектории движения скребков (2) с зазором относительно их. К задней кромке поддона (3) в зоне выгрузки кочанов закреплен консольно упругий прорезиненный скатный лоток (4), например полотно из транспортерной ленты с возможностью свисать свободным концом. За выгрузным концом элеватора (1) сверху шарнирно подвешен гибкий фартук (5), прижимающийся под действием собственного веса к скатному лотку (4), образуя клинообразную, сходящуюся книзу щель с ним. Обеспечивается достижение снижения повреждаемости кочанов при отгрузке от элеватора в кузов транспортного средства, а также отделение свободных листьев капусты от кочанов и отвод их из зоны выгрузки для сбрасывания на землю. 2 з.п. ф-лы, 2

Отгрузочное устройство капустоуборочной машины

Изобретение относится к сельскохозяйственному машиностроению, а именно к машинам для уборки капусты.

Известно отгрузочное устройство в транспортере для уборки овощей [1], включающее жесткий скатный лоток, расположенный наклонно к горизонту под выгрузным концом элеватора.


Недостатком известного устройства является возможность травмирования кочанов в связи с большой высотой падения их с лотка на дно кузова транспортного средства.

Недостатком данного устройства является также прохождение свободных листьев капусты вместе с кочанами в кузов транспортного средства, которые закрывают просветы в массе и снижают лежкость кочанов во время хранения из-за ухудшения условий вентиляции кочанов в нижних слоях.

Указанный недостаток частично устранен в отгрузочном устройстве капустоуборочной машины [2], содержащем выгрузной прутковый элеватор со скребками, эластичный лоток, подвешенный на гибкой подвеске под выгрузным концом элеватора, и гидроцилиндры для установки эластичного лотка в рабочее и транспортное положения.

Выполнение лотка из эластичного материала позволяет частично амортизировать и смягчить удар. Однако кочаны, находясь в свободном полете, приобретают значительную скорость соударения, вызывающую существенные повреждения их.

К тому же в данном устройстве свободные листья капусты также проходят вместе с кочанами в кузов транспортного средства. Тем самым ухудшается качество продукции.

Заявляемое изобретение направлено на решение следующих задач:

достижение снижения повреждаемости кочанов при отгрузке от элеватора в кузов транспортного средства; отделение свободных листьев капусты от кочанов и отвод их из зоны выгрузки для сбрасывания на землю.

Решение обозначенных задач обеспечивает следующий технический результат: улучшение качества получаемой продукции при машинной уборке капусты.

Для решения обозначенных задач в известном отгрузочном устройстве, содержащем прутковый элеватор со скребками, лоток, под горизонтальной частью пруткового элеватора со скребками установлен жесткий поддон параллельно траектории движения скребков, к задней кромке поддона в зоне выгрузки кочанов закреплен консольно упругий прорезиненный скатный лоток, например полотно из транспортерной ленты с возможностью свисать свободным концом, за выгрузным концом элеватора сверху шарнирно подвешен гибкий фартук, прижимающийся под действием собственного веса к упругому прорезиненному скатному лотку, образуя клинообразную, сходящуюся к низу щель с ним.

Кроме того, для решения обозначенных задач в известном отгрузочном устройстве выгрузная часть скребкового элеватора выполнена выступающей за задней кромкой жесткого поддона на величину  , достаточную, чтобы упругий прорезиненный скатный лоток, свисая свободным концом, образовал в зоне падения кочанов угол  к горизонту, удовлетворяющий условию  < < (здесь  - угол наклона шероховатой прорезиненной плоскости, необходимый для скатывания кочанов,  - угол трения скольжения листьев капусты по лотку).

А также зазор между жестким поддоном и концами скребков § выполнен не превышающим толщины листа капусты В.

Установление жесткого поддона под горизонтальной частью пруткового элеватора со скребками, закрепление к его задней кромке консольно упругого прорезиненного лотка и шарнирное подвешивание гибкого фартука так, чтобы образовалась щель клинообразной формы, позволяет свести скорости падающих кочанов до минимума за счет погашения кинетической энергии последних в результате совершения работ деформаций, перемещений лотка и фартука, а также трения о них при прохождении их в щели клинообразной формы. Кроме того, данное техническое решение позволяет вывести за пределы кузова транспортного средства листья капусты, провалившиеся между прутками на поддон и упавшие на лоток в зоне отгрузки из элеватора с помощью скребков по поддону. В противном случае они оказались бы в кузове вместе с кочанами.

Выполнение выгрузной части элеватора, выступающей за задней кромкой поддона, позволяет занять упругому прорезиненному лотку в зоне падения кочанов наклонно к горизонту, чтобы они успевали скатываться вниз в упомянутую выше щель до прихода в эту зону скребка. В противном случае при задержке кочанов на лотке скребки могут захватывать их и протаскивать по поддону.

В то же время листья капусты при названном угле наклона  < < будут продолжать находиться на лотке, дожидаясь захвата скребками.

Причем выполнение зазора между поддоном и скребками меньше толщины листа капусты позволяет успешно отводить их из зоны расположения кузова транспортного средства, исключая в то же время трение скребков о поверхность поддона.

На фиг.1 изображено отгрузочное устройство капустоуборочной машины, вид сбоку; на фиг.2 - схема к обоснованию его параметров.

Отгрузочное устройство капустоуборочной машины (фиг.1) содержит прутковый элеватор 1 со скребками 2, жесткий поддон 3, установленный под горизонтальной частью элеватора параллельно траектории движения скребков, упругий прорезиненный лоток 4, закрепленный консолью к задней кромке поддона с возможностью свисать свободным концом, гибкий фартук 5, подвешенный сверху шарнирно за выгрузным концом элеватора так, чтобы, прижимаясь к лотку, образовал клинообразную, сходящуюся книзу щель с ним.

Выгрузная часть пруткового элеватора 1 выполнена выступающей за задней кромкой жесткого поддона 3 на величину  (фиг.2), достаточную, чтобы упругий прорезиненный лоток, свисая свободным концом, образовал в зоне падения кочанов угол а к горизонту, удовлетворяющий условию  < < (здесь  -угол наклона шероховатой прорезиненной плоскости, необходимый для скатывания кочанов,  - угол трения скольжения капустного листа по лотку).

Кроме того, жесткий поддон 3 установлен под горизонтальной частью элеватора 1 с зазором  <В (здесь В - толщина листа капусты) относительно концов скребков 2.

Отгрузочное устройство капустоуборочной машины работает следующим образом.

Во время работы капустоуборочной машины кочаны и свободные листья капусты перемещаются на прутках верхней ветви элеватора 1 к выгрузному концу. При этом часть свободных листьев капусты проваливается на жесткий поддон 3 на выгрузном конце элеватора 1, кочаны отрываются от скребков и падают на наклонную часть упругого прорезиненного лотка 4. При этом удар смягчается упругостью лотка 4. Далее кочаны скатываются в клинообразную щель между лотком 4 и фартуком 5, так как угол  больше угла  . При этом под действием силы тяжести фартук 5 и лоток 4 раздвигаются, создавая одновременно силы трения по боковым поверхностям кочанов. При прохождении в щели клинообразной формы кочаны теряют свою кинетическую энергию на совершение работы деформации лотка 4, фартука 5 и на работу сил трения, поэтому выгрузка их в кузов транспортного средства происходит при минимальной скорости, не вызывающей повреждения.

В то же время оставшиеся на элеваторе листья капусты также падают на упругий прорезиненный лоток 4, но продолжают находиться на месте падения до тех пор, пока их не затащит последующий скребок 2 на жесткий поддон 3, так как угол  меньше угла трения скольжения  их по упругому прорезиненному лотку.

Далее свободные листья капусты транспортируются скребками 2 по жесткому поддону 3, выводятся за пределы кузова 6 транспортного средства и сбрасываются на землю.

Следовательно, свободные листья капусты отделяются от кочанов, не могут поступать в кузов транспортного средства.

Таким образом, предлагаемое отгрузочное устройство позволяет улучшить качество получаемой продукции при машинной уборке капусты путем снижения повреждаемости кочанов и отделения свободных листьев капусты при отгрузке от элеватора в кузов транспортного средства.

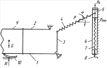
.4 Механизм уравновешивания режущего аппарата машины для уборки капусты

Изобретение относится к сельскохозяйственному машиностроению, а именно к уборочным машинам. Механизм содержит рычажно-шарнирную навеску с уравновешивающей пружиной (4). В механизме уравновешивающая пружина (4) связана одним концом со стойкой (3) нижнего звена (1) навески, а другим концом кинематически соединена с ползуном (5). Ползун (5) установлен с возможностью перемещаться в вертикальном пазу (6) рамы машины. Обеспечивается снижение нагруженности механизма. 1 з.п. ф-лы, 1


Изобретение относится к сельскохозяйственному машиностроению, а именно к уборочным машинам.

Известен механизм уравновешивания в копирующем устройстве капустоуборочной машины, содержащий четырехзвенный шарнирно-рычажный механизм навески, подпружиненный относительно рамы машины с помощью двуплечего рычага [1].

Недостатком известного механизма уравновешивания является то, что он не может обеспечивать постоянство силы давления под копирующими лыжами режущего аппарата, так как из-за изменения положения режущего аппарата относительно рамы машины в процессе копирования рельефа почвы уравновешивающая пружина, закрепленная одним концом на раме машины, другим концом на двуплечем рычаге навески, растягивается на разную величину при разных положениях режущего аппарата. В этой связи на четырехзвенный шарнирно-рычажный механизм навески будет действовать сила упругости уравновешивающей пружины переменной величины. В этой связи сила давления под копирующими лыжами окажется также переменной величиной.

Указанный недостаток устранен в механизме навески копирующего устройства [2], содержащем также рычажно-шарнирный механизм навески с уравновешивающей пружиной, связанной одним концом со стойкой нижнего звена навески, другим концом с помощью гибкого каната через отклоняющий блок с ободом диска, имеющего жесткую связь с нижним же звеном навески и общую ось поворота с ним в продольно-вертикальной плоскости относительно рамы машины.

Данный механизм в достаточной степени стабилизирует силу давления под опорными лыжами режущего аппарата. Соединение конца уравновешивающей пружины с ободом диска на нижнем звене навески позволяет поддерживать постоянной величину ее деформации. Однако при этом сила упругости уравновешивающей пружины передается через отклоняющий блок на обод диска, а затем на нижнее звено навески, создавая дополнительный внутренний момент на нем в направлении, противоположном моменту на стойке. В этой связи необходимо создавать уравновешивающей пружиной на стойке дополнительный момент для уравновешивания названного внутреннего момента, кроме момента, необходимого для уравновешивания сил тяжести режущего аппарата. Это приводит к технологически неоправданной перегрузке звеньев механизма уравновешивания внутренними силами, что приводит к снижению технической надежности всего механизма.

Заявляемое изобретение направлено на решение задачи: снижение нагруженности механизма уравновешивания внутренними силами в процессе обеспечения постоянной уравновешивающей силой при копировании рельефа почвы режущим аппаратом.

Решение обозначенной задачи в известном механизме навески обеспечивает технический результат: повышение технической надежности механизма уравновешивания в целом в результате разгрузки его звеньев от технологически неоправданных внутренних сил.

Для решения обозначенной задачи в известном механизме уравновешивания режущего аппарата, содержащем рычажно-шарнирную навеску, уравновешивающая пружина, связанная одним концом со стойкой нижнего звена навески, кинематически соединена с другим концом с ползуном, установленным с возможностью перемещаться в вертикальном пазу рамы машины. Причем ползун подпружинен в вертикальном пазу снизу пружиной сжатия вдоль возможного перемещения.

Установление кинематической связи уравновешивающей пружины с ползуном, имеющим возможность перемещаться в вертикальном пазу рамы машины, позволяет сохранять пружине величину начальной деформации при повороте стойки нижнего звена навески вокруг оси шарнира в процессе копирования рельефа почвы режущим аппаратом за счет перемещений ползуна в пазу. Причем при повороте стойки нижнего звена против часовой стрелки (при наезде режущего аппарата в ложбинку) ползун опускается вниз, преодолевая усилие подпружинивания, при повороте стойки по часовой стрелке (при наезде режущего аппарата на возвышенность) ползун поднимается по пазу вверх под действием подпружинивающей силы.

Таким образом, обеспечивается сохранение начальной деформации уравновешивающей пружины, следовательно, постоянство уравновешивающей силы.

На фиг.1 изображен механизм уравновешивания режущего аппарата машины для уборки сельскохозяйственных культур, например капусты.

Механизм уравновешивания (фиг.1) содержит рычажно-шарнирную навеску с нижним 1 и верхним 2 звеньями. Нижнее звено 1 жестко связано стойкой 3, соединенной с уравновешивающей пружиной 4. Уравновешивающая пружина 4 другим концом соединена с ползуном 5, установленным подвижно в вертикальном пазу 6 рамы машины. Ползун 5 подпружинен в пазу пружиной сжатия 7. Для регулировки силы сжатия пружины 7 установлен винт 8. Режущий аппарат 9 соединен с нижним 1 и верхним 2 звеньями уравновешивающего механизма шарнирно и опирается на лыжи 10.

Механизм уравновешивания режущего аппарата работает следующим образом.

Так, например, при наезде режущего аппарата в ложбинку стойка 3 повернется против часовой стрелки, уравновешивающая пружина пытается растянуться, но ползун сдвинется вниз, преодолевая силу подпружинивания Pn. Таким образом, длина уравновешивающей пружины 4 сохранится.

При наезде режущего аппарата на возвышенность стойка 3 повернется по часовой стрелке, уравновешивающая пружина пытается расслабляться, но ползун 5 сдвинется вверх под действием силы Pn и восстановится первоначальное натяжение.

Процесс будет продолжаться до тех пор, пока не наступит равенство Pn=Psin .

Величину начальной силы подпружинивания Pn устанавливают регулировочным винтом 8 в зависимости от потребной силы давления N под опорными лыжами 10 режущего аппарата перед работой машины.

Таким образом, данный механизм обеспечивает постоянство уравновешивающей силы P, которая воспринимается рамой машины. Звенья механизма уравновешивания дополнительно не нагружаются внутренними силами. Этим достигается повышение технической надежности механизма уравновешивания в процессе обеспечения постоянства уравновешивающей силы при копировании рельефа почвы режущим аппаратом.

3. Указания по мерам безопасности

При обслуживании капустоуборочной машины руководствуйтесь Едиными требованиями к инструкции тракторов и сельскохозяйственных машин по безопасности и гигиене труда (ЕТ - 4) и Общими требованиями безопасности ГОСТа.

Внимание! Капустоуборочная машина имеет вращающиеся рабочие органы повышенной опасности, в связи с этим необходимо строго соблюдать следующие меры безопасности при подготовке капустоуборочной машины к работе и во время работы

Допускаются к обслуживанию капустоуборочной машины только трактористы, изучившие Техническое описание и Инструкцию по эксплуатации капустоуборочной машины.

Перед пуском в работу ротационной капустоуборочной машины необходимо убедиться в надежности крепления скашивающих ножей во избежание их самопроизвольного отрыва при работе. Запрещается заменять ножи без предварительного стопорения ротора через отверстия в кольцевой части ротора. Проверяйте крепление ножей режущего аппарата через каждые 4 часа работы капустоуборочной машины.

Проверьте надежность крепления роторов, наличие на валах стопорных шайб.

Проверьте наличие посторонних предметов под роторами капустоуборочной машины; если они обнаружены, уберите их.

Во время опробования, запуска и последующей работы посторонним лицам запрещается находиться на расстоянии менее 50 м от капустоуборочной машины при наклоне режущего аппарата не более 3 градусов вперед по ходу машины, и 90-100 м при наклоне режущего аппарата до 7 градусов.

Закрывайте двери кабины трактора при работе капустоуборочной машины в условиях, вызывающих запыление атмосферы на рабочем месте тракториста.

ЗАПРЕЩАЕТСЯ осматривать или устранять поломки капустоуборочной машины с не выключенным валом отбора мощности трактора.

Запрещается переезд трактора с косилкой без установки и фиксации режущего аппарата в вертикальном (транспортном) положении.

При дальнейшей транспортировке по дорогам косилка должна быть оборудована сигнальными флажками, установленными на узлах, выступающих за габариты трактора.

Перед снятием капустоуборочной машины с рычагов навесного устройства трактора устанавливайте фиксирующий штырь в отверстие телескопического стопорного устройства.

Меры противопожарной безопасности.

Соблюдайте правила противопожарной безопасности.

Работайте с трактором, агрегатирующим капустоуборочной машины , оборудованным огнетушителем.

Не проливайте масла на косилку при смазке.

Для предотвращения течи масла из гидросистемы капустоуборочной машины при отсоединении ее от гидросистемы трактора используйте запорное устройство.

Похожие работы на - Разработка схемы и определение основных параметров капустоуборочной машины УКМ-2

 

Не нашли материал для своей работы?
Поможем написать уникальную работу
Без плагиата!
Без нейросетей!