|
Da, см
|
Но/
Da
|
|
1
2 3
|
15
30 61
|
4
4 3
|
слой качественно
похож на псевдоожиженный с каналообразованием. Однако каналообразование
представляет собой отрицательное явление кипящего слоя, приводящее к проскоку
газа и снижению эффективности перемешивания твердого маториала.
С другой стороны,
при фонтанировании перемешивание всего слоя достигается с помощью газового
потока, а хороший контакт между газом и частицами осуществляется как в самом
фонтане, так и в кольце, причем в кольцо газ попадает вследствие радиального
перетопка из фонтана. Из рис. 1.3 видно, что большая доля от проходящего через
кольцо газа поступает в него примерно с половины высоты слоя. Кроме того,
каналообразование в кипящем слое наблюдается преимущественно при взвешивании
тонкодиспёрсных частиц, в то время как фонтанирование применяется обычно для
крупных частиц. Таким образом, сходство между фонтанированием и
каналообразовапием в псевдоожиженном слое, усиленно подчеркиваемое рядом
авторов, в известной степени не обосновано.
Форма продольного
профиля давления в фонтанирующем слое также резко отличается от профиля
давлений и псевдоожиженном слое, даже при использовании в том и другом случаях
конически-цилиндрических безрешеточных аппаратов. Так, в фонтанирующем слое
продольный градиент давления непрерывно меняется с изменением высоты слоя,
равномерно приближаясь к максимальному значению в верхней его части. В кипящем
же слое градиент давлений постоянен в цилиндрической части колонны, несмотря на
общий в обоих случаях характер движения частиц вверх по центру и вниз вдоль
стенок аппарата.
Купол из
уплотненного твердого вещества все еще существует и над внутренним фонтаном,
так что перепад давления в слое продолжает увеличиваться вплоть до
максимального значения ΔРм в точке В (рис. 4). Соответствующая этому перепаду
линейная скорость обозначается ωм.
Рис. 4. Типичные
кривые зависимости перепада давления от скорости воздуха (по данным [125]).
Пшеница, dч=3,6 мм; Da = 15,2 см; do =1,27 см; α =600. Пунктирная кривая -
при уменьшении расхода газа. Но, см; 1-30; 2-20; 3-15; 4-10.
По мере дальнейшего
увеличения скорости потока газа внутренний фонтан раздувает слой и его высота
становится больше исходной высоты плоти о упакованного слоя. Поэтому перепад
давления начинает уменьшаться вдоль линии ВС. С приближением к точке С
происходит вытеснение из центрального ядра достаточного количества твердых
частиц, что приводит к заметному расширению слоя. Это расширение слоя вызывает
иногда замедление уменьшения перепада давления и обычно сопровождается
попеременным расширением и сжатием внутреннего. Возникающая нестабильность
приводит к флуктуациям перепада давления, а для более высоких слоев - и к
псевдоожижению частиц над внутренним фонтаном. Даже при незначительном
увеличении скорости потока газа за пределами точки С, которая называется точкой
зарождения фонтанирования, внутренний фонтан прорывается через зеркало слоя. При
этом концентрация твердых частиц в области непосредственно над внутренним
фонтаном сильно уменьшается, вызывая резкое падение перепада давления (до точки
D).
Здесь весь слой становится подвижным и наступает устойчивое фонтанирование.
Таким образом, точка D отвечает началу фонтанирования. При дальнейшем увеличении
скорости потока газа избыточны газ просто проходит через ядро, которое
оказывает наименьшее сопротивление. При этом высота фонтана увеличивается без
сколько-нибудь заметного изменения перепада давления. Следовательно, перепад
давления ΔР
точкой D остается в основном постоянным.
Скорость зарождения
фонтана (точка С) и скорость начала фонтанирования (точка D) зависят от состояния исходного
слоя и поэтому полностью не воспроизводятся.
Значения перепада
давления, представляющие наибольший интерес при конструировании и эксплуатации
аппаратов с фонтанирующим слоем, находятся в точках В и D. Они представляют соответственно
пик перепада давления ΔРМ, отвечающий моменту зарождения фонтана, и перепад
давления при устойчивом фонтанировавши ΔРф. Первый проявляется, как правило, при пуске аппарата
с фонтанирующим слоем, второй определяет стационарный режим работы.
Фильтрация газа
через решетку подчиняется закону Дарси для вязкого течения через пористую
среду. Однако в случае фонтанирующего слоя это допущение, как правило, не
применимо из-за высокой скорости газа во входном отверстии, даже при условии,
что поддерживающая решетка расположена во входном отверстии.
Для изотермического
течения газа через какую - либо преграду потеря давления на внутреннее трение Р1-Р2
может быть представлена как сумма вязкостного и инерционного членов
(1.1)
Где: сВ и
си - вязкостные и инерционные постоянные;
μс
- вязкость среды;
ωс
- скорость среды;
ρс
- плотность среды;
ι - характеристическая
длина;
ω0
- скорость легкой фазы в сечении входного отверстия.
Для данной преграды и
используемого ожижающ его агента (принимая, что вязкость пренебрежимо мало
изменяется с давлением) уравнение (2.3) приводится к виду:
(1.2)
Где: G - массовая скорость сжижающего
агента.
Полагая, что
ожижающий агент является идеальным газом, так что ρс пропорционально Р, с достаточной точностью можно написать:

(1.3)
Таким образом, для
данной скорости газа именно
а не Р1-Р2
будет оставаться постоянным независимо от абсолютного давления. Отсюда
вычитание сопротивления пустого аппарата из измеренного значения перепада
давления слоя при одинаковой скорости газа приводит к отрицательной ошибке.
Для аппаратов с высоким
фонтанирующим слоем, в которых штуцер для отбора давления расположен в
подводящем газ патрубке значительно ниже входного отверстия, подобного рода
ошибка может достигать 10%, хотя, как правило, ошибка гораздо меньше.
Высокий пик перепада
давления, наблюдаемый перед самым началом фонтанирования, не является абсолютно
специфическим свойством фонтанирующего слоя и связан в основном с эффектом
входа газа, обладающего высокой скоростью. Наличие подобного пика наблюдалось при
псевдоожижении с каналообразованием, а также при обычном псевдоожижелии как в
коническом, так и в коническое -цилиндрическом аппаратах. В этих случаях, как и
при фонтанировании, легкая фаза должна пройти сначала через твердую фазу в
нижней части слоя, прежде чем она вызовет движение твердых частиц в верхних
участках слоя. Даже при псевдоожижении в цилиндрическом аппарате, где газ
входит через перфорированную распределительную решетку, наблюдается практически
то же самое явление, хотя получающийся здесь пик перепада давления перед
началом псевдоожижения весьма незначителен. Объясняется это тем, что каждая
миниатюрная струя газа, входящая в слой через одно из многочисленных отверстий
распределительной решетки, проходит несколько слоев твердых частиц, прежде чем
потеряет свою форму, превращаясь в пузырь [ 4].
Рис. 5. Кривые
перепад давления расход воздуха [6]: - в слое; - - - в конической части; -.-.- в цилиндрической
части; 1- возрастание расхода воздуха; 2 - уменьшение расхода воздуха.
Следовательно,
появление пика на кривой перепада давления как при фонтанировании, так при
псевдоожижении может быть приписано энергии, необходимой газовой струе для
прорыва плотного слоя и образования внутреннего фонтана в нижней части слоя.
Преобразуется ли впоследствии этот внутренний фонтан в наружный или произойдет
переход к псевдоожижению, будет зависеть от того, выполняются ли необходимые
для фонтанирования условия по размеру частиц, диаметру отверстия, высоте слоя и
т.д.
Угол естественного
откоса γ, введенный для учета соответствующих характеристик сильно
отличающихся твердых материалов, измерялся по методу Зенца и Отмера [8].
Оказалось, что значение tg γ изменяется от 1,25 для семян сурепки до 3,2 для угля. Для частиц
полидисперсного материала был взят средний диаметр
,
определенный из данных ситового анализа. Гельперин и др. [9] получили
экспериментальные значения ΔРм,
которые в некоторых случаях в два-три раза превосходили значение перепада
давления, рассчитанное исходя из веса слоя. Эти исследования первоначально
относились к псевдоожижению относительно мелких частиц, но они справедливы и
для явления фонтанирования, поскольку величина пика перепада давления не должна
зависеть от того, будет ли слой впоследствии псевдоожиженным или фонтанирующим.
Их эмпирическое уравнение имеет следующий вид
(1.4)
Где: α - угол раствора конуса;
Dн - диаметр зеркала слоя.
Уравнение проверено
для следующего диапазона изменения параметров: α
= 10 ÷ 60°, Но = 100 ÷ 250 мм, d0 ≤ 50 мм; в качестве твердой фазы применялся дробленый кварц
с размерами частиц от 0,16 до 0,28 мм. Член Dн геометрически связан с другими параметрами конического слоя
уравнением:
DH = d0 + 2H0 tg α/2 (1.5)
Мухленов и Горштейн
[9], которые также исследовал и фонтанирование в конических аппаратах,
показали, что отношение пика перепада давления к перепаду давления при
устойчивом фонтанировании зависит от геометрии системы а также свойств газа и
твердой фазы.
Исходя из анализа
размерностей, они пришли к следующему эмпирическому соотношению
(1.6)
Где: ΔРф - перепад
давления при фонтанировании.
.3 Определение
скорости фонтанирования
Минимальная
скорость сжижающего агента, при которой слой все еще остается в состоянии
фонтанирования, зависит,
Рис. 6. Влияние
диаметра колонны и высоты слоя воздух - пшеница на минимальную скорость
фонтанирования.
Da/do
= в; α = 850;
Dа, см: 1- 15,0; 2 -
23,0; 3 - 30,5; 4 - 61,0. Точки соответствуют
Н0 = Нм.
с одной стороны, от
свойств твердой фазы и сжижающего агента, а, с другой стороны, от геометрии
слоя. В цилиндрической колонне ωм.ф. Для данного материала,
в отличие от ωм.п, увеличивается с ростом
слоя и уменьшением диаметра колонны (рис. 6). Размер входною отверстия для
сжижающего агента хотя и не столь существенно, но все-таки влияет на ωм.ф. Следовательно, сравнение ωм.ф. с минимальной
скоростью псевдоожижения затруднительно за исключением слоя с максимальной
высотой, при которой возможно фонтанирование, где ωм.ф. достигает своего наибольшего значения.
Можно ожидать, что
скорость ωм.ф. при Нм,
обозначаемая ωм или максимум
минимальной скорости фонтанирования, для данного материала совпадает с
минимальной скоростью псевдоожижения, поскольку при Н0 > Нм
фонтанирующий слой переходит в псевдоожиженпый. Однако экспериментальные данные
показывают, что связь между ωм и ωм.ф. менее значительна, особенно при ωм, превышающем ωм.п.
Уравнение Матура -
Гишилера:
(1.7)
Уравнение (1.7), выведенное
па основе анализа размерности, было получено из экспериментальных данных по
фонтанированию ряда близких по размерам материалов в аппаратах диаметром от 7,6
до 30,5 см с использованием в качестве ожижающего агента как воздуха, так и
воды.
1.4 Тепловая обработка
дисперсных материалов во взвешенном слое
Техника фонтанирующего
слоя получила наиболее широкое применение в процессах тепловой обработки. В
фонтанирующем слое можно сушить как сыпучие материалы, так и пасты и растворы.
Свойства исходного материала и требования, которые предъявляются к товарному
продукту в отношении его крупности, влажности и других свойств определяют не
только гидродинамический и тепловой режимы процесса, но и конструкцию аппарата,
выбор вспомогательного оборудования и организацию процесса сушки. Так, если
продукт требуется получить В виде тонкодисперсного порошка, то. сушку
целесообразно организовать в фонтанирующем слое из более крупных гранул
инертного материала (δ = 1,5 ÷ 4 мм). Сушка в
фонтанирующем слое из гранул инертного материала позволяет увеличить время
прерывания высушиваемого мелкодисперсного материала в аппарате и повысить
степень его тепловой обработки, дополнительно измельчить его, а также повысить
удельную производительность процесса.
Значительный вклад
техники сушки в фонтанирующем слое внесли П.Г. Романков и Н. . Рашковская.
Специфические свойства фонтанирующего слоя позволяют успешно использовать
технику фонтанирующего слоя для сушки сыпучих материалов, склонных к слипанию,
комкованию и спеканию, полидисперсных материалов с широким гранулометрическим
составом и крупнозернистых материалов, т.е. таких материалов, сушка которых в
аппаратах псевдоожиженного слоя с вертикальными стенками сопряжена с большими
трудностями и не достаточно эффективна.
Рис. 7. Сушилка для
сушки зерна в фонтанирующем слое: 1 - бункер для влажного зерна; 2 - ступень
сушки; 3 - ступень охлаждения зерна; I - влажное зерно; II - горячий воздух; III - холодный воздух; IV - отработанный сушильный агент; V - сухое зерно.
1.5 Выводы по главе. Постановка цели и задач
исследования
Разработка современной технологической схемы
сжигания бурого местного угля, направленной на современный уровень и свободной
от вышеперечисленных недостатков служит расширению и росту использования бурого
угля в энергетике со снижением себестоимости вырабатываемой электроэнергии и
более рациональному применению природного газа в народной хазяйстве страны,
Целью диссертационной работы является
исследование, разработка и создание экспериментального горячего стенда для
сжигания высокозольного ангренского бурого угля.
Для достижения поставленной цели необходимо
решить следующие задачи:
анализ современного состояние исследуемого
вопроса;
разработка технологической схемы
экспериментальной установки;
создание горячей экспериментальной установки ;
наладка и испытание экспериментальной установки.
2. Расчетно-экспериментальная часть
.1 Разработка метода расчета коэффициента
гидравлического сопротивления топочного устройства
Для определения затрат энергии на перемещение
жидкостей и газов необходим расчет гидравлического сопротивления тракта.
Разработанный топочный агрегат имеет сложную геометрическую конфигурацию [12] и
для него важно иметь расчетную зависимость по определению гидравлического
сопротивления. Используя уравнения для расчета потери напора на преодоление
сопротивление на трения и местных сопротивлений, а также уравнение Дарси
-Вейсбаха, приведенные в работе [13], можно получить
(2.1)
где:
- коэффициент гидравлического
трения;
- длина трубопровода, м;
R - гидравлический
радиус, м;
- потери напора по Дарси -Вейсбаха, м;
скорость потока, м/сек.
Известно, что значение
зависит от
формы сечения и длины трубопровода. В данной работе определяется зависимость
формы поперечного сечения канала на коэффициент гидравлического сопротивления
при течений жидкостей или газов. При этом принимается, что поверхности живых
сечений всех фигур равны.
С целью сравнения определим площади
живого сечения и смоченные периметры различных геометрических фигур.
Для технического решения, например,
для обеспечения без изменение структуры потока можно выбрать ширину и длину
четырехугольника в порядке
/
= 2,1. Если трубопровод имеет форму
усеченного конуса, тогда коэффициент трения будет выразиться:
(2.2)
Следуя работы [12], уравнению (2.2) можно
написать
в следушем виде:
(2.3)
где:
- безразмерная
высота конуса;
- угол
конусности, в нашем случае
;
-
радус конуса в низком основание, в нашем случае 0,05 м.
Р определяем по следушему уравнению.
(2.4)
где:
- плотность
среды,
;
- коэффициент скорости;
- средняя значения скорости в
данном сечении, м/с.
2.2 Разработка технологической схемы
экспериментальной установки
Предлагаемая топочное устройство состоит из
несколько последовательно расположенных секций и каждая секция состоит из
конической и призматической частей, где призматическая часть четырехгранная;
широкая сторона конической части соединяется с призматической частью под нее в
виде прямоугольника или квадрата; создаются: в конической части - фонтанирующий
слой, в призматической части - псевдожиженный слой; количество секций
ограничивается в пределах 2…12; отсчет секций производится со стороны подачи
измельченного угля; секции имеют следующие геометрические соотношения: высота
призматической части составляет 40…50 % конической части, угол наклона стенки
конической части от вертикали 21…27 градусов, высота конической части
составляет 6…7 ее средних внутренних диаметров; секции соединяются между собой
через одноименные стороны призматической части, где высота стенки регулируется
от низа до самой верхней точки призмы; стенки секций выполняются двухслойно в
виде водяной рубашки для нагрева воды, кроме мест соединений по призматической
части; последняя секция предназначается для охлаждения золы угля; за последней
секцией устанавливается емкость для сбора золы, соединенная прямоугольным
отверстием с торцевой стенкой ее призматической части; нагретый воздух и
горячие рециркулируемые дымовые газы в необходимых количествах подаются через
отверстие, расположенное внизу конической части секций; провал частиц тяжелых
минералов осуществляется через низ конической части первой секции; поддержание
температуры в топке на уровне 800…1200 0С осуществляется путем
распыливания суспензий известняка или местной опоковидной глины в фонтанирующий
слой; при помощи наружных стенок призматической части
секций на самом верху топки создается общий канал - патрубок для дальнейшего
продвижения дымовых газов; допускается крупность помола измельченного угля с
размерами, равными с эквивалентным диметром 14…15 мм.
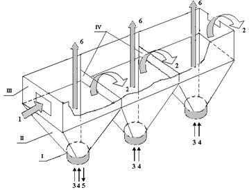
Топка содержит патрубок I
для подвода воздуха и рециркулиремых дымовых газов, конической части II,
призматической части III и стенки соединения секций IY.
Способ осуществляется следующим
образом. Измельченный полидисперсный уголь 1, подводимый в первую секцию топки,
приводится в фонтанирующий слой при помощи вдуваемого воздуха 3 и рециркулируемыми
дымовыми газами 4 из газохода после котлоагрегата. За счет осуществляемого
процесса горения угля, твердые частицы топлива начинают терять свою массу и
уменьшаются их размеры. Относительно тяжелые частицы топлива будут находиться в
конической (низкой) части II топки в объеме фонтанирующего слоя, а относительно легкие частицы
занимают призматическую (верхнюю) часть III топки и образуют псевдоожиженный слой.
Горячие дымовые газы 6 из секций направляются в котлоагрегат через общий канал
- патрубок, создаваемый наружными стенками призматических частей секций.
Твердые частицы, достигшие по своей массе и размеру значения скорости уноса,
начинают переливаться (перетекать) (линия 2) из одной секции в следующую через
стенки IV. Таким
образом, во всех секциях топки будут производиться идентичные процессы как в
первой секции. Однако, в последующих секциях топки за счет постепенного
снижения массы и уменьшения размеров твердых частиц соответственно уменьшается
расход газовой среды, так как значения скорости фонтанирования и псевдоожижения
будут относительно низкими. Элементарные частицы твердого топлива после полного
сгорания, в виде золы, попадают в последнюю секцию, где происходит их
охлаждение. Основная масса золы выводится из последней секции через торцевое прямоугольное
отверстие в емкость для сбора золы (на чертеже не показана), что позволяет
снизить абразивный износ теплообменных поверхностей котлоагрегата. Летучая
часть золы, которая составляет очень малую долю от общего объема золы, уносится
дымовыми газами в котлоагрегат. Для обеспечения устойчивой гидродинамики
осуществляется рециркуляция дымовых газов 4 из выхлопа котлоагрегата.
Регулирование процесса горения осуществляется вторичным воздухом, подаваемым на
дутье в котлоагрегат. Провал частиц тяжелых минералов осуществляется через низ
конической части первой секции 5.
Подача суспензии известняка или опоковидной
местной глины в фонтанирующий слой в некоторой степени смачивает поверхность
твердых частиц, обеспечивается рабочая температура слоя на уровне 800…1200 0С.
Известно, что при такой температуре исключается образование шлаков (температура
начала умягчения золы угля 1200…1350 0С) и значительно снижается
эмиссия оксидов азота. Кроме того, применение гашеной извести или опоковидной
глины, сорбируещих SOX
через
химические реакции, стимулирует процесс грануляции
золы, уменьшает количество уноса, улучшает свойства твердых отходов и
позволяет расширить их использование в качестве сырья для выпуска строительных
материалов.
Секционирование топки с фонтанирующим слоем
позволяет регулировать тепловую нагрузку котлоагрегата в широком интервале,
обеспечивает равномерность сжигания угля с более активным перемешиванием,
приводит к экономии электрической энергии за счет замены общего дутьевого
вентилятора котлоагрегата на малые, регулируемые, а также за счет вывода из
системы топливоприготовления мельничного устройства. Кроме того, повышается
эффективность топливоиспользования за счет исключения механического недожога,
значительно сокращаются выбросы вредных газообразных выбросов и летучей золы,
отпадает необходимость «подсветки» топки качественным топливом, полностью
предотвращается ошлакование теплообменной поверхности, значительно снижается
темп абразивного износа труб котлоагрегатов за счет удержания основной массы
золы и вывода ее в пределах топки.
Рис. 8. Принципиальная схема первой модели
топочного устройства, разработанная авторами 2004 году.
Рис. 9. Модель топочного устройства, разработанная
авторами в 2009 году.
.3 Описание экспериментальной установки
В данной работе приводится описания созданного
авторами научно-экспериментального стенда, предназначенного для исследования
процессов гидродинамики и сжигания низкосортных углей. В качестве объекта
исследования взят бурый ангренский уголь, который в настоящее время имеет
следующую характеристику. Влажность угля до 30-40%, содержание летучих Vб =
36%, калорийность 2700-2800 ккал/кг, общая зольность угля доходить до 40%.
Здесь необходимо различать естественную природную зольность, которая составляет
13-17%, и приобретенную зольность, образующейся в основном попаданием глинозема
и кремнезема при механизированной добычи угля открытым способом. Поэтому, в
угле сжигающих станциях республики, для улучшения процесса горения,
используются одновременно сернистый мазут М40 и природный газ. Подсветка факела
сернистым мазутом, в свою очередь, приводил к образованию проблем, описанных в
работе [8].
По данным многих специалистов и ученных,
качество угля в перспективе, в мировом масштабе, будет ухудшаться и поэтому,
разработка, исследование и внедрение современной технологий сжигания
низкосортных углей - является актуальной задачей.
На кафедре «Теплоэнергетики» ТашГТУ ведутся
научно-исследовательские работы по комплексному использованию и эффективному
сжиганию бурого ангренского низкосортного угля. Имеется техническое решение на
создание интенсифицированного кипящего слоя, которое по существу является
современной отечественной технологией в области тепловой переработки
низкосортных углей.
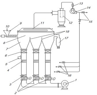
Схема научно-экспериментального стенда, где за
основу приняты принципы классического фонтанирующего слоя и кипящего слоя,
приведена на рисунке 2.3. и он состоит из следующих элементов:
1- вентилятор для нагнетания свежего воздуха;
2- электрический калорифер для подогрева
дутевого воздуха;
- регулятор расхода нагретого воздуха;
- расходомер для измерения расходов газов
(нагретый воздух и рециркулируюмые дымовые газы);
- сборник для тяжелых частиц;
- завихрители газо-воздушных потоков;
- конические части аппарата для создание
микро фонтанирующего слоя;
- верхнее единое пространство для
создания равномерного кипящего слоя;
- бункерная система для равномерной
подачи сырого угля;
- подача сырого дисперсного угля;
- теплоотводящая система;
- циклон для улавливания мелких золовых
частиц;
- фильтр для глубокой очистки дымовых
газов от золовых частиц;
- вентилятор-дымосос;
- регулирующие вентили дымовых газов на
рециркуляцию;
- регулирующие вентили рециркулируемых
дымовых газов на соответствующие модули;
17- сборник для основной массы золы;
- переливные пороги для перескока горящих
частиц угля из модуля в модуль.
Рис. 10. Экспериментальный стенд для
исследования процессов гидродинамики и сжигания низкосортных углей.
Принцип работы предлагаемой разработки приведены
в работе [2]. Вопросы снижение эмиссии оксида азота и оксидов серы, а также
утилизация золошлаковых отходов при сжигании низкосортного бурого ангренского
угля рассмотрены в работе [8].
Для проведения научных экспериментов в
предлагаемой схеме установки предусмотрены и установлены соответствующие
контрольно - измерительные приборы.
Таким образом, появляется возможность проведение
научно-исследовательских работ по изучению процессов гидродинамики и сжигания
низкосортных углей в разработанном стенде. Кроме того, в рассматриваемом стенде
предусмотрены, в будущем, проведение исследовательских работ по изучению
процессов сушки, дезагрегации и газификации низкосортных углей.
Эксперимент
заключается в снятии поле скорости в секциях аппарата. Для этого в каждой
секции и в распределительном коллекторе, после запорных устройств, выполнены
отверстия для замеров. Скорости потоков воздуха замерялись прибором Testo 405-V1.
Поля скоростей замерялись в различных режимах, при различных скоростях воздуха.
Полученные результаты были записаны в табл.1.
Таблицы 3:
Результаты измерения скоростей потока воздуха в каждой секции аппарата. Секция
1.
|
Точка замера 2.1
|
Точка замера 2.2
|
Точка замера 2.3
|
|
Номер замера
|
Скорость потока воздуха, м/с
|
Номер замера
|
Скорость потока воздуха, м/с
|
Номер замера
|
Скорость потока воздуха, м/с
|
|
1
|
7,37
|
1
|
-
|
1
|
5,29
|
|
2
|
10,26
|
2
|
-
|
2
|
3,12
|
|
3
|
-
|
3
|
10,68
|
3
|
4,02
|
|
4
|
-
|
4
|
10,82
|
4
|
4,49
|
|
5
|
10,04
|
5
|
10,08
|
5
|
4,08
|
|
6
|
10,53
|
6
|
9,77
|
6
|
2,88
|
Замеры производились
в течении 60 секунд в каждом положении измерительного прибора, каждой точки
замера каждой секции. Общее время эксперимента составило 1260 секунд или 21
минута.
После составления
таблиц результатов были построены схемы поля скоростей каждой секции в
отдельности (рис. 11).
Рисунок 11. График
поле скоростей, где ω - скорость потока воздуха
Заключение
В завершении, по рассматриваемой магистерской
диссертации можно сделать следующие заключения:
. Выполнен анализ исследуемого вопроса и определена
его современное состояние, заключающейся в необходимости разработки
современного способа сжигания для высокозольного ангренского бурого угля.
. Разработан научный экспериментальный горячий
стенд для исследования процесса сжигания высокозольного ангренского бурого
угля. Топочная камера состоит из пяти камер, где последняя камера предназначена
для охлаждения и полезного использования тепла золы угля.
. Создан научно- экспериментальный горячий стенд
для исследования процесса сжигания высокозольного ангренского бурого угля с
производительностью по углю, равным 24 кг/час.
. Произведен опыт по сжиганию высокозольного
ангренского бурого угля на созданном стенде и подтверждена работаспособность
разработки.
. Выполнен расчет ожидаемой экономической
эффективности от внедрения данной разработки на ОАО «Ново- Ангренской ТЭС».
. Результаты исследования могут быть
использованы в учебном процессе бакалавриатуры по направлению «Теплоэнергетика»
ТашГТУ, а также при расчете и проектировании теплоэнергетических установок.
Список использованной литературы
1. Доклад президента Республики
Узбекистан И.А. Каримова на заседании кабинета министров, посвященном основным
итогам 2011 года и приоритетам социально - экономического развития на 2012 год.
/ 20 января 2012 года
. И.А. Каримов. Узбекистан на пороге
XXI века. - Ташкент.
2010г.
3. Кучин Г.П. и др. Сжигание
низкосортных топлив в псевдоожиженном слое. Киев, 1987г.
4. Беляев А.А. Сжигание
высокозольных топлив в топках с кипящим слоем промышленных котлов. Учебное
пособие. Под ред. И.П.Морозова. -М., Издательство МЭИ. 2004.-72с.
. Матур К., Эпстайн Н.
Фонтанирующий слой. - Л., «Химия», 1978, с.10-12.
. Патент РФ № 2249763 С1 кл.
F 23 C 10/00. Топка с фонтанирующим слоем. Опубликовано 10.04.2005 Бюл. № 10.
. Ольховский Г.Г. Технологии
для тепловых электростанций // Теплоэнергетика. 1999. N
8, с.20-25.
. Кобзаренко Л.Н.
Экологическая и экономическая эффективность инвестиционных проектов
энергоустановок многоцелевого назначения с газификацией угля в шлаковом
расплаве // Теплоэнергетика. 2004. N
2, с.58-63.
. Вихрев Ю.В., Рябов Г.А.
Перспективы развития технологии сжигания твердого топлива в циркулирующем
кипящем слое. //Энергетик. 2007 г. №7, с.333-34.
. Потапов В.Н. Перспективы
угольных тепловых электростанций. Взгляд со стороны.//Материалы III
Международной научно-практической конференции. - Екатеринбург. 2007 г.,
с.120-123.
12. R.
Babahodzhaev. Intensified fluidized bed burning
of tne angren brown coal containing an increased amount of ash // N.Syred and
A.Khalatov (eds.), Advanced Combustion and Aerothermal Technologies. 2007.
Springer.
. Бабаходжаев Р.П.
Исследование процесса микрофонтанирования в интенсифицированном кипящем слое
для сжигания низкосортных углей //Сборник трудов VII
Всероссийской конференции «Горение твердого топлива» (с международным участием).
Ч.2. -Новосибирск, -2009г.
14. Бабаходжаев Р.П. Юнусов
Б.Х, Каримов А.А., Алимбаев А.У. Некоторые
рузультаты экспериментального
исследования гидродинамики интенсифицированного кипящего
слоя для бурого низкосортного угля.
//Материалы
докладов Национальной
конференции по теплоэнергетике. НКТЭ -2006.
Том
II.
Казань
2006 с.
113
-115.
. Чугаев Р.Р. Гидравлика. -
Л., Энергоиздат, 1982 г., с.175-180.
. Бабаходжаев Р.П. Результаты
исследования по улучшению процесса сжигания мазута М40 на котлоагрегатах ДЕ-25
и БМ-35. // Энергетика: управление, качество, и эффективность использования
энергоресурсов. Сборник трудов четвертой Всероссийской научно-технической
конференции с международным участием. Благовещенск, 5-7 октября 2005 г.
. Бабаходжаев Р.П.
Интенсифицированный кипящий слой для сжигания ангренского бурого угля с
повышенной зольностью.// Международный научный семинар НАТО «Современные
технологии горения и аэротермодинамики: защита окружающей среды и снижение
выбросов в атмосферу». Сборник научных статьей. г.Киев. 15-19 мая 2006г.
. Бабаходжаев Р.П.., Каримов
А.А., Алимбаев А.У. Утилизация зола - шлаковых отходов при сжигании ангренского
бурого угля в псевдоожиженном слое // II Международная конференция «Стратегия
качества в промышленности и образовании». Материалы. г. Варна (Болгария),
2-9июня 2006 г.
. Разработка и создание экспериментального
горячего стенда для сжигания угля. Науч. руководитель доц. Бабаходжаев Р.П.,
Укимтаев О.А. Публикация материала на международной молодёжной форуме
(конференции) 10-14 мая 2011 года.
. Исследование гидродинамики
интенсфицированного кипящего слоя для сжигания низкосортного угля// Науч.
руководитель доц.Бабаходжаев Р.П., Каримов А.А., Укимтаев О.А. Публикация
материала на международной технической конференции 15-16 декабря 2011 года.