Современные средства механизированной зачистки стальных резервуаров

  • Вид работы:
    Реферат
  • Предмет:
    Другое
  • Язык:
    Русский
    ,
    Формат файла:
    MS Word
    125,43 Кб
  • Опубликовано:
    2016-09-17
Вы можете узнать стоимость помощи в написании студенческой работы.
Помощь в написании работы, которую точно примут!

Современные средства механизированной зачистки стальных резервуаров

Содержание

Обозначения и сокращения

Введение

1. Общие положения

2. Организация работ по зачистке

3. Основные технические средства для механизированной зачистки резервуаров

4. Зачистка горизонтальных резервуаров механизированным способом моечной установкой УМ-1

4.1 Техническое обслуживание установки моечной машины (УМ-1)

4.2 Транспортировка и правила хранения

Заключение

Список использованных источников

Приложения

Обозначения и сокращения


ЛВЖ - легковоспламеняющиеся жидкости

ГЖ - горючие жидкости

ОМЗР - оборудование для механизированной зачистки

РВС - резервуар вертикальный стальной

ТМС - техническое моющее средство

СИЗ - средства индивидуальной защиты

Введение


При длительном хранении ЛВЖ и ГЖ в резервуарах накапливается большое количество осадка, включающего частицы минеральных веществ, продуктов окисления и воду. Верхний пояс корпуса, кровля и фермы вертикальных резервуаров (верхняя часть горизонтальных резервуаров) покрываются слоем ржавчины, которая осыпаясь, загрязняет нефтепродукты. Поэтому резервуары в обязательном порядке подвергают периодической зачистке.

Цель данной работы выяснить, что такое механизированная зачистка резервуаров и с помощью каких технических средств идет ее осуществление.

Данная тема представляет собой особую актуальность, ведь от качества зачистки резервуара напрямую зависит качество хранящегося в нем нефтепродукта.

моечная машина резервуар зачистка

1. Общие положения


Зачистка резервуаров является важной и ответственной операцией в подготовке средств хранения к эксплуатации и проводится по строго определенной технологии, обеспечивающий безопасность и механизацию работ, непродолжительность работ по времени, минимальный расход эксплуатационных материалов. Зачистка средств хранения проводится при первоначальном заполнении, при смене марки горючего, при обнаружении загрязнения и ремонте.

Зачистка резервуаров с авиационным горючим при обнаружении в них загрязнений производится немедленно независимо от срока их последней зачистки, если механические примеси и вода не могут быть удалены сливом (откачкой) отстоя. При длительном хранении горючего зачистка металлических резервуаров производится после их опорожнения и при освежении горючего.

Работы по зачистке должны проводиться с соблюдением правил безопасности труда и пожарной безопасности. Зачистка средств хранения включает: освобождение от горючего и удаление грязи, продуктов коррозии, воды с внутренней поверхности; промывку керосином или хранимым продуктом; протирку ветошью. Она может проводиться вручную и механизировано. Основным способом является механизированный. Способ зачистки от наличия оборудования для механизированной зачистки резервуаров, моющих препаратов МЛ-2, МЛ-6 и других факторов (объема работ, степени загрязнения резервуара).

Механизированная зачистка резервуаров проводится при большом объеме работ, наличии в резервуарах смолистых асфальтовых отложений, при больших размерах резервуаров, ограниченном времени на выполнении работ и осуществляется с помощью ОМЗР.

В соответствии с требованиями ГОСТ 1510-84 установлены следующие сроки периодической зачистки:

не менее двух раз в год - для топлива для реактивных двигателей, авиационных бензинов, авиационных масел и их компонентов, прямогонных бензинов; допускается при наличии на линии закачки средств очистки с тонкостью фильтрования не более 40 мкм зачищать резервуары не менее одного раза в год;

не менее одного раза в год - для присадок к смазочным маслам и масел с присадками;

не менее одного раза в 2 года - для остальных масел, автомобильных бензинов, дизельных топлив, парафинов и аналогичных по физико-химическим свойствам нефтепродуктов.

2. Организация работ по зачистке


Зачистка резервуаров от остатков нефтепродуктов и нефти относится к газоопасным работам, поэтому организация, подготовка и проведение этой работы выполняется с учетом требований НТД:

·        ГОСТ 12.1.004, ГОСТ 12.1.044, ГОСТ 12.3.047;

·        Правил технической эксплуатации резервуаров и инструкций по их ремонту;

·        Типовой инструкции по организации безопасного проведения газоопасных работ, утвержденной Госгортехнадзором СССР 20.02.1985 г.;

·        Типовой инструкции по организации безопасного проведения газоопасных работ на предприятиях нефтепродуктообеспечения, ТОИ P-112-17-95;

·        Правил пожарной безопасности в РФ ППБ 01-93;

·        Правил пожарной безопасности при эксплуатации предприятий нефтепродуктообеспечения, ВППБ 01-01-94;

Зачистку резервуаров из-под нефтепродуктов должны осуществлять специально обученные и подготовленные работники, допущенные к этим работам медицинской комиссией. Перед началом работ по зачистке работники должны пройти инструктаж о мерах безопасности труда в соответствии с инструкцией предприятия для данного вида работ. Отметка о проведении инструктажа делается в личной карточке инструктажа и наряде-допуске на выполнение работ повышенной опасности.

Члены бригады по зачистке резервуаров должны быть обеспечены:

·        костюмом брезентовым;

·        сапогами кирзовыми;

·        рукавицами брезентовыми;

При зачистке резервуаров из-под этилированного бензина дополнительно:

·        бельем нательным;

·        фартуком брезентовым;

На наружных работах зимой дополнительно:

·        курткой хлопчатобумажной на утепляющей прокладке;

·        брюками хлопчатобумажными на утепляющей прокладке;

Зачистка резервуара производится только в дневное время. Место проведения работ по зачистке необходимо обеспечить средствами пожаротушения и СИЗ.

3. Основные технические средства для механизированной зачистки резервуаров


Для выполнения технологических операций по зачистке резервуаров необходимы следующее основное оборудование, системы и устройства, сертифицированные в установленном порядке (См. Приложение А, рис. А.1):

насосная установка на базе ПСГ-160 представляет собой двухступенчатый центробежный насос 6НГМ-7×2 с приводом от двигателя автомобиля. Производительность насоса 110-160 м3/ч и давление 5-14 кПа (50-140 м вод. ст.). Насосная установка предназначена для подачи моющего раствора ТМС на очистку резервуара и на гидроэлеватор (эжектор).

гидроэлеватор Г-600А (эжектор) работает на принципе эжекции и обеспечивает откачку образующейся в процессе мойки эмульсии и механических примесей (песок, ржавчина и т.д.) из очищаемого резервуара (См. Приложение Б, рис. Б.2). Производительность гидроэлеватора Г-600А зависит от давления рабочей жидкости в напорной линии. При давлении 0,8 Па производительность составляет 600 л/мин (36 м3/ч).

рукава с соединительными головками служат для прокладки коммуникационных линий между оборудованием (насос, моечная машинка, гидроэлеватор и т.д.), по которым циркулирует рабочая жидкость. В технологической схеме применяются бензостойкие прорезиненные рукава внутренним диаметром 51, 66, 77 мм и упрочненные проволочной спирали рукава с внутренним диаметром 75 и 125 мм.

рукавное разветвление трехходовое РТ-80 предназначено для управления потоком рабочей жидкости в рукавных линиях.

ствол ручной доочистки РС-Б применяется для смыва остатков шлама с днища очищенного резервуара к гидроэлеватору. Производительность ствола, зависит от давления у насадка и изменяется от 0,35 л/с при давлении 0,4 МПа (40 м вод. ст.) до 4,0 л/с при давлении 0,6 МПа (60 м вод. ст.).

переходники служат для соединения рукавов разных диаметров между собой.

рукавные задержки устанавливаются при прокладке рукавных линий по вертикали.

устройства для механизированной мойки резервуаров пожаро-безопасными ТМС - моечные машинки (гидромониторы).

устройства для принудительной вентиляции резервуаров (электровентиляторы, пароэжекторы).

систему флегматизации атмосферы резервуара.

ТМС. Наименование и количество ТМС определяется в зависимости от удаляемого нефтепродукта, конструкции резервуара. Общедоступные ТМС: МЛ-51, МЛ-52, МЛ-72, Лабомид-203М (Темп-300) и другие. В качестве моющего средства может применяться вода (горячая вода) и вода в смеси с ТМС. Применение ТМС - выбор температуры подогрева, дозировка, условия отделения от продуктов размыва и другие параметры применения должны быть в соответствии с инструкциями заводов - изготовителей этих ТМС.

систему приготовления, хранения, регенерации ТМС, сбора продуктов зачистки, включающую:

.        Каскадный отстойник;

2.      Системы трубопроводов для подачи ТМС в резервуар и выкачки продуктов зачистки;

.        Теплообменник;

.        Насосы подачи ТМС;

5. Устройство для сбора продуктов зачистки и экстрагирования остаточного нефтепродукта из него.

систему энергообеспечения оборудования (насыщенный водяной пар, электроэнергия).

резинотканевые рукава (паровые, водяные диаметром 32 и 50 мм) с запорной арматурой.

переносной пульт управления (электрощит) с пусковой аппаратурой и кабелями.



4. Зачистка горизонтальных резервуаров механизированным способом моечной установкой УМ-1


Для механизированной зачистки (выкачки остатков нефтепродукта, мойки, дегазации, обезвреживания от тетраэтилсвинца) горизонтальных резервуаров вместимостью до 50 м3 из-под бензинов, дизельных топлив, масел на нефтебазах, АЗС и других объектах может быть применена установка моечная УМ-1.

Установка УМ-1 смонтирована на базе автомобиля-заправщика типа 746 или ПАЗС-3152.

На шасси УМ-1 укреплены ящики, в которые укладывается при транспортировании съемное оборудование (гидромонитор, эжектор, распылитель, резиновые рукава).

На площадке между кабиной автомобиля и цистерной установлены насос К-45/55, вентилятор и соединительная коробка. В выгородке сзади цистерны расположены поворотные патрубки воздуховода, термометр, указатель уровня жидкости и запорная арматура водяного и растворного баков.

На цистерне размещены два фильтра, воздухозаборная труба вентилятора, которая во время дегазации устанавливается вертикально; рассеивающая труба (при работе устанавливается на люк резервуара).

С правой стороны шасси на кронштейне установлен ящик с двумя пластинчатыми насосами и одним двигателем.

В задний торец цистерны врезан электроподогреватель.

Питание электродвигателей и электроподогревателя осуществляется от щита АЗС или нефтебазы по кабелю. Пульт управления во время зачистных работ снимается с УМ-1 и выносится из зоны, загазованной парами бензина.

Установкой УМ-1 проводится сокращенная и полная зачистка резервуаров из-под бензинов, дизельного топлива и масел.

Сокращенная зачистка - это периодическая зачистка резервуаров согласно ГОСТ 1510-84, включающая следующие операции:

выкачку остатка нефтепродукта;

мойку гидромонитором струями воды под давлением: в холодное время года с температурой воздуха ниже +10°С и для резервуаров из-под масел применяется горячая вода (40-50°С), летом применяется вода без подогрева; мойка проводится по замкнутому циклу, т.е. с одновременной выкачкой промывочной воды и эмульсии эжектором; продолжительность мойки 1-2 ч, давление промывочной воды не менее 0,5 МПа;

выборку осадка, протирку "насухо" (продолжительность 10-15 мин).

Полная зачистка - это зачистка перед ремонтом. Включает следующие операции:

выкачку остатка нефтепродукта;

мойку гидромонитором по замкнутому циклу (продолжительность мойки 1-2 ч);

дегазацию принудительным вентилированием в течение 4 ч;

обезвреживание от ТЭС напылением раствора КMn О 4;

мойку внутренней поверхности резервуара чистой водой с помощью распылителя. Продолжительность мойки 10-15 мин (200 л). Одновременно проводится выкачка этой воды эжектором;

отбор проб воздуха из резервуара (0,3 м от днища) на содержание в нем углеводородов и ТЭС (продолжительность отбора проб 1ч);

выборку осадка вручную (время выполнения операции 10-15 мин);

Перед ведением огневых работ проводятся повторный отбор и анализ проб воздуха из резервуара на содержание в нем углеводородов и ТЭС. В случае повышения их ПДК после выборки осадка осуществляется дополнительное вентилирование в течение 1-2 ч.

 


4.1 Техническое обслуживание установки моечной машины (УМ-1)


Эксплуатация автомобиля, насосов, двигателей, вентилятора, электроподогревателя, гидромонитора и эжектора осуществляется в строгом соответствии с инструкциями заводов-изготовителей и паспорта на изделие УМ-1 166-00-00-00 ПС.

Периодически после мойки 3-4 резервуаров промывочная вода заменяется. Цистерна, фильтры, насосы и трубопроводы промываются от скопившейся грязи. Загрязненная вода и осадок отводятся на очистные сооружения или накопительные емкости нефтебаз. В процессе промывки УМ-1 ставится над колодцем производственной канализации, открывается нижний сливной патрубок, снимается крышка с люка цистерны. Цистерна промывается горячей водой из брандспойта, фильтр - горячей водой, а растворные бак, насос и трубопроводы - чистой водой (200 л) после каждого обезвреживания резервуара.

 


4.2 Транспортировка и правила хранения



УМ-1 может транспортироваться на железнодорожных платформах, палубных судах и на автомашинах.

Хранение установки допускается:

·        летом - под навесом или на открытой площадке;

·        зимой - в закрытом отапливаемом помещении;

·        в состоянии консервации - на открытой площадке.

Перед движением автомобиля своим ходом все оборудование размещается по штатным местам и закрепляется.

Во время движения автомобиля дверки шкафа и ящиков должны быть плотно и надежно закрыты. Крышка горловины цистерны должна обеспечивать надежную герметичность, при этом должно быть исключено ее самопроизвольное открытие, а заземляющая цепь должна касаться земли или дорожного покрытия. Скорость движения не более 50 км/ч.

Заключение


В заключение можно сказать, что зачистка резервуара является важным и технологически сложным процессом, который требует правильную организацию работ и использование современных технических средств для получения максимального результата при минимальных временных затратах.

В данной работе были представлены и изучены современные средства, позволяющие проводить механизированную зачистку стальных резервуаров.

Это оборудование позволяет быстро, качественно и без лишних затрат провести механизированную зачистку резервуаров.

Приняв во внимание все минусы и плюсы, можно сделать вывод, что механизированная зачистка намного быстрее и удобнее ручной. Поэтому в резервуары большой и средней вместительности чаще всего зачищают механизированным способом.

Список использованных источников


1. Куц Л.Г. Склады службы горючего. Учебник. - Ульяновск.: УЛЬЯНОВСКОЕ ВЫСШЕЕ ВОЕННО-ТЕХНИЧЕСКОЕ УЧИЛИЩЕ, 2010. - 236 с.

. Инструкция по зачистке резервуаров от остатков нефтепродуктов от 28. янв. 2004 г. №11 // Управление по надзору в нефтяной и газовой промышленности Госгортехнадзора России 2004. - 2 с.

. Межотраслевые правила по охране труда при эксплуатации нефтебаз складов ГСМ, стационарных и передвижных АЗС, утверждены Постановлением Минтруда РФ от 06.05.2002 г. № 33.

. ГОСТ 1510-84. Нефть и нефтепродукты. Маркировка, упаковка, транспортирование и хранение

. Инструкция по зачистке резервуаров от остатков нефтепродуктов, утверждена Главнефтепродуктом ГП "Роснефть" 22.09.1995 г. и Временная инструкция по зачистке резервуаров от остатков нефтепродуктов, РД 112-РСФСР-021-89, утверждена Госкомнефтепродуктом РСФСР, согласована ЦК профсоюза рабочих химической и нефтехимической промышленности 14.08.1989.

Приложения


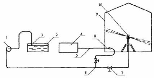
Приложение А

1 - насосная установка; 2 - резервуар с раствором; 3 - фильтрующее приемное устройство; 4 - грязевой резервуар; 5 - рукава; 6 - тройник; 7 - запорная арматура; 8 - эжектор; 9 - промываемый резервуар; 10 - моющее устройство

Рисунок А.1 - Схема промывки вертикального наземного резервуара с помощью комплекта оборудования ОМЭР

Приложение Б

1 - очищаемый резервуар; 2 - емкость для ноющего раствора; 3 - резервуар-отстойник; 4 - насос для подачи нефти; 5 - насос для откачки нефтепродуктов из промежуточной емкости; 6 - насос для подачи рабочей жидкости на эжектор; 7 - моечная машинка; 8 - эжектор; 9 - подогреватель; 10 - фильтр.

Рисунок Б.1 - Технологическая схема мойки резервуара водными моющими растворами

Похожие работы на - Современные средства механизированной зачистки стальных резервуаров

 

Не нашли материал для своей работы?
Поможем написать уникальную работу
Без плагиата!
Без нейросетей!