Датчики Хола

  • Вид работы:
    Курсовая работа (т)
  • Предмет:
    Физика
  • Язык:
    Украинский
    ,
    Формат файла:
    MS Word
    314,96 Кб
  • Опубликовано:
    2016-01-08
Вы можете узнать стоимость помощи в написании студенческой работы.
Помощь в написании работы, которую точно примут!

Датчики Хола

Реферат

Об’єктом дослідження даної курсової роботи є датчики Хола. Метою роботи був аналіз роботи датчиків Хола. У процесі роботи було виявлено високу ефективність датчиків Хола при вимірюваннях. Датчики Хола використовуються для вимірювання у промисловості, побуті, науці і техніці. Їх широке використання пояснюється високою чутливістю, простотою вимірювань, відносною дешевизною та ін.

Ключові слова: індукція, сила лоренца, ефект хола, датчик хола, магнітопровід.

Зміст

Реферат

Вступ

. Ефект Хола

. Основи проектування датчиків Хола

. Застосування датчиків Хола

.1 Вимірювання струму

.2 Вимірювання кута повороту

.3 Вимірювання механічних переміщень і вібрацій

Висновки

Список використаних джерел

 

Вступ

 

Темою даної курсової роботи є датчики Хола робота яких базується на ефекті Хола, при якому у напівпровіднику зі струмом, який знаходиться у магнітному полі, виникає різниця потенціалів(ЕРС Хола). ЕРС Хола обумовлена силою Лоренца.

Актуальність даної теми полягає у численних перевагах при застосуванні датчиків Хола для вимірюванні різних величин. Наприклад, силу струму зазвичай вимірюють амперметром. Вимірювання супроводжуються підключенням вимірювального приладу у коло, що потребує затрати часу, а також вносить певну похибку у вимірювання.

Вимірювання струму за допомогою датчика Хола, проводиться значно швидше, без розриву вимірювального кола (безконтактне вимірювання), а також з великою точністю. Зниження похибки при вимірюванні виконуєтьс за допомогою підбору відповідних електричних схем і систем компенсації. Позитивним явищем у роботі датчиків Хола є можливість досягнення лінійності вимірювань у досить широх межах.

Області застосування датчиків Хола:

) промисловість (вимірювання сили струму, електричної потужності, витрат та ін.);

) побут (зчитувачі магнітних карточок та ключів, блокування дверей) та ін.

хол струм датчик вібрація

 

1. Ефект Хола

Ефект Хола виникає при впливі магнітного поля на струм, що протікає через напівпровідник. Знехтуємо поки, що статичним розподілом енергії носіїв струму і припустимо, що всі носії мають однакову швидкість. Для спрощення розглянемо напівпровідник у якому присутні носії тільки n - типу. Якщо вибрати систему координат зображену на рис. 1.1, то вираз для сили Лоренца F, яка впливає на носії струму, що рухаються у магнітному полі, можна записати у вигляді

F= -e[vB],    (1.1)

де e - елементарний заряд;

v - середня швидкість носіїв заряду у напрямку лінії струму;

B - магнітна індукція.

Рис. 1.1. Система струмів у напівпровіднику, що знаходиться під дією магнітного поля.

Під впливом сили Лоренца носії струму приймають складову швидкості, що обумовлена дією цієї сили у відповідності з рис. 1.1

VF = - µHnF/e,    (1.2)

де µHn - холівська рухливість електронів.

Швидкість електрона у електричному полі Е, буде дорівнювати

vx = -µnE,    (1.3)

де µn - рухливість електронів;

Е - напруженість електричного поля.

Повна швидкість носіїв струму, під впливом електричного і магнітного полів, описується залежністю

vn = vx + vF = -µnE- µHnF/e = -µnE + µHn [vnB].  (1.4)

У загальному випадку провідності за участі двох видів носіїв струму (електронів та дірок) можна написати

j = jn + jp = - envn + epvp,   (1.5)

де jn, jp - густина струмів електронів та дірок відповідно;

vn,vp - швидкості електронів і дірок відповідно;

n, p - концентрації електронів та дірок відповідно.

Вираз для густини струму, що тече у зразку при впливі електричного поля Е, та магнітної індукції В:

jn = - envn = enµnE - enµn [vnB].   (1.6)

Повертаючись до формули (1.5), маємо:

jn = enµnE + µn [jnB].   (1. 7)

Це векторне рівняння для густини струму, що тече у зразку. Якщо кут між густиною струму jn і напрямком електричного поля Е позначити як кут Хола θn, то

tg θn = - µnB.    (1. 8)

Розглядаючи малі кути θn, можна вважати , що tg θn = θn. Позначимо В/В = b.

Питома електрична провідність напівпровідникового матеріалу σ описується залежністю

σ = e(nµn + pµp).    (1. 9)

Використовуючи формулу (1. 9), можна записати

jn = σnE + [jnb] θn.   (1. 10)

Щоб отримати квадратичні по θn члени, перепишемо вираз (1. 10) у другому вигляді

jn = σnE + [(σnE +[ jnb] θn)b] θn.   (1. 11)

Приймемо, що у квадратних дужках рівняння (1. 11) jn ≈ σnE. Підставивши цей вираз, отримаємо залежність для густини струму у вигляді

jn = σnE + [(σnE + σn[Еb] θn)b] θn.  (1. 12)

Виконавши множення отримаємо

jn = σnE + σn θn[Еb] + σn θn2 (Eb)b - σn θn2E.  (1. 13)

Припустимо тепер, що у напрямку у струм протікати не може (наприклад, в силу незамкнутості електричного кола). Тоді вектор Е уже не буде паралельний осі х. Щоб знайти електричне поле у холівській пластині у цьому випадку, припустимо в (1. 13) jn = j, де j || x.

Розв’язуючи рівняння (1. 13) відносно Е і розміщуючи відповідно складові цього вектора, отримаємо:

Е = (1 + θn2nj - ρn θn[ib] - ρn θn2b(ib),  (1. 14)

де ρn - питомий опір у даному напівпровіднику (обумовлений власною провідністю).

Із (1. 14) можна визначити складові вектора напруженості електричного поля у напівпровіднику, через який тече струм j та на який дії магнітне поле з індукцією bB.

Для прийнятої системи координат (j||x; b||z) ці складові відповідно дорівнюють:

Ey = - θn ρnjx;                (1. 15)

Ez = 0.

Враховуючи розміри пластини датчика Хола a×b×c, а також, що jx = Ix/bc та µ = RH/ρ, де RH - коефіцієнт Хола, отримаємо вирази для відповідних напруг Ux,Uy, Uz:

Ux = RxIx + RH/ρ ∙ 1/bc∙ IxBz2;

Uy = - RH/c∙IxBz;    (1. 16)

Uz = 0.

Напруга Ux складається з омічного падіння напруги на пластині і напруги, виникаючої в результаті повздовжнього ефекта Хола.

Це останній доданок як правило малий у порівнянні з доданком RxIx. Напруга Uy описує поперечний ефект Хола. Далі ця напруга буде позначатися UyH. В прийнятій системі координат складова Uz = 0. Але у випадку, коли кут між j і B не є прямим, з’являється і складова Uz, яка називається планарним ефектом Хола. Цей ефект описується формулою

Uz = - R2H/bρ∙IB2sin(2ψ),   (1. 17)

де ψ - кут між j і B.

Розглянемо деякі питання, пов’язані із з’ясуванням сенсу коефіцієнта Хола RH. Із рівнянь (1. 15), (1. 16) можна отримати залежність, із якої отримаємо фізичний сенс RH:

RHn = - 1/en.                                                                     (1. 18)

Із цього виразу робимо висновок, що коефіцієнт Хола однозначно визначається концентрацією носіїв струму у напівпровіднику. Ця формула одночасно показує важливість вимірювання коефіцієнта Хола для визначення фізичних властивостей напівпровідника.

Приведені вище роздуми, які відносяться до напівпровідників n - типу, можна абсолютно аналогічно віднести і до напівпровідників р - типу. У цьому випадку коефіцієнт Хола буде виражатися залежністю

RHp = - 1/eр.    (1. 19)

У випадку напівпровідника зі змішаною провідністю, тобто коли nµn = p µp, що можливо у власних напівпровідниках, вираз для коефіцієнта Хола приймає більш складний вид

RH = - 1/e∙[(nµn2 - p µp2)/( nµn + p µp)2 ].  (1. 20)

Насправді у рівняння (1. 18) - (1. 20) потрібно внести ще коефіцієнт А, величина якого залежить від механізму розсіювання носіїв струму у кристалічній гратці, так що наприклад залежність (1. 18) прийме вид:

RHn = - А/en.    (1. 21)

У випадках коли напівпровідник вироджений (дуже велика концентрація домішок), коефіцієнт А = 1; у випадку розсіювання на теплових коливаннях гратки А= 3π/8=1, 18; у випадку розсіювання на іонізованих домішках А = 1, 93.

Слід пам’ятати, що силу Лоренца врівноважують носії струму, які рухаються з середньою швидкістю. Однак її не врівноважують носії струму, які рухаються зі швидкістю, яка відрізняється від середньої. Як наслідок у реальному напівпровіднику зі струмом, поміщеному у магнітне поле, буде виникати магнітоопір, що пов’язаний зі зменшенням довжини вільного пробігу носіїв струму, внаслідок чого збільшується питомий опір напівпровідника.

З ефектом Хола пов’язана робота датчиків Хола, які широко застосовуються у техніці.

2. Основи проектування датчиків Хола

Ідеальний датчик Хола повинен мати наступні властивості:

) висока чутливість;

) незалежністю параметрів від температури;

) високою вихідною напругою;

) високим ККД і високою потужністю, що знімається з електродів Хола;

) лінійністю відносно Ix, Bz i R (активний опір навантаження).

Перераховані вимоги в загальному випадку не можуть бути виконані одночасно. Тому проектування датчиків Хола потрібно проводити, враховуючи їх конкретне призначення, не звертаючи суттєвої уваги на менш важливі параметри і намагатися отримати відповідні значення заданих параметрів.

В ряді конкретних застосувань з’являються додаткові вимоги, такі як:

) мала товщина датчиків Хола - у випадку роботи у малих зазорах;

) малі розміри активної поверхні - у випадку дослідження розподілу неоднорідності магнітного поля.

Результатом проектування є як правило пропозиція, щодо вибору конкретного напівпровідникового матеріалу для виготовлення датчиків Хола.

Наявність у розпорядженні якогось одного матеріала сильно обмежує можливості проектування датчиків Хола.

3. Застосування датчиків Хола

.1 Вимірювання струму

Відомо багато методів, приладів для вимірювання сили струму величиною від пікоампер до кілоампер, від постійного струму до струму з частотою, що вимірюється в мегагерцах, з точністю від сотих частин процента до кількох процентів.

Вимірювання сили струму за допомогою датчиків Хола базується на вимірюванні напруженості магнітного поля, що утворюється навколо провідника зі струмом. Вимірювання можуть бути виконані як за допомогою одного тільки датчика Хола без магнітного кола, так і за допомогою датчика Хола, що знаходиться в зазорі осердя, яке охоплює провідник зі струмом (рис. 3.1).

Рис. 3.1. Вимірювач великих постійних струмів з ярмом.

Головними перевагами приладів на датчиках Хола, що слугують для вимірювання сили струму, є:

а) можливість вимірювання без розриву кола;

б) можливість зміни діапазону вимірювання, наприклад, за допомогою намотування великого числа витків на ярмо при малих вимірюваних струмах, або розділення багатожильного провода (так щоб індукція утворювалась за допомогою однієї жили) при високих значеннях струму;

в) можливість вимірювання у широкому інтервалі частоти при точній передачі сигналу у вигляді кривої напруги і т. д.

Тепер розглянемо основні залежності для перетворювача високих значень постійного струму. Напруга Хола для датчика Хола (рис. 3. 1), має таку залежність:

UH = kIxB,    (3. 1)

де k - коефіцієнт пропорційності;

UH - напруга Хола.

Підтримуючи Ix = const і припускаючи лінійну залежність між вимірюваним струмом Im та індукцією В у повітряному зазорі, отримаємо лінійну залежність напруги Хола UH від вимірюваного струму Im.

Як правило осердя розділене на дві частини з двома зазорами і двома датчиками Хола. Напруга Хола, викликана вимірюваним струмом у датчиках Хола сумується, а напруги викликані паразитними полями, взаємно компенсуються.

При вимірюваннях високих значень змінного струму осердя взагалі не потрібно, оскільки створюється значне значна напруженість магнітного поля і у осерді можуть виникати паразитні струми. При змінному струмі у колах керуючого струму і вихідної напруги датчика Хола індуктуються паразитні ЕДС. Їхній вплив у колі керуючого струму компенсується включенням у це коло резистора з великим активним опором; у колі вихідної напруги ввімкнений компенсаційний виток, площа якого дорівнює площі петлі, яка утворена холівськими виводами, а напруга індуктована у виткові протилежна за фазою.

3.2 Вимірювання кута повороту

Якщо в однорідному магнітному полі датчик Хола обертається навколо своєї повздовжньої осі, то напруга Хола представляє собою правильну синусоїду.

Оскільки важко підключити провода до електродів датчика Хола який обертається, доцільніше, щоб оберталося поле, а датчик Хола був нерухомий. Для підсилення цього ефекту, краще, щоб основна частина магнітопровода складалася із заліза (рис. 3. 2).

Рис. 3. 2. Прилад для вимірювання кута повороту.

Якщо обертальна частина у вигляді намагніченого у радіальному напрямку вала N - S повернеться на кут α, то в датчиках Хола Х1 та Х2 індуктується напруга UH1= UH sin(α) i UH2= UH cos(α). Датчики Хола радіально установлені в зазорах зовнішнього магнітного ярма і зміщенні відносно одне одного на кут 90°. Інші два зазори зроблені для усунення асиметрії кола.

Модель даного приладу, діаметр якого становить трохи більше 3 см, виконана на германієвих датчиках Хола. Відлік кута виконується з точністю до 0, 1°. Модель може також слугувати як генератор функції синус - косинус, а також як перетворювач механічних кутових переміщень в електричні величини. Ця характеристика може слугувати для перетворення в електричні величини показань приладів тиску, температури і т. д., працюючих за другими принципами.

До найголовніших переваг цього типу перетворювачів відносяться: малі розміри і, перш за все, безконтактна передача інформації.

.3 Вимірювання механічних переміщень і вібрацій

Принцип вимірювання зміщень дуже простий. Якщо датчик Хола механічно переміщується в неоднорідному магнітному полі, то напруга Хола буде залежати від величини зміщення. Отже, питання стосується знаходження таких магнітних схем, у яких ця залежність буде лінійною.

Рис. 3.3. Магнітопроводи холівських перетворювачів механічних переміщень і коливань

На рис. 3. 3, а, б, в представлені три магнітні схеми, у яких датчик Хола переміщується у напрямку х; у першій схемі він видвигається із зазора магніта (рис. 3. 3, а), у другій - переміщується в зазорі між феритовими магнітами, встановленими однойменними полюсами одне до одного (рис. 3. 3, б), у третій - видвигається з - під полюса S до полюса N магнітної схеми, або навпаки (рис. 3. 3, в).

Як бачимо з рис. 3. 4, на якому показано зміну магнітної індукції в залежності від положення датчика Хола, найбільший лінійний градієнт індукції отримуємо для схеми, зображеної на рис. 3. 3, в, але тільки на короткій ділянці зміщення пластини (близько 1 мм). При зміщенні на декілька міліметрів краще використовувати схему зображену на ис. 3. 3, б, коли залежність В(х) також має лінійну ділянку, хоча і з меншим градієнтом.

Рис. 3.4. Залежність напруги Хола UH від механічного зміщення для приладів зображених на рис. 3. 3.

Точність лінійного перетворення механічних зміщень у перетворювачах цього типу залежить від багатьох параметрів.

Як бачимо з рис. 3. 5, чутливість за напругою у перетворювачі

γ′ = γ′1 γ2 = UHмакс/х = tg(α),   (3. 2)

де γ′1 - чутливість датчика Хола, γ′1 = UH/B, виражена в В/Гс;

γ2 - градієнт магнітного поля, у якому переміщується датчик Хола, γ2 = ΔВ/х, виражена в Гс/мм.

Чутливість близько 1 В/мм, а також наявність напруги у колі Хола близько декількох мілівольт вже дають можливість виконувати безпосередні вимірювання за допомогою приладу, як правило без підсилювача.

Рис. 3.5. Чутливість Холівського перетворювача переміщень

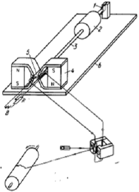
Перетворювач на основі датчика Хола знайшов також застосування в області геофізичних вимірювань. В схемі сейсмографа (рис. 3. 6) маса 2 підвішена на пружині 1. На кінці плеча 3знаходиться датчик Хола 5, який переміщується у неоднорідому полі системи магнітів 4. Живлення датчика Хола виконується від джерела постійного струму з напругою декілька вольт через резистор, який слугує для зміни чутливості сейсмографа. Зміщення станини 6 сейсмографа, викликане вібрацією основи, на якій стоїть прилад, призводить до переміщення пластини в магнітному полі. На виході з’являється напруга Хола. Підключений до виходу пластини реєстратор напруги Хола, що складається, наприклад, із гальванометра, джерела світла, а також барабана зі світлочутливим папером, запише зміну вібрацій у часі.

Описаний сейсмограф може бути використаний як вимірювач кута нахилу. Якщо через нахил основи станина нахиляється під деяким кутом до горизонту, то маятник сейсмографа також відхилиться на деякий кут θ відмінний від початкового положення. На виході датчика Хола утворюється напруга, яка викликає зміщення зайчика гальванометра.

Рис. 3.6. Схема пояснююча принцип дії сейсмографа на датчиках Хола: 1 - пружина; 2 - маса; 3 - плече; 4 - система магнітів; 5 - датчик Хола; 6 - станина

Вищевказані принципи дії приладу використані для вимірювання тремтіння руки. Магнітна схема цього приладу складається з двох великих феритових магнітів, що направлені один на одний однойменними полюсами. Між ними розміщується рука, причому до одного з пальців прикріплений датчик Хола. Провода від датчика Хола відводяться вздовж руки. У цьому випадку він рухається вільно, без тертя в неоднорідному магнітному полі. Напруга Хола виявляється такою великою, що може бути безпосередньо виміряна реєструючим приладом.

Висновки

У процесі виконання курсової роботи було розкрито суть явища ефекта Хола. У наш час набули широкого поширення датчики Хола, принцип дії яких заснований на ефекті Хола.

Приклади використання датчиків Хола:

) датчики струму;

) датчики положення;

) датчики витрат;

) датчики кута поворота;

) датчики вібрації та ін.

Робота датчиків Хола заснована на залежності ЕДС Хола від значення магнітної індукції у напівпровіднику (або металі) зі струмом. При розміщенні напівпровідника зі струмом у магнітному полі, на його краях виникає різниця потенціалів, пропорційна магнітній індукції. Ця різниця потенціалів, що називається напругою Хола, є вихідним параметром датчиків Хола.

Основними перевагами датчиків Хола є:

) можливість вимірювання без розриву кола;

) висока чутливість у порівнянні з багатьма іншими приладами для вимірювання тих же величин (наприклад у сейсмографів на основі датчиків Хола коефіцієнт підсилення у сто разів більший ніж у електродинамічних сейсмографів);

) відносно проста і малопотужна схема живлення і т. д.

Негативні явища у датчиках Хола можна, у достатній мірі для практичного використання, зменшити за допомогою відповідного підбору електричних схем, систем компенсації і т. д.

Список використаних джерел

1. Кобус А. Датчики Хола і магніторезистори / Кобус А., Тушинський Я.; пер. з польск. В.І. Тихонова і К.Б. Македонської під ред. О.К. Хомерики. - М. : Енергія. - 1971. - 352 с.

. Февралёва Н.Е. К измерению коэрцетивной силы магнитотвёрдых материалов. Иссл. схем и аппар. для магн. и электр. измер. / Н.Е. Февралёва, Я.Ф. Непокрытый. - К. : Наукова думка. - 1964. - 95 с.


Не нашли материал для своей работы?
Поможем написать уникальную работу
Без плагиата!
Без нейросетей!