|
Охлаждающая
среда
|
Давление, МПа
|
Параметры
охлаждающей среды по отношению к параметрам воздуха
|
|
|
Плотность
|
Объёмная
теплоёмкость
|
Теплопроводность
|
Теплоотводящая
способность
|
Объёмный
расход
|
|
Воздух
|
0,1
|
1
|
1
|
1
|
1
|
1
|
|
Водород
|
0,1
|
0,07
|
3
|
7,1
|
1,44
|
1
|
|
0,2
|
0,14
|
3
|
7,1
|
2,76
|
1
|
|
0,3
|
0,21
|
3
|
7,1
|
3,00
|
1
|
|
0,4
|
0,28
|
3
|
7,1
|
4,00
|
1
|
|
Масло
|
0,1
|
848
|
1400
|
5,3
|
21
|
0,01
|
|
Вода
|
0,1
|
1000
|
23,00
|
50
|
0,01
|
В эксплуатации находятся турбогенераторы разных
серий, отличающиеся системами охлаждения:
· серии Т-с косвенной замкнутой воздушной системой
охлаждения (генераторы мощностью 2,5; 4; 6; 12 МВт);
· серии ТВ-с косвенной замкнутой
системой охлаждения водородом давлением 0,105-0,2 Мпа, нагнетаемым
вентиляторами в воздушный зазор машины и далее проходящим через радиальные
каналы статора к водяным газоохладителям (генераторы мощностью 2, 50, 60,
100,150 МВт);
· серия ТВФ-с косвенным охлаждением
статора и непосредственным охлаждением ротора водородом давлением 0,3 МПа
(генераторы мощностью 60, 100, 120, 200 МВт);
· серия ТГВ-с непосредственным охлаждением статора
и ротора водородом давлением 0,4 МПа (генераторы мощностью 200 и 20 МВт);
· серия ТВВ-с непосредственным
охлаждением статора водой и ротора водородом давлением 0,4 МПа (генераторы
мощностью 150, 200, 20, 800 МВт);
· серия ТВМ-с непосредственным
охлаждением обмотки статора и сердечника статора маслом, а ротора - водой
(генераторы мощностью 60-20 МВт);
· серия ТЗВ-с непосредственным
охлаждением обмоток статора и ротора, и сердечника статора водой (генераторы
мощностью800 и 1000 МВт).
Синхронные компенсаторы мощностью 5; 7,5; 15; 2
МВ·А имеют косвенную воздушную систему охлаждения, а компенсаторы
мощностью 37,5; 50; 75; 100; 160 МВ·А-косвенную замкнутую систему
охлаждения водородом давлением 0,2 МПа.
Гидрогенераторы имеют относительно большие
геометрические размеры статора и ротора, Это затрудняет создание надёжных
систем уплотнения для сред, работающих со значительным перепадом давлений, и
делает нецелесообразным применение водорода в качестве охлаждающей среды. Большинство
гидрогенераторов выпускаются с косвенной воздушной системой охлаждения. Мощные
вертикальные гидрогенераторы выпускаются с непосредственным охлаждения обмотки
статора водой с форсированным охлаждением ротора воздухом. Горизонтальные
капсульные гидрогенераторы имеют непосредственное охлаждение обмоток статора и
ротора водой.
Системы возбуждения.
Синхронные машины в зависимости от их типа,
номинальной мощности, частота вращения ротора и других факторов оснащаются
различными системами возбуждения. К системе возбуждения предъявляются
требования обеспечения нормированной кратности форсировки возбуждения и
нормальной скорости нарастания напряжения возбуждения при форсировке. Под
кратностью форсировки возбуждения понимают отношение предельного напряжения возбуждения
синхронной машины в установившемся режиме Uf
ПР.У (рис.2) к номинальному напряжению возбуждения Uf
НОМ. Скорость нарастания напряжения возбуждения
определяется
где t1-время
нарастания напряжения возбудителя от номинального напряжения возбуждения
синхронной машины до значения U'
f
равного
где Uf пр-максимальное
значение напряжения возбуждения (рисунок 2).
Рисунок 2-График возбуждения синхронной машины
Требуется, чтобы кратность форсировки
возбуждения у генераторов и синхронных компенсаторов была не менее 2, у
гидрогенераторов в зависимости от установленной системы возбуждения не менее
1,8-2. Скорость нарастания напряжения возбуждения у машин всех типов должна
быть не менее 2 относительных единиц возб/с, причём все синхронные машины
рассчитывают на работу с предельным током возбуждения длительностью до 50 с при
косвенной системе охлаждения, до 2 с при непосредственном охлаждении ротора и
косвенном охлаждении статора и до 20 с при непосредственном охлаждении ротора и
статора. На практике для возбуждения синхронных генераторов и компенсаторов
используют электромашинные системы возбуждения различного исполнения с приводом
возбудителя от вала возбуждаемой машины; высокочастотные системы; тиристорные
системы возбуждения со статическими полупроводниковыми выпрямителями;
бесщёточные системы возбуждения с вращающимся полупроводниковыми выпрямителями.
Автоматическое гашение магнитного поля
синхронных генераторов и компенсаторов.
После внезапного отключения генератора или
компенсатора необходимо его развозбудить, т.е. погасить магнитное поле. При КЗ
внутри генератора или компенсатора, а также на выводах машины быстрое
автоматическое гашение поля позволяет уменьшить размеры повреждений обмоток, и
активной части стали.
Гашение магнитного поля генераторов и
компенсаторов, осуществляется с помощью специальных устройств-автоматов гашения
поля (АГП), которые вводятся в действие от устройств релейной защиты. Процесс
гашения поля может считаться законченным, если амплитуда ЭДС статора снизится
до значения, не превышающего 500В; при этом происходит естественное погасание
дуги переменного тока в месте повреждения машины. Амплитуда ЭДС статора,
обусловленная остаточным намагничиванием ротора, примерно равна 20 В. Время, в
течение которого ЭДС, создаваемая током возбуждения, снизится до 500-20=200 В
называется временем гашения поля.
К устройствам АГП предъявляются следующие
требования:
минимально возможное время гашения
поля;
при действии АГП напряжение на обмотке
возбуждения не должно превосходить допустимое напряжение.
Существует несколько способов гашения поля.
Широко применяется схема с переключением обмотки возбуждения синхронной машины
на разрядный резистор R
(рисунок 3) c помощью контакта 2
АГП.
синхронный компенсатор генератор
электродвигатель
Рисунок 3 - Схема возбуждения синхронного
генератора
В нормальном режиме работы машины её обмотка
возбуждения подключается к возбудителю через контакты 1. После подачи импульса
на отключение АГП сначала замыкаются контакты 2, а затем размыкаются контакты
1, благодаря чему исключается разрыв цепи обмотки возбуждения и устраняется
опасность возникновения больших перенапряжений на этой обмотке.
Электромагнитная энергия, запасенная в обмотке возбуждения, выделяется в
разрядном резисторе. При таком способе гашения поля время гашения составляет
несколько секунд.
В настоящее время широко используются АГП ЛПО
«Электросила», принцип действия такого способа гашения дуги заключается в том,
что в цепь постоянного тока вводится непрерывно увеличивающееся сопротивление,
пока ток не достигнет нуля. В качестве такого сопротивления может быть
использовано сопротивление самой дуги, образующаяся на контактах выключателя. С
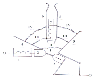
этой целью, выполняются специальные дугогасительные устройства. На рисунке 4
показана схема такого, быстродействующего, рассчитанного на большой ток,
устройства, напряжением до 200 В.
В выключателе магнитное поле, взаимодействующее
с магнитным полем дуги создаётся электромагнитом 1, расположенным около
неподвижного контакта 2. При этом дуга перемещается с неподвижного контакта 1 и
подвижного контакта 3 по направляющим 4 и От позиции I
к позиции II. В
выключателе предусмотрен другой электромагнит 7, магнитное поле которого
втягивает дугу в позицию III-III
на направляющие 6 и 8. Далее дуга выдувается в позицию IV-IV
и гаснет.
Рисунок 4-Автомат гашения поля
Электродвигатели
На электростанциях, для приведения в движение
рабочих машин широко используются электродвигатели. Они потребляют значительную
часть электрической энергии, вырабатываемой на электростанции. Надёжность и
экономичность работы основного и вспомогательного оборудования во многом
зависит от правильного выбора типа и мощности электродвигателей, их систем
защиты и управления, а также схем электроснабжения. При решении указанных
вопросов должны быть учтены не только нормальные условия работы
электродвигателей, но и различные анормальные режимы, вероятность возникновения
которых исключать нельзя. Любой электродвигатель является частью машинного
агрегата, поэтому механические свойства электродвигателя и рабочей машины должны
соответствовать друг другу. Эти свойства определяются их механическими
характеристиками, т.е. зависимостями вращающего момента электродвигателя и
момента сопротивления рабочей машины от частоты вращения.
Типы механических характеристик
электродвигателей и их особенности изучались в курсе «Электромеханика».
Механические характеристики рабочих машин обычно
делят на четыре типа:
•не зависящую от частоты вращения механическую
характеристику, при которой момент сопротивления МС практически не
изменяется с изменением частоты вращения (прямая 1 на рисунке 5). Такую
характеристику имеют подъёмные краны, лебёдки, шнеки, углеразмолочные мельницы,
транспортёры с постоянной массой передаваемого материала и т.д.;
Рисунок 5-Механические характеристики эл.
двигателей
•линейно-возрастающую механическую
характеристику. В этом случае момент сопротивления пропорционален частоте
вращения (прямая 2 на рисунке 5). Такой характеристикой обладает генератор
постоянного тока независимого возбуждения, если сопротивление нагрузки остаётся
неизменным;
•нелинейно-возрастающую механическую
характеристику, при которой момент сопротивления пропорционален частоте
вращения во второй или более высокой степени (кривая 3 на рисунке 5). Рабочие
машины, у которых момент сопротивления пропорционален квадрату частоты
вращения, называют машинами с вентиляторным моментом (пример);
•нелинейно-спадающую механическую характеристику
(кривая 4 на рисунке 5).
В этом случае момент сопротивления обратно
пропорционален частоте вращения, а мощность, потребляемая рабочей машиной,
остаётся постоянной. Такую характеристику имеют металлообрабатывающие станки,
рабочие машины вспомогательных производств электрических станций.
Самозапуск асинхронных и синхронных
электродвигателей
Кратковременные перерывы электроснабжения или
резкие снижения напряжения, на шинах электроустановок вызванные переходом на
резервное питание, короткими замыканиями и другими причинами, приводит к
уменьшению частоты вращения подключённых электродвигателей или даже их полной
остановке. Однако двигатели ответственных рабочих машин в этих условиях не
отключаются от сети, и после устранения причины, вызвавшей нарушение
электроснабжения, происходит одновременный разбег этих электродвигателей в
условиях пониженного напряжения на шинах вследствие значительного падения
напряжения в трансформаторах и других элементах, включённых между источником
электроэнергии и шинами, от пусковых токов. Этот процесс называется
самозапуском. Самозапуск электродвигателей широко используется в системе
собственных нужд электростанций, как средство устранения продолжительных
перебоев в работе ответственных рабочих машин.
Продолжительность процесса самозапуска
электродвигателей зависит от времени перерыва электроснабжения, параметров
питающих трансформаторов, суммарной мощности не отключённых электродвигателей и
их загрузки, механических характеристик рабочих машин, положения регулирующих
органов (задвижек, шиберов, поворотных лопастей и пр.) и других факторов.
Успешным считается лишь такой самозапуск, при
котором продолжительность процесса разбега до номинальной частоты вращения всех
участвующих в нём двигателей не выходит за допустимые пределы, определяемые или
условием нагрева обмоток электродвигателя за время самозапуска, или по условиям
технологического процесса. Так, для электродвигателей системы собственных нужд
тепловых электростанций среднего давления допустимая продолжительность процесса
самозапуска определяется нагревом наиболее загруженных двигателей и составляет
2-35 с; для тепловых электростанций высокого давления она определяется условием
сохранением технологического процесса котла и составляет 15-20 с, так как котлы
высокого давления не допускают длительных перерывов в подаче питательной воды и
отключаются технологическими защитами. При отключении источника питания,
электродвигатели, присоединенные к сборным шинам, остаются электрически
связанными друг с другом и с шинами и за счёт запасенной кинетической и
электромагнитной энергии поддерживают на шинах убывающее по времени напряжение.
Вследствие неодинаковой предшествующей нагрузки, неидентичности механических
характеристик приводных рабочих машин и ряда других причин ЭДС отдельных
двигателей оказываются неодинаковыми по абсолютному значению и несовпадающими
по фазе, поэтому между двигателями циркулируют уравнительные токи и происходит
обмени энергией. При отключении источника питания выбег электродвигателей
происходит в условиях их весьма существенного взаимного влияния друг на друга.
Поэтому такой выбег называется групповым.
Электродвигатели агрегатов имеющих большие
механические постоянные времени, работают в генераторном режиме и отдают часть
энергии электродвигателям, имеющим меньшие механические постоянные времени,
вынуждая их работать в двигательном режиме. Так в системе собственных нужд
электростанций двигатели вентиляторов при групповом выбеге работают в
генераторном режиме, а двигатели насосов-в двигательном.
Возможность самозапуска и продолжительность
процесса разбега электродвигателей после подачи напряжения питания зависит от
многих факторов, но одним из главных является продолжительность перерыва
электроснабжения. (перечислить факторы влияющие на процесс самозапуска;
синхронные ЭД, включение в противофазу и т. п.).
Точный расчёт процесса самозапуска и
предшествующего ему группового выбега электродвигателей связан с необходимость
совместного решения дифференциальных уравнений электромеханических и
электромагнитных переходных процессов, число которых значительно превышает
число самозапускающихся электродвигателей. Такой расчёт возможен только при
использовании ЭВМ.
Поверочный аналитический расчет процесса
самозапуска (с момента подачи напряжения на сборные шины электроустановки)
ведут в такой последовательности:
) Определяют индуктивные сопротивления
трансформатора и других элементов, включённых между шинами источника и шинами
установки к которым присоединены электродвигатели;
) Определяют параметры электродвигателей,
участвующих в самозапуске;
) По предварительно полученным кривым
выбега находят частоту вращения разных электродвигателей к моменту подачи
напряжения на сборные шины электроустановки;
) Определяют сопротивление отдельных
электродвигателей при найденной частоте вращения по формуле
или по экспериментально полученным
кривым изменения тока и частоты вращения отдельных электродвигателей;
5)Определяют эквивалентное сопротивление всех
электродвигателей участвующих в самозапуске:
где n-число
электродвигателей, участвующих в самозапуске; Zэк-эквивалентное
сопротивление i-го
двигателя в рассматриваемый момент времени;
) Находят остаточное напряжение на
сборных шинах, к которым подключены электродвигатели:
где Uном -напряжение
на сборных шинах источника электроэнергии; Xсв-суммарное
индуктивное сопротивление элементов связи, включенных между шинами источника
электроэнергии и шинами установки к которым подключены электродвигатели;
) Используя механические
характеристики электродвигателей, участвующих в самозапуске, определяют
вращающий момент каждого из них при найденной в п.3 частоте вращения и
номинальном напряжении, а затем находят соответствующий вращающий момент при
напряжении Uост:

) Используя механические
характеристики рабочих машин, определяют момент сопротивления на валу каждого
электродвигателя при соответствующем скольжении;
) Определяют избыточный момент на
валу каждого электродвигателя как разность его вращающего момента и момента
сопротивления. Если избыточный момент на валу каждого двигателя положительный,
то самозапуск возможен. Если это соотношение не выполняется по принимаются
следующие меры (Тперер., Трз, ТАВР, откл.
менее ответст. раб. машин, шунтирование обмоток возбуждения синхр. дв-ей разр.
резист.).
) Зная избыточные моменты на валу
каждого электродвигателя, напряжение на шинах и механические постоянные времени
агрегатов, определяют время разгона каждого агрегата;
) Рассчитывают дополнительное
превышение температуры обмоток электродвигателя за время самозапуска и
сравнивают его с допустимым превышением температуры при кратковременных
перегрузках.
Если расчёт самозапуска необходим
для выбора уставок защит источников питания, а также для определения предельной
мощности самозапускающихся электродвигателей. Задача расчёта сводится к
определению суммарного тока самозапуска группы электродвигателей IП Σ и
остаточного напряжения на их зажимах Uост. Расчёт
самозапуска выполняется для наиболее тяжёлого режима при остановленных
электродвигателях (s=1).
Ток в момент пуска или самозапуска отдельного
электродвигателя равен току трёхполюсного короткого замыкания за сопротивлением
остановленного двигателя. При самозапуске группы электродвигателей (рисунок 6)
их результирующее сопротивление zр.д. находится
путём параллельного сложения сопротивлений двигателей, участвующих в
самозапуске:
Величина сопротивлений отдельных
заторможенных электродвигателей определяется по выражению:
Рисунок 6-Схемы для расчёта
самозапуска электродвигателей
При самозапуске группы
электродвигателей (рисунок 6) их результирующее сопротивление zр.д. находится
путём параллельного сложения сопротивлений двигателей, участвующих в
самозапуске:
Величина сопротивлений отдельных
заторможенных электродвигателей определяется по выражению:
где Uном-номинальное
напряжение двигателя; Iп.
пуск.-начальное значение периодической составляющей
пускового тока двигателя при Uном.
Значение периодической составляющей пускового
тока определяется по паспортным данным. При питании шин двигателя от
трансформатора все сопротивления и напряжение приводятся к одной ступени
напряжения по формулам:
где z-действительное
значение сопротивления; z’-приведенное
значение сопротивления; nТ-коэффициент
трансформации трансформатора; U2 и U1-номинальные
напряжения трансформатора с учётом действительного положения отпайки переключателя;
Uрасч-линейное
расчётное напряжение; U’расч-приведенное
значение расчётного напряжения.
Ток самозапуска электродвигателей,
питающихся через трансформатор или реактор:
где IПΣ-ток
самозапуска группы электродвигателей; x -
сопротивление трансформатора или реактора; z’р.д.-результирующее
пусковое сопротивление группы электродвигателей, приведенное к ступени
расчётного напряжения.
Для упрощения расчётов полное
сопротивление заторможенных электродвигателей и реактивное сопротивление
трансформатора или реактора складываются арифметически. Падение напряжения на
сопротивлениях схемы замещения пропорционально величинам соответствующих
сопротивлений. Отсюда определяется остаточное напряжение на зажимах двигателей при
самозапуске:
где
- остаточное напряжение на зажимах
двигателя, приведенное к расчётной ступени напряжения.
Литература
1. Алехин В.А. Электротехника и
электроника. Компьютерный лабораторный практикум в программной среде TINA-8.
Учебное пособие для вузов. / В.А. Алехин. - М.: РиС, 2014. - 208 c.
. Алиев И.И. Электротехника и
электрооборудование: Справочник: Учебное пособие для вузов / И.И. Алиев. - М.:
Высш. шк., 2010. - 1199 c.
. Алиев И.И. Электротехника и
электрооборудование. Справочник. / И.И. Алиев. - М.: Высшая школа, 2010. - 1199
c.
. Белов Н.В. Электротехника и основы
электроники: Учебное пособие / Н.В. Белов, Ю.С. Волков. - СПб.: Лань, 2012. -
432 c.
. Борисов, Ю.М. Электротехника:
учебник. 3-е изд. / Ю.М. Борисов. - СПб.: BHV, 2014. - 592 c.
. Бурман А.П. Записки о жизни
электротехника / А.П. Бурман. - М.: МЭИ, 2009. - 392 c.
. Бутырин П.А. Электротехника:
Учебник для начального проф. образования / П.А. Бутырин, О.В. Толчеев, Ф.Н.
Шакирзянов. - М.: ИЦ Академия, 2012. - 272 c.
. Ванюшин М. Занимательная
электроника и электротехника для начинающих и не только / М. Ванюшин. - СПб.:
Наука и техника, 2016. - 352c.
. Гальперин М.В. Электротехника и
электроника: Учебник / М.В. Гальперин. - М.: Форум, НИЦ ИНФРА-М, 2013. - 480 c.
. Данилов И.А. Общая электротехника:
Учебное пособие для бакалавров / И.А. Данилов. - М.: Юрайт, ИД Юрайт, 2013. -
673 c.