Проект закладки виноградника привитыми саженцами
Содержание
Введение
1. Агроклиматические и почвенные условия хозяйства или района
1.1 Климатические условия
1.2 Почвенные условия
2. Выбор участка под закладку виноградника и организация его
территории
3. Обоснование подбора сортов винограда и их размещение на участке
4. Обоснование схемы посадки кустов и расчёт потребности в
посадочном материале
5. Производство саженцев для закладки виноградника
5.1 Расчёт объёма производства корнесобственных и привитых
саженцев, требуемых материалов, площадей маточных насаждений и школки
5.2 Особенности создания сертифицированных суперинтенсивных
маточных насаждений подвоя и привоя и технологии выращивания черенков на них
5.3 Агротехнический план производства привитых виноградных саженцев
6. Агротехнический план по закладке виноградника и уходу за
молодыми насаждениями
7. Обоснование выбора форм кустов, техника их выведения и расчет
нагрузки при обрезке
8. Обоснование выбора системы ведения кустов, расчёт материалов на
устройство шпалеры
9. Агротехнический план по уходу за эксплуатационным виноградником
10. Составление плана уборки технических и столовых сортов
винограда и технология её проведения
Заключение
Список использованной литературы
Введение
Виноград - одно из древнейших растений земного шара, о чём
свидетельствуют ископаемые остатки окаменелых семян и листьев, относящихся к
третичному периоду, а также сохранившаяся настенная живопись и рисунки на
древнегреческих и египетских памятниках. Впервые культивировать виноград стали
в Закавказье, Средней Азии, Иране, Афганистане, Восточном Китае, Сирии, Турции,
Египте. Ещё до нашей эры виноградарство процветало в Греции, а несколько
позднее - во Франции, Испании и других странах Европы. В XVI в. виноград начали
культивировать на американском континенте, значительно позже - в Южной Африке,
Австралии, Новой Зеландии, Японии, на полуострове Корея. В конце XVII - начале
XVIII вв. виноградарство и виноделие Франции, Испании, Португалии, Италии,
Венгрии достигло наивысшего расцвета. В литературе имеются сведения о том, что
в 1613 г. насаждения винограда были заложены под Астраханью, а позднее были
созданы дворцовые и монастырские виноградники в Киеве, Чугуеве и других местах.
150-200 лет назад виноградарством стали заниматься на Дону, Кубани, Нижней
Волге, побережье Каспийского, Чёрного морей.
Виноградарство является одной из важнейших отраслей сельского
хозяйства. Достоинства винограда состоят в том, что в его ягодах содержится до
30% сахара. Один килограмм винограда содержит 700 - 800 калорий, около 30%
дневного рациона человека. Один литр виноградного сока эквивалентен 1,7 литру
коровьего молока, или 650 г. говяжьего мяса, 1 кг рыбы, 300 г. брынзы, 500 г.
хлеба, 5 яйцам, 1,2 кг картофеля, 3,5 кг томатов, 1,5 кг яблок. Глюкоза
содержится в большом количестве, в других фруктах такого количества нет. Кроме
сахаров в 1 кг ягоды имеются органические кислоты, которые играют определённую
роль. В соке ягод преобладают винная и яблочная кислоты. Винная кислота в
большом количестве только в виноградной ягоде. В винограде содержатся коллоиды и
пектиновые вещества, витамины, ферменты, ароматические и другие вещества.
Ампелотерапия - это лечение виноградом. Доза потребления человеком в день 300 -
500 г.
Виноград широко используется в производстве консервов,
варенья, кондитерской промышленности. Получают виноградный сок. Виноград -
основное сырьё для вина, коньяка, шампанского. 80% винограда используется для
производства вина. Вино содержит ряд питательных и биологически активных
веществ: винная кислота, янтарная, молочная, аминокислоты, пектиновые вещества,
глицерин и минеральные вещества. Белые и красные вина при умеренном потреблении
применяются для лечения желудочных заболеваний. Красные вина способствуют
выведению из организма радиоактивных веществ и тяжёлых металлов. Кроме вина
получают коньяк. Из отходов виноделия получают винную кислоту, винный уксус,
виноградное масло из семян, энантовый эфир, типографские краски, тонин,
ферменты, 8
Виноград может произрастать на тех почвах, где зерновые не
могут производить: каменистые, песчаные. На этих почвах получают самый
качественный виноград и вино.
Общая площадь виноградных насаждений в мире 7,5 млн га. Это
такие страны как: Италия, Франция, Португалия, Греция, Болгария, Румыния,
Сербия, Венгрия. В бывшем СССР: Молдавия, Украина, Узбекистан, Грузия, Россия
(Краснодарский край, Дагестан, ставропольский край, Ростовская область,
Чеченская республика).
В Испании 1 млн. 280 тыс. га, во Франции 929 тыс. га, в США
310 тыс. га. Производство винограда в мире 54 - 55 млн. тонн, вина 280
гектолитров. Душевое потребление на душу населения во Франции 63 литра, в
Испании 37 литров, в Греции и Венгрии по 30 литров. Ежегодно в мире
производится 7 млн. тонн столового винограда, употребляемого в свежем виде:
Италия, Турция, США, Чили, Греция, Сирия, Афганистан, Алжир, ЮАР, Австралия.
До 1985 года в России было 200 тыс. га виноградных
насаждений. В 1985 году вышел закон по борьбе с пьянством, после чего
насаждения стали выкорчевывать. Сейчас в стране 70 тыс. га (Краснодарский край
и республика Дагестан). В Краснодарском крае до 1985 года 64 тысячи
виноградников, после 30 тыс., а после морозов 2006 года осталось всего 22 тыс.
га. Основная часть виноградников края расположена в анапо-таманской зоне.
Значительные площади в Крымском и Абинском районах, остальная часть па побережье.
В республике Дагестан на данный момент площадь насаждений составляет 16-17 тыс.
га.
Основным сдерживающим фактором является колоссальный дефицит
посадочного материала. Первая проблема обеспечить посадки отечественным
привитым качественным посадочным материалом. Соотношение насаждений
виноградника должно быть: технических к столовым 4: 1, в техническом сортименте
сорта с окрашенной ягодой должны составлять 60%, а с белой 40%, требуется
разработка низкозатратных технологий - беcшпалерная система ведения
винограда, за счет применения формировок. Важно также выведение новых
высокоустойчивых и устойчивых сортов винограда.
1.
Агроклиматические и почвенные условия хозяйства или района
1.1
Климатические условия
Калининский район расположен в центральной и северо-западных
частях Краснодарского края. Территория района составляет 151655 гектаров,
численность населения 50489 человек. Район имеет вытянутую форму с
северо-запада на юго-восток протяженностью более 80 км.
Такое географическое положение делит район на две
климатические зоны северную плавневую и южную, что характеризуется разностью
выпадения осадков и разностью почв. По схеме агроклиматического районирования
Краснодарского края Калининский район входит в первый (60% территории) и второй
(40% территории) агроклиматический район. Первый характеризуется недостаточным
и неустойчивым увлажнением. Годовое количество осадков 468 мм. Второй
характеризуется умеренным увлажнением. За год выпадает 600 - 700 мм осадков.
Коэффициент увлажнения 0,30-0,40. Климат района умеренно-континентальный.
Среднегодовая температура воздуха составляет + 9.6°С, средняя температура
января - 4.0°С, июня + 19,9°С. Абсолютный минимум - 35°С, максимум температур
воздуха +41°С. Средняя продолжительность безморозного периода 181 день, наименьшая
152, наибольшая 217. Средняя дата последнего заморозка 14 апреля. Средняя дата
наступления заморозков 13 октября. Зима умеренная, снежный покров впервые
появляется в первой декаде декабря. За зиму средняя из наибольших высот
снежного покрова не превышает 15 см. Снежный покров в 60-90% случаев
неустойчив. Спад снежного покрова происходит в середине марта. Средняя глубина
промерзания почвы 32 см, наибольшая 52 см. В середине апреля обычно
устанавливается жаркая погода с наличием засух: в определенные годы дневные
температуры могут повышаться до 30ºС и выше. Лето наступает
в первой декаде мая. Лето жаркое, сухое. При наличии высоких температур
количество осадков за вегетацию недостаточно. В течение всего года на
территории всего района преобладают восточные и северо-восточные ветры. Средняя
скорость ветра 3,8 м/сек. В течение вегетационного периода очень часто
появляются суховеи 85 - 90 дней. Сумма активных температур колеблется в
пределах 2800 - 3200º.
1.2 Почвенные
условия
По природно-сельскохозяйственному районированию земельного
фонда Р.Ф. территория СПК "Октябрь" Калининского района входит в
суббориальный почвенно-климатический пояс. Почвенный покров СПК
"Октябрь" занимает лугово-черноземная почва, мощная малогумусная
выщелоченная и карбонатная, солонцеватая и луговая малогумусная солонцеватая и
солончаковатая. Они расположены как правило на понижениях.
Сформировались чернозёмы выщелоченные на лёссовидных глинах.
Данные почвы отличаются от чернозёмов наличием гидроморфных признаков в виде
ржавых и сизых пятен, появляющихся в основном горизонте "С".
Водно-физические их несколько ухудшены (невысокая водопроницаемость и
воздухоёмкость) обусловлены они повышенной плотностью профиля, особенно
горизонта "АВ2".
Структура горизонта "А" зернистая, уплотнение
незначительное. Однако в горизонте B сильно набухает, становится практически
водонепроницаемым. Очень низкая фильтрационная способность почв является
причиной скапливания на поверхности, особенно в зимнее-весенний период вод, что
может приводить к вымоканию озимых культур. Мощность лугово-черноземных почв в
среднем 145 см при колебаниях от 120 до 160, то есть можно сказать, что они
относятся к сверх мощным.
Механический состав почв суглинистый. Содержание физической
глины в верхнем слое равно 50%. Для них характерно высокое содержание илистой
фракции, максимальное количество которой в горизонте АВ, достигает 48,6%.
Почвы довольно хорошо гумусированы. В пахотном слое
количество гумуса достигает 4,8%, вниз по профилю снижается постепенно.
Чернозёмы выщелоченные обладают значительной поглотительной
способностью. Сумма поглотительных оснований составляет в них 32,5 мг/экв на
100 г. почвы. На долю кальция в которых приходится 85% от почвенного
поглощающего комплекса в верхней части профиля. Содержание общих карбонатов и
подвижного кальция у выщелоченного чернозёма в горизонте А равно нулю.
Реакция почвенного раствора, в целом, близкая к нейтральной
(6,7 - 7,0) по профилю, только в горизонте С pH поднимается 7,7 т. е до
слабощелочной. В целом лугово-чернозёмные выщелоченные почвы западин
характеризуются не вполне благоприятными водно-физическими свойствами и хорошим
химическим составом.
При весьма не высоких валовых запасах фосфора до 0,17%
подвижных соединений этого элемента мало 60 - 100 мг/100г в выщелоченных разностях.
Валовое содержание К в почвах относительно высокое, поэтому растения не
испытывают недостатка в нём. 80% чернозёмных почв обладают повышенной и высокой
нитрификационной способностью, 6,8%.
Таблица 2 - Агрохимические свойства почвы
|
Тип почвы
|
Содержание
гумуса, %
|
Сумма
поглощенных оснований, мг-экв.
|
Содержание
элементов питания, мг/100г почвы
|
|
|
|
N
|
P2O5
|
K2O
|
|
Чернозём
выщелоченный
|
4,8%
|
32,5
|
0,185
|
0,17
|
2,10
|
В целом, проанализировав почвенно-климатические условия
района можно сделать вывод, что они подходят для выращивания культуры
винограда, но при соблюдении необходимых агротехнических мероприятий. В виду
того, что абсолютный минимум температур составляет - 35ºС, снежный покров неустойчивый, а средняя глубина промерзания
почвы 32 см требуется ведение укрывной культуры. В качестве сорта подвоя можно
использовать Кобер 5ББ. Чернозёмные почвы способствуют сильному росту
виноградных кустов. На них можно получать обильные урожаи удовлетворительного
качества. В большей степени почвенные условия подходят для выращивания культуры
столового винограда. Однако температурный режим позволяет выращивать и столовые
сорта.
2. Выбор
участка под закладку виноградника и организация его территории
Виноградное растение это многолетняя культура и на одном
месте произрастает несколько десятков лет, поэтому ошибки, допущенные при
закладке виноградника впоследствии исправить очень трудно, а порой даже
невозможно. Поэтому закладку виноградника необходимо производить по проекту,
который выполняет специальная проектная организация. Подбирается проектная
группа по выполнению проекта куда входят специалисты виноградари из хозяйства,
руководитель проектной группы, как правило инженер, землеустроитель, почвовед и
т.д.
Виноградное растение не прихотливо к почвенным условиям,
может произрастать на почвах, которые не пригодны для с/х культур (овощные,
зерновые, технические). Виноград можно культивировать на склонах (южные). Не
может произрастать на засолённых, заболоченных почвах. Глубокие бесплодные
пески можно использовать в том случае, если проведены мелиоративные
мероприятия.
Не смотря на то, что виноград неприхотлив, наиболее
пригодными для возделывания являются перегнойно-карбонаидные,
краснозёмновидные, серо-карбонатные, каменистые, аллювиально-наносные,
чернозёмы, тёмно-каштановые почвы.
Для винограда недопустимо близкое залегание грунтовых вод с
высокой концентрацией солей. Привитой виноград и подвои менее (в 2 раза и
более) устойчивы к токсическому действию солей, чем корнесобственные
европейские сорта.
Уплотнение почвы и малая воздухопроницаемость препятствуют
нормальному росту. На плотных почвах привитой виноград растёт значительно хуже,
чем корнесобственный. На уплотнённых для привитого винограда достаточно, чтобы
слой 40-70 см имел объёмный вес ниже: для лёгкого суглинка - 1,55, среднего -
1,50, тяжёлого - 1,40, глины - 1,35, тяжёлой глины - 1,25.
Содержание подвижного кальция является основным критерием при
оценки почв под привитые виноградники. Основные подвои, а так же привитые на
них европейские сорта при избытке в почве извести заболевают хлорозом.
Оптимальное количество извести для разных подвоев неодинаково. На выщелоченных
чернозёмах, где содержание и активность карбонатов незначительны, подвои
выбирают в соответствии с аффинитетом их с сортами привоя.
Основная задача предпосадочной подготовки почвы -
выравнивание рельефа и создание мощного плодородного корнеобитаемого слоя с
хорошими водно-воздушным и тепловым режимами.
При отводе под виноградники пахотных земель подготовка почвы
сводится к обработке плантажным плугом на глубину 60 см с последующим
выравниванием вспаханной поверхности. Плантаж поднимают за 6 месяцев до
посадки, чтобы почва успела осесть. Перед плантажной вспашкой почву заправляют
органическими и минеральными удобрениями. Дозы их устанавливают в зависимости
от обеспеченности почвы элементами питания.
На отводимых под виноградники старопахотных землях для
восстановления их плодородия предварительно высевают многолетние травы. Это так
же карантинно-профилактическое мероприятие в борьбе с филлоксерой.
Участки, засорённые корневищными сорняками: свинороем,
пыреем, осотом предварительно пашут на глубину 20-25 см с вычёсыванием и
сжиганием корневищ. Уничтожают сорняки гербицидами, посевом однолетних трав или
сидератов.
При выборе участка для маточника подвойных сортов прежде
всего нужно учитывать содержание карбонатов в разных горизонтах. Предпочтение
следует отдавать супесчаным, суглинистым и легко суглинистым почвам типичных и
выщелоченных чернозёмов. Непригодны тяжёлые глинистые, известковые и
заболоченные почвы, а также с близким залеганием грунтовых вод. Следует
избегать сильно богатых и увлажнённых почв т.к. вегетация на них затягивается и
они плохо вызревают. Для хорошего вызревания побегов необходимо выбирать хорошо
обогреваемые места, защищённые от северных и северо-восточных ветров. Участки
следует выбирать после обследование на наличие нематод. При подготовке
выбранного участка к посадке производится осенью плантажная вспашка на глубину
68-70 см. Перед подъёмом пласта вносятся удобрения 12-15 ц суперфосфата, 5-7 ц
калийной соли, навоз 60 т/га или 20 ц азота. Плантаж поднимают не позднее, чем
за 3 месяца до посадки.
Маточники привойных сортов интенсивного и суперинтенсивного
типа нужно располагать на хорошо обогреваемых участках с лёгкими по мех составу
плодородными почвами. Объёмная масса почвы должна находиться в пределах 1,2-1,4
г/см. Нельзя маточники сажать по раскорчёванным садам, виноградникам, ягодникам
ранее, чем через 10 лет, для того чтобы предупредить заражение вирусными
болезнями. На выбранном участке поднимают плантаж, а перед его подъёмом вносят
15-20 ц суперфосфата, 10-15 ц калийной соли на га.
Организация территории прямо влияет на урожайность
насаждений, качество продукции и её себестоимость. Расположение участков и
дорожной сети должно быть увязано с планом хозяйства, соответствовать
требованиям культуры и возможностям полного использования механизации.
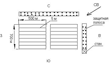
Общепринятая первичная территориальная единица виноградника
на равнине - клетка площадью 5 га (длина по ширине квартала 500 м, ширина клетки
в квартале - 100 м.). Так как у нас площадь виноградника 70 га, то я предлагаю
разбить на 2 квартала (по 35 га). В квартале по 7 клеток площадью 5 га.
На виноградниках равнин ширина межклеточных дорог 6 м,
межквартальных 8 м, магистральных 10 - 14 м. Продуктивность виноградников во
многом зависит от принятого направления рядов в отношении сторон света. На
равнине наилучшие условия создаются при размещении рядов с севера на юг. На
нашем винограднике одна магистральная дорога (она же межквартальная), шириной
10 м.
Виноградные клетки окаймлённые, магистральными дорогами
сводятся в кварталы. На равнинных участках площадь кварталов планируется в
пределах 8 от 25 до 50 га. С северной и восточной сторон размещаются
ветрозащитные лесополосы. Расстояние между лесными полосами 700-1000 м. ширина
лесополосы до 20 м.
Рис. 1. План-схема организации территории виноградника
площадью 70 га.
3.
Обоснование подбора сортов винограда и их размещение на участке
Согласно рекомендациям 50% площади планируемого виноградника
должны составлять столовые сорта, так как данный участок находится всего лишь в
65 км от краевого центра, что позволяет выгодно реализовывать урожай. Тенденции
развития современного виноградарства требуют, чтобы соотношение технических к
столовым сортам было 4׃1. Но в нашем случае, для данного района, выбран
наиболее оптимальный вариант, поэтому остальные 50% посадок составляют
технические сорта.
Набор столовых и технических сортов соответствует
районированному сортименту и обеспечивает равномерный и более растянутый по
срокам созревания период сбора урожая. Мы старались подобрать морозостойкие,
устойчивые к болезням и вредителям, обладающие хорошими вкусовыми и товарными
качествами, различными по окраске сорта как столового, так и технического
направления.
Столовые сорта.
Восторг. Сорт выеден во ВНИИВиВ им. Я.И. Потапенко в
результате скрещивания гибридной формы (Заря Севера × Долорес) с сотом Русский Ранний.
Относится к сортам раннего срока созревания: продукционный
период длиться 115 - 120 дней.
Листья средние, округлые, средне рассечённые, пятилопастные,
черешковая выемка закрытая.
Грозди крупные (до 500 г), конические, средней плотности или
рыхлые. Ягоды крупные (5-6 г), овально - яйцевидные белые. Кожица прочная,
мякоть мясисто - сочная. Вкус приятный, с сортовым ароматом.
Кусты средне - и сильнорослые. Побеги вызревают хорошо.
Плодоносность побегов около 70%. Коэффициент плодоношения 0,6
- 0,8, плодоносности - 1,2-1,4. урожайность в пределах 10 - 13 т/га.
Сахаристость ягод 15 - 18 г/см3, титруемая кислотность 6 - 7 г/дм3.
Так как наиболее плодоносные почки располагаются на 5 - 6
узлах побегах от их основания, то рекомендуемая длина обрезки 7 - 8 глазков.
Регенерационная активность черенков невысокая. Имеет лёгкую пробуждаемость
глазков к росту во время оттепелей. При неблагоприятных условиях во время
цветения наблюдается горошение ягод.
Характеризуется повышенной устойчивостью к морозам ( - 24 - 25ºС), милдью и серой гнили. Ягоды хорошо сохраняются на кустах и в
холодильных камерах.
Дегустационная оценка свежего винограда 8,5 балла.
Нептун. Сорт получен во ВНИИ генетики и селекции
плодовых растений им. И.В. Мичурина в результате скрещивания гибрида 6-53 и
сорта Муромец.
Относится к сортам раннего срока созревания.
Листья средней величины, округлые, слабо рассечённые, трёх
или пятилопастные. На нижней поверхности листа имеется щетинистое опушение.
Грозди средние или круглые, конические или ветвистые, средней
плотности или рыхлые. Ягоды очень крупные, овальные или продолговатые, или
фиолетовые. Мякоть мясисто-сочная. Вкус терпковатый, приятный.
Сила роста кустов средняя, вызревание побегов хорошее.
Процент плодоносных побегов 80-95. коэффициент плодоношения
1,3, плодоносности - 1.6.
Урожайность средняя: 5 - 7 т/га. Сахаристость ягод 14,5 -
17,0 г/100 см3 при титруемой кислотности 7,1 - 8.0 г/дм3.
Обладает повышенной устойчивостью к милдью, пятнистостям и
серой гнили. Морозостойкость повышенная: - 23-24ºС.
Транспортабелен, хорошо хранится.
Дегустационная оценка свежего винограда 9 баллов.
Надежда АЗОС. Сорт селекции Анапской ЗОС, полученный
от скрещивания сортов Молдова и Кардинал.
Относится к группе сортов раннего срока созревания:
потребительская зрелость наступает во второй декаде августа.
Листья крупные, глубоко рассечённые, пятилопастные. Верхняя
поверхность листьев гладкая, нижняя с густым паутинистым опушением. Черешковая
выемка открытая. Лировидная с заострённым дном.
Грозди крупные, ширококонические, рыхлые. Ягоды крупные,
овальные, тёмно-синие с восковым налётом. Кожица толстая или средняя, плотная,
прочная. Мякоть мясистая, хрустящая. Вкус гармоничный.
Рост побегов сильный. Вызревание побегов очень хорошее
(85-90%).
Процент плодоносных побегов 75-90. коэффициент плодоношения
1.2, плодоносности 1,6.
Урожайность высокая 13-15 т/га. Сахаристость ягод 15,0-16.6
г/100 см3 при титруемой кислотности 6.6-8,0 г/дм3.
Сорт относительно устойчив к милдью. Устойчивость к оидиуму и
серой гнили - повышенная.
Транспортабельность средняя. Сорт предназначен для местного
потребления в свежем виде, удовлетворительно переносит перевозки на дальние
расстояния.
Русмол. Сорт совместной селекции ВНИИВиВ им. Я.И.
Потапенко и Молдавского НИИВиВ (Бируинца×Шалфейный).
Относится к сортам средне-позднего срока созревания:
продолжительность продукционного периода 135-150 дней.
Листья крупные, средне-рассечённые пятилопастные.
Грозди крупные (500-600 г), конические, средней плотности или
плотные. Ягоды крупные или очень крупные (7-8 г), овальные или округлые, белые,
со слабым мускатным привкусом; созревают на Кубани в середине сентября.
Кусты сильнорослые, побеги вызревают хорошо (80-85 %).
Плодоносных побегов 65-85 %. Коэффициент плодоношения 0.8.
плодоносности - 1,3. Урожайность высокая: 8-12 т/га. Сахаристость ягод 17,4
г/100 см3, титруемая кислотность 8,6 г/дм3.
Повышенно устойчив к милдью, филлоксере (2,5 балла) и низким
температурам (-24-25ºC). Во влажные годы ягоды
растрескиваются.
Транспортабельность средняя.
Осенний чёрный. Сорт селекции Национального института
винограда и вина республики Молдова: получен в результате скрещивания сортов
Альфонс Лавалле и СВ 20-366.
Сорт среднего срока созревания.
Листья средние, средне рассечённые, пятилопастные.
Грозди очень крупные (450-550 г) конические, средней
плотности, очень нарядные. Ягоды крупные, продолговато-овальные,
тёмно-фиолетовые с густым восковым налётом. Мякоть мясистая, хрустящая; вкус
гармоничный.
Кусты сильнорослые, вызревание побегов хорошее.
Процент плодоносных побегов 60-80. Коэффициент плодоношения
1,1, плодоносности - 1,5.
Урожайность умеренная: 8,0-9,3 т/га. Сахаристость ягод
15,8-17,7 г/100 см3 при титруемой кислотности 7,1-8,1 г/100 г/дм3.
Устойчивость к милдью, серой гнили и оидиуму повышенная.
Сорт хорошо хранится в течении 150-180 дней.
Дегустационная оценка свежего винограда 8,5 балла.
Технические сорта.
Гечеи Заматош. Сорт венгерской селекции: получен от
скрещивания сортов Сейв Виллар 12-286 и Медок Нуар.
Относится к сортам ранне-среднего срока созревания.
Листья средние, округлые, слабо или средне-рассечённые,
пятилопастные, пластинка листа воронковидная. Нижняя сторона листа не опушена.
Грозди средние (150-180 г), цилиндрические, ветвистые, очень
плотные. Ягоды мелкие, округлые, янтарные. Вкус приятный, с лёгким мускатным
привкусом.
Сила роста кустов большая или средняя. Лоза вызревает хорошо.
Коэффициент плодоношения 1.0-1.7 Урожайность довольно
высокая: до 12 т/га. Сахаристость сока ягод 18-23 г/100 см3 при титруемой
кислотности 8.5-9,5 г/дм3.
Отзывчив на короткую обрезку (3-4 глазка) с нагрузкой 60-80
глазков на куст. Имеет повышенную устойчивость к милдью, оидиуму, паутинному
клещу, филлоксере. Поражается серой гнилью. Сорт используется для приготовления
легких мускатных столовых вин.
Саперави северный. Сорт селекции
Всероссийского НИИВиВ им.Я.И. Потапенко, полученный от скрещивания сортов
Северный (Сеянец Маленгра×Витис амурензис) и
Саперави. По морфологическим признакам листьев и форме ягод близок к сорту
Саперави.
Относится к сортам средне-позднего периода созревания (вторая
половина сентября).
Листья средние. Слабо рассечённые, цельные или трёхлопастные.
Черешковая выемка закрытая с яйцевидным просветом и острым дном. Опушение на
нижней поверхности листа очень слабое, щетинистое.
Грозди средние (105-200 г), конические, средней плотности.
Ягоды мелкие или средние, овальные, тёмно-синие. Кожица прочная. Мякоть сочная,
сок слабо окрашен.
Сила роста кустов средняя. Вызревание побегов хорошее (85%).
Процент плодоносных побегов 80. коэффициент плодоношения
1,4-1,6, плодоносности - 1.7-1,9. Урожайность высокая: 14,5 т/га. Сахаристость
сока ягод 18-22 г/100 см3 при титруемой кислотности 7-9 г/дм3.
Сорт способен давать плодоносные побеги из замещающих почек.
В годы с недостатком влаги и при большой перегрузке урожаем наблюдается
осыпание ягод. Морозоустойчивость высокая (-26ºC). Устойчивость сорта
против милдью повышенная, кусты можно формировать в виде средне - и
высокоштамбового кордона или бесштамбового веера с двумя-тремя рукавами.
Обрезка на 5-8 глазков.
Используется для приготовления столовых и десертных вин.
Столовые вина имеют интенсивную окраску, сортовой аромат, лёгкий вкус:
дегустационная оценка 7,8 балла. Десертные вина очень интенсивно окрашены, вкус
полный, мягкий, при выдержке в аромате развиваются оригинальные шоколадные
тона, переходящие во вкус: дегустационная оценка 8,3 балла.
Цветочный. Сорт выведен в 1947 г. во Всероссийском НИИВиВ
им Я.И. Потапенко в результате опыления сорта Северный (сеянец Маленгра×Витис амурензис) смесью пыльцы сортов Мускат венгерский, Мускат
белый и Мускат александрийский. По морфологическим признакам листьев и ягод
близок к сортотипу Мускат белый.
Относится к сортам средне-позднего срока созревания (вторая
декада сентября)
Листья средние, округлые, средне рассеченные, пятилопастные.
Черешковая выемка открытая, стрельчатая. Нижняя поверхность листа не опушена,
лишь на жилках встречаются редкие щетинки.
Грозди средние или довольно крупные (150-300 г),
цилиндроконические, средней плотности. Ягоды средние, округлые, янтарные, с
сильным восковым налётом. Мякоть сочная. Вкус приятным, с сильным мускатным привкусом.
Сила роста кустов выше средней, вызревание побегов хорошее.
Процент плодоносных побегов 58. коэффициент плодоношения 0.7.
Урожайность средняя: 8 т/га. Сахаристость сока ягод 19,9-23,3 г/100 см3, при
титруемой кислотности 10,3-12,1 г/дм3.
Морозоустойчивость повышенная (-25ºC). Максимальная гибель
глазков в условиях Дона при неукрывной культуре 50%. Устойчивость к милдью
средняя (3 балла): при двух-трёх опрыскиваниях против милдью обеспечивается
сохранение урожая. Рекомендуется для возделывания в южной зоне укрывного урожая
- без укрытия на зиму, в северной - с небольшим окучиванием кустов.
Используется для приготовления белых столовых, десертных и
игристых вин. Дегустационная оценка столового вина 8, десертных десертного -
8.5, игристого - 9 баллов.
Гранатовый. Сорт выведен в северо-кавказском ЗНИИСиВ в
результате скрещивания сортов Саперави и Каберне.
Относится к сортам позднего срока созревания (третья декада
сентября).
Листья средние, округлые, средние или глубоко рассеченные,
пятилопастные. Пластинка листа воронковидно-изогнутая. Черешковая выемка
закрытая, с округлым или овальным просветом или открытая лировидная, с дном,
ограниченным жилками. Опушение на нижней поверхности листа слабое, паутинистое,
с густыми короткими мягкими щетинками на жилках.
Грозди средние или крупные (180-250 г), ширококонические или
целиндро-конические, плотные или средне плотности. Ягоды средние или мелкие,
округло-овальные, тёмно-синие, с густым восковым налётом. Кожица средней
толщины, прочная. Мякоть сочная, расплывающаяся. Вкус полный, гармоничный.
Сила роста кустов при корнесобственной культуре средняя, при
привитой - выше средней. Сорт отличается тонкими побегами. Вызревание побегов к
концу вегетации хорошее.
Процент плодоносных побегов 65-70. Коэффициент плодоношения
1.0-1.1 плодоносности 1,5-1.8 урожайность высокая и стабильная: 12-14 т/га.
Сахаристость сока ягод 20,4-25,2 г/100 см3 при титруемой кислотности 6-9 г/дм3.
Рекомендуется в условиях юга России выращивать на подвоях
Берландиери × Рипария Кобер 5 ББ и СО4. Обрезка
длинная, на 10-12 глазков.
Зимостойкость средняя. При укрывной культуре гибель глазков
может составлять 45-52 %. Сорт сравнительно засухоустойчив.
Выход сока составляет 78 % к общей массе грозди. Используется
для приготовления красных столовых вин, а также виноградных соков. Вина
характеризуются интенсивной окраской, полным, гармоничным вкусом и хорошо
выраженным сортовым ароматом. Дегустационная оценка столового вина 7,7-7,9
балла, десертного - 7,9-8,5.
Рис. 2. План-схема распределения сортов по кварталам.
. Восторг - 7 га (очень ранний)
. Нептун - 7 га (ранний)
. Надежда АЗОС - 7 га (ранний)
. Русмол - 7 га (средний)
. Осенний чёрный - 7 га (поздний)
. Гечеи заматош - 8.75 га (ранне-средний)
. Саперави северный - 8,75 га (средне-поздний)
. Цветочный - 8.75 га (средне-поздний)
. Гранатовый - 8.75 га (средне-поздний).
4. Îáîñíîâàíèå
ñõåìû ïîñàäêè
êóñòîâ è ðàñ÷¸ò
ïîòðåáíîñòè
â ïîñàäî÷íîì
ìàòåðèàëå
Ñõåìà ðàçìåùåíèÿ
êóñòîâ îïðåäåëÿåòñÿ
ñèñòåìîé âåäåíèÿ,
áèîëîãè÷åñêèìè
îñîáåííîñòÿìè
ñîðòîâ (ñèëîé
ðîñòà), ïðèðîäíûìè
óñëîâèÿìè (òèïîì
ïî÷â, âëàãîîáåñïå÷åííîñòüþ),
ñïîñîáàìè êóëüòóðû
(óêðûâíàÿ, íåóêðûâíàÿ),
ñèñòåìîé ìàøèí
è îðóäèé äëÿ ìåõàíèçàöèè
òðóäî¸ìêèõ ïðîöåññîâ.
Ïðîìûøëåííûå
íàñàæäåíèÿ âî
âñåõ çîíàõ âèíîãðàäàðñòâà
ïðåäñòàâëåíû
øïàëåðíî-ðÿäîâûìè
ïîñàäêàìè.
Øèðèíó ìåæäóðÿäèé
è ðàññòîÿíèå
ìåæäó êóñòàìè
â ðÿäó ïðè çàêëàäêå
íîâûõ íàñàæäåíèé
äèôôåðåíöèðóþò
â çàâèñèìîñòè
îò òèïà ïî÷â, ñèëû
ðîñòà êóñòîâ,
îñîáåííîñòåé
òåõíîëîãèè âîçäåëûâàíèÿ.
 çîíå óêðûâíîãî
âèíîãðàäàðñòâà
äëÿ ïðîìûøëåííûõ
íàñàæäåíèé â
çàâèñèìîñòè
îò îáåñïå÷åííîñòè
ïî÷âû ïèòàòåëüíûìè
ýëåìåíòàìè ïðèíÿòî
ðàññòîÿíèå ìåæäó
ðÿäàìè 3 - 3,5 ì. Ðàññòîÿíèå
ìåæäó êóñòàìè
äèôôåðåíöèðóåòñÿ
â çàâèñèìîñòè
îò ñèëû ðîñòà:
äëÿ ñëàáîðîñëûõ
ñîðòîâ äî 1,5 ì; ñðåäíåðîñëûõ
1,75-2,0 ì; ñèëüíîðîñëûõ
- 2,0-2,5 ì.
Ðåêîìåíäóåìàÿ
ñõåìà ïîñàäêè
êóñòîâ íà ìàòî÷íèêàõ
ïðèâîéíûõ ëîç
èíòåíñèâíîãî
òèïà 3,0 ×1,5-2.0 ì. Ïðè
çàêëàäêå ñóïåðèíòåíñèâíûõ
ìàòî÷íèêîâ ïðèâîÿ
ðàññòîÿíèå ìåæäó
êóñòàìè â ðÿäó
- ñ ó÷¸òîì ïëàíèðóåìîãî
ñïîñîáà îáðàáîòêè
ìåæäóðÿäèé - 3,0 ì.
Òàáëèöà 3 - Ðàñ÷¸ò
ïîòðåáíîñòè
â ïîñàäî÷íîì
ìàòåðèàëå
|
Ñîðò
|
Ïëîùàäü
ïîñàäîê, ãà
|
Ñõåìà
ïîñàäêè, ì
|
Ïîñàäî÷íûõ
ìåñò íà 1 ãà øò.
|
Ñòðàõîâîé
ôîíä 10%
|
Òðåáóåòñÿ
ñàæåíöåâ ñî ñòðàõîâûì
ôîíäîì, øò
|
|
|
|
|
|
íà
1ãà
|
íà
âñþ ïëîùàäü
|
|
Âîñòîðã
|
7
|
3,0×2,0
|
1667
|
167
|
1834
|
12838
|
|
Íåïòóí
|
7
|
3,0×2,0
|
1667
|
167
|
1834
|
12838
|
|
Íàäåæäà
ÀÇÎÑ
|
7
|
3,0×2,0
|
1667
|
167
|
1834
|
12838
|
|
Ðóñìîë
|
7
|
3,0×2,0
|
1667
|
167
|
1834
|
12838
|
|
Îñåííèé
÷¸ðíûé
|
7
|
3,0×2,0
|
1667
|
167
|
1834
|
12838
|
|
Ãå÷åè
çàìàòîø
|
8.75
|
3,0×2,0
|
1667
|
167
|
1834
|
16048
|
|
Ñàïåðàâè
ñåâåðíûé
|
8,75
|
3,0×1.5
|
2222
|
222
|
2444
|
21385
|
|
Öâåòî÷íûé
|
8,75
|
3,0×2,0
|
1667
|
167
|
1834
|
16048
|
|
Ãðàíàòîâûé
|
8,75
|
3×1,75
|
1905
|
191
|
2096
|
18340
|
|
Èòîãî
136011
|
5. Ïðîèçâîäñòâî
ñàæåíöåâ äëÿ çàêëàäêè
âèíîãðàäíèêà
5.1 Ðàñ÷¸ò
îáú¸ìà ïðîèçâîäñòâà
êîðíåñîáñòâåííûõ
è ïðèâèòûõ ñàæåíöåâ,
òðåáóåìûõ ìàòåðèàëîâ,
ïëîùàäåé ìàòî÷íûõ
íàñàæäåíèé è
øêîëêè
Äëÿ îïðåäåëåíèÿ
òðåáóåìîãî êîëè÷åñòâà
ïðèâèòûõ ÷åðåíêîâ
íåîáõîäèìî çíàòü
âûõîä ñòàíäàðòíûõ
ñàæåíöåâ èç øêîëêè.
Äëÿ îòêðûòîãî
ñïîñîáà âûõîä
ñòàíäàðòíûõ
ñàæåíöåâ ìîæåò
äîõîäèòü äî 50%.
Âûõîä ïåðâîñîðòíûõ
ñàæåíöåâ èç øêîëêè
ïðè îòêðûòîì ñïîñîáå
ïîñàäêè ñîñòàâëÿåò
50%, à ïîòðåáíîñòü
â ñàæåíöàõ 136011 øò.
- 50%
Õ - 100 %
Õ=136011×100׃50=272022 øò. ïðèâèòûõ
÷åðåíêîâ.
Äëÿ âûïîëíåíèÿ
272022 øò. ïðèâèòûõ
÷åðåíêîâ íåîáõîäèìî
îïðåäåëèòü ïîòðåáíîñòü
â ñòàíäàðòíûõ
ïîäâîéíûõ è ïðèâîéíûõ
÷åðåíêàõ.
Ïîäâîéíûõ
÷åðåíêîâ ïîòðåáóåòñÿ
272022 øò., à ñ ó÷¸òîì
òîãî, ÷òî 20% ÷åðåíêîâ
îòîéäåò â áðàê
â ïðîöåññå ñîðòèðîâêè
è ïðèâèâêè, ïîòðåáíîñòü
â íèõ ñîñòàâèò
- 100%, Õ - 120%
Õ= 272022×120׃100=326426 øò.
Ïðè âûðàùèâàíèè
ñàæåíöåâ îäíîé
äëèíû èñïîëüçóþò
ñàæåíöû îáû÷íîé
äëèíû èñïîëüçóþò
ïîäâîéíûå ÷åðåíêè
0.54 ì äëèíû.
Ïîòðåáíîñòü
â ïðèâîéíûõ 8-ìè
ãëàçêîâûõ ÷åðåíêàõ
ñîñòàâëÿåò îäíó
÷åòâ¸ðòóþ ÷àñòü
èçâåñòíîãî êîëè÷åñòâà
ïðîèçâîäèìûõ
ïðèâèòûõ ÷åðåíêîâ:
׃4= 68005,5 øò.
Ðàñ÷¸ò ïëîùàäè
ìàòî÷íèêà ïîäâîéíûõ
ëîç ñóïåðèíòåíñèâíîãî
òèïà.
׃120000=2,7 ãà.
Ðàñ÷¸ò ïëîùàäè
ìàòî÷íèêîâ ñóïåðèíòåíñèâíîãî
òèïà ïðèâîéíûõ
÷åðåíêîâ
,5 ׃150000=0.45 ãà.
Ïëîùàäü øêîëêè.
Ïðè îòêðûòîì
ñïîñîáå âûðàùèâàíèÿ
íà 1 ãà øêîëêè
âûñàæèâàåòñÿ
- 250 - 300 òûñ. øò. ïðèâèòûõ
÷åðåíêîâ
׃ 250000=1,1 ãà.
Ðàñ÷¸ò ïîòðåáíîñòè
â ìàòåðèàëàõ
è îáîðóäîâàíèè.
Äëÿ ñòðàòèôèêàöèè
ïðèâèòûõ ÷åðåíêîâ
íåîáõîäèìî èìåòü
ÿùèêè. Ñ ó÷¸òîì
òîãî, ÷òî â îäèí
ñòðàòèôèêàöèîííûé
ÿùèê óìåùàåòñÿ
700 ïðèâèòûõ ÷åðåíêîâ,
ïîëó÷àåì:
׃ 700=389 øò.
Íà 1 ìëí. ïðèâèâîê
íåîáõîäèìî èìåòü
50 òîíí îïèëîê ìÿãêèõ
ïîðîä, â íàøåì
æå ñëó÷àå:
- 1000000
Õ - 272022, Õ= 14 òîíí.
Íà 1 ìëí ïðèâèâîê
íóæíî 1,5 - 2 òîííû
ïàðàôèíà, â íàøåì
ñëó÷àå
- 1000000
Õ - 272022
Õ=0,5 òîíí.
Íà 1 ìëí ïðèâèâîê
íåîáõîäèìî 0,6 òîíí
ïîëèýòèëåíîâîé
ïë¸íêè:
,6 - 1000000
Õ - 272022
Õ=0.2 òîííû.
Ãåòåðîàóêñèíà
íå ìåíåå 1 êã íà
1 ìëí:
- 1000000
Õ - 272022
Õ=0,3 êã.
Õèíàçîëà
íà 1 ìëí 150 êã:
- 1000000
Õ - 272022
Õ=41 êã.
Íà 1 ìëí ïðèâèâîê
òðåáóåòñÿ 15 ýëåêòðîñòðàòèôèêàöèîííûõ
óñòàíîâîê, â íàøåì
æå ñëó÷àå:
- 1000000
Õ - 272022, Õ=4 øò.
Ýëåêòðîïàðàôèíàòîðîâ
íà 1 ìëí 3 øò:
- 1000000
Õ - 272022, Õ=1.
Íà 1 ìëí ìàøèí
ÌÓÃ - 2 äëÿ îñëåïëåíèÿ
ãëàçêîâ íà ïîäâîå
íåîáõîäèìî 6 øò:
- 1000000
Õ - 272022
Õ=2.
Òàêæå íàì
ïîòðåáóþòñÿ ÷àíû
äëÿ çàìî÷êè ÷åðåíêîâ,
îäèí âàêóóì àïïàðàò
ñ îáúåìîì êàìåð
1 ì3. Ïîòðåáíîñòü
ïðèâèâî÷íûõ
ìàøèí "îìåãà
ñòàð" ðàññ÷èòûâàåòñÿ
ñ ó÷¸òîì èõ ïðîèçâîäèòåëüíîñòè
èõ çà ñìåíó è
ïðîäîëæèòåëüíîñòè
ïðèâèâî÷íîãî
ñåçîíà: 30 äíåé×4000=120000.  íàøåì ñëó÷àå
íåîáõîäèìî èìåòü
2 ìàøèíû.
5.2 Îñîáåííîñòè
ñîçäàíèÿ ñåðòèôèöèðîâàííûõ
ñóïåðèíòåíñèâíûõ
ìàòî÷íûõ íàñàæäåíèé
ïîäâîÿ è ïðèâîÿ
è òåõíîëîãèè
âûðàùèâàíèÿ
÷åðåíêîâ íà íèõ
Ìàòî÷íèêè
ñóïåðèíòåíñèâíîãî
òèïà ïîçâîëÿþò
â 15-20 ðàç èíòåíñèôèöèðîâàòü
ïðîèçâîäñòâî
ñåðòèôèöèðîâàííûõ
÷åðåíêîâ âèíîãðàäà
íà íåáîëüøèõ
èçîëèðîâàííûõ
ó÷àñòêàõ, ñâîáîäíûõ
îò íåìàòîä è ôèëëîêñåðû,
ïåðåíîñ÷èêîâ
âèðóñîâ è äðóãèõ
áîëåçíåé. Çàêëàäêà
ìàòî÷íèêîâ ñóïåðèíòåíñèâíîãî
òèïà çäîðîâûì,
âûñîêîïðîäóêòèâíûì
ïîñàäî÷íûì ìàòåðèàëîì
ïîçâîëÿåò íå òîëüêî
ñîêðàòèòü ïëîùàäè
ìàòî÷íèêîâ ïîäâîéíûõ
ñîðòîâ â 2,5 ðàçà,
à ïðèâîéíûõ â
8 - 10 ðàç, íî áûñòðî
ðàçìíîæèòü òðåáóåìûå
ñîðòà è êëîíû
êëàññè÷åñêèõ,
ïåðñïåêòèâíûõ
è íóæíûõ ïîäâîéíûõ
ñîðòîâ. Íàëè÷èå
òàêèõ ìàòî÷íèêîâ
ïîçâîëÿåò ñâîåâðåìåííî
çàãîòàâëèâàòü
÷åðåíêè, çàãîòàâëèâàòü
÷åðåíêè, èñïîëüçîâàòü
äëÿ ðàçìíîæåíèÿ
ëó÷øèå ïî êà÷åñòâó
íèæíèå è ñðåäíèå
÷àñòè õîðîøî
ðàçâèòûõ è âûçðåâøèõ
ïîáåãîâ, ó÷èòûâàÿ
ðàçíîêà÷åñòâåííîñòü
èõ è ãëàçêîâ íà
íèõ, ðåãåíåðàöèîííûå
îñîáåííîñòè
ñîðòà, à òàêæå
ïîääåðæèâàòü
âûñîêèé óðîâåíü
àãðîòåõíèêè
è ïðîâîäèòü âñå
âèäû êîíòðîëÿ.
Äëÿ ïîñàäêè
ìàòî÷íèêîâ ïîäâîéíûõ
è ïðèâîéíûõ ñîðòîâ
ïðèìåíÿþò ÷åðåíêè,
îäíîëåòíèå è
äâóëåòíèå ïðèâèòûå
è êîðíåñîáñòâåííûå,
à òàêæå âåãåòèðóþùèå
ñàæåíöû. Ó÷èòûâàÿ,
÷òî ñóïåðèíòåíñèâíûå
ìàòî÷íèêè çàêëàäûâàþò
çäîðîâûì ïîñàäî÷íûì
ìàòåðèàëîì íà
çåìëÿõ, ñâîáîäíûõ
îò íåìàòîä, ôèëëîêñåðû
è äðóãèõ áîëåçíåé
è âðåäèòåëåé,
à òàêæå íåáîëüøîé
ñðîê ýêñïëóàòàöèè
(10-12 ëåò) èõ ëó÷øå
ñîçäàâàòü êîðíåñîáñòâåííûì
ïîñàäî÷íûì ìàòåðèàëîì.
Ýòî ñóùåñòâåííî
ñîêðàùàåò ñðîêè
ñîçäàíèÿ íàñàæäåíèé,
òðóäî¸ìêîñòü,
ñòîèìîñòü è â
çíà÷èòåëüíîé
ñòåïåíè ãàðàíòèðóåò
îò çàðàæåíèÿ
âèðóñíûìè è äðóãèìè
áîëåçíÿìè, îñîáåííî
îò ïîäâîÿ. Ïðè çàêëàäêå
ìàòî÷íèêîâ ïðåèìóùåñòâî
íåîáõîäèìî îòäàâàòü
ñàæåíöàì. Äëÿ
îáåñïå÷åíèÿ
íàèáîëüøåé íàèáîëüøåé
ïðîäóêòèâíîñòè
íàñàæäåíèé, õîðîøåãî
ðîñòà è âûçðåâàíèÿ
ïîáåãîâ, íàêîïëåíèÿ
äîñòàòî÷íîãî
êîëè÷åñòâà ïèòàòåëüíûõ
âåùåñòâ â íèõ,
îáåñïå÷åíèÿ
ïðèìåíåíèÿ ìåõàíèçàöèè
ïî óõîäó ñ ó÷¸òîì
áèîëîãè÷åñêèõ
îñîáåííîñòåé
ñîðòîâ äëÿ ìàòî÷íèêîâ
ïðèâîéíûõ è ïîäâîéíûõ
ñîðòîâ ÿâëÿåòñÿ
øèðèíà 3 ìåòðà.
Ðàññòîÿíèå ìåæäó
êóñòàìè äëÿ ïîäâîéíûõ
ñîðòîâ 0,5-0,6 ì (6670 êóñòîâ
íà ãà), à äëÿ ïðèâîéíûõ
- 0.3 ì (11100 êóñòîâ íà
ãà) â çàâèñèìîñòè
îò ñèëû ðîñòà
ñîðòîâ è ïî÷âåííûõ
óñëîâèé.
Êóñòû ìàòî÷íèêîâ
ïîäâîéíûõ ñîðòîâ
ìîæíî îáðåçàòü
ïî ìèíèêîðîòêîðóêàâíîé
ôîðìå ñî øòàìáîì
âûñîòîé 30 - 40 ñì. ò.å.
÷òîáû îí äîõîäèë
äî íèæíåé ïðîâîëîêè
øïàëåðû. Ýòî ñâÿçàíî
ñ òåì, ÷òî ïîäâîéíûå
ñîðòà íå òðåáóþò
óêðûòèÿ íà çèìó,
è êðîìå òîãî, îáëåã÷àåòñÿ
îáðàáîòêà ïî÷âû
â ðÿäàõ. Êóñòû
ìàòî÷íèêîâ ïðèâîéíûõ
ëîç ôîðìèðóþ ò
ïî ìèíèêîðîòêîðóêàâíîé
ôîðìå ñ îñòàâëåíèåì
íà ãîëîâå êóñòà
2-3 ñó÷êîâ äëèíîé
1 - 2 ãëàçêà. Ýòà ôîðìà
êóñòà îáëåã÷àåò
îêó÷èâàíèå êóñòîâ
íà çèìó, íå òðåáóåò
ïðîâåäåíèÿ ñóõîé
ïîäâÿçêè è óäîáíà
ïðè å¸ âûâåäåíèè
è ïðè çàãîòîâêå
÷åðåíêîâ. Ëó÷øåé
îïîðîé äëÿ òàêèõ
ôîðìèðîâîê ÿâëÿåòñÿ
âåðòèêàëüíàÿ.
Âåðòèêàëüíàÿ
øïàëåðà íà ìàòî÷íèêàõ
îòëè÷àåòñÿ îò
øïàëåðû íà îáû÷íûõ
âèíîãðàäíèêàõ
òîëüêî áîëüøåé
âûñîòîé (2,2-2,5 ì) è
áîëåå ÷àñòûì
ðàñïîëîæåíèåì
ïðîâîëîê. Êîòîðûå
íàäî íàòÿãèâàòü
÷åðåç 30-40 ñì îäíà
îò äðóãîé.
Òàáëèöà 4. Ïîêàçàòåëè
ñòàíäàðòà íà
÷åðåíêè (ÃÎÑÒ
28 81-89)
|
Íàïðàâëåíèå
èñïîëüçîâàíèÿ
|
Âíåøíèé
âèä
|
Òîëùèíà
÷åðåíêîâ, ìì
|
Äëèíà
÷åðåíêîâ, ñì èëè
ãëàçêîâ
|
Âëàæíîñòü, %
|
|
×åðåíêè
ïîäâîåâ
|
Áåç
ìåõàíè÷åñêèõ
ïîâðåæäåíèé,
áåç óñèêîâ è
ïàñûíêîâ, áåç
ïðèçíàêîâ ïîäñûõàíèÿ.
|
7 - 13
|
35 - 50
|
46
|
|
×åðåíêè
ïðèâîåâ
|
|
7 - 13
|
6 - 8
|
47 - 48
|
Ïîäâîéíûå
÷åðåíêè çàãîòàâëèâàþò
ïîñëå íàñòóïëåíèÿ
ìîðîçîâ ò.ê. çäåñü
íå íóæíî áîÿòüñÿ
çà ãëàçêè. Îïòèìàëüíûé
ñðîê çàãîòîâêè
÷åðåíêîâ ïîäâîÿ
äåêàáðü-ÿíâàðü.
 ýòî âðåìÿ â ÷åðåíêàõ
íàêàïëèâàåòñÿ
íàèáîëüøåå êîëè÷åñòâî
ïèòàòåëüíûõ
âåùåñòâ, îñîáåííî
óãëåâîäîâ â âèäå
ìîíî - è äèñàõàðèäîâ.
Ñ îðãàíèçàöèîííîé
òî÷êè çðåíèÿ
â ýòî âðåìÿ íàèáîëüøåå
êîëè÷åñòâî ñâîáîäíîé
ðàáî÷åé ñèëû.
×åðåíêè íàðåçàòü
íà âñþ âûçðåâøóþ
÷àñòü, îòâå÷àþùóþ
ïî òîëùèíå ñòàíäàðòó,
ò.å. ÷òîáû â âåðõíåì
êîíöå ÷åðåíêà
òîëùèíà äîëæíà
áûòü 7 ìì. Ñòàíäàðòíûì
ñ÷èòàåòñÿ ÷åðåíîê
ïîäâîÿ, èìåþùèé
äëèíó 0,5 ì. Ïðè çàãîòîâêå
ëîçó îñâîáîæäàþò
îò ïàñûíêîâ, óñèêîâ,
íåâûçðåâøèõ
âåðõóøåê, ñâÿçûâàþò
â ïó÷êè ïî 100 øò.
Åñëè ïîáåãè äëèííûå
ñâÿçûâàþò â òð¸õ
ìåñòàõ, äâîéíîé
äëèíû ñâÿçûâàþòñÿ
â äâóõ. Íàâåøèâàþò
íà ïó÷îê ýòèêåòêó
ñ óêàçàíèåì
ñîðòà è êàêîãî
êëàññà êà÷åñòâà.
Âî âðåì ÿ çàãîòîâêè
íàäî îïðåäåëèòü
ñîäåðæàíèå âëàãè
â ÷åðåíêàõ. Îïòèìàëüíàÿ
âëàãà 47-48% íà ñûðóþ
ìàññó. Åñëè âëàæíîñòü
íèæå îïòèìàëüíîé,
òî ÷åðåíêè íåîáõîäèìî
ïåðåä óêëàäêîé
íà õðàíåíèå çàìî÷èòü
â òå÷åíèè ñóòîê
â âîäå, à çà òåì
â ðàñòâîðå õèíàçîëà
(0,5% ð-ð). Ïðîäîëæèòåëüíîñòü
çàìî÷êè ÷åðåíêîâ
â ðàñòâîðå õèíàçîëà
çàâèñèò îò òåìïåðàòóðû
âîäû: ïðè 5ºÑ îíà
äëèòñÿ 5 ÷àñîâ.
åñëè 10ºÑ 3 ÷àñà,
åñëè 20ºÑ òî
2 ÷àñà. Ïîñëå çàìî÷êè
÷åðåíêàì äàþò
ïðîòðÿõíóòü ñâåðõó.
Ëó÷øå âñåãî õðàíèòü
÷åðåíêè â õîëîäèëüíèêàõ,
ãäå ïîääåðæèâàåòñÿ
òåìïåðàòóðà îò
0 äî 4ºÑ è âëàæíîñòü
75 - 80%. ×åðåíêè óêëàäûâàþò
â øòàáåëè äëèíîé
2 - 2,5 ì â ãîðèçîíòàëüíîì
ïîëîæåíèè, à ñâåðõó
è ñ áîêîâ óêðûâàþò
ïîëèýòèëåíîâîé
ïë¸íêîé, êîòîðóþ
ïåðèîäè÷åñêè
ïîäíèìàþò ñ öåëüþ
ïðîâåòðèâàíèÿ.
À â ñëó÷àå ïîÿâëåíèÿ
ïëåñåíè íàäî
îáðàáàòûâàòü
ìîëîòîé ñåðîé.
×åðåíêè ïðèâîÿ
çàãîòàâëèâàþò
äî íàñòóïëåíèÿ
îñåííèõ çàìîðîçêîâ
(â íàøèõ óñëîâèÿõ
ñåðåäèíà îêòÿáðÿ
è ïåðâàÿ ïîëîâèíà
íîÿáðÿ). Ñòàíäàðòíûé
÷åðåíîê ïðèâîÿ
äîëæåí èìåòü
îò 6 äî 8 ìè ãëàçêîâ.
Òîëùèíà ÷åðåíêîâ
â âåðõíåì êîíöå
äîëæíà áûòü îò
7 äî 13 ìì. ×åðåíêè
äîëæíû áûòü àáñîëþòíî
âûçðåâøèìè, ñîäåðæàòü
íå ìåíåå 48% âëàãè
è íå ìåíåå 12% óãëåâîäîâ,
àáñîëþòíî ñâîáîäíûìè
îò ëþáûõ âðåäèòåëåé
è áîëåçíåé, ñî
çäîðîâûìè ãëàçêàìè.
Íåìåäëåííî ïîñëå
çàãîòîâêè èõ
ñâÿçûâàþò â ïó÷êè.
Ñâÿçûâàþò ìÿãêîé
ïðîâîëîêîé ëèáî
èâîâûìè ïðóòüÿìè,
øïàãàòîì, íàâåøèâàþò
ýòèêåòêè ñ îáîçíà÷åíèåì
ñîðòà, êëàññà
êà÷åñòâà è íåìåäëåííî
îòïðàâëÿþò íà
õðàíåíèå.
5.3 Àãðîòåõíè÷åñêèé
ïëàí ïðîèçâîäñòâà
ïðèâèòûõ âèíîãðàäíûõ
ñàæåíöåâ
Òàáëèöà 5
|
¹ ï/ï
|
Íàèìåíîâàíèÿ
Ðàáîò, åä. èçì.
|
Îáú¸ì
ðàáîò
|
Ñîñòàâ
àãðåãàòà
|
Êàëåíäàðíûå
ñðîêè âûïîëíåíèÿ
ðàáîò (ìåñÿö, äåêàäà)
|
Öåëü
ðàáîòû è Òåõíîëîãèÿ
âûïîëíåíèÿ
|
|
|
|
Ìàðêà
òðàêòîðà
|
Ìàðêà
ñ. - õ. ìàøèíû
|
|
|
|
1. Çàãîòîâêà
è õðàíåíèå ÷åðåíêîâîãî
ìàòåðèàëà
|
|
1.
|
Çàãîòîâêà
÷åðåíêîâ ïîäâîÿ
â øò.
|
326426
|
 ðó÷íóþ
|
_
|
Äåêàáðü-ÿíâàðü
|
Ïîçâîëÿåò
ñîêðàòèòü ñðîêè
õðàíåíèÿ ëîçû,
óìåíüøàåò âîçìîæíîñòü
ïîðàæåíèÿ ìèêðîîðãàíèçìàìè.
Äëèíà 35 - 50 ñì, òîëùèíà
7-13 ìì. Ëîçó îñâîáîæäàþò
îò ïàñûíêîâ, óñèêîâ,
íåâûçðåâøèõ
âåðõóøåê.
|
|
2.
|
Çàãîòîâêà
÷åðåíêîâ ïðèâîÿ
â øò.
|
68006
|
 ðó÷íóþ
|
_
|
Ñåðåäèíà
îêòÿáðÿ - ïåðâàÿ
ïîëîâèíà íîÿáðÿ
|
Çàãîòîâêà
ïðîâîäèòñÿ äî
íàñòóïëåíèÿ
îñåííèõ çàìîðîçêîâ.
Äëèíà 6 - 8 ãëàçêîâ,
òîëùèíà 7-13 ìì. Ëîçó
îñâîáîæäàþò
îò ïàñûíêîâ, óñèêîâ,
íåâûçðåâøèõ
âåðõóøåê.
|
|
3.
|
Ïîäñ÷¸ò
è âÿçêà ÷åðåíêîâ
â ïó÷êè, òûñ. øò.
|
394432
|
 ðó÷íóþ
|
_
|
Äåêàáðü
- ÿíâàðü (ïîäâîé)
2 ÿ äåêàäà îêòÿáðÿ
- 1 ÿ äåêàäà íîÿáðÿ
(ïðèâîé)
|
Ñâÿçûâàþò
â ïó÷êè ïî 100 øò
â äâóõ-òð¸õ ìåñòàõ
øïàãàòîì. Ïðèêðåïëÿþò
ýòèêåòêó ñ íàçâàíèåì
ñîðòà, êëàññà,
íîìåðà ïàðòèè.
|
|
4.
|
Äåçèíôåêöèÿ
÷åðåíêîâ
|
394432
|
_
|
Äåêàáðü
- ÿíâàðü (ïîäâîé)
2 ÿ äåêàäà îêòÿáðÿ
- 1 ÿ äåêàäà íîÿáðÿ
(ïðèâîé)
|
Äëÿ
ïðåäóïðåæäåíèÿ
ïîðàæåíèÿ ãðèáíûìè
áîëåçíÿìè. Âûäåðæèâàþò
äî 5 ÷àñîâ â 0.5% ð-ðå
õèíàçîëà èëè
áåíëàòà.
|
|
5.
|
Ïîãðóçêà
è ðàçãðóçêà ÷åðåíêîâ
ïðèâîÿ øò.
|
68006
|
 ðó÷íóþ
|
_
|
2 ÿ äåêàäà
îêòÿáðÿ - 1 ÿ äåêàäà
íîÿáðÿ
|
Âûïîëíÿåòñÿ
ñ öåëüþ òðàíñïîðòèðîâêè
ê ìåñòó õðàíåíèÿ.
Ïó÷êè ñëåäóåò
ïåðåìåùàòü àêêóðàòíî,
íå ðîíÿòü, íå áðîñàòü
âî èçáåæàíèå
ïîâðåæäåíèé.
|
|
6.
|
Ïîãðóçêà
è ðàçãðóçêà ÷åðåíêîâ
ïîäâîÿ Øò.
|
326426
|
 ðó÷íóþ
|
_
|
3 ÿ äåêàäà
ÿíâàðÿ
|
Âûïîëíÿåòñÿ
ñ öåëüþ òðàíñïîðòèðîâêè
ê ìåñòó õðàíåíèÿ.
Ïó÷êè ñëåäóåò
ïåðåìåùàòü àêêóðàòíî,
íå ðîíÿòü, íå áðîñàòü
âî èçáåæàíèå
ïîâðåæäåíèé.
|
|
7.
|
Óêëàäêà
ïó÷êîâ ÷åðåíêîâ
ïðèâîÿ íà õðàíåíèå
øò.
|
68006
|
 ðó÷íóþ
|
_
|
2 ÿ äåêàäà
îêòÿáðÿ - 1 ÿ äåêàäà
íîÿáðÿ.
|
Ñâåñòè
äî ìèíèìóìà
ïîòåðþ ïëàñòè÷åñêèõ
âåùåñòâ, âëàãè,
ïðåäîòâðàòèòü
çàðàæåíèå ãðèáíûìè
áîëåçíÿìè. Óêëàäûâàþò
â õîëîäèëüíèê
øòàáåëÿìè. Øòàáåëÿ
ñî âñåõ ñòîðîí
óêðûâàþò ïîëèýòèëåíîâîé
ïë¸íêîé.
|
|
8.
|
Óêëàäêà
ïó÷êîâ ïîäâîÿ
íà õðàíåíèå øò.
|
326426
|
 ðó÷íóþ
|
_
|
Êîíåö
ÿíâàðÿ
|
Ñâåñòè
äî ìèíèìóìà
ïîòåðþ ïëàñòè÷åñêèõ
âåùåñòâ, âëàãè,
ïðåäîòâðàòèòü
çàðàæåíèå ãðèáíûìè
áîëåçíÿìè. Óêëàäûâàþò
â õîëîäèëüíèê
øòàáåëÿìè. Øòàáåëÿ
ñî âñåõ ñòîðîí
óêðûâàþò ïîëèýòèëåíîâîé
ïë¸íêîé.
|
|
9.
|
Óõîä
çà ÷åðåíêàìè
ïîäâîÿ è ïðèâîÿ
âî âðåìÿ õðàíåíèÿ
øò.
|
394432
|
_
|
_
|
2 ÿ äåêàäà
îêòÿáðÿ-íà÷àëî
ìàðòà
|
Îáåñïå÷èòü
âûñîêîå êà÷åñòâî
÷åðåíêîâ. Ïîääåðæèâàþò
òåìïåðàòóðó
0 - 3ºÑ
ïðè âëàæíîñòè
âîçäóõà 90 - 95%. Ïðèîòêðûâàþò
ðåãóëÿðíî ïë¸íêó
íà 1 - 2 ÷àñà äëÿ ïðîâåòðèâàíèÿ
øòàáåëÿ. Ïðîâåðÿþò
óðîâåíü âëàæíîñòè
÷åðåíêîâ (47%), àíàëèçèðóþò
íà çàðàæ¸ííîñòü
ïÿòíèñòûì íåêðîçîì.
Ïðèâîéíûå ÷åðåíêè
ïðîâåðÿþò íà ñîõðàííîñòü
ïî÷åê.
|
|
2. Ïîäãîòîâêà
ó÷àñòêà ïîä øêîëêó
|
|
1.
|
Ïîãðóçêà
è ïîäâîç ìèíåðàëüíûõ
óäîáðåíèé, êã
ïî äâ. íà ãà
|
120-150 ôîñôîðíûõ,
150-200 êàëèéíûõ.
|
|
ÓÇÑÀ-40
|
Ñåíòÿáðü-îêòÿáðü
|
Îáåñïå÷èòü
ñâîåâðåìåííóþ
äîñòàâêó ìèíåðàëüíûõ
óäîáðåíèé.
|
|
2.
|
Ïîãðóçêà
è ïîäâîç îðãàíè÷åñêèõ
óäîáðåíèé ò.
|
Ïåðåãíîé
40 - 60
|
ÌÒÇ-80
|
ÐÎÓ-5,
ÏÔ-0,75
|
Ñåíòÿáðü-îêòÿáðü
|
Îáåñïå÷èòü
ñâîåâðåìåííóþ
äîñòàâêó îðãàíè÷åñêèõ
óäîáðåíèé.
|
|
3.
|
Âíåñåíèå
óäîáðåíèé. Êã
ïî äâ íà ãà, ò.
|
120-150 ôîñôîðíûõ,
150-200 êàëèéíûõ. Ïåðåãíîé
40 - 60
|
ÄÒ-75Ì
ÌÒÇ-80
|
ÏÓÕ-2À
ÐÎÓ-6À
|
Ñåíòÿáðü-îêòÿáðü
|
Îáåñïå÷èòü
óñëîâèÿ ïèòàíèÿ
ñàæåíöåâ. Ðàçáðàñûâàþòñÿ
ïåðåä ïîäú¸ìîì
ïëàíòàæà
|
|
4.
|
Ïîäú¸ì
ïëàíòàæà, ãà
|
1,1
|
Ò-130
|
ÏÏÓ-50À
|
Ñåíòÿáðü-îêòÿáðü
|
Óëó÷øåíèå
ôèçèêî-õèìè÷åñêèõ
ñâîéñòâ ïî÷âû
è ïðîòåêàþùèõ
â íåé ïðîöåññîâ.
Ïàõîòó ïðîâîäÿò
íà ãëóáèíó íå
ìåíåå 50 ñì, ñ òàêèì
ðàñ÷¸òîì, ÷òîáû
îíà áûëà ðàçðûõëåíà
íà 10-15 ñì ãëóáæå
óðîâíÿ ïîñàäêè
ïðèâèâîê.
|
|
5.
|
Âûðàâíèâàíèå
ïëàíòàæà, ãà
|
1,1
|
ÄÒ-75
|
ÏÀ-3
|
îêòÿáðü
|
Îáåñïå÷èòü
ðîâíóþ ïîâåðõíîñòü
äëÿ äàëüíåéøåé
ðàçáèâêè.
|
|
6.
|
Çàãîòîâêà
êîëûøêîâ äëÿ ðàçáèâêè,
øò.
|
|
 ðó÷íóþ
|
|
ëåòî
|
|
|
7.
|
Ðàçáèâêà
ó÷àñòêà íà êëåòêè,
ãà
|
1,1
|
 ðó÷íóþ
|
|
Êîíåö
îêòÿáðÿ.
|
Îáîçíà÷èòü
ãðàíèöû. Ïëîùàäü
êëåòêè 1 ãà. Äëèíà
100 ì.
|
|
8.
|
Ìàðêèðîâêà
ðÿäîâ, ãà
|
1,1
|
Ò-38
|
ÊÐÍ-4.2
|
Êîíåö
îêòÿáðÿ.
|
Îáîçíà÷èòü
ðÿäû äëÿ áóäóùåé
ïîñàäêè. Ðàáî÷èå
îðãàíû óñòàíàâëèâàþò
íà ðàññòîÿíèè
3ì.
|
|
3. Ïðåäïðèâèâî÷íàÿ
ïîäãîòîâêà ÷åðåíêîâ
|
|
1.
|
Âûáîðêà
÷åðåíêîâ ïîäâîÿ
è ïðèâîÿ èç õðàíèëèùà,
øò
|
394432
|
 ðó÷íóþ
|
|
1 ÿ äåêàäà
ìàðòà (ïîäâîé)
3 ÿ äåêàäà ìàðòà
(ïðèâîé)
|
Âûíóòü
÷åðåíêè èç õðàíèëèùà
äëÿ ïîäãîòîâêè
ê ïðèâèâî÷íîé
êîìïàíèè.
|
|
2.
|
Íàðåçêà
÷åðåíêîâ ïîäâîÿ
íà 0,5 ì ÷åðåíêè.
øò
|
326426
|
 ðó÷íóþ
|
|
1ÿ äåêàäà
ìàðòà
|
Ðàçðåçàòü
ïîäâîéíóþ ëîçó
íà ÷åðåíêè òðåáóåìîé
äëèíû. Íèæíèé
ñðåç äåëàþò íà
0,5 ñì íèæå óçëà,
à âåðõíèé ïî ìåòêå.
Îòáðàêîâûâàþò
êðèâûå, ñ ìåõàíè÷åñêèìè
ïîâðåæäåíèÿìè.
|
|
3.
|
Îñëåïëåíèå
÷åðåíêîâ ïîäâîÿ,
øò
|
326426
|
|
ÌÓÃ-2
|
1ÿ äåêàäà
ìàðòà
|
Óäàëèòü
çèìóþùèå ãëàçêè.
Ãëàçêè óäàëÿþòñÿ
áåç ïîâðåæäåíèÿ
ñîñóäîâ êñèëåìû.
|
|
4.
|
Íàðåçêà
ïðèâîÿ íà îäíîãëàçêîâûå
÷åðåíêè è óêëàäêà
èõ â ïîëèýòèëåíîâûå
ïåðôîðèðîâàííûå
ìåøêè äëÿ çàìî÷êè,
øò
|
68006
|
 ðó÷íóþ
|
|
3ÿ äåêàäà
ìàðòà
|
Ïðè
íàðåçêå âûøå
ãëàçêà îñòàâëÿþò
îòðåçîê ìåæäîóçëèÿ
1-1,5 ñì. À íèæå âñ¸
ìåæäîóçëèå. Êðàéíèå
ãëàçêè, à òàêæå
ðàçìî÷àëåííûå,
íàáèòûå èëè
ñò¸ðòûå ãëàçêè,
ïëîõî ñôîðìèðîâàâøèåñÿ
âûáðàêîâûâàþò.
Íà ìåøêè íàâåøèâàþò
ýòèêåòêó ñ íàçâàíèåì
ñîðòà, êîëè÷åñòâà
è ãðóïïû ïî òîëùèíå.
|
|
5.
|
Ïîäñ÷¸ò,
óêëàäêà è ñâÿçêà
îñëåïë¸ííûõ
÷åðåíêîâ ïîäâîÿ
â ïó÷êè èëè â ïàêåòû,
øò.
|
326426
|
 ðó÷íóþ
|
|
1ÿ äåêàäà
ìàðòà
|
Ñâÿçûâàþò
â ïó÷êè ïî 100 øò,
òùàòåëüíî âûðàâíèâàþò
âåðõíèå êîíöû.
|
|
6.
|
Óêëàäêà
ïîäâîéíûõ è ïðèâîéíûõ
÷åðåíêîâ íà çàìî÷êó.
|
544044
|
 ðó÷íóþ
|
|
1ÿ äåêàäà
ìàðòà (ïîäâîé)
3ÿ äåêàäà ìàðòà
(ïðèâîé)
|
Îáåñïå÷åíèå
èíòåíñèôèêàöèè
ðåãåíåðàöèîííûõ
ïðîöåññîâ. Ïîäâîéíûå
÷åðåíêè çàìà÷èâàþò
â òå÷åíèå 48-72 ÷àñîâ,
ïðèâîéíûå â òå÷åíèå
14-16 ÷àñîâ.
|
|
7.
|
Âûåìêà
ïðèâîéíûõ è ïîäâîéíûõ
÷åðåíêîâ ïîñëå
çàìî÷êè, øò
|
544044
|
 ðó÷íóþ
|
|
1ÿ äåêàäà
ìàðòà (ïîäâîé)
3ÿ äåêàäà ìàðòà
(ïðèâîé)
|
Íåîáõîäèìî
äîáèòüñÿ óðîâíÿ
âëàæíîñòè 53-55%.
|
|
8.
|
Ïîäãîòîâêà
ðàñòâîðà õèíàçîëà
è îáðàáîòêà â
í¸ì ÷åðåíêîâ
ïîäâîÿ è ïðèâîÿ,
øò.
|
544044
|
 ðó÷íóþ
|
|
1ÿ äåêàäà
ìàðòà (ïîäâîé)
3ÿ äåêàäà ìàðòà
(ïðèâîé)
|
Äëÿ
ïðåäîòâðàùåíèÿ
ðàçâèòèÿ ãðèáíûõ
áîëåçíåé ÷åðåíêè
çàìà÷èâàþò
â 0,5% ðàñòâîðå õèíàçîëà
â òå÷åíèå 2 ÷àñîâ
â æåëåçíûõ ¸ìêîñòÿõ.
|
|
9.
|
Óêëàäêà
÷åðåíêîâ ïîäâîÿ
íà ïðåäïðèâèââî÷íóþ
ñòðàòèôèêàöèþ,
øò.
|
326426
|
 ðó÷íóþ
|
|
1ÿ äåêàäà
ìàðòà.
|
Ïðîâîäèòñÿ
ñ öåëüþ ïîëó÷åíèÿ
îäíîâðåìåííîãî
è êðóãîâîãî êàëëóñà
ïî âñåé îêðóæíîñòè
êîïóëÿöèîííûõ
ñðåçîâ ïðèâîÿ
è ïîäâîÿ. Ïîñëå
çàìî÷êè â ðàñòâîðå
0,5 % õèíàçîëà íà
ïîë íå îáîãðåâàåìîãî
ïîìåùåíèÿ ðàññûïàþò
âëàæíûå ïðîïàðåííûå
îïèëêè ñëîåì
5-6 ñì. Ñ áîêîâ óñòàíàâëèâàþò
äåðåâÿííûå ùèòû
âûñîòîé îêîëî
ìåòðà. Íà îïèëêè
óñòàíàâëèâàþò
ïó÷êè ïîäâîéíûõ
÷åðåíêîâ íèæíèìè
êîíöàìè âíèç,
ïëîòíî äðóã ê
äðóãó. Ïðîñòðàíñòâî
ìåæäó íèìè çàñûïàþò
îïèëêàìè. Ðàññòîÿíèå
ìåæäó ùèòàìè
è êðàéíèìè ðÿäàìè
ïó÷êîâ 5-6 ñì. Òàêæå
çàïîëíÿþò îïèëêàìè
è òùàòåëüíî óïëîòíÿþò.
Ïî âåðõ ïó÷êîâ
íàñûïàþò ñëîé
îïèëîê òîëùèíîé
3-4ñì. Çàòåì íàêðûâàþò
ïîëèýòèëåíîâîé
ïë¸íêîé. Ïë¸íêà
çàïðàâëÿåòñÿ
âíèç íà 10 ñì. Ïî
âåðõ ïë¸íêè ïîìåùàþòñÿ
ýëåêòðîíàãðåâàòåëüíûå
ýëåìåíòû. Äëÿ
îïðåäåëåíèÿ îêîí÷àíèÿ
ñòðàòèôèêàöèè
ðÿäîì ñ îñëåïë¸ííûìè
÷åðåíêàìè êëàäóò
ïó÷îê íåîñëåïë¸ííûõ
÷åðåíêîâ. Ñòðàòèôèêàöèÿ
ïðîõîäèò ïðè òåìïåðàòóðå
25 - 26ºÑ
â òå÷åíèè 7-8 äíåé.
|
|
10.
|
Âûåìêà
÷åðåíêîâ ïîäâîÿ
ïîñëå ïðåäïðèâèâî÷íîé
ñòðàòèôèêàöèè
|
326426
|
 ðó÷íóþ
|
|
3ÿ äåêàäà
ìàðòà
|
Ïî ïðîøåñòâèè
7-8 ìè äíåé ïðîâåðÿþò
ïó÷îê íåîñëåïë¸ííûõ
÷åðåíêîâ. Íà÷àëî
ðàñïóñêàíèÿ
ãëàçêîâ íà ýòîì
ïó÷êå ñâèäåòåëüñòâóåò
îá îêîí÷àíèè
ïðåäïðèâèâî÷íîé
ñòðàòèôèêàöèè.
|
|
11.
|
Ïîäíîñ
÷åðåíêîâ ïîäâîÿ
è ïðèâîÿ ê ïðèâèâàëüùèêàì.
|
544044
|
 ðó÷íóþ
|
|
3ÿ äåêàäà
ìàðòà
|
|
|
4. Ïðèâèâêà,
ñòðàòèôèêàöèÿ
è çàêàëêà
|
|
1.
|
Ïðèâèâêà
ðó÷íàÿ
|
272022
|
 ðó÷íóþ
|
|
Òðåòüÿ
äåêàäà ìàðòà
|
×åðåíîê
ïðèâîÿ èëè ïîäâîÿ
áåðóò â ëåâóþ
ðóêó, óêàçàòåëüíûé
ïàëåö ðàñïîëàãàþò
íåïîñðåäñòâåííî
ïîä ìåñòîì ñðåçà.
Ïðèâèâî÷íûé
íîæ óäåðæèâàþò
ïðàâîé ðóêîé,
áîëüøîé ïàëåö
êîòîðîé óïèðàåòñÿ
â ÷åðåíîê. ßçû÷îê
äîëæåí íàõîäèòüñÿ
íàä ñåðäöåâèíîé
÷åðåíêà è äîõîäèòü
äî å¸ îñíîâàíèÿ.
Íåîáõîäèìî îáðàòèòü
âíèìàíèå, ÷òîáû
ïðè íàðåçêå ÿçû÷êîâ
íîæ çàãëóáëÿëñÿ
ïëàâíî è áåç ðûâêîâ.
Ïîäâîé áåðóò
â ëåâóþ ðóêó, ïðèâîé
â ïðàâóþ. Ïàëüöû
îáåèõ ðóê äîëæíû
óïèðàòüñÿ äðóã
â äðóãà. Ýòî ïîçâîëÿåò
ïîäâåñòè ÿçû÷êè
äðóã çà äðóãà
ïóò¸ì íàæàòèÿ
íà ïðèâîé è ïîäâîé,
è çà òåì áåç óïîðà
ïàëüöåâ ïóò¸ì
íàæàòèÿ íà ïðèâîé
è ïîäâîé ñîåäèíèòü
èõ âìåñòå. Ñîåäèíåíèå
äîëæíî áûòü ïðî÷íîå,
áåç ïðîñâåòîâ
è ðàñêîëîâ.
|
|
2.
|
Ìàøèííàÿ
ïðèâèâêà, øò
|
272022
|
|
"Îìåãà
ñòàð"
|
Òðåòüÿ
äåêàäà ìàðòà
|
Ñíà÷àëà
â ìàøèíó âêëàäûâàþò
ïðèâîé, äåëàþò
ñðåç, ïðè÷¸ì íîæ
ïðèäåðæèâàåò
÷åðåíîê. Çàòåì
ñ ïðîòèâîïîëîæíîé
ñòîðîíû âêëàäûâàþò
ïîäâîé, äåëàþò
ñðåç. Îäíîâðåìåííî
ìàøèíà âäâèãàåò
ïðèâîé â ðàçðåç
ïîäâîÿ, ïîñëå ÷åãî
ñáðàñûâàåò ãîòîâóþ
ïðèâèâêó.
|
|
3.
|
Êîíòðîëü
êà÷åñòâà è ïîäñ÷¸ò
ïðèâèòûõ ÷åðåíêîâ,
øò
|
272022
|
 ðó÷íóþ
|
|
3ÿ äåêàäà
ìàðòà
|
Ó ïðèâèâîê,
ñäåëàííûõ ðó÷íûì
ñïîñîáîì îáðàùàþò
âíèìàíèå íà
ñîåäèíåíèå. Îíî
äîëæíî áûòü ïëîòíûì,
áåç ïðîñâåòîâ,
êîìïîíåíòû ïðèâèâêè
äîëæíû áûòü îäèíàêîâîãî
äèàìåòðà Ïðè
ìàøèííîé ïðèâèâêè
íå äîëæíî áûòü
ðàçìî÷àëèííûõ
ñðåçîâ
|
|
4.
|
Ïðîñåèâàíèå
îïèëîê, ò
|
50
|
 ðó÷íóþ
|
|
3ÿ äåêàäà
ìàðòà
|
Èñïîëüçóþò
îïèëêè ìÿãêèõ
ïîðîä (åëü, ñîñíà),
îáåñïå÷èâàþùèõ
õîðîøóþ àýðàöèþ.
Îíè äîëæíû áûòü
êðóïíûå. Ïðîñåèâàþò
÷åðåç ãðîõîò.
|
|
5.
|
Ïðîïàðêà
îïèëîê ñ îäíîâðåìåííîé
äåçèíôåêöèåé
ðàñòâîðîì õèíîçîëà,
ò.
|
50
|
|
|
3ÿ äåêàäà
ìàðòà
|
Íàñûùåíèå
âëàãîé è óíè÷òîæåíèå
âðåäîíîñíûõ
îáúåêòîâ. Ïðîïàðèâàþò
ïåðåãðåòûì ïàðîì
130ºÑ,
äîâîäÿò äî îïòèìàëüíîé
âëàæíîñòè, äëÿ
ïðåäóïðåæäåíèÿ
ïîÿâëåíèÿ ïëåñåíè
èëè ãíèëè ïðîïàðèâàþò
ñ ïðèìåíåíèåì
õèíîçîëà (100 ã íà
1000 ë âîäû).
|
|
6.
|
Óêëàäêà
ïðèâèòûõ ÷åðåíêîâ
â ñòðàòèôèêàöèîííûå
ÿùèêè ñ ïåðåñëàèâàíèåì
âëàãîóäåðæèâàþùèì
ìàòåðèàëîì, øò.
|
272022
|
 ðó÷íóþ
|
ÓÝÑ
- 6,ÝÑÓ - 2ì
|
3ÿ äåêàäà
ìàðòà
|
Îáåñïå÷èòü
óñëîâèÿ äëÿ îáðàçîâàíèÿ
êàëóññà â ìåñòàõ
ñîåäèíåíèÿ ïîäâîÿ
è ïðèâîÿ. Ñíèìàåòñÿ
áîêîâàÿ ñòåíêà
è ÿùèê óñòàíàâëèâàåòñÿ
â íàêëîííîì ïîëîæåíèè
îòêðûòîé ñòîðîíîé
êâåðõó. Íà äíî
ÿùèêà íàñûïàþò
îïèëêè ñëîåì
5 ñì, íà÷èíàÿ îò
ëåâîé áîêîâîé
ñòîðîíû, íà ñëîé
îïèëîê óêëàäûâàåòñÿ
íèæíèìè êîíöàìè
ðÿä ïðèâèâîê. Êðàéíèå
ïðèâèâêè äîëæíû
íàõîäèòüñÿ íà
ðàññòîÿíèè 5
- 6 ñì îò áîêîâûõ
ñòåíîê ÿùèêà.
Âåðõóøêè ïðèâèâîê
äîëæíû áûòü íà
îäíîì óðîâíå.
Êîãäà äî êðàÿ
ÿùèêà îñòà¸òñÿ
ñâîáîäíîãî ìåñòà
5 ñì, óêëàäêà ïðèâèâîê
ïðåêðàùàåòñÿ,
ïîñëå ïðèâåäåíèÿ
ÿùèêà â ãîðèçîíòàëüíîå
ïîëîæåíèå, âåðõóøêè
ïðèâèâîê çàñûïàþò
ïðîïàðåííûìè
è óâëàæí¸ííûìè
îïèëêàìè, èìåþùèìè
òåìïåðàòóðó
25 - 30ºÑ
ñëîåì 5 - 6 ñì. Íà
îïèëêè íàñòèëàþò
êîâðèê èç ïîëèýòèëåíîâîé
ïë¸íêè, êðàÿ êîòîðîé
çàïðàâëÿþò íà
10 - 12 ñì, à íà ïë¸íêó
óêëàäûâàþò íàãðåâàòåëüíûé
ýëåìåíò. Ñâåðõó
íà íåãî íàñûïàþò
ñëîé îïèëîê 7 - 8
ñì.
|
|
7.
|
Óõîä
çà ïðèâèòûìè
÷åðåíêàìè âî
âðåìÿ ñòðàòèôèêàöèè,
øò
|
272022
|
|
|
3ÿ äåêàäà
ìàðòà-3ÿ äåêàäà
àïðåëÿ
|
Îáåñïå÷èòü
îáðàçîâàíèå
êðóãîâîãî êàëëóñà
â çîíå ñïàéêè,
ñâåñòè äî ìèíèìóìà
îáðàçîâàíèå
êàëëóñà è êîðíåé
íà íèæíåì êîíöå
ïîäâîÿ è ðàñïóñêàíèÿ
ïî÷åê ïðèâîÿ. Òåìïåðàòóðà
äîëæíà áûòü ïîâûøåííàÿ
25 - 26ºÑ
â çîíå ñïàéêè
è ïîíèæåííàÿ
15 - 18ºÑ
ó îñíîâàíèÿ ïîäâîÿ.
ßùèêè óñòàíàâëèâàþòñÿ
íà öåìåíòíûé
ïîë. Âëàæíîñòü
âîçäóõà 85 - 90%. Ïîìåùåíèå
äîëæíî õîðîøî
îñâåùàòüñÿ è
ñèñòåìàòè÷åñêè
ïðîâåòðèâàòüñÿ,
äëÿ ýòîãî ïîë
ñìà÷èâàåòñÿ
âîäîé.
|
|
8.
|
Ñíÿòèå
ïðèâèòûõ ÷åðåíêîâ
ñ òðàíñïîðòèðîâêîé
ê ìåñòó ðàçáîðêè
|
272022
|
 ðó÷íóþ
|
|
3ÿ äåêàäà
àïðåëÿ
|
Çàâåðøåíèå
ïðîöåññà ñòðàòèôèêàöèè
ïðîèçâîäèòñÿ
òîãäà, êîãäà ó
70% ïðèâèâîê â çîíå
ñïàéêè îáðàçóåòñÿ
êðóãîâîé êàëëóñ.
Óñòàíîâêè îòêëþ÷àþòñÿ
îò ñåòè, ðàçúåäèíÿþòñÿ
íàãðåâàòåëüíûå
ýëåìåíòû è èçâëåêàþòñÿ
âìåñòå ñ âåðõíèì
ñëîåì îïèëîê
èç ÿùèêîâ. Ïðèâèâêè
òðàíñïîðòèðóþòñÿ
ê ìåñòó ðàçáîðêè
àêêóðàòíî, ñòàðàþòñÿ
èçáåæàòü ìåõàíè÷åñêèõ
ïîâðåæäåíèé.
|
|
9.
|
Ðàçáîðêà
è ñîðòèðîâêà
ïðîñòðàòèôèöèðîâàííûõ
÷åðåíêîâ íà 1 -
2 ñîðò è áðàê.
|
272022
|
 ðó÷íóþ
|
|
3ÿ äåêàäà
àïðåëÿ
|
Ïðèâèâêè
ðàçáèðàþòñÿ,
íà íèõ óäàëÿþòñÿ
îïèëêè è êîðíè
îò ïðèâîÿ. Ïðèâèâêè
äåëÿòñÿ íà äâà
ñîðòà. Ê ïåðâîìó
ñîðòó îòíîñÿòñÿ
òå ó êîòîðûõ ðàçâèëñÿ
êðóãîâîé êàëëóñ
â çîíå ñïàéêè.
À íà ïðèâîå çäîðîâûé
ãëàçîê, íà áàçàëüíîì
êîíöå ïîäâîÿ èìåþòñÿ
êîðíåâûå áóãîðêè.
Êî âòîðîìó ñîðòó
îòíîñÿò ïðèâèâêè
êîòîðûå èìåþò
äåôåêòû: â çîíå
ñïàéêè íå êðóãîâîé
êàëëóñ è ñîìíèòåëüíûé
ãëàçîê, èëè êðóãîâîé
êàëëóñ íî ñîìíèòåëüíûé
ãëàçîê.
|
|
10.
|
Ïàðàôèíèðîâàíèå
ïðèâèòûõ ÷åðåíêîâ
ïåðâîãî è âòîðîãî
ñîðòà.
|
272022
|
 ðó÷íóþ
|
ÝÏ-2
|
3ÿ äåêàäà
àïðåëÿ
|
Ïðåäîòâðàòèòü
ïîòåðþ âëàãè
ïðèâèâêàìè. Ïàðàôèí
äîëæåí áûòü ðàñïëàâëåí
äî òåìïåðàòóðû
75 - 85º. Ïðèâèâêè
âåðõíåé ÷àñòüþ
(ïîëîâèíó) â ðàñïëàâëåííûé
â ïàðàôèíàòîðå
ïàðàôèí.7 - 10 ïðèâèâîê
äåðæàò âååðîîáðàçíî
çà íèæíèå êîíöû
ïîäâîÿ è îïóñêàþò
âåðõíèìè êîíöàìè
íà äîëþ ñåêóíäû
â ãîðÿ÷èé ïàðàôèí.
|
|
11.
|
Óêëàäêà
â ÿùèêè èëè ïàêåòû
ïðèâèòûõ ÷åðåíêîâ
ïåðâîãî ñîðòà
è óñòàíîâêà
íà ñâåòîâóþ çàêàëêó
|
190415
|
 ðó÷íóþ
|
|
3ÿ äåêàäà
àïðåëÿ
|
Ïîñòåïåííîå
ïðèó÷åíèå ðàñòåíèé
ê åñòåñòâåííûì
óñëîâèÿì ïðîèçðàñòàíèÿ.
Ïðèâèâêè óêëàäûâàþò
â ÿùèêè èëè â ïàêåòû
íà ðîâíûå ó÷àñòêè,
êîòîðûå ïîêðûâàþò
ïîëèýòèëåíîâîé
ïë¸íêîé.  òàðó
çàëèâàþò ïèòàòåëüíûé
ðàñòâîð ñ äîáàâëåíèåì
0,005% ãåòåðîàóêñèíà.
Ïðîâîäÿò íà ñâåòó
ïðè òåìïåðàòóðå
18 - 25ºÑ
|
|
12.
|
Óêëàäêà
â ÿùèêè èëè ïàêåòû
âòîðîñîðòíûõ
ïðèâèòûõ ÷åðåíêîâ
è óñòàíîâêà
èõ íà ïîâòîðíóþ
ñòðàòèôèêàöèþ
(äîðàùèâàíèå)
|
81607
|
 ðó÷íóþ
|
|
3ÿ äåêàäà
àïðåëÿ
|
Îáåñïå÷èòü
ïîÿâëåíèå êðóãîâîãî
êàëëóñà è ïîÿâëåíèå
èç æèâûõ ïî÷åê
çåë¸íûõ ïîáåãîâ.
 ñëåä çà ïàðàôèíèðîâàíòåì
ïðèâèâêè óêëàäûâàþò
â ñòðàòèôèêàöèîííûå
ÿùèêè, äíî, áîêîâûå
è òîðöåâûå ñòåíêè
êîòîðûõ íà âûñîòó
íå ìåíåå 10 ñì ïðåäââàðèòåëüíî
âûñòèëàþò âîäîíåïðîíèöàåìîé
ïë¸íêîé. Ïðèâèâêè
óêëàäûâàþò òàêèì
îáðàçîì, ÷òîáû
èõ ïÿòêè íå êàñàëèñü
äíà, çàëèâàþò
âîäó, å¸ ñëîé íå
äîëæåí ïðåâûøàòü
5 ñì. Òåìïåðàòóðó
â ïîìåùåíèè ïîäíèìàþò
äî 27 - 30ºÑ,
à ïðèâèâêè ñâåðõó
è ñ áîêîâ ïîêðûâàþò
ïðîçðà÷íîé ïë¸íêîé.
|
|
13.
|
Ïàðàôèíèðîâàíèå
ïðèâèòûõ ÷åðåíêîâ
ïîñëå ïîâòîðíîé
ñòðàòèôèêàöèè
è óñòàíîâêà
èõ íà ñâåòîâóþ
çàêàëêó
|
81607
|
 ðó÷íóþ
|
ÝÏ-2
|
3ÿ äåêàäà
àïðåëÿ
|
Ïðåäîòâðàòèòü
ïîòåðþ âëàãè
ïðèâèâêàìè. Ïàðàôèí
äîëæåí áûòü ðàñïëàâëåí
äî òåìïåðàòóðû
75 - 85º. Ïðèâèâêè
âåðõíåé ÷àñòüþ
(ïîëîâèíó) â ðàñïëàâëåííûé
â ïàðàôèíàòîðå
ïàðàôèí.7 - 10 ïðèâèâîê
äåðæàò âååðîîáðàçíî
çà íèæíèå êîíöû
ïîäâîÿ è îïóñêàþò
âåðõíèìè êîíöàìè
íà äîëþ ñåêóíäû
â ãîðÿ÷èé ïàðàôèí.
Ïðèâèâêè óêëàäûâàþò
â ÿùèêè èëè â ïàêåòû
íà ðîâíûå ó÷àñòêè,
êîòîðûå ïîêðûâàþò
ïîëèýòèëåíîâîé
ïë¸íêîé.  òàðó
çàëèâàþò ïèòàòåëüíûé
ðàñòâîð ñ äîáàâëåíèåì
0,005% ãåòåðîàóêñèíà.
Ïðîâîäÿò íà ñâåòó
ïðè òåìïåðàòóðå
18 - 25ºÑ
|
|
14.
|
Óõîä
çà ïðèâèòûìè
÷åðåíêàìè âî
âðåìÿ çàêàëêè
|
272022
|
|
|
3ÿ äåêàäà
àïðåëÿ-1ÿ äåêàäà
ìàÿ
|
Îáåñïå÷èâàåòñÿ
íåîáõîäèìûé
ñâåòîâîé ðåæèì
è ïîääåðæèâàåòñÿ
òåìïåðàòóðà
18 - 25º
|
|
5. Ïîñàäêà
ïðèâèòûõ ÷åðåíêîâ
â øêîëêó.
|
|
1.
|
Ïîãðóçêà
òàðû ñ ïðèâèòûìè
÷åðåíêàìè â òðàíñïîðòíîå
ñðåäñòâî, øò
|
389
|
 ðó÷íóþ
|
|
1ÿ äåêàäà
ìàÿ
|
Ïîãðóçêà
ïðîèçâîäèòñÿ
àêêóðàòíî, íåîáõîäèìî
èçáåãàòü ìåõàíè÷åñêèõ
ïîâðåæäåíèé.
|
|
2.
|
Ðàçãðóçêà
òàðû ñ ïðèâèòûìè
÷åðåíêàìè ñ ïîäíîñîì
èõ ê ìåñòó ïîñàäêè.
|
389
|
 ðó÷íóþ
|
|
1ÿ äåêàäà
ìàÿ
|
Ïîãðóçêà
ïðîèçâîäèòñÿ
àêêóðàòíî, íåîáõîäèìî
èçáåãàòü ìåõàíè÷åñêèõ
ïîâðåæäåíèé
|
|
3.
|
Íàðåçêà
ùåëåé, ïîëèâ, íàòÿæêà
ïë¸íêè è å¸ ïåðôîðèðîâàíèå
|
34
|
Ò-70Â
|
ØÏË-1
|
1ÿ äåêàäà
ìàÿ
|
Ïî÷âó
òùàòåëüíî ïëàíèðóþò,
íà íåé ÷åðåç êàæäûå
3 ì íàðåçàþò ïàðàëëåëüíûå
áîðîçäû ãëóáèíîé
äî 40 ñì. Â áîðîçäû
çàëèâàåòñÿ âî
äà äî îáðàçîâàíèÿ
ïóëüïû. Ðàññòèëàþò
ïë¸íêó, êàê ìîæíî
ïëîòíåå ïðèæèìàþò
ê ïîâåðõíîñòè
ïî÷âû è çàêðåïèòü
â öåëÿõ íåäîïóùåíèÿ
ñäóâàíèÿ å¸ âåòðîì.
Ïåðåä ïîñàäêîé
ïë¸íêó ïðîêàëûâàþò
ìåòàëëè÷åñêèì
øòûð¸ì-ìàðêåðîì,
çàãëóáëÿÿ åãî
íà ãëóáèíó 20-25
ñì.
|
|
4.
|
Ïîñàäêà
ïðèâèòûõ ÷åðåíêîâ
|
272022
|
 ðó÷íóþ
|
|
1ÿ äåêàäà
ìàÿ
|
Ïðèâèâêè
âûñàæèâàþò íà
ãëóáèíó 18 - 20 ñì,
ðàçìåùàÿ èõ òð¸õñòðî÷íûìè
ëåíòàìè ñ ðàññòîÿíèåì
ìåæäó ñòðî÷êàìè
â ëåíòå - 20 ñì, ìåæäó
ëåíòàìè - 60 ñì, ìåæäó
ïðèâèâêàìè â
ñòðîêå - 10ñì. Ñðàçó
ïîñëå ïîñàäêè
ïðèâèâîê âëàæíîñòü
ïî÷âû äîâîäÿò
äî 90 - 95 % ÍÂ.
|
|
6. Óõîä
çà ðàñòåíèÿìè
â øêîëêå
|
|
1.
|
4 - 5 êðàòíîå
ðûõëåíèå ïî÷âû
â ìåæäóðÿäüÿõ
øêîëêè, ãà
|
1,1
|
Ò-70Â
|
ÓØ-2,2
|
 òå÷åíèå
âñåãî ïåðèîäà
âåãåòàöèè
|
Ïîääåðæàíèå
ïî÷âû â ÷èñòîì
ðûõëîì ñîñòîÿíèè.
 ñëåä çà ïîñàäêîé
ñëåäóåò ïðîâåñòè
ãëóáîêîå ðûõëåíèå
ìåæäóðÿäèé (íà
20 ñì).
|
|
2.
|
Äâóêðàòíîå
óäàëåíèå ïîðîñëè,
ãà
|
1,1
|
 ðó÷íóþ
|
|
Çà
âåñü âåãåòàöèîííûé
ïåðèîä
|
Äåëàåòñÿ
äëÿ òîãî, ÷òîáû
äàòü âîçìîæíîñòü
óêðåïèòüñÿ ñïàéêå
è õîðîøî âûçðåòü
âñåìó ïðèðîñòó
íà ñàæåíöå. Óäàëåíèå
ïðîâîäÿò ñ ïîìîùüþ
íîæà.
|
|
3.
|
3 - 5 êðàòíûé
ïîëèâ øêîëêè
|
1,1
|
|
ÒÎÓ-5
|
Èþíü
- âòîðàÿ ïîëîâèíà
ñåíòÿáðÿ
|
Îáåñïå÷èòü
áëàãîïðèÿòíûå
òåïëîâîé è ïèùåâîé
ðåæèìû ïîä ìóëü÷èðóþùåé
ïë¸íêîé. Âëàæíîñòü
ïî÷âû íåîáõîäèìî
ïîääåðæèâàòü
â ïðåäåëàõ 90 - 95 % ÍÂ.
Ïîëèâ ïðîâîäÿò
äîæäåâàíèåì.
|
|
4.
|
10 êðàòíîå
îïðûñêèâàíèå
øêîëêè ïðîòèâ
ìèëäüþ
|
1,1
|
ÌÒÇ-80
|
ÎÌ-320
|
 òå÷åíèå
âñåãî ïåðèîäà
âåãåòàöèè
|
Ïîñëå
ïîÿâëåíèÿ ëèñòîâîé
ïîâåðõíîñòè
îïðûñêèâàþò
äî 10 ðàç 1% - íûì ðàñòâîðîì
áîðäîññêîé æèäêîñòè.
|
|
5.
|
Àïðîáàöèÿ
øêîëêè ñ óäàëåíèåì
ñîðòîâîé ïðèìåñè,
áîëüíûõ è íå ïðèæèâøèõñÿ
ðàñòåíèé. ãà
|
1.1
|
|
|
Àâãóñò
- ñåíòÿáðü
|
Îïðåäåëèòü
ñîðòîâóþ ïðèìåñü,
áîëüíûå è íå ïðèæèâøèõñÿ
ðàñòåíèé ñ äàëüíåéøèì
óäàëåíèåì èõ.
|
|
6.
|
Äåôîëèàöèÿ
ðàñòåíèé â øêîëêå,
ãà
|
1.1
|
|
|
Òðåòüÿ
äåêàäà îêòÿáðÿ
|
Óäàëåíèå
ëèñòüåâ. Ïðîâîäÿò
ïðè ïîìîùè 10% ðàñòâîðîì
õëîðàòîì ìàãíèÿ.
Äëÿ ïðèãîòîâëåíèÿ
ðàñòâîðà íà 100
ë âîäû íåîáõîäèìî
1 êã õëîðàòà ìàãíèÿ
ðàñòâîðèòü â
50 ë âîäû, çàòåì
â áàê îïðûñêèâàòåëÿ
íà 100 ë çàëèâàþò
ýòîò ðàñòâîð
è äîëèâàþò ÷èñòîé
âîäîé äî 100 ë. Ðàñõîä
íà ãà 800 - 1000 ë.
|
|
7. Âûêîïêà
ñàæåíöåâ è óêëàäêà
èõ íà õðàíåíèå
|
|
1.
|
Ìåõàíèçèðîâàííàÿ
âûêîïêà ñàæåíöåâ,
ãà
|
1.1
|
Ò-70Â
|
ÏÐÂÍ-15000
|
Êîíåö
îêòÿáðÿ - ïåðâàÿ
äåêàäà íîÿáðÿ
|
Ñàæåíöû
âûêàïûâàþò ìàøèíîé,
êîòîðàÿ óãëóáëÿåòñÿ
íà 10 - 15 ñì íèæå ïÿòêè
ñàæåíöåâ, ïîäðåçàåò
êîðíè ñíèçó è
ñ áîêîâ è ïîäíèìàåò
ñàæåíöû âìåñòå
ñ ðàçðûõëåííîé
çåìë¸é.
|
|
2.
|
Âûä¸ðãèâàíèå
ñàæåíöåâ ïîñëå
ïîäïàõèâàíèÿ,
ãà
|
1.1
|
 ðó÷íóþ
|
|
Êîíåö
îêòÿáðÿ - ïåðâàÿ
äåêàäà íîÿáðÿ
|
Ïåðåä
âûáîðêîé ñàæåíöåâ
èõ ïðèðîñò ñðåçàþò
ñ îñòàâëåíèåì
5-6 íèæíèõ ãëàçêîâ,
ðàáî÷èå áåðóò
ñàæåíåö íèæå
ìåñòà ñïàéêè
è îñòîðîæíî âûòàñêèâàþò
åãî ñ êîðíÿìè
èç ïî÷âû.
|
|
3.
|
Äîñòàâêà
ñàæåíöåâ ñîðòèðîâùèêàì,
øò
|
272022
|
|
|
Ïåðâàÿ
äåêàäà íîÿáðÿ
|
×òîáû
ñàæåíöû íå ïîäìåðçàëè
è íå ïîäñîõëè
èõ íàêðûâàþò
áðåçåíòîì è êàê
ìîæíî ñêîðåå
ïåðåâîçÿò ê ìåñòó
ñîðòèðîâêè.
|
|
4.
|
Ñîðòèðîâêà
ñàæåíöåâ, øò
|
272022
|
 ðó÷íóþ
|
|
Ïåðâàÿ
äåêàäà íîÿáðÿ
|
Êîðíè
äîëæíû áûòü çàùèùåíû
îò ïîäñûõàíèÿ.
Ñàæåíöû äîëæíû
îòâå÷àòü ñëåäóþùèì
òðåáîâàíèÿì:
äîñòîâåðíîñòü
ñîðòà 100%, äëèíà
âûçðåâøèõ îäíîëåòíèõ
ïîáåãîâ òîëùèíîé
íå ìåíåå 5 ìì ó
îñíîâàíèÿ äîëæíà
áûòü íå ìåíåå
20 ñì, êîëè÷åñòâî
êîðíåé òîëùèíîé
2 ìì è äëèíîé 12 ñì
íå ìåíåå òð¸õ,
ñïàéêà äîëæíà
áûòü êðóãîâîé
è ïðî÷íîé, ïîäâîé
è ïðèâîé äîëæíû
áûòü àáñîëþòíî
çäîðîâûìè áåç
ñëåäîâ ãðàäîáèòèÿ,
ïîâðåæäåíèÿ îò
ãðèáêîâûõ áîëåçíåé,
ïÿòíèñòîãî è
ñîñóäèñòîãî
íåêðîçà, áàêòåðèàëüíîãî
ðàêà.
|
|
5.
|
Ïîäãîòîâêà
ñàæåíöåâ ê ïîñàäêå
|
|
|
|
Âòîðàÿ
äåêàäà íîÿáðÿ
|
Óêîðà÷èâàþò
ïðèðîñò äî 3-4 ãëàçêîâ,
óäàëÿþò áîêîâûå
êîðíè, óêîðà÷èâàþò
ïÿòî÷íûå.
|
|
6.
|
Äåçèíôåêöèÿ
ñàæåíöåâ
|
|
|
|
Âòîðàÿ
äåêàäà íîÿáðÿ
|
Îáðàáàòûâàþò
ÄÍÎÊîì èëè õèíàçîëåì.
|
|
7.
|
Ïàðàôèíèðîâàíèå
ñàæåíöåâ
|
272022
|
 ðó÷íóþ
|
ÝÏ-2
|
Âòîðàÿ
äåêàäà íîÿáðÿ
|
Ïàðàôèí
äîëæåí áûòü ðàñïëàâëåí
äî òåìïåðàòóðû
75 - 85º. Ñàæåíöû
âåðõíåé ÷àñòüþ
(ïîëîâèíó) îïóñêàþò
â ðàñïëàâëåííûé
â ïàðàôèíàòîðå
ïàðàôèí.7 - 10 ñàæåíöåâ
äåðæàò âååðîîáðàçíî
çà íèæíèå êîíöû
ïîäâîÿ è îïóñêàþò
âåðõíèìè êîíöàìè
íà äîëþ ñåêóíäû
â ãîðÿ÷èé ïàðàôèí.
|
|
8.
|
Ïîäñ÷¸ò
è óâÿçêà ñàæåíöåâ
â ïó÷êè èëè óïàêîâêà
èõ â òàðó ñ ýòèêåòèðîâêîé,
øò ïó÷êîâ
|
272022
|
 ðó÷íóþ
|
|
Òðåòüÿ
äåêàäà íîÿáðÿ
|
Ñàæåíöû
ñâÿçûâàþò â ïó÷êè
ïî 25 øòóê, ñ òàêèì
ðàñ÷¸òîì, ÷òîáû
ñâÿçêà áûëà â
òð¸õ ìåñòàõ:
íàä ïÿòêàìè, íàä
ñïàéêîé è ó âåðõóøåê
ïîáåãîâ. Íà êàæäûé
ïó÷îê íàâåøèâàþò
ýòèêåòêó ñ íàçâàíèåì
ñîðòà ïîäâîÿ è
ïðèâîÿ è õîçÿéñòâà
ïðîèçâîäèòåëÿ.
|
Ïîäâîç
ïåñêà äëÿ õðàíåíèÿ
ñàæåíöåâ
|
|
|
|
Òðåòüÿ
äåêàäà íîÿáðÿ
|
|
|
10.
|
Óêëàäêà
â õîëîäèëüíèê
ñàæåíöåâ íà çèìíåå
õðàíåíèå ñ ïåðåñûïêîé
êîðíåâîé ñèñòåìû
âëàæíûì ïåñêîì,
øò ïó÷êîâ.
|
10881
|
 ðó÷íóþ
|
|
Êîíåö
íîÿáðÿ
|
Ñàæåíöû
õðàíÿò â õîëîäèëüíèêå
ïðè òåìïåðàòóðå
îêîëî 0º +2ºÑ. Âûñîòà
øòàáåëÿ íå äîëæíà
ïðåâûøàòü 1,5 ì. Êîðíè
è 1/3 ïîäâîÿ ïåðåñûïàþò
ñëîåì ñâåæåçàãîòîâëåííîãî
âëàæíîãî ïåñêà.
Ïðè ñæàòèè â ðóêå
ïåñîê äîëæåí
ñîõðàíÿòü ôîðìó,
íî íå âûäåëÿòü
âëàãó. Åñëè ïåñîê
ïîäñûõàåò ñàæåíöû
ïåðåêëàäûâàþò
â íîâûå áóðòû
è ñíîâà çàñûïàþò
ïåñêîì.
|
|
11.
|
Óõîä
çà ñàæåíöàìè
âî âðåìÿ õðàíåíèÿ,
øò
|
272022
|
|
|
Êîíåö
íîÿáðÿ - íà÷àëî
àïðåëÿ
|
 òå÷åíèè
ïåðèîäà õðàíåíèÿ
àãðîíîì ñëåäèò
çà âëàæíîñòüþ
ïåñêà è ñîñòîÿíèåì
ñàæåíöåâ. Õðàíèëèùå
ïåðèîäè÷åñêè
ïðîâåòðèâàþò
è íå äîïóñêàþò
ïîÿâëåíèÿ ïëåñåíè
íà ñàæåíöàõ.
|
6. Àãðîòåõíè÷åñêèé
ïëàí ïî çàêëàäêå
âèíîãðàäíèêà
è óõîäó çà ìîëîäûìè
íàñàæäåíèÿìè
1 È 2 ÃÎÄÀ ÂÅÃÅÒÀÖÈÈ
Òàáëèöà 6
|
¹ ï/ï
|
Íàèìåíîâàíèÿ
Ðàáîò, åä. èçì.
|
Îáú¸ì
ðàáîò
|
Ñîñòàâ
àãðåãàòà
|
Êàëåíäàðíûå
ñðîêè âûïîëíåíèÿ
ðàáîò (ìåñÿö, äåêàäà)
|
Öåëü
ðàáîòû è Òåõíîëîãèÿ
âûïîëíåíèÿ
|
|
|
|
Ìàðêà
òðàêòîðà
|
Ìàðêà
ñ. - õ. ìàøèíû
|
|
|
|
1. Ïðåäïîñàäî÷íàÿ
ïîäãîòîâêà ïî÷âû
|
|
1.
|
Ðàñêîð÷¸âêà
è ðàñ÷èñòêà
ó÷àñòêà, ãà
|
81
|
Ò-130
|
ÄÏ-24
|
Çà
1,5 ãîäà äî çàêëàäêè
âèíîãðàäíèêà
|
Äëÿ
óäîáñòâà ðàçáèâêè,
ïîñàäêè è äàëüíåéøåãî
óõîäà. Âûêîð÷åâàííûå
ïíè è êîðíè ñêëàäûâàþò
â êó÷è íà îäèíàêîâîì
ðàññòîÿíèè äëÿ
óäîáñòâà âûâîçà.
|
|
2.
|
Ïîãðóçêà
è âûâîç ïíåé è
êîðíåé ñ ó÷àñòêà,
ãà
|
81
|
ÌÒÇ-80
|
ÓÊÏ-0,6
|
Çà
1,5 ãîäà äî çàêëàäêè
âèíîãðàäíèêà
|
Äëÿ
óäîáñòâà ðàçáèâêè,
ïîñàäêè è äàëüíåéøåãî
óõîäà.
|
|
3.
|
Ðûõëåíèå
ïî÷âû ïåðåä ïëàíèðîâêîé,
ãà
|
81
|
Ò-130
|
ÓÊÏ-0,6
|
Çà
1,5 ãîäà äî çàêëàäêè
âèíîãðàäíèêà
|
Ïðîâîäèòñÿ
ñ öåëüþ ñîçäàíèÿ
ïðåäïîñûëîê ê
ðàçâèòèþ ñèëüíûõ
âûñîêîïðîäóêòèâíûõ
êóñòîâ. Ãëóáèíà
ðûõëåíèÿ 80 ñì â
äâóõ íàïðàâëåíèÿõ
ñ ïðîõîäîì ðàáî÷åãî
îðãàíà ÷åðåç
70-80 ñì.
|
|
4.
|
Ïëàíèðîâêà
ó÷àñòêà, ãà
|
81
|
Ò-130
|
ÄÇ-7Ñ
|
Çà
1,5 ãîäà äî çàêëàäêè
âèíîãðàäíèêà
|
Ïðîâîäèòñÿ
äëÿ óñòðàíåíèÿ
íåðîâíîñòåé.
Çàñûïàþò âûåìêè
è ñðåçàþò áóãðû.
|
|
5.
|
Âñïàøêà
ïîä ïîñåâ òðàâ,
ãà
|
81
|
ÄÒ-75Ì
|
ÏÐÂÍ-3
|
Îêòÿáðü-íîÿáðü
|
Ïðîâîäèòñÿ
äëÿ ñîçäàíèÿ
ïàõîòíîãî ñëîÿ
ïîä ïîñåâ òðàâ.
Ãëóáèíà 22-23 ñì.
|
|
6.
|
Êóëüòèâàöèÿ
ïî÷âû íà 12 ñì, ãà
|
81
|
ÄÒ-75Ì
|
ÏÐÂÍ-3
|
Ìàðò-àïðåëü
|
Äëÿ
âûðàâíèâàíèÿ
ïî÷âû è ñîçäàíèÿ
ðûõëîãî ñëîÿ.
Ãëóáèíà 12 ñì.
|
|
7.
|
Ïîñåâ
ìíîãîëåòíèõ
òðàâ, ãà
|
81
|
ÌÒÇ-80
|
ÑÇØÒ-3,6
|
Ìàðò-àïðåëü
|
Ïåðåä
ïîñåâîì ïî÷âó
ïðèêàòûâàþò.
Ñåâ ñïëîøíîé
ðÿäîâîé. Íîðìà
âûñåâà 9 ìëí ñåìÿí
íà 1 ãà. Ãëóáèíà
çàäåëêè ñåìÿí
2-3 ñì. Îáÿçàòåëüíî
ïîñëåïîñåâíîå
ïðèêàòûâàíèå.
|
|
8.
|
Ñêàøèâàíèå
è èçìåëü÷åíèå
ìíîãîëåòíèõ
òðàâ, ãà.
|
81
|
ÌÒÇ-80
|
ÊÈÐ-1.5
|
Èþëü
|
Ïðèìåíÿåòñÿ
â êà÷åñòâå óäîáðåíèÿ
äëÿ îáîãàùåíèÿ
ïî÷âû îðãàíè÷åñêèì
âåùåñòâîì. Ñêàøèâàåòñÿ
ïåðåä öâåòåíèåì
íà âûñîòå 5-6 ñì.
Çà òåì ïðîâîäèòñÿ
çàäåëêà íà ãëóáèíó
ïàõîòíîãî ñëîÿ
25-30 ñì.
|
|
9.
|
Òðàíñïîðòèðîâêà
è ðàçáðàñûâàíèå
îðãàíè÷åñêèõ
óäîáðåíèé, ò
|
4050
|
ÌÒÇ-80
|
ÐÎÓ
6À
|
Èþëü-àâãóñò
|
Îáåñïå÷èòü
âèíîãðàäíîìó
êóñòó áëàãîïðèÿòíûå
óñëîâèÿ ïðîèçðàñòàíèÿ
â òå÷åíèè 8 - 10 ëåò.
Ïîëóïåðåïðåâøèé
íàâîç ðàâíîìåðíî
ðàçáðàñûâàþò
ïî ïîâåðõíîñòè
ïî÷âû, íîðìà
40-60 ò/ãà.
|
|
10.
|
Âíåñåíèå
ìèíåðàëüíûõ
óäîáðåíèé, ãà
|
81
|
|
ÐÓÌ-8
|
Èþëü-àâãóñò
|
Îáåñïå÷èòü
âèíîãðàäíîìó
êóñòó áëàãîïðèÿòíûå
óñëîâèÿ ïðîèçðàñòàíèÿ
â òå÷åíèè 8 - 10 ëåò.
Ðàâíîìåðíî ðàññåèâàþò
ïî ïîâåðõíîñòè
ïî÷âû. Íîðìà P äî 1,5 ò/ãà, K 1 ò/ãà.
|
|
11.
|
Ïîäú¸ì
ïëàíòàæà, ãà
|
81
|
Ò-130
|
ÏÏÓ-50À
|
Èþëü-àâãóñò
|
Óëó÷øåíèå
ôèçèêî-õèìè÷åñêèõ
ñâîéñòâ ïî÷âû
è ïðîòåêàþùèõ
â íåé ïðîöåññîâ.
Ãëóáèíà 60-70ñì ñ
ïåðåìåùåíèåì
ñëî¸â ïî÷âû.
|
|
12.
|
Âûðàâíèâàíèå
ïëàíòàæà, ãà
|
81
|
ÄÒ-75
|
ÏÀ-3
|
Íîÿáðü
|
Îáåñïå÷èòü
ðîâíóþ ïîâåðõíîñòü
äëÿ äàëüíåéøåé
ðàçáèâêè.
|
|
2. Ðàçáèâêà
ó÷àñòêà ïîä ïîñàäêó
è ïîñàäêà âèíîãðàäíèêà
|
|
1.
|
Êóëüòèâàöèÿ
ïî÷âû ñ áîðîíîâàíèåì
â äâóõ íàïðàâëåíèÿõ,
ãà.
|
162
|
ÄÒ-75
|
ÊÏÍ-4
Ò
|
Ìàðò
|
Âûðîâíÿòü
ïîâåðõíîñòü
ïî÷âû äëÿ óäîáñòâà
ðàçáèâêè è óíè÷òîæèòü
ñîðíÿêè. Ïðîâîäèòñÿ
íà ãëóáèíó 10-12
ñì.
|
|
2.
|
Çàãîòîâêà
ðàçáèâî÷íûõ
êîëüåâ, øò.
|
136011
|
 ðó÷íóþ
|
|
Ëåòî
|
|
|
3.
|
Èíñòðóìåíòàëüíàÿ
ðàçáèâêà ó÷àñòêà
íà à) íà êâàðòàëû
á) íà êëåòêè â)
íà ðÿäû è ïîñàäî÷íûå
ìåñòà, ãà
|
70
|
 ðó÷íóþ
|
|
Ìàðò-àïðåëü
|
à) Âûïîëíÿåòñÿ
ñ ïîìîùüþ ãåîäåçè÷åñêèõ
ïðèáîðîâ: òåîäîëèò,
ìåðíûå ëåíòû,
ðàçáèâî÷íûå
øíóðû èòä. Ïîñòîÿííûìè
îòìåòêàìè (êîëüÿ,
ìåæåâûå ñòîëáû.)
îáîçíà÷àþò
ãðàíèöû êâàðòàëîâ,
ìàãèñòðàëüíûõ
äîðîã, îêàéìëÿþùèõ
ëåñîïîëîñ). á) Ãðàíèöû
êëåòîê îòáèâàþò
ñ ïîìîùüþ ìåðíûõ
ëåíò, îòìå÷àþò
èõ âåõàìè. â) Ðÿäû
è ìåñòà ïîñàäêè
îòáèâàþò ñ ïîìîùüþ
ïðîâîëî÷íûõ øíóðîâ
ñ íàíåñ¸ííûìè
íà íèõ îòìåòêàìè
ïðèíÿòûõ ðàññòîÿíèé
ìåæäó êóñòàìè.
Íà÷èíàþò ñ áîêîâîé
ñòîðîíû êâàðòàëà.
Äâà øíóðà íàòÿãèâàþò
ïîïåð¸ê íàïðàâëåíèÿ
áóäóùèõ ðÿäîâ
íà ëèíèè ïåðâîãî
è ïîñëåäíåãî
êóñòà êàæäîãî
ðÿäà è çàêðåïëÿþò
äåðåâÿííûìè
êîëüÿìè. Ïðîòèâ
îòìåòîê íà øíóðàõ
ñòàâÿò êîëûøêè,
îáîçíà÷àþùèå
ðÿäû. Äëÿ îòìåòêè
ìåñò ïîñàäêè
êóñòîâ íàòÿãèâàþò
ïðîâîëî÷íûé øíóð
âäîëü ëèíèè ðÿäà.
|
|
4.
|
Ïîäãîòîâêà
ñàæåíöåâ ê ïîñàäêå,
øò
|
136011
|
 ðó÷íóþ
|
|
Âòîðàÿ
äåêàäà àïðåëÿ
|
Ñîêðàòèòü
êîëè÷åñòâî âûïàäîâ
è îáåñïå÷èòü
îäèíàêîâóþ ñèëó
ðîñòà è ðàçâèòèå
ìîëîäûõ êóñòîâ.
Ñàæåíöû ñîðòèðóþò,
îòáèðàþò çäîðîâûå,
áåç ïðèçíàêîâ
çàáîëåâàíèÿ
áàêòåðèàëüíûì
ðàêîì è ïÿòíèñòûì
íåêðîçîì. Îñòàâëÿþò
îäèí íàèáîëåå
ðàçâèòîé ïîáåã,
îáðåçàííûé íà
äâå ïî÷êè. Ïÿòî÷íûå
êîðíè óêîðà÷èâàþò
äî 3-5 ñì äëÿ ïîñàäêè
ïîä ãèäðîáóð. Íà
îáðàáîòàííûé
ñàæåíåö íàäåâàþò
ïîëèýòèëåíîâûé
ìåøîê ðàçìåðîì
35×10 ñì,
ïðî÷íî ïðèêðåïëÿÿ
åãî íà 5 - 8 ñì âûøå
ìåñòà ñïàéêè.
Ñàæåíöû ñâÿçûâàþò
â ïó÷êè ïî 25 - 30 øò
è ñòàâÿò íà âûìî÷êó
â ïðîòî÷êó èëè
ñìåíÿåìóþ âîäó
íà äâîå - òðîå ñóòîê.
|
|
5.
|
Ïîãðóçêà,
òðàíñïîðòèðîâêà
è âûãðóçêà ñàæåíöåâ,
øò.
|
272022
|
ÌÒÇ-80
|
ÒÏÒÑ-4Ì
|
Òðåòüÿ
äåêàäà àïðåëÿ
- âòîðàÿ äåêàäà
ìàÿ
|
Íà
áëèçêîå ðàññòîÿíèå
ñàæåíöû òðàíñïîðòèðóþò
â ïðèöåïå, äíî êîòîðîãî
çàñòèëàþò ìîêðîé
ñîëîìîé. Íà íå¸
óêëàäûâàþò ïîñàäî÷íûé
ìàòåðèàë è íàêðûâàþò
áðåçåíòîì èëè
ìàòàìè.
|
|
6.
|
Òðàíñïîðòèðîâêà
âîäû äëÿ çàïðàâêè
ãèäðîáóðà, ò
|
680
|
ÌÒÇ-80
|
ÀÂÂ
- 2
|
Òðåòüÿ
äåêàäà àïðåëÿ
- âòîðàÿ äåêàäà
ìàÿ
|
Ïðîèçâîäèòñÿ
èç ðàñ÷¸òà 5 ëèòðîâ
âîäû íà ñàæåíåö.
|
|
7.
|
Ïîñàäêà
âèíîãðàäíûõ
ñàæåíöåâ ïîä
ãèäðîáóð, øò
|
136011
|
ÄÒ-75
|
ÃÁ-35
|
Òðåòüÿ
äåêàäà àïðåëÿ
- âòîðàÿ äåêàäà
ìàÿ
|
Îïòèìàëüíàÿ
ãëóáèíà ïîñàäêè
45 - 50 ñì. Â ïëàíòàæå
ñòðó¸é âîäû ïðîáèâàþò
ñêâàæèíû íà
ïðèíÿòóþ ãëóáèíó
ïîñàäêè. Ó îñíîâàíèÿ
ÿìû îáðàçóåòñÿ
çåìëÿíàÿ ïóëüïà.
 êîòîðóþ ïîìåùàþò
ñàæåíåö. Áûñòðûì
äâèæåíèåì åãî
ïðèïîäíèìàþò.
Îáåñïå÷èâàÿ
íîðìàëüíîå ïîëîæåíèå
êîðåøêîâ â ñêâàæèíå.
Ìåñòî ñïàéêè
äîëæíî íàõîäèòüñÿ
íà óðîâíå 5 - 6 ñì
âûøå óðîâíÿ ïî÷âû.
Êîãäà âîäà âïèòàåòñÿ
è ïóëüïà çàãóñòååò.
Çåìëþ âîêðóã
ñàæåíöà óïëîòíÿþò.
|
|
3. Óõîä
çà ìîëîäûì âèíîãðàäíèêîì
â ïåðâûé ãîä âåãåòàöèè
|
|
1.
|
×èçåëåâàíèå
ìåæäóðÿäèé, ãà
|
70
|
ÄÒ-75
|
ÏÐÂÍ-3
|
Àïðåëü-ìàé
|
Îáåñïå÷èòü
âûñîêóþ ïðèæèâàåìîñòü
ïóò¸ì óëó÷øåíèÿ
âîçäóøíîãî ðåæèìà
ïî÷âû, ñïîñîáñòâóåò
íàêîïëåíèþ âëàãè.
Ïðîâîäèòñÿ íà
ãëóáèíó 35 ñì.
|
|
2.
|
Êóëüòèâàöèÿ
ïî÷âû â äâóõ íàïðàâëåíèÿõ
ïÿòèêðàòíî. ãà
|
350
|
ÄÒ
- 75
|
ÏÐÂÍ-3
|
 òå÷åíèè
âåãåòàöèè ìàé
- ñåíòÿáðü
|
Îáåñïå÷èòü
ðûõëåíèå ïî÷âû
ñ îäíîâðåìåííîé
ïîäðåçêîé ñîðíÿêîâ.
Ïåðâàÿ êóëüòèâàöèÿ
ïðîâîäèòñÿ íà
ãëóáèíó 12 - 15 ñì.
ïîñëåäóþùèå
ìåëü÷å. Ïîêàçàòåëè
êà÷åñòâà - îòñóòñòâèå
îãðåõîâ, íåïîäðåçàííûõ
ñîðíÿêîâ è îòêëîíåíèå
îò çàäàííîé
ãëóáèíû íå áîëåå
÷åì íà 1 - 2 ñì. âûðîâíåííàÿ
ïîâåðõíîñòü
ïî÷âû, îòñóòñòâèå
ïîâðåæäåíèé âèíîãðàäíûõ
ðàñòåíèé è êîíñòðóêöèè
øïàëåðû.
|
|
3.
|
Ðûõëåíèå
â çàùèòíîé çîíå
êóñòà 3 õ êðàòíî.
ãà
|
210
|
 ðó÷íóþ
|
|
Ìàé
- ñåíòÿáðü
|
Áîðüáà
ñ ñîðíÿêàìè è
îáåñïå÷åíèå
áëàãîïðèÿòíûõ
óñëîâèé ïðîèçðàñòàíèÿ
â çàùèòíîé çîíå
êóñòà.
|
|
4.
|
Êàòàðîâêà,
øò êóñòîâ.
|
136011
|
 ðó÷íóþ
|
|
èþíü
|
Óäàëåíèå
êîðíåé, ðàçâèâøèõñÿ
èç âåðõíèõ óçëîâ
êîðíåøòàìáà,
äëÿ ôîðìèðîâàíèÿ
êîðíåâîé ñèñòåìû
â áîëåå ãëóáîêèõ
ãîðèçîíòàõ ïî÷âû.
Ðàñòåíèå îñòîðîæíî
ðàçîêó÷èâàþò
è âîêðóã øòàìáà
äåëàþò ëóíêó
ãëóáèíîé 20 ñì;
âåðõíèå êîðíè
óäàëÿþò ñåêàòîðîì
ó îñíîâàíèÿ,
íå îñòàâëÿÿ ïåíüêîâ,
çàòåì ðàñòåíèå
ñíîâà îêó÷èâàþò,
îñòàâëÿÿ îòêðûòûì
òîëüêî çåë¸íûé
ïðèðîñò ïîáåãà.
|
|
5.
|
Òðàíñïîðòèðîâêà
âîäû äëÿ âåãåòàöèîííîãî
ïîëèâà, ò.
|
1360
|
ÌÒÇ-80
|
ÀÂÂ-2
|
Èþíü
- èþëü
|
Ïðîèçâîäèòñÿ
èç ðàñ÷¸òà 10 ëèòðîâ
âîäû íà îäèí êóñò.
|
|
6.
|
Ïîëèâ
âèíîãðàäíèêà
ïîä ãèäðîáóð,
3õ êðàòíî, òûñ
øò.
|
408033
|
ÄÒ-75
|
ÃÁ-35
|
Ìàé-èþíü
|
Äëÿ
ëó÷øåé ïðèæèâàåìîñòè
è ðîñòà êóñòîâ.
Ïîëèâíàÿ íîðìà
10 ëèòðîâ âîäû íà
êóñò.
|
|
7.
|
Ïðèãîòîâëåíèå
ðàáî÷åãî ðàñòâîðà
ÿäîõèìèêàòîâ,
ò.
|
140
|
Ò-130
|
ÀÏÆ-12
|
Ìàé
- ñåíòÿáðü
|
Ïðèãîòîâèòü
íåîáõîäèìîå
êîëè÷åñòâî ðàñòâîðà
ÿäîõèìèêàòîâ
äëÿ ñâîåâðåìåííîé
îáðàáîòêè ïðîòèâ
áîëåçíåé è âðåäèòåëåé.
|
|
8.
|
Îïðûñêèâàíèå
ïÿòèêðàòíîå,
ãà
|
350
|
ÌÒÇ-80
|
ÎÏ -
2000
|
Ìàé
- ñåíòÿáðü
|
Çàùèòèòü
âèíîãðàäíîå
ðàñòåíèå îò âðåäèòåëåé
è áîëåçíåé. Êà÷åñòâî
îïðûñêèâàíèå
îöåíèâàåòñÿ
âèçóàëüíî: íà
ñì2 íèæíåé ñòîðîíû
ëèñòà äîëæíî
áûòü íå ìåíåå
30 ìåëêèõ êàïåëü.
|
|
9.
|
Èíâåíòàðèçàöèÿ
|
|
|
|
Àâãóñò-ñåíòÿáðü
|
Ïîäñ÷¸ò
â ðÿäàõ êîëè÷åñòâà
âûïàäîâ, ïðèæèâøèõñÿ,
÷èñëî ïðèìåñåé
ñ öåëüþ äàëüíåéøåãî
ðåìîíòà íàñàæäåíèé.
|
|
10.
|
Óêðûòèå
êóñòîâ íà çèìó,
ãà.
|
70
|
ÄÒ-75
|
ÏÐÂÍ
- 3
|
Íîÿáðü
|
Ïðîâîäèòñÿ
äëÿ çàùèòû ìîëîäûõ
êóñòîâ îò íåáëàãîïðèÿòíûõ
ôàêòîðîâ çèìíåãî
ïåðèîäà. Îêó÷èâàíèå
êóñòîâ áåç óêëàäêè
ïîáåãîâ íà ïîâåðõíîñòü
ïî÷âû. Âûñîòà
çåìëÿíîãî âàëà
25 - 30 ñì.
|
|
4. Óõîä
çà ìîëîäûì óêðûâíûì
âèíîãðàäíèêîì
âòîðîãî è òðåòüåãî
ãîäà âåãåòàöèè
|
|
1.
|
Îòïàøêà
óêðûâíûõ âàëîâ,
ãà
|
70
|
Ò-70Â
|
ÏÐÂÍ
- 3+27000
|
Ìàðò
|
Ïðîâîäèòñÿ
äëÿ äàëüíåéøåãî
íîðìàëüíîãî
ðàçâèòèÿ êóñòà
è óäîáñòâà ïðîâåäåíèÿ
ðàáîò. Ïðè ðàáîòå
ïëóãà â ñâàë ñ
ïåðåìåùåíèåì
÷àñòè ïî÷âû ñ
äâóõ ñîñåäíèõ
ïîëóðÿäîâ â ñåðåäèíó
ìåæäóðÿäüÿ.
|
|
2.
|
Îòêðûòèå
êóñòîâ, ãà
|
70
|
Ò-70Â
|
ÎÂÏ
- 0,45À
|
Ìàðò
- ïåðâàÿ äåêàäà
àïðåëÿ
|
Ïðîâîäèòñÿ
äëÿ äàëüíåéøåãî
íîðìàëüíîãî
ðàçâèòèÿ êóñòà
è óäîáñòâà ïðîâåäåíèÿ
ðàáîò. Ïðè äâèæåíèè
àãðåãàòà ïî ìåæäóðÿäüþ
äèñêè ðûõëÿò
îñòàâøèéñÿ âàëîê
è ïî÷âà âîçäóøíûì
ïîòîêîì âûäóâàåòñÿ
â ìåæäóðÿäüå. Ïîëíûé
òåõíîëîãè÷åñêèé
ïðîöåññ îñóùåñòâëÿåòñÿ
çà òðè ïðîõîäà
àãðåãàòà.
|
|
3.
|
Ðåìîíò
âèíîãðàäíèêîâ,
ãà
|
70
|
ÄÒ
- 75
|
ÃÁ
- 35
|
Àïðåëü
(âåãåòèðóþùèìè
òðåòüÿ äåêàäà
ìàÿ)
|
Ëèêâèäàöèÿ
èçðåæåííîñòè.
Ïîäñàäêà ñàæåíöàìè
â ìåñòàõ âûïàäîâ.
|
|
4.
|
Îáðåçêà
êóñòîâ, òûñ øò.
|
137
|
 ðó÷íóþ
|
|
Ìàðò-àïðåëü
|
Ôîðìèðîâàíèå
ðóêàâîâ è ïëîäîâûõ
çâåíüåâ. Åñëè
íà êóñòå ðàçâèëñÿ
îäèí ïîáåã, åãî
îáðåçàþò íà äâà-òðè
íîðìàëüíî ðàçâèòûõ
ãëàçêà; åñëè äâà-òðè
ïîáåãà (ïðè óñëîâèè
÷òî îíè íå äâîéíèêè)
- îñòàâëÿþò òîëüêî
äâà ðàñïîëîæåííûõ
â ïëîñêîñòè ðÿäà
è êàæäûé èç íèõ
òàêæå îáðåçàþò
íà äâà-òðè ãëàçêà.
|
|
5.
|
Óñòàíîâêà
øïàëåðû, ãà
|
70
|
ÄÒ
- 75
|
ÑÏ
- 2
|
Ìàðò-àïðåëü
|
Ñîçäàòü
áëàãîïðèÿòíûå
óñëîâèÿ äëÿ èñïîëüçîâàíèÿ
ñâåòà è òåïëà
ðàñòåíèÿìè, îáåñïå÷èòü
ïðàâèëüíîå ïîëîæåíèå
è ðàçìåùåíèå
ìíîãîëåòíèõ
è îäíîëåòíèõ
÷àñòåé êóñòà.
Óñòàíàâëèâàåòñÿ
îäíîïëîñêîñòíàÿ
âåðòèêàëüíàÿ
øïàëåðà â 3-4 ÿðóñà.
Ñíà÷àëà óñòàíàâëèâàþò
ÿêîðíûå è ïðîìåæóòî÷íûå
ñòîëáû íà êðàéíèõ
ðÿäàõ, ïî íèì âèçèðóþò
îñòàëüíûå. ßêîðíûå
ñòîëáû óñòàíàâëèâàþò
ïîä óãëîì 60º â ñòîðîíó
äîðîãè. ßêîðü (áóòîâûé
êàìåíü), îïîÿñàííûé
ïðîâîëî÷íîé ïåòë¸é-îòòÿæêîé,
èëè ÿêîðíàÿ ïëàñòèíà
âûâåäåííûå íà
0.5 ì íàä ïîâåðõíîñòüþ
ïî÷âû, óäåðæèâàåò
ñòîëá â íàêëîííîì
ïîëîæåíèè. Ãëóáèíà
óñòàíîâêè ÿêîðíûõ
ñòîëáîâ 70-80 ñì, ïðîìåæóòî÷íûõ
- 50-60 ñì. Äàëåå ïðîâîëîêó
ðàñòÿãèâàþò
ïî ðÿäó òðàêòîðîì.
Ïåðâóþ ïðîâîëîêó
íàòÿãèâàþò íà
âûñîòå 40 - 50 ñì íàä
óðîâíåì ïî÷âû.
Ïîñëåäóþùèå
ðàçìåùàþò ÷åðåç
30 - 50 ñì.
|
|
6.
|
Ñóõàÿ
ïîäâÿçêà êóñòîâ,
òûñ øò.
|
137
|
 ðó÷íóþ
|
|
Àïðåëü
|
Ñâåñòè
ê ìèíèìóìó ïðîÿâëåíèå
ïîëÿðíîñòè ïóò¸ì
ïðèêðåïëåíèÿ
íà øïàëåðå âûçðåâøèõ
ïåðåçèìîâàâøèõ
ðóêàâîâ è ïîáåãîâ.
Ðóêàâà ïîäâÿçûâàþò
íàêëîííî ê ïåðâîìó
ÿðóñó ïðîâîëîêè
øïàëåðû à ïëîäîâûå
ñòðåëêè ãîðèçîíòàëüíî.
Ïîäâÿçêó ïðîâîäÿò
"âîñüì¸ðêîé".
Øïàãàò ñíà÷àëà
îáîðà÷èâàþò
âîêðóã ïðîâîëîêè,
à çà òåì óêðåïëÿþò
èì ëîçó.
|
|
7.
|
Îáëîìêà
çåë¸íûõ ïîáåãîâ
äâóêðàòíî, øò
êóñòîâ.
|
272022
|
 ðó÷íóþ
|
|
Ìàé
|
Ðåãóëèðîâàíèå
îïòèìàëüíîé
íàãðóçêè êóñòîâ
ïëîäîíîñíûìè
ïîáåãàìè. Óäàëÿþò
ñëàáîðàçâèòûå,
äâîéíèêè, ðàçâèâøèåñÿ
íà øòàìáå, ðóêàâàõ.
Ïåðâóþ îáëîìêó
ïðîâîäÿò âñêîðå
ïîñëå ðàñïóñêàíèÿ
ãëàçêîâ, êîãäà
ïîáåãè äîñòèãíóò
äëèíû 5 - 7 ñì. Âòîðóþ
îáëîìêó ïðîâîäÿò
÷åðåç 10 - 12 äíåé, êîãäà
íà ïîáåãàõ óæå
ÿñíî îáîçíà÷åíû
ñîöâåòèÿ.
|
|
8.
|
Ïîäâÿçêà
çåë¸íûõ ïîáåãîâ
2 õ êðàòíî, øò êóñòîâ.
|
272022
|
 ðó÷íóþ
|
|
Ìàé
- èþíü
|
Ñâåñòè
ê ìèíèìóìó ïðîÿâëåíèå
ïîëÿðíîñòè ïóò¸ì
ïðèêðåïëåíèÿ
íà øïàëåðå. Ê ïîäâÿçêå
ïðèñòóïàþò êîãäà
ïîáåãè äîñòèãàþò
äëèíû 35 - 80 ñì è ïåðåðàñòàþò
âòîðóþ ïîâîëîêó
øïàëåðû. Ïðèðîñò
ðàñïðåäåëÿþò
ðàâíîìåðíî ïî
ïëîñêîñòè øïàëåðû
ñ ðàññòîÿíèåì
ìåæäó ïîáåãàìè
3 - 5 ñì. íåëüçÿ ñâÿçûâàòü
ïîáåãè ïó÷êàìè
è îñòàâëÿòü íà
øïàëåðå ïðîñâåòîâ.
Âòîðóþ ïîäâÿçêó
ïðîâîäÿò ÷åðåç
3 - 4 íåäåëè ïîñëå
ïåðâîé, êîãäà
ïîáåãè äîñòèãàþò
75 - 80 ñì äëèíû. Åñëè
ïðîâîëîêè ïîî÷åð¸äíî
ñ äâóõ ñòîðîí
ñòîëáà íàòÿíóòû
÷åðåç 20 - 25 ñì, òî
ïîäâÿçêó çàìåíÿþò
çàâîäêîé ïîáåãîâ
ìåæäó íèìè.
|
|
9.
|
Êóëüòèâàöèÿ
ìåæäóðÿäèé ñ
îáðàáîòêîé ïî÷âû
â ðÿäàõ ïÿòèêðàòíî,
ãà
|
350
|
Ò 70Â
|
ÏÐÂÍ-3+
ÏÐÂÍ-11000
|
Ìàé
- àâãóñò
|
Îáåñïå÷èòü
ðûõëåíèå ïî÷âû
ñ îäíîâðåìåííîé
ïîäðåçêîé ñîðíÿêîâ.
Áîðüáà ñ ñîðíÿêàìè
â ðÿäàõ. Ïåðâàÿ
êóëüòèâàöèÿ
ïðîâîäèòñÿ íà
ãëóáèíó 12 - 15 ñì.
ïîñëåäóþùèå
ìåëü÷å. Ïîêàçàòåëè
êà÷åñòâà - îòñóòñòâèå
îãðåõîâ, íåïîäðåçàííûõ
ñîðíÿêîâ è îòêëîíåíèå
îò çàäàííîé
ãëóáèíû íå áîëåå
÷åì íà 1 - 2 ñì. âûðîâíåííàÿ
ïîâåðõíîñòü
ïî÷âû, îòñóòñòâèå
ïîâðåæäåíèé âèíîãðàäíûõ
ðàñòåíèé è êîíñòðóêöèè
øïàëåðû.
|
|
10.
|
Ðûõëåíèå
ïî÷âû ñ ïðîïîëêîé
â ðÿäàõ 4 õ êðàòíî,
ãà.
|
280
|
 ðó÷íóþ
|
|
Ìàé
- àâãóñò
|
Óëó÷øåíèå
àýðàöèè ïî÷âû,
çàùèòà îò ñîðíÿêîâ,
óëó÷øåíèå ñòðóêòóðû
ïî÷âû.
|
|
11.
|
Êàòàðîâêà
êóñòîâ, øò
|
136011
|
 ðó÷íóþ
|
|
Èþíü
|
Óäàëåíèå
êîðíåé, ðàçâèâøèõñÿ
èç âåðõíèõ óçëîâ
êîðíåøòàìáà,
äëÿ ôîðìèðîâàíèÿ
êîðíåâîé ñèñòåìû
â áîëåå ãëóáîêèõ
ãîðèçîíòàõ ïî÷âû.
Ðàñòåíèå îñòîðîæíî
ðàçîêó÷èâàþò
è âîêðóã øòàìáà
äåëàþò ëóíêó
ãëóáèíîé 20 ñì;
âåðõíèå êîðíè
óäàëÿþò ñåêàòîðîì
ó îñíîâàíèÿ,
íå îñòàâëÿÿ ïåíüêîâ,
çàòåì ðàñòåíèå
ñíîâà îêó÷èâàþò,
îñòàâëÿÿ îòêðûòûì
òîëüêî çåë¸íûé
ïðèðîñò ïîáåãà.
|
|
12.
|
Ïðèãîòîâëåíèå
ðàáî÷åãî ðàñòâîðà
äëÿ ïÿòèêðàòíîãî
îïðûñêèâàíèÿ,
ò.
|
140
|
Ò-130
|
ÀÏÆ-12
|
Ìàé
- ñåíòÿáðü
|
Ïðèãîòîâèòü
íåîáõîäèìîå
êîëè÷åñòâî ðàñòâîðà
ÿäîõèìèêàòîâ
äëÿ ñâîåâðåìåííîé
îáðàáîòêè ïðîòèâ
áîëåçíåé è âðåäèòåëåé.
|
|
13.
|
Îïðûñêèâàíèå
ïÿòèêðàòíîå,
ãà
|
350
|
ÌÒÇ-80
|
ÎÏ -
2000
|
Ìàé
- ñåíòÿáðü
|
Çàùèòèòü
âèíîãðàäíîå
ðàñòåíèå îò âðåäèòåëåé
è áîëåçíåé. Êà÷åñòâî
îïðûñêèâàíèå
îöåíèâàåòñÿ
âèçóàëüíî: íà
ñì2 íèæíåé ñòîðîíû
ëèñòà äîëæíî
áûòü íå ìåíåå
30 ìåëêèõ êàïåëü.
|
|
14.
|
Îáðåçêà
êóñòîâ, òûñ øò.
|
137
|
 ðó÷íóþ
|
|
Îêòÿáðü
èëè ìàðò
|
Ôîðìèðîâàíèå
ðóêàâîâ è ïëîäîâûõ
çâåíüåâ. Åñëè
íà êóñòàõ ðàçâèëîñü
÷åòûðå íîðìàëüíûõ
ïîáåãà, èõ îáðåçàþò
íà ïÿòü-øåñòü
ãëàçêîâ.
|
|
15.
|
Ñáîð
îáðåçêîâ ëîçû.
|
|
Ò 70Â
|
ÑÂ-1
|
Îêòÿáðü
èëè ìàðò
|
Óäàëåíèå
ëîçû èç ìåæäóðÿäèé.
Óäàë¸ííóþ ïðè
îáðåçêå ëîçó
ñãðåáàþò èç ìåæäóðÿäèé
íà ìåæêëåòî÷íóþ
äîðîãó. Èç ìåæêëåòî÷íûõ
äîðîã ëîçó òðàíñïîðòèðóþò
çà ïðåäåëû ìàññèâà.
|
|
16.
|
Óêðûòèå
êóñòîâ íà çèìó,
ãà.
|
70
|
ÄÒ-75
|
ÏÐÂÌ
- 3
|
Íîÿáðü
|
Ïðîâîäèòñÿ
äëÿ çàùèòû ìîëîäûõ
êóñòîâ îò íåáëàãîïðèÿòíûõ
ôàêòîðîâ çèìíåãî
ïåðèîäà. Îêó÷èâàíèå
êóñòîâ áåç óêëàäêè
ïîáåãîâ íà ïîâåðõíîñòü
ïî÷âû. Âûñîòà
çåìëÿíîãî âàëà
25 - 30 ñì.
|
|
17.
|
×èçåëåâàíèå
ìåæäóðÿäèé, ãà
|
70
|
ÄÒ-75
|
ÏÐÂÌ-3+
ÏÐÂÍ 3000
|
Íîÿáðü
|
Îáåñïå÷èòü
âûñîêóþ ïðèæèâàåìîñòü
ïóò¸ì óëó÷øåíèÿ
âîçäóøíîãî ðåæèìà
ïî÷âû, ñïîñîáñòâóåò
íàêîïëåíèþ âëàãè.
Ïðîâîäèòñÿ íà
ãëóáèíó 35 ñì.
|
. Îáîñíîâàíèå
âûáîðà ôîðì êóñòîâ,
òåõíèêà èõ âûâåäåíèÿ
è ðàñ÷åò íàãðóçêè
ïðè îáðåçêå
 âèíîãðàäàðñòâå
èçâåñòíî ìíîãî
òèïîâ ôîðìèðîâîê:
ãîëîâ÷àòàÿ, ÷àøåâèäíàÿ,
âååðíàÿ è ò.ä. Äëÿ
íàøåãî ïðîåêòà
ìû âûáåðåì îäíîñòîðîííþþ
ïîëóâååðíóþ ôîðìèðîâêó.
 çîíå óêðûâíîãî
âèíîãðàäàðñòâà
îíà ïîëó÷èëà
øèðîêîå ðàñïðîñòðàíåíèå,
òàê êàê ïîçâîëÿåò
ìåõàíèçèðîâàòü
óêðûòèå è îòêðûòèå
êóñòîâ, ïðèìåíÿòü
ïðèñïîñîáëåíèå
ÏÐÂÍ-72 000 äëÿ ìåæêóñòîâîé
îáðàáîòêè, ñíèæàåò
ìåõàíè÷åñêèå
ïîâðåæäåíèÿ ðàñòåíèé.
Îáùàÿ ýêîíîìèÿ
çàòðàò ïðè ýòîé
ôîðìèðîâêå ñîñòàâëÿåò
22 - 26 ÷åë. - äí. íà 1ãà.
Óðîæàéíîñòü
ïî ñðàâíåíèþ
ñ ìíîãîðóêàâíîé
âååðíîé ïîâûøàåòñÿ
íà 10-30 %.
Îäíîñòîðîííÿÿ
ïîëóâååðíàÿ ôîðìèðîâêà
èìååò òðè - ÷åòûðå
ðóêàâà ðàçíîé
äëèíû (60 - 140 ñì, êàæäûé
êîðî÷å ïðåäûäóùåãî
íà 10 - 15 ñì) íàïðàâëåííûõ
â îäíó ñòîðîíó.
Ñàìûé äëèííûé
ðóêàâ (äîõîäÿùèé
äî ñëåäóþùåãî
êóñòà) - íèæíèé,
ñàìûé êîðîòêèé
- âåðõíèé. Íà ñëó÷àé
ïîëîìêè ðóêàâîâ
ïðè îòêðûòèè êóñòîâ
îñòàâëÿåòñÿ
äâà ñó÷êà âîññòàíîâëåíèÿ.
Ðóêàâà ïîäâÿçûâàþò
ïîä óãëîì 45º ê íèæíåé ïðîâîëîêå,
îäíîëåòíèå ïîáåãè
- ãîðèçîíòàëüíî,
à çåë¸íûå - êî âòîðîé
ïðîâîëîêå íàêëîííî
â íàïðàâëåíèè
ðóêàâîâ. Äëÿ ÷¸òêîé
ðàáîòû òðàêòîðà
ñ ëîçîóêëàä÷èêîì
â äâóõ íàïðàâëåíèÿõ
âèíîãðàäíèê
ðàçáèâàþò íà
çàãîíêè ïî ñõåìå
- 6: 112: 12, ò.å. íà øåñòè
ðÿäàõ êóñòû èìåþò
íàêëîí ðóêàâîâ
â îäíó ñòîðîíó,
à íà ñëåäóþùèõ
12 ðÿäàõ â îáðàòíóþ,
è òàê äàëåå, ÷åðåäóÿ
ðÿäû ïî ñõåìå.
Äëÿ îáëåã÷åíèÿ
ðàáîòû ðàáî÷èõ
ïðè îáðåçêå è òðàêòîðèñòà
ïðè óêðûòèè êóñòîâ
íàïðàâëåíèå ðóêàâîâ
îáîçíà÷àþò êðàñêîé
íà âåðõíåé ÷àñòè
ÿêîðíûõ ñòîëáîâ.
 ïåðâûé ãîä
âûðàùèâàþò äâà
ïîáåãà (äëÿ áóäóùèõ
ðóêàâîâ) â íóæíîì
íàïðàâëåíèè.
Èì ñðàçó ïðèäàþò
íàêëîííîå ïîëîæåíèå,
ïîäâÿçûâàÿ ê íèæíåé
ïðîâîëîêå, êîòîðóþ
íàòÿãèâàþò âðåìåííî
íà âûñîòå 35 ñì.
Âåñíîé âòîðîãî
ãîäà ïîñëå îòêðûòèÿ
êóñòîâ ïðèñòóïàþò
ê îáðåçêå. Ïëîäîâûå
ïîáåãè îáðåçàþò
íà äëèíó ðóêàâà
è ïîäâÿçûâàþò
ê íèæíåé ïðîâîëîêå
â îäíó ñòîðîíó.
Ïðè îáëîìêå íà
êàæäîì ðóêàâå
îñòàâëÿþò ïî
òðè - ÷åòûðå ïîáåãà,
íàãðóçêà íà êóñò
- øåñòü-âîñåìü.
Åñëè íà êóñòàõ
ðàçâèëñÿ òîëüêî
îäèí ïîáåã, òî
ïðè îáëîìêå îñòàâëÿþò
è âîë÷êîâûå äëÿ
íåäîñòàþùèõ
ðóêàâîâ. Óäàëÿþò
â îñíîâíîì ïîáåãè,
ðàñïîëîæåííûå
ó îñíîâàíèÿ ñòðåëêè.
Âåñíîé òðåòüåãî
ãîäà âåãåòàöèè
íà êîíöàõ ðàíåå
ñôîðìèðîâàííûõ
ðóêàâîâ ñîçäàþò
ïëîäîâûå çâåíüÿ.
Ñó÷îê çàìåùåíèÿ
â ýòîé ôîðìèðîâêå
îñòàâëÿþò íà
êîíöå ðóêàâà,
íî íèæå ïëîäîâûõ
ëîç. Èç ïîðîñëåâûõ
èëè âîë÷êîâûõ
ïîáåãîâ ôîðìèðóþò
íåäîñòàþùèå.
Ïëîäîâûå çâåíüÿ
íà íèõ ìîæíî
ñîçäàâàòü èç
ïàñûíêîâ äèàìåòðîì
5 - 8 ìì.
 äàëüíåéøåì
îáðåçêó ñôîðìèðîâàííûõ
êóñòîâ ñâîäÿò
ê ñâîåâðåìåííîé
çàìåíå óäëèíèâøèõñÿ,
íåïðîäóêòèâíûõ
ðóêàâîâ è ñîçäàíèþ
ïëîäîâûõ çâåíüåâ
èç ñó÷êîâ çàìåùåíèÿ.
Ðèñ. 3. Âûâåäåíèå
îäíîñòîðîííåé
ïîëóâååðíîé ôîðìèðîâêè:
- ñàæåíåö â
ãîä ïîñàäêè; 2 - âåñíà
âòîðîãî ãîäà;
3 - âåñíà òðåòüåãî
ãîäà (ïåðâàÿ ïðîâîëîêà
íàòÿíóòà íà
âûñîòå 60 ñì); 4 - âåñíà
÷åòâ¸ðòîãî ãîäà:
à - êóñò äî îáðåçêè;
á - êóñò ïîñëå
îáðåçêè.
Íàãðóçêà ïðè
îáðåçêå ðàññ÷èòûâàåòñÿ
ïî ôîðìóëå:
Ó=Q: (NKP· [1-0,01 (A+B)])
[1-0,01 (A+B)] = 0,8
Òàáëèöà 7
|
Ñîðò
|
Ïëàíèðóåìàÿ
óðîæàéíîñòü,
ö/ãà
|
Êîëè÷åñòâî
ãëàçêîâ, øò
|
Ïëîäîâûõ
ñòðåëîê íà êóñòå
|
Ñó÷êîâ
íà êóñòå
|
|
|
Íà
êóñò
|
Íà
1 ãà
|
Êîë-âî
|
Äëèíà
ãëàçêîâ
|
Êîë-âî
|
Äëèíà
ãëàçêîâ
|
|
Âîñòîðã
|
130
|
32
|
53344
|
4
|
5
|
5
|
2
|
|
Íåïòóí
|
70
|
10
|
16670
|
4
|
2
|
5
|
1
|
|
Íàäåæäà
ÀÇÎÑ
|
140
|
13
|
21671
|
4
|
2
|
5
|
1
|
|
Îñåííèé
÷¸ðíûé
|
90
|
12
|
20004
|
4
|
4
|
5
|
2
|
|
Ðóñìîë
|
120
|
23
|
38341
|
4
|
4
|
5
|
2
|
|
Ãå÷åè
çàìàòîø
|
120
|
45
|
75015
|
5
|
7
|
6
|
2
|
|
Ñàïåðàâè
ñåâåðíûé
|
145
|
39
|
65013
|
5
|
5
|
6
|
2
|
|
Öâåòî÷íûé
|
80
|
43
|
71681
|
5
|
7
|
6
|
2
|
|
Ãðàíàòîâûé
|
140
|
52
|
86684
|
5
|
8
|
6
|
2
|
8. Îáîñíîâàíèå
âûáîðà ñèñòåìû
âåäåíèÿ êóñòîâ,
ðàñ÷¸ò ìàòåðèàëîâ
íà óñòðîéñòâî
øïàëåðû
Âèíîãðàäíûå
êóñòû êóëüòèâèðóþò
íà îïîðàõ, ãëàâíîå
íàçíà÷åíèå êîòîðûõ
- ñîçäàíèå áëàãîïðèÿòíûõ
óñëîâèé äëÿ èñïîëüçîâàíèÿ
ñâåòà è òåïëà
ðàñòåíèÿìè, ïðàâèëüíîå
ïîëîæåíèå è ðàçìåùåíèå
ìíîãîëåòíèõ
è îäíîëåòíèõ
÷àñòåé êóñòà,
åãî âåãåòàòèâíûõ
è ãåíåðàòèâíûõ
îðãàíîâ. Îïîðû
ñîõðàíÿþò ôîðìèðîâêó,
îáëåã÷àþò ïðîâåäåíèå
àãðîïðè¸ìîâ ïî
óõîäó çà êóñòàìè,
ïðåäîõðàíÿþò
ïîáåãè îò ìåõàíè÷åñêèõ
ïîâðåæäåíèé, ïîðàæåíèé
áîëåçíÿìè è âðåäèòåëÿìè.
Ëó÷øèì âèäîì
îïîðû äëÿ âèíîãðàäíèêîâ
ÿâëÿåòñÿ øïàëåðà.
Äëÿ å¸ óñòàíîâêè
íåîáõîäèìû ñòîëáû
è ïðîâîëîêà. Ñóùåñòâóåò
íåñêîëüêî øïàëåðíûõ
ñèñòåì, â íàøåì
ñëó÷àå ìû áóäåì
èñïîëüçîâàòü
íàèáîëåå ðàñïðîñòðàí¸ííóþ
âåðòèêàëüíóþ
îäíîïëîñêîñòíóþ,
òàê êàê îíà îáåñïå÷èâàåò
áëàãîïðèÿòíûå
óñëîâèÿ ïðîèçðàñòàíèÿ
êóñòîâ, â òîæå
âðåìÿ ïðîñòà â
óñòàíîâêå è ñîäåðæàíèè.
Îäíîïëîñêîñòíàÿ
âåðòèêàëüíàÿ
øïàëåðà âêëþ÷àåò
â ñåáÿ êðàåâûå
èëè ÿêîðíûå ñòîëáû,
ïðîìåæóòî÷íûå
ñòîëáû, øïàëåðíóþ
ïðîâîëîêó, íàòÿíóòóþ
â íåñêîëüêî ÿðóñîâ,
ñêîáû èëè õîìóòèêè
äëÿ êðåïëåíèÿ
ïðîâîëîêè. Ñòîëáû
ìîãóò áûòü äåðåâÿííûå,
æåëåçîáåòîííûå
è æåëåçíûå. Âñå
îíè èìåþò ñâîè
äîñòîèíñòâà
è íåäîñòàòêè.
Äëÿ íàøåãî ïðîåêòà
ìû áóäåì èñïîëüçîâàòü
æåëåçîáåòîííûå
ñòîëáû, òàê êàê
îíè èìåþ âûñîêóþ
ìåõàíè÷åñêóþ
ïðî÷íîñòü, óñòîé÷èâîñòü
ê íåáëàãîïðèÿòíûì
óñëîâèÿì ñðåäû,
äîëãîâå÷íîñòü
(ïî ñðàâíåíèþ
ñ äåðåâÿííûìè)
è çàòðàòû íà èõ
ïðèîáðåòåíèå
áóäóò ìåíüøèìè,
÷åì åñëè áû ìû
óñòàíàâëèâàëè
æåëåçíûå ñòîëáû.
Äëÿ øïàëåðû ïðèìåíÿþò
ñòàëüíóþ îöèíêîâàííóþ
ïðîâîëîêó äèàìåòðîì
2.2 - 2,4 ìì. Âñÿ íàãðóçêà
ëåæèò íà êðàåâûõ
ÿêîðíûõ ñòîëáàõ.
 ñâÿçè ñ ýòèì,
äëÿ óñòîé÷èâîñòè
èõ îò îòêëîíåíèé
ïðè íàãðóçêå
óñòàíàâëèâàþòñÿ
ÿêîðÿ. Â íàøåì
ïðîåêòå â êà÷åñòâå
åãî ìû áóäåì èñïîëüçîâàòü
áóòîâûé êàìåíü
ñ ÿêîðíîé îòòÿæêîé.
Ñíà÷àëà óñòàíàâëèâàþò
ÿêîðíûå è ïðîìåæóòî÷íûå
ñòîëáû íà êðàéíèõ
ðÿäàõ, ïî íèì âèçèðóþò
îñòàëüíûå. ßêîðíûå
ñòîëáû óñòàíàâëèâàþò
ïîä óãëîì 60º â ñòîðîíó äîðîãè.
Ðàññòîÿíèå ìåæäó
ÿêîðíûìè ñòîëáàìè
100 ì, ìåæäó ïðîìåæóòî÷íûìè
5-7 ì. ßêîðíàÿ îòòÿæêà
èçãîòàâëèâàåòñÿ
èç ïðîâîëîêè 3
ìì, êîòîðàÿ êðåïèòñÿ
ê ïåòëå âûâåäåííîé
îò êàìíÿ. Ðàññòîÿíèå
ìåæäó ñòîëáîì
è êðåïëåíèåì ÿêîðíîé
îòòÿæêè îò 0,8 äî
1 ì. Ãëóáèíà çàäåëêè
êàìíÿ 50 - 60 ñì. êðåïèòñÿ
ÿêîðíàÿ îòòÿæêà
ê ñòîëáó íà ðàññòîÿíèè
20 - 25 ñì îò âåðõóøêè
ñòîëáà. Ãëóáèíà
óñòàíîâêè ÿêîðíûõ
ñòîëáîâ - 70 - 80 ñì.
ïðîìåæóòî÷íûõ
50 - 60 ñì. Ìåæäó îïîðàìè,
óñòàíîâëåííûìè
âäîëü ðÿäà, íàòÿãèâàþò
øïàëåðíóþ ïðîâîëîêó,
êîòîðóþ êðåïÿò
íåïîäâèæíî ê
ÿêîðíûì ñòîëáàì,
à ê ïðîìåæóòî÷íûì
- ïîäâèæíî âäîëü
ïðîäîëüíîé îñè
õîìóòèêàìè,
ñäåëàííûìè èç
ïðîâîëîêè èëè
èç ëåíòî÷íûõ
æåëåçíûõ ïëàñòèí.
 óêðûâíîé çîíå,
ãäå âèíîãðàä
ôîðìèðóþò ïî òèïó
áåñøòàìáîâîãî
îäíîñòîðîííåãî
âååðà èëè ìíîãîðóêàâíîé
âååðíîé ôîðìèðîâêè
ïåðâóþ ïðîâîëîêó
íàòÿãèâàþò íà
âûñîòå 40 - 50 ñì íàä
óðîâíåì ïî÷âû.
Ïîñëåäóþùèå ïðîâîëîêè
ðàçìåùàþò ÷åðåç
30 - 50 ñì. Íàòÿæêó ïðîâîëîê
ïðîâîäÿò ñïåöèàëüíûìè
ðó÷íûìè ëåá¸äêàìè
è âñåãäà íà÷èíàþò
ñ âåðõíåé ïðîâîëîêè.
Ðèñ. 4. Ñõåìà
òð¸õïðîâîëî÷íîé
âåðòèêàëüíîé
øïàëåðû: 1 - ÿêîðü;
2 - ïðîâîëîêè øïàëåðû;
3 - ÿêîðíûé (êîíöåâîé)
ñòîëá; 4 - ïðîìåæóòî÷íûé
ñòîëá, 5 - õîìóò.
Òàáëèöà 8
Ðàñõîä íåîáõîäèìûõ
ìàòåðèàëîâ íà
óñòðîéñòâî òð¸õïðîâîëî÷íîé
âåðòèêàëüíîé
øïàëåðû.
|
¹
|
Ïîêàçàòåëè
è ìàòåðèàëû
|
Ðàñõîä
ìàòåðèàëîâ
|
|
|
Íà
1 ãà
|
Íà
âñþ ïëîùàäü
|
Ïðèìå÷àíèÿ
|
|
1.
|
×èñëî
ðÿäîâ øïàëåðû
|
33
|
2310
|
Øèðèíà
ìåæäóðÿäèé 3ì.
|
|
2.
|
ßêîðíûå
ñòîëáû, øò.
|
66
|
4620
|
Ñòîëáû
æåëåçîáåòîííûå
|
|
3.
|
Ïðîìåæóòî÷íûå
ñòîëáû, øò.
|
693
|
48510
|
Ðàññòîÿíèå
ìåæäó ñòîëáàìè
5 - 6 ì. Ñòîëáû æåëåçîáåòîííûå.
|
|
4.
|
ßêîðÿ,
øò.
|
70
|
4900
|
Áóòîâûé
êàìåíü
|
|
5.
|
Øïàëåðíàÿ
ïðîâîëîêà ì., ò.
|
17325 0,6
|
1212750 42
|
Äèàìåòð
2,5 ìì.
|
|
6.
|
Ïðîâîëîêà
äëÿ ÿêîðÿ, ò
|
0,4
|
28
|
Äèàìåòð
3 ìì.
|
|
7.
|
Õîìóòèêè,
øò.
|
174
|
12180
|
Èç
ïðîâîëîêè èëè
ëåíòî÷íûå æåëåçíûå
ïëàñòèíêè.
|
9. Àãðîòåõíè÷åñêèé
ïëàí ïî óõîäó
çà ýêñïëóàòàöèîííûì
âèíîãðàäíèêîì
|
¹
|
Íàèìåíîâàíèå
ðàáîò, åä èçì
|
Îáú¸ì
ðàáîò
|
Ñîñòàâ
àãðåãàòà
|
Êàëåíäàðíûå
ñðîêè âûïîëíåíèÿ
ðàáîò
|
Öåëü
ðàáîòû è òåõíîëîãèÿ
âûïîëíåíèÿ
|
|
|
|
Ìàðêà
òðàêòîðà
|
Ìàðêà
ñ. - õ ìàøèíû
|
|
|
|
1. Óõîä
çà êóñòîì
|
|
1.
|
Îòïàøêà
çåìëÿíîãî âàëà
2 õ êðàòíî, ãà.
|
140
|
Ò - 70 Â
|
ÏÐÂÍ-3
+27000
|
Ìàðò
- àïðåëü
|
Îòïàøêà
ïî÷âû è ïåðåìåùåíèå
å¸ èç ðÿäà â ìåæäóðÿäüå.1
é ïðîõîä - óäàëÿåòñÿ
ïî÷âà äî 60 %, 2 é ïðîõîä
äî 80%.
|
|
2.
|
Îòêðûòèå
êóñòîâ 2 õ êðàòíî.
|
140
|
Ò-70
|
ÎÂÏ-45
|
Ìàðò
- àïðåëü
|
Óäàëåíèå
ïî÷âû âîçäóøíûì
ïîòîêîì èç ðÿäà,
îñòàâøåéñÿ ïîñëå
îòïàøêè ïëóãîì.
Íå äîïóñêàòü
ïîâðåæäåíèé êóñòîâ.
|
|
3.
|
Ïîäâÿçêà
êóñòîâ, ñóõàÿ,
òûñ. øò.
|
137
|
 ðó÷íóþ
|
|
Ìàðò
- àïðåëü
|
Ñâåñòè
ê ìèíèìóìó ïðîÿâëåíèå
ïîëÿðíîñòè. Ðóêàâà
íàïðàâëåííûå
â íóæíóþ ñòîðîíó
ïîäâÿçûâàþò
ê ïåðâîé ïðîâîëîêå
øïàëåðû.
|
|
4.
|
Îáëîìêà
çåë¸íûõ ïîáåãîâ
ïåðâàÿ, òûñ øò
|
137
|
 ðó÷íóþ
|
|
Ìàé
|
Íåîáõîäèìî
âûïîëíÿòü íàäàâëèâàÿ
áîëüøèì ïàëüöåì
ðóêè íà îñíîâàíèå
óäàëÿåìîãî ïîáåãà.
Îáëàìûâàÿ ïîáåãè
íà ðóêàâàõ, ãîëîâå
êóñòà çà èñêëþ÷åíèåì
íåîáõîäèìûõ
äëÿ çàìåíû èëè
âîññòàíîâëåíèÿ
ðóêàâîâ, ìíîãîëåòíèõ
ðàçâåòâëåíèé.
Íà ñó÷êàõ çàìåùåíèÿ
óäàëÿþò ïîáåãè-äâîéíèêè.
|
|
5.
|
Îáëîìêà
çåë¸íûõ ïîáåãîâ
âòîðàÿ, òûñ øò
|
137
|
 ðó÷íóþ
|
|
Âòîðàÿ
äåêàäà ìàÿ
|
Âûïîëíÿåòñÿ
íà ïåðåãðóæåííûõ
êóñòàõ, óäàëÿåòñÿ
÷àñòü ïîáåãîâ
íà ïëîäîâûõ ñòðåëêàõ.
 ïåðâóþ î÷åðåäü
ïîáåãè-äâîéíèêè,
ñëàáî ïëîäîíîñíûå,
áåñïëîäíûå ñ
äîâåäåíèåì íàãðóçêè
ïîáåãàìè äî îïòèìàëüíîé.
|
|
6.
|
Ïîäâÿçêà
çåë¸íûõ ïîáåãîâ
2 õ êðàòíî, øò.
|
272022
|
 ðó÷íóþ
|
|
Âòîðàÿ
- òðåòüÿ äåêàäà
ìàÿ.
|
Ðàâíîìåðíîå
ðàñïðåäåëåíèå
çåë¸íûõ ïîáåãîâ
â ïëîñêîñòè øïàëåðû
âåðòèêàëüíî
èëè íàêëîííî
(45º) íå
áîëåå äâóõ âìåñòå,
"âîñüì¸ðêîé".
Âûïîëíÿåòñÿ ïî
ìåðå äîñòèæåíèÿ
ïîáåãàìè î÷åðåäíûõ
ÿðóñîâ øïàëåðû.
Íå ðåêîìåíäóåòñÿ
ïîäâÿçûâàòü çà
âåðõóøêè ïîáåãîâ.
|
|
7.
|
Êàòàðîâêà
øò. êóñòîâ.
|
136011
|
 ðó÷íóþ
|
|
Èþíü
|
Óäàëåíèå
êîðíåé, ðàçâèâøèõñÿ
èç âåðõíèõ óçëîâ
êîðíåøòàìáà,
äëÿ ôîðìèðîâàíèÿ
êîðíåâîé ñèñòåìû
â áîëåå ãëóáîêèõ
ãîðèçîíòàõ ïî÷âû.
Ðàñêðûâàþò ïîäçåìíûé
øòàìá íà ãëóáèíó
äî 15 ñì, ñåêàòîðîì
óäàëÿþò ïîâåðõíîñòíûå
êîðíè è ïîäâîéíóþ
ïîðîñëü, ïîñëå
÷åãî ÿìó çàêðûâàþò.
|
|
8.
|
×åêàíêà,
øò êóñòîâ.
|
136011
|
Ò-70 Â
|
×ÂË-3
|
Âòîðàÿ
äåêàäà èþëÿ - ïåðâàÿ
äåêàäà àâãóñòà
|
Ïðîâîäèòñÿ
ñ öåëüþ ïîâûøåíèÿ
óðîæàéíîñòè,
óëó÷øåíèÿ êà÷åñòâà
è ëó÷øåãî âûçðåâàíèÿ
ëîçû. Ñòðèæêà
ïîáåãîâ âûøå
âåðõíåé ïðîâîëîêè
è ñ áîêîâûõ ñòîðîí
(óäàëÿþò âåðõóøêè
ïîáåãîâ íà äëèíó
30-60 ñì) êîëè÷åñòâî
ïîâðåæäåííûõ
îñíîâíûõ ïîáåãîâ
(ïðîäîëüíûõ è ïîïåðå÷íûõ,
òðåùèí) íå äîëæíî
ïðåâûøàòü 10 %. Ïîâðåæäåíèå
ãðîçäåé íà îñíîâíûõ
ïîáåãàõ íå äîïóñêàåòñÿ.
|
|
9
|
Ðûõëåíèå
ïî÷âû â ðÿäàõ,
ãà.
|
70
|
 ðó÷íóþ
|
|
Ìàé
- èþíü
|
Ñ öåëüþ
óíè÷òîæåíèÿ
ïî÷âåííîé êîðêè
è ñîðíÿêîâ.
|
|
2. Îáðàáîòêà
ïî÷âû.
|
|
1.
|
×èçåëåâàíèå
ìåæäóðÿäèé ñ
îáðàáîòêîé ïî÷âû
â ðÿäàõ, ãà.
|
70
|
ÄÒ-75
|
ÏÐÂÌ-3
+ÏÐÂÍ 11000
|
Àïðåëü
|
Ðàçðûõëèòü
óïëîòíèâøèéñÿ
ñëîé ïî÷âû íà
ãëóáèíó 20-30 ñì.
óëó÷øàåò âîçäóøíûé
ðåæèì ïî÷âû, ñïîñîáñòâóåò
íàêîïëåíèþ â
íåé âëàãè, óìåíüøàåò
ýðîçèîííûå ïðîöåññû.
|
|
2.
|
Êóëüòèâàöèÿ
ïî÷âû ñ îáðàáîòêîé
â ðÿäàõ ïÿòèêðàòíî,
ãà.
|
350
|
Ò-70
|
ÏÐÂÌ
- 3 +ÏÐÂÍ 11000
|
Ìàé
|
Ðûõëåíèå
ïî÷âû è óíè÷òîæåíèå
ñîðíÿêîâ. Ãëóáèíà
ïåðâîé êóëüòèâàöèè
12 ñì, ïîñëåäóþùèå
óìåíüøàþòñÿ
äî 6 ñì. íå äîëæíî
áûòü ñîðíÿêîâ,
ïîâðåæäåíèé êóñòîâ
è øïàëåðû. Îòêëîíåíèå
îò çàäàííîé
ãëóáèíû íå áîëåå
÷åì íà 1 - 2 ñì, ïîâåðõíîñòü
îáðàáîòàííîé
ïî÷âû äîëæíà
áûòü âûðîâíåííîé.
|
|
3.
|
Îáíîâëåíèå
ïëàíòàæà ñ âíåñåíèåì
îðãàíè÷åñêèõ
óäîáðåíèé, (50 % ïëîùàäè)
ãà.
|
35
|
ÄÒ-75
|
ÏÐÂÌ-3+
ÏÐÂÍ 11000
|
Ñåíòÿáðü-îêòÿáðü
|
Ãëóáîêîå
ðûõëåíèå, ãëóáèíà
ùåëè ïî öåíòðó
ìåæäóðÿäüÿ 55 ñì,
ïî ñëåäó ãóñåíèöû
òðàêòîðà äî 35 ñì,
÷åðåç ìåæäóðÿäüå.
|
|
4.
|
Óêðûòèå
êóñòîâ, ãà.
|
70
|
ÄÒ-75
|
ÏÐÂÌ-3
+ ÏÐÂÍ 13000
|
Íîÿáðü
|
Çàùèòà
êóñòîâ îò ïîâðåæäåíèåì
ìîðîçàìè. Àãðåãàò
äâèæåòñÿ ïî ðÿäàì
ñ ïîî÷åð¸äíûì
íàêëîíîì êóñòîâ
ïî ñõåìå - 6: 112: 12, ò.å.
íà øåñòè ðÿäàõ
êóñòû èìåþò
íàêëîí ðóêàâîâ
â îäíó ñòîðîíó,
à íà ñëåäóþùèõ
12 ðÿäàõ â îáðàòíóþ,
è òàê äàëåå.
|
|
3. Ðåìîíò
øïàëåðû
|
|
1.
|
Çàìåíà
ïîâðåæä¸ííûõ
ñòîëáîâ ñ íàòÿæêîé
ïðîâîëîêè, ãà.
|
70
|
Ò-70Â
|
ÑÏ-2
|
Ìàðò-àïðåëü
|
Âîññòàíîâëåíèå
ïîâðåæä¸ííûõ
íåèñïðàâíûõ
ýëåìåíòîâ øïàëåðíûõ
îïîð. Íàòÿæêó
ïðîâîëîêè íà÷èíàþò
ñ âåðõíåãî ÿðóñà.
|
|
2.
|
Ïîãðóçêà
øïàëåðíûõ ñòîëáîâ
è äðóãèõ ìàòåðèàëîâ
ñ ïîñëåäóþùåé
òðàíñïîðòèðîâêîé
|
|
ÌÒÇ-80
|
2ÏÒÑ-4
|
Ìàðò-àïðåëü
|
Äîñòàâèòü
íåîáõîäèìûå
ìàòåðèàëû äëÿ
ðåìîíòà øïàëåðû.
|
|
4. Áîðüáà
ñ âðåäèòåëÿìè
è áîëåçíÿìè
|
|
1.
|
Îïðûñêèâàíèå
ïðîòèâ ìèëäüþ,
àíòðàêíîçà, ÷¸ðíîé
ïÿòíèñòîñòè
äî 5-8 ðàç, ãà.
|
70
|
ÌÒÇ-80
|
ÎÏ-2000
|
Ìàé-àâãóñò
|
Çàùèòèòü
âèíîãðàäíîå
ðàñòåíèå îò áîëåçíåé.
Êà÷åñòâî îïðûñêèâàíèå
îöåíèâàåòñÿ
âèçóàëüíî: íà
ñì2 íèæíåé ñòîðîíû
ëèñòà äîëæíî
áûòü íå ìåíåå
30 ìåëêèõ êàïåëü.
|
|
2.
|
Ïðèãîòîâëåíèå
ðàáî÷åãî ðàñòâîðà,
ò
|
56
|
ÌÒÇ-80
|
ÑÇÑ-10
|
Ìàé-àâãóñò
|
Äîëæíà
áûòü îáåñïå÷åíà
âûñîêàÿ ðàâíîìåðíîñòü
âîäíûõ è ìàñëÿíûõ
ðàñòâîðîâ, ñóñïåíçèé
è ýìóëüñèé ñ
êîíöåíòðàöèåé
äî 10 % è áîðäîññêîé
æèäêîñòè äî 4
%. Ïðèãîòîâëåííàÿ
ðàáî÷àÿ æèäêîñòü
äîëæíà áûòü ðàâíîìåðíîé
ïî êîíöåíòðàöèè,
íå ðàâíîìåðíîñòü
íå äîëæíà ïðåâûøàòü
+-5%.
|
|
3.
|
Òðàíñïîðòèðîâêà
ðàáî÷åãî ðàñòâîðà,
çàïðàâêà îïðûñêèâàòåëÿ,
ò.
|
56
|
ÌÒÇ-80
|
ÐÆÒ-4
|
Ìàé-àâãóñò
|
|
|
4.
|
Îïðûñêèâàíèå
ïðîòèâ ãðîçäåâîé
ëèñòîâ¸ðòêè,
ãà.
|
70
|
ÌÒÇ-80
|
ÎÏ-2000
|
Ìàé
àâãóñò
|
Çàùèòèòü
âèíîãðàäíîå
ðàñòåíèå. Ïðèìåíÿþòñÿ
ôîñôîðíî-îðãàíè÷åñêèå
ïðåïàðàòû. Êà÷åñòâî
îïðûñêèâàíèå
îöåíèâàåòñÿ
âèçóàëüíî: íà
ñì2 íèæíåé ñòîðîíû
ëèñòà äîëæíî
áûòü íå ìåíåå
30 ìåëêèõ êàïåëü.
|
|
5. Óäîáðåíèå
âèíîãðàäíèêà
|
|
1.
|
Ñìåøèâàíèå
è ïîãðóçêà ìèíåðàëüíûõ
óäîáðåíèé, ò.
|
35
|
ÌÒÇ-80
|
ÑÇÓ-20
|
Âåñíà
|
Ñìåøèâàåìûå
óäîáðåíèÿ íå
äîëæíû èìåòü
ïîâûøåííóþ âëàæíîñòü,
ñîäåðæàòü êîìêîâ.
Ñëåæàâøèåñÿ
óäîáðåíèÿ èçìåëü÷àþò.
Äëÿ ñìåøèâàíèÿ
ìåæäó ñîáîé ïðèãîäíû
òîëüêî óäîáðåíèÿ
ñ áëèçêèìè ôèçèêî-ìåõàíè÷åñêèìè
ñâîéñòâàìè
è ðàçìåðîì. Äëÿ
ïîëó÷åíèÿ âûñîêîêà÷åñòâåííûõ
ñìåñåé ñìåñèòåëüíóþ
óñòàíîâêó òùàòåëüíî
ðåãóëèðóþò íà
íåîáõîäèìîå
ñîîòíîøåíèå
êîìïîíåíòîâ
òóêîñìåñè ñ
îòêëîíåíèåì
îò çàäàííîãî
íå áîëåå ÷åì íà
10 %.
|
|
2.
|
Òðàíñïîðòèðîâêà
ê ìåñòó âíåñåíèÿ,
ò.
|
35
|
ÌÒÇ-80
|
2ÏÒÑ-4
|
|
|
|
3.
|
Âíåñåíèå
ìèíåðàëüíûõ
óäîáðåíèé, ò.
|
35
|
Ò-70
|
ÏÐÂÍ-14000
|
Âòîðàÿ-òðåòüÿ
äåêàäà ìàÿ.
|
Äëÿ
ïîïîëíåíèÿ ïî÷âû
ýëåìåíòàìè ïèòàíèÿ.
Ãëóáèíà âíåñåíèÿ
25-30ñì.
|
|
6. Óáîðêà
|
|
1.
|
Ñáîð
ñòîëîâûõ ñîðòîâ,
ò
|
525
|
 ðó÷íóþ
|
|
Àâãóñò
- îêòÿáðü
|
Íå
äîëæåí ïðîâîäèòüñÿ
ïðè äîæäëèâîé
ïîãîäå, ïðè ðîñå
è â ñèëüíóþ æàðó.
Ñðåçàþò ñåêàòîðîì
èëè íîæîì, íå
êàñàÿñü ïàëüöàìè
ÿãîä. Ãðîçäè äåðæàòü
òîëüêî çà ãðåáíè.
Ïðèñòóïàþò ïðè
ñîäåðæàíèè ñàõàðà
12 - 14 ã/100 ñì3. Ãðîçäè
ñêëàäûâàþò â
ëîòêè.
|
|
2.
|
Òðàíñïîðòèðîâêà
âèíîãðàäà ñòîëîâûõ
ñîðòîâ, ò.
|
525
|
Àâòîòðàíñïîðò
|
|
|
Äîñòàâèòü
ê ìåñòàì òîâàðíîé
îáðàáîòêè, õðàíåíèÿ,
â ìåñòà ïîòðåáëåíèÿ.
Ãðîçäè äîëæíû
áûòü óïàêîâàíû
â ñòàíäàðòíóþ
òàðó, çàùèùåíû
îò ïðÿìûõ ñîëíå÷íûõ
ëó÷åé è îò ïîïàäàíèÿ
ïûëè.
|
|
3.
|
Óáîðêà
òåõíè÷åñêèõ
ñîðòîâ, ò.
|
280
|
 ðó÷íóþ
|
|
Àâãóñò
- îêòÿáðü
|
Íå
äîëæåí ïðîâîäèòüñÿ
ïðè äîæäëèâîé
ïîãîäå, ïðè ðîñå
è â ñèëüíóþ æàðó.
Ñðåçàþò ñåêàòîðîì
èëè íîæîì, íå
êàñàÿñü ïàëüöàìè
ÿãîä. Ãðîçäè äåðæàòü
òîëüêî çà ãðåáíè.
Ãðîçäè ñêëàäûâàþò
â ëîòêè.
|
|
4.
|
Òðàíñïîðòèðîâêà
âèíîãðàäà òåõíè÷åñêèõ
ñîðòîâ, ò.
|
280
|
Àâòîòðàíñïîðò,
ÌÒÇ-80
|
2ÏÒÑ-4
|
Àâãóñò
- îêòÿáðü
|
Äîñòàâèòü
ê ìåñòàì ïåðåðàáîòêè.
Ãðîçäè äîëæíû
áûòü óïàêîâàíû
â ñòàíäàðòíóþ
òàðó, çàùèùåíû
îò ïðÿìûõ ñîëíå÷íûõ
ëó÷åé è îò ïîïàäàíèÿ
ïûëè.
|
10. Ñîñòàâëåíèå
ïëàíà óáîðêè
òåõíè÷åñêèõ
è ñòîëîâûõ ñîðòîâ
âèíîãðàäà è òåõíîëîãèÿ
å¸ ïðîâåäåíèÿ
Ïðåäâàðèòåëüíîå
îïðåäåëåíèå óðîæàÿ
â õîçÿéñòâàõ
ïðîâîäÿò çà 1 - 1,5 ìåñÿöà
äî ñáîðà âèíîãðàäà.
Ó÷¸ò âåäóò áðèãàäèðû
è àãðîíîìû îòäåëüíî
ïî êàæäîìó ó÷àñòêó
âèíîãðàäíèêà
è ñîðòó.
Äëÿ ïðîâåäåíèÿ
âûáèðàþò êóñòû
ïî ñïîñîáó äèàãîíàëè,
ïðîáíûõ ïëîùàäîê
è ñåòêè. Â ïåðâîì
ñëó÷àå íà ó÷àñòêå
ïî äâóì óñëîâíûì
äèàãîíàëÿì îòìå÷àþò
êàæäûé ïÿòûé
- äåñÿòûé êóñò
è ïîäñ÷èòûâàþò
÷èñëî ðàçâèâøèõñÿ
ãðîçäåé. Âî âòîðîì
ñëó÷àå íà ó÷àñòêå
âûäåëÿþò ïëîùàäêó
ñ 50 - 100 ó÷¸òíûìè
êóñòàìè, íà êîòîðûõ
òàêæå ïîäñ÷èòûâàþò
÷èñëî ãðîçäåé;
â òðåòüåì, íàèáîëåå
ðàñïðîñòðàí¸ííîì,
ïîäñ÷¸ò ãðîçäåé
âåäóò íà êàæäîì
ïÿòîì êóñòå ïÿòîãî
èëè äåñÿòîãî
ðÿäà ó÷àñòêà.
Óðîæàé ñ áîëüíûõ
è ñëàáûõ êóñòîâ
íå ó÷èòûâàþò.
Ðåçóëüòàòû
ïîäñ÷¸òà çàïèñûâàþò
â ñïåöèàëüíûé
æóðíàë è âû÷èñëÿþò
âåëè÷èíó îæèäàåìîãî
âàëîâîãî óðîæàÿ.
Äëÿ ýòîãî îáùåå
êîëè÷åñòâî ãðîçäåé
äåëÿò íà ÷èñëî
ó÷¸òíûõ êóñòîâ
è ïîëó÷àþò ñðåäíåå
÷èñëî ãðîçäåé
íà îäèí êóñò.
Ðåçóëüòàò óìíîæàþò
íà ÷èñëî èìåþùèõñÿ
íà ó÷àñòêå êóñòîâ
è ïîëó÷àþò êîëè÷åñòâî
ãðîçäåé íà âñ¸ì
ó÷àñòêå. Óìíîæèâ
÷èñëî ãðîçäåé
íà ñðåäíþþ ìàññó
ãðîçäè ïîëó÷àþò
ïðåäïîëàãàåìûé
âàëîâîé óðîæàé
âèíîãðàäà íà
êàæäîì êîíêðåòíîì
ó÷àñòêå. Ñëîæèâ
óðîæàé âñåõ ó÷àñòêîâ,
îïðåäåëÿþò âàëîâîé
óðîæàé ïëîäîíîñÿùèõ
íàñàæäåíèé âèíîãðàä
õîçÿéñòâà. ×àñòíîå
îò äåëåíèÿ âàëîâîãî
ñáîðà óðîæàÿ íà
êîëè÷åñòâî èìåþùèõñÿ
â õîçÿéñòâå ãåêòàðîâ
âèíîãðàäíûõ
íàñàæäåíèé êàæäîãî
ñîðòà ïîêàçûâàåò
ñðåäíèé óðîæàé
ïî õîçÿéñòâó.
Ó ñòîëîâûõ
ñîðòîâ ãðîçäè
ñîçðåâàþò íå
îäíîâðåìåííî,
ïîýòîìó óáèðàþò
èõ âûáîðî÷íî,
â äâà-òðè ïðè¸ìà.
Ê ñáîðó ïðèñòóïàþò
â ïåðèîä èõ ïîòðåáèòåëüñêîé
çðåëîñòè, êîãäà
ÿãîäû ñòàíîâÿòñÿ
ñúåäîáíûìè è
â íèõ íàêàïëèâàåòñÿ
íå ìåíåå 12 % ñàõàðà
è íå ìåíåå 7 - 10 ã/ë
êèñëîòû.
Ñòîëîâûå ñîðòà
ñîáèðàþò òîëüêî
â ñóõóþ ïîãîäó.
Ïðè ñèëüíîé ðîñå
èëè ðîñå óáîðêó
ïðåêðàùàþò, òàê
êàê âëàæíûå ÿãîäû
ëåãêî çàãíèâàþò,
òåðÿþò ñâîè êà÷åñòâà
è ñòàíîâÿòñÿ
íå ïðèãîäíûìè
äëÿ õðàíåíèÿ è
òðàíñïîðòèðîâêè.
Ïðè ñáîðå ñòîëîâûõ
ñîðòîâ ñòàâÿò
îáû÷íî ÷åòûðå
ñáîðùèêà, äâà
èç íèõ èäóò è
ñðåçàþò ãðîçäè
ñ êîíöîâ ðÿäà, äðóãàÿ
ïàðà - ñ ñåðåäèíû,
ïåðåäâèãàÿñü
ê ñáîðùèêàì èäóùèì
íà âñòðå÷ó.
Ãðîçäè ñðåçàþò
ñïåöèàëüíûìè
íîæíèöàìè ñ óçêèìè
ëåçâèÿìè è òóïûìè
êîíöàìè, ñåêàòîðàìè
èëè íîæàìè.
Ñîáèðàþò âèíîãðàä
â êîðçèíû, æåëåçíûå
èëè ïëàñòìàññîâûå
â¸äðà, à ÷àùå â
äåðåâÿííûå ÿùèêè
¸ìêîñòüþ 10 - 12 êã.
Ó êàæäîãî ñáîðùèêà
äîëæíî áûòü äâà
âèäà òàðû: äëÿ íåïîâðåæä¸ííûõ
ãðîçäåé è ïîâðåæä¸ííûõ,
ñóõèõ, ãíèëûõ
ÿãîä.
Âî âðåìÿ óáîðêè
ïðîâîäÿò ïðåäâàðèòåëüíóþ,
à èíîãäà è îêîí÷àòåëüíóþ
ñîðòèðîâêó. Êàæäóþ
ãðîçäü âíèìàòåëüíî
îñìàòðèâàþò
è íîæíèöàìè (íå
ðóêàìè) óäàëÿþò
âñå ïîâðåæä¸ííûå,
ñóõèå, çàãíèâøèå,
ãîðîøàùèåñÿ
ÿãîäû, à òàêæå
îñòàâøèåñÿ îò
îòïàâøèõ ÿãîä
ïëîäîíîæêè.
ßùèêè ñ ñîáðàííûì
âèíîãðàäîì òóò
æå, íà ó÷àñòêå,
óñòàíàâëèâàþò
øòàáåëÿìè è çàêðåïëÿþò
íà ñïåöèàëüíûõ
ïîääîíàõ. Ïðè âûáîðî÷íîì
ñáîðå ñ êàæäîé
ñòîðîíû ðÿäà ðàçìåùàþò
ïî îäíîìó ïîääîíó
ñ ïóñòûìè ÿùèêàìè,
ïðè ìàññîâîì
- ÷èñëî ïîääîíîâ
äîëæíî ñîîòâåòñòâîâàòü
÷èñëó ñáîðùèêîâ.
Ïî ìåðå íàêîïëåíèÿ
òàðû ñ âèíîãðàäîì
ñ ïîìîùüþ ïîãðóç÷èêà
ÀÂÍ-0,5À, ïåðåîáîðóäîâàííîãî
äëÿ ïîäú¸ìà ïîääîíîâ,
ÿùèêè ñ ïîääîíàìè
ïîìåùàþò â àâòîìàøèíû.
Òåõíè÷åñêèå
ñîðòà, òàê æå êàê
è ñòîëîâûå, ðåêîìåíäóåòñÿ
óáèðàòü â íå æàðêóþ
ïîãîäó. Ñîáèðàþò
âèíîãðàä â îñíîâíîì
â ðó÷íóþ, íî ñ ìàêñèìàëüíûì
èñïîëüçîâàíèåì
ñðåäñòâ ÷àñòè÷íîé
ìåõàíèçàöèè
- àãðåãàòà ÀÂÍ-05
äëÿ âûâîçêè ÿùèêîâ
èç ìåæäóðÿäèé
è ïîãðóçêå èõ
íà òðàíñïîðòíûå
ñðåäñòâà.
Îðãàíèçàöèÿ
ñáîðà çàêëþ÷àåòñÿ
â ñëåäóþùåì: ñáîðùèêè
îäíîé ãðóïïû âðó÷íóþ
ñðåçàþò ãðîçäè
â â¸äðà è ïåðåâàëèâàþò
âèíîãðàä â çàðàíåå
ðàññòàâëåííûå
â ìåæäóðÿäüÿõ
ÿùèêè ¸ìêîñòüþ
20-25 êã. Íà ìåæêëåòî÷íûõ
äîðîãàõ ñ êàæäîé
ñòîðîíû êëåòêè
ðàçìåùàþò â øàõìàòíîì
ïîðÿäêå ïî ÷åòûðå
ïóñòûõ êîâøà
àãðåãàòà. Ñ ïîìîùüþ
òðàêòîðà ÄÒ-20 èëè
Ò-25À àãðåãàò äâèæåòñÿ
ïî ìåæäóðÿäüþ
è äâà ãðóç÷èêà
ïåðåñûïàþò âèíîãðàä
èç ÿùèêîâ â êîâø,
îñòàâëÿÿ ïóñòûå
ÿùèêè âáëèçè
êóñòîâ. Ñ ïîìîùüþ
àãðåãàòà âèíîãðàä
âûâîçÿò èç ìåæäóðÿäèé
íà ìåæêëåòî÷íóþ
äîðîãó, ãäå ïîëíûå
êîâøè ïåðåãðóæàþò
òåì æå àãðåãàòîì
íà òðàíñïîðòíûå
ñðåäñòâà - ãðóçîâûå
àâòîìàøèíû èëè
òðàêòîðíûå ïðèöåïû
ÐÒÍ-0,6 è ïåðåâîçÿò
ñîáðàííûé óðîæàé
ê ìåñòó ïåðåðàáîòêè.
 ýòî âðåìÿ òðàêòîð
äåëàåò ðàçâîðîò,
çàåçæàåò â ñëåäóþùåå
ìåæäóðÿäüå. Àãðåãàò
ïîäõâàòûâàåò
ïóñòîé êîâø è
òåì æå ñïîñîáîì
íà÷èíàåò çàïîëíÿòü
åãî.
 êðóïíûõ ñïåöèàëèçèðîâàííûõ
âèíîãðàäàðñêèõ
õîçÿéñòâàõ, èìåþùèõ
áîëüøèå ìàññèâû
÷èñòîñîðòíûõ
òåõíè÷åñêèõ
ñîðòîâ ïðèìåíÿþò
áåñòàðíûé ñïîñîá
ïåðåâîçêè íà
ãðóçîâûõ ìàøèíàõ
ñî ñú¸ìíûì ìåòàëëè÷åñêèì
êóçîâîì-êîíòåéíåðîì
- "ëîäî÷êîé". Ïðè
ýòîì ñïîñîáå
òðàêòîð ñ íàâåñíûì
àãðåãàòîì ÀÂÍ-0,5
ïåðåäâèãàåòñÿ
ïî ìåæäóðÿäüþ
è ñáîðùèêè âûñûïàþò
âèíîãðàä èç â¸äåð
â êîâø àãðåãàòà.
Ïîñëå çàïîëíåíèÿ
êîâøà àãðåãàò
âûåçæàåò íà ìåæêëåòî÷íóþ
äîðîãó è îïðîêèäûâàåò
êîâø â êóçîâ-êîíòåéíåð
"ëîäî÷êó" ãðóçîâîãî
àâòîìîáèëÿ.
Óáîðêó òåõíè÷åñêèõ
ñîðòîâ ìîæíî
ïðîâîäèòü è ñ ïîìîùüþ
ìàøèí äëÿ óáîðêè,
ïðèíöèï äåéñòâèÿ
îñíîâàí íà îòäåëåíèÿ
îò ïîáåãîâ ãðîçäåé
ñïîñîáîì ñðåçûâàíèÿ,
âèáðàöèè, âñòðÿõèâàíèÿ:
Êóáàíü-1 (ÊÂÐ-1), ÄÎÍ-1Ì.
Ïðèìåíåíèå
âñåõ òèïîâ âèíîãðàäîóáîðî÷íûõ
ìàøèí âîçìîæíî
ïðè îïðåäåë¸ííûõ
òðåáîâàíèÿì:
øèðèíà ìåæäóðÿäèé
äîëæíà áûòü íå
ìåíåå 2,5 ì, êóñòû
ñôîðìèðîâàíû
ñ îïðåäåë¸ííîé
âûñîòîé øòàìáà,
ñèñòåìà îïîð
â âèäå âåðòèêàëüíûõ
îäíîïëîñêîñòíûõ
øïàëåð, ñîîòâåòñòâóþùèé
ïîäáîð ñîðòîâ.
Òàê êàê ïëîùàäü
íàñàæäåíèé â
íàøåì ïðîåêòå
íåáîëüøàÿ, òî
ìû áóäåì ïëàíèðîâàòü
ðó÷íîé ñáîð, íî
ñ ìàêñèìàëüíûì
èñïîëüçîâàíèåì
ñðåäñòâ ÷àñòè÷íîé
ìåõàíèçàöèè.
Òàáëèöà 10
Ïëàí óáîðêè
óðîæàÿ âèíîãðàäà
|
Íàèìåíîâàíèå
ñîðòà
|
Ïëîùàäü
ãà
|
Âàëîâîé
ñáîð, ò
|
Äàòà
óáîðêè
|
Åæåäíåâíî
òðåáóåòñÿ óáðàòü,
ò
|
Äíåâíàÿ
íîðìà ñáîðà, ò
|
Òðåáóåòñÿ
åæåäíåâíî
|
|
|
|
íà÷àëî
|
êîíåö
|
|
|
Ðàáî÷èõ-
ñú¸ìùèêîâ
|
ãðóç÷èêîâ
|
ßùèêîâ
|
Âåäåð
|
Ñåêàòîðîâ
|
Ãðóçîâûõ
àâòîìàøèí
|
ëîäî÷åê
|
Ïîãðóç÷èêîâ
ÀÂÍ-05
|
Êîìáàéíîâ
ÄÎÍ-1ì ÑÊÂ - 3ì
|
|
Âîñòîðã
|
7
|
70
|
3.08
|
5.08
|
24
|
0.5
|
48
|
1
|
2400
|
-
|
48
|
-
|
2
|
-
|
1
|
-
|
|
Íåïòóí
|
7
|
49
|
16 08
|
17 08
|
25
|
0.5
|
50
|
1
|
2500
|
-
|
50
|
-
|
2
|
-
|
1
|
-
|
|
Íàäåæäà
ÀÇÎÑ
|
7
|
105
|
18 08
|
21 08
|
27
|
0.5
|
54
|
2
|
2700
|
-
|
54
|
-
|
2
|
-
|
1
|
-
|
|
Îñåííèé
÷¸ðíûé
|
7
|
56
|
8 09
|
9 09
|
28
|
0.5
|
56
|
2
|
2800
|
-
|
56
|
-
|
2
|
-
|
1
|
-
|
|
Ðóñìîë
|
7
|
84
|
17 09
|
19 09
|
28
|
0.5
|
56
|
2
|
2800
|
-
|
56
|
-
|
2
|
-
|
1
|
-
|
|
Ãå÷åè
çàìàòîø
|
8,75
|
105
|
25 08
|
28 08
|
27
|
0.5
|
54
|
2
|
-
|
108
|
54
|
-
|
-
|
3
|
-
|
-
|
|
Ñàïåðàâè
ñåâåðíûé
|
8,75
|
127
|
17 09
|
20 09
|
32
|
0.5
|
64
|
2
|
-
|
128
|
64
|
-
|
2
|
3
|
-
|
-
|
|
Öâåòî÷íûé
|
8,75
|
70
|
16 09
|
18 09
|
24
|
0.5
|
48
|
1
|
-
|
96
|
48
|
-
|
2
|
2
|
-
|
-
|
|
Ãðàíàòîâûé
|
8,75
|
105
|
21 09
|
24
|
30
|
30
|
-
|
-
|
-
|
-
|
-
|
-
|
2
|
3
|
-
|
1
|
Çàêëþ÷åíèå
Ìû ðàçðàáîòàëè
ïðîåêò çàêëàäêè
âèíîãðàäíèêà
ïðèâèòûìè ñàæåíöàìè
â Òåìðþêñêîì
ðàéîíå Êðàñíîäàðñêîãî
êðàÿ íà ïëîùàäè
100 ãà è ðàçðàáîòàëè
òåõíîëîãèþ ïðîèçâîäñòâà
ïîñàäî÷íîãî
ìàòåðèàëà è âîçäåëûâàíèÿ
âèíîãðàäà.
Ïðîàíàëèçèðîâàâ
ïî÷âåííî-êëèìàòè÷åñêèå
óñëîâèÿ ðàéîíà,
ìû ñäåëàëè âûâîä
î òîì, ÷òî îíè
ïîäõîäÿò äëÿ âûðàùèâàíèÿ
êóëüòóðû âèíîãðàäà,
íî ïðè ñîáëþäåíèè
íåîáõîäèìûõ
àãðîòåõíè÷åñêèõ
ìåðîïðèÿòèé. Â
âèäó òîãî, ÷òî
àáñîëþòíûé ìèíèìóì
òåìïåðàòóð ñîñòàâëÿåò
- 33ºÑ, ñíåæíûé ïîêðîâ
áûâàåò â ñðåäíåì
40 äíåé, à ñðåäíÿÿ
ãëóáèíà ïðîìåðçàíèÿ
ïî÷âû 25 ñì, âèíîãðàä
âûðàùèâàåòñÿ
â íåóêðûâíîé
êóëüòóðå.  êà÷åñòâå
ñîðòà ïîäâîÿ èñïîëüçóåòñÿ
Êîáåð 5ÁÁ.
Ñîîòíîøåíèå
òåõíè÷åñêèõ
è ñòîëîâûõ ñîðòîâ
75׃25, òàê êàê õîçÿéñòâî
èìååò ñâîé âèíçàâîä
è íåîáõîäèìà
êðóïíàÿ ïàðòèÿ
òåõíè÷åñêèõ
ñîðòîâ. Äàííûé
ó÷àñòîê íàõîäèòñÿ
âñåãî ëèøü â 50 êì
îò ðàéîííîãî
öåíòðà, ÷òî ïîçâîëÿåò
âûãîäíî ðåàëèçîâûâàòü
óðîæàé ñòîëîâûõ
ñîðòîâ. Íàáîð
ñòîëîâûõ è òåõíè÷åñêèõ
ñîðòîâ ñîîòâåòñòâóåò
ðàéîíèðîâàííîìó
ñîðòèìåíòó è
îáåñïå÷èâàåò
ðàâíîìåðíûé è
áîëåå ðàñòÿíóòûé
ïî ñðîêàì ñîçðåâàíèÿ
ïåðèîä ñáîðà óðîæàÿ.
Ìû ïîäîáðàëè ìîðîçîñòîéêèå,
óñòîé÷èâûå ê
áîëåçíÿì è âðåäèòåëÿì,
îáëàäàþùèå õîðîøèìè
âêóñîâûìè è òîâàðíûìè
êà÷åñòâàìè, ðàçëè÷íûìè
ïî îêðàñêå ñîðòà
êàê ñòîëîâîãî
(Êàäðÿíêà, Àâãóñòèí,
Êèøìèø Ëó÷èñòûé,
Ëÿíà, Ìîëäîâà),
òàê è òåõíè÷åñêîãî
íàïðàâëåíèÿ (ï.
÷, ñ. á, ê. ñ.).
Ïðèíÿòî ðàññòîÿíèå
ìåæäó ðÿäàìè
3 ì. Ðàññòîÿíèå
ìåæäó êóñòàìè
äèôôåðåíöèðóåòñÿ
â çàâèñèìîñòè
îò ñèëû ðîñòà:
äëÿ ñëàáîðîñëûõ
ñîðòîâ äî 1,5 ì; ñðåäíåðîñëûõ
1,75-2,0 ì; ñèëüíîðîñëûõ
- 2,0-2,5 ì. ïîòðåáíîñòü
â ñàæåíöàõ ñ ó÷¸òîì
10 % ñòðàõîâîãî ôîíäà
ñîñòàâëÿåò
166305 øòóê.
Ïðîèçâîäñòâî
ïîñàäî÷íîãî
ìàòåðèàëà ïðîèçâîäèòñÿ
ïî èíòåíñèâíîé
ñîâðåìåííîé
òåõíîëîãèè: èñïîëüçîâàíèå
ìàòî÷íèêîâ ïðèâîéíûõ
è ïîäâîéíûõ ëîç
ñóïåðèíòåíñèâíîãî
òèïà ñ ìèíèêîðîòêîðóêàâíîé
ôîðìîé êóñòà.
Âñå ðàáîòû ïî
ïîäãîòîâêå è
ïðîâåäåíèå ïðèâèâî÷íîé
êàìïàíèè âåäóòñÿ
â ñïåöèàëüíî îáîðóäîâàííîì
êîìïëåêñå.
Âûáðàííàÿ
ôîðìà êóñòîâ
äëÿ ïëîäîíîñÿùèõ
âèíîãðàäíèêîâ
- âûñîêîøòàìáîâûé
äâóõñòîðîííèé
ãîðèçîíòàëüíûé
êîðäîí, îáåñïå÷èâàåò
ìàêñèìàëüíîå
óäîáñòâî ðó÷íîãî
òðóäà è èñïîëüçîâàíèå
ìåõàíèçàöèè
ïðè ïðîâåäåíèè
ðàáîò.
âèíîãðàäíèê
ïðèâèòûé ñàæåíåö
ñîðò
Ñïèñîê
èñïîëüçîâàííîé
ëèòåðàòóðû
1. Ýíöèêëîïåäèÿ
ïî âèíîãðàäàðñòâó.
- Ò 2,3. - Êèøèí¸â, 2010.
2. Àãðîýêîëîãè÷åñêèå
îñíîâû è òåõíîëîãè÷åñêèå
ïàðàìåòðû ïðèâèòîãî
âèíîãðàäàðñòâà.À.Ì.
Àäæèåâ, Ë.Ì. Ìàëòàáàð,
À.Í. Àëèåâà. Ìàõà÷êàëà,
2009.
. Ðàéîíèðîâàííûå
ñîðòà âèíîãðàäà
Ðîññèè. Ë.Ï. Òðîøèí,
Ï.Ï. Ðàä÷åâñêèé.
Êðàñíîäàð, 2014.
. Ïðîìûøëåííîå
âèíîãðàäàðñòâî.
Ê.À. Ñåðïóõîâèòèíà,
Ã.Ñ. Ìîðîçîâà. Ó÷åáíîå
ïîñîáèå äëÿ ñ.
- õ. âóçîâ. Àãðîïðîìèçäàò
1983.
Ðàçìåùåíî
íà Allbest.ru