Влияние режимов получения, термообработки и травления на структуру и магнитные свойства порошков гексаферрита стронция, полученных методом кристаллизации оксидного стекла
НАЦИОНАЛЬНЫЙ ИССЛЕДОВАТЕЛЬСКИЙ
ТЕХНОЛОГИЧЕСКИЙ УНИВЕРСИТЕТ "МИСИС"
ИНСТИТУТ НОВЫХ МАТЕРИАЛОВ И
НАНОТЕХНОЛОГИЙ
Отчет
по курсовой научно-исследовательской
работе
Тема: "Влияние режимов
получения, термообработки и травления на структуру и магнитные свойства
порошков гексаферрита стронция, полученных методом кристаллизации оксидного
стекла".
Студент: Василенко Р.В.
Группа: МФ-12-1
Научный руководитель:
Зав. НИЛ ПМ Менушенков В.П.
Москва 2015
Содержание
Введение
Аналитический обзор литературы
Магнитотвердые материалы
Характеристики магнитотвердых материалов
Структура и свойства постоянных магнитов на основе SrFe2O19
Методы получения дисперсных порошков гексаферритов SrFe12O19
Керамический метод
Метод химического соосаждения
Золь-гель метод
Микроэмульсионый метод
Пиролиз аэрозолей (распылительная сушка)
Получение гексаферритов разложением металлоорганических комплексов
Получение гексаферритов М-типа методом кристаллизации стекла
Методика эксперимента
Результаты экспериментов и их обсуждение
Выводы
Список литературы
Введение
Изделия из магнитотвердых сплавов широко используются в
электро- и радиотехнической, электронной и приборостроительной отраслях
промышленности, в компьютерной и медицинской технике. На сегодняшний день и
ближайшие годы основным магнитотвердым материалом, выпускаемым и потребляемым
промышленностью, остаются гексаферриты, в частности, порошки гексаферрита
стронция SrFe2O19,
используемые для изготовления спеченных магнитов или магнитопластов.
Гексаферрит стронция обладает высокой химической стойкостью,
при этом он значительно дешевле редкоземельных магнитотвёрдых материалов
системы Nd-Fe-B, хотя свойства порошков гексаферрита стронция заметно ниже.
Однако свойства порошков SrFe2O19 могут быть заметно увеличены. Одним из возможных путей в
этом направлении является разработка способов получения SrFe2O19 в нанокристаллическом
состоянии. Cплавы
гексаферрита стронция получают разными способами: самораспространяющимся
высокотемпературным синтезом, индуцированной микроволнами реакцией окисления,
кристаллизацией аморфной фазы, полученной закалкой из жидкости, золь-гель
технологией, химическим осаждением из жидкого раствора, механохимическим
методом, методом кристаллизации оксидного стекла и др.
Одним из способов получения мелкодисперсных гексаферритов
является кристаллизация стеклообразного оксидного предшественника при его
термической обработке. При этом образуются однодоменные магнитные частицы,
имеющие размеры в нано - и субмикронном диапазоне и характеризующиеся высокой
коэрцитивной силой. Однако, имеющиеся в настоящее время данные по гексаферриту
стронция ограничены только несколькими составами в боратной системе.
Отсутствуют систематические исследования, которые могли бы позволить выявить
закономерности в образовании частиц гексаферрита с определенными
геометрическими и магнитными параметрами. Остается проблемой получение частиц с
узким распределением по размерам и достаточно большой коэрцитивной силой.
гексаферрит оксидное стекло мелкодисперсный
Аналитический
обзор литературы
Магнитотвердые
материалы
Общая
характеристика
К магнитным материалам относят вещества, обладающие
определенными магнитными свойствами и используемые в современной технологии.
Магнитными материалами могут быть различные сплавы, химические соединения,
жидкости. Магнитные материалы в основном делятся на две большие группы -
магнитотвёрдые и магнитомягкие материалы.
Согласно ГОСТ, магнитотвердый материал - это магнитный
материал с коэрцитивной силой по индукции НсВ не менее 4 кА/м,
который перемагничивается в очень сильных магнитных полях и служит для
изготовления постоянных магнитов.
Классификация
магнитотвердых материалов
По назначению магнитотвердые материалы делятся на три большие
группы:
материалы для постоянных магнитов;
материалы для роторов гистерезисных двигателей;
материалы для магнитной записи.
Сплавы для постоянных магнитов представляют собой наиболее
распространенную группу магнитотвердых материалов. Многообразие этих сплавов,
протекающих в них структурных и фазовых превращений, позволяет на их примере
более наглядно проследить основные закономерности формирования
высококоэрцитивного состояния.
Постоянные магниты используются для получения постоянных по
величине магнитных полей значительной напряженности в воздушном зазоре. Они
входят в число основных элементов электроизмерительных приборов постоянного
тока, телефонных аппаратов, электрических счетчиков, громкоговорителей и многих
других приборов.
Для изготовления постоянных магнитов используют большое число
различных сплавов и соединений, обеспечивающих требуемый уровень магнитных
характеристик. К ним относятся сплавы Fe-Ni-Al, Fe-Ni-Al-Co, Fe-Cr-Co, Mn-Al,
Fe-Co-V, Fe-Mn и другие.
Для гистерезисных двигателей используются сплавы Fe-Co-V,
Fe-Co-Ni-V, Fe-Co-Cr-V, Fe-Cr-V, Fe-Co-V-Mo.
Наибольшее распространение для изготовления носителей
магнитной записи получили сплавы системы Fe-Cr-Ni типа 18Х9Н.
По видам анизотропии и механизмам перемагничивания все
магнитотвердые материалы можно разделить на:
материалы с одноосной анизотропией полей рассеяния
(анизотропией формы), причина магнитного гистерезиса в которых обусловлена
необратимым вращением вектора намагниченности в однодоменных частицах. К этой
группе следует отнести магниты из однодоменных удлиненных частиц железа или
сплавы железо-кобальт (ESD - магниты) и сплавы на основе Fe-Ni-Al-Co и
Fe-Co-Cr;
материалы с одноосной кристаллической анизотропией, причина
магнитного гистерезиса в которых связана с трудностью необратимого смещения
доменных границ или трудностью образования зародыша обратной намагниченности.
Сюда следует отнести материалы на основе интерметаллических соединений РЗМ с
3d-переходными металлами и сплавы на основе Fe-Pt, Co-Pt, Mn-Al, Mn-Bi;
материалы с неодноосной кристаллической анизотропией,
гистерезис перемагничивания которых происходит в результате затруднения
необратимого смещения доменных границ при наличии неферромагнитных включений
или внутренних напряжений. К третьей группе относятся сплавы на основе
Cu-Ni-Fe, Cu-Ni-Co, Fe-Co-Mo, Fe-Mo-V, Fe-Co-V и углеродистые стали с W, Cr и
Co.
По составу и способу получения магнитотвердые материалы
подразделяют на литые, порошковые и специальные.
Специальные
магнитотвердые материалы
К этой группе относятся материалы, которые имеют
узкоспециальное применение:
пластически деформируемые сплавы;
эластичные магниты;
материалы для магнитных носителей информации;
жидкие магниты.
Пластически деформируемые магниты обладают хорошими
пластическими свойствами. Они хорошо поддаются всем видам механической
обработки (хорошо штампуются, обрабатываются на металлорежущих станках); имеют
высокую стоимость.
Эластичные магниты представляют собой магниты на резиновой
основе с наполнителем из мелкого порошка магнитотвердого материала. В качестве
магнитотвердого материала чаще всего используют феррит бария. Они позволяют
получить изделия любой формы, которую допускает технология изготовления деталей
из резины; имеют высокую технологичность (легко режутся ножницами, штампуются,
сгибаются, скручиваются) и невысокую стоимость.
Магнитные носители информации при перемещении создают в устройстве
считывания информации переменное магнитное поле, которое изменяется во времени
так же, как записываемый сигнал.
Магнитные материалы для носителей информации должны отвечать
следующим требованиям:
высокая остаточная магнитная индукция Br для повышения
уровня считываемого сигнала;
для уменьшения эффекта саморазмагничивания, приводящего к
потере записанной информации, значение коэрцитивной силы Нc должно
быть как можно более высоким;
для облегчения процесса стирания записи желательна малая
величина коэрцитивной силы Нc, что противоречит предыдущему
требованию;
большие значения коэффициента выпуклости, что удовлетворяет
требованиям высокой остаточной магнитной индукции Br и минимальной
чувствительности к саморазмагничиванию;
высокая температурная и временная стабильность магнитных
свойств.
Материалы для магнитных носителей информации представляют
собой металлические ленты и проволоку из магнитотвердых материалов, сплошные
металлические, биметаллические и пластмассовые ленты и магнитные порошки,
которые наносятся на ленты, металлические диски и барабаны, магнитную резину и
др.
Сплошные металлические ленты и проволоку из викаллоя
используют в основном в специальных целях и при работе в широком диапазоне
температур. Проволока из нержавеющей стали толщиной 0,1 мкм обладает
коэрцитивной силой Нс = 32 кА/м, остаточной индукцией Br
= 0,7 Тл и усилием разрыва 15 Н.
Основными недостатками данного типа материалов является
трудность монтажа записи, быстрый износ записывающих и воспроизводящих
устройств и высокая стоимость.
Свойства лент, дисков и барабанов с покрытием из магнитных
порошков зависят от:
свойств исходных материалов (остаточная намагниченность
порошка Br должна быть, возможно, более высокой);
степени измельчения частиц (размеры колеблются от долей
микрометра до единиц микрометров);
объемной плотности магнитного материала в рабочем слое;
ориентации частиц с анизотропией формы;
свойств металлической ленты (она должна быть гладкой и гибкой
для обеспечения максимального магнитного контакта между магнитными материалами
ленты и устройства считывания).
В качестве магнитных порошков используют оксиды железа Fe2O3
и Fe3O4, магнитотвердые ферриты, Fe-Ni-Al сплавы, которые
являются доступными и дешевыми материалами.
Жидкие магниты представляют собой жидкость, наполненную
мельчайшими частицами магнитотвердого материала. Жидкие магниты на кремний
органической основе не расслаиваются даже под воздействием сильных магнитных
полей, сохраняют работоспособность в диапазоне температур от минус 70 до плюс
150°С.
Характеристики
магнитотвердых материалов
Магнитный гистерезис - неоднозначная зависимость магнитной
индукции (намагниченности) магнитного материала от напряженности внешнего
магнитного поля при его квазистатическом изменении. Причинами магнитного
гистерезиса магнитотвердых материалов являются необратимые процессы изменения
магнитного состояния при намагничивании. В настоящее время выделяют три
основных причины магнитного гистерезиса:
задержка смещения границ доменов;
задержка образования устойчивого зародыша перемагничивания;
необратимые процессы вращения вектора намагниченности в
однодоменных частицах.
Каждый из этих механизмов различным образом определяет
величину коэрцитивной силы Hc материала. При задержке смещения
границ доменов коэрцитивная сила определяется максимальным градиентом энергии
доменной границы:
=
, (1)
где Is - намагниченность насыщения, А/м;
mо = 4p×10-7 Гн/м - магнитная
проницаемость вакуума;
- максимальный градиент энергии доменной границы, Дж/м3.
Причиной изменения энергии доменной границы могут быть или
неферромагнитные включения, или внутренние напряжения. При наличии только
неферромагнитных включений:
, (2)
а при наличии только внутренних напряжений
, (3)
где d - толщина
доменной границы, м;- площадь доменной границы, м2;
s - внутренние напряжения, Н/м2;1 - константа
одноосной кристаллической анизотропии, Дж/м3;
- магнитострикция.
При задержке образования устойчивого зародыша перемагничивания
коэрцитивная сила Hc определяется полем старта Нст, при
приложении которого такой зародыш возникает. Поле старта сложным образом
зависит от дефектной структуры материала, локальных значений констант
анизотропии и величины приложенного при намагничивании поля.
Перемагничивание ферромагнетиков путем вращения может осуществляться
в том случае, когда в материале исключена возможность возникновения зародышей
перемагничивания, а, следовательно, исключены процессы смещения границ между
доменами. Такой механизм перемагничивания имеет место в однодоменных
ферромагнитных частицах, разделенных неферромагнитной матрицей.
c =
2Kэф/Is, (4)
где Кэф - эффективная константа одноосной анизотропии,
Константа Кэф может приобретать различные значения, а
именно: для одноосной кристаллической анизотропии - (К1), для
одноосной анизотропии упругих напряжений - (3lss/2) и
для одноосной анизотропии формы, когда магнитотвердая однодоменная частица
представляет собой вытянутый эллипсоид вращения с размагничивающим фактором Na
вдоль длинной оси эллипсоида и Nb вдоль его короткой оси - (Is2
(Nb - Na) /2).
Основная функция постоянных магнитов - создание требуемого по
величине магнитного поля в требуемом рабочем объеме. В случае применения
постоянных магнитов мы имеем дело с магнитной цепью, которая кроме постоянного
магнита включает магнитопровод из магнитомягкого материала и воздушный зазор, в
котором создается требуемое постоянное магнитное поле. Наличие воздушного
зазора приводит к образованию свободных полюсов и размагничивающего поля, в
котором находится постоянный магнит. Согласно ГОСТ 19693, размагничивание - это
процесс, в результате которого под воздействием внешнего магнитного поля
уменьшается намагниченность магнитного поля. Таким образом, для характеристики
магнитотвердого материала существенную роль играет часть петли гистерезиса,
которая лежит во 2-м квадранте, так называемая кривая размагничивания (рис. 1).
Рисунок 1 - Кривая размагничивания по индукции В (Н) и кривая
энергетического произведения ВН (В)
Чтобы полностью охарактеризовать кривую размагничивания, а,
следовательно, и магнитотвердый материал, достаточно знать три величины:
остаточную индукцию Br, коэрцитивную силу Hc и
максимальную магнитную энергию (BH) max. В соответствии с ГОСТ 19693
[1]:
остаточная индукция (Br) - это индукция, сохраняющаяся
в магнитном материале после намагничивания его до намагниченности технического
насыщения и уменьшения напряженности магнитного поля в нем до нуля.
коэрцитивная сила (Hc) - величина, равная напряженности
магнитного поля, необходимого для изменения магнитной индукции или
намагниченности от остаточной индукции или остаточной намагниченности до нуля.
Однако при разработке магнитотвердых материалов в качестве
основной оптимизируемой величины чаще всего используют магнитную энергию.
Произведение (BH) max соответствует оптимальному размагничивающему
фактору магнитной системы и представляет собой наибольшую магнитную энергию,
которую можно получить от данного магнитотвердого материала при наивыгоднейшей
конструкции постоянного магнита. Максимальную магнитную энергию можно повышать
путем увеличения коэффициента выпуклости кривой размагничивания. Коэффициент
выпуклости кривой размагничивания
зависит главным образом от наличия в материале текстуры
(магнитной или кристаллической), а его величина определяется выражением:
=
(5)
Значения коэффициента
для различных магнитотвердых материалов может находиться в
пределах 0,25≤
≤1. Для материалов с близкими
значениями остаточной индукции и коэрцитивной силы коэффициент
характеризует степень текстуры: чем выше
, тем совершеннее текстура.
Улучшение основных характеристик магнитотвердых материалов
заключается в увеличении их остаточной индукции, коэрцитивной силы и
максимальной магнитной энергии. Однако, на практике величину (BH) max
повышают путем увеличения или Br, или Hc.
Кроме основных характеристик магнитотвердых материалов большое
значение имеют кривые возврата и обратимая проницаемость, которая характеризует
частные циклы гистерезиса. Согласно ГОСТ 19693:
прямая возврата - это прямая линия от точки на кривой
размагничивания до точки, которая соответствует увеличенному значению индукции,
вызванному изменением внешнего размагничивающего поля;
проницаемость возврата - это дифференциальная магнитная
проницаемость на прямой возврата.
Обратимая проницаемость µr входит в расчетные формулы
всех постоянных магнитов, испытывающих в процессе работы (или в условиях
сборки) воздействие внешнего магнитного поля или изменение внешней магнитной
проводимости. Величина µr бывает порядка нескольких единиц и до
некоторой степени отражает прямоугольность петли гистерезиса и величину (BH) max:
чем выше энергия и больше прямоугольность, тем меньше µr.
Стабильность постоянных магнитов (неизменность свойств в процессе
эксплуатации) является их очень важной характеристикой. От стабильности
постоянных магнитов во многом зависит надежность работы различных приборов и
измерительной аппаратуры. Очень важно знать, какие внешние факторы оказывают
влияние на свойства магнитотвердых сплавов в процессе их эксплуатации, каковы
причины их нестабильности. Среди главных факторов, определяющих нестабильность
магнитов, следует выделить влияние времени, влияние температуры эксплуатации,
влияние механических воздействии (ударов, вибраций) и влияние внешних магнитных
полей.
Структура и
свойства постоянных магнитов на основе SrFe2O19
Гексаферриты М-типа представляют собой твёрдые оксидные
соединения с общей формулой MFe12О19 (М = Ва2+, Sr2+, Pb2+) и изоморфны
минералу магнетоплюмбиту, примерный состав которого описывается формулой
Pb2Fe15Mn7AlTiO38. Кристаллическая структура гексагональна и может быть
представлена комбинацией двух типов блоков: шпинельных блоков S (с осью,
направленной вдоль оси с кристаллической решётки) и гексагональных блоков R.
Блок S состоит из двух слоев атомов кислорода, содержащих 8 ионов кислорода и 6
ионов железа. Блок R состоит из трёх кислородных слоев и содержит 11 ионов
кислорода, 6 ионов железа и один ион М2+. Блоки чередуются в структуре по типу
SRS*R* где S* и R* блоки повернуты на 180° относительно предыдущих (рис. 2).
Рис. 2. Элементарная ячейка Рис.
3. Координационные полиэдры Fe3+ в гексаферрита M-типа. структуре
гексаферрита М-типа
Иначе кристаллическую решётку можно представить следующим
образом. Ионы кислорода образуют гексагональную плотную упаковку, и
последовательность слоев перпендикулярно направлению [001] выглядит как АВАВ.
или АСАС. В каждом пятом слое один из ионов О2 - заменён на М2+, что возможно
вследствие близости ионных радиусов. Ионы железа занимают полости в кладке
ионов кислорода. Ион железа Fe3+ находится в трех позициях: октаэдрической
(FeO6), тетраэдрической (FeO4) и гексаэдрической (FeO5, отсутствует в
шпинельных структурах). Рис.2.
Элементарная ячейка Рис.3. Координационные полиэдры Fe3+ в
гексаферрита M-типа. структуре гексаферрита М-типа. Элементарная ячейка
содержит две формульные единицы MFe12О19. Параметры решётки SrFe12O19 имеют значения около а
= 5.8 и с = 23.03
Магнитная структура
Ионы железа в структуре гексаферрита расположены в пяти
различных кристаллографических позициях: двух октаэдрических, двух
тетраэдрических и одной тригонально-бипирамидальной (рис.3). Взаимодействие
между ионами железа может быть как ферромагнитным, так и антиферромагнитным. В
блоках S магнитные моменты ионов железа упорядочены так же, как и в шпинели,
т.е. спины четырёх ионов в октаэдрических позициях антипараллельны спинам двух
ионов в тетраэдрических позициях. Гексаферриты М-типа имеют ферримагнитную
структуру с пятью подрешетками атомов железа.
Магнитный гистерезис
Зависимость намагниченности образцов ферро - и ферримагнитных
материалов от внешнего магнитного поля имеет нелинейный характер и называется
магнитным гистерезисом (рис.4). Нелинейность обусловлена необратимыми
процессами, протекающими при намагничивании - смещением доменных частиц и
ростом одних доменов за счет других.
Основными характеристиками петли гистерезиса являются
остаточная намагниченность (MR), коэрцитивная сила (HC), намагниченность
насыщения (MS), максимальная плотность магнитной энергии (BH) max.
Рис. 4. Типичная петля гистерезиса.
Намагниченность насыщения
для гексаферрита стронция при 300 К составляет 74,3
, а значение константы магнитной
анизотропии
(при комнатной температуре) равно
. Значение температуры Кюри для
монокристалла
- 740 К На рисунке 5 приведены температурные
зависимости намагниченности насыщения и константы магнитной анизотропии,
измеренные на монокристаллах
и
.
S. Y. An и соавторы в работе приводят несколько отличающиеся значения
намагниченности насыщения и температуры Кюри для частиц гексаферритов стронция
и бария со средним размером 80-85 нм, полученных золь-гель методом. Ms для гексаферритов стронция и бария (при
комнатной температуре) составляет 60,5 и 61,6
, Тс - 790 и 775 К соответственно. Важной
характеристикой магнитожестких материалов является коэрцитивная сила, ее
значение не является постоянным для соединения и, в частности, для дисперсных
систем зависит от размеров и формы кристаллов.
Принципиальная зависимость силы от размера кристаллита приведена
на рисунке
В случае когда размер частицы не превышает
размер одного домена, процессы перемагничивания осуществляются за счет движения
доменных стенок. Частицы характеризуются низкими значениями коэрцитивной силы.
Максимальная коэрцитивная сила достигается
для однодоменных частиц. В частности, для гексаферрита стронция критический
размер однодоменности составляет 0.5-0.7 мкм. Формирование доменных стенок для
однодоменных частиц энергетически не выгодно, и процесс перемагничивания
осуществляется за счет поворота вектора намагниченности, направленного вдоль
оси легкого намагничивания (ось с), через ось трудного намагничивания.
Частицы, объем которых меньше критического объема, составляющего
для гексаферрита стронция
, проявляют суперпарамагнитные свойства.
Это связано с тем, что частицы становятся такими маленькими, что их энергия
теплового колебания
становится больше энергии магнитной
анизотропии, и намагниченность перестает быть связанной с определенным
кристаллографическим направлением. Частица начинает вести себя как гигантский
парамагнитный ион, и гистерезис не наблюдается.
В общем виде значение коэрцитивной силы однодоменной частицы с
учетом ее формы можно оценить по формуле:
(1)
где
- константа магнитокристаллической
анизотропии,
- намагниченность насыщения, N|| и Ni -
размагничивающие факторы параллельно и перпендикулярно оси легкого
намагничивания. Для тонкой пластины, сферы и палочки разница
составляет соответственно
. Подставляя в формулу значения константы
магнитной анизоторопии и намагниченности насыщения для
, находим, что максимально возможное
значение коэрцитивной силы для тонкой пластинки составляет 6700 Э, для сферы -
9000 Э, а для длинного цилиндра - 10100 Э. То есть, частицы с большим
отношением толщины к размеру в плоскости должны обладать большей коэрцитивной
силой.
Методы
получения дисперсных порошков гексаферритов SrFe12O19
Керамический
метод
Для получения гексаферритов в промышленности наиболее широкое
распространение получил керамический метод, в котором итоговый продукт
образуется из оксидной смеси в результате твердофазной реакции. В качестве
прекурсоров обычно используют оксид железа
и соответствующий карбонат ЩЗЭ. После смешивания и измельчения
реагентов для синтеза однофазного материала проводят термообработку при
температурах 1150-1500°С. Зёрна гексаферрита в получаемых таким образом
порошках имеют средний размер несколько микрон и не являются однодоменными, что
отрицательно сказывается на их коэрцитивной силе. Поэтому однофазные порошки
гексаферрита подвергают помолу для уменьшения размеров частиц до 1 мкм. Однако
помол приводит к накоплению дефектов кристаллической структуры, которые снижают
магнитные характеристики. Их можно устранить при помощи дополнительного отжига
при температурах 900-1000°С. Коэрцитивная сила промышленных магнитов не
превосходит 4000 Э. Полученные твердофазным спеканием порошки используют для
изготовления керамических образцов и магнитопластов, но они не пригодны для
других применений (например, для магнитной записи, покрытий, наноструктур и
т.д.), главным образом, из-за широкого распределения частиц по размерам и
высокой степени агрегации. Для преодоления этих проблем и получения
однодоменных частиц гексаферритов высокого качества применяют различные методы
гомогенизации и активации исходных прекурсоров, позволяющие снизить температуры
синтеза и контролировать процессы образования и роста частиц.
При получении гексаферрита стронция в
промышленности в качестве исходных веществ используется оксид железа и карбонат
стронция. Стоит отметить, что лучшие магнитные параметры образцов стронциевых
гексаферритов по сравнению с бариевыми достигаются при одинаковой их стоимости.
Они также менее токсичны.
Метод
химического соосаждения
Наиболее простым методом получения высококоэрцитивных порошков гексаферритов
является метод соосаждеиия нерастворимых солей из растворов с последующей
термообработкой осадка. Для достижения необходимой дисперсности частиц
осаждение следует проводить с высокой скоростью, т.е. при сильном пересыщении,
которое может быть достигнуто при добавлении малых порций исходного раствора к
концентрированному раствору осадителя. Обычно для синтеза гексаферрита раствор
нитратов бария и железа добавляют по каплям к раствору
(
). Полученный осадок промывают водой, сушат и подвергают
термообработке при температурах 600-900°С. Коэрцитивная сила порошков достигает
5600 Э при среднем размере частиц 100-200 нм. Несмотря на сравнительно низкие
температуры синтеза, частицы в полученных порошках оказываются сильно
агрегированными, поэтому часто требуется дополнительный помол. Обычно данный
метод не позволяет в полной мере контролировать размер частиц, и распределение
частиц по размерам очень широко.
Золь-гель
метод
Требуемое количество
растворяли в дистиллированной воде и количественно осаждали
нитратом аммония. Осадок промывали водой для удаления анионов
. Полученный гидроксид железа растворяли в
лимонной кислоте и к этому раствору добавляли соль ЩЗЭ -
,
,
,
. Далее к раствору добавляли этиленгликоль и медленно нагревали до
образования геля. После этого гель подвергался соответствующей термической обработке
в печи. Во всех работах авторы брали избыток ЩЗЭ по отношению к железу, чтобы
воспрепятствовать образованию
в образцах.
R. Martinez Garcia и соавторы подвергали полученный гель термической обработке в
токе кислорода в течение нескольких часов. При этом они наблюдали формирование
гексаферрита уже при 250°С. Гексаферрит образовывался в виде частиц размером
7-12 нм. С увеличением температуры отжига размер частиц гексаферрита
увеличивался, а в образцах появлялся
. Для
сравнения авторы проводили также отжиг на воздухе, но при этом формирование
гексаферрита при низкой температуре не происходило. Так, образец отожженный на
воздухе при 400°С, содержал только
и
. Авторы полагали, что отжиг в токе
кислорода препятствовал образованию
, так как
все время удалялся из зоны реакции. Таким
образом, промежуточный продукт, для разложения которого нужна высокая
температура, не образовывался, и фаза
формировалась при низкой температуре.
Микроэмульсионый
метод
Микроэмульсиями называют коллоидные системы из двух
несмешивающихся жидкостей, состоящие из микрообластей одной или обеих
жидкостей, стабилизированных молекулами поверхностно-активных веществ. Для
синтеза гексаферритов используются микроэмульсии типа "вода в масле",
в которых капли воды, распределенные в углеводороде, выступают в качестве
микрореакторов. Метод интересен, прежде всего тем, что позволяет точно
контролировать размеры и форму частиц, а также кинетику их образования,
варьируя физико-химические свойства микроэмульсий. Основным преимуществом
метода является узкое распределение получаемых частиц по размерам. Размеры
частиц определяются размерами водных капель, которые лежат в интервале 5 - 100
нм и зависят от соотношения количеств воды и ПАВ. В типичном эксперименте к
микроэмульсии, содержащей микрокапли с растворами солей стронция и железа,
добавляют микроэмульсию с микрокаплями осадителя. Далее при столкновениях
капель происходит смешение их содержимого и выпадение осадка внутри капель.
Скорость процесса определяется природой углеводородной фазы и ПАВ. Если пленка
ПАВ на границе капель способна пропускать ОН-групны, то можно применять только
одну микроэмульсию, а осадитель добавлять непосредственно в дисперсионную
среду. Твердый осадок выделяют из коллоидного раствора центрифугированием и
тщательно промывают от углеводорода и ПАВ. Далее полученный порошок подвергают
термообработке (обычно при 950°С) для образования гексаферрита, т.к.
непосредственно в растворе он не формируется. Конечный продукт сильно
агрегирован, но состоит из ультрадисперсных частиц гексаферрита с узким
распределением по размерам. Стоит отметить, что использование ПАВ сильно
повышает стоимость конечного продукта.
Пиролиз
аэрозолей (распылительная сушка)
В данном методе раствор солей стронция и железа переводится в
состояние аэрозоля при помощи ультразвукового распылителя и пропускается через
нагретую печь, где происходит испарение растворителя и разложение солей. Схема
установки для синтеза представлена на рисунке 20.

Обычно такого воздействия оказывается недостаточно для
формирования гексаферрита, поэтому полученные порошки подвергают
дополнительному отжигу. Тем не менее, метод позволяет получать гомогенные
рентгеноаморфные прекурсоры, в которых реакция образования частиц гексафсррита
протекает уже при относительно низких температурах. Особенность метода состоит
в том, что частицы прекурсора представляют собой микросферы диаметром 0.1-5
мкм, получающиеся из капель аэрозоля при быстрой сушке. Таким образом, размер
частиц гексаферрита может быть ограничен размерами капли и толщиной оболочки
микросферы. В свою очередь, размеры капель можно варьировать путем изменения
рабочей частоты и диаметра сопла пульверизатора, а также поверхностного
натяжения раствора.
Получение
гексаферритов разложением металлоорганических комплексов
В качестве исходных веществ для получения
в работе использовались спиртовые растворы
ацетилацетонатов железа и стронция
, или этилатов железа и стронция
. Исходные вещества гидролизовались водой
и осаждались при
, поддерживаемом при помощи
. Осадок высушивали и подвергали
термической обработке при температурах 750-1200°С.
Максимальное значение коэрцитивной силы, составляющее 6700 Э,
наблюдалось в случае отжига при 900°С в течение 1 часа. Образец имел
намагниченность 62.7 э. м. е. /г при значении поля равном 17800 Э. При этом 80%
частиц гексаферрита находилось в интервале от 30 до 80 нм.
Получение
гексаферритов М-типа методом кристаллизации стекла
В основе метода лежит тот факт, что при термической обработке
стёкол возможна их кристаллизация. Получаемый материал называется
стеклокерамика и состоит из образовавшихся кристаллитов и остаточной
стеклообразной фазы, количество которой может варьироваться в зависимости от
условий синтеза. Кристаллизация стёкол интересна, прежде всего, тем, что
позволяет в широких пределах варьировать микроструктуру образующихся
кристаллитов путем подбора составов исходных стекол и условий термообработки.
Размеры и форма частиц в свою очередь оказывают решающее влияние на свойства
магнитных материалов, поэтому синтез магнитной стеклокерамики в настоящее время
пользуется значительным интересом исследователей. Стеклокерамический синтез
гексаферритов обладает рядом неоспоримых преимуществ. В процессе плавления
реагентов и образования стекла достигается гомогенизация исходных реагентов на
атомном уровне. Это особенно важно для получения наночастиц. Фазообразование
при кристаллизации стёкол может протекать значительно легче, чем при
твердофазном синтезе, причем скорость роста кристаллитов определяется
температурой. Метод позволяет проводить легирование гексаферрита при достаточно
низких температурах. Частицы могут быть распределены изолировано в немагнитной
матрице или срастаться, обеспечивая перколяцию в образце. Немагнитная матрица
может в зависимости от состава обладать различными оптическими и
полупроводниковыми свойствами, таким образом, подобный композит может найти
применение в магнитооптических и магнитополупроводниковых устройствах.
Стеклокерамические изделия могут иметь практически любую форму, доступную для технологий
формования стекла. Путем растворения немагнитной матрицы можно получать
высокодисперсные магнитные порошки. Вследствие различной химической природы
матрицы и частиц гексаферритов путем подбора соответствующего растворителя
достигается высокая степень чистоты получаемых порошков в совокупности с
отсутствием потерь конечного продукта при растворении. К недостаткам метода
можно отнести то, что получить стёкла в обычных лабораторных условиях удается в
достаточно ограниченном числе систем. К тому же, сам принцип кристаллизации
стёкол подразумевает образование многофазного материала, а предсказать фазовый
состав, долю гексаферрита и степень его легирования не всегда является
тривиальной задачей. В этом может помочь знание фазовых диаграмм, однако при кристаллизации
стёкол часто не устанавливается равновесное состояние. Стоит также отметить,
что значения намагниченности стеклокерамики существенно ниже, чем чистого
гексаферрита, что ограничивает ее применение в качестве постоянных магнитов.
Анализ и сравнение преимуществ и недостатков различных
методов получения порошков гексаферрита стронция SrFe12O19, позволяет
выделить метод кристаллизации оксидного стекла как наиболее эффективным для
получения субмикрокристаллических и нанокристаллических порошков, для приготовления
постоянных магнитов. По сравнению с другими методами (особенно химическим),
можно получить большое количество порошка с использованием установки для
быстрой закалки сплавов из жидкого состояния.
Методика
эксперимента
Общая схема получения порошков гексаферрита стронция
приведена на рис. 8:
Измерение магнитных свойств
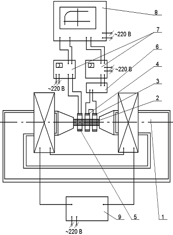
Схема установки гистерезисграфа (рис. 9):
- электромагнит типа ФЛ - 1;
- образец;
- компенсационная катушка;
- измерительная катушка;
- полевая катушка;
- мостовая схема компенсации измерительной и компенсационной
катушек;
- микровеберметр типа Ф192;
- двухкоординатный самописец;
- блок питания (выпрямитель с переключателем полярности).
Схема мельницы планетарного типа САНД-1 представлена на рис. 10:
Схемы прессования представлена на рис.11:

Результаты
экспериментов и их обсуждение
Шихта сплава # 1:
при 70
теряет
превращается в
при 433
- в
(борный ангидрит)
Подготовка шихты:
. Карбонат стронция (
) и оксид железа (
) высушивают в фарфоровом тигле 8 часов при 500
(для получения весовых форм).
. Навеску осуществляли с точностью до 0,1 мг.
. Исходные компоненты смешивали, измельчали в ступке, и смесь
отжигали в тигле в течение 4 часов при 700
.
. Спеченный продукт растирали в агатовой ступке.
. Плавка, закалка.
. Синтез образцов стеклокерамики. Отжиг при 900
1 час. Нагрев до температуры отжига с
; охлаждение на воздухе.
. Растереть стеклокерамику в агатовой ступке. Обрабатывать в
течение 30-60 мин. Травление
при 80
1 час. (несколько раз). Заканчивали
растворением промывкой осадка в дистиллированной воде.
Получение стекла в системе
После изучения фазовых соотношений в системе
были выбраны следующие номинальные составы для получения
стекол:
(х = 1, 1.5,2),
. Полученные смеси исходных веществ
отжигали при температуре 700°С в течении 4 часов с целью дегазации.
Далее перетертый порошок помещали в платиновый тигель и плавили в
печи при температуре 1150°С-1400°С в течение 1 часа. Полученный расплав
разливали на быстро вращающийся металлический барабан (установка для получения
быстро закаленных сплавов из жидкого состояния). При этом получались пластины
стекла толщиной около 0.1 мм. Таким способом были синтезированы стекла всех
составов.
С помощью рентгеноструктурного анализа определяли состояние быстро
закаленного сплава. Полученные спектры представлены на рисунке:
а)
б)
Рисунок 12 - а) дифрактограмма сплава 14 SrO-6 Fe2O3-12 B2O3 после закалки от 1250оС
б) дифрактограмма сплава 14 SrO-6 Fe2O3-12 B2O3 после кристаллизационного отжига при 850 оС,
90 мин
На рис. 12 а) видно, что спектр
полученного стекла характеризуется присутствием двух широких гало в районе
углов 2θ ~ 35 и 50 град, что свидетельствует об аморфном состоянии
закаленного образца. На рис.12 б) проведенный рентгеноструктурный анализ
показал, что аморфная фаза полностью распалась и в структуре отожженного
образца присутствует 31 об. % SrFe12O19 и 69 об. % SrB2O4.
Для получения образцов стеклокерамики
проводили термообработку стекол на воздухе в печи при нагреве образцов до
температуры отжига (900°С) со скоростью 3-10°C/мин и выдержке при этой температуре
1 час. Охлаждение на воздухе. Полученный порошок измельчается в ступке и
просеивался через сито с размером ячеек 40 мкм. Просеянный порошок подвергался
механоактивационной обработке.
Для получения нанокристаллических порошков
гексаферрита стронция использовалась мельница планетарного типа САНД-1 с
возможностью использования до 4 герметизируемых барабанов. Схема мельницы
приведена на рисунке 10. Время помола составило 2 часа. В карман с порошком
вместо толуола (C6H5-CH3), который не давал
порошку в процессе помола вступить в реакцию окисления, заливалась
дистиллированная вода.
Травление проводилось для того, чтобы
растворить борид стронция (SrB2O4) и получить чистый порошок гексаферрита.
Порошки просеивались через сито с размером
ячеек 40 мкм. Травление проводилось в 3 % растворе HCl (m=600 г) при
температуре Ттр=80 оС в течение 1часа.
По истечению часа кислота сливалась и
заливалась свежая порция. Этот процесс повторялся 2 раза для сплава 2 и 3. При
этом порошок постоянно помешивался специальной мешалкой. Порошок отделялся от
кислоты с помощью постоянного магнита, после чего порошок промывался
дистиллированной водой и сушился.
Измельченный порошок гексаферрита стронция засыпали в прессформу,
а затем спрессован на установке "ГидроПресс" при 60 кгс/см2 (предварительно
порошок в прессформе намагничивался в магнитном поле - рис.11). Далее проводили
отжиг при температуре 1050
, 30 мин.
Магнитные свойства измеряли на установке гистерезисграф при
комнатной температуре (рис.9). Погрешность определения коэрцитивной силы,
индукции и остаточной намагниченности не превышала
и
соответственно.
Выводы
В настоящей научной работе ставилась цель исследование влияния
режимов получения, термообработки и травления на структуру и магнитные свойства
порошков гексаферрита стронция SrFe12O19, полученных
методом кристаллизации оксидного стекла. На основе проведенной работы можно
сделать следующие выводы:
1. Показано, что методом кристаллизации получены
быстрозакаленные сплавы с субмикрокристаллической и аморфной структурой.
Коэрцитивная сила и индукция получились
соответственно.
2. Установлено, что после отжига быстрозакаленных
сплавов при 900 oС в их структуре сохраняются SrFe12O19 и немагнитная фаза SrB2O4. Увеличение содержания
гексаферрита приводит к повышению коэрцитивной силы и намагниченности насыщения
отожженных порошков.
3. Установлено, что измельчение в воде не сильно повлияло на
магнитные свойства образца (
), как и при толуоле (
)
Список
литературы
1. John U. C, Singru R. M., Bahadur D. Spectroscopic Studies of
Glass Ceramics with Hexagonal Barium and Strontium Ferrites. II Journal
of Materials Science 1992. V.27. P.6233-6228.
. Tanaka K., Nakahara Y., Hirao K., Soga N. Preparation and
Magnetic Properties of Glass-ceramics Containing Magnetite Microcrystals in
Calcium Iron Aluminoborate System. II Journal of Magnetism and Magnetic
Materials. 1997. V.168. №1-2. P. 203-212.
. Haneda K., Miyakawa C, Goto K. Preparation of Small Particles of
SrFe^O^ with High Coercivity by Hydrolysis of Metal-Organic Complexes. II IEEE
Transactions on Magnetics. 1987. V. MAG-23. № 5. P.3134-3136.
. Zhong W. t Ding W., Zhang N. Hong J., Yan Q., Du Y.
Key Step in Synthesis of Ultrafine BaFenOis" by Sol-gel Technique. II Journal
of Magnetism and Magnetic Materials. 1997. V.168. №l-2. P. 196-202.
. Martinez Garsia R., Reguera Ruiz E., Estevez Rams E. Structural
Characterization of Low Temperature Synthesized SrFei20|9.
II Materials Letters. 2001. V.50. №2-3. P.183-187.
. Zhang H., Yao X., Zhang L. Investigation of Low-temperature
Formation and Microwave Properties of BaFenO^ Microcrystalline Glass Ceramic by
Citrate Sol-Gel Process. II Materials Research Innovation. 2002. V.5.
№3-4. P.123-128.
. Huang J., Zhuang H., Li W. Synthesis and Characterisation of
Nano Crystalline BaFe^Oig Powders by Low Temperature Combustion. II Materials
Research Bulletin. 2003. V.38. № 1. P.149-159.
. Fang Q., Liu Y., Yin P., Li X. Magnetic Properties and Formation
of Sr Ferrite Nanoparticle and Zn, Ti/Ir Substituted Phases. II Journal
of Magnetism and Magnetic Materials. 2001. V.234. № 3. P.366-370.
. Stoner E.C., Wohlfarth E.P, Mechanism of Magnetic Hysteresis in
Heterogeneous Alloys. II Phyl. Trans. Roy. Soc. London, Ser. A 1948.
V.240. P.599-644.
. Mee CD., Jeschke J.C. Single-domain Properties in Hexagonal
Ferrites. II Journal of Applied Physics 1963. V.34. №4. P.1271-1272.
. Sato H., Umeda T. Grain Growth of Strontium Ferrite Crystallized
from Amorphous Phases. // Materials Transactions, JIM 1993. V.34. № 1, P.76-81.
. An S. Y., Lee S. W., Lee S. W., Kim C. S. Magnetic Properties of
Bai-xSrxFei20i9 Grown by a Sol-gel Method. II Journal of
Magnetism and Magnetic Materials 2002. V.242-245. P.413-415.
.
"Влияние режимов термообработки и травления на структуру и магнитные
свойства образцов гексаферрита стронция SrFe12O19, полученных методом
кристаллизации оксидных стекол" Студентка МИСиС, Мокроусова А. В.
.
Адлер Ю.П., Маркова Е.В., Грановский Ю.В. Планирование эксперимента при поиске
оптимальных условий. - М.: Наука, 1971. - 283 с.
.
Василевский Ю.А. Носители магнитной записи. - М.: Искусство, 1989. - 287 с.
.
Вентцель Е.С. Теория вероятностей. - М.: Наука, 1969. - 576 с.
.
Вентцель Е.С., Овчаров Л.А. Теория вероятностей и ее инженерные приложения. -
М.: Наука. - 1988. - 480 с.
.
Кекало И.Б., Самарин Б.А. Физическое металловедение прецизионных сплавов.
Сплавы с особыми магнитными свойствами: Учебник для вузов. - М.: - Металлургия,
1989. - 496 с.
.
Коваленко И.Н., Филиппова А.А. Теория вероятностей и математическая статистика.
- М.: Высшая школа, 1973. - 368 с.
.
Мишин Д.Д. Магнитные материалы: Учеб. пособие для вузов. - М.: Высш. шк., 1991.
- 384 с.
.
Преображенский А.А., Бишард Е.Г. Магнитные материалы и элементы: Учебник для студентов
вузов. - М.: Высш. шк., 1986. - 352 с.
.
Тикадзуми С. Физика ферромагнетизма. Магнитные характеристики и практические
применения: Пер. с яп. - М.: Мир, 1987. - 419 с.
.
Хандрих К., Кобе С. Аморфные ферро- и ферримагнетики: Пер. с нем. - М.: Мир, 1982.
- 296 с.