Фоточувствительные приборы с зарядовой связью на МДП ИС
Министерство
образования и науки Российской Федерации
Федеральное
государственное бюджетное образовательное учреждение высшего профессионального
образования
«Томский
государственный университет систем управления и радиоэлектроники»
Кафедра
электронных приборов (ЭП)
Фоточувствительные
приборы с зарядовой связью на МДП ИС
Пояснительная
записка к курсовой работе
по
дисциплине «Основы фотоники»
Выполнил
студент гр. 341
Д. И. Ример
Руководитель
Ст. преподаватель,
к.т.н.
Е. В. Саврук
РЕФЕРАТ
Индивидуальное задание 38 с., 11 рис., 13
источников, 1 таблица.
Фоточувствительные приборы с зарядовой связью
(ФПЗС) на МДП ИС. МОП емкость, перенос заряда в ФПЗС, ПЗС структура, схема
организации ПЗС матриц, характеристики ПЗС матриц, термоэлектрический элемент
Пельтье.
Объект исследования - фоточувствительные приборы
с зарядовой связью.
В процессе работы проведено изучение строения
ПЗС матриц на МДП структурах, исследованы их характеристики, структуры, шумы.
Работа выполнена в текстовом редакторе Microsoft
Word 2007, с использованием MathCad 14.
ABSTRACT
task 38 p., 11 figures, 13 sources,
1 table.charge coupled devices (PCCD) on the MIS IM. MOS capacity, the charge
transfer in PCCD, CCD structure, organization scheme of the CCD matrix,
specifications CCD matrices, thermoelectric Peltier element. of research -
photosensitive charge coupled devices. the process of work carried out to study
the structure of the CCD matrices in MOS structures, investigated, their
characteristics, structure, noises.work is done in Microsoft Word 2007, using
MathCad 14.
ВВЕДЕНИЕ
Приборы с зарядовой связью (ПЗС) относятся к тем
изделиям, значимость которых непрерывно возрастает и, несомненно, будет
возрастать в дальнейшем вне зависимости от появления новых разновидностей интегральных
схем и быстрого прогресса традиционных больших интегральных схем (БИС) и
сверхбольших интегральных схем (СБИС).
Устойчивость положения ПЗС в общей иерархии
микроэлектронных приборов можно объяснить плодотворностью, «жизнеспособностью»
основополагающей идейной концепции ПЗС, заключающейся в том, что в этих
приборах информация представляется в виде зарядовых пакетов, которые
формируются в приповерхностной области кристалла, управляемо перемещаются и
требуемым образом преобразуются (делятся, сливаются, нормируются и прочее).
Отсюда вытекает функциональная широта ПЗС,
которая проявляется в способности оперировать (хранение, обработка) аналоговыми
и цифровыми величинами, а также в возможности параллельного ввода больших
массивов информации, в том числе соответствующих двумерным изображениям.
Фоточувствительные приборы с зарядовой связью
нашли применение в аппаратуре широкого спектра: в промышленных ТВ-камерах;
робототехнических комплексах и системах технического зрения; прецизионных
измерителях координат; сборочном оборудовании; оптических и радиотелескопах;
бортовой космической аппаратуре; системах ввода графической информации в ЭВМ и
многих др. [1].
Цель данной курсовой работы исследование и
проведение анализа устройства и применения фоточувствительных приборов с
зарядовой связью (ФПЗС) на метало-диэлектрик-полупроводниковых интегральных
схемах (МДП ИС). Актуальность данной работы определяется широко
распространённым применением данных структур в таких отраслях, как микро
биофизика, химическая физика, ядерная физика, астрофизика и т.д.
. ПРИБОРЫ С ЗАРЯДОВОЙ СВЯЗЬЮ
.1 Принцип действия
Прибор с зарядовой связью (ПЗС) представляет
собой ряд простых МДП-структур (металл-диэлектрик-полупроводник),
сформированные на общей полупроводниковой подложке таким образом, что полоски
металлических электродов образуют линейную или матричную регулярную систему, в
которой расстояния между соседними электродами достаточно малы (рис. 1.1). Это
обстоятельство обусловливает тот факт, что в работе устройства определяющим
является взаимовлияние соседних МДП-структур.
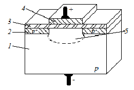
- кристалл кремния; 2 - вход - выход; 3 -
металлические электроды; 4 - диэлектрик.
Рисунок 1.1 - Структура ПЗС
Принцип действия ПЗС заключается в следующем.
Если к металлическому электроду ПЗС приложить отрицательное напряжение, то под
действием возникающего электрического поля электроны, являющиеся основными
носителями в подложке, уходят от поверхности вглубь полупроводника, у
поверхности же образуется обедненная область, которая представляет собой
потенциальную яму для неосновных носителей - дырок. Попадающие каким-либо
образом в эту область дырки притягиваются к границе раздела
диэлектрик-полупроводник и локализуются в узком приповерхностном слое [2].
Если к соседнему электроду приложить
отрицательное напряжение большей амплитуды, то образуется более глубокая
потенциальная яма и дырки переходят в нее. Прикладывая к различным электродам
ПЗС необходимые управляющие напряжения, можно обеспечить как хранение зарядов в
тех или иных приповерхностных областях, так и направленное перемещение зарядов
вдоль поверхности (от структуры к структуре).
Введение зарядового пакета (запись) может
осуществляться либо p-n-переходом расположенным, например, вблизи крайнего
ПЗС-элемента, либо светогенерацией.
Вывод заряда из системы (считывание) проще всего
также осуществить с помощью p-n-перехода. Таким образом, ПЗС представляет собой
устройство, в котором внешняя информация (электрические или световые сигналы)
преобразуется в зарядовые пакеты подвижных носителей, определенным образом
размещаемые в приповерхностных областях, а обработка информации осуществляется
управляемым перемещением этих пакетов вдоль поверхности. Очевидно, что на
основе ПЗС можно строить цифровые и аналоговые системы. Для цифровых систем
важен лишь факт наличия или отсутствия заряда дырок в том или ином элементе
ПЗС, при аналоговой обработке имеют дело с величинами перемещающихся зарядов
[2].
Естественно, что заряд, введенный в
МДП-структуру, не может храниться в ней неограниченно долго. Процесс
термогенерации электронно-дырочных пар в объеме полупроводника и на границе
раздела диэлектрик-полупроводник ведет к накоплению в потенциальных ямах
паразитных зарядов и, следовательно, к искажению зарядовой информации, а с
течением времени и к полному ее «стиранию». Это время может достигать сотен
миллисекунд и даже десятков секунд, но, тем не менее, оно конечно и определяет
существование нижней граничной частоты. Таким образом, работа прибора основана
на нестационарном состоянии МДП-структуры, и ПЗС являются элементами
динамического типа.
- полупроводник; 2 - стоп-канальная область; 3 -
оксид; 4 - электрод; 5 - обедненная область.
Рисунок 1.2 - МОП-емкость
При всем многообразии приборов с переносом
зарядов (а на сегодняшний день насчитывается не один десяток видов ПЗС, включая
фоточувствительные приборы с зарядовой связью (ФПЗС), запоминающие устройства
на приборах с зарядовой связью (ПЗС ЗУ) и аналоговые ПЗС) основой большинства
из них является МОП-емкость (металл-окисел-полупроводник). Разработаны ПЗС, в
которых используется емкость pn-перехода или барьера Шоттки, однако,
МОП-емкость используется наиболее широко, и на ее примере удобно объяснить
работу ПЗС. На рис. 1.2 изображена МОП-емкость, сформированная на
полупроводнике р-типа. Состоит МОП-емкость из электрода, который может быть
изготовлен из металла или сильнолегированного поликремния, диэлектрика и
полупроводниковой подложки. Если подложкой служит монокристаллический кремний,
диэлектриком в большинстве случаев является термически выращенный диоксид
кремния SiO2.
Толщина слоя оксида кремния мала, всего 0,05-0,1
мкм, так как при большей толщине диэлектрика проникновение внешнего поля в
подложку ослабляется управление свойствами МОП-емкости становится затруднительным
[1].
1.2 Зарядовая связь
Изолированную МОП-емкость можно, прикладывая
смещение соответствующей величины и полярности, привести в нестационарное
состояние глубокого обеднения, т.е. создать потенциальную яму и осуществить
процесс накопления и хранения зарядового пакета. Для передачи зарядового пакета
из одной потенциальной ямы в другую необходимо сблизить МОП-емкости настолько,
что бы их электрические поля влияли друг на друга. В этом случае можно говорить
о зарядовой связи между МОП-емкостями. Для накопления заряда и формирования
зарядового пакета на МОП-емкость достаточно подать постоянное обедняющее
смещение [3].
Перенос зарядов из одной емкости в другую,
связанной с нею зарядовой связью, требует переключения (тактирования)
электродов. На рис. 1.3,а показаны две МОП-емкости с типичными размерами
электродов 4-10 мкм и зазоров между ними 0,2-1 мкм. На электроды подают
импульсное смещение, характеризуемое периодом T и двумя уровнями: высоким (или
верхним) уровнем и низким (или нижним) уровнем (рис. 1.3,б).
а - сечение; б - импульсные смещения, подаваемые
на электроды; в - потенциальная яма образована под левым электродом и заполнена
зарядом; г - пустая потенциальная яма, образованная под правым электродом; д -
перенос зарядов самоиндуцированным дрейфом; е - перенос зарядов краевым полем;
ж - перенос зарядов диффузией.
Рисунок 1.3 - Две МОП-емкости, связанные
зарядовой связью
Пусть в некоторый начальный момент на левый
электрод подан импульс с высоким уровнем (10-20 В), на правый - с низким (0-10
В). Под левым электродом образовалась глубокая потенциальная яма, дно которой
ниже дна правой ямы на Δφ
(рис. 1.3,в).
Следовательно, в левую яму можно поместить
зарядовый пакет не более чем Q ≈ CД∙AЭ∙Δφ,
где АЭ - площадь электрода, Сд = eоeд/dд - емкость МДП-конденсатора, e0, eд -
диэлектрические проницаемости вакуума и диэлектрика соответственно, dд -
толщина диэлектрика.
В момент t1 производится тактирование: левый
электрод переключается на низкий уровень смещения, а правый - на высокий. На
рис. 1.3.г приведена гипотетическая картина этого момента, когда справа
подготовлена глубокая пустая яма, а носители заряда из поднявшейся левой ямы
еще не начали двигаться. Вслед за этим начнется перенос, который проходит три
последовательных стадии (рис. 1.3.д, е, ж), связанные с различными механизмами.
В конце концов, зарядовый пакет оказывается под правым электродом [3].
Различают три физических механизма, определяющих
перенос зарядов:
) самоиндуцированный дрейф;
) дрейф под действием краевого поля;
) тепловая диффузия носителей заряда.
В начальной фазе переноса, когда зарядовый пакет
велик (сравним с емкостью ямы), перенос происходит просто из-за
электростатического расталкивания носителей - инверсионных электронов. Как
только часть носителей уходит в соседнюю яму, появляется градиент плотности
заряда (рис. 1.3,д), возникает пропорциональное этому градиенту поле, которое
вызывает ток носителей или самоиндуцированный дрейф. По мере уменьшения
зарядового пакета силы расталкивания ослабевают и самоиндуцированный дрейф
замедляется. Его сменяет дрейф под действием краевого поля, не зависящий от
градиента плотности заряда и наличия самого заряда. Краевое поле обусловлено
разностью потенциалов под соседними электродами и зависит от амплитуды тактовых
импульсов, толщины слоя диэлектрика, уровня легирования и длины электродов.
Точный расчет краевого поля сложен, поскольку
приходится решать двумерную задачу: потенциал изменяется не только вглубь
подложки, но и вдоль поверхности. Дно потенциальной ямы в отдающей МОП-емкости
наклоняется в сторону вытекания заряда под углом, соответствующим напряженности
краевого поля.
После того как краевое поле перестает влиять на
перенос зарядов, доминирующим механизмом переноса оставшегося весьма малого
числа носителей заряда становится тепловая диффузия. Диффузионная стадия
является самой медленной и поэтому определяет весь процесс переноса, так как
надо обеспечить максимально полное перемещение информационного заряда в
соседнюю потенциальную яму [3].
.3 Процессы, протекающие в ФПЗС
В ФПЗС выделены четыре способа ввода оптической
информации:
) непосредственный оптический ввод со стороны
электродов;
) непосредственный оптический ввод с обратной
стороны подложки;
) оптический ввод с использованием
фоточувствительного слоя;
) фотоэлектронным преобразованием.
Для оптического ввода могут быть использованы
внутренний и внешний фотоэффекты. Внутренний фотоэффект возникает при
поглощении фотонов в полупроводнике и генерации в результате этого носителей
заряда. Возможны два основных механизма преобразования:
) собственный фотоэффект, заключающийся в
образовании поглощенным фотоном пары электрон (в зоне проводимости) и дырка (в
валентной зоне). Такой механизм имеет место в том случае, если энергия фотона
больше ширины запрещенной зоны;
) примесный фотоэффект, возникающий в результате
возбуждения донора или акцептора поглощенным фотоном и образования одного
носителя - электрона в зоне проводимости или дырки в валентной зоне.
Для появления примесного фотоэффекта достаточно,
чтобы энергия фотона была больше энергии возбуждения примеси (но меньше ширины
запрещенной зоны)[4].
Кремниевые ФПЗС, работающие в видимой области,
используют исключительно собственный фотоэффект, обеспечивающий высокую
эффективность преобразования оптической формы изображения в зарядовую.
Излучение, прежде чем поглотиться в полупроводнике, проходит довольно сложную
систему отражающих и поглощающих слоев.
Наиболее широко используется технология, в
которой электроды, выполненные в разных слоях поликремния, перекрываются друг с
другом. Разделяющие их зазоры уменьшаются при этом до толщины изолирующего
межфазного оксида, т. е. до 0,1-0,2 мкм, так что эффективность переноса
перестает расти от величины зазора.
Многослойная технология довольно четко делится
на два подвида: двухслойную, при которой в одном слое поликремния формируют
электроды разных фаз, и трехслойную, при которой в каждом слое или, по крайней
мере, в двух слоях поликремния формируют электроды одной и той же фазы [5].
Далее в работе рассмотрен технологический
процесс изготовления ФПЗС второго поколения, отличающиеся высокой
эффективностью переноса, быстродействием, простотой управления.
Для обеспечения таких качеств необходимо:
сформировать объемный канал, однородный или со встроенными областями
потенциальных барьеров; создать локально полевой оксид, снижающий паразитные
емкости - операции, определяющие важнейшие параметры ФПЗС.
Выполнение описанных выше задач и приведет
главной цели - к созданию высококачественного прибора, который будет
конкурентоспособен и востребован на современном рынке. Начать следует с выбора
материалов, затем разработать технологический маршрут изготовления,
проанализировать технологические операции и провести теоретический расчет
основных технологических операций.
.4 Выбор материалов
.4.1 Исходные кремниевые пластины
Оценку и выбор проводят по следующим
характеристикам:
плотность «врожденных» дефектов;
неоднородность распределения удельного
сопротивления и плотности центров генерации-рекомбинации;
механическая прочность как показатель
вероятности образования дислокаций, линий скольжения, а также поломки пластин;
способность к образованию внутреннего геттера;
степень образования дефектов при технологических
термообработках.
Зонный кремний. Основные недостатки: сильно
выраженная неоднородность удельного сопротивления и низкая механическая
прочность. Достоинства: низкая концентрация врожденных дефектов. Зонный кремний
наиболее чувствителен к технологическим термообработкам, в нем появляются
дислокации и дефекты упаковки (скорее всего, это связанно с низкой прочностью).
Кремний, выращенный методом Чохральского в
магнитном поле. Обладает максимальными механической прочностью и однородностью,
устойчив к термообработкам, хотя склонен к образованию дефектов упаковки из-за
трудности внутреннего геттерирования.
Концентрация кислорода достаточна для
ограничения роста дислокаций, но мала для того, чтобы создать хороший оксидный
геттер, поэтому рекомендуется использовать дополнительное внешнее
геттерирование. По плотности врожденных дефектов сравним с зонным кремнием.
Кремний, выращенный методом Чохральского, с
оксидным геттером. Возможно, такой кремний является наиболее подходящим для
ФПЗС, поскольку объединяет высокую механическую прочность и сравнимую низкую
неоднородность с устойчивостью к термообработкам, обусловленный внутренним
геттером.
Оптимальная концентрация межузельного кислорода
позволяет достичь высокой плотности оксидных преципитатов в подложке при ширине
бездефектной зоны примерно 50 мкм в результате трехступенчатого исходного
геттерирования: 3 ч при 1000°C в азоте; 10 ч при 650°C в азоте и 4 ч при 1100°C
в кислороде [1].
.4.2 Подзатворная диэлектрическая система
Используемый в ПЗС слой термического оксида
должен быть весьма высокого качества, кроме того, оксид должен быть свободным
от проколов и локальных нарушений диэлектрических свойств. Обычный метод
окисления в сухом кислороде не обеспечивает требуемых характеристик оксида, и в
технологии ПЗС повсеместно используют окисление в кислороде с добавкой
галогенов (точнее, галогеноводородов). Известны многочисленные способы введения
вместе с кислородом хлора, газообразного хлористого водорода, четыреххлористого
углерода, трихлорэтилена и т.д. Рассмотрим основные достоинства метода
окисления с добавлением галогеноводородов:
) уменьшение числа дефектов в оксиде и улучшение
диэлектрических свойств. Добавление соединений водорода с галогенами позволяет
существенно понизить плотность «слабых» участков в оксиде.
Если считать, например, слабыми участками
локальные МОП-структуры с пробивным напряжением, меньшим 80% от предельного
пробивного напряжения данного оксида, то плотность подобных дефектных структур
снижается со 100 см-2 до 10-12 см-2 при добавлении 1-3% галогеноводородов;
) увеличение скорости окисления - примерно в 1,5
раза возрастает скорость окисления при добавлении галогенов. При этом
увеличивается параболическая составляющая, характеризующая процесс диффузии
реагентов сквозь оксид;
) очистка реакционных камер, труб и другой
кварцевой оснастки.
Предварительная высокотемпературная и достаточно
длительная (10 часов) обработка кварцевой трубы в кислороде с 10% добавкой
хлористого водорода на порядок понижает содержание натрия в оксидах,
выращиваемых затем в чистом кислороде.
При переходе на низкотемпературную технологию
стали шире применять пирогенное окисление в смеси кислорода и водорода с
добавками хлористого водорода.
Оксиды, полученные пирогенным способом, намного
стабильнее и менее дефектны, нежели оксиды, выращенные в атмосфере кислорода с
добавкой паров воды из внешнего питателя.
В технологии ФПЗС второго поколения на
подзатворный оксид осаждают слой нитрида кремния. Нитрид кремния выращивают в
горизонтальном реакторе с пониженным давлением из смеси дихлорсилана и аммиака
при температуре около 830°C. Для стабилизации выращенного нитридного слоя его
следует подвергнуть уплотнению - отжигу в окислительной среде при 900-1000°C
[1].
.4.3 Поликремниевые слои и система
поликремний-оксид-поликремний
К поликремниевым слоям, используемым в качестве
электродов, предъявляются следующие требования:
) равномерность по толщине (на диаметре
пластины, от пластины к пластине и между партиями пластин);
) зеркальная поверхность без включений,
мелкозернистая структура.
Включения приводят к нарушению оксида на
поликремнии, к утечкам и коротким замыканиям в межэлектродной изоляции, а от
размеров зерен зависит уровень легирования и качество травления при
фотолитографии; высокая адгезия осажденного слоя к оксиду;
) качество процесса выращивания поликремниевых
слоев следует оценивать комплексно, с учетом характеристик получаемых
МОП-структур (электрод-оксид-кремний).
Подбор оптимальных режимов выращивания проводят,
измеряя не только толщину слоев, но и такие параметры, как поверхностное
сопротивление после легирования, напряжение плоских зон и время релаксации
тестовых МОП-структур, степень растравления при фотолитографии;
) при легировании поликремниевых слоев
стремятся, как правило, достичь минимума поверхностного сопротивления, если
речь идет об изготовлении крупноформатных матричных ФПЗС, в которых длина
электрода может составлять 10-15 мм при ширине 5-8 мкм. Наименьшее
сопротивление удается получить, комбинируя ионное легирование и диффузию;
) зернистая структура поликремния играет
решающую роль в формировании многослойной системы
поликремний-оксид-поликремний, являющейся основой любого ПЗС. На рис. 1.4
показано схематически строение слоя поликремния после нанесения (а),
легирования (б) и окисления (в, г). В исходном слое поликремния размеры зерен
лежат в пределах 100-200 нм. Ухудшение качества поликремниевого слоя
проявляется в росте шероховатости. После осаждения поликремния на его
поверхности могут наблюдаться шероховатость и выпуклости. Последние вызваны
аномалиями в процессе роста и сохраняются при легировании и окислении,
повторяясь на верхней границе оксида. Размеры зерен после легирования фосфором
увеличиваются до 300-500 нм; легирование бором, напротив, вызывает уменьшение
размеров зерен [1].
Рисунок 1.4 - Схематическое изображение
структуры поликремния после нанесения (а), легирования фосфором (б) и окисления
(в, г)
1.4.4 Материал контактов
Металл, используемый для получения контактов,
должен отвечать следующим требованиям: фоточувствительный
заряд интегральный контакт
) иметь высокую проводимость с удельным
поверхностным сопротивлением Rсл ≤ 0,04 Ом;
) обеспечивать нормальное функционирование
межсоединений при плотностях тока j ~ (1÷3)∙105
А/см2;
) обеспечивать омические контакты с n- и
р-областями кремния;
) быть технологичным при нанесении,
избирательном травлении и термообработке, а также при создании электрических
соединений с внешними выводами корпуса;
) не подвергаться коррозии, а также окислению,
способному заметно повысить сопротивление контакта;
) не образовывать химических соединений с
кремнием, снижающих механическую прочность контактов и проводимость;
) иметь высокую адгезию к пленке SiO2;
) быть прочным, не подверженным механическим
повреждениям (вмятинам, царапинам) и разрушению при циклических изменениях
температуры.
Металл, который отвечал бы всем перечисленным
требованиям, подобрать нельзя. Наиболее полно им отвечает высокочистый алюминий
марки А99 [1].
2. ТЕХНОЛОГИЯ ИЗГОТОВЛЕНИЯ ФПЗС
Базовой структурой ФПЗС является массив
перекрывающихся электродов (затворов), к которым прикладываются импульсы
напряжений, обеспечивающие хранение и перенос сигнальных зарядов в нижележащем
полупроводнике. Электроды отделены от полупроводника тонким диэлектрическим
слоем, и каждый из них, по сути, представляет собой хорошо известную структуру
металл-окисел-полупроводник (МОП-конденсатор).
Самый первый ПЗС и представлял собой аналоговый
регистр сдвига на 8 элементов, изготовленный по p-МОП технологии с
молибденовыми затворами, разделёнными 2-х микронными зазорами. Изготовили его в
1970 г. сотрудники фирмы Bell (США) У. Бойл и Дж. Смит, исследуя возможность
создания электрического аналога схем на цилиндрических магнитных доменах в МОП
структурах. Они предложили принцип зарядовой связи и продемонстрировали его на
этом регистре экспериментально[6] .
Технология ФПЗС с поверхностным p-каналом
исчерпала свои возможности, когда потребовались приборы, работающие с частотой
более 10 МГц и потерями заряда менее 10-4 на один перенос. Радикальным
улучшением технологии ПЗС стало предложенное в 1974 г. К. Секеном и М.
Томпсеттом из Bell Labs использование электродов из поликристаллического
кремния, прозрачного почти во всём видимом диапазоне и сокративших
межэлектродные зазоры с 2-х до 0,2 мкм. Недостатки же приборов, связанные с
поверхностным переносом заряда, удалось устранить инженерам фирмы Philips, в
1972 году предложившим ПЗС с объёмным каналом. Эти решения оказались настолько
удачными, что с тех пор все ПЗС выпускаются только с объёмным каналом переноса
заряда и поликремневыми затворами. От поверхностного объёмный канал переноса
отличается тем, что в приповерхностной области кремниевой подложки создаётся
тонкий (порядка 0,3 - 0,5 мкм) слой с типом проводимости, противоположным
подложке, и с концентрацией примеси такой, чтобы он мог полностью обедняться
при подаче управляющих напряжений на, расположенные над ним поликремниевые
затворы.
Сигнальный заряд локализуется в некотором
отдалении от границы раздела окисел-полупроводник, что полностью устраняет
влияние поверхностных состояний на процесс переноса заряда, обеспечивая
эффективность переноса 0,999995 на частотах до 40 - 50 МГц.
Выбор структуры ПЗС и технологии изготовления в
каждом конкретном случае являет собой компромисс. Сложная форма управляющих
импульсов, минимально возможный размер элемента, простота технологии и процент
выхода годных - вот некоторые из факторов, влияющих на окончательное решение;
имеет также значение ранее накопленный технологический опыт. Следовательно,
можно заключить, что не существует универсальных структур и процессов,
подходящих для любого применения и любого предприятия. Более того, выбранная
технология приборов должна постоянно совершенствоваться в свете общих
достижений кремниевой планарной технологии [7].
3.ПОСТАНОВКА ЗАДАЧИ
Цель данного курсовой работы исследование,
проведение анализа устройства и применения фоточувствительных приборов с
зарядовой связью (ФПЗС) на метало-диэлектрик-полупроводниковых интегральных
схемах (МДП ИС) с числом элементов 2048х2048, размером ПЗС матрицы 10х10 мм,
спектральный диапазон 0,4 - 0,9 мкм. Для достижения указанной цели необходимо
решить следующие задачи: изучить принцип работы и схемы организации ФПЗС,
составить основные характеристики ФПЗС используя исходные данные, выбрать
систему охлаждения ФПЗС матрицы, рассчитать шумы ФПЗС, определить области
применения.
4. ПРАКТИЧЕСКАЯ ЧАСТЬ
.1 Схемы организации и характеристика ФПЗС
Матричные фоточувствительные приборы с зарядовой
связью имеют два основных типа организации матричного массива: с кадровым
переносом - КП и с межстрочным переносом - МП.
Матричная структура с кадровым переносом
образована совокупностью вертикальных регистров ПЗС и, в общем случае, имеет
одну фоточувствительную область и выходной сдвиговый регистр с устройством
вывода информации (рис. 4.1 а). Такая матричная структура носит название
полнокадровая (ПК), в английской аббревиатуре (full frame-FF), и находит
достаточно широкое применение при регистрации неподвижных или мало подвижных
изображений. Преимуществом такой организации является достаточная простота
конструкции, основной недостаток- необходимость механического затвора,
перекрывающего световой поток на время считывания накопленного кадра [8].
Если к фоточувствительной секции добавить ещё
одну такую же секцию, но экранировать её от света, то мы получим матрицу с
кадровым переносом (КП) - frame transfer (FT). Такая матрица содержит две
расположенные друг под другом секции: накопления (СН) и хранения (СХ) и
выходной сдвиговый регистр с устройством вывода информации (рис. 4.1 б).
Принцип действия матричного ФПЗС с КП удобно рассмотреть на примере ТВ -
режима. В течение времени, равного примерно одному полю кадровой развертки, во
всех элементах СН происходит синхронное накопление фотогенерированных зарядов.
Затем, во время обратного хода кадровой
развертки, происходит быстрый параллельный во всех столбцах матрицы перенос
зарядов из СН в СХ. В следующем поле в СН изменением управляющих напряжений
смещается центр накопления на полшага матрицы по вертикали, т.е. обеспечивается
чересстрочность разложения, а из СХ производится построчный перенос зарядов в
горизонтальный регистр (ГР) с последующим выводом заряда и преобразованием его
в выходном устройстве (ВУ) в видеосигнал. Основное достоинство по сравнению с
конструкцией с межстрочным переносом: вся площадь секции накопления является
фоточувствительной, т. е. коэффициент заполнения (fill factor) равен 100%. Эта
особенность выводит приборы с КП на первое место везде, где требуется высокая
чувствительность.
Основным недостатком матриц с КП является
высокий смаз изображения, возникающий при переносе изображения с секции
накопления в секцию памяти. Кадровый перенос занимает до 10% периода кадра, во
время КП секция накопления остаётся открытой для света и яркие участки изображения
успевают дать вклад в чужой зарядовый пакет даже за то короткое время, когда он
проходит через них и происходит смазывание изображения, что является особенно
критичным для приёма цветного изображения [8].

а)
б)
Рисунок 4.1 - Конструкция матриц ФПЗС с
переносом кадра
Радикально проблема смаза изображения решается в
ФПЗС с межстрочным переносом (МП) - interline transfer (IT). В отличие от
матриц с КП, функции накопления заряда и его переноса здесь разделены.
Матричная структура с межстрочным переносом (рис. 4.2 а) может быть
представлена образованной из матрицы с КП путем вдвигания экранированных от света
столбцов СХ между столбцами СН. В отличие от матриц с КП, где ПЗС ячейка
выполняет поочерёдно функции накопления и переноса (т.е. они разделены во
времени), матрицы с МП имеют пространственное разделение этих функций.
В такой структуре перенос кадра из секции
накопления в экранированные от света области хранения происходит за один такт,
занимающий время не более 1 мкс. Изображение следующего кадра (в виде картины
зарядовых пакетов) накапливается в «очищенных от заряда» фотодиодах.
Приёмники с межстрочным переносом работают
достаточно просто, но имеют сложную конструкцию ячейки и уменьшенную фоточувствительную
площадь (за счёт встроенных вертикальных каналов переноса, которые необходимо
экранировать от света). Особенностями этих приборов являются:
фотодиодные ячейки накопления с удвоенной
емкостью за счет слоя аккумуляции дырок на их поверхности;
встроенное под фотодиодами вертикальное
устройство антиблуминга в виде n-p-n структуры с предельно низким уровнем
легирования области p-кармана, обеспечивающим возможность работы в режиме
электронного затвора;
двуполярное трехуровневое управление вертикальными
4-фазными регистрами матричной области, работающими в режиме двойной
синхронизации, обеспечивающее параллельный перенос информации из фотодиодов без
импульсной активации отсутствующих в конструкции фотозатвора и разрешающего
затвора;
-фазный выходной регистр.
Смаз изображения в матрице ФПЗС с МП составляет
величинe порядка 0,1 %, что уже является вполне допустимым для создания
цветного изображения. Ещё больше уменьшить смаз изображения при переносе заряда
позволяет конструкция ФПЗС со строчно-кадровым переносом (СКП) -
frame-interline transfer (FIT), приведённая на рис. 4.2 б. Несмотря на то, что
заряд переносится в экранированных от света вертикальных сдвиговых регистрах,
за счёт диффузии к нему во время переноса добавляется фоновый заряд, приводящий
к смазу.
Если к матрице с МП добавить экранированную от
света секцию хранения, то можно с достаточно высокой частотой 1-2 МГц перенести
в неё из вертикальных регистров переноса матричный массив информации, устранив
таким образом и диффузионную составляющую смаза. Таким образом в матрицах СКП
можно уменьшить смаз до значений 0,01- 0,005%.
К недостаткам матриц с межстрочным переносом
относится существенно меньшая площадь фоточувствительного элемента в сравнении
с матрицами с переносом кадра. Фактор заполнения в матрицах с МП или СКП
составляет 35-40 % по сравнению с матрицами с КП, так как более половины
площади фоточувствительной поверхности ячейки закрыто от света за счёт
встроенных в неё вертикальных регистров переноса.
Для компенсации этой особенности конструкции
матриц МП на фоточувствительную область матрицы наносится массив микролинз,
собирающих фотоны со всей площади ячейки. Эффективность сбора фотонов за счёт
применения микролинзового растра увеличивается на 30 - 40 % [8].

а) б)
Рисунок 4.2 - Конструкция матриц ФПЗС с
межстрочным переносом
Основные технические характеристики типовой
ФПЗС-матрицы:
Тип подложки: кремниевая;
Диапазон изменения времени накопления: 100 мкс …
20 мс;
Тип переноса: межстрочный;
Напряжение на регистрах переноса: +5 В;
Напряжение на затворе узла считывания: +5 В;
Число активных элементов: 2048 х 2048;
Размеры одного фоточувствительного элемента 4,88
мкм х 4,88 мкм;
Размеры кристалла: 10,0 мм х 10,0 мм;
Темновой видеосигнал: Uт = 2 мВ;
Диапазон рабочих температур: -10 … + 60 °С;
Спектральная характеристика ФПЗС матрицы
представлена на рисунке 4.3.
Рисунок 4.3 - Спектральная характеристика ФПЗС
матрицы
где λ - длина
волны падающего излучения;
η(λ) - квантовая
эффективность, представляющая собой отношение среднего числа фотоэлектронов nф,
обусловленных поглощением среднего числа фотонов Nф, к числу этих фотонов:
(4.1)
Среднее число фотоэлектронов, образующихся в
одном элементе ФПЗС (МДП-конденсаторе) в единицу времени под воздействием
падающего монохроматического потока Фе,l(λ),
будет определяться выражением:
(4.2)
где h = 6,626 ×10-34 Дж*с
- постоянная Планка, с = 3*108 м/с - скорость света, νt
- временная частота света, τ(λ)
- спектральная плотность коэффициента пропускания материалов, через которые
проходит входное излучение, прежде чем попасть в полупроводник [9].
4.2 Охлаждение
Для охлаждения применяется модуль Пельтье
термоэлектрический (микромодуль). В основе работы элементов Пельтье лежит
контакт двух токопроводящих материалов с разными уровнями энергии электронов в
зоне проводимости. При протекании тока через контакт таких материалов, электрон
должен приобрести энергию, чтобы перейти в более высокоэнергетическую зону
проводимости другого полупроводника. При поглощении этой энергии происходит
охлаждение места контакта полупроводников. При протекании тока в обратном
направлении происходит нагревание места контакта полупроводников, дополнительно
к обычному тепловому эффекту.
При контакте металлов эффект Пельтье настолько
мал, что незаметен на фоне омического нагрева и явлений теплопроводности.
Поэтому при практическом применении используются контакт двух полупроводников.
Элемент Пельтье состоит из одной или более пар
небольших полупроводниковых параллелепипедов - одного n-типа и одного p-типа в
паре (обычно теллурида висмута, Bi2Te3 и германида кремния), которые попарно
соединены при помощи металлических перемычек. Металлические перемычки
одновременно служат термическими контактами и изолированы непроводящей плёнкой
или керамической пластинкой. Пары параллелепипедов соединяются таким образом,
что образуется последовательное соединение многих пар полупроводников с разным
типом проводимости, так чтобы вверху были одни последовательности соединений
(n->p), а снизу противоположные (p->n). Электрический ток протекает
последовательно через все параллелепипеды. В зависимости от направления тока
верхние контакты охлаждаются, а нижние нагреваются - или наоборот. Таким
образом, электрический ток переносит тепло с одной стороны элемента Пельтье на
противоположную и создаёт разность температур (рис. 4.4) [10].
Рисунок 4.4 - Термоэлектрический микромодуль
Пельтье
Если охлаждать нагревающуюся сторону элемента
Пельтье, например при помощи радиатора и вентилятора, то температура холодной
стороны становится ещё ниже. В одноступенчатых элементах, в зависимости от типа
элемента и величины тока, разность температур может достигать приблизительно 70
К.
В данной работе в качестве элемента охлаждения
был выбран однокаскадный стандартный термоэлектрический модуль Пельтье (рис.
4.5):
|
Обозначения:
PE - N - S - h PE - наименование типа (Peltier element); N - количество пар
термоэлементов; S - поперечное сечение ветви; h - высота ветви термоэлемента.
|
Стандартный
набор опций: Керамическая пластина из AL2O3(96%); Tраб < 80°C; Без
герметизации; Без металлизации.
|
Рисунок 4.5 - Однокаскадные стандартные ТЭМ
Таблица 4.1 - Технические характеристики
PE-017-10-13
|
Наименование
|
Imax,
А
|
Umax,
В
|
Pcmax,
Вт
|
ΔTmax,
К
|
A,
мм
|
B,
мм
|
H,
мм
|
Rac,
Ом (20°C)
|
|
PE-017-10-13
|
6,0
|
2,1
|
7,6
|
72
|
10,0
|
10,0
|
3,1
|
0,29
|
Все параметры указаны для температуры горячей
стороны Т=298 К [11].
В таблице использованы следующие обозначения: ,
Umax, Pc max - максимальные ток, напряжение на элементе и максимальная мощность
соответственно (с точностью ± 5%); , B - ширина и длинна элемента (± 0,2 мм); -
высота элемента (± 0,02 мм); ас - сопротивление элемента (± 10%).
.4 Шумы ФПЗС
Рассмотрим собственные шумы ФПЗС: фотонные шумы,
шумы темнового тока и шумы переноса. Уровень шумов ФПЗС принято оценивать
среднеквадратическим числом шумовых электронов N , представляющих собой
среднеквадратическое отклонение числа носителей в каждом зарядовом пакете,
переносимом в ФПЗС.
Природу фотонного шума составляют флуктуации
квантов в световом потоке, облучающем фоточувствительную поверхность. За
фотонный шум можно принять среднеквадратическое значение числа фотоэлектронов
Nph , накопленных на элементе за полное время накопления, т.е. за время кадра
или полукадра. Тогда в расчете на один зарядовый пакет [12]:
(4.1)
Рассчитаем N0 и Nф:
чем выше освещенность, тем менее
заметен фотонный шум; чем освещенность ниже, тем он более заметен (рисунок
4.6).
Рисунок 4.6 - Зависимость количества
квантов упавших на электрод и шумовых квантов от освещенности
фотопреобразователя
Темновой ток, являющийся результатом
термической генерации носителей заряда, заполняющих обедненную область,
сопровождается дополнительными дробовыми шумами, уровень которых в расчете на
зарядовый пакет можно определить по формуле:
(4.2)
где Iт - темновой ток ; f0 - тактовая
частота (f0 = 1 МГц), e - заряд электрона (e = 1.6∙10-19 Кл).
Рассчитаем темновой ток и темновой
шум в расчете на зарядовый пакет:
Рисунок 4.7 - Зависимость теплового
шума от температуры
Источниками шумов переноса являются
флуктуации зарядов, захватываемых ловушками. Можно показать, что уровень шумов
переноса определяется как [13]:
(4.3)
где n - число трехфазных переносов,
определяемое количеством элементов матрицы по горизонтали и равное 2048.
Рассчитаем максимальное значение Nn
:
Очевидно, что число шумовых
электронов Nп будет максимальным для пакетов, наиболее удаленных от выходного
регистра.
Тепловой шум входной цепи
встроенного усилителя зависит от величины ее емкости, являющейся одновременно
выходной емкостью ПЗС Cвых (≈0.1 пФ). Тогда:
(4.4)
где k0 - постоянная Больцмана; T -
абсолютная температура.
Рассчитаем Nв.ц.:
Рассмотренные источники шумов в ФПЗС
являются независимыми. Поэтому полный шум в выходном сигнале определяется
суммой дисперсий числа электронов, вносимых всеми источниками [3]:
(4.5)
Рассчитаем N:
Рассмотрим отношение квантов упавших
на электрод к полному шуму:
Тогда шумовое напряжение матрицы
ФПЗС находится по формуле:
(4.6)
.5 Применение
Космос, астрономия. Матричные ФПЗС
нашли применение в телескопах наземного и бортового базирования, в бортовой
аппаратуре искусственных спутников Земли (ИСЗ) для наблюдения из космоса. Так
допустим телевизионная система (ТВС) пролетного космического аппарата,
предназначенная для решения сложной задачи обнаружения в автоматическом режиме
кометы и ее ядра, автосопровождения выбранного объекта и передачи на землю
спектрозональных изображений с максимальной детальностью. Телевизионная система
образует с автоматической стабилизированной платформой замкнутый контур
самонаведения, т.е. ТВС не только должна передавать изображение кометы, но и
обеспечивать функции наведения. По этой причине в состав ТВС входят два блока:
телевизионная узкоугольная камера с длиннофокусным (1200 мм) объективом и
телевизионный датчик наведения. Оба блока выполнены по двухканальной схеме на
охлаждаемых матрицах типа ФПЗС1М.
Медицина. В офтальмологии
используется прибор кератометр, с помощью которого получают информацию о форме
роговицы глаза: глаз фотографируют с одновременным наложением ортогональной
сетки, затем на фото-пленке измеряют координаты искривленной поверхностью роговицы
сетки и вводят данные в ЭВМ для расчета формы контактной линзы. Замена
фотоаппарата на линейный ФПЗС позволила вводить в ЭВМ информацию о реальном
масштабе времени с высоким разрешением (снимают точки по диаметру, затем,
поворачивая ФПЗС на определенный угол, получают сведения обо всей сфере глаза).
Аппаратура эксперимента. Линейные и
матричные ФПЗС нашли применение в лазерной технике: в аппаратуре,
регистрирующей распределение плотности энергии, в многоканальном анализаторе
спектра флуоресценции, возбуждаемой импульсном лазером. В автоматизированном
измерителе относительного распределения энергии используется среднеформатная
матрица, на которую пучок излучения лазера с длиной волны 0,4-1,1 мкм попадает
через узкополосный светофильтр и длиннофокусный объектив (800 мм).
Телекиноаппаратура. При передаче по
сети ТВ-вещания кинофильмов вертикальная развертка осуществляется в результате
протяжки кинопленки мимо линейного ФПЗС. Сигнал на выходе ФПЗС представляет
последовательность строк, и для получения чересстрочной развертки в
телекинопередатчик необходимо ввести ЗУ с памятью на кадр. Помимо этого
проблемой становятся видеодефекты и неравномерность чувствительности ФПЗС.
Видеодефект, проявляющийся в матричном ФПЗС в виде светлой точки, в данном
случае даст светлую полосу на изображении, также подчеркивается при
вертикальной развертке любая неоднородность чувствительности. Для компенсации
локальных видеодефектов применяют способ запоминания дефектных элементов с
последующей заменой их интерполяцией сигналов с соседних элементов.
Неравномерность чувствительности
может быть тоже скомпенсирована, но для этого приходится калибровать ФПЗС:
записывать в ЗУ темновые и световые (при равномерной засветке) сигналы со всех
ячеек ФПЗС и вычислять величины, обратно пропорциональные чувствительности
каждой ячейки. Затем в рабочем режиме выходные сигналы с ФПЗС поступают на
вычитающее устройство, где из них вычитают темновые составляющие, и на
усилитель с переменным коэффициентом усиления, в котором осуществляется умножение
на хранившийся в ЗУ величины, обратно пропорциональные чувствительности.
Ввод графической информации в ЭВМ.
Простым вариантом ввода графической информации в ЭВМ является устройство для
считывания индексов с конвертов, реализованное на быстродействующем линейном
ФПЗС типа К1200ПЛ5. К такому же типу устройств для считывания малоразмерных (по
высоте) объектов, не требующих вертикальной развертки, относится и опознаватель
кода товарной продукции [1].
ЗАКЛЮЧЕНИЕ
В данной курсовой работе были изучены принцип
работы и процессы, протекающие в ПЗС. Рассмотрены строение и физические
явления, происходящие в МОП емкостях: накопление и перенос заряда. Исследованы
материалы, необходимые для создания ФПЗС элементов. Изучена технология
изготовления ФПЗС и её элементов. Исследована схемы организации и
характеристики типичных ФПЗС. Рассматриваемая нами ФПЗС матрица имеет следующие
характеристики:
Тип подложки: кремниевая;
Диапазон изменения времени накопления: 100 мкс …
20 мс;
Тип переноса: межстрочный;
Напряжение на регистрах переноса: +5 В;
Напряжение на затворе узла считывания: +5 В;
Число активных элементов: 2048 х 2048;
Размеры одного фоточувствительного элемента 4,88
мкм х 4,88 мкм;
Размеры кристалла: 10,0 мм х 10,0 мм;
Спектральный диапазон:0,4 - 0,9 мкм;
Диапазон рабочих температур: -10 … + 60 °С.
В данной работе в качестве элемента охлаждения
был выбран однокаскадный стандартный термоэлектрический модуль Пельтье
PE-017-10-13 (PE - наименование типа (Peltier element); 017 - количество пар
термоэлементов;
- поперечное сечение ветви; 13 - высота ветви
термоэлемента), его технические характеристики приведены в таблице 4.1.
Рассмотрены и рассчитаны собственные шумы ФПЗС: фотонные шумы, шумы темнового
тока и шумы переноса в расчёте на один зарядовый пакет
Рассчитанная в данной работе ФПЗС матрица может
найти свое применение в телекиноаппаратуре, цифровых фотоаппаратах, в
специализированных установках, в которых необходимо получить достаточно четкое
изображение с дальнейшим вводом их в ЭВМ (электронная вычислительная машина)
для последующей обработки.
СПИСОК ИСПОЛЬЗОВАННОЙ ЛИТЕРАТУРЫ
Ф.
П. Пресс. Фоточувствительные приборы с зарядовой связью. - М.: Радио и связь,
1991. - 264 с.
Главный
редактор А. М. Прохоров. Физическая энциклопедия. В 5-ти томах. - М.: Советская
энциклопедия. 1988. - 704 с.
Ю.Р.
Носов, В.А. Шилин. Основы физики приборов с зарядовой связью. - М.: Наука.
1986. - 318 с.
Ю.Р.
Носов. Приборы зарядовой связи. - М.: Знание. 1989. - 144 с.
К.
Секен, М. Томсет. Приборы с переносом заряда. Пер. с англ. М. 1978. - 328 с.
Boyle
W.S., Smith G.E. Bell Syst. Tech. J. - 1970. - 587 - 593 с.
Д.Ф.
Барб,
С.
Кэмпана.
Изображающие
приборы с зарядовой связью. Достижения в технике воспроизведения изображений. -
М.: Мир. 1980. - 180 с.
Ю.А.
Кузнецов, В.А. Шилин. Микросхемотехника БИС на приборах с зарядовой связью. -
М.: Радио и связь. 1988. - 160 с.N.S.
A system engineering approach to imaging. SPIE Optical Engineering Press.
Bellingham, WA, 1998. 679 p.
Физическая
энциклопедия.- М.: Большая Российская энциклопедия, 1998.- Т.5.- С.98-99, 125
с.
ОАО
«НПП ТФП “ОСТЕРМ СПБ”»: термоэлектрические охлаждающие модули.
http://www.osterm.ru/products1.html (дата обращения: 20.04.2014).
Г.Н.
Грязин. Основы и системы прикладного телевидения. - СПб.: Политехника. 2011. -
274 с.
В.В.
Однолько, А.Ф. Ожигин, Г.А. Харитонов. Портативные камеры цветного телевидения.
- М: Радио и связь. 1984. - 105 с.