Обладнання для очищення та охолодження молока на фермах

  • Вид работы:
    Реферат
  • Предмет:
    Сельское хозяйство
  • Язык:
    Украинский
    ,
    Формат файла:
    MS Word
    292,3 Кб
  • Опубликовано:
    2015-05-28
Вы можете узнать стоимость помощи в написании студенческой работы.
Помощь в написании работы, которую точно примут!

Обладнання для очищення та охолодження молока на фермах

Зміст

молоко сепаратор очисник охолоджувач

Вступ

. Чим очищують молоко?

. Як все відбувається?

. Фільтр Ф-01М

. Закритий циліндричний фільтр А1-ОШФ

. Сепаратор-молокоочисник ОМА-3М

. Очисник-охолоджувач ОМ-1А

. Сепаратор Ж5-ОМ2-Е-С

Висновок

Список використаної літератури

Вступ

Тваринництво - це галузь сільського господарства що займається розведенням сільськогосподарських тварин для тваринницької продукції. Забезпечує населення продуктами харчування (молоко, яйця, м'ясо та інших.)

Сировиною для всіх молочних виробів є натуральне молоко. Його можна споживати свіжим або готувати з нього такі продукти, як молоко пастеризоване, молоко стерилізоване, вершки, кефір, сметану, різні види сирів, вершкове масло, молоко згущене і сухе та багато інших продуктів. Водночас молоко є сприятливим середовищем для розвитку найрізноманітніших мікроорганізмів. Молоко - секрет <#"864873.files/image001.jpg">

Рис. 1

Рис. 2.

Рис. 3.

На рис. 4. ФПЗ-3 закритий фільтр, ФПЗ-3-5Н- відкритий фільтр

Перевага циліндричних фільтрів у тому, що механічні домішки осідають на дно, тож меншою мірою забруднюється бічна фільтруюча поверхня-завдяки чому, зменшується обмивка і розчинення механічних домішок і змив їх бактерій в очищене молоко.

Не рідко фермери, для збереження якості молока, при доїнні корів відразу фільтрують молоко, перед тим як воно продовжить свій шлях на завод. При доїнні на установках з молокопроводом і на доїльних майданчиках молоко очищують очисники - розширена частина кінця молокопроводу, в яку вставляють чохол із спеціальної фільтрувальної тканини. Але не всі домішки залишаються в фільтрі: деяка частина все ж розмивається та розсмоктується, в результаті чого проходить через фільтруючий бар'єр в чисте молоко. Та все одно, більша частина залишається на стінках фільтру.

. Як все відбувається?

На фермах, лініях приймання холодного молока молокозаводів і молокоприймальних пунктів, а також на лініях пастеризації молока застосовують комбінований фільтр (Ф-01М).

Зернистий фільтр Ф-01М можна віднести до закритих циліндричним фільтрів. В якості фільтруючого матеріалу застосовують гранули титанового сплаву ВТ5-1 або білий електрокорунд "шліфзерна".

На рис.5, а наведено загальний вид фільтра, а на рис. 5, б - схема його підключення для фільтрування і промивання.

Фільтр працює наступним чином. Робота фільтра починається після включення насоса.

Після цього молоко надходить на верхню сітку попереднього очищення, а потім на зернистий шар тонкого очищення. Затримувані механічні домішки (частинки корму, пил, шерсть тварини тощо) поступово концентруються на верхній сітці і по висоті зернистого фильтрматеріалу.

Очищене молоко надходить в збірну ємкість. По закінченні фільтрування молоко, що залишилося, видаляють з фільтра.

В режимі промивання фільтр спочатку від'єднують від контуру на 5-10 хв. з метою запобігання забивання нижньої сітки залишками домішок з трубопроводів.

Потім фільтр під'єднують на режим промивки, помінявши при цьому місцями на штуцерних роз'ємах підвідний та відвідний шланги так, щоб напірна лінія була приєднана до нижнього штуцера фільтра.

. Фільтр Ф-01М

Рис. 5. Фільтр Ф-01М: А - загальний вигляд: 1 - корпус; 2 - зернистий філь - троматеріал; 3 - кришка; 4 - повітряна трубка; 5 - сітка з нержавіючої сталі з прокладкою; 6 - розсікач; 7-хомут; 8- шпилька з гайками; 9- опора; 10 - шланг; б - схема підключення для фільтрування і промивання: 1 - фільтр; 2- насос; 3 - триходовий кран; 4- шланг.

Регенерація фільтруючого матеріалу здійснюється висхідним потоком промивної рідини при витраті не менш 4 м3/год. Це супроводжується енергійним перемішуванням гранул зернистого шару і видалення з робочого об'єму фільтра утриманих домішок. Для регенерації фільтра використовують стандартні миючі розчини. У разі утворення повітряного міхура у верхній частині фільтру потрібно відкрити кран на верхній кришці для видалення повітря.

Перевагою конструкції фільтра є можливість його повного розбирання для чищення внутрішніх поверхонь корпусу і сіток від жирового нальоту, залишкових забруднень (волосся тварини, залишки корму тощо). Такий профілактичний розбір фільтра проводиться після 1-2 міс його експлуатації.

Технічні характеристики

Пропускна здатність, м. куб/год макс. 10

Якість фільтрування, мкм 40

Досягається чистота молока за ГОСТ 821889, група 1

Мінімальна температура фільтрованого молока, С 20

Кількість фільтрованого молока (до промивки фільтра), м. куб 5

Тиск рідини на вході у фільтр в режимі фільтрації і мийки, атм 2

Витрата миючих розчинів через фільтр при промиванні, м. куб/год 5-10

Час промивки фільтра, не менше 15 хв.

Максимальна температура фільтрованої і промивної рідини:

для фільтра з прозорим пластмасовим корпусом, З до 70

для фільтра з корпусом з нержавіючої сталі, З до 100

Габаритні розміри:

діаметр, мм 270

висота (без підставки), мм 540

Маса спорядженого фільтра, кг 15

Остаточне очищення виконують на закритих фільтраційних апаратах (трубчастих, дискових та циліндричних) і сепараторах-молокоочисниках. Використання сепараторів-молокоочисників дозволяє видаляти з молока не тільки механічні домішки, але і слиз, згустки фібрину, багато мікроорганізмів, соматичні клітини і т.д. Кількість осаду що утворюється при цьому, залежить від складу, якості молока, потужності очищувача і становить 0,1-0,3% маси очищеного молока. На таких очисниках молоко очищають парним, тобто при температурі 28-35°С, так як очищення охолодженого молока дає гірші результати.

Отже, закритий циліндричний фільтр А1-ОШФ (рис. 6.) складається з розподільного пристрою з двома корковими триходовими кранами і двох циліндрів з розташованими в них фільтруючими сітками з нержавіючої плетеного дроту. Молоко під тиском, створюваним насосом подається у верхній патрубок корпусу розподільного пристрою. Далі він через верхній отвір в конусі надходить у циліндр, обтікаючи сітку зверху, і виходить з циліндра через патрубок. Відфільтрований продукт проходить через нижній отвір корпусу і через нижній патрубок розподільного пристрою виходить в систему молокопроводів. Не припиняючи подачі продукту в міру засмічення фільтруючої сітки, корковий кран перемикають на інший циліндр. Під час роботи одного циліндра інший розбирають, очищають і миють.

. Закритий циліндричний фільтр А1-ОШФ

Рис. 6. А1-ОШФ

- циліндр; 2 - маховик заглушки; 3 - ручка; 4 - фільтруюча сітка; 5 - пробковий кран; 6 - кран; 7- регулювальний гвинт; 8 - стійка.

Технічна характеристика фільтра А1-ОШФ Продуктивність, кг/год 2500-4600

Тиск, МПа 0,2-0,25 Розміри осередку фільтрувальної сітки, мм1 х 1 і 2 х 2 Габаритні розміри, мм 1300 х 300 х 700 Маса, кг 89

. Сепаратор-молокоочисник ОМА-3М

Давайте згадаємо про вище згадані сепаратори-молокоочисники. Представником цієї групи є сепаратор-молокоочисник ОМА-3М.

ОМА-3М являє собою тарілчастий сепаратор напівзакритого типу з ручним періодичним вивантаженням осаду. Складається з барабана, приймально-відвідного пристрою і станини з механізмом приводу (Рис. 7). Механічні забруднення видаляються шляхом тонкошарової сепарації в обертаючомуся барабані молокоочисника. Молоко, що підлягає очищенню, по центральній трубці надходить у внутрішню порожнину тарілкотримача. Закритий вхід оберігає молоко від попадання сторонньої мікрофлори з навколишнього повітря. Через щілину, утворену між тарілкотримачем і підставкою барабана, молоко під дією відцентрової сили відкидається до стінок корпусу барабана. Тут найбільш важкі і великі частинки осідають на стінці корпусу, а молоко разом з найдрібнішими частинками надходить в пакет конічних тарілок. У просторі між тарілками молоко очищається від зважених частинок. Очищене молоко під тиском знову поступивши порцій проходить до центру і піднімається по каналах тарілкотримача в камеру напірного диска. Нерухомий напірний диск захоплює рідину що обертається, і під тиском виводить її з барабана у відвідну комунікацію. Тиск молока, що виходить з барабана сепаратора, забезпечує подачу його і подолання опорів в пастеризаторі без насоса. Чим довше працює сепаратор, тим більше заповнюється грязьовий простір, тому якість очищення з часом погіршується. Практично сепаратор нормально працює 1,5-2 год., причому цей термін залежить від ступеня забрудненості вихідного молока.

Рис. 7.

- манометр з мембранної приставкою; 2 - відводить комунікація; 3 - гайка для кріплення приймально-відвідного пристрою з кришкою; 4 - живильний патрубок; 5 - напірний диск; 6 - кришка сепаратора; 7 - кришка барабана; 8 - тримач тарілки; 9 - конічні тарілки; 10 - затяжне кільце барабана; 11 - підстава барабана; 12 - стопор; 13 - станина; 14 - центрируемые гвинтові пружини горловий опори; 15 - гнізда корпусу; 16 - веретено; 17 - шестерня; 18 - опорні кульки; 19 - пружина підп'ятника; 20 - стакан підп'ятника; 21 - покажчик рівня масла; 22 - гвинтове колесо; 23 - валик тахометра; 24 - гальмо (два); 25 - шламовое простір; 26 - запобіжна гайка.

Технічні характеристики:

Продуктивність 5000 дм3/год.

Електродвигун (1450 об/хв., 380 В) 4 кВт

Габаритні розміри:

Довжина 840 мм

Ширина 662 мм

Висота 1195 мм

Маса сепаратора:

Вага нетто 377 кг

Вага брутто 430 кг

Тиск на виході очищеного молока 2,5-3,0 кгс/см2

Тиск буферної води 1,5-3,0 кгс/см

Нині випускають безупинно діючі самоочисні сепаратори-молокоочисники. Особливість їх конструкції у тому, що з допомогою рухомого днища барабана, спеціального клапанного устрою на шляху подання і видалення буферної рідини і розвантажувальних щілин, осад постійно викидається з порожнини барабана. Сепараторний слиз - не однорідний, складається переважно з механічних частинок, білкового шару - білого кольору та бактеріального - рожево-коричневого кольору.

Щоб була більша імовірність того що молоко залишиться свіжішим довший відрізок часу, винайшли ще один фільтрувальний пристрій.

6. Очисник-охолоджувач ОМ-1А

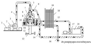
Очисник-охолоджувач ОМ-1А (Рис. 8) призначений для очищення та поточного охолодження молока.

Рис. 8. - Конструктивно-функціональна схема очисника-охолодника молока ОМ-1А:

- місткість для молока; 2 - патрубок; 3 - молочний насос;4 - шланг; 5 - молочна трубка;6 - патрубок очищеного молока;7 - напрямний диск; 8 - тарілкотримач; 9 - очисний барабан; 10 - кришка; 11 - основа; 12 - веретено: 13 - пружинна опора; 14, 15 - водопроводи; 16 - патрубок охолодженого молока; 17 - водяний насос; 18 - плита; 19 - пластини; 20 - ванна

Він складається з відцентрового очисника, пластинчастого водяного охолоджувача, шлангів для молока та води.

До складу відцентрового очисника входять очисний барабан, приймально-відвідний пристрій, приводний механізм.

Пластинчастий охолодник має пакет пластин та дві плити. Крізь отвори пластин та плит проходять дві штанги. За допомогою болтів та гайок пластини і плити складають в один пакет. В кожній пластині є по чотири технологічні отвори: дна верхніх і два нижніх. Роздільна пластина, встановлена всередині пакета, має тільки два верхніх отвори. На пластини наклеєні гумові прокладки: які забезпечують відповідний зазор між пластинам, а також перекривають у кожній пластині ліві або праві отвори. При складанні пакета ліві і праві пластини чергують, що забезпечує утворення двох систем каналів. Кожна з цих систем з’єднується двома отворами пластин зверху і знизу. Пластини мають гофровану форму, що збільшує поверхню теплообміну і забезпечує інтенсивне перемішування молока, яке рухається між пластинами. Холодоагентом є вода, яка подається з водо- або теплоохолодної установки.

Робочий процес очисника-охолодника такий. Включають електродвигун привода і очисний барабан починає набирати необхідні оберти. Молоко в очисник подається насосом 3, на вихідному патрубку якого встановлений спеціальний штуцер, що пропускає 1000 л молока за годину. З приймально-відвідного пристрою молоко надходить у барабан очисника. Крізь центральну молочну трубку і канал тарілкотримача молоко потрапляє у простір між пакетом тарілок барабана та кришкою. Під дією відцентрової сили всі домішки виділяються з молока, відкидаються до кришки барабана і прилипають до неї, а молоко під тиском нових порцій вертикальними каналами між тарілкотримачем, а також кришкою барабана піднімається вверх. Під час проходження молока між тарілками відбувається додаткове його очищення від домішок. Домішки сповзають із тарілок і прилипають до стінки кришки барабана. Далі молоко проходить напрямний диск 7 і крізь патрубок 6 спрямовується до охолоджувача.


У процесі роботи очищувача на стінках кришки барабана поступово нагромаджується шар домішок, зазор між кришкою та барабаном зменшується і процес виділення домішок порушується. Тому через кожні 2,5 години роботи очищувач зупиняють, його барабан розбирають і миють.

Очищене молоко, що надходить до охолоджувача, спочатку заповнює простори через один між пластинами першої його половини (до роздільної пластини) і піднімається вверх. Потім крізь верхній отвір роздільної пластини молоко переходить у другу половину охолодника, заповнює через один простори між пластинами і опускається вниз. Охолоджене молоко виходить з патрубка.

Вода в охолодник подається з холодильної установки трубопроводом. Вона надходить в інші (не заповнені молоком) простори між пластинами спочатку другої половини охолодника, піднімається вверх, потім крізь верхній отвір роздільної пластини переходить у першу половину охолодника, опускається вниз і виходить з охолодника патрубком.

Теплообмін між потоками молока і води відбувається в зазорах між пластинами. Зустрічний рух потоків дозволяє максимально знизити температуру молока при тій же початковій температурі води. Гофрована форма пластин збільшує площу теплообміну, спричиняє перемішування води та молока в потоках і сприяє інтенсивному теплообміну. Кінцева температура молока залежить від початкової температури води.

Технічне обслуговування охолодника-очисника виконують у такій послідовності: До початку роботи установку промивають теплою водою (50-60°С). Включають насос для подачі води та молочний насос 3. Очищення молока починають з таким розрахунком, щоб закінчити його не пізніше ніж через 10-15 хв. після закінчення доїння корів.

Охолодник промивають після кожної зміни, а очисний барабан через кожні 2,5 год. роботи. При митті пластинчастого охолодника шланги 4 та 6 з'єднують між собою, у ванну заливають воду (30°С), шланг 2 опускають у ванну і включають насос 3. Вода насосом подається в охолодник проходить між пластинами шляхом руху молока і шлангом 16 відводиться на зливання. Після промивання водою охолодник протягом 15хв прополіскують мийним розчином у циркуляційному режимі. Потім у ванну заливають чисту воду і промивають нею установку протягом 10 хв. Деталі барабана-очисника, приймально-відвідного пристрою та молочного насоса миють вручну, спочатку в теплій воді, потім у розчині, знову у теплій воді, а прополіскують у чистій проточній воді.

Дезинфекцію очисника-охолодника проводять влітку через день, а взимку один раз на 5 днів. При дезинфекції використовують 0,1%-ний розчингіпохлориту натрію або гіпохлориту кальцію. Один раз на місяць пластинчастий охолодник розбирають і чистять вручну. Для цього відкручують гайки настягувальних болтах, відсувають плиту 21 до упору на штангах і по черзі чистять пластини. Потім збирають пластини в пакет, закручують гайкистягувальних болтів і промивають охолодник водою. Основу барабана миють на місці, не знімаючи з вала привода. Один раз у 15 днів її знімають, щоб промити чашу станини. У картері станини перший раз замінюють масло після 15 год роботи, другий - через 50 год., а потім через кожні 200-250 год. експлуатації.

Технічні характеристики:

Продуктивність, л/год. Частота обертання вала барабана, об/хв Потужність електродвигуна, кВт Перепад температури між охолодженим молоком та охолоджувальною водою, °С Кратність витрат води по відношенню до молока

1000 8000 1,1  2 З


. Сепаратор Ж5-ОМ2-Е-С

Ще один приклад фільтрувальної установки: сепаратор Ж5-ОМ2-Е-С

Сепаратор Ж5-ОМ2-Е-С (рис. 9.) - молокоочисник з відцентровим автоматично -періодичним вивантаженням осаду, призначений для очищення молока від забрудненості і механічних домішок.

Загальний вигляд сепаратора Ж5-ОМ2-Е-С наведено на Рис. 10.

Рис. 10 - загальний вид сепаратора Ж5-ОМ2-Е-С

Сепаратор складається з станини з приводним механізмом, барабана, приймально-вивідного пристрою, тахометра, гідросистеми, електропульта. Складові вузли та деталі сепаратора, крім гідросистеми і електропульта, змонтовані на станині.

Приводний механізм з електродвигуном потрібен для надання барабану необхідної частоти обертання. Складається з фланцевого електродвигуна, відцентрово-фрикційної муфти, горизонтального і вертикального валів.

Горизонтальний вал отримує обертання від електродвигуна через пружну муфту. Обертання від горизонтального вала на вертикальний передається через фрикційно-відцентрову муфту, яка забезпечує плавну та поступову передачу обертання барабану при його розгоні Вертикальний вал обертається у верхніх радіальному і радіально-завзятому підшипниках і нижньому радіально-сферичному підшипнику. Верхня (горлова) опора вертикального вала виконана пружиною, що дозволяє барабану сепаратора при розгоні і зупинці плавно переходити критичне число обертів і зберігати стійкий хід при робочій частоті обертання.

Барабан встановлюється на конусної частини веретена вертикального вала, є основним робочим елементом, в якому під дією відцентрової сили відбувається виділення зважених часток з сепаруючою рідиною під дією відцентрової сили в між тарілковому просторі.

Контроль частоти обертання барабана здійснюється циферблатні тахометром.

На кришці кріпиться приймально-вивідний пристрій, що служить для прийому сепаріруемой рідини і виведення освітленої рідини. Окремо від сепаратора встановлюються гідросистема і електропульт, призначені для управління як ручний, так і автоматичним вивантаженням шламу з барабана.

Принцип дії. Молоко подається через живлячу трубу в барабан, де під дією відцентрових сил відбувається освітлення.  Домішки, що мають велику питому вагу відкидаються в шламовий (грязьовий ) простір барабана і з нього через розвантажувальні отвори викидаються в приймач шламу.

Відсепарируваний продукт з барабана захоплюється напірним диском і направляється в вивідний патрубок, а потім по трубопроводах подається для подальшої технологічної обробки.

Технічні характеристики Продуктивність, л/год. 30000 Частота обертання барабана, об/хв 4440 Електродвигун тип,виконання 4А160М4УЗ, 1М3001 Синхронна Частота обертання, С-1 25 Потужність електродвигуна, кВт 18,5 Тиск на виході очищеного молока, МПа 0,25 Споживана електроенергія, КВт / год. 17 Габаритні розміри, мм 1300х950х1580 Маса сепаратора, кг 1500.

Висновок

Методи очищення молока обираються в залежності від продуктивності молочних підприємств: фільтри або відцентрові молокоочисники.

Ми розглянули декілька видів установок для очистки молока. Звичайно у них є свої плюси та мінуси. Але завдяки ним людина винайшла такий процес як "фільтрація", і саме завдяки фільтрації покращила якість молока та молочних продуктів.

У своєму висновку я б хотіла повторити деякі якості вище згаданих механізмів.

Ось на приклад циліндричний фільтр А1-ОШФ, дуже зручний у використанні адже його камери працюють почергово: під час роботи одного циліндра інший розбирають, очищають і миють.

Фільтр Ф-01М. Його перевагою є можливість його повного розбирання для чищення внутрішніх поверхонь корпусу і сіток від жирового нальоту, залишкових забруднень (волосся тварини, залишки корму тощо). Такий профілактичний розбір фільтра проводиться після 1-2 міс його експлуатації.

Очисник-охолоджувач ОМ-1А призначений для очищення та поточного охолодження молока. Це дає більшу вірогідність на свіжість молока.

Сепаратор Ж5-ОМ2-Е-С - молокоочисник з відцентровим автоматично-періодичним вивантаженням осаду.

Винаходи людей як завжди направлені на вирішення однієї важливої теми, ця тема - "Їжа"…якість, кількість, поживність…

Список використаної літератури

1.      Башаевой Д.В. Зміна білків молока при тепловій обробці / Д.В. Башаевой // Молочна промисловість. - 2008. - №7. - С. 73-74.

2.      Богданова Є.А. Виробництво суцільномолочних продуктів / Є.А. Богданова, Г.І. Богданова. - М.: Легка і харчова промисловість, 1982. - 200 с.

3.      Махновський І.В. Первинна обробка молока і його переробка в умовах фермерських господарств / І.В. Махновський, А.В. Лупів // Техніка і обладнання для села. - 2001. - №2. - С. 16-17.

4.      Машини, технологічне обладнання, прилади для підприємств молочної промисловості. Каталог / А.І. Вдовін, К.Г. Саргсян, В.Л. Дуль, В.Ю. Сидорин, А.Д. Мимра. - Тернопіль: Воля, 2006. - 480 с.

.        Обладнання та автоматизація переробних виробництв / А.А. Курочкін, Г.В. Шабурова, А.С. Гордєєв, А.І. Завражнов. - М.: КолоcС, 2007. - 591 с.

.        Притика В.П. Машини та апарати молочної промисловості / В.П. Притика, В.Г. Лунгрен. - М: Харчова промисловість, 1979. - 320 с.

.        Степанова Л.І. Довідник технолога молочного виробництва: технологія та рецептури. Суцільномолочні продукти / Л.І. Степанова. - СПб: ГІОРД, 2009. - 384 с.

Похожие работы на - Обладнання для очищення та охолодження молока на фермах

 

Не нашли материал для своей работы?
Поможем написать уникальную работу
Без плагиата!
Без нейросетей!