Расчет и проектирование барабанной сушильной установки для сушки известняка

  • Вид работы:
    Курсовая работа (т)
  • Предмет:
    Другое
  • Язык:
    Русский
    ,
    Формат файла:
    MS Word
    834,75 Кб
  • Опубликовано:
    2015-05-20
Вы можете узнать стоимость помощи в написании студенческой работы.
Помощь в написании работы, которую точно примут!

Расчет и проектирование барабанной сушильной установки для сушки известняка

РЕФЕРАТ

Курсовой проект содержит 60 страниц, 22 рисунка, 10 источников литературы.

БАРАБАННАЯ СУШИЛКА, СУШКА, ИЗВЕСТНЯК, ЦИКЛОН, ВЛАГОСОДЕРЖАНИЕ, ВЕНТИЛЯТОР, СУШИЛЬНЫЙ АГЕНТ, КАЛОРИФЕР, ТОПЛИВО

Целью курсового проекта является расчет сушильной установки для сушки известняка, анализ и выбор основного оборудования, технологический расчет сушилки, подбор и расчет вспомогательного оборудования, обоснование целесообразности выбора конструкции аппарата с учетом современного уровня развития технологии, экономической эффективности и качества производимой продукции, выбор технологической схемы, параметров процесса.

барабанная сушильная аппарат

ВВЕДЕНИЕ

С развитием промышленности появилась необходимость транспортировки различных материалов на большие расстояния. Для удешевления этого процесса материалы по возможности подвергают сушке, т.е. удалению излишков влаги. Кроме этого сушка придает материалу необходимые свойства, уменьшает коррозию аппаратов и трубопроводов при его дальнейшей переработке или транспортировке.

Влагу из материала удаляют как механическими способами, так и с помощью тепловой сушки. Для удешевления процесса, влага удаляется сначала механическим способом (отжим, отстаивание, фильтрование, центрифугирование), а затем - сушкой. Из-за длительности естественной сушки, в химическом производстве применяют более быстрый процесс - искусственную сушку материала в специальных сушильных установках.

В технике сушке подвергается множество материалов, различающихся химическим составом, дисперсностью и структурой, адгезионными свойствами и термочувствительностью, содержанием и формой связи влаги с материалом и другими свойствами. В химической промышленности процессы массо- и теплопереноса при сушке иногда осложняются протекающими одновременно химическими реакциями.

В связи с этим выбор рационального способа сушки, типа сушильной установки и конструкции сушильного аппарата представляет собой сложную технико-экономическую задачу.

По своей физической сущности сушка является сложным диффузионным процессом, скорость которого определяется скоростью диффузии влаги из глубины высушиваемого материала в окружающую среду. Удаление влаги при сушке сводится к перемещению тепла и вещества (влаги) внутри материала и их переносу с поверхности материала в окружающую среду. Таким образом, процесс сушки является связанным друг с другом процессов тепло- и массообмена.

Высушиваемый материал при любом методе сушки находится в контакте с влажным газом (в большинстве случаев воздухом). При конвективной сушке влажному газу (являющемуся сушильным агентом) принадлежит основная роль в процессе. Поэтому изучение свойств влажного газа необходимо при рассмотрении процессов сушки и их расчетах.

Разрабатываемая установка предназначена для конвективной сушки известняка в климатических условиях Минска.

1. ЛИТЕРАТУРНЫЙ ОБЗОР

.1 Теоретические основы процесса сушки

Процесс удаления влаги из влажных твердых материалов путём её испарения и отвода образовавшихся паров называется сушкой. Различают искусственную и естественную сушки. Естественная сушка осуществляется на открытом воздухе, но это длительный процесс, поэтому в химической промышленности применяют искусственную сушку, где влажный материал помещают в специальную камеру и сушат при повышенной температуре. По способу подвода тепла различают конвективную, контактную, радиационную, диэлектрическую и сублимационную сушку. При конвективной сушке материал непосредственно контактирует с сушильным агентом. При контактной сушке тепло к материалу передаётся через стенку от греющего теплоносителя. В радиационной сушке передача тепла осуществляется инфракрасным излучением, которое преобразуется на высушиваемом материале в тепловую энергию. При диэлектрической сушке передача тепла осуществляется в поле токов высокой частоты. Сублимационная сушка - сушка материалов в замороженном виде при высоком вакууме. Наибольшее распространение в химической технологии получила конвективная сушка.

По своей физической сущности сушка является процессом совместного тепломассопереноса и сводится к перераспределению и перемещению влаги под действием теплоты из глубины высушиваемого материала к его поверхности и последующему испарению.

.1.1 Основные параметры влажного воздуха

Влажный воздух как влаго- и теплоноситель характеризуется следующими основными параметрами: абсолютной влажностью, относительной влажностью, влагосодержанием и энтальпией.

Абсолютная влажность - количество влаги в кг, которая содержится в 1м3 влажного воздуха. В некотором приближении абсолютную влажность можно рассматривать как плотность водяного пара, находящегося в воздухе при данной температуре (ρп)

Относительная влажность (j) - степень насыщения воздуха влагой. Её рассчитывают отношением массы водяного пара в 1м3 влажного воздуха к максимально возможной массе пара в 1м3 воздуха

φ=ρп/ρн.п (1.1)

Влагосодержание (х) - количество водяного пара в кг, которое приходится на 1 кг сухого воздуха в 1м3 воздуха, кг/кгсух.возд.:

Х= ρп/ρсух.возд. (1.2)

Энтальпия (теплосодержание,I) - количество теплоты, которое приходится на 1кг сухого воздуха, Дж/кгсух.возд

Для характеристики основных параметров влажного воздуха и процесса сушки в целом используется I-X диаграмма, впервые разработанная Л.К.Рамзиным. на диаграмме нанесены:

линии постоянного влагосодержания (х=const) - вертикальные прямые, параллельные оси ординат;

линии постоянной энтальпии (I=const) -прямые , идущие под углом 135° к горизонту;

линии постоянной температуры или изотермы (t=const);

линии постоянной относительной влажности (φ=const)

линии парциальных давлений водяного пара

1.1.2 Равновесие в процессе сушки

Если материал находится в контакте с влажным воздухом, то возможны два процесса: сушка (десорбция влаги из материала) при парциальном давлении пара над поверхностью материала рм , превышающем его парциальное давление в воздухе или газе рп , т.е. при рм > рп ;увлажнение (сорбция влаги материалом) при рм < рп В процессе сушки величина рм уменьшается и приближается к приделу рм=рп . При этом наступает состояние динамического равновесия, которому соответствует предельная влажность материала, называемая равновесной влажностью, wр.

Разность между рм и рп является движущей силой процесса сушки. Чем больше эта разность, тем интенсивнее проходит сушка. Чтобы увеличить движущую силу процесса, необходимо увеличить рм за счет увеличения температуры материала и (или) уменьшить рп за счет уменьшения общего давления сушки.

.1.3 Формы связи влаги с материалом

Различают следующие формы связи влаги с материалом: химически связанная влага; физико-механическая влага; физико-химическая влага. Химически связанная влага с помощью процесса сушки не удаляется из материала. Физико-механическая влага подразделяется на макрокапилярную (радиус капилляров составляет более 10-3мм) и микрокапилярную (радиус капилляров составляет 10-3мм ), удаляется из материала очень легко и даже механически. Физико-химическая влага подразделяется на адсорбционную и осмотическую. Адсорбционная влага удерживается на поверхности материала и в его порах. Осмотическая влага - влага набухания материала. Адсорбционная влага более прочная и удерживается труднее осмотической. Применительно к процессу сушки влагу подразделяют на свободную и связанную. Если скорость испарения влаги из материала равна скорости испарения влаги с поверхности воды, то такая влага называется свободной. Если скорость испарения влаги из материала меньше скорость испарения влаги со свободной поверхности, то такая влага называется связанной.

.1.4 Влажность материала и изменение его состояния в процессе сушки

Влажность материала можно выразить двумя способами:

если отнести количество влаги, находящейся в материале к общей массе влажного материала, то получим

=(Gм/G)·100% , (1.3)

где G - общая масса влажного материала

если отнести количество влаги, находящейся в материале к общей массе сухого материала, то получим

=(Gвл/Gсух)·100% , (1.4)

Второе выражение влажности материала предпочтительнее т.к. в процессе сушки количество сухого материала не меняется.

Рассмотрим изменение состояния материала в процессе сушки (рис.1.1)

Изменение влажности материала в процессе сушки

φ,%

Рис 1.1

При изменении влажности от W1 до W2 материал содержит свободную влагу (рм=рп) и находится во влажном состоянии. При изменении влажности от W2 до Wр материал содержит связанную влагу (рм<рп) и находится в гигроскопическом состоянии. Точка А называется гигроскопической, а соответствующая ей влажность - гигроскопической влажностью. Так же, как и во всей области влажного состояния. В точке А, соответствующей φ=100%, рм=рп . Гигроскопическая влажность W2 находится на границе свободной и связанной влаги в материале. Свободная влага будет удалена из материала при любой относительной влажности окружающей среды меньшей 100% (φ<100%). Удаление связанной влаги возможно лишь при той относительной влажности окружающей среды, которой соответствует влажность материала большая равновесной.

.1.5 Материальный баланс процесса сушки

Материальный баланс имеет целью определение количества испаренной влаги и расход сушильного агента.


Исходя из общего принципа составления материальных балансов имеем:

н=Gк+W, (1.5)

где Gн,Gк - расходы исходного и высушиваемого материала соответственно;W - расход удаляемой из материала влаги

Запишем уравнение по абсолютно сухому материалу

н·(100-W1)/100=Gк(100-W2)/100, (1.6)

где W1,W2 - начальная и конечная влажность материала соответственно

Из уравнений (1.5) и (1.6) следует, что

=Gн(W1-W2)/(100-W1), (1.7)

.1.6 Кинетика процесса сушки

В процессе сушки влага из влажного материала первоначально поступает на поверхность материала из внутренних слоёв, а затем эта влага с поверхности материала переходит в ядро сушильного агента. Скорость процесс сушки характеризуется количеством влаги, удаленной из материала в единицу времени с единицы поверхности материала. Наблюдаются два основных периода сушки. В первый период сушки скорость сушки постоянна от начальной влажности Uн до критической влажности Uкр. Из материала удаляется свободная влага. Основное кинетическое уравнение этого периода сушки записывается следующим образом

=βxF(xнас-x), (1.8)

где F - поверхность испарения влаги; хнас - влагосодержание воздуха в состоянии насыщения; х - влагосодержание воздуха; βx - коэффициент массоотдачи.

После достижения критической влажности материала наступает второй период сушки, в котором скорость подвода влаги из ядра материала становится меньше скорости испарения влаги в воздух. Изменение влажности материала осуществляется от Uкр до Uк. Скорость сушки при этом уменьшается, поэтому второй период называют периодом падающей скорости. Основное кинетическое уравнение имеет вид

=КF(U - Uр), (1.9)

где U - влажность материала в данный момент; Uр - равновесная влажность материала; К - коэффициент скорости сушки.

Изменение скорости сушки от влажности материала

dW

dτF




Рис 1.2

1.1.7 Тепловой баланс конвективной сушки

Введем соответствующие обозначения:, G2 - количество влажного материала, поступающего на сушку и количество высушенного материала соответственно;

Т1, Т2 - температура поступающего и уходящего материала соответственно;

см , свл - теплоёмкость материала и влаги;- расход сухого воздуха;

х0, х1, х2, - влагосодержание воздуха на входе в калорифер, на выходе из калорифера и на выходе из сушильного аппарата соответственно.

Согласно общему принципу составления тепловых балансов

L·I0+QК+G2·cМ·Т1+W·cВЛ·T1 = L·I2+G2·cМ·T2+QП , (1.10)

где Qк - количество теплоты из калорифера; Qп - потери теплоты;


1.2 Основные технологические схемы процесса сушки

Конвективная сушка с промежуточным подогревом воздуха по зонам в сушильной камере.



В этом варианте сушки воздух, который нагревается в наружном калорифере, имеет температуру значительно ниже, чем воздух в обычном варианте сушки, т.е. условия сушки материала по температуре значительно мягче, что используется для материалов, которые не выдерживают высоких температур. Последовательный подогрев воздуха в самой сушке позволяет получить параметры влажного воздуха на выходе такие же как и при нормальном варианте.

Изобразим этот процесс на I-X диаграмме.

Изображение теоретического процесса наI-X диаграмме

АВ - нагрев воздуха в наружном калорифере;с’ - сушка в I зоне;

с’b’ - нагрев воздуха во внутреннем калорифере;’c’ - процесс сушки во второй зоне;

с”b“ - нагрев воздуха во внутреннем калорифере;”C - сушка в III- й зоне.

Рис 1.3

.2.2 Конвективная сушка с частичной рециркуляцией отработанного воздуха


Этот вариант используется, когда требуется мягкие условия, как по температуре, так и по влагосодержанию воздуха. Он позволяет экономить часть тепла, уходящего с отработанным воздухом и интенсифицировать процесс сушки за счет увеличения скорости воздуха в сушилке т.к. при этом увеличивается коэффициент массоотдачи β.

Изображение теоретического процесса на I-X диаграмме

АА’ - смешение свежего и отработанного воздуха;

А’В - нагрев воздуха в калорифере;

ВС - процесс сушки.

Рис 1.4

.3 Типовое оборудование

.3.1 Конвективные сушилки.

Конвективные сушилки делятся на сушилки с неподвижным или движущимся плотным слоем материала, конвективные сушилки с перемешиванием слоя материала, конвективные сушилки со взвешенным слоем материала.

К числу сушилок с неподвижным или движущимся слоем материала относятся камерные сушилки, которые представляют собой герметичные камеры, внутри которых высушиваемый материал в зависимости от его вида располагается на сетках, протвенях, листах и других приспособлениях.

Камерная сушилка

- полки для загрузки высушиваемого материала; 2 - калорифер; 3 - вентилятор; 4 - заслонка для регулирования расхода свежего воздуха; 5,6 - заслонка для регулирования расходов рециркулирующего и отработанного воздуха.

Рис 1.5

К достоинствам камерных сушилок относятся, прежде всего, их простота устройства, но они обладают целым рядом существенных недостатков: периодичность действия, большая затрата ручного труда на загрузку и выгрузку материала, низкая производительность и неравномерность высушивания из-за наличия неподвижного плоского слоя материала. Как правило, их применяют для сушки сравнительно небольших количеств материала и при достаточно большой продолжительности процесса.

К этому же виду конвективных сушилок относятся ленточные сушилки, которые предназначены для сушки сыпучих и волокнистых материалов, а также готовых изделий и полуфабрикатов. Для тонкодисперсных пылящих материалов ленточные сушилки не используются. Ленточные сушилки особенно целесообразны для сушки формированных изделий и гранулированных катализаторов, когда не допускается расслоение или повреждения формы. Основным недостатком сушилок этого вида является громоздкость, сложность обслуживания небольшая удельная производительность.

Многоярусная ленточная сушилка.

- питатель; 2 - сушильная камера; 3 - ленточные транспортеры; 4 - ведущие барабаны; 5 - калорифер; 6 - вентилятор; 7 - ведомые барабаны.

Рис 1.6

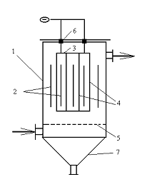
К числу конвективных сушилок с перемешивающимся слоем материала относятся барабанные сушилки, которые широко применяются для непрерывной сушки, как правило при атмосферном давлении, кусковых, зернистых и сыпучих материалов. Устройство внутренней насадки барабана зависит от размера кусков и свойств высушиваемого материала. Схема такой сушилки на рисунке 1.7. Барабанная сушилка имеет цилиндрический сварной барабан 4. установленный с небольшим наклоном к горизонту (2-7°) и опирающиеся с помощью бандажей 3 на ролики 10. Барабан приводится во вращение электродвигателем 11 через зубчатую передачу с помощью венца 5. материал подаётся в барабан питателем 2 и поступает на внутреннюю насадку 9, которая обеспечивает равномерное распределение и хорошее перемешивание материала по сечению барабана, а также его тесный контакт с сушильным агентом при пересыпании.

Барабанная сушилка.

- топка; 2 - питатель; 3 - бандажи; 4 - барабан; 5 - зубчатый венец;6 - загрузочная камера; 7 - циклон; 8 - вентилятор; 9 - подъёмно-лопасная насадка; 10 - опорные рамки; 11 - электродвигатель; 12 - шестеренчатая передача; 13 - окно для подачи вторичного воздуха.

Рис 1.7

К числу конвективных сушилок со взвешенным слоем материала относят распылительные сушилки, которые используют для сушки жидких и пастообразных материалов. В них материал диспергируют специальными устройствами и высушивают в потоке газообразного теплоносителя. Время пребывания материала в зоне сушки весьма мало, а высокая степень диспергирования и большая интенсивность испарения влаги обеспечивает быстрое высушивание. Недостатками распылительных сушилок являются большие габаритные размеры и повышенный расход энергии. Схема распылительной сушилки представлена на рисунке 1.8.

Распылительная сушилка

- вентилятор ; 2 - калорифер; 3 - камера сушилки; 4 - диск; 5 - циклон; 6 - рукавный фильтр; 7 - шнек для выгрузки высушенного материала.

Рис 1.8

.3.2 Контактные сушилки

Вакуум-сушильные шкафы являются простейшими контактными сушилками периодического действия. В настоящее время их используют для сушки малотоннажных продуктов, производствах с разнообразным ассортиментом продукции. Схема установки с вакуум-сушильным шкафом представлена на рисунке 1.9.

Установка с вакуум-сушильным шкафом

- корпус; 2 - противни с высушиваемым материалом; 3 - обогреваемые паром полки; 4 - конденсатор; 5 - вакуумный насос.

Рис 1.9

Вакуум-сушильный шкаф представляет собой цилиндрическую камеру 1, в которой размещены полые плиты 3 обогреваемые изнутри паром или горячей водой. Высушиваемый материал находится в лотках 2, установленных на плитах. Вакуум-сушильные шкафы пригодны для сушки легко окисляющихся взрывоопасных веществ, однако они малопроизводительны и малоэффективны.

Вальцовые сушилки предназначены для сушки, например, пастообразных и жидких материалов при атмосферном давлении или в вакууме. Схема вальцовой сушилки представлена на рисунке 1.10.

Вальцовые сушилки

а - однавальцовая; б - двухвальцовая; в - схема обогрева вальцов;1 - вальцы; 2 - корыто; 3 - ножи; 4 - слой материала.

Рис. 1.10

Основной частью двухвальцовых сушилок являются пустотелые, медленно вращающиеся навстречу друг другу вальцы 1. Сверху между вальцами непрерывно поступает высушиваемый материал. Пленка подсушенного материала 4 снимается ножами 3. В вальцовых сушилках возможна эффективная сушка в тонком слое материала, не выдерживающего длительного воздействия высоких температур.

.4Дополнительное оборудование

.4.1 Бандажи

Во многих случаях, когда приходится приводить во вращение горизонтальные цилиндры, применение вала по разным причинам оказывается невыгодным или практически невозможным: например, химические цилиндрические вращающиеся печи, весящие много десятков или даже сотен тонн и имеющие в длину 30 - 40 м и больше. Вал такой печи должен был бы иметь диаметр порядка 1 - 2 м.

Кроме того, температурные условия печи (1200-1400°) потребовали бы снабжения вала и спиц специальным сложным охладительным устройством, практически навряд ли осуществимым. В этом случае, как и во многих других, на цилиндр надеваются два или больше бандажей, которые в свою очередь устанавливаются на роликах. Приводная зубчатка также укреплена на цилиндре. Последний, вращаясь, увлекает за собой бандажи, катящиеся по роликам.

По способу связи между бандажом и барабаном различают:

Бандажи, скрепленные с барабаном в нескольких точках. Такие бандажи применяются обычно при относительно легких барабанах. Изготовляются они из полосового железа соответствующей толщины и ширины, а иногда из углового проката, реже отливаются. Крепление производится при помощи хомутов, которые с одной стороны прикрепляются к барабану, а с другой к бандажу. Крепление к последнему должно быть таким, чтобы наружная поверхность бандажа оставалась неповрежденной. Чаще всего бандажи описываемого типа применяются в барабанных грохотах и подобных легких машинах.

Бандажи, скрепленные с барабаном по всей окружности. В тех случаях, когда нагрузка значительна и, тепловое расширение отсутствует или крайне незначительно, бандаж крепится к барабану по всей окружности при помощи заклепок или болтов. Таков, например, случай шаровых мельниц и смесительных барабанов. Сечение бандажа имеет обычно форму рельса, широкие полки которого служат для крепления к корпусу. Если кожух относительно тонок, между ним и бандажом располагается добавочная прокладка.

Бандажи, надетые на барабан свободно. В тяжелых медленно вращающихся машинах, когда возможно значительное тепловое расширение, бандаж надевается на корпус свободно, с зазором. Величина последнего определяется по следующей формуле

ΔD=a(t-t0)D,

где α - коэффициент линейного расширения материала корпуса;t - максимальная температура, до которой может нагреться барабан; t0 - минимальная возможная температура во время монтажа; D - внешний диаметр барабана.

Крепление бандажа

Рис 1.11

Следовательно, внутренний диаметр бандажа должен быть

>D + ΔD = D[l+ α (t-t0)] , (1.12)

Бандаж надевается не непосредственно на кожух, а между ними прокладываются от одной до трех прокладок (рис 1.11) толщиной b - 20 мм . На накладках устанавливаются башмаки которые образуют кольцо жесткости, не допускающее смятия кожуха в местах контакта. Башмаки располагаются по окружности таким образом, что выступы были расположены поочередно то в одну, то в другую сторону.

.4.2 Ролики

Опорные ролики изготовляются обычно из более мягкого материала, чем бандажи, что обеспечивает более быстрый износ роликов, чем бандажей, смена которых фактически требует демонтажа всей машины, в то время как смена износившегося ролика особых трудностей не представляет и требует относительно немного времени. Следует иметь в виду, что и при одинаковом с бандажами материале износ роликов будет больше, так как они вращаются значительно быстрее бандажей вследствие меньшего диаметра. Ширина ролика берется больше ширины бандажей на 20-30 мм, что облегчает монтаж машины. Если имеется тепловое расширение, последнее должно быть учтено. Один из бандажей при помощи упорных роликов устанавливается так, что он и при тепловом расширении не может сдвинуться вдоль оси барабана. Если l - расстояние рассматриваемого бандажа от закрепленного, тепловое расширение будет:

Δl=α(t-t0)l , (1.13)

ширина ролика должна быть увеличена на Δl, иначе возникает опасность, по крайней мере, частичного сползания бандажа с ролика.

Ролики закрепляются на валу, лежащем в двух подшипниках. Подшипники роликов делаются скользящими перпендикулярно к оси печи и соответственно устанавливаются на салазках. Причина этого в следующем. При двух бандажах последние должны опираться в четырех точках, что не всегда легко осуществить без регулировки положения подшипников. При трех бандажах возникают дополнительные трудности, и при установке бывает, что печь опирается только на две пары роликов, в то время как третья не работает. Кроме того, износ роликов или возможная осадка фундамента под одним бандажом имеют тот же эффект или во всяком случае ведут к частичной разгрузке одних роликов за счет перегрузки других. Наличие скользящих подшипников дает возможность компенсировать все указанные недостатки. Подшипники каждого ролика устанавливаются на одной общей раме, склепанной или сваренной из фасонных профилей или листовой стали, покрытой стальными листами. Прорези в последних для болтов подвижных подшипников делаются продолговатыми, кроме того, подвижные подшипники упираются в упорные болты.

.4.3 Транспортные устройства

Для облегчения труда обслуживающего персонала, увеличения производительности и снижения себестоимости сушки в сушильных установках применяются механизированные транспортные устройств а для перемещения сушимых материалов как в самой сушильной камере, так и в сушильном цехе.

Большое применение для транспортировки сыпучих и кусковых материалов в сушильных установках имеют ленточные и цепные транспортеры.

Ленточный транспортер представляет собой бесконечную ленту, огибающую два кошевых барабана, из которых один вращается от приводного двигателя и сообщает ленте движение. Этот барабан называется приводным или головным. Второй концевой барабан имеет приспособление для натяжения ленты и называется натяжным или хвостовым.

В сушильных установках при поточном методе (производства широкое распространение получили подвесные круговые конвейеры для штучных материалов. По двум рельсам из угловой стали или по нижней полке двутавровой балки катятся тележки на роликах. К осям роликов прикреплены подвески, к которым подвешены полки или другие устройства для транспортирования материалов. Все подвески связаны общей бесконечной цепью, которая огибает приводные и поворотные звездочки. Такие конвейеры могут перемещать материалы в вертикальной и горизонтальной плоскостях и дают возможность обслуживать одним конвейером все помещения, занятые последовательными операциями поточного производства, даже если эти помещения расположены на разных этажах и в разных зданиях. Последнее является большим преимуществом подвесных конвейеров. Кроме того, они не занимают места на полу помещений, проходя всюду под потолком и только у обслуживаемых агрегатов опускаясь до необходимой высоты. Такие конвейеры с успехом применяются на производствах, где обрабатываемые предметы не тяжеловесны, не громоздки и рабочий без особого труда может на ходу загружать и разгружать конвейер.

Конвейерная монорельсовая вагонетка

Рис 1.12

Скорость конвейеров этого типа обычно составляет от 0,1 до 0,4 м/сек. Существуют также и автоматические устройства для разгрузки конвейеров. На рис. 1.12 показана конвейерная монорельсовая вагонетка для кирпича.

В последние годы в сушильных установках для мелкокусковых материалов получил распространение пневматический транспорт. При сравнении пневматического транспорта с разными видами механического следует отметить, что хотя транспортировка материала пневматическим способом на 1 т/м обходится в отдельных случаях несколько дороже, чем механическим, пневматический транспорт все же имеет много преимуществ перед механическим: а) независимость от рельефа местности; б) большая производительность; в) удобство и простота обслуживания; г) гигиеничность (особенно существенно во вредных производствах); д) возможность транспортирования на большие расстояния посредством одного транспортирующего агрегата; е) высокая степень автоматизации.

Существенным преимуществом пневматического транспорта является и то обстоятельство, что трубопроводы проходят в рабочих помещениях, обычно под потолком или ниже пола и отнимают сравнительно мало места в рабочих помещениях.

Пневматические транспортные установки бывают всасывающими, нагнетательными и смешанными.

Схема смешанной (всасывающе-нагнетательной) пневматической установки

- воздушный компрессор; 2 - всасывающие сопла; 3 - воздуховод; 4 - циклон; 5 - фильтр; 6 - шлюзовые затворы; 7 - воздушный ресивер.

Рис 1.13

Всасывающие пневматические установки обычно применяются, когда материалы нужно транспортировать из нескольких точек к одному пункту его разгрузки, нагнетательные, наоборот, - когда материал нужно транспортировать от одного пункта загрузки к одному или нескольким пунктам разгрузки. Смешанные установки применяются при транспортировании значительных количеств материала, на большие расстояния, причем они позволяют подавать его из разных мест загрузки в места его выгрузки. На рис 1.13 показана схема смешанной (всасывающе-нагнетательной) пневматической установки. Действует она следующим образом. Воздушный компрессор 1 создает в воздуховоде 3 разрежение, благодаря чему атмосферный воздух, с большой скоростью устремляется во всасывающие сопла 2, погруженные в материал, подлежащий транспортированию, и увлекает его за собой. В циклоне 4 и фильтре 5 материал через шлюзовые затворы 6 попадает в нагнетательный трубопровод 3, по которому он подается к разгрузочным сепараторам 4 и фильтрам 5.

При сушке сыпучих мелкозернистых материалов в барабанных, пневматических, сушилках с кипящим слоем, и т. п. или жидкостей в распыливающих сушилках унос мелких частиц этих материалов сушильным агентом из сушилки может составлять значительную величину (от 2 до 30 г/м3 сушильного агента). Количество уноса зависит от рода сушимого материала, скорости сушильного агента, размеров частиц материала и конструкция сушилки.

Если сушилка работает на смеси топочных газов с воздухом, то топочные газы будут также загрязнены уносом, состоящим из твердых частиц несгоревшего топлива и летучей золы, выносимых продуктами сгорания из топки; этот унос может также составлять значительную величину (от 10 до 30 г/м3 газа). По величине пылинок (дисперсности) условно принята следующая классификация пыли: мелкая пыль с размерами частиц до 100 мкм, средняя - до 200 мкм и крупная - больше 200мкм.

Мелкую пыль, содержащуюся в сушильном агенте, можно также подразделить на: пыль с величиной частиц больше 10 мкм, которые в неподвижном воздухе оседают с возрастающей скоростью и не диффундируют; пылевые облака с величиной частиц от 0,1 до 10 мкм, которые в неподвижном воздухе оседают с постоянной скорость и также не диффундируют, и дымы с размерами частиц от 0,01 до 0,1 мкм, которым свойственно броуновское движение и которые в неподвижном воздухе не оседают, а непрерывно диффундируют.

Пыль различных веществ может быть взрывоопасной, ядовитой, химически активной, несмачиваемой и т. п. Например, при концентрации мучной пыли 35 г или угольно 30 г 1м3 воздуха смесь взрывоопасна.

Степень очистки воздуха или его смеси с топочными газами в пылеочистных устройствах (эффективность очистки) определяется по формуле:

η0=((а1-а2)/а2)*100% ,

где а1 и a2 - концентрации пыли до и после очистки, мг/м3.

Однако степень очистки пылеуловителя, подсчитанная по формуле (1.13), не является достаточной для оценки качества пылеулавливающего аппарата. Качество пылеуловителя, улавливающего 70 или 80% мелкой пыли, может быть выше, чем пылеуловителя, улавливающего 95% крупной пыли. Для объективной сравнительной оценки различных типов пылеуловителей следует степень очистки подсчитывать и по отдельным фракциям.

При установке двух пылеуловителей, имеющих соответственно степень очистки η0 и η2, общая степень очистки будет:

η0= η1+ η2 - η1· η2 ,

Унос сушильным агентом материала из сушилки уменьшает производительность сушилки и во многих случаях недопустим по санитарным условиям. Поэтому в сушильных установках широко применяются различные пылеулавливающие устройства.

Пылеулавливающие устройства выбирают в зависимости от необходимой степени очистки газа, величины пылинок, свойств пыли (сухая, волокнистая, липкая, гигроскопическая и т. п.), начального пылесодержания, температуры очищаемого воздуха, ценности пыли и т. п.

Пылеулавливающие аппараты, применяемые в сушильных установках, можно разделить на следующие группы:

. Пылеосадительные камеры, в которых преобладающее значение в процессе пылеотделения имеет сила тяжести частиц пыли. 2. Центробежные пылеотделители: циклоны, мультициклоны и другие аппараты, работа которых основана на использования сил инерции - выделении частиц пыли при изменении направления газового потока.

. Мокрые пылеотделители, принцип отделения которых основан на смачивании частиц материала жидкостью и уносе их потоком жидкости.

Электрофильтры, принцип работы которых основан на выделении пыли из воздуха, за счет сообщения частицам пыли электрического заряда в поле высокого напряжения.

.Матерчатые фильтры, принцип действия которых основан назадержании частиц пыли, размеры которых меньше размера пор ткани.

Каждый пылеуловитель имеет свои границы применения в зависимости от крупности частиц основной массы пыл. Циклоны отделяют главным образом пылинки размером 100 мкм и выше, пылеуловительные камеры - 10, мкм и выше, матерчатые фильтры - 0,3 и выше, а электрофильтры - 0,1 мкм и выше.

Циклоны и другие обеспыливающие устройства, осаждающие главным образом пылинки размером выше 100 мкм, относятся к аппаратам для грубой очистки газов. Аппараты, ты, улавливающие пылинки размером меньше 10 мкм, относят к пылеуловителям для тонкой очистки газа.

Пылеосадительные камеры. Такие камеры имеют сечения, значительно превосходящие сечения присоединенных к ним газопроводов. Частицы, попадая вместе с газом в камеру, начинают двигаться с меньшей скоростью в горизонтальном направлении и под действием силы тяжести оседают в коллектор для пыли.

Пылеосадительная лабиринтовая камера конструкции В. В. Бтурина.

Рис. 1.14

Для того чтобы твердые частицы оседали, необходимо соблюдать условие:

<(A/H)vвит ,

где v - скорость движения частицы в осадительной камере в, горизонтальном направлении, м/сек; А/Н - отношение длины осадительной камеры к ее высоте (газ движется в направлении длины);vвит - скорость витания частицы, равная скорости падения частицы под действием силы тяжести

Сухиe пылеулавливающие аппараты - циклоны.

Для улавливания уноса в сушильных установках наибольшее распространение получили циклоны ввиду их простоты и дешевизны Процесс движения газа и выделения пыли в циклоне можно представить следующим образом. Запыленный газовый поток со скоростью v м/сек поступает в цилиндрическую часть циклона через входной патрубок. Входной патрубок расположен по касательной к цилиндрической части циклона, поэтому газ приобретает вращательное движение у стенок и направляется по винтовой линии в сторону вершины конуса. Пыль, движущаяся с газом вдоль стенки конуса, достигая пылеотводящего патрубка, проходит у его стенок в пылевой бункер или золоспускную трубу, где она после затухания вихревого движения осаждается под действием силы тяжести. Газ, вынесший пыль в пыле отводящий патрубок возвращается по оси патрубка ,по направлению к выхлопной трубе. Если принять, что все частицы газа вращаются и циклоне с постоянной угловой скоростью, то статическое давление будет неодинаково по сечению циклона. Минимум давления будет иметь место в центре циклона, давление будет увеличиваться по направлению к стенке. Разность давлений в центре и на периферии циклона определяется скоростью вращения газа в нём и может достигать значительной величины.

Скорость газа во входном патрубке циклона выбирается в пределах от 15 до 20 м/сек, скорость движения в выхлопной трубе - от 3 до 8 м/сек.

Циклоны меньшего диаметра имеют больший коэффициент очистки, поэтому рекомендуется вместо одного большого циклона брать несколько циклонов меньшего диаметра, объединяя их в группу, но обычно не более восьми. Для сбора пыли, осажденной в циклонах, под циклоном или под группой циклонов устанавливается бункер.

Виды циклонов

Рис 1.15

.4.4 Вентиляторы

Для перемещения воздуха в сушильных установках применяются центробежные и осевые вентиляторы.

Выбор типа вентилятора зависит от конструктивны: особенностей сушильного агрегата, сопротивления его вентиляционной системы (Н мм вод. ст.), количества перемещающего сушильного агента (V м3/ч), а так же его температуры и влажности (t и φ). При выборе типа вентилятора определяющее значение должен иметь к.п.д. вентилятора.

Центробежные вентиляторы бывают низкого давления, создающие напор до 100 кГ/м2, среднего - от 100 до 300 кГ/м2 и высокого - от 300 до 1500 кГ/м2. Вентиляторы высокого давления применяются в пневматических сушилках с кипящим слоем. По направлению вращения ротора или колеса центробежные вентиляторы делятся на вентиляторы правого вращения - с колесом, вращающимся по часовой стрелке, и на вентиляторы левого вращения - с колесом, вращающимся против часовой стрелки, если как в том, так и в другом случаях смотреть на вентилятор со стороны привода.

Вентиляторы изготовляются с различным положением кожуха. Центробежные вентиляторы делятся на электровентиляторы и на вентиляторы со шкивом (рис. 1.16)

Центробежные вентиляторы

где а - электровентилятор; б - вентилятор со шкивом.

Рис.1.16

Производительность вентилятора (м3/ч) и создаваемый им напор или разрежение (мм вод. ст.) зависят от окружной скорости ротора. Для каждого вентилятора существуют оптимальные значения производительности и напора, при которых к.п.д. вентилятора имеет максимальное значение, а также придельная или допускаемая окружная скорость колеса (м/сек) из условия его механической прочности и величины создаваемого механического и аэродинамического шума.

.4.5 Воздухоподогреватели

В паровых воздухоподогревателях воздух обычно подогревают не выше, чем до 120° С, используя для этой цели пар давлением 4 - 6 атм. Подогреватели, устанавливаемые в сушильной камере, в большинстве случаев выполняются из гладких стальных или чугунных ребристых труб. Эти трубы соединяют последовательно или параллельно; располагают их в шахматном или коридорном порядке, образуя из них подогревательные системы. Достоинством подогревателей, расположенных непосредственно в сушильной камере, является их незначительное гидравлическое сопротивление со стороны воздуха, недостатком - громоздкость и повышенный расход металла. Недостатком подогревателей из гладких стальных труб по сравнению с ребристыми чугунными трубами является их коррозия, в случае если они применяются в сушилках, в которых осуществляется сушка во влажном воздухе, и особенно, когда сушимый материал выделяет газы, агрессивно действующие на металл.

Газовые воздухоподогреватели.

Газовые или огневые подогреватели применяются в сушильных установках в том случае, если требуется подогреть воздух до температуры порядка 200-300° С, а смесь дымовых газов с воздухом как сушильный агент неприменима, так как содержит летучую золу, которая может осаждаться на сушимом материале.сушильных установках применяют газовые металлические подогреватели рекуперативного типа, в которых теплообмен между дымовыми газами и воздухом происходит через теплопроводные стенки, и металлические регенеративные, в которых дымовые газы и воздух попеременно соприкасаются с одной и той же металлической поверхностью нагрева. сушильных установках применяются стальные трубчатые и пластинчатые, а также чугунные игольчатые, ребристые и плоские огневые газовые подогреватели воздуха.

Недостатками металлических огневых газовых подогревателей являются прогорание, которое происходит при их перегреве выше допустимой температуры вследствие загрязнения поверхности нагрев сажей или золой, и, кроме того, перетекание дымовых газов в воздух или, наоборот, при нарушении не плотностей в трубках или металлических пластинах вследствие отсутствия или недостаточной компенсации температурных напряжений. Наиболее рациональным типом газового воздухоподогревателя для сушильных установок следует считать стальной трубчатый воздухоподогреватель, пригодный в зависимости от марки стали для подогрева воздуха до температур 300 - 400° С.

Нормальная углеродистая сталь по своей недостаточной огнеупорности допустима для рабочих температур металла не свыше 500 - 550° С. Для более высоких температур используются легированные стали с повышенным содержанием силиция, хрома, алюминия, никеля. При работе топок на газе в качестве подогревателя воздуха могут найти применение игольчатые воздухоподогреватели.

Преимуществами игольчатого подогревателя являются относительная компактность поверхности нагрева, развитой с газовой и воздушной стороны с помощью игл, недостатками - трудности очистки от летучей золы и сажи игольчатой поверхности нагрева и недостаточная газоплотность из-за наличия большого количества стыков отдельных элементов, требующих тщательного уплотнения.

Газовые подогреватели воздуха обычно имеют индивидуальную топку, продукты сгорания которой подогревают воздух в подогревателе. Топки для газовых огневых подогревателей выполняются обычно без искроуловительных устройств - циклонов; вследствие этого при работе на зольных топливах подогреватель требует частой чистки. Если температура дымовых газов велика, ее снижают путем подмешивания воздуха к дымовым газам.

Недостатком газовых огневых подогревателей является их низкий к.п.д., так как в большинстве случаев они работают от отдельной топки, а вследствие того, что стенки рекуператора не выдерживают высоких температур, приходится разбавлять дымовые газы воздухом; при этом, чем больше воздуха подается, тем больше увеличиваются потери с уходящими газами. Количество воздуха, разбавляющего дымовые газы, можно уменьшить, если применить рециркуляцию отработанных дымовых газов и тем самым повысить к.п.д. подогревателя.

Установки, предназначенные для сжигания топлива без проведения технологических процессов в них называются топками. Топки подразделяются на отдельно стоящие и встроенные.

Отдельно стоящие топки предназначены для сжигания жидкого и газообразного топлива с целью получения теплоносителя необходимых параметров, используемого в различных технологических установках.

Топки должны удовлетворять следующим требованиям:

обеспечивать полное сжигание топлива и высокую экономичность его использования, и процесс горения должен поддаваться регулированию;

быть надежным и достаточно простым для монтажа и обслуживания;

быть безопасным в эксплуатации;

быть достаточно дешевым

В ряде случаем становится задача получить в топке теплоноситель с относительно невысокой температурой. Обычно для этого дымовые газы разбавляют воздухом. На некоторых химических заводах для этой цели используют загрязненный воздух из системы вытяжной вентиляции, что позволяет легко ликвидировать специальную очистку вентиляционных выбросов и достигнуть экономии.

По конструкции топки подразделяют на прямоугольные, круглые и циклонные.

Прямоугольные топки предпочтительны для сжигания жидкого топлива. Круглые топки используются на многих химический заводах и показали хорошие результаты. В таких топках допустимое теплонапряжение 1400 квт/м3.

Циклонные топки осуществляют интенсивное перемешивание газо-воздушного потока, и получается теплоноситель одинаковой температуры по всему объёму. Топки просты по конструкции, дешевы в изготовлении, компактны

.5Патентный обзор по современному аппаратно-техническому оформлению процесса сушки

В последнее время имеется большое количество различных видов сушильных установок, которые позволяют интенсифицировать процесс сушки и повысить качество полученного продукта.

Конструкторское бюро “Гранат” в 1997 году разработало сушилку для древесины. Изобретение относится к технике сушки пиломатериалов в лесопильной и деревообрабатывающей промышленности. Недостатками таких сушильных камер является низкое качество сушки пиломатериалов, большой расход электроэнергии.

Предлагаемая сушилка для древесины отличается тем, что с целью улучшения качества сушки и снижения расхода электроэнергии она снабжена опорно-поворотным устройством с разъемным бандажом и конденсатором-нагревателем.

Научно-технический кооператив “Млын” (BY) в 1993 году разработал установку для сушки дисперсных материалов. Изобретение относится к технике сушки, преимущественно хрупких, сыпучих и комковых материалов, склонных к адгезии и включающих куски твердого недробимого материала, например, карьерная глина, грунт, известняк, и может найти применение в химической, пищевой и в промышленности строительных материалов.

Подобные сушилки обладают невысокими технико-экономическими показателями при сушке сырьевых карьерных материалов с высокопрочными включениями. Это обусловлено низкой интенсивностью процессов измельчения и сушки, что предопределяет высокие затраты энергии на процесс и большие габариты установки. Задачей предложенного изобретения является повышения экономичности процессов измельчения и сушки сырьевых материалов, что позволяет снизить расход электроэнергии, уменьшить металлоемкости и габаритные размеры установки.

АО “Самарский опытно-экспериментальный завод” разработал в 1998 году уплотнение для сушильных камер. Камера содержит боковые стены, перекрытие, двери с шарнирами в виде двухслойного полого резинового уплотнения, опорный и пружинящий элементы. Изобретение относится к сушильной технике, а именно к уплотнениям для сушильных камер. Цель изобретения - повышение экономичности процесса сушки, ускорение сушки, увеличение производительности.

Акционерное общество “Научно-исследовательский технологический институт” разработал в 1999 году сушилку для термопластичных материалов. Изобретение относится к сушке термопластичных материалов и может быть использовано в химической и других отраслях промышленности при переработке пластмасс. Недостатками устройств данного типа является отсутствие повторного использования нагретого воздуха, перегрев стенок камеры, что может приводить к залипанию термопластов в нижней части камеры, медленный прогрев на всю глубину гранул, что в конечном счете снижает качество сушки термопластов.

Задача предлагаемого изобретения - исключение перегрева материала и повышения качества сушки .

2. ОБОСНОВАНИЕ И ОПИСАНИЕ УСТАНОВКИ

В технике сушке подвергается множество материалов, различающихся химическим составом дисперсностью и структурой, адгезионными свойствами и термоустойчивостью, содержанием и формой связи влаги с материалом и другими свойствами. В связи с этим выбор рационального способа сушки, типа сушильной установки и конструкции сушильного аппарата представляет собой сложную технико-экономическую задачу. Большинство сушилок, в принципе, имеют схожее применение. Но основным критерием выбора типа сушилки является температурный режим работы, агрегатное состояние высушиваемого материала и его физические и химические свойства. Для сушки известняка рекомендуется использование барабанную сушилку, работающую по нормальному сушильному варианту. Она получила наибольшее распространение в промышленности благодаря простоте устройства и эксплуатации.

Барабанные сушилки широко применяют для непрерывной сушки, как правило, при атмосферном давлении, кусковых, зернистых и сыпучих материалов, не прилипающих к стенкам и не пылящих. Барабанная сушилка (рис 1.7) имеет цилиндрический сварной барабан, установленный с небольшим наклоном к горизонту опирающийся с помощью бандажей на ролики. Барабан приводится во вращение электродвигателем через зубчатую передачу. Частота вращения барабана обычно не превышает 5 - 8 мин-1. Материал подаётся в барабан питателем и поступает на внутреннюю насадку. Насадка, тип которой определяется свойствами высушиваемого материала, обеспечивает равномерное распределение и хорошее перемешивание материала по сечению барабана, а также его тесный контакт с сушильным агентом при перемешивании. Газовая фаза и материал часто движутся прямотоком, что позволяет избежать перегрева материала.

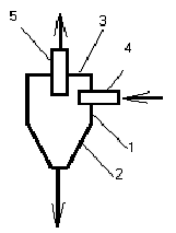
В сушильном барабане неизбежно происходит частичное истирание материала. Наиболее мелкие частицы выносятся из барабана потоком газа. Для улавливания последних чаще всего используют циклоны (рис.2.1)

Запыленный газ поступает по тангенциальному патрубку 4, поступает в пространство между цилиндрическим корпусом 1 и выхлопной трубой 5 и движется по пространству до входа тангенциального патрубка в корпус, струя начинает двигаться далее вниз винтообразно. Так как при вращении газа образуется центробежная сила, то частицы пыли, имеющие значительно большую плотность, осаждаются на цилиндрической поверхности циклона и под действием силы тяжести ссыпаются в коническое днище 2, а затем в бункер. Очищенный газ в коническом днище 2 разворачивается на 1800 и в виде более тонкой спирали по выхлопной трубе 5 выходит из циклона.

Циклон

- цилиндрический корпус;2 - коническое днище;3 - крышка циклона;4 - тангенциальный входной патрубок;5 - выхлопная труба.

Рис.2.1

Для повышения степени очистки газа применяется пластинчатый электрофильтр УГI-2-10 рис. 2.2.

Пластинчатый электрофильтр

- корпус; 2 - пластинчатые электроды; 3 - рама для закрытия проволочных электродов; 4 - проволочные электроды; 5 - распределительная решетка; 6 - электроизоляция; 7 - бункер для пыли.

Рис. 2.2

Запыленный газ подаётся в нижнюю часть аппарата и равномерно распределяется по объёму, где под действием электрического тока он очищается от пыли и через верхний штуцер отводится из корпуса. Частички пыли осаждаются на электродах и по мере накопления опадают в бункер.

Для транспортировки больших количеств газа при низких давлениях применяют вентиляторы. На рис. 2.3. представлена схема центробежного вентилятора.

В спиралевидном корпусе 1 вентилятора вращается рабочее колесо 2 с большим числом лопаток. Газ поступает по оси колеса через всасывающий патрубок. Газ поступает по оси колеса через всасывающий патрубок, захватывается лопатками и выбрасывается из корпуса через нагнетательный патрубок 3

Центробежный вентилятор.

Для нагрева воздуха применяют теплообменники. Кожухотрубчатые теплообменники могут устанавливаться горизонтально или вертикально, быть одно-, двух-, четырех- и шестиходовыми по трубному пространству. Трубы, кожух и другие элементы конструкции могут быть изготовлены из углеродистой или нержавеющей стали. Теплообменники могут быть двух видов: Н - с неподвижными трубными решетками и К - с линзовым компенсатором неодинаковых температурных удлинений кожуха и труб.

Принципиальная схема прямоточной барабанной сушильной установки представлена на рис. 2.4.

Принципиальная схема барабанной сушилки

- бункер-дозатор; 2 - циклон; 3 - сушильный барабан; 4 - калорифер; 5 - транспортер; 6 - электрофильтр; 7 - вентилятор.

Рис. 2.4

Влажный материал из бункера-дозатора 1 подаётся во вращающийся сушильный барабан 3. Параллельно материалу в сушилку подаётся сушильный агент (воздух), нагретый в калорифере 4. Высушенный агент (материал) с противоположного конца сушильного барабана поступает на транспортирующее устройство 5.

При разработке сушильной установки значительное внимание должно уделяться улавливанию пыли. В нашем случае используется циклон НИИОгаз ЦН-15, который обеспечивает степень очистки газа от пылевых частиц 93%.Но так, как по условию необходимо 98%, то, применяем электрофильтр УГI-2-10, который очищает газ до 99%. На установке используем вентилятор Ц14-46, подобранный с учетом максимально возможного расхода газа и гидравлического сопротивления технологической линии.

3. ПОДРОБНЫЙ РАСЧЕТ БАРАБАННОЙ СУШИЛКИ

.1.Материальный баланс сушилки

Масса испаряемой влаги в барабане

(3.1)

где G1=4000кг/ч - производительность по исходному влажному материалу;

ω1=10% - начальная влажность материала (считая на общую массу);

ω 2=1% - конечная влажность материала;




Масса высушенного материала G2

=G1-W, (3.2)=4000-363.6=3636.4 кг/ч

.2 Выбор основных габаритных размеров барабана

Объем сушильного барабана


(3.3)

где А = 49 кг/(м3 ч) - напряженность барабана по влаге;


Диаметр барабана находим по соотношению

(3.4)

где L=5Д длина барабана


Принимаем нормализованные размеры барабана

Д=1.2 м, L=8 м

.3 Определение потерь тепла в окружающую среду

Норма потерь тепла с одного погонного метра определяется по эмпирической формуле

(3.5)

где Qn - тепловые потери с цилиндрической поверхности, Вт;

L - длина объекта, м;

Д - наружный диаметр с учетом изоляции, м;

t - температура теплоносителя, 0С;

К - поправочный коэффициент, определяемый по справочнику, К=1;

Средняя температура теплоносителя (воздуха):

(3.6)

где t1=800 0C,температура воздуха на входе;


Принимаем, что сушильная установка находится в помещении с температурой 25 0С (поправочный коэффициент к нормам потерь равен 1). Наружный размер барабана с учетом изоляции принимаем предварительно равным 1,3 м.

По формуле находим норму тепловых потерь:


Потери тепла по всей длине барабана:

= 8·1481.1 = 11848.8 Вт = 427·105 Дж/ч

.4.Массовый расход воздуха (абсолютно сухого) через сушильный барабан

(3.7)

где W - 363.6 кг/ч - испарение влаги в барабане, x1- влагосодержание воздуха на входе в барабан; - влагосодержание воздуха на выходе из барабана, метод определение см. ниже


а) Определение х2

Составим внутренний тепловой баланс сушилки

Δ=Св·tм1 - qм - q n (3.8)

где Св = 4187 Дж/(кг·К) - теплоёмкость воды (влаги в материале); м = 20 0С температура материала на входе в сушилку;м - удельные затраты тепла на нагрев материала;м - удельные потери тепла в окружающую среду;

(3.9)

где G2 =3636.4 кг/ч - масса высушенного материала;Gм =846 Дж/(кг·К) - теплоемкость известняка

(3.10)

∆=4187·20 - 676·102 - 117·103 = - 709·103 Дж/кгвлаги

Далее, используя известное уравнение (I2-I1)/(x2-x1)= Δ при известном I,x,Δ зададимся произвольно двумя значениями х2 и вычислим соответственно I2.

При t1=800 0C и x1=0.012 кг/кгсух.возд. I1=900кДж/кгсух.возд

При летних условиях: Средняя температура t= - 17.5 0С, φ=78

х2’=0.1=-709·103·(0.1-0.012)+900·103=838·103Дж/кг;

х2”=0.2, ”=-709·103·(0.2-0.012)+900·103=838·103Дж/кг;

Нанесем на диаграмму Рамзина точки с координатами х1 и I1, х2’ и I2’, x2” и I2”. Проведем через три точки прямую (одна точка является проверочной) до пересечения с изотермой 120 0С, соответствующей температуре газов на выходе из барабана, и по точке пересечения прямых определим искомую величину х2=0,218 кг/кгсух.возд.

Объемный расход влажных газов на выходе и входе в барабан

Расчет плотности (в зависимости от температуры) производится по формуле

(3.11)

где Т =273К - абсолютная температурарабочая температура воздуха,

При t = 800 0С


При t =120 0С

Объемный расход воздуха

На входе в сушильный барабан


На выходе из сушильного барабана

(3.13)


Расчет воздуха для зимних условиях

Средняя температура t= - 6.8 0С, φ=88

По диаграмме Рамзина х0=2·10-3 кг/кгсух.возд. , =30.6·103 Дж/кгсух.возд. - энтальпия зимнего атмосферного воздуха нагретого до температуры помещения.(250С)

Массовый расход воздуха

(3.14)

х1=2·10-3 кг/кгсух.возд. - влагосодержание зимнего воздуха в Минске;


Определение х2

Δ=-709·103Дж/кг

(3.15)

для x2’=0.1’= - 709·103·(0.1-0.002)+900·103 = 8305·103Дж/кгсух.возд.”=0.2”= - 709·103·(0.2-0.002)+900·103=759.6·103Дж/кгсух.возд.

Нанесем на диаграмму Рамзина точки с координатами х1 и I1, х2’ и I2’, x2” и I2”. Проведем через три точки прямую (одна точка является проверочной) до пересечения с изотермой 120 0С, соответствующей температуре газов на выходе из барабана, и по точке пересечения прямых определим искомую величину.

х2=0,22 кг/кгсух.возд.

Объёмный расход влажного воздуха на входе и выходе из сушилки.

(3.16)


Скорость воздуха на выходе из барабана

(3.17)


что вполне допустимо.

Расчет изоляции барабана.

В качестве изоляции применяем шлаковату которая обладает хорошими изоляционными свойствами и имеет невысокую себестоимость

(3.18)

δ3

δ2

δ1

Принимаем δ1=10мм - толщина стенки барабана; δ3=1мм - толщина стенки кожуха из листового железа покрытого масляной краской

По справочнику находим λ1=38,2ккал/м•ч•град = 44,43 Вт/(м•К) - теплопроводность стали при 460 0С

Для шлаковаты:= (460+25)/2=242,5

где t - средняя температура шлаковаты.

Теплопроводность ваты равна

λ =0,0582+0,000145·t (3.19)

λ=0,0582+0,000145·242,5=0,09336 Вт/(м·К)

а) Определяем коэффициент теплопередачи

(3.20)

где Qn=11848.8 Вт - тепловой поток (потери в окружающую среду);=π·Д·L=π·1.3·8=32.6м2 - боковая поверхность барабана;

Д=1,3м - диаметр барабана с изоляцией.

 

где Δtср - средняя разность температур между сушильным агентом и окружающей средой

б) Определяем коэффициент теплоотдачи α1 от сушильного агента к стенке барабана

Расчет производим для средней температуры газов в барабане t=4600С,

α1=1,25·(α1’+α1’’) (3.21)

(3.22)

где ρ=1,293·273/(273+460)=0,482 - плотность воздуха при 460 0С;

μ=0.035·10-3Па·сек - вязкость воздуха при 4600;

λ=0,049 ккал/м·ч·град=57·10-3Вт/(м·К) - коэффициент теплопроводности воды при t=4600С

(3.23)


Так как Re>104 выбираем формулу Nu=0,032·Re0.8

α1’ = (0.0324·(1.7·104)0.8·57·10-3)/1.2=3.07Вт/(м·К)

Определяем α1” из формулы

=0,47·Gr0.25 (3.24)

(3.25)


где Δt = 200С - разность между температурой сушильного агента и стенкой

α1”=(0,47·(87,7·106)0,25·57·10-3)/1,2=2,16 Вт/(м2·К)

α1=1,25(2,16+3,07)=6,54 Вт/(м2·К)

в) Определение коэффициента теплоотдачи от барабана к окружающей среде

α2’ - коэффициент теплоотдачи за счет естественной конвекции;

α2” - коэффициент теплоотдачи за счет лучеиспускания

 (3.26)

где Δt = 20 0C - разность температур между наружной стенкой барабана и окружающей средой



(3.27)

где ε = 0,95м - степень черноты поверхности покрытой масляной краской;

С0 = 5,7 Вт/(м2·К) - коэффициент лучеиспускания абсолютно черного тела

α2 = 2,14+6,33=8,47 Вт/(м2·К)

Определяем толщину слоя шлаковаты

(3.28)


Наружный диаметр барабана

Дн=1,2+2·0.058=1,376м

4. РАСЧЕТ ТЕПЛООБМЕННИКА

Для подогрева воздуха до необходимой температуры используем двухходовый кожухотрубчатый теплообменник.

Греющий агент топочные газы с t = 10000С.

Определяем массовый расход воздуха

г=Vo·ρo/3600 (4.1)

где Vo = 5429.5 м3/ч - объёмный расход воздуха;

ρo = 1,293 кг/м3 - плотность воздуха при нормальных условиях;

г=5429,5·1,293/3600 = 1,95 кг/с

Определяем среднюю разность температур


Δtб = 500-25=475оС

Δtм=1000-800=200оС


Средняя температура воздуха

ср=( tнач.г + tкон.г)/2 (4.2)

где tнач.г =250C, - температура на входе в теплообменник;

tкон.г =8000C, - температура на выходе из теплообменника;ср=(800+25)/2=412,50С

Плотность воздуха при средних рабочих условиях

ρ2=ρ0·(РТ0/Р0Т) (4.3)

где ρ0 = 1,293 кг/м3 - плотность воздуха при н.у.;

Р0, Р - давление при н.у. и при рабочих условиях соответственно;

Т - рабочая температура;

ρ2 = 1.293·(760·273)/(760·(273+412,5) = 0,515 кг/м3

Объемный расход воздуха при средних рабочих условиях

= Gг/ ρ2 (4.4)= 1.95/0.515 = 3.79 м3 /с

Скорость воздуха в трубах

ωг=v2/f2 (4.5)

где f2 - площадь поперечного сечения одной трубы;

ωг=3.79/(225·0.785·0.0342) = 18.56 м/с

Критерий Re для воздуха при 412.5 0С

(4.6)

где μ2 = 0,032·10-3 Па·с - динамический коэффициент вязкости при 412,50С;


Режим движения воздуха - турбулентный.

=0.018·Re0.8·ε (4.7)=0.018·10122.970.8·1 = 28.8

Следовательно

α2 = Nu2·λ2/d2 (4.8)

где λ2 = 0,0464 Вт/(м·К) - коэффициент теплопроводности воздуха при 412,50С

α2 = 28.8·0.0464/0.034 = 39.3 Вт/(м2·К)

Количество передаваемой теплоты

=Gг·cг·(tкон.г-tнач.г) (4.9)

где сг =1016 Дж/(кг·К) - удельная теплоёмкость воздуха при 412,50;

= 1.95·1016·(800-25) = 1535430 Вт

Поверхность теплообмена

=Q/K·Δtср (4.10)=1535400/(39.3·318.3) = 122.7 м2

Приняли коэффициент теплопередачи К равным коэффициенту теплоотдачи воздуха.

Длина трубчатки по расчету

=F/(225·π·0,034) (4.11)=122,7/(225·3,1415·,034) = 5,1м

По ГОСТ 15121-79 длину трубчатки для двухходового кожухотрубчатого теплообменника с диаметром кожуха 800 мм и числом труб 450/225 составляет 2, 3, 4 и 6 м. Принимаем L=6м

Запас поверхности теплообменника

φ=(6-5,1)·100/5,1 = 18% (4.12)

5.РАСЧЕТ ВСПОМОГАТЕЛЬНОГО ОБОРУДОВАНИЯ

.1 Расчет циклона

Основной задачей расчета является подбор типа циклона, определение его диаметра, а также условий его работы, обеспечивающих достижение необходимой степени очистки твердой фазы при допустимом перепаде давления газового потока в циклоне.

Примем предварительно циклон ЦН - 15

Задаём величину

(5.1)

где ΔР - гидравлическое сопротивление, Па;

ρг = 0,898кг/м3 - плотности газа при рабочих условиях на входе в аппарат,;

Из уравнения (5.1) находим:

ΔР=75·0,898·9,81=660.7

Находим скорость газа в рабочем сечении аппарата

(5.2)

где ξ = 155- коэффициент гидравлического сопротивления аппарата;

Определяем диаметр аппарата

(5.3)

где Vс =2393,9м3/ч - расход газа поступающего на очистку;= 1200С - температура воздуха поступающего на очистку;



Принимаем Д=0,6м

По Рис. 5.1 по среднему диаметру частиц определяем степень улавливания пыли для каждой фракции в циклоне ЦН - 15 диаметром 600 мм, при условиях:

ρч =1930 кг/м2; ρг = 1,32 кг/м3; ΔР/(ρг·g) = 75м:

Степень очистки η = 96%

По рис. 5.2. определяем степень улавливания пыли в зависимости от её плотности ρч = 2650 кг/м3.

Степень очистки η = 93%.

Сопротивление циклона ΔРц = 685 Па

Так как степень очистки η = 93% меньше требуемой (η = 98%), применяем электрофильтр.

Степень улавливания пыли в циклоне ЦН - 15

Рис.5.1

Степень улавливания пыли в зависимости от её плотности

Рис.5.2

.2 Расчет электрофильтра

Одним из основных элементов электрофильтра является осадительная камера (Рис.2.2), в которой размещены осадительные электроды. По созданным этими электродами каналам движется газ. Внутри каналов размещены коронирующие электроды, выполненные из нихромовой проволоки диаметром 2-3 мм. При создании между электродами разности потенциалов в 55-70 кВ газ ионизируется и заряженные ионами твердые частицы переносятся к осадительному электроду.

Площадь сечения активной зоны электрофильтра f, м2 рассчитывается по следующей зависимости

(5.4)

где Vг = 2393,9 м3/ч - расход газа поступающего на очистку;

ωг=1,4 м/с - скорость газа в электрофильтре;

К=1.1 - коэффициент запаса учитывающий подсосы атмосферного воздуха;


Принимаем фильтр УГI-2-10 имеющий максимальную степень очистки

η= 99%.

Определяем степень очистки газа в электрофильтре

η= 1-exp(-ωч·а), (5.5)

где ωч - скорость дрейфа заряженных частиц по направлению к осадительному электроду;

а - коэффициент, характеризующий геометрические размеры аппарата и скорости газа в нем;

(5.6)

где L = 2.5м - длина электрода;

П - активный периметр осадительного электрода, м;

fэ - площадь сечения активной зоны, ограниченной стенками осадительно го электрода (для пластинчатых электродов П/ fэ =7,7м2);


Степень очистки газа

η= 1-exp(-0,45·25,7)=0,999

По справочнику сопротивление электрофильтра УГI-2-10 ΔΡ = 175 Па.

.3 Расчет вентилятора

Вентилятор выбирается по максимально возможному расходу газа, требуемого для сушки материала. В нашем случае максимальная нагрузка по газу соответствует летним условиям.

вых=2393,9 м3/ч = 0,665 м3/с (5.7)

Диаметр газоходов, соединяющих теплообменник - барабан - вентилятор - циклон - фильтр, принимаем равным диаметру выхлопной трубы выбранного циклона d=0,39 м.

Скорость в газоходе вычисляем по формуле

ω =Vвых/(0,785·d2) (5.8)

где Vвых - объемный расход газа, м/с;- диаметр трубопровода, м;

ω = 0,665/(0,785·0,392) = 5,57 м/с

Рассчитываем гидравлическое сопротивление системы

ΔРобщ =ΔРц.+ΔРэ.ф.+ ΔРпр.+ ΔРмс. (5.9)

где ΔРц =685 Па - сопротивление циклона;

ΔРэ.ф. = 175 Па.- сопротивление электрофильтра;

ΔРпр - сопротивление прямых участков системы;

ΔРмс.. - местные сопротивления;

Сопротивление прямых участком рассчитываем по формуле

(5.10)

где λ = 0,024 - коэффициент трения;

 ρ2 = 0,515кг/м3 - плотность воздуха при 412.50С;

 ω2 = 12,3м/с - скорость воздуха;

l =24м - длина прямых участков;

d = 0,39м - диаметр трубопровода;


Рассчитываем местные сопротивления

ΔРмс.. =(4*ζпов +ζвен +ζвход+ζвыход+ζтоп.вход.+ζтоп.вых.+ ζсуш.вход.+ζпов)*(ρ*ω2)/2 (5.11)

где ζпов = 1.0 , ζвен = 4.9, ζвход = 0.5, ζвыход =1, ζтоп.вход = 0.16, ζтоп.выход = 0.2,

ζсуш.вход=0.5, ζсуш.вых0,35 - коэффициенты местных сопротивлений;

ΔРмс.. =(4*1+4.9+0.5+1+0.16+0.2+0.5+0.35) * (0.515*12.32) / 2 = 452Па

ΔРобщ =685+175+57.5+452 = 1341.6 Па

С учетом расхода газа и гидравлического сопротивления технологической линии по справочнику выбираем вентилятор Ц14-46

ЗАКЛЮЧЕНИЕ

В данном курсовом проекте рассчитана и спроектирована сушильная установка для сушки известняка. Производительность сушилки по влажному материалу 4000 кг/ч, длина сушильного барабана 8м, диаметр - 1.4м., сушильный агент - воздух с начальной температурой tн=8000С, конечной tк=1200С.

Основным критерием выбора типа сушилок является температурный режим работы процесса, агрегатное состояние высушиваемого материала и его физические и кинетические свойства. Для сушки известняка рекомендуется использовать барабанную сушилку, работающую по нормальному сушильному варианту. Она получила наибольшее распространение в промышленности благодаря простате устройства и эксплуатации. Барабанные сушилки широко применяются для непрерывной сушки, как правило при атмосферном давлении, кусковых, зернистых и сыпучих материалов. Не прилипающих к стенке, непылящих.

Установка включает также калорифер, вентилятор, циклон и электрофильтр. В данном случае используется циклон НИИОгаз ЦН - 15 и электрофильтр, которые совместно обеспечивают требуемую по заданию степень очистки газа от пылевых частиц, 98%; вентилятор центробежный Ц14-45. Для подогрева воздуха применен двухходовый теплообменник.

СПИСОК ИСПОЛЬЗУЕМОЙ ЛИТЕРАТУРЫ

1.Касаткин А.Г. Основные процессы и аппараты химической технологии. - М.: Химия, 1971

.Дытнерский Ю.И. Основные процессы и аппараты химической технологии. - М.: Химия, 1991

.Левченко П.В. Расчеты печей и сушилок силикатной промышленности. - М.: Высшая школа,1968

.Чернобыльский И.И. Машины и аппараты химических производств. - М.: Машиностроение, 1975

.ГОСТ 11875-73 Аппараты с вращающимися барабанами общего назначения. Основные параметры и размеры.

.Справочник машиностроителя. - М.: Машиностроение, 1963

.Методические указания к курсовому проектированию по курсу «Процессы и аппараты химической технологии». - Минск: БТИ, 1980

.Павлов К.Ф., Романков П.Г. Примеры и задачи процессов и аппаратов химической технологии. - Л.: Химия, 1970

.Рысин С.А. Вентиляционные установки машиностроительных заводов. - М.: Машиностроение. 1964

.Процессы и оборудование предприятий строительных материалов и изделий. Методические указания. - Минск: БГТУ, 1991

Похожие работы на - Расчет и проектирование барабанной сушильной установки для сушки известняка

 

Не нашли материал для своей работы?
Поможем написать уникальную работу
Без плагиата!
Без нейросетей!