Модернизация СТФ на 3600 голов с разработкой линии приготовления кормов
МИНИСТЕРСТВО СЕЛЬСКОГО ХОЗЯЙСТВА
РОССИЙСКОЙ ФЕДЕРАЦИИ
Пензенская государственная
сельскохозяйственная академия
Факультет инженерный
Кафедра « Механизация технологических
процессов в АПК »
КУРСОВОЙ ПРОЕКТ
На тему:
«Модернизация СТФ на 3600 голов с разработкой
линии приготовления кормов»
Пенза 2014
Содержание
Введение
. Характеристика свиноводческой фермы по выращиванию и
откорму 3600 свиней.
. Технологический раздел
.1 Описание процессов механизации операций на свиноводческой
ферме.
.1.1 Операция приготовления кормов.
.1.2 Механизация раздачи кормов
.1.3 Механизация поения свиней.
.1.4 Механизация удаления навоза.
.2 Расчет технологической карты.
. Конструкторский раздел.
.1 Зоотехнические требования, предъявляемые к дробилкам
кормов.
.2 Применяемая дробилка.
.3 Предлагаемая дробилка.
. Расчет экономической эффективности.
. Безопасность жизнедеятельности
Общие выводы
Литература
Введение
Свиноводство - одна из наиболее скороспелых отраслей животноводства. От
других сельскохозяйственных животных свиньи отличаются многоплодием (за один
опорос от свиноматки можно получить до 12 поросят), ранним вступлением в
половую зрелость (в 9-10 месяцев). Продолжительность супоросности составляет
112-120 дней, при двух опоросах в год одна свиноматка может дать до 24 поросят.
Убойный выход мяса свиней один из самых высоких - 70-85%. При интенсивном
откорме подсвинков и реализации их в 8-9-месячном возрасте живой массой по 110
кг от одной свиноматки в год можно получить 2 т мяса. То есть в увеличении производства
мяса в стране свиноводство должно сыграть существенную роль. Мясо и свиной жир
широко используются в консервной и пищевой промышленности, так как при
копчении, солении, консервировании сохраняются их вкусовые качества. Кроме мяса
и сала свиноводство поставляет кожи и щетину для легкой промышленности. Свиньи
- всеядные животные (используют растительные и животные корма, отходы
переработки сельскохозяйственной продукции, пищевые отходы), их можно
выращивать в разнообразных кормовых и климатических условиях. Оплата корма
продукцией в свиноводстве очень высокая: на 1 ц прироста расходуется 4-6 ц
кормовых единиц, что значительно ниже, чем при откорме крупного рогатого скота,
овец, коз. Свиньи обладают рядом биологических и физиологических особенностей,
благодаря которым они могут быть широко использованы для всемерного увеличения
производства мяса и жира. Свиньи лучше, чем крупный рогатый скот и овцы,
перерабатывают разнообразные корма в мясо и жир. На 1 кг прироста в весе свинья
тратит 3 - 6 кормовых единиц, овца - 8-10 кормовых единиц, а крупный рогатый
скот - еще больше. Мясо свиньи обладает высокой питательностью и хорошими
вкусовыми качествами. Свиньи отличаются очень высокой плодовитостью. При
нормальных условиях содержания взрослая свинья может давать по 2 опороса в год,
по 9-И поросят в среднем в одном помете. Свиньи современных культурных пород и
отродий характеризуются очень высокой скороспелостью. При мясном откорме свиная
туша весит 80-100 кг при забое в 6-9-месячном возрасте. Такая исключительно
высокая продуктивность свиней в сочетании с большой плодовитостью их позволяет
в условиях пропашной системы земледелия быстро развивать свиноводство, что
необходимо для значительного увеличения мясных фондов страны. Вот почему в
перспективном плане производства продуктов животноводства на ближайшие 10-20
лет свиноводству придается большое значение.
. Характеристика свиноводческой фермы по выращиванию и откорму 3600
свиней.
Свиноводческая ферма по выращиванию и откорму свиней - это предприятие,
основной продукцией которого является производства свиней, для дальнейшей их
переработки в мясо. На данных фермах используют в основном свиней мясных пород.
Например таких как: Ландрас, Дьюрок. Эти породы свиней характеры небольшим
содержанием сальной прослойки жира, что способствует получению из них мяса
высокого качества с невысоким содержанием жира.
Для свиноводческой фермы мясного типа применяется следующее процентное
соотношение половозрастных групп свиней.
Таблица 1.1 - Структура стада на ферме по откорму и выращиванию свиней.
|
Половозрастная группа
|
Процентное соотношение в стаде
|
|
Свиноматки
|
8
|
|
Поросята до 4 месяцев
|
42,5
|
|
Ремонтный молодняк
|
2,5
|
|
Откормочное поголовье
|
47
|
Исходя из заданного поголовья в 3600 голов получаем следующее количество
голов свиней на ферме.
Таблица 1.2 - Количество свиней на ферме по откорму и выращиванию свиней.
|
Половозрастная группа
|
Процентное соотношение в стаде
|
|
Свиноматки
|
288
|
|
Поросята до 4 месяцев
|
1530
|
|
Ремонтный молодняк
|
90
|
|
Откормочное поголовье
|
1692
|
Ферма представляет собой огороженную территории, на которой имеются
свинарники для откорма свиней, свинарник где содержатся супоросные свиньи,
поросята отъемыши и ремонтный молодняк, свинарник для проведения опоросов. Для
приготовления влажных кормов имеется кормоцех, хранилища конц. кормов, силосные
траншеи. На въездах и выездах с территории фермы расположены сан пропускник и
дезбарьеры. На небольшом удалении от фермы расположены навозохранилища.
Кормление свиней осуществляется полнорационными многокомпонентными
влажными кормами.
. Технологический раздел
.1 Описание процессов механизации операций на свиноводческой ферме
механизация операция корм дробилка
2.1.1 Операция приготовления кормов
Для приготовления кормов на ферме применяется кормоцех "Маяк
3600".
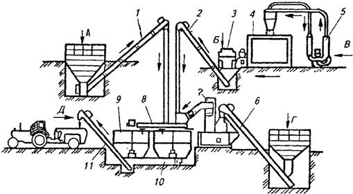
Комплект КЦС-3600 "МАЯК-6" предназначен для механизированной
переработки кормов и приготовления кормосмесей (рис. 2.1) на специализированных
откормочных свинофермах на 3600 голов.
Включает в себя транспортеры скребковые ТС-40, ТС-40С и корнеклубнеплодов
ТК-5Б, два смесителя кормов С-12А, шнеки загрузочный ШЗС-40М и выгрузной
ШВС-40М, питатели муки ПСМ-10 и концентрированных кормов ПК-6А, дробилку кормов
молотковую ДБ-5, измельчители кормов "Волгарь-5А" и корнеклубнеплодов
ИКМ-Ф-10 (взамен ИКС-5М).
Все оборудование объединено в пять технологических линий. Предварительно
взвешенные на автовесах и доставленные автотранспортом корнеклубнеплоды
загружаются в приемный бункер, откуда скребковыми и шнековыми питателями
направляются в измельчитель для отделения камней, мойки и измельчения ИКМ-Ф-10.
Концентрированные корма, доставляемые самосвалами с комбикормового завода или
склада, подаются в приемный бункер ПК-6А, а затем транспортером - в смеситель
С-12. Линию комбисилоса и зеленой массы образуют измельчитель
"Волгарь-5А", скребковый транспортер ТС-40С и загрузочный сборный
шнек. На линии сенной муки измельчают сено дробилкой и накапливают в бункере
питателя ПСМ-10. По мере необходимости требуемый объем сенной или травяной муки
оперативно выгружают на транспортер ТС-40С. Зеленая масса (комбисилос) и
сеноподаются на измельчение, используя кормораздатчики. Со всех технологических
линий компоненты поступают на загрузочный сборный шнек и поочередно загружаются
в один из смесителей. Приготовленные и смешанные корма подаются в выгрузной
шнек или приемный бункер выгрузного транспортера для загрузки в кормораздатчик.
Применение тензометрических датчиков массы позволяет контролировать расход
кормов.
Рисунок 2.1 - Технологическая схема кормоприготовительного цеха КЦС-6000
(«Маяк-6»): 1- питатель концентрированных кормов ПК-6А; 2 - транспортер ТС-40С;
3 - измельчитель ИКВ-Ф-5 «Волгарь-5А»; 4 - питательсенной муки ПСМ-10; дробилка
ДБ-5; 6 - транспортер корнеклубнеплодов ТК-5Б; 7 - мойка-измельчитель кормов
ИКМ-Ф-10; 8 - шнек ШЗС-40М; 9 - запарник-смеситель С-12А; 10 - шнек ШВС-40, 11
- выгрузной транспортер ТС-40М; А - концентрированные корма, Б - зеленая масса,
В - сено, Г - корнеклубнеплоды, Д - готовая кормосмесь
Обслуживают трое или четверо рабочих. Производительность оборудования -
5,2т/ч. Установленная мощность - 110 кВт. Вместимость бункеров для:
корнеклубнеплодов - 18, концентрированных кормов - 15; сенной муки - 10 м3.
Вместимость смесителей - 24 м3. Масса - 21200кг.
.1.2 Механизация раздачи кормов
Для раздачи кормов в настоящее время используется кормораздатчик
ограниченной мобильности КУС-Ф-2.
Кормораздатчик универсальный мобильный КУС-Ф-2 (рис. 2.2) разработан с
целью унификации технических средств в свиноводстве. Предназначен для
нормированной раздачи влажных кормовых смесей и сухих концентрированных кормов
различным половозрастным группам свиней.
Рисунок 2.2 - Раздатчик кормов КУС-Ф-2: а - напольный; б - эстакадный; 1
- рельсы; 2 -кормушки; 3, 4, 11-упоры и датчики програмного устройства; 5 -
лоток для электрического кабеля; 6-кабеле-держатель; 7 - пульт управления; 8 -
бункер; 9- площадка оператора; 10 - кормораздатчик; 12 - эстакада
Выпускается с программным и релейно-контактным управлением выдачи кормов.
Может применяться в свинарниках с различными объемно-планировочными решениями:
с кормовыми проходами шириной 1200..1400 мм, оснащенными рельсовыми путями с
колеей 750 или 616 мм, а также когда раздатчик движется над спаренными
групповыми кормушками по специальнойэстакаде шириной 1050 мм и высотой около
900 мм. Кормораздатчик имеет 12 исполнений. КУС-Ф-2 состоит из следующих
основных узлов: бункера, лопастной мешалки (размещенной внутри бункера),
выгрузных шнеков, шкафа управления, ходовой части, состоящей из ведущей и
ведомой пар колес, крепящейся к бункеру опорными лапами. Мешалка представляет
собой вал-трубу, к которому приварены стойки с сегментными дугами, образующими
прерывистую винтовую линию со встречным потоком.
Таблица 2.1 - Техническая характеристика кормораздатчика КУС-Ф-2
|
Показатели
|
КУС-Ф-2
|
|
|
|
|
|
Показатели
|
КУС-Ф-2
|
|
|
|
|
|
Вместимость бункера, м3 Производительность, т/ч: основного
времени эксплуатационного Норма выдачи корма, кг/м влажных кормосмесей сухого
комбикорма Равномерность раздачи, % Скорость передвижения, м/с: транспортная
рабочая Установленная мощность электродвигателей, кВт Масса, кг Габаритные
размеры, мм: длина ширина высота
|
2 до 35 5 6,8...20,0 3,0...6,0 более 90 0,5 0,35 4,85 950
|
|
|
Вместимость бункера, м3 Производительность, т/ч: основного
времени эксплуатационного Норма выдачи корма, кг/м влажных кормосмесей сухого
комбикорма Равномерность раздачи, % Скорость передвижения, м/с: транспортная
рабочая Установленная мощность электродвигателей, кВт Масса, кг Габаритные
размеры, мм: длина ширина высота
|
2
до 35 5 6,8...20,0 3,0...6,0 более 90 0,5 0,35 4,85 950 3100 1500 1700
|
Узел выгрузных шнеков состоит из пары шнеков и системы открытия шиберов,
осуществляющей управление шиберными заслонками при установлении норм выдачи
корма. Ширина открытия шибера для раздачи сухихкормов должна составлять -
35..100 мм. При выдаче влажных кормов - 100..250 мм. С повышением влажности
размеры окна уменьшаются.
При автоматической раздаче дозу корма в каждый станок устанавливают с
помощью упоров и регуляторов програмного устройства. Оно рассчитано на
автоматическую выдачу корма в 30 станков. В конце кормового ряда раздатчик
останавливается, включается обратное движение, и он возвращается в исходное
положение. Техническая характеристика приведена в таблице 2.1.
.1.3 Механизация поения свиней
Обоснование конструкции поилки ПБС-1 для свиней
В последнее время при групповом и индивидуальном содержании свиней
используют бесчашечную сосковую поилку ПБС-1.[6]
Рис. 1. Автопоилка ПБС-1: 1 - сосок, 2 - корпус, 3 и 4 - уплотнения, 5 -
амортизатор, 6 - клапан, 7 - упор;
Рис. 2. Сосковая автопоилка ПБС-1:
- корпус; 2,4 - резиновые прокладки; 3 - сосок; 5 - клапан; 6 -
амортизатор; 7 - упор
Бесчашечная сосковая автопоилка ПБС-1 используется для поения взрослых
свиней при станочном и бесстаночном групповом и индивидуальном содержании, а
также на летних выгульных площадках. Она состоит из стального корпуса, который
крепится на резьбе к водопродной трубе под углом 45…60° к вертикали. Внутри
корпуса имеется сосок, нажимая на который животное пьет воду. Масса поилки
всего 0,33 кг. Имеются модификации сосковых поилок для свиней всех возрастных
групп. Сосковые поилки работают при давлении в сети 0,01…0,4 МПа. По сравнению
с чашечными сосковые поилки имеют ряд преимуществ: они более гигиеничны,
просты, удобны в монтаже, надежны и менее металлоемки.
Сосковые автопоилки ПБП-1А (для поросят-сосунов и поросят-отъемышей) и
ПБС-1А (для взрослых свиней) предназначены для поения животных водопроводной
водой при индивидуальном и групповом содержании. Клапанный механизм у поилок
ПБП-1А и ПБС-1А одинаковый, они отличаются друг от друга только размерами
корпуса. Чтобы напиться, животное берет в рот носок корпуса вместе с соском и
нажимает на последний до упора в носок. При этом срабатывает надетый на
резиновый амортизатор клапан и вода поступает в полость рта животного. При
отпускании соска подача воды автоматически прекращается. Резиновые уплотнения
предотвращают подтекание воды при нейтральном положении соска. Конец соска
должен находиться на высоте от пола: для поросят-сосунов и поросят-отъемышей -
220-250 мм; для взрослого поголовья при содержании в групповых станках -
420-450 мм; при индивидуальном содержании свиноматки в станке - 600. Для
предотвращения попадания в поилку грязи и других включений общая горизонтальная
труба для подачи воды к поилкам должна располагаться ниже поилок. Тогда она
выполняет и роль отстойника. Для спуска из этой трубы воды с осевшими загрязнениями
на конце трубы устанавливают вентиль. При групповом содержании свиней
достаточно установить одну автопоилку в станке вместимостью до 25 поросят или
взрослых свиней.
.1.4 Механизация удаления навоза
В свинарниках применяется гидравлическая безсекционная система
периодического действия удаления навоза.
В самотечных системах для смыва осадка дополнительно используется вода.
Данная система (рис. 2.5) работает без применения смывной воды. Навозоприемный
канал этой системы выполняется глубиной 800 мм прямоугольного или в виде
U-образного профиля. Дно канала горизонтальное, либо с уклоном i=0,003. Перед
поперечным коллектором установлен шибер калиточного типа с горизонтальной осью
вращения, снабженный замком. Высота калитки равна половине глубины канала. По длине
канала через 6 м друг от друга установлены неподвижные поперечные перегородки с
зазором между их нижней кромкой и дном канала, равным 200..250 мм.
Рисунок 2.5 - Схема навозоприемного канала секционной системы навозоудаления:
1 - поперечный коллектор; 2 - калитка; 3 - шибер; 4 - поперечная перегородка; 5
- решетка
Перед началом эксплуатации калитка шибера плотно закрывается, и канал
заполняется навозной массой в течение 10..14 суток. В процессе накопления навоз
расслаивается на три части: нижний слой - осадок, толщиной 200..250 мм (то есть
равный или больше величины зазора между нижней кромкой поперечных перегородок и
дном канала); средний слой - суспензии, верхний - всплывшие взвешенные частицы,
толщиной 30..50 мм.
После открытия калитки шибера первой освобождается от навоза секция между
самим шибером и ближайшей к нему перегородкой. После понижения уровня навозной
массы в этой секции она начинает вытекать из следующей, между нижней кромкой
перегородки и дном канала. Поэтому вся накопившаяся в канале масса, перетекая
из одной секции в другую, обязательно проходит по дну, смывая с него осадок.
При кормлении свиней комбикормами осадок в канале не накапливается. При
добавлении в рацион пищевых отходов или значительного количества зеленых и
сочных кормов толщина всплывшего слоя навоза достигает 150..200 мм. Поэтому при
очистке этот слой не удаляется из последней секции. В этом случае необходима
установка бачка в канале емкостью 0,5..1,0 м3 со сливной трубой.
.2 Расчет технологической карты
Для определения технико-экономических показателей работы оборудования
произведем расчет технологической карты на выполнение операции - дробление
кормов.
Графа 1. Наименование операции - дробление кормов.
Графа 2. Объем работ в сутки, т
Базовая - 27,25 Проектируемая -27,25
Графа 3. Число дней работы в году.
365
Графа 4.
Годовой объем работ, т
9873 9873
Графа 5. Наименование машины:
ДБ-5 ДБ-5-1
Графа 6. Тип привода и мощность двигателя:
,85 кВт N = 32,2 кВт
Графа 7. Производительность машины за час сменного времени, т.
6
Графа 8. Число машин
2
Графа 9.
Число часов работы машины в сутки
27,25/5∙2 = 2,7 ч 27,25/15∙2 = 0,9 ч
Графа 10. Число часов работы машины в год
,7· 365 = 985,5 ч 0,9· 365 = 328,5 ч
Графа 11. Число обслуживающего персонала на машину
1
Графа 12.
Число обслуживающего персонала всего
2 2
Графа 13. Профессии исполнителя
оператор оператор
Графа 14.
Приводятся годовые затраты труда
985,5· 2 = 1971 чел-ч 328,5 ·2= 657 чел-ч
Графа 15. Разряд выполняемой работы
8
Графа 16. Тарифная ставка
руб/ч 110 руб/ч
Графа 17. Капитальные вложения
руб. 310000 руб.
Графа 18. Расход электроэнергии
,5∙2 ∙4,85 = 9559 кВт 328,5∙2 ∙9,6= 6307 кВт
Графа 19. Годовые эксплуатационные издержки
+18590+8450+38332+56295 = 619246 руб.
+44330+20150+25291+25533 = 280864 руб.
Графа 20. Заработная плата
(110 ·1971) ·1,35 · 1,7 = 497579 руб.
(110 ·657) · 1,35 · 1,7 = 165560 руб.
Графа 21. Отчисления на амортизацию
Графа 22. Отчисления на ТО и ремонт130000 · 6,5 % = 8450 руб. 310000·6,5
% = 20150 руб.
Графа 23. Стоимость электроэнергии
· 4,01 = 38332 руб. 6307 · 4,01 = 25291 руб.
Графа 24. Прочие прямые издержки
% · (497579+18590+8450+38332) = 56295 руб
% · (165560+44330+20150+25291) = 25533 руб
Полученные результаты представим в виде таблицы 2.6
. Конструкторский раздел
.1 Зоотехнические требования предъявляемые к дробилкам кормов
Зоотехнические требования сводятся к тому, чтобы обеспечить животное в
течение суток необходимым количеством кормов, которые полностью удовлетворяли
бы его потребность в питательных веществах. При несоблюдении норм кормления
рацион может быть перенасыщен одним типом корма и иметь нехватку других.
Учеными доказано, что необходима комплектность усвояемых веществ по всем
элементам при одновременном и равномерном поступлении их в кровь. Неравномерное
и несвоевременное усвоение основных элементов питания ведет к снижению их
использования. Подготовка отдельных кормов и смесей должна удовлетворять
следующим требованиям: Грубые корма - солому и другие грубостебельчатые корма -
измельчают на резку 10 - 50 мм с расщеплением волокон. Корнеклубнеплоды очищают
от загрязнений, измельчают и смешивают с другими кормами. Остаточная
загрязненность не должна превышать 3%. Размеры частиц измельченных корнеклубнеплодов
не должны превышать 3-15 мм. Силос и сенаж в составе кормосмесей должны иметь
длину частиц не более 30 мм. Измельчают силос, как в кормоцехе, так и при
заборе погрузчиком измельчителем из хранилища. Концентрированные корма должны
поступать в кормоцех в готовом виде (в виде комбикормов или обогащенных смесей
концентрированных кормов) с комбикормовых заводов или комбикормовых цехов
хозяйства и вводиться в кормосмесь в натуральном или увлажненном виде. Травяную
муку вводят в кормосмесь вместе с концентратами. Оборудование для хранения и
дозирования травяной муки в смесь должно быть унифицировано с оборудованием для
комбикормов. Питательные растворы - мелассовый и другие приготавливают в
кормоцехе в соответствии с зоотехническими требованиями на растворы и питательные
добавки, сдабривающие корма и балансирующие питательные кормосмеси. Все
компоненты необходимо дозировано подавать на непрерывное смешивание в потоке.
Погрешность в дозировании грубых кормов, силоса, корнеклубнеплодов в готовой
кормосмеси допускается не более ± 15%, а концентрированных кормов ± 5% от
заданного рациона. Однородность кормосмеси, скармливаемой животным, должна быть
не менее 80 %, а при вводе в кормосмесь карбамида не менее 90 %. Влажность
кормосмеси должна составлять не более 15 %.
.2 Применяемая дробилка кормов
На предприятии применяется мобильный кормораздатчик КУС-Ф-2.
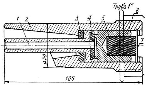
Дробилка безрешетная ДБ-5 Предназначена для измельчения фуражного зерна
влажностью не более 17%. Выпускается в двух модификациях: для комплектования
комбикормовых агрегатов - ДБ-5-1 и для индивидуального использования - ДБ-5
(рис.4).

Рис. Устройство дробилки ДБ-5:
А - дробилка; 1 - фильтр; 2 - камера разделительная; 3 - кормопровод; 4 -
сепаратор; 5 - откидывающаяся крышка; 6 - ведомый двухступенчатый шкив; 7 -
бункер; 8 - ротор; 9 - крышка откидная; 10 - корте; 11 - рама; 12 -
втулочно-пальцевая муфта; 13 - электродвигатель; б - ротор; 1 - молотки; 2 -
ось; 3 - диск; 4 - вал; в - привод заслонки; 1 - бункер; 2 - заслонка; 3 -
батарея постоянных магнитов; 4 - конечный выключатель; 5 - рычаг.
Основные узлы дробилки: дробильная камера, загрузочный и выгрузной шнеки,
автоматический регулятор загрузки АРЗ - 1, шкаф управления. Дробильная камера
включает в себя ротор, разделительную камеру, раму и электродвигатель (рис.).
Внутри зернового бункера установлены датчики нижнего и верхнего уровней,
обеспечивающие автоматическое управление работой загрузочного шнека и заслонки
подачи зерна в дробильную камеру в зависимости от разгрузки электропривода
ротора дробления. Металлические включения в зерне устраняет магнитный
сепаратор. Технологический процесс. Рычаг заслонки устанавливают в положение,
обеспечивающее требуемую производительность дробилки. После этого
последовательно включают выгрузной шнек, дробилку и загрузочный шнек. Зерно
измельчается в дробильной камере дробильным ротором с набором комплектов
молотков и рифленых дек, установленных на внутренней поверхности камеры.
Степень измельчения и качество помола определяются положением заслонки,
установленной в разделительной камере. Крупная фракция направляется на
повторное измельчение, а мелкая - шнеком удаляется из разделительной камеры.
Останавливают дробилку только при полной выработке продукта, отключая
последовательно загрузочный шнек, дробилку и выгрузной шнек (рис.).
Рис. Схема дробилки ДБ-5: а - кинематическая; 1, 5, 11, 14 -
электродвигатели; 2, 7, 15 - шкивы 0 90; 3, 8, 16. 23 - ремни; 4, 17 - шкивы 0
200; 6, 9 - валы; 10 - зубчатое колесо, 2 - 170; 12. 20,26,29 - шнеки; 13,28,
30 - валы, п=415 мин-1; 18 - зубчатое колесо, 2=17; 19 - барабан дробильный; 21
- вал, п=457 мин-1; 22, 24 - шкивы, 0 224; 25 -вал, п=1180 мин1; 27 -
звездочка, 2=13. б - технологическая; 1 - шнек загрузочный; 2 - датчики }ровня;
3 - заслонки; 4 - шнек камеры; 5 - камера дробильная; 6 - шнек выгрузной; 7 -
заслонка; 8 - сепаратор; 9 - камера разделительная; 10-бункер для зерна.
Дробилка ДБ-5 обеспечивает замкнутую циркуляцию воздуха и измельчаемого -
продукта, что снижает запыленность окружающей среды. Кинематическая схема
дробилки приведена на рисунке 5а, технологическая - на рисунке.5б.
.3 Предлагаемый дробилка
Дробилка молотковая безрешетная, содержащая загрузочный бункер,
цилиндрический корпус с расположенными внутри рифлеными деками, молотковый
барабан, выгрузочную горловину, отличающаяся тем, что деки и рифли деки имеют
другую форму. В деках выполняются пазы, позволяющие изменить направление
движения воздушно-продуктового слоя. Для этого рифли имеют угол между гранями
95-105 градусов, а угол наклона передних граней к радиусу установлен до 30-35
градусов, что позволяет возвращать измельчаемый частицы в зону действия
молотков и тем самым увеличить время пребывания зерна в воздушно-продуктовом
слое и соответственно увеличить степень измельчения. Если указанный угол больше
30-35 градусов то частицы плохо отлетают, возможно образование зоны завихрения
частиц, в деках сделаны пазы перпендикулярные рифлям. В известном устройстве (
прототипе ) увеличивают скорость молотков для увелечения количества соударений
молотка и за счет изменения конструкции деки и рифлей деки
увеличивается скорость и количество соударений молотков и зерна.
Техническая характеристика дробилки ДБ-5
Производительность, т/ч 6
Диаметр молоткового ротора, мм 500
Число молотков ротора, шт 80
Частота вращения ротора, мин 2940
Диаметр загрузочного и выгрузного шнеков, мм 125
Вместимость зернового бункера, м 0,6
Влажность измельчаемого зерна, % до 17
Обслуживающий персонал, чел 1
Срок службы, лет 7
. Расчет экономической эффективности
Приведенные затраты находим по формуле:
П з. = Э з. + Е н. · К. (4.1)
где, Е н. - нормативный коэффициент эффективности
капитальных вложений, Е н. = 0,15;
К. -капитальные вложения, руб/т.
По базовой технологии:
П з.б. = 619246 + 0,15 · 130000 = 638746 руб.;
По проектируемой технологии:
П з. пр. = 280864 + 0,15 ·310000 = 327364 руб.;
Годовая экономия денежных средств определяется по формуле:
Э г. = (И з.б. - И з.пр.) (4.2)
Э г. = (619246 - 280864) = 338382 руб.
Расчет годового экономического эффекта производим по формуле:
Г эф. = (П з.б. - П з.пр.) (4.3)
Г эф. = (638746 -327364) = 311382 руб.
Срок окупаемости дополнительных капитальных вложений определяется по
формуле:
Т = К пр. / Э г. (4.4)
где, К пр.- дополнительные капитальные вложения, руб.
Т = (310000
-130000) / 338382= 0,53 года
Снижение затрат труда определим по формуле:
Р п.т. = ((П тб. - П т.пр.) / П тб.) · 100% (4.5)
где, П тб., П т.пр. - годовые затраты труда по базовой и проектируемой
технологиям, чел-ч.
Р п.т. =
((1971-657) / 1971) · 100% =67%
Таким образом внедрение данной дробилки позволит на 67% снизить затраты
труда, что приведет к годовой экономии денежных средств в размере 338382 руб. и
позволит окупить дополнительные затраты на внедрение машины в течение 0,53
года.
. Безопасность жизнедеятельности
Эксплуатация кормоприготовительных машин. Она требует особой
осторожности. В большинстве своем эти машины имеют приводной и подающий
механизмы, активные, измельчающие корм рабочие органы, которые вращаются с
большой скоростью и развивают значительные инерционные силы. Управление
операциями приготовления комбикормов: дробление, сушка, экструдирование,
тепловая обработка зерна, компонентов, дозирование, смешивание, гранулирование
(брикетирование) должно быть дистанционным, с общего пульта управления. Для
устранения аварийных и опасных ситуаций при производстве ремонтных работ и
техническом обслуживании следует предусматривать возможность перехода на
местное управление оборудованием.
На рабочих местах должны быть надписи, схемы и другая информация о
необходимой последовательности действий.
При дистанционном управлении механизмами, рабочими органами, отдельными
машинами технологических линий (тележками, задвижками, кранами), удаленными от
операторов или расположенными в другом помещении, а также обслуживаемыми более
чем одним оператором, должна действовать система автоматической предпусковой и
(или) послепусковой сигнализации (звуковой, световой) длительностью 5... 15 с.
Машины и оборудование следует пускать в работу только по заранее
установленному сигналу и в последовательности, определенной технологическими
картами.
Оборудование и механизмы, работа которых сопровождается производственным
шумом и вибрацией, превышающими допустимые санитарные нормы, следует снабжать
изолирующими устройствами, устанавливать на виброизолируюших основаниях или в
изолированных помещениях.
При переработке кормов с выделением пыли следует предусматривать
герметизацию всех мест и источников пылеобразования и их аспирацию.
Аспирационные сети должны включаться за 0,5 мин до начала работы
технологических линий и отключаться через 2...3 мин после их остановки.
В целях уменьшения пылеобразования при свободном падении корма из
направляющих желобов или транспортерных лент необходимо использовать
устройства, исключающие пыление и разбрызгивание груза (спускные рукава,
фартуки из плотной ткани и т.д.).
Во время работы измельчителя не допускается пыление в местах соединения
транспортирующих труб с корпусом дробилки и циклоном. Заслонка должна плотно
перекрывать горловину циклона, а пылеулавливатель не иметь повреждений.
Не допускается накопление мучнистой пыли на полу, в строительных
конструкциях, оборудовании. Пыль необходимо убирать влажным способом в
соответствии с утвержденным графиком.
Не допускается работа на пресс-экструдере, грануляторе с забитыми
продуктом отверстиями матриц. Разборку дисковой части следует производить при
температуре частей, с которыми могут соприкасаться руки работника во время
работы, не выше 45 °С.
Над пресс-экструдером должно быть предусмотрено устройство местной
вентиляции.
Жидкие компоненты комбикормов должны вноситься через шлюзовые затворы,
дозаторы, исключающие их разбрызгивание.
Работа с компонентами (белковые, минеральные, лекарственные добавки),
имеющими резкий неприятный запах, должна проводиться при работающей системе
аспирации или местной вентиляции.
Загрузка компонентов и слив готового ЗЦМ, ЗОМ должны производиться
способами, исключающими загрязнение рабочей зоны. За исправность
кормоприготовительного оборудования отвечает руководитель хозяйства, который
обязан своевременно организовывать техническое обслуживание и ремонт машин.
Правила охраны труда запрещают работать на технически неисправных машинах.
Большинство кормоприготовительных машин ремонтируют на месте.
Каждый работник до начала работы обязан привести спецодежду в такое
состояние, чтобы она не стесняла движений, застегнуть все пуговицы; проверить
исправность инструмента и приспособлений, требующихся для ремонта, и заменить
их при обнаружении неисправности; ознакомиться с инструкцией и конструктивными
особенностями ремонтируемой машины.
Ремонт и техническое обслуживание. К ремонту, техническому обслуживанию,
регулировке или смазке можно приступать лишь после полной остановки механизмов.
Необходимо принять меры, чтобы случайный пуск машины был исключен. Во время
ремонта все машины, работающие от электропривода, отключаются от источника тока.
У машин с редукторами сливают масло и промывают картеры дизельным топливом или
керосином.
Каждую машину перед ремонтом очищают от грязи, остатков кормового
продукта и моют.
Снимаемые с машин части надо размещать на деревянных щитах, не
загромождая проходов. Чтобы узлы и детали ремонтируемой машины самопроизвольно
не проворачивались, их надежно фиксируют. Разбирают машины и механизмы в
определенном порядке. Сначала снимают те узлы и детали, которые могут
задерживать разборку, а также те, которые по условиям техники безопасности
нельзя оставлять на ремонтируемой машине.
Кормоприготовительные машины разбирают обычно в следующей
последовательности: вначале снимают детали передач, тяги и механизмы
управления, затем рабочие органы и остальные узлы и части машины. Ходовую часть
и раму разбирают в последнюю очередь.
При ремонте и техническом обслуживании кормоприготовительных машин
запрещается работать вблизи необесточенных оголенных проводов, неогражденных
вращающихся шестерен, ременных и цепных передач; ремонтировать оборудование,
находящееся под давлением; освещать рабочие места факелами вместо низковольтных
переносных ламп; работать электрифицированным инструментом без заземления его
корпуса, без резинового коврика и перчаток; работать неисправным инструментом; применять
опасные приемы труда, наращивать ключи трубкой или вторым ключом, проверять
совпадение отверстий соединяемых деталей пальцами; бить молотком по ключу при
отвертывании гаек и т.д.; оставлять инструмент и детали на высоте; ставить рамы
машин и другие тяжелые детали и узлы на подставки из кирпича и дров.
Правила установки, подготовки к пуску и техническому обслуживанию
изложены в инструкции, приложенной к паспорту каждой машины. Строгое соблюдение
технологии - одно из главных требований техники безопасности при ремонте машин,
применяемых в животноводстве.
Специфические для каждого агрегата или машины безопасные приемы труда.
Особую опасность представляют вращающиеся ножевые барабаны, питательные вальцы,
передаточные механизмы и ременная передача. Поэтому перед началом регулировки
или ремонта машина должна быть полностью остановлена и обесточена, а приводной
ремень снят. Площадка, где ремонтируют машину, должна быть ровной и свободной
от посторонних предметов.
Чтобы силосорезка самопроизвольно не перемещалась во время ремонта,
ходовые колеса закрепляют в неподвижном состоянии. Перед осмотром, регулировкой
и разборкой режущего аппарата необходимо надежно закреплять рабочие органы.
После окончания ремонта силосорезки и регулировки рабочих органов с нее
убирают все инструменты и обкатывают на холостом ходу. Чтобы в режущий аппарат
не попали посторонние предметы, подающий механизм перед обкаткой включают на
обратный ход.
На приводные ремни, шкивы, маховики и шестерни необходимо устанавливать
специальные ограждения и защитные кожухи. Нельзя опускать руки в горловину
приемных камер, бункеров и другие места подачи продуктов во время работы
машины.
Суть монтажных и проверочных работ кормоприготовительными машинами с
точки зрения безопасности труда сводится к установке машин, их креплению, а в
процессе эксплуатации - к плановым осмотрам, периодическим очисткам,
своевременному проведению технического обслуживания.
Машины, механизмы и оборудование устанавливают на прочных фундаментах,
основаниях или станинах, тщательно проверяют их комплектность.
Фундаментные болты крепления машин и оборудования с частотой вращения
рабочих органов 450 мин"1 и более, а также машин и узлов оборудования,
подвешенных к перекрытиям, при любых оборотах должны быть закреплены гайками.
Стержни болтов должны выступать за поверхность гаек (контргаек) на 1,5... ...2
витка.
После установки необходимо проверить техническое состояние каждой машины,
устранить обнаруженные неисправности, опробовать работу машины вначале на
холостом ходу, а затем под нагрузкой. Эксплуатация машин на оборотах выше
указанных в паспорте запрещается. Чрезмерное увеличение оборотов может привести
к поломке машины.
При монтаже машины пусковые кнопки, рукоятки, рубильники и т.д. следует
устанавливать так, чтобы исключалась всякая возможность их произвольного
включения и работающему было удобно и безопасно ими пользоваться.
Перед пуском в работу кормоприготовительных и кормоперерабатывающих машин
необходимо еще раз убедиться в их комплектности, исправности, прочности
крепления болтовых соединений, наличии защитных и ограждающих кожухов на
зубчатых, цепных, шарнирных и ременных передачах, на выступающих концах
вращающихся валов, соединительных муфтах. Защитные ограждения должны быть
откидными или легкосъемными для удобства проведения ремонта или технического
обслуживания.
При получении машин и оборудования от заводов-изготовителей и других
поставщиков необходимо проверить наличие и исправность всех защитных ограждений
и приспособлений. В случае необходимости дополнительных ограждений и
приспособлений применительно к местным условиям работы глава хозяйства обязан
принять меры к их изготовлению и установке.
При монтаже не следует класть на питающие транспортеры, в приемные ковши
и на защитные кожухи машин посторонние предметы (ключи, отвертки, болты, гайки
и т.д.), так как они могут попасть в рабочие камеры и с их выбросом причинить
травму обслуживающему персоналу.
Чтобы проверить отсутствие посторонних предметов внутри закрытых кожухов,
перед включением двигателя нужно вручную провернуть рабочие органы машины за
шкив. Особо следует обратить внимание на параллельность осей шкивов машины и
привода (двигателя), на соблюдение расчетного межцентрового расстояния. От
этого в процессе эксплуатации машины будет зависеть степень натяжения приводных
ремней, цепей. Нарушение этих условий ведет к преждевременному их изнашиванию и
соскакиванию во время работы.
Машины с реверсивными устройствами для пуска транспортеров необходимо
сначала включать на обратный ход, с тем чтобы сбросить посторонние предметы,
случайно попавшие на транспортер, а затем переключить на рабочий ход. Перед
пуском машины нужно проверить надежность крепления откидной части кожуха
режущего аппарата.
После пуска машины на холостом ходу при полном рабочем числе оборотов
следует убедиться в отсутствии вибрации рамы, посторонних шумов и стуков. При
обнаружении неисправностей в работе машины на холостом ходу нужно немедленно
остановить ее и устранить неисправности. При проведении осмотра, ремонта и
других работ, связанных с техническим обслуживанием, машину необходимо
остановить, а приводной ремень снять. Перед осмотром и регулировкой режущего
аппарата необходимо принять меры к надежному закреплению рабочих органов,
лопастных ножей, чтобы исключить самопроизвольное их вращение.
Корпуса электродвигателей, пусковых приборов, машин и оборудования,
которые могут оказаться под напряжением, должны быть присоединены к рабочему
нулевому проводу.
На животноводческих фермах и комплексах наибольшее распространение
получили измельчители грубых и сочных кормов ИГК-ЗОБ и РСС-6Б для измельчения
соломы, сена, кукурузных стеблей и початков, силоса и зеленой массы растений с
одновременной погрузкой их в накопительные емкости или транспортные средства;
измельчитель кормов «Волгарь-5А» для измельчения зеленых, грубых и сочных
кормов в качестве самостоятельной машины или в составе технологических линий
кормоцехов; измельчитель ИЗМ-5 для измельчения зеленой массы и силоса на
свинофермах; измельчитель корнеклубнеплодов ИКС-5М для мытья и измельчения
корнеклубнеплодов и погрузки их в транспортные средства, дробилка кормов
универсальная (роторная, молоткового типа) КДУ-2.0 для измельчения зернового
корма, кукурузных початков, сена, соломы и жмыха на отдельных производственных
участках в качестве самостоятельной машины или в составе поточных
технологических линий кормоцехов.
Конструкция этих машин предусматривает приводной и подающий механизмы;
активные, измельчающие корм рабочие органы, вращающиеся с большим числом
оборотов и развивающие значительные инерционные силы; механический или
электрический привод. Поэтому при их эксплуатации надо соблюдать особую
осторожность.
В местах установки машин вывешивают инструкции по их безопасному
обслуживанию.
К работе с кормоприготовительными машинами и механизмами не допускают
лиц, не участвующих в рабочем процессе, а также одетых в широкую одежду с
длинными полами, широкими рукавами и в фартуках. Женщины должны убрать волосы
под косынку, повязанную без свисающих концов, а также не разрешается оставлять
без надзора работающие механизмы.
При работе на кормоприготовительных и кормоперерабатываюших машинах
оператор должен следить за тем, чтобы скорость и направление вращения рабочих
органов соответствовали указанным в руководстве. Не допускается работа на
измельчителях с несбалансированным ротором и незакрепленными рабочими органами.
Подача корма в измельчитель должна производиться только после выхода его на
рабочий режим. Длительная работа на холостом ходу не допускается.
Подавать корм в машину надо равномерно. В случае необходимости для
проталкивания корма следует использовать деревянные толкатели. Рукоятка
толкателя должна иметь ограничитель входа в приемную горловину, а длина рабочей
части до ограничителя должна быть меньше глубины приемной горловины; необходимо
следить, чтобы в машину вместе с кормом не попали проволока, камни, палки и
другие посторонние предметы. Примеси из-под питателей, норий, конвейеров должны
удаляться при помощи скребков, чистиков или собираться в поддоны, контейнеры.
Применяемые для улавливания металлических примесей магниты должны
систематически проверяться и очищаться в соответствии с установленным графиком.
Очищать магниты следует через люки деревянными скребками.
Во время работы измельчителей нельзя находиться против направления
выброса массы, так как в нее может попасть металлический предмет (чаше всего
болт, гайка) и нанести человеку травму.За всеми работающими машинами и
оборудованием необходимо вести регулярный надзор в целях своевременного
устранения всех дефектов.
Измельчители и дробилки, входящие в состав механизированной поточной
линии, должны иметь систему автоматического регулирования подачи продукта с
обратной связью по загрузке двигателя.
Для предотвращения случайного пуска машин, приводной вал которых связан с
электродвигателем муфтой, кроме остановки двигателя магнитным пускателем нужно
выключить рубильник на линии, подводящей электроэнергию к магнитному пускателю.
Очищать от забивания рабочие органы оборудования допускается только при
выключенном и полностью установленном оборудовании с применением мер,
исключающих случайный пуск машины.
Общие выводы
В результате данного курсового проекта была разработана модернизация
дробилки кормов животным. По курсовому проекту можно сделать следующие выводы:
. Проведен анализ механизации операций на свиноводческой ферме и по
итогам этого анализа было предложено модернизировать дробилку кормов. По
выбранному рациону кормления животных была рассчитана потребность в кормах для
приготовления кормосмесей. Также была рассчитана технологическая карта на
раздачу кормов двумя способами: с применением дробилки ДБ-5 и её модернизацией.
. В конструкторском разделе приведены зоотехнические требования
предъявляемые к дробилкам , приведено описание применяемой дробилки и
предлагаемой.
. По полученным значениям эксплуатационных затрат, а также трудоемкости
были подсчитаны значения годовой экономии эксплуатационных затрат, которая
оказалась ровна 338382 руб, что позволить купить дополнительные капитальные
вложения за 0,53 года. Это экономия происходит из-за существенного снижения (на
67%) затрат труда на данную операцию.
. Были предложены основные мероприятия для обеспечения безопасности при
работе на ферме.
Из указанных выше условия можно сделать вывод, что внедрение
модернизированной дробилки является рентабельной.
Литература
1. Алешкин
В.Р., Рощин П.М. Механизация животноводства. - М.: Агропромиздат, 1985.-336 с.:
ил.
. Банников А.
Г. и др. Основы экологии и охрана окружающей среды: Учебник для вузов. - 3-е
изд., перераб. и доп. - М.: Колос, 1996. - 303 с.: ил.
. Белянчиков
Н. Н., Смирнов А. И. Механизация животноводства. М.: Колос, 1983. 353 с.: ил.
. Гражданская
оборона на объектах агропромышленного комплекса/И. М. Дмитриев, Г. Я. Курочкин,
О. М. Мдивнишвили и др.; Под ред. Н. С. Николаева, И. М. Дмитриева. - М.:
Агропромиздат, 1990. - 351 с.: ил.
. Дегтярев Г.
П. Справочник по машинам и оборудованию для животноводства. 2-е изд., перераб.
и доп. М.: Агропромиздат, 1986. 285 с.: ил.
. Карташов Л.
П., Аверкиев А. А. Чугунов А. И., Козлов В. Т. Механизация и электрификация животноводства.
2-е изд., перераб. и доп.М.: Агропромиздат, 1987. 420 с.: ил.
. Курочкин А.
А., Зимняков В. М., Ляшенко В. В., Парфёнов В. С., Спицын И. А. Дипломное
проектирование по механизации переработки продукции животноводства: Учебное
пособие. - Пенза: Пензенская ГСХА, 1998. - 250 с.
. Курочкин А.
А. и др Технологическое оборудование для переработки продукции животноводства.
М.: Колос, 1979. 157 с.: ил.
. Листов П.
Н. Воробьев В. А. Электрификация сельскохозяйственного производства. М.: Колос,
1979. 412 с.: ил.
. Мжельский
И. И., Смирнов А. И. Справочник по механизации животноводческих ферм и
комплексов. М.: Колос, 1984. 295 с.: ил.