Разработка, расчет и энерго-экономическое сравнение вариантов систем очистки и утилизации газовых выбросов
Министерство
образования Республики Беларусь
Белорусский
национальный технический университет
Кафедра:
Теплогазоснабжение и вентиляция
Курсовая
работа
на тему:
«Разработка, расчет и энерго-экономическое сравнение вариантов систем очистки и
утилизации газовых выбросов »
Минск 2012
Содержание
Введение
. Расчет циклона
. Разработка системы термической
очистки газовых выбросов при использовании в качестве топлива природного газа
. Обоснование, расчет и выбор
системы термической очистки с энергосберегающим эффектом
. Сравнение 3-х вариантов систем
термической очистки выбросов по энергетическим показателям
. Разработка и расчет традиционной
системы каталитической очистки от горючих выбросов
. Выбор и расчет системы
каталитической очистки выбросов с энергосберегающим эффектом
. Сравнение 3-х вариантов
каталитической системы очистки выбросов по энергетическим показателям
. Сравнение термической,
каталитической систем очистки газовых выбросов
Список использованных источников
Введение
Очистка газовых выбросов - это отделение от них
или превращение в безвредное состояние загрязняющих атмосферу веществ.
Промышленная очистка имеет последующую
утилизацию или возврат в производство отделенного от газа или превращенного в
безвредное состояние уловленного продукта. Санитарная очистка имеет место,
когда остаточное содержание в газе загрязняющих веществ позволяет обеспечить
установленные предельно допустимые концентрации в воздухе населенных мест или
производственных помещений. Разнообразие газообразных примесей в выбросах в
атмосферу приводит к необходимости применения различных способов их
обезвреживания.
Метод очистки выбирается в зависимости от
состава загрязняющих веществ, их количества, эффективности очистных устройств,
возможности утилизации уловленных продуктов, технико-экономических показателей,
специфики технологического производства и других факторов.
К наиболее распространенным способам очистки
выбросов относятся: абсорбция, адсорбция, конденсация, химическое окисление,
каталитическое и термическое дожигание, биологическая очистка.
В данной расчетно-графической работе приведен
расчет очистки газовых выбросов методами термической и каталитической очистки и
их эколого-экономическое обоснование.
1. Расчет циклона
В настоящее время циклоны являются наиболее
распространенным видом пылеуловителей, т.к. имеют ряд преимуществ. Они
обусловлены небольшой их стоимостью, простотой устройства и обслуживания,
сравнительно небольшим гидравлическим сопротивлением и высокой
производительностью. Вместе с тем в них плохо улавливаются частицы размерами
менее 5 мкм.
Исходные данные: требуется очистить от пыли,
удаляемой вентиляционными установками, загрязненный воздух в объеме L=8000+800N=9600
м3/ч;
температура выбросов t=25+3N=34 
;
начальная концентрация пыли Cн=15+2N=21 г/м3;
вид пыли - сухая неволокнистая,
неслипающаяся;
плотность материала пыли 
кг/м3;
медианный диаметр dм=8+N=11 мкм.
Решение:
. По виду пыли подбираем тип циклона
из таблицы П1 [2] и выбираем оптимальную скорость воздуха в сечении циклона 
из таблицы П2 [2].
Выбираем циклон типа ЦН-15у
(рис.1.1).
Технические характеристики циклонов типа ЦН-15у:
оптимальная скорость V0
/Vвх,
м/с - 3,5-16,0 м/с.
. Определяем необходимую площадь сечения циклона:
. Определяем диаметр циклона D, задаваясь числом
циклонов (n=1):
D
Для циклонов диаметры нормируются в
следующем порядке: 400, 500, 600, 700, 800, 900, 1000, 1200, 1400, 1800, 2000,
2400 и 3000 мм.
Принимаем ближайший стандартный
диаметр, т.е. D=700 мм.
. Вычисляем действительную скорость
воздуха в циклоне:
очистка газ топливо каталитический
Вычисляем погрешность, которая должна составлять
не более 15%. Если погрешность составляет более 15% производим пересчет, меняя
количество циклонов:

.
Как видим из расчета действительная
скорость отличается от оптимальной на 5,0 %, что меньше допустимых 15 %.
Следовательно, расчет верен.
. Принимаем компоновку циклонов в
соответствии с таблицей П3 [2].
Компоновка: прямоугольная, но с
отводом очищенного воздуха через улиточные раскручиватели (
).
. Определяем динамическую вязкость
воздуха для рабочих условий 
:


.
. Определяем аэродинамическое
сопротивление циклона, 
, Па:

кг/м3,
где 
- действительный коэффициент
местного сопротивления, отнесенный к скорости 
:
где 
коэффициент, зависящий от компоновки
циклонов (табл. ПЗ [2]), 

коэффициент, зависящий, от диаметра
циклона (табл. П4 [2]),

поправочный коэффициент на
запылённость воздуха (табл. П5 [2]), 

коэффициент местного сопротивления
из табл. П2 [2] с выбросом в атмосферу 
. По графику фракционной
эффективности очистки (рис. П1 [2]) определяем размер пыли 
с эффективностью улавливания 50%.
Для определения эффективности
циклона других диаметров и скорости движения воздуха 
, его вязкости 
и плотности пыли 
вычисляем новое значение

Т.к. полученное значение 
входит в интервал значений,
представленных на графике, то определить эффективность очистки циклона
графически возможно. Эффективность 85%. К установке принимаем 2 циклона типа
ЦН-15у
. Основные размеры циклона
определяют в долях от внутреннего диаметра 
по следующим выражениям:
выходное отверстие циклона: 
;
размеры входного патрубка:
общая высота циклона: 
.
2. Разработка системы термической очистки
газовых выбросов при использовании в качестве топлива природного газа
очистка газ топливо каталитический
Сущность термического способа очистки газовых
выбросов заключается в нагреве их до температур, превышающих температуру
самовоспламенения токсичных компонентов и выдержке их в присутствии кислорода.
При этом горючие компоненты выбросов переходят в менее токсичные или
нейтральные вещества.
Рис. 1. Циклон ЦН-15у: 1 - коническая часть; 2 -
цилиндрическая часть; 3 - винтообразная крышка; 4 - улитка; 5 - входной
патрубок; 6 - выхлопная труба
Преимущества термического способа -
универсальность по отношению к горючим газам любого состава, простота
исполнения и надежность эксплуатации.
Недостатки-значительный расход топлива,
обусловленный необходимостью нагрева газовых выбросов до температур начала
процесса горения вредностей и появление в процессе дополнительных вредностей,
например, окислы азота, угарный газ и др.
Исходные данные: из технологической
установки удаляют в атмосферу газы в количестве с температурой выбросов 
и концентрацией паров загрязняющего
вещества. Необходимо подобрать автономное устройство термической очисти газовых
выбросов работающее на природном газе с теплотворной способностью 
, при средней температуре подогрева
газовых выбросов tд=0,8tсам=0,8
и обеспечивающих концентрацию паров
загрязняющего вещества не выше
Решение:
Запишем реакцию обезвреживания
бензола термическим методом:

Реакция протекает экзотермически,
т.е. с выделением теплоты. Термический способ следует рассматривать как чисто
тепловой процесс горения бедных газовоздушных смесей.
Основными факторами, определяющими
эффективность термического дожигания является температура нагрева
вентиляционных выбросов, время их выдержки при этой температуре и качестве
перемешивания. Температура, до которой необходимо нагреть газовые выбросы,
зависит от вида вещества.
На основе опытных данных
установлено, что газовые выбросы необходимо нагревать до температур,
превышающих в 1,5…2 раза температуру самовоспламенения содержащихся в них
горючих компонентов, но не ниже 750 0С. Время пребывания вредностей
в термическом нейтрализаторе 0,5…1,5 с. Выбор устройства термической очистки
производится по расходу топлива В0 м3/ч, необходимого для
подогрева выбросов до заданной температуры.
Определяем необходимую степень
очистки 
,%, по выражению (2.1):

.
Определяем температуру загрязненных
газов на входе в камеру дожига по выражению (2.2):
На основе количества газовых
выбросов и расхода топлива подбирают типоразмер устройства термической очистки,
которое устанавливают на технологическом оборудовании.
Возможная энерготехнологическая
схема оборудования, при использовании топки для попутной термической очистки
газовых выбросов представлена на рисунке 2.1.
. Обоснование, расчет и выбор
системы термической очистки с энергосберегающим эффектом
Исходные данные: для технологической
установки разработать систему вентиляции и обогрева при условии объединения
топочного и очистного устройства в единый агрегат и произвести расчет расхода
топлива при условии, что в топочном устройстве расходуется газ в количестве с
коэффициентом избытка воздуха 
При годовом фонде времени работы
оборудования 
увеличение расхода топлива на
технологические нужды не допускается.
Решение.
Количество воздуха, необходимое для
сжигания технологического топлива определяем по выражению (3.1):
LC -
стехиометрический количество воздуха, необходимое для сжигания 1 м3
бензола, LC=13,3 м3/
м3.
Экономия природного газа при
совмещении с технологической схемой обогрева системы термической очистки по
сравнению с автономной составит:
На основании сравнения приходим к
выводу, что в топочном устройстве в режиме сжигания технологического топлива
можно очистить лишь часть газовых выбросов, а для оставшегося количества газов
необходимо сооружать дополнительное устройство термического дожигания. Чтобы
избежать дополнительных капитальных затрат, необходимо ликвидировать
технологическую топку, а вместо нее установить устройство термической очистки
газовых выбросов и использовать последнее дополнительно для обогрева
технологического оборудования.
Энерготехнологическая схема
оборудования с использованием устройства термической очистки выбросов вместо
топки представлена на рис. 3.1. Из схемы видно, что устройство имеет
теплообменник 12 для подогрева загрязненных газов очищенными. Необходимость
предварительного подогрева загрязненных газов обуславливается не только
экономией топлива, но и качественным дожиганием вредных веществ, содержащихся в
выбросах.
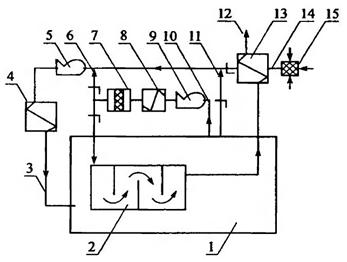
Рис. 3.1. Принципиальная схема обогрева и
вентиляции технологического оборудования с использованием устройства
термической очистки газовых выбросов: 1 - линия выброса очищенных газов в
атмосферу; 2 - воздушный фильтр; 3 - линия подачи атмосферного воздуха на
технологические нужды; 4 - теплообменник; 5 - технологическое теплоиспользующее
оборудование; 6 - панельный теплообменник;7 - линия забора загрязненных газов;
8 - вентилятор; 9 - газопровод; 10 - горелка; 11 - устройство термической
очистки газовых выбросов; 12 - подогреватель загрязняющих газов; 13 - заслонка;
14 - линия возврата очищенных газов на циркуляцию; 15 - дымосос.
. Сравнение 3-х вариантов термической очистки
выбросов по энергетическим показателям
Исходные данные:
Для одинакового качественного и количественного
состава газовых выбросов осуществлена очистка до нормальной промышленной
санитарии термическим способом при использовании природного газа:
. Без очистки газовых выбросов, при
условии, что 70% массы вредностей соответствует нормативно-допустимым выбросам
НДВ.
. С автономной системой термической
очистки выбросов.
. С энергетической системой термической
очистки при использовании топки либо очистного устройства и возврате очищенных
газов на технологические нужды.
Причем системы очистки газовых выбросов
выполнены как в нетрадиционном автономном исполнении, так и энергосберегающем
исполнении. При использовании технологических решений по безотходной технологии
к последним относятся:
Ø использование технологических топливно-сжигающих
устройств для очистки газовых выбросов при подаче последних для сжигания
технологического топлива;
Ø использование очистных устройств
дополнительно для обогрева технологического оборудования взамен топок и
электрокалориферов;
Ø возврат очищенных газов на
технологические нужды взамен атмосферного воздуха.
Решение:
Рассчитаем расход природного газа для 3-х
вариантов:
Количество вредностей, удаляемых в атмосферу:
На рисунках 4.1, 4.2 и 4.3 представлены
диаграммы расходов природного газа, количества вредностей, выбрасываемых в
атмосферу и материальных затрат на топливо для трех вариантов термической
очистки соответственно.
. Разработка и расчет традиционной системы
каталитической очистки от горючих компонентов
Каталитическое дожигание беспламенно и
вследствие этого не связано с пределами воспламенения смеси. В общем виде
кинетику гетерогенного процесса каталитического окисления можно представить в
виде пяти элементарных стадий: диффузия исходных веществ к поверхности
катализатора, адсорбция, химическая реакция, десорбция, диффузия полученных
веществ в свободное газовое пространство. Аппарат каталитической очистки
состоит из вентилятора для забора газовых выбросов, подогревателя для
температур реакции начала каталитического окисления, реактора и теплообменника
для утилизации тепла очищенных газов.
Исходные данные: подобрать
устройство каталитической очистки газовых выбросов для технологической
установки имеющей следующую техническую характеристику
;
температура выбросов 
начальная концентрация для
каталитической очистки, нижний предел взрываемости в смеси с воздухом Снпв=39,5
г/м3, ПДК бензола температура воспламенения 
стехиометрическое количество
воздуха, потребное для сжигания 1 кг ксилола Lс=13,3 м3/кг,
теплотворная способность Qнв=9763
кДж/кг.
Решение:
Запишем реакцию процесса
обезвреживания паров бензола методом каталитического дожигания:
Определяем необходимую степень
очистки газовых выбросов по выражению (5.1):
Выбираем к установке в реактор
катализатор типа НИИОГАЗ - 3Д. Согласно его технической характеристике при
температуре подогрева газовых выбросов 
обеспечивается степень очистки не
менее 98%. Пакет катализатора прямоугольной формы имеет следующие линейные
размеры 610x305x90 мм. Допустимая температура разогрева не выше 650
,
где 
- объем катализаторов,
Т.к. объемная скорость не превышает
допустимую, значит количество пакетов катализаторов подобрано верно.
Определяем температуру очищенных
газов по выражению (5.3) и сравниваем ее с допустимой - 650
:
На основе совмещения схемы
каталитического дожигания со схемой обогрева технологического оборудования
можно не только снизить дополнительные затраты, но и получить экономический
эффект путем превращения горючих компонентов газовых выбросов в источник
дополнительной тепловой энергии.
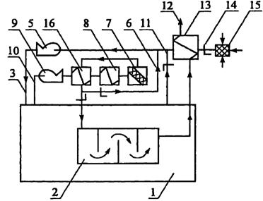
Рис. 5.1. Принципиальная схема обогрева и
вентиляции технологической установки с каталитической очисткой газовых
выбросов: 1 - технологическое теплоиспользующее оборудование; 2 - панельный
теплообменник; 3 - линия подачи теплоносителя в рабочую камеру; 4 - калорифер;
5 - вентилятор; 6 - линия возврата очищенных газов в рабочую камеру; 7 -
реактор с катализатором; 8 - подогреватель загрязненных газов; 9 - вентилятор
системы очистки; 10 - линия забора загрязненных газов на очистку; 11 - линия
отсоса отработанного теплоносителя на рециркуляцию; 12 - линия выброса
очищенных газов в атмосферу; 13 - теплообменник; 14 - линия забора атмосферного
воздуха; 15 - воздушный фильтр.
. Выбор и расчет систем каталитической очистки
выбросов с энергосберегающим эффектом
Исходные данные: для технологической
установки, имеющей мощность для обогрева 
разработать систему каталитической
очистки газовых выбросов при условии, что увеличение установленной мощности не
допустимо.
Решение:
При условии выполнения системы
каталитической очистки автономной, т.е. независимой от схемы обогрева
технологического оборудования, общая установленная мощность 
составит (формула (6.1)):
Проверяем выполнение условия Nx+Nф, NТ-Nк: 69,44
кВт,
78,8 кВт,
Т.к. условие соблюдается, то выполнение системы
каталитической очистки по упрощенной схеме является оптимальным вариантом, т.е.
газы проходят последовательно через подогреватель-реактор, где установлен
катализатор, и поступают в технологическую установку.
Принципиальная схема обогрева технологической
установки с использованием системы каталитического дожигания взамен
электрокалорифера представлена на рис. 6.1.
Рис. 6.1 - Принципиальная схема обогрева и
вентиляции технологической установки с использованием аппарата каталитической
очистки с замкнутым тепловым циклом: 1 - технологическое теплоиспользующее
оборудование; 2 - панельный теплообменник; 3 - линия подачи теплоносителя в
рабочую камеру; 4- калорифер;5 - вентилятор; 6 - линия возврата очищенных газов
в рабочую камеру; 7 - реактор с катализатором; 8 - подогреватель загрязненных
газов; 9 - вентилятор системы очистки; 10 - линия забора загрязненных газов на
очистку; 11 - линия отсоса отработанного теплоносителя на рециркуляцию; 12 -
линия выброса очищенных газов в атмосферу; 13 - теплообменник; 14 - линия забора
атмосферного воздуха; 15 - воздушный фильтр.
. Сравнение 3-х вариантов каталитической системы
очистки по энергетическим показателям
Для одинакового качественного и количественного
состава газовых выбросов осуществлена очистка до нормальной промышленной
санитарии каталитическим способом при использовании электроэнергии в трех
вариантах:
1. Без очистки газовых выбросов, при
условии, что 70% массы вредностей соответствует НДВ (налоги и штрафы);
2. С автономной системой каталитической
очистки;
. С энергосберегающей системой
каталитической очистки, при использовании очистного устройства для обогрева
технического оборудования и возврате очищенных газов на технологические нужды.
Рассчитаем расход электроэнергии для трех
вариантов выполнения проекта:
N1=Nт·h·t
(7.1)
N2=(Nт+Nв)·h·t
(7.2)
N3=
0,1Nв·h·t
(7.3)
Nэк=N2-N3
(7.4)
N1=180·0,998·3530=634129,2
кВт ч/год
N2=(180+101,2)·0,998·3530=990650,7
кВт ч/год
N3=0,1·101,2·0,998·3530=35723,6
кВт ч/год
Nэк
=990650,7-35723,6 =954927,1 кВт ч/год.
Затраты на очистку газовых выбросов
каталитическим методом для 3-х вариантов очистки будут равны:
З1=0,2∙ N1
(7.5)
З2=0,2∙ N2
(7.6)
З3=0,2∙ N3
(7.7)
З1=0,2∙634129,2=126825,84 у.е.
/год,
З2=0,2∙990650,7=198130,1 у.е.
/год,
З3=0,2∙35723,6 =7144,72 у.е.
/год,
Расчет ведем при условии, что стоимость
электроэнергии составляет 0,2 у.е. за 1 кВт /ч.
Диаграмма расхода электроэнергии для трех
вариантов каталитической очистки выбросов представлена не рис. 7.1.
. Сравнение каталитической и термической систем
очистки газовых выбросов
В расчетно-графической работе осуществлена
очистка газовых выбросов до норм промышленной санитарии термическим и
каталитическим способами при использовании природного газа и электроэнергии
соответственно.
Оба этих варианта обеспечивают необходимую
степень очистки. Соответственно дальнейшее сравнение будет производиться на
основании финансовых затрат на эксплуатацию, т.е. на энергоресурсы.
Стоимость газа, потребляемое в течение года системой
термической очистки газовых выбросов составит З3=7144,72 у.е.
Стоимость электроэнергии, потребляемой в течение
года системой каталитической очистки газовых выбросов составит З3=7144,72
у.е.
Таким образом, можно сделать вывод о принятии к
исполнению системы термической очистки, т.к. заказчику этот вариант более
предпочтителен.
Список использованных источников
1. Теплогазоснабжение и вентиляция.
Курсовое и дипломное проектирование / под ред. проф. Б.М. Хрусталева. - М.:
Изд-во АСВ, 2008. - 784с., 183 ил.
. Расчет циклона. Методические
указания по выполнению расчетно-графической работы для студентов V
и VI курсов
специальности 1 - 70 04 02 «Теплогазоснабжение, вентиляция и охрана воздушного
бассейна» / В.Д. Сизов, В.Н. Короткий, И.С. Бракович. - Минск: БНТУ, 2010 -
21с.