Комплексная механизация работ по созданию древесных насаждений в пригородном лесопарке

  • Вид работы:
    Курсовая работа (т)
  • Предмет:
    Сельское хозяйство
  • Язык:
    Русский
    ,
    Формат файла:
    MS Word
    1,28 Мб
  • Опубликовано:
    2015-12-01
Вы можете узнать стоимость помощи в написании студенческой работы.
Помощь в написании работы, которую точно примут!

Комплексная механизация работ по созданию древесных насаждений в пригородном лесопарке

Министерство образования и науки Российской Федерации

ФГБОУ ВПО "Сибирский Государственный Технологический Университет"

Факультет механический

Кафедра "Технологии и машины природоустройства"







Комплексная механизация работ по созданию древесных насаждений в пригородном лесопарке


Пояснительная записка

ТМП.000000.115. ПЗ

Руководитель: И.В. Кухар

Разработал: студент

группы 33-6 О.О. Шаранова






Красноярск, 2015

Реферат

 

В данной расчётно-графической работе была проведена комплексная механизация работ по созданию древесных насаждений в пригородном лесопарке. Был составлен технологический процесс и подобраны технические средства, необходимые для выполнения технологических операций.

КЛЮЧЕВЫЕ СЛОВА: МАШИННО-ТРАКТОРНЫЙ АГРЕГАТ, СМЕННАЯ ПРОИЗВОДИТЕЛЬНОСТЬ, РАБОЧЕЕ СОПРОТИВЛЕНИЕ

Расчётно-графическая работа содержит: пояснительную записку, включающую в себя страниц, рисунков, таблиц и 16 источников литературы; график машиноиспользования и технологическую карту вычерченные на листах формата А3.

Содержание

 

Введение

1. Разработка технологического процесса

2. Составление машино-тракторных агрегатов и подборка моторизированного оборудования

2.1 Перечень основных операций для создания древесных насаждений в пригородном лесопарке

3. Расчет сопротивления орудий, агрегатируемых с тракторами или потребляемой мощности орудий

3.1 Расчет сопротивления бульдозера ДЗ-133

3.2 Расчет сопротивления плуга ПЛН-3-35

3.3 Расчет сопротивления разбрасывателя удобрений УСБ-25-УР

4. Тяговый расчет тракторов

4.1 Расчет тяги МТЗ-82

4.2 Расчет тяги Беларус-1523 для лесопосадочной машины МПС-1

4.3 Расчет тяги Т-25 для разбрасывателя удобрений УСБ-25-УР

5. Комплектование агрегата

6. Расчет состава МТП

6.1 Расчет производительности садово-парковых агрегатов, работающих в поле

6.2 Расчет производительности одноковшовых погрузчиков

6.3 Расчет производительности машин по перевозке грузов

6.4 Расчет производительности разбрасывателя удобрений

6.5 Расчет производительности опрыскивателей, работающих в движении

6.6 Расчет производительности грейдеров

7. Расчет количества агрегатов для выполнения всего объема работ

7.1 Расчет количества машинно-тракторных агрегатов, транспортных средств и оборудования

8. Расчет расхода горюче-смазочных материалов

8.1 Расчет расхода топлива машинно-тракторными агрегатами

8.2 Расчет топлива автомобильным транспортом

9. Построение графиков загрузки тракторов и расхода топлива

Заключение

Библиографический список

Введение

Зеленые насаждения (травяные газоны, кустарниковые и древесные насаждения) играют важную роль в санитарно-гигиеническом улучшении и оздоровлении условий жизни населения и составляют неотъемлемую часть благоустройства городов. Зоны озеленения (скверы, парки, бульвары) в определенной мере влияют на планировочную структуру города и являются одним из главных элементов его ландшафта.

Вместе с тем садово-парковое и ландшафтное строительство являются дорогостоящей и трудоемкой отраслью городского хозяйства. Достичь реального снижения стоимости строительства и эксплуатации объектов озеленения прежде всего максимальной механизацией основных трудоемких процессов, таких как расчистка и планировка территорий, заготовка и складирование растительной земли и удобрений, работа с крупномерным посадочным материалом (выкопка, погрузка, транспортировка, посадка и т.д.), устройство газонов и большинство операций по уходу за насаждениями. Для механизации этих работ используются технические средства, специально созданные для озеленительных работ, а также заимствованные из других отраслей народного хозяйства (сельское, лесное, строительство и т.д.).

трактор древесное насаждение лесопарк

1. Разработка технологического процесса


Технологическим процессом называется способ или совокупность способов обработки материала с помощью тех или иных технических физических или химических средств, с целью его качественного изменения или изменения его состояния. В качестве материала подвергаемого обработке в нашем случае выступает почва или насаждения: трава, кустарники, деревья.

Технологические процессы в ландшафтном строительстве включают:

) агротехнические требования, которые необходимо соблюдать при выполнении данного процесса;

) перечень мероприятий, необходимых для решения поставленной задачи;

) выбор машинно-тракторных агрегатов и моторизованного оборудования и подготовку их к работе;

) выбор способа, скорости и направления движения технических средств;

) выбор способа и организации работы;

) учет и контроль качества работы;

) технику безопасности и противопожарные мероприятия.

Технологические процессы по созданию зеленых зон в зеленом и ландшафтном строительстве представлены в таблице 1.

Таблица 1 - Перечень основных операций для создания древесных насаждений в пригородном лесопарке

Операции

Наименование и марка технологической машины

Класс тяги трактора

1

2

3

1 Уборка

Бульдозер Д3-133

14

2 Погрузка

Экскаватор ЭО-3322

-

3 Вывозка строительного мусора

Автомобиль-самосвал КамАЗ-55102

-

4Планировка участка

Бульдозер ДЗ-133

-

5 Доставка и внесение органических удобрений

Разбрасыватель УСБ-25-УР (полуприцеп)

6

6 Вспашка

Плуг плантажный ПЛН-3-35

14

7Доставка саженцев

Автомобиль бортовой ЗИЛ-130

-

8 Посадка саженцев

Лесопосадочная машина МПС-1

30

9 Полив саженцев

Поливомоечная машина ПМ-130

-


Классификация тракторов по тяговому усилию:

кН (0,2 т) - мини-тракторы Т-02.01, Т-02.03, КМЗ-012 и др.;

кН (0,6 т) - Т-16М, СШ-25, СШ-28, ВТЗ-30СШ, Т-25, Т-30, Беларус 320;

кН (0,9 т) - Т-40М, ЛТЗ-55;

кН (1,4 т) - ЮМЗ-6, МТЗ-80, МТЗ-82, МТЗ-100, МТЗ-102, Т-80Л, Беларус 82.1, Беларус 920, Беларус 952, Беларус 1021;

кН (2,0 т) - Т-70С, Т-70В, ЛТЗ-120, ЛТЗ-155, Беларус 1221;

кН (3,0 т) - Т-74, Т-150, Т-150К, Т-157, ДТ-75, ДТ - 75М, ДТ-75КП, ДТ-75Н, ДТ-75Е (рисунок 4.5), ДТ-175, ВТ-100Д, ВК-200, ВТ-180, Беларус 1523, ЛХТ-55;

кН (4,0 т) - ВТ-150, Т-4А, ТТ-4, ТТ-4М;

кН (5,0 т) - К-701, К-703, К-744, Т-250, МТ-5;

(100) кН (6-10 т) - Т-100, Т-130, Т-170, Т-10.

При небольших объёмах работ рекомендуется использовать трактора с меньшим классом тяги.

Если в графе "Класс тяги" указан знак "-", то это указывает на то, что данная технологическая машина представляет собой единое техническое средство и не является машинно-тракторным агрегатом.

2. Составление машино-тракторных агрегатов и подборка моторизированного оборудования


Машина для уборки строительного мусора: бульдозер-погрузчик ДЗ-133 состоит из следующих основных частей: 1 - ковш; 2 - устройства для смены рабочих органов; 3 - стрела; 4 - попарно работающие гидроцилиндры; 5 - управление стрелой и ковшом; 6 - базовый трактор; 7 - тяг; 8 - несущая рама;

Сменное дополнительное рабочее оборудование бульдозера-погрузчика ДЗ-133: 1 - увеличенный ковш; 2 - ковш для снега; 3 - сельскохозяйственные вилы; 4 - грузовые вилы; 5 - монтажный крюк; 6 - челюстной захват; 7 - удлинитель; 8 - уширитель и рыхлитель заднего хода

Рисунок 1

Рисунок 2

Технические характеристики погрузчика - бульдозера ДЗ-133:

Базовое шасси

МТЗ-82.1

Колесная формула

4x2 (4x4)

Двигатель

Модель

Д-243

Мощность, кВт

60

Тяговый класс базового трактора

1.4

Тип управления рабочими органами

гидравлический

Скорость транспортная максимальная, км/ч

25

Габаритные размеры

Длина, мм

6500

Ширина, мм

2500

Высота, мм

2940

Масса эксплуатационная, кг

5370


Экскаватор ЭО-3322

Экскаватор ЭО-3322 (рисунок 3) является полноповоротным гидравлическим экскаватором на пневмоколесном ходу, который серийно выпускался на Ленинградском экскаваторном заводе (ЛЭЗ) со сменным рабочим оборудованием обратной лопаты, грейфера и погрузчика. У рабочего оборудования постоянными (не демонтируемыми) узлами являются нижняя (основная) часть стрелы и гидроцилиндры подъема.

Рисунок 3 - Экскаватор ЭО-3322

Представляет собой землеройную машину, предназначенную для разработки котлованов, траншей, карьеров, погрузки и разгрузки сыпучих материалов, разрыхленных скальных пород и мерзлых грунтов, а также для других работ в условиях промышленного, городского, сельского, транспортного и мелиоративного строительства. Экскаватор сохраняет работоспособность в диапазоне температур окружающего воздуха от - 40°С до +40°С.

Все рабочие операции экскаватора и его передвижение выполняются с помощью системы гидравлического привода, сдвоенный насос которой вращается от дизеля СМД-14 мощностью 75 л. с. Экскаватор может работать с ковшами объемом 0,4 - 0,8 м3 в зависимости от категории грунта (таблица 4).

Таблица 4 - Технические характеристики экскаватора ЭО-3322

Двигатель ЭО 3322

Вес, эксплуатационная масса, кг

14000

Двигатель ЭО3322

СМД-17Н

Мощность двигателя, л. с.

100

Скорость вращения, об/мин

1800

Двигатель типа: Четырехтактный дизель с турбонаддувом, водяным охлаждением

Гидравлическая система ЭО 3322

Насос - регулируемый сдвоенный аксиально-поршневой

3180

Производительность, л/мин

18

Давление в гидросистеме, кгс/см2

250

Сервоуправление давление, кгс/см2

30


КамАЗ-55102

КамАЗ-55102 - сельскохозяйственный самосвал-тягач выпускается с 1980г (рисунок 4). КамАЗ-55102 - с откидными боковыми бортами, разгрузка на боковые стороны. Кабина - двухместная. Самосвал КАМАЗ-55102 - сельскохозяйственный с боковой разгрузкой. Данный автомобиль предназначен для перевозки сельскохозяйственных и сыпучих строительных грузов. Кузов КамАЗ 55102 - металлический, прямоугольный с направлением разгрузки на две боковые стороны (таблица 5). На платформе могут устанавливаться дополнительные деревянные или надставные металлические борта.

Рисунок 4 - КамАЗ-5510

Таблица 5 - Технические характеристики КамАЗ-55102

Показатели

Значения

Угол опрокидывания кузова назад, град

60

Время подъема груженого кузова при 2200 об/мин, с

18

Время опускания порожнего кузова, с

18

Грузоподъемность, кг

7000

Снаряженная масса, кг

8480

В том числе:

на переднюю ось

3500

на тележку

4980

Полная масса, кг

15630

В том числе:

на переднюю ось

4500

на тележку

11130

Допустимая масса прицепа, кг

11500

Макс, скорость автомобиля, км/ч

80

Макс. скорость автопоезда, км/ч

80

Время разгона автомобиля до 60 км/ч, с

35

Выбег автомобиля с 50 км/ч, м

700

Макс. преодолеваемый подъем автомобилем, %

30

Контрольный расход топлива автомобиля при 60 км/ч, л/100 км

24,0

Контрольный расход топлива автопоезда при 60 км/ч, л/100 км

35,0

Контрольный расход топлива автомобиля при 80 км/ч, л/100 км

31,0

Контрольный расход топлива автопоезда при 80 км/ч, л/100 км

47,0

Радиус поворота, м:

по внешнему колесу

8,5

габаритный

9,3

Объем кузова, м:

с основными бортами

7,9

с дополнительными бортами

10,1

С надставными бортами

15,8


Автогрейдер ДЗ-98А

Автогрейдер ДЗ 98А класса 250 не имеет аналогов в Российской Федерации. Его модификации и комплектации используются для строительства и содержания дорог, на грунтах I, II, III, IV категорий. Автогрейдеры ДЗ-98А также имеют широкое применение в железнодорожном, аэродромном, мелиоративном, ирригационном и гидротехническом строительствах (рисунок 5).

Рисунок 5 - Автогрейдер ДЗ-98А

Выполнение основных функций автогрейдера ДЗ-98А происходит с помощью специального рабочего органа - отвала с ножом, который смонтирован на раме машины, и приводится в действие от дизельного двигателя. Его можно поднимать, опускать, поворачивать в горизонтальной и вертикальной плоскости.

Автогрейдер ДЗ 98А обладает хорошей маневренностью и возможностью изменения углов установки отвала в горизонтальной и вертикальной плоскостях, а также он может осуществлять вынос отвала в сторону (таблица 6).

С целью повышения производительности труда и улучшения условий работы оператора в автогрейдере, содержащем основную раму, рабочий орган, балансиры и систему автоматического управления положением отвала, пропорциональные датчики, автоматической системы управления установлены между балансиром и основной рамой. Помимо этого, на втором балансире устанавливается дополнительный датчик.

Автогрейдер 98А удобно применять при выполнении энергоемких земляных работ, требующих большого объема, или работ в тяжелых дорожных условиях, например:

§  устройство в грунтовом полотне корыта под основание дороги;

§  перемещение грунта в насыпь;

§  разравнивание насыпного грунта и планировка поверхности;

§  киркование (разрыхление грунта и изношенных полотен дорог);

§  планировка поверхности больших территорий;

§  очистка дорог и других территорий от снежных заносов.

Преимущества автогрейдера ДЗ 98А:

§  Возможность установки механической КПП с переключением передач фрикционными муфтами, вынесенными из корпуса коробки;

§  Наличие переднего ведущего моста, который обеспечивает наилучшее использование сцепной массы машины, высокую тягу на отвале, курсовую устойчивость при боковом резании, высокую проходимость в сложных условиях;

§  Применение неполноповоротного отвала обеспечивает регулирование тягового усилия машины за счет изменения ширины захвата отвала без его выглубления. При этом сокращается количество проходов, повышается качество планировочных работ;

§  Многодисковые колесные тормоза, которые работают в масляной ванне, надежны и не требуют регулировки в процессе продолжительного использования;

Разбрасыватель твердых органических удобрений УСБ-25-УР

Разбрасыватель твердых органических удобрений УСБ-25-УР предназначен для транспортировки и поверхностного разбрасывания органических удобрений, торфа, компостов и т.д. Его можно использовать для перевозки различных сельскохозяйственных грузов с выгрузкой назад, при снятых разбрасывающих битерах (таблица 7).

Таблица 7 - Технические характеристики разбрасывателя твердых органических удобрений УСБ-25-УР.

Показатель

Значение

1

2

Масса, кг

1428

Габариты, мм


Длина

3280

Ширина

1660

Высота

1600

Скорость, км/ч


Рабочая

6,4

Транспортная

До 20

Норма внесения удобрений, т/га

0,02…0,10

Грузоподъемность, кг

2000

Ширина разбрасывания, м

3

Базовая машина

Т-25


Трактор Т-25

Универсальный колёсный трактор класса 0,6 с приводом на два задних колеса (новые могут быть и с передним приводом). Предназначен для предпосевной обработки почвы, посева, посадки овощей, ухода за посевами, междурядной обработкой овощных культур и садов, уборки сена и других сельскохозяйственных и транспортных работ. Может также использоваться для привода стационарных машин, погрузочно-разгрузочных, дорожных и других работ (рисунок 6).

Двигатель: Д21А1 дизельный, четырехтактный, двухцилиндровый, воздушного охлаждения, с непосредственным впрыском топлива (таблица 8).

Рисунок 6 - Трактор Т-25

Таблица 8 - Технические характеристики трактора Т-25

Показатель

Значение

Номинальная мощность, кВт

18,4

Удельный расход топлива, г/кВт*ч

223

Обороты коленчатого вала, об/мин

1800

Эксплуатационная масса трактора, кг

2020

Продольная база, мм

1775

Габаритные размеры с шинами (11,2*28), мм (длина / ширина (при миним. колее) / высота)

3180/1472/2477

Число передач: вперед / назад

8/6

Диапазон скоростей движения, км/час

1,33 - 21,0

Тяговое усилие, кг

до 800

Рулевое управление

механическое

Вал отбора мощности (ВОМ): тип / число оборотов, об/мин

зависимый / 540

Дорожный просвет, мм

418

Давление в гидросистеме, кг/см*2

175

Число выводов гидросистемы

3

Грузоподъемность навесной системы (на оси подвеса), кг

600 + 30


Рисунок 7 - ПЛН-3-35

Плуг ПЛН-3-35 предназначен для пахоты под зерновые и технические культуры на глубину до 30 см различных почв, не засорённых камнями, плитняком и другими препятствиями с удельным сопротивлением до 0,09 МПа и твердостью до 3,0 МПа.

Работа плугами, оснащенными предплужниками выполняется следующим образом: предплужник подрезает верхний слой почвы на глубину до 12 см, переворачивает и укладывает его на дно борозды.

Уложенный слой закрывается пластом, поднимаемым и оборачиваемым основным корпусом, в результате чего достигается полная и глубокая заделка сорняков и пожнивных остатков. Рама плуга ПЛН 3-35 выполнена из гнутого замкнутого профиля, на котором смонтированы рабочие корпуса, прицепка для борон, предплужники, опорные колеса. Глубина вспашки регулируется винтовым механизмом. Лемехи корпуса наплавлены твердым сплавом.

Плуг трехкорпусный навесной ПЛН-3-35 предназначен для вспашки незасоренных почв с удельным сопротивлением до 0,9 кгс/см2 под зерновые и технические культуры.

Возможно комплектование корпусами:

скоростными;

культурными;

полувинтовыми;

вырезными:

с почвоуглубителями.

МТЗ-82 (рисунок 8) является одним из самых уникальных колесных тракторов Европы, а возможно, даже и мира. В 1972 г. был создан проект о "могучем" тракторе, который поразит весь мир, а сам трактор начал выпускать Минский Тракторный завод с 1974 года. За все время было выпущено более 1 490 000 экземпляров МТЗ-82. На МТ3-82 устанавливают четырехтактные четырехцилиндровые дизельные двигатели. Объем двигателя равен 4,75 л. Мощность равна 80 лошадиным силам. Трактор оборудован гидравлической раздельно-агрегатной системой, которая включает в себя насос НШ-32.

Подвеска двух задних колес - жесткая, а передние колеса полужесткую подвеску. Задние колеса крепко скреплены кремовыми соединениями, что бесступенчато может изменить ширину колеи в пределах от 1400 до 2100 миллиметров. Колея передовых колёс тоже регулируется, но в пределах от 1200 до 1800 миллиметров. Дорожный просвет, как правило, равен 465 миллиметрам. МТЗ-82 имеет дисковые тормозные механизмы. Повороты управляются передними колесами. Также имеется рулевой гидроусилитель управления.

МТЗ-82 имеет механическую трансмиссию. Муфта сцепление, как правило, сухое, однодисковое, замкнутое. Коробка передач имеет девять ступень, количество передач равно 22: 18 вперёд, 4 назад. На МТЗ-82 также можно установить ходоуменьшитель, если есть такая необходимость. Задние мосты МТЗ-82 имеют дифференциал с блокировкой. Управление блокировкой механическое, то есть с помощью педали на полу кабины, а на более современных тракторах - гидравлическое. Конечных передач всего три - центральные, прямозубые, одноступенчатые. Также МТЗ-82 имеет три режима рулевого механизма.

Рисунок 8. МТЗ-82

Таблица 9 - Техническая характеристика трактора МТЗ-82

Показатель

Параметры

Мощность двигателя, кВт (л. с.)

60 (81)

Эксплуатационная масса, кг

4000

Рабочая скорость движения, км/ч

1,89-33,4


Автомобиль бортовой ЗИЛ-130

Двухосный грузовой автомобиль-тягач (рисунок 9). Предназначен для перевозки различных грузов и людей, буксировки прицепных систем.

ЗИЛ-130 рассчитан на эксплуатацию при температуре окружающего воздуха от +55 до - 45 градусов, относительной влажности до 80% и в районах до 3000 м над уровнем моря. Мощный и выносливый двигатель ЗИЛ отлично реализует потенциал этой машины. На шасси ЗИЛ возможна установка фургонов, рефрижераторов, другого спец. оборудования (таблица 11).

Рисунок 9 - ЗИЛ-130

Таблица 11 - технические характеристики ЗИЛ-130

Показатель

Значение

Полная масса автомобиля ЗИЛ 130, кг

10605

Масса снаряженного автомобиля, кг

4380

Грузоподъемность ЗИЛ 130, кг

6000

Допустимая полная масса буксируемого прицепа с грузом, кг

Габаритные размеры ЗИЛ 130, мм

6675х2510х2400

Формула колес ЗИЛ 130

4х2

Максимальная скорость, км/ч

90

Расход топлива, л/100 км

26.5

Размеры платформы ЗИЛ 130, мм

3752х2326х575

Двигатель ЗИЛ-130

ЗИЛ 5081.1000401 V-образный, четырехтактный, карбюраторный, верхнеклапанный

Мощность двигателя ЗИЛ 130 при 3200 об/мин, л. с.

150

Крутящий момент двигателя ЗИЛ 130 при 1800.2000 об/мин, кГс/м

41


Лесопосадочная машина МПС-1. Машина для посадки крупномерных саженцев МПС-1 (рисунок 10) предназначена для посадки саженцев плодовых культур при закладке или уплотнении садов, а также при озеленительных работах. Одновременно с посадкой саженцев машина проводит порционный полив места посадки. Агрегатируется с тракторами ДТ-75М, Т-74, Беларус 1523 оборудованными ходоуменьшителями. Основные узлы: рама, сошник, опорные колеса, водополивная система, водополивной бачок, загортачи, ящики для посадочного материала, сиденья, следоуказатели и маркеры. Сошник сварной конструкции клинообразной формы с острым углом вхождения в почву. Внутри сошника установлен водопо-ливной бачок. Водополивная система состоит из двух сообщающихся между собой металлических бочков для воды, установленных на тракторе. Для заправки водой машина снабжена заборным шлангом и выпускным устройством (эжектором), действующим от выхлопной трубы коллектора двигателей. Загортачи засыпают корни растений почвой в посадочной борозде. Опорные колеса обеспечивают устойчивость движения машины и позволяют регулировать глубину посадки саженцев (таблица 12).

Рисунок 10 - МПС 1, агрегатируемая с гусеничным трактором

Таблица 12 - технические характеристики МПС-1

Название и марка орудия

Масса, кг

Ширина захвата, м

Глубина обработки, м

Лесопосадочная машина МПС-1

1008

0,4

02…0,5


Трактор Беларус 1523 класса 3,0 мощностью 114 кВт (155 л. с.) (рисунок 8). Трактор предназначен для выполнения полного спектра сельскохозяйственных работ от подготовки почвы под посев до уборочных и транспортных операций.

Рисунок 11 - Универсально-пропашной трактор Беларус 1523

Может работать в лесном и коммунальном хозяйствах, строительстве, промышленности. Трактор Беларус 1523 приспособлен для работы в различных климатических зонах и на всевозможных видах почв, в том числе способен эффективно работать на проблемной почве низкой плотности.

Имеет широкий набор различных приспособлений и узлов дополнительного оборудования, а также тягово-сцепных средств. Может агрегатироваться с множеством сельскохозяйственных машин и оборудования в полной мере используя свои функциональные возможности в агрегате с широкозахватными и комбинированными машинами как класса 2, так и большинства машин класса 3 с перестройкой элементов сцепки механизмов передней и задней навески.

Беларус 1523 имеет традиционную простоту конструкции, высокую надежность и производительность, экономичен в расходах горюче - смазочных эксплуатационных материалов, запасных частей, приспособлены к различным видам контроля и диагностирования технического состояния, может быть оборудованы для работы в режимах оперативного и длительного времени на реверсе.

Двигатель. Дизель с непосредственным впрыском и турбонаддувом (таблица 11).

Таблица 10 - Технические характеристики двигателя

Показатели

Значения

Двигатель

260.1 TURBO, дизель с непосредственным впрыском и турбонаддувом

Мощность, кВт (л. с.)

114 (155)

Номинальная частота вращения, об/мин

2100

Трансмиссия

механическая, синхронизированная, ступенчатая, шестидиапазонная (4/2), число передач - 16/8 (24/12)

Скорость вперед / назад, км/ч

1,73-32,34/2,7-15,50

Колесная формула

4х4

Задний ВОМ Беларус 1523

независимый I / II, об/мин

540/1000

синхронный, об/м пути

4,36

Грузоподъемноcть навесной системы на оси шарниров нижних тяг, кгс

7000

Габаритные размеры

длина, мм

4750

ширина, мм

2250

высота, мм

3000

Колея

Передних колес / задних колес

1610-2150/1600-2440

Масса эксплуатационная, кг

5000

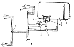
Поливомоечная машина ПМ-130.

Поливомоечные машины предназначены для поливки и мойки искусственных покрытий аэродромов и автомобильных дорог. Машины могут использоваться также для поливки зеленых насаждений, а со специально предусмотренным оборудованием применяются для тушения пожара. В зимнее время поливомоечные машины переоборудуются в плужно-щеточные снегоочистители.

Все поливомоечные машины имеют общую принципиальную схему устройства, а именно: вода из цистерны (6м3) самотеком поступает в центробежный насос, который приводится в действие от базового автомобиля или специального двигателя и подает воду в напорный трубопровод, снабженный устройствами для образования струи. В состав поливомоечного оборудования машины ПМ-130 входят: система трубопроводов, сопла, центральный клапан, цистерна, центробежный водяной насос 4К-6.

Система трубопроводов состоит из: всасывающей линии, в которую входит заборная труба, соединенная с горловиной центрального клапанарезиновым патрубком и прикрепленная фланцем к всасывающему патрубку; нагнетательной линии, в которую входит поперечная труба, прикрепленная к выходному патрубку насоса, на одном конце которой установлен трехходовой кран, а на другом - ввернут вентиль.

В кран и вентиль ввернуты гайки для присоединения пожарных рукавов при тушении пожара.

В переднюю и продольную трубы вмонтирован трехходовой кран для распределения подачи воды к передним соплам. Сопла соединены с трубопроводом двумя переходниками, шарнирное соединение которых с трубами обеспечивает их вращение вокруг горизонтальной и вертикальной осей (рисунок 12).

Рисунок 12 - Машина для подкормки деревьев "Крона - 130" (поливомоечная машина ПМ - 130 оснащенная манипулятором для внесения жидких подкормок в корневую часть насаждений): 1 - лонжероны, 2 - несущая балка, 3 - гидравлический манипулятор, 4 - инъекционный коллектор, 5 - инъекторы.

На рисунке 12 представлен основной вариант схемы поливомоечного оборудования.

Рисунок 12 - схема поливо-моечного оборудования машины ПМ - 130: 1 - насадки, 2 - трехходовой кран, 3 - вентиль, 4 - насос водяной 4К - 6, 5 - клапан центральный, 6 - фильтр, 7 - цистерна, 8 - труба переливания.

Таблица 13 - Технические характеристики ПМ-130

Показатель

Значения

Базовое шасси

ЗИЛ-130

Объем цистерны, л

6000

Ширина полива, м

15…18

Ширина мойки, м

До 8

Расход воды при мойке, л/м2

0,9…1,1

Расход воды при поливе, л/м2

0,25…0,3

Рабочая скорость при мойке или поливе, км/ч

До 20

Тип насоса

4К6П

Тип шасси прицепа

ИАПЗ-754В

Объем цистерны прицепа, л

5000

Средняя производительность, т. м3


При мойке

16

Про мойке с прицепом

22

Про поливе

60

Габариты, мм


Длина * ширина * высота

6710*2420*2500

Длина с прицепом

12560

Масса машины (без воды), кг

5500

оборудования

16800


2.1 Перечень основных операций для создания древесных насаждений в пригородном лесопарке


1. Уборка

Так как местность, на которой планировалось создание древесных насаждений, была засорена строительным мусором, то в первую очередь потребовалось провести расчистку участка. Для этого применялась бульдозер ДЗ-133.

. Погрузка строительного бытового мусора на транспортные средства и вывозка их.

Далее весь мусор при помощи экскаватора ЭО-3322 на КамАЗ-55102 и вывозились за пределы территории лесопарка.

. Подвозка растительной земли и планировка участка

Так как на территории проектируемого лесопарка проводилась уборка камней, то требовалось провести планировку территории. Первоначально потребовалось организовать подвозку растительной земли при помощи КамАЗа-55102. Планировка осуществлялась с помощью автогрейдера ДЗ-98А.

. Доставка и внесение органических удобрений

Для повышения плодородия и понижения кослотности почвы перед посадкой кустарника вносились органические удобрения. Для внесения органических удобрений использовались разбрасыватели УСБ-25-УР на базе трактора Т-25.

. Вспашка

Для заделки удобрений в почву применялся прием обработки почвы - вспашка. Вспашка проводилась при помощи плантажного плуга ПЛН-3-35 на базе трактора МТЗ-80

. Доставка посадочного материала

Посадочный материал доставлялся из питомника, который находился в 21 км от проектируемой территории. Для доставки кустарника применялся бортовой автомобиль ЗИЛ-130.

. Посадка саженцев

Посадка саженцев проводилась при помощи лесопосадочной машины МПС-1 на базе трактора Беларусь-1523.

. Полив саженцев

Полив саженцев производился при помощи поливомоечной машины ПМ-130.

3. Расчет сопротивления орудий, агрегатируемых с тракторами или потребляемой мощности орудий


3.1 Расчет сопротивления бульдозера ДЗ-133


R=R1+R2+ R3 + R4 + R5, (5.2)

где R1 - сопротивление движению трактора вместе с навесным оборудованием, кН, находится по формуле 5.3:

R1=Gм* (f±sina), (5.3)

где Gм - вес навесного оборудования, кН;- коэффициент сопротивления перемещению;

a - угол наклона местности, знак "+" принимается при движении агрегата вверх по склону, знак "-" - при движении агрегата вниз по склону; a= 0 - при движении поперек склона;

R2 - сопротивление грунта резанию, кН, находится по формуле 5.4:

R2=h1*z*Ko, (5.4)

где h1 - толщина срезаемой стружки, м, h1 = 0.15.0.50 м;- ширина срезаемой стружки, м, принимается равной длине отвала;o - коэффициент сопротивления деформации почвы, кН/м2;

R3 - сопротивление призмы волочения грунта перед отвалом, кН, находится по формуле 5.5:

R3=Gпр* (fг± sina), (5.5)

где fг - коэффициент трения грунта по грунту (таблица 4.8);пр - вес призмы волочения на отвале бульдозера, кН, находим по формуле 5.6:

Gпр = ( (L * (H - h1) 2) / (2Kp * 100)) * ρ *Kпр, (5.6)

где L - ширина призмы волочения, равная длине отвала, м;

H - высота отвала, м;

Kр - коэффициент разрыхления грунта;

r (ро) - плотность грунта, кг/м3;

Кпр - коэффициент призмы;

при (Н - h1) / L = 0.15 - Кпр=1.3 и 0.9Первое значение - для связных

(Н - h1) / L = 0.30 - Кпр=1.3 и 0.8 грунтов, второе - для не связных.

(Н - h1) / L = 0.45 - Кпр=1.3 и 0.7

R4 - сопротивление от перемещения грунта вверх по отвалу, кН; находится по формуле 5.7:

R4=Gпр*fт*cos d * sinj, (5.7)

где fт - коэффициент трения грунта по металлу;

d (дельта) - угол резания;

j (фи) - угол установки отвала в плане;

R5 - сопротивление от перемещения грунта вдоль по отвалу (для поворотных бульдозеров), кН находится по формуле 5.8:

R5=Gпр*fт*fг * cos j, (5.8)

Gпр = ( (2,1 * (0,65 - 0,15) 2) / (2*1,14* 100)) * 1800 * 1,3 = 5,39 кН

R5 = 5,39 * 0,5 * 0,8 *0,02 = 0.04 кН

R4 = 5,39 * 0,5 * 0,8 * 1 = 1,55кН

R3 = 5,39 * (0,8 ± 1) = 4,31 кН

R2 = 0,15 * 2,1 * 35 = 11,03 кН

R1 = 12,26 * (0,07 +sin0) = 0.85 кН

R = 0,85 + 11,03 + 4,31 + 1,55 + 0,04 = 17.78 кН - поперек склона

3.2 Расчет сопротивления плуга ПЛН-3-35


R = Gпл ∙ (ft ∙ sinα) + ko ∙ a ∙ b + e ∙ a ∙ b ∙ v2 + R ∙ (1 + ft), (3.2)

где R - сопротивление, кН

Gпл - вес плуга, кН;

ft - коэффициент трения почвы о сталь;

α - угол наклона местности;

ko - коэффициент сопротивления деформации почвы, кН/м2;

а - глубина обработки почвы, м;

b - ширина захвата плуга, м;

е - коэффициент динамичности, кН/м4, е=1,5…2,0 кН/м4;

v - скорость движения агрегата, м/с;

Rz - сопротивление, возникающее при затуплении лезвия лемеха (Rz=0,3R)

После расчета R (без учета Rz), к ответу добавляется 30% от полученной величины. В результате получается действительный ответ R (с учетом Rz).

Орудие - ПЛН-3-35

Gпл=463 кг = (463∙9,81) /1000=4,54 кН

fт=0,4;

α=0о;

а=0,30 м;

b=1,05 м;

е=0,3 кН/м4;

Ко=45 кН/м2;

v=1,5 м/с

R=4,54∙ (0,4∙sin0) +25∙0,30∙1,05+0,3∙0,3∙1,05 (1,05) 2+0,3 (1+0,4) = кН

R (без учета Rz) =15,26 кН;

Rz=0,3R=2,34 кН;

R=15,26+4,58=19.84 кН

3.3 Расчет сопротивления разбрасывателя удобрений УСБ-25-УР


R = (Gм + Gr) × (f + sina) + С × Fл × vр2/1300,

где R - сопротивление, кН;м - вес машины, кН;г - грузоподъемность машины, кН;- коэффициент сопротивления качению колес;

a - угол наклона местности в радианах (при движении агрегата вверх по склону);

С - коэффициент обтекаемости формы машины, С = 0.07.0.8;л - фронтальная площадь машины, м2, которая рассчитывается по формуле

л = bп × hп, (3.4)

где bп - ширина, м;п - высота, м;р - скорость движения при работе разбрасывателя, км/ч.

м = 1428 кг = (1428 ∙ 9,81) /1000 = 14,01 кН;г = 2000 кг = (2000 ∙ 9,81) /1000 = 19,62 кН;=0,09; a - 0о; С = 0,07, л = 1.66 ∙ 1.6 = 2.66;р = 7 км/ч.

R = (14,01+19,62) ∙(0,09+sin0) +0.07∙2.66∙72/1300 = 3.03 кН

4. Тяговый расчет тракторов


Для пассивных навесных оборудований рассчитывается свободное тяговое усилие на крюке трактора Рк, кН, которое можно реализовать при работе.

Pк= (Ne- (Nтр+Nп+Nv+Ni)) /Vp, (4.1)

где Pк - усилие на тяговом крюке, кН;

Ne - эффективная мощность двигателя трактора, кВт:

Ne=0,8∙Nпасп, (4.2)

Nпасп - мощность двигателя по технической характеристики трактора, кВт;

Nтр - потери мощности в трансмиссии:

Nтр= Ne∙ (1-η), (4.3)

η - КПД трансмиссии, η=0,85…0,88 - для гусеничных тракторов; η=0,91…0,92 - для колесных тракторов; Nv - потери мощности на буксование и извилистый ход:

Nv= (Ne - Nтр) ∙δ/100, (4.4)

δ - коэффициент буксования, δ=10…20%; Nп - потери мощности на передвижение:

Nп= (Gт+Gм∙λ) ∙ (f±sinα) ∙Vp, (4.5)

Gт - вес трактора, кН;

Gм - вес навесной машины, кН;

λ - коэффициент догрузки, показывающий, какая часть навесного орудия нагружает трактор;

f - коэффициент сопротивления качению трактора;

α - угол наклона местности, при чем знак "+" - при движении вверх по склону; знак "-" - при движении вниз по склону; α=0, при движении поперек склона;

Vp - рабочая скорость агрегата, м/с:

Vp=Vт∙ (1-δ/100), (4.6)

Vт - теоретическая скорость агрегата на выбранной передаче трактора, м/с;

Ni - мощность, затраченная на преодоление сил инерции, для тракторов, выполняющих технологические операции в поле, имеет незначительную величину, поэтому она не рассчитывается.

В условиях нормальной эксплуатации для каждого агрегата всегда должно выполняться соотношение Ркассц,

где Ркас - касательная сила тяги, кН:

Ркаск+ (Gт+Gм∙λ) ∙ (f+sinα); (4.7)

Рсц - сила сцепления трактора с почвой, кН:

Рсц1∙Gт ∙μ, (4.8)

где λ1 - коэффициент, показывающий долю силы тяжести трактора, приходящийся на ведущие колеса, λ1=1 - для гусеничных и колесных со всеми ведущими мостами; λ1=0,75 - для колесных с одним ведущим мостом;

Gт - вес трактора, кН;

μ - коэффициент сцепления трактора с почвой.

4.1 Расчет тяги МТЗ-82

е = 0,8*55,16= 44,1 кВттр = 44.1* (1-0,91) = 3,97 кВт= (44,1-3,97) *10/100 = 4,01 кВт= 1,23* (1-10/100) = 1,1 м/сп = (31,0+12,26*1) * (0,05+0) * 1,1= 2,38 кВт.

Рк = (44,1- (3,97+2,38+4,01)) / 1,1= 30,67 кН

4.2 Расчет тяги Беларус-1523 для лесопосадочной машины МПС-1


Nпасп=114 кВт;

) Ne=0,8∙114 =91,2 кВт; η=0,91;

) Nтр=91,2∙ (1-0,91) =8.206 кВт; δ=10%;

) Nv= (91,2-8.206) ∙10/100=8.2994 кВт;

Gт =6000 кг = (6000∙9,81) /1000=58,86 кН;

Gм = 1008 кг = (1008∙9,81) /1000=9,89 кН;

λ=1; f=0,13; α=00; Vт = 12 км/ч = 3,34 м/с;

Vp = 3.34∙ (1-0,1) = 3.01 м/с;

) Nп= (58,86+9,89) ∙ (0,13+sin0) ∙3,01= 26,91 кВт;

Pк= (91,2- (8.206+8.2994+26,91)) /3,01 = 15,87 кВт

λ1=0.75, μ=0,6; Gт=58,86 кН; Ркас=15,87 + (58,86 +9,89∙1) ∙ (0,13+sin0) =24.81 кН;

Рсц=0.75∙58,86∙0,6=26.49 кН

.81<26.49 соотношение, необходимое для нормальной эксплуатации, соблюдается.

4.3 Расчет тяги Т-25 для разбрасывателя удобрений УСБ-25-УР


Nпасп=18,4 кВт;

) Ne=0,8∙18,4 =17,6 кВт;η=0,91;

) Nтр=18,6∙ (1-0,91) =1,584 кВт; δ=10%;

) Nv= (17,6-1,584) ∙10/100=1,6016 кВт;

Gт =2020 кг = (2020∙9,81) /1000=19,81 кН;

Gм = 1428 кг = (1428∙9,81) /1000=14,01 кН;

λ=1; f=0,13; α=00; Vт=7 км/ч=1,94 м/с;

Vp=1,94∙ (1-0,1) =1,749 м/с;

) Nп= (19,81+14,01) ∙ (0,13+sin0) ∙1,749= 7,69 кВт;

Pк= (17,6- (1,584+1,6016+7,69)) /1,749 = 3,84 кВт

λ1=0.75, μ=0,6; Gт=19,81 кН;

Ркас=3,84+ (19,81+14,01) ∙ (0,13+sin0) = 8,23 кН;

Рсц=0.75∙19,81∙0,6=8,92 кН

,096<8,92 соотношение, необходимое для нормальной эксплуатации, соблюдается.

5. Комплектование агрегата


Для агрегатов с пассивным навесным или сцепным оборудованиями степень нагрузки рассчитывается: ηт=R/Рк, (5.1)

ηт - коэффициент использования тягового усилия трактора;

R - сопротивление орудия при работе, кН;

Рк - свободное тяговое усилие на крюке трактора, кН;

МТЗ-82 и Дз-133

ηт = 17,78/30,67 = 0,58

ηт = 0,58 или 58%, значение не приближено к 100%. Для нормальной загрузки агрегата необходимо либо увеличить скорость движения, либо подобрать менее мощный трактор.

МТЗ-82 и ПЛН-3-35

ηт = 19,84/30,67 = 0,64

ηт = 0,64 или 64%, значение не приближено к 100%. Для нормальной загрузки агрегата необходимо либо увеличить скорость движения, либо подобрать менее мощный трактор.

Беларус-1523 и МПС-1

ηт = 6.73/15.87 = 0,43

ηт = 0,43 или 43%, значение не приближено к 100%. Для нормальной загрузки агрегата необходимо либо увеличить скорость движения, либо подобрать менее мощный трактор.

Т-25 и УСБ-25-УР

ηт = 3.03/3,84 = 0,79

ηт = 0,79 или 79%, значение приближено к единице, т.е. загрузка приближается к 100%. Значит, машинно-тракторный агрегат подобран правильно.

6. Расчет состава МТП


Расчет состава МТП включает в себя расчет производительности и количества технических средств по всем проводимым операциям для выполнения заданного объема работ, а также расчет потребного количества ГСМ.

Кроме того, необходимо определить количество технологических материалов.

По условию задания территория была засорена бытовым мусором, примерное количества мусора на 1 гектар - 8,3 м3. Общий объем вывозимого мусора - 100 м3.

Проектируемый лесопарк занимает площадь в 12 га. На 1 га приходится 300 штук деревьев. Таким образом, на 12 га приходится 3600 штук. Диаметр ямы для одного саженца - 0,65 м, глубина - 0,85 м. Значит

Средняя высота саженцев - 60 см, средний диаметр стволов - 8 см. Таким образом общий объем саженцев 35 м3.

Расход минерального удобрения - 600 кг на 1 га, на 12 га приходится 7200 кг удобрений.

6.1 Расчет производительности садово-парковых агрегатов, работающих в поле


Wсм=0,36∙B∙Vт∙Tсм∙Kv∙Kв∙Kт, (6.1)

где Wсм - сменная производительность, га/см;

В - конструктивная ширина захвата, м;

Vт - теоретическая скорость движения агрегата, м/с;

Tсм - продолжительность рабочей смены, час, Tсм=8 часов;

Kv - коэффициент использования рабочей скорости:

Kv= (1-δ) ∙ (1-λкр), (6.2)

δ - коэффициент буксирования, δ=0,10…0, 20;

λкр - коэффициент криволинейности хода трактора, λкр=0,05…0,3;

Kв - коэффициент использования конструктивной ширины захвата, Кв=1,1 - для плугов, Кв=0,9 - для культиваторов, Кв=1,0 - для всех остальных типов машин;

Kт - коэффициент использования рабочего времени, Кт=0,8…0,9

Орудие ДЗ-133 для уборки мусора

В=2,5 м; Vт=1,2 м/с Tсм=8 часов; δ=0,10; λкр=0,06;

Kv= (1-0,10) ∙ (1-0,06) =0,846

Кв=1,0; Kт=0,81; Wсм=0,36∙2,1∙1,2∙8∙1,0∙0,81∙0,81=4,76 га/см

Орудие - ПЛН-3-35

В=0,30 м; Vт=1,5 м/с

Tсм=8 часов; δ=0,10;λкр=0,05;

Kv= (1-0,10) ∙ (1-0,05) =0,855

Кв=1,1; Kт=0,85;

Wсм=0,36∙0,3∙1,5∙8∙0,855∙0,85∙1,1=1,04 га/см

6.2 Расчет производительности одноковшовых погрузчиков


Wсм=, (6.8)

где Wсм - сменная производительность, м3/см;

Vк - объем ковша или грейфера, м3;

Тсм - время смены, ч;

Кк - коэффициент наполнения ковша или грейфера, Кк=0,6…1,2 для погрузчиков, Кк=1,02…1,35 - для экскаваторов;

Кt - коэффициент использования времени смены, Кt=0,75…0,90;

Кр - коэффициент рыхления грунта, Кр=1,08…1,3;

tц - продолжительность цикла погрузки, мин, tц=0,5…1,5 мин.

Орудие для погрузки мусора ЭО-3322

Vк=0,63 м3; Тсм= 8 ч; Кк=1,35; Кt=0,90; Кр=1,2; tц=1,5 мин;

Wсм== 204,12 м3/см

Орудие МПС-1 для посадки саженцев

В=0,4 м; Vт=12 км/ч = 3,34 м/с

Tсм=8 часов; δ=0,10; λкр=0,05;

Kv= (1-0,10) ∙ (1-0,05) =0,855

Кв=1,0; Kт=0,85;

Wсм=0,36∙0,4∙3,34∙8∙0,855∙0,85∙1,0=2,79 га/см

6.3 Расчет производительности машин по перевозке грузов


Wсм=, (6.3)

Wсм - сменная производительность, кг (м3) /см;

Tсм - продолжительность смены, мин;

tпз - подготовительно-заключительное время, мин, tпз=30 мин;

Qпол - масса, объем или количество перевозимого груза, кг (л, м3, шт.), принимается равным грузоподъемности машины;

gг - коэффициент использования грузоподъемности транспортного средства в зависимости от класса груза:

класс=1,00 (минеральные удобрения, грунт, жидкие материалы);

класс=0,85 (навоз, торф, перегной);

класс-0,60 (посадочный материал, семена, трава свежая с газонов);

класс=0,45 (ветки после кронирования деревьев, сухая трава);

vгр - скорость движения грузового автомобиля или трактора в груженном состоянии, км/час;

- переводной коэффициент;

l - расстояние вывозки, км;

vпор - скорость движения грузового автомобиля или трактора с прицепом в порожнем состоянии, км/час;

∑tскл - время простоев на погрузке и разгрузке, зависит от средней скорости движения и длины пути:

при l/vср≥1,0 - tскл ≈ 30мин;

при l/vср≈1,0…0,8 - tскл ≈ 30…40 мин;

при l/vср≈0,7…0,5 - tскл ≈ 40…45 мин;

при l/vср≈0,5…0,2 - tскл ≈ 45…60 мин;

при l/vср<0,2 - tскл ≈ 60…70 мин.

КамАЗ-55102 для вывозки мусора

Tсм=480 мин; tпз=30 мин; Qпол=7000 кг=3,89 м3;

gг=1; vгр=80 км/ч; l=20 км; vпор=80 км/ч; tскл=40 мин

Wсм==25 м3/см

ЗИЛ-130 для доставки саженцев, Tсм=480 мин; tпз=30 мин; Qпол=6000 кг=7,5 м3; gг=0,6; vгр=90 км/ч; l=12 км; vпор=90 км/ч; tскл=40 мин

Wсм==29,7 м3/см

6.4 Расчет производительности разбрасывателя удобрений


Wсм=Qпол∙ (Tсм-tпз) /Тц, (6.4)

где Wсм - сменная производительность, кг/см;

Qпол - масса удобрений, находящихся в кузове разбрасывателя (грузоподъемность), кг;

Tсм - время смены, мин;

tпз - подготовительно-заключительное время, мин, tпз≈мин;


Тц=tр+tпогр+tпер, (6.5)

tр - продолжительность одного цикла распределения удобрений по участку, мин:

tр=, (6.6)

kрд - коэффициент, характеризующий неравномерность движения машины во время рабочего цикла и изменяющийся в зависимости от наличия на обрабатываемой площади препятствий в виде деревьев, кустарников и т.п., kрд=1…1,1;

- переводной коэффициент времени;

q - норма распределения технологического материала, кг/м2;

В - ширина разбрасывания, м;

Vтехн - скорость движения при разбрасывании, м/с;

tпогр - время погрузки, мин, tпогр≈10 мин;

tпер - время переезда от места загрузки к месту работы, мин;

tпер=, (6.7)

vгр - скорость движения прицепа - разбрасывателя в груженном состоянии, км/час;

l - расстояние доставки, км;

vпор - скорость движения прицепа-разбрасывателя в порожнем состоянии, км/час. Орудие - УСБ-25-УР

Qпол=2000 кг; Тсм=480 мин; Tпз=30 мин; Tпогр=10 мин; kрд=1,1; q=0,1 т/га=0,01 кг/м2; В=3 м;

vтехн= 7км/ч = 1,94 м/с;

tр=63 мин;

tпер==180 мин;

Тц=63+10+180=253 мин;

Wсм==3557 кг/см

6.5 Расчет производительности опрыскивателей, работающих в движении


Wсм=, (6.9)

где Wсм - сменная производительность, га/см;

В - ширина захвата опрыскивателя, м;

Vт - теоретическая скорость движения агрегата, км/ч;

Тсм - продолжительность рабочей смены, час, Тсм = 8 часов;

Кv - коэффициент использования рабочей скорости;

n - число повторных проходов по обработанной площади;

Кт - коэффициент использования рабочего времени, Кт=0,5…0,8;

Орудие ПМ-130

В=2,0 м; Vт=20 км/ч; Тсм=8 ч;

Кv = (1 - 0,1) · (1 - 0,05) = 0,855

Кт=0,7; n=1;

Wсм==19,152 га/см

6.6 Расчет производительности грейдеров


Производительность грейдеров на планировочных работах можно рассчитывать по формуле для расчета планировочных работ бульдозерами.

При планировочных работах сменную производительность бульдозера Wсм, м2/см, рассчитывают по формуле

Wсм= , (6.10)

где Тсм - продолжительность смены, ч;т - коэффициент использования рабочего времени смены бульдозерами, Kт = 0.8.0.9;

уч - длина планируемого участка, м;

Bот - длина бульдозерного отвала, м;

φ - угол установки отвала в плане;

bп - коэффициент потери грунта при перемещении призмы волочения, bп = (0,2…0,3) B;

nп - число проходов по одному месту;

vр - скорость движения бульдозера, м/с;

tо - время на разворот бульдозера, tо = 16…45 с.

Орудие - ДЗ-133 для планировки местности

Тсм= 8 ч; Kт =0,8, ℓуч= 1000 м; Bот = 2,1 м; φ =30; bп = 0,3 B = 0,42;

nп - 1; vр = 1,5 м/с; tо = 45

Wсм = 3600*8*0,8*1000* (2,1*1* 0,42) / (1* (1000/ 1,5+45)) = 28554,5 м2/ см

7. Расчет количества агрегатов для выполнения всего объема работ


7.1 Расчет количества машинно-тракторных агрегатов, транспортных средств и оборудования


Количество агрегатов, n, необходимое для выполнения заданного объема работ, определяется по формуле:

n=, (7.1)

где n - количество агрегатов;

S - общий объем работ, подлежащий выполнению на данной операции (площадь в га, объем материалов в м3 или литрах, количество материалов в штуках, масса материалов в кг), необходимых для проведения работ;

Dр - количество рабочих дней:

Dр=Dк-Dв, (7.2)

Dк - календарные сроки выполнения данной операции;

Dв - количество выходных дней в этот период;

Wсм - сменная производительность агрегата, га/см, м3/см, л/см, шт. /см, кг/см;

αсм - коэффициент сменности:

αсмрсм, (7.3)

Тр - продолжительность рабочего дня в течение суток, час;

kг - коэффициент технической готовности техники, kг=0,95, если продолжительность работ менее 15 дней, kг=0,9, если - более 15 дней.

Машина для уборки мусора Дз-133

С 9 апреля по 11

Dp = 3 - 0 = 3 день;

αсм = 7/8 = 0,875;

n = 12/ (3∙ 4,76 ∙ 0,875 ∙ 0,95) = 1шт.

Экскаватор ЭО-3322 для погрузки мусора

С 10 апреля по 15 апреля

Dp = 5 - 0 = 5дня;

αсм = 7/8 = 0,875;

n = 1200/ (5 ∙ 204,12 ∙ 0,875 ∙ 0,95) = 1 шт.

Автомобиль КамАЗ-55102 для вывозки мусора

С 10 апреля по 15апреля

Dp = 5 - 0 =5 дня; αсм = 10/ 8 = 1,3; n = 1200/ (5 ∙ 25 ∙ 1,3 ∙ 0,95) = 7 шт.

Машина для планировки ДЗ-133

С 16 апреля 20 апреля

Dp = 3 - 0 = 5 дня;

αсм = 7/8 = 0,875;

n =120000/ (5 ∙ 28554,5 ∙ 0,875 ∙ 0,95) = 1 шт.

Разбрасыватель удобрений УСБ-25-УР

С 21апреля по 22 апреля

Dp = 2 - 0 = 2 дней;

αсм = 8/8 = 1; n = 7200/ (2∙ 3557 ∙ 1 ∙ 0,95) = 1шт.

Орудие ПЛН-3-35 для вспашки

С по 23 по 27 апреля

Dp = 5 - 0 = 5 дня; αсм = 8/8 = 1;

n = 12/ (5 ∙ 1,04∙ 1 ∙ 0,95) = 2 шт.

Орудие ЗИЛ-130 для доставки саженцев

апреля

Dp = 1 - 0 = 1 дня;

αсм = 7/8 = 0,875;

n = 35/ (1 ∙ 36,1 ∙ 0,875 ∙ 0,95) = 1 шт.

Орудие МПС-1 для посадки саженцев

С 29апреля по 1мая

Dp = 3 - 0 = 3 дня;

αсм = 6/8 = 0,75;

n = 12/ (3 ∙ 2,79 ∙ 0,75 ∙ 0,95) = 2шт.

Орудие ПМ-130 для полива саженцев

мая

Dp = 1 - 0 = 1 день;

αсм = 6/8 = 0,875;

n = 12/ (1 ∙ 19,152 ∙ 0,75 ∙ 0,95) = 0,87=1 шт.

8. Расчет расхода горюче-смазочных материалов


8.1 Расчет расхода топлива машинно-тракторными агрегатами


Расход топлива Qсм, кг/см, может быть определен по формуле:

Qсм=Qp∙Tp+Qx∙ (Tпер+Tпов) +Qo∙To, (8.1)

где Qp - расход топлива за час работы двигателя под нагрузкой, кг/час;

Tp - время чистой работы за смену, час, Tp=0,8Тсм;

Qx - удельный расход топлива при холостых переездах и поворотах, кг/час;

Tпов - время поворотов на концах участка, час, Tпер+Tпов=0,15 Тсм, Tпов=lp/Vp;

Tпер - время холостых переездов, час;

Qo - удельный расход топлива при остановках с работающим двигателем, кг/час;

To - время работы двигателя на остановках, час, To=0,05 Тсм.

Расход топлива на единицу произведенной работы q (обработку одного гектара, кг/га, количество внесенного, вывезенного или доставленного материала, кг/м3 или кг/кг) находятся по формуле:

q=Qсм/Wсм, (8.2)

Потребность в топливе для выполнения всего объема данного вида работ Q кг, определяют по формуле:

Q=q∙S (8.3)

Расход основного топлива трактора МТЗ-82 с ДЗ-133 при уборке мусора. Расход топлива за смену Qсм, кг/см, определяем по формуле 8.1

р = 4,9 км/ч. Tp = 13,62/4,9 = 2,8 ч.

Tпов = 0,134/4,9 = 0,03 ч.

Qcм = 8,5 * 2,8 + 5 * (0,4 + 0,03) + 1,2 * 0,4 = 26,43 кг/см

Wcм = 4,76 га/см

q = 26,43/4,76= 5,55 кг/га

Q = 5,55 * 12 = 66,6 кг=77,44л.

Расход основного топлива трактора МТЗ-82 с ДЗ-133 при планировке

Расход топлива за смену Qсм, кг/см, определяем по формуле 8.1

р = 1,5 км/ч. Tp = 6,4ч. Tповпер. =1,2 ч. Тх=0,4ч.

Qcм = 8,5 * 2,8 + 6,4*1,2 + 1,2 * 0,4 = 29,41 кг/см

Wcм =2,85 га/см q = 29,41/2.85= 10,3 кг/га

Q = 10,3 * 12 = 123,83 кг=143,98

Т-25 для внесения минеральных удобрений при помощи УСБ-25-УР

Qp=4 кг/час;

Tp=0,8Тсм=6,4 часа; Qx=2 кг/час;

Tпер+Tпов=0,15 Тсм=1,2 часа;

Qo=0,8 км/ч; To=0,05 Тсм=0,4 часа;

Qсм=4∙6,4+2∙1,2+0,8∙0,4=29,12 кг/см

Расход топлива для всей операции по внесению удобрений

Qсм=29,12 кг/см;

Wсм=3557 кг/см;

q=29,12/3557=0,008 кг/га;

Q=0,008∙7200=57,6 кг = 66,97л.

МТЗ-82 для вспашки при помощи ПЛН-3-35

Qp=9 кг/час; Tp=0,8Тсм=6,4 часа;

Qx=6 кг/час; Tпер+Tпов=0,15 Тсм=1,2 часа;

Qo=1,2 км/ч; To=0,05 Тсм=0,4 часа;

Qсм=9∙6,4+6∙1,2+1,2∙0,4=65,28 кг/см

Расчет топлива для всей операции по вспашке

Qсм=65,28 кг/см; Wсм=1,04 га/см; q=65,28/1,04=62.769 кг/кг;

Q=62,769∙12=753,228 кг=875,84л.

МТЗ-1523 для посадки саженцев при помощи МПС-1

Qp=9 кг/час; Tp=0,8Тсм=6,4 часа;

Qx=6 кг/час; Tпер+Tпов=0,15 Тсм=1,2 часа;

Qo=1,2 км/ч; To=0,05 Тсм=0,4 часа;

Qсм=9∙6,4+6∙1,2+1,2∙0,4=65,28 кг/см

Расчет топлива для всей операции по посадке

Qсм=65,28 кг/см; Wсм=2,79 га/см; q=65,28/2,79=23,4 кг/кг;

Q=23,4∙18=421,16 кг=326л.

Расчет расхода топлива Q, кг, для моторизованного инструмента и специальной техники проводится по формуле:

Q=qт∙Tр∙Kи, (8.4)

где qт - норма расхода топлива за час чистой работы инструмента, кг/ч или л/ч;

Tр - общее время чистой работы за весь период времени, когда работал инструмент, час;

Kи - коэффициент использования времени, Kи=0,4…0,6.

Экскаватор ЭО-3322

qт=7,4 кг; Tр=14 ч; Kи=0,5, Q=7,4∙14∙0,5=51,8 кг=60,23л.

8.2 Расчет топлива автомобильным транспортом


Расход топлива по нормам определяется по следующему выражению:

Q=, (8.5)

где Q - количество топлива, л; Кт1 - норма расхода топлива на передвижение самого подвижного состава, л/100 км; Кт2 - норма расхода топлива на единицу транспортной работы, л/100т∙км; Кт2=2,5 л - для карбюраторных двигателей; Кт2=1,5 л - для дизельных двигателей; Кт2=2,64 - для двигателей на сжиженном газе; Кт2=2 м3 - для двигателей на сжатом газе. Кт3 - норма дополнительного расхода топлива на каждую ездку, Кт3=0,25 л; S - пробег, км; Sгр - пробег с грузом, км; Gгр - количество перевезенного груза, т; Zе - количество ездок, КамАЗ-55102 для вывозки мусора, Кт1=32 л/100 км; Кт2=1,5 л/100т∙км; Кт3=0,25 л; S=6040 км; Sгр=3020 км; Gгр=518,4 т; Zе=302;

Q== 28,476 л

ЗИЛ-130 для привоза саженцев, Кт1=31 л/100 км; Кт2=2,5 л/100т∙км; Кт3=0,25 л; S=378 км; Sгр=189 км; Gгр=32,4 т; Zе=18;

Q== 274,77 л

Расход основного топлива ПМ-130 для полива саженцев

где qт - норма раcхода топлива за час чистой работы, л/ч;

Ки - коэффициент использования времени, = 0,4-0,6.

Q= qт ∙Tр∙Kи, qт =36.5, Тр=18, Ки=0,6

Q =36,5 * 18 * 0,6 = 393,2 л.

9. Построение графиков загрузки тракторов и расхода топлива


График загрузки тракторов строился для каждой проведенной операции технологического процесса. По оси абсцисс откладывались дни и месяцы календарного периода. По оси ординат (слева) откладывалось количество занятых на операции тракторов. Таким образом, каждая операция на графике представляет собой прямоугольник, шириной которого являются календарные сроки выполнения операции, а высотой - количество тракторов, занятых на операции.

График расхода топлива строился для каждого трактора. По оси абсцисс откладывались дни и месяцы календарного периода. По оси ординат (справа) откладывался расход топлива.

Кривые расхода топлива строятся для каждого трактора отдельно.

После этого на графике обозначалось условными знаками время проведения технических обслуживаний тракторов (Кухар, 2009).

Заключение


В данном курсовом проекте был создан комплекс механизированных работ по созданию древесных насаждений в пригородном лесопарке. Были подобраны технические средства, был произведено комплектование МТА (расчет рабочего сопротивления или затрат мощности технологическими машинами, тяговый расчет тракторов, расчет коэффициента загрузки МТА), расчет состава машинно-тракторного парка, был составлен график загрузки тракторов, составлена технологическая карта.

Библиографический список


1. Зотов, В.А. Механизация зеленого хозяйства: Справочник/ В.А. Зотов, Г.П. Ильин, М.М. Шумков. - М.: Стройиздат, 1985. - 440 с., ил.

. Кухар, И.В. Машины и оборудование природообустройства и защиты окружающей среды. Часть I. Общее устройство машин и оборудования для природообустройства и защиты окружающей среды: Курс лекций для студентов специальности 190207 Машины и оборудование природообустройства и защиты окружающей среды направления 190000 Транспортные машины и транспортно-технологические комплексы очной формы обучения/ И.В. Кухар, С.Н. Орловский, А.И. Карнаухов. - Красноярск: СибГТУ, 2011. - 316 с.

. Кухар. И.В. Машины и механизмы садово-паркового и ландшафтного строительства: учебное пособие по курсовому проектированию для студентов всех форм обучения специальности 250203 Садово-парковое и ландшафтное строительство направления 250201 Лесное хозяйство/ И.В. Кухар. - Красноярск: СибГТУ, 2009. - 132 с.

. Справочник механизатора лесного хозяйства/ М.П. Албяков [и др.]. - Изд.2-е, перераб. и доп. - М.: "Леснаяпром-сть", 1997. - 296 с.: ил.

Электронные ресурсы:

. www.asm24.ru

. www.avtotatcenter.ru

7. www.dic. academic.ru

. www.gardenin.ru

9. www.mehanizator.ru

Похожие работы на - Комплексная механизация работ по созданию древесных насаждений в пригородном лесопарке

 

Не нашли материал для своей работы?
Поможем написать уникальную работу
Без плагиата!
Без нейросетей!