Разработка технологической схемы синтеза бутадиен-нитрильного каучука и композиции на его основе

  • Вид работы:
    Курсовая работа (т)
  • Предмет:
    Другое
  • Язык:
    Русский
    ,
    Формат файла:
    MS Word
    64,21 Кб
  • Опубликовано:
    2015-05-17
Вы можете узнать стоимость помощи в написании студенческой работы.
Помощь в написании работы, которую точно примут!

Разработка технологической схемы синтеза бутадиен-нитрильного каучука и композиции на его основе

Аннотация

«Разработка технологической схемы синтеза бутадиен-нитрильного каучука и композиции на его основе»

Иванов Иван Иванович

Вечерний факультет, группа ВХТ-351, 2015 год

Шабанова Вера Павловна

Вечерний факультет, кафедра ВТПЭ. Научный руководитель. 33-74-58, электронный адрес schabanowawp@mail.ru.

Бутадиен-нитрильные каучуки представляют собой сополимеры бутадиена с акрилонитрилом. Основными типами бутадиен-нитрильных эластомеров являются СКН-18, СКН-26 и СКН-40. Числовой индекс в марках указывает на количество звеньев акрилонитрила в полимере.

Большое число полярных заместителей в макромолекуле каучука обуславливает ряд специфических свойств. Главным из которых является повышенная устойчивость к действию различных масел, жиров, алифатических углеводородов (в т.ч. к пропану, бутану, бензинам, керосину). По устойчивости к действию подобных растворителей СКН значительно превосходит НК и все каучуки общего назначения. БНК является каучуком специального назначения и объем его производства невелик.

Вулканизаты БНК превосходят резины из НК по устойчивости ко всем видам старения, теплостойкости и сопротивлению истиранию. Свойства вулканизатов определяются содержанием нитрильных групп в цепи полимера, с увеличением их количества возрастает устойчивость вулканизатов каучука к действию растворителей.

БНК обладает некоторой электропроводностью - это связано с наличием большого числа полярных групп в полимерной цепи. Эти каучуки можно использовать для рассеивания статических зарядов или для изготовления электронагревательных элементов.

На основе свойства устойчивости СКН изготавливают маслобензостойкие РТИ. Резины из БНК мало набухают в воде и антифризах.

СКН хорошо совмещается с полярными полимерами. Это дает возможность их модифицировать, т.к. модифицированные полимеры дешевле, имеют повышенные свето-, озоно- и огнестойкость, а также стойкость к истиранию и раздиру.


Введение

Бутадиен-нитрильные каучуки представляют собой сополимеры бутадиена с акрилонитрилом. Основными типами бутадиен-нитрильных эластомеров являются СКН-18, СКН-26 и СКН-40. Числовой индекс в марках указывает на количество звеньев акрилонитрила в полимере.

Большое число полярных заместителей в макромолекуле каучука обуславливает ряд специфических свойств. Главным из которых является повышенная устойчивость к действию различных масел, жиров, алифатических углеводородов ( в т.ч. к пропану, бутану, бензинам, керосину). По устойчивости к действию подобных растворителей СКН значительно превосходит НК и все каучуки общего назначения. БНК является каучуком специального назначения и объем его производства невелик.

Вулканизаты БНК превосходят резины из НК по устойчивости ко всем видам старения, теплостойкости и сопротивлению истиранию. Свойства вулканизатов определяются содержанием нитрильных групп в цепи полимера, с увеличением их количества возрастает устойчивость вулканизатов каучука к действию растворителей.

БНК обладает некоторой электропроводностью - это связано с наличием большого числа полярных групп в полимерной цепи. Эти каучуки можно использовать для рассеивания статических зарядов или для изготовления электронагревательных элементов.

На основе свойства устойчивости СКН изготавливают маслобензостойкие РТИ. Резины из БНК мало набухают в воде и антифризах.

СКН хорошо совмещается с полярными полимерами. Это дает возможность их модифицировать, т.к. модифицированные полимеры дешевле, имеют повышенные свето-, озоно- и огнестойкость, а также стойкость к истиранию и раздиру.

Статические сополимеры бутадиена и акрилонитрила известны с 1931г., а промышленный синтез таких каучуков путем полимеризации в эмульсии был начат в Германии в 1937г. В настоящее время бутадиен - нитрильные каучуки являются одними из самых массовых каучуков специального назначения, около 20 стран производят их.

СКН получают радикальной сополимеризацией бутадиена с нитрилом акриловой кислоты (НАК, акрилонитрил) в водной эмульсии при 30 °С (высокотемпературные) и при 5°С (низко - температурные).  Низкотемпературные СКН обладают лучшими технологическими свойствами, чем высокотемпературные, а их вулканизаты - хорошими физико - механическими свойствами. Молекулы СКН состоят из статистически чередующихся звеньев бутадиена и НАК.

Сополимеризация бутадиена с акрилонитрилом идет по радикальному механизму. Константы сополимеризации незначительно зависят от температуры. Учитывая закономерности статистической сополимеризации, эта пара мономеров должна иметь азеотропный состав, соответствующий (при 50 °С) около 40 % акрилонитрила в смеси мономеров. При более низких дозировках акрилонитрила сополимер всегда обогащен звеньями этого
мономера, и интегральный состав сополимера существенно зависит от степени превращения.

В ряде случаев получают сшитые (структурированные) бутадиен-нитрильные каучуки, вводимые в небольшом количестве в каучуки обычного типа для улучшения перерабатываемости последних. Для получения сшитых каучуков применяют третий мономер с двумя изолированными ненасыщенными группами, например дивинил бензол.

При проведении эмульсионной сополимеризации акрилонитрил может вступать в различные побочные реакции (образование в цепи амидных и карбоксильных групп; а также образование 4 - цианоциклогексена - придает каучуку неприятный запах). Поэтому для сополимеризации условия подбираются так, чтобы свести к минимуму все побочные реакции.

.Литературный обзор

.1 Бутадиен-нитрильный каучук

Бутадиен-нитрильный каучук (БНК) является продуктом сополимеризации бутадиена и нитрила акриловой кислоты. Полимеризация проводится в водной эмульсии. Меняя соотношения компонентов, можно существенно изменять свойства получаемых полимеров. Полимеризация может осуществляться как при высоких, так и при низких температурах.

Особенностью производства бутадиен-нитрильных каучуков является необходимость возможно более полного удаления при коагуляции эмульгаторов, применявшихся при полимеризации.

В товарных каучуках, кроме полимера, допускается небольшое содержание минеральных веществ, определяемых в виде золы (не более 1% вместе с опудривающими веществами) и летучих (не более 1%). Каучуки при получении заправляются окрашивающими (2 - 3% фенил-β-нафтиламин) или неокрашивающими (1,2 - 2,0% алкилзамещенные бисфенолы) противостарителями.

Макромолекула сополимера построена из статистически чередующихся звеньев бутадиена и нитрила акриловой кислоты


Звенья бутадиена, присоединенные в положении 1,4, имеют преимущественно транс-конфигурацию; содержание звеньев бутадиена, присоединенных в положении 1,2, не превышает 10% и уменьшается с увеличением содержания присоединенного НАК.

Среднемассовая ММ бутадиен-нитрильных каучуков составляет 100-300 тыс. при широком ММР. Эти каучуки аморфны и не кристаллизуются ни при хранении, ни при растяжении. В России выпускают каучуки с низким (17-20%), средним (27-30%), высоким (36-40%) и очень высоким (50%) содержанием НАК, которые соответственно обозначаются: СКН-18, СКН-26, СКН-40, СКН-50.

Сведения о мономерах

Бутадиен-1,3 (дивинил) СН2=СН-СН=СН2 - ненасыщенный углеводород, простейший представитель диеновых углеводородов.

Основные свойства

Бутадиен - бесцветный газ с характерным запахом, температура кипения −4,5 °C, температура плавления −108,9 °C, температура вспышки −40 °C, предельно допустимая концентрация в воздухе (ПДК) 0,1 г/м³, плотность 0,650 г/см³ при −6 °C.

Слабо растворим в воде, хорошо растворим в спирте, керосине с воздухом в количестве 1,6-10,8 %.

Бутадиен склонен к полимеризации, легко окисляется воздухом с образованием перекисных соединений, ускоряющих полимеризацию.

Получение

Бутадиен получают по реакции Лебедева пропусканием этилового спирта через катализатор:

CH3CH2OH → C4H6 + 2H2O + H2

В нефтехимической промышленности основной способ получения бутадиена - дегидрогенизация бутана на алюмохромовых катализаторах:

CH3-CH2-CH2-CH3 → CH2=CH-CH=CH2 + 2Н2

Акрилонитрил

Акрилонитрил (цианистый винил, НАК), CH2=CH-C≡N - Нитрил акриловой кислоты

Основные свойства

Бесцветная жидкость с характерным запахом миндаля или вишневых косточек, растворима в воде, т. кип. 77 °C. Пары тяжелее воздуха. Относится к категории СДЯВ (сильнодействующих ядовитых веществ)

Получение и применение

Акрилонитрил впервые был получен в 1893 году дегидратацией оксидом фосфора этиленциангидрина:

CH2(OH)CHCN → CH2=CHCN + H2O

Первым промышленным методом его получения было взаимодействие окиси этилена с HCN:

(CH2-CH2)O + HCN → CH2(OH)CHCN → CH2=CHCN + H2O

Промышленное использование началось в 1930 году, когда был получен стойкий к химическим воздействиям каучук.

В 40-х годах прошлого века стал применяться другой способ синтеза:

H2 + HCN → CH2=CHCN

Начиная с 60-ых годов, альтернативу вышеуказанному способу составил так называемый Sohio - процесс (катализатор - фосфомолибдат висмута):

CH2=CH-CH3 + NH3 + 3/2O2 → CH2=CHCN + 3H2O

Применяется при производстве некоторых видов синтетического каучука. Путем полимеризации акрилонитрила и последующего прядения получают синтетические волокна, например нитрон, или модакриловые волокна.

.2 Основные процессы, протекающие при полимеризации в эмульсии

Процесс получения бутадиен - нитрильного каучука СКН состоит из следующих стадий: приготовление углеводородной и водной фаз; приготовление раствора инициатора, регулятора и стабилизатора; сополимеризация бутадиена с НАК; дегазация латекса; выделение каучука из латекса, сушка и упаковка.

Сополимеризация проводится по непрерывной схеме в батарее полимеризаторов, состоящих из 12 аппаратов, не менее 10 из которых должны находится в работе. Каждый аппарат батареи представляет собой стандартный полимеризатор емкостью 12 м3, снабженный рамной мешалкой, рубашкой и змеевиком, что позволяет применять аппараты и для проведения полимеризации при температуре 50С. Поверхность рубашки в таком аппарате 20м2 , поверхность змеевика 26 м2 .

При температуре полимеризации 300С степень превращения мономеров 65 - 70%. Акрилонитрил, освобожденный от гидрохинона путем перегонки, и бутадиен смешиваются в нужном соотношении для приготовления мономерной фазы. При этом в смеситель подается 98% расчетного количества акрилонитрила. Остальное количество акрилонитрила используется для приготовления раствора регулятора молекулярного веса. Для лучшего смешения мономеров производится циркуляция смеси. Отдельно приготавливается водная фаза в аппаратах с покрытием из полуэбонита, снабженных мешалками. 

Состав водной фазы:

умягченная вода,

эмульгатор (алкилсульфонат натрия),

пирофосфат натрия,

едкий натр,

лейканол.

В аппарат подается половина всего требуемого количества воды, пирофосфат натрия, необходимое количество эмульгаторов, активатора и щелочи. После тщательного перемешивания смеси добавляется оставшееся количество воды, и водная фаза анализируется. В среднем она должна иметь сухой остаток 3,2 - 3,5%, щелочность - не ниже 0,025%, содержание железа не должно превышать 0,0003%.

При получении низкотемпературных каучуков применяется окислительно - восстановительная система, состоящая из трилонового комплекса железо - ронгалита - гидропероксида.

Водная и мономерная фазы в объемном соотношении 200:100 смешиваются в насосе, образовавшаяся эмульсия подается в первый полимеризатор, куда одновременно поступает непрерывным потоком раствор персульфата калия и требуемое количество раствора дипроксида в акрилонитриле. Следующие порции раствора регулятора подаются в соответствующие полимеризаторы, где степень превращения составляет 16 - 23, 26 - 43 и 48 - 55%. Первый полимеризатор может обогреваться водой, последующие полимеризаторы охлаждаются промышленной водой. В течение всего процесса поддерживается температура 300 0С, давление в аппаратах 5 - 8 атм. Чтобы прервать процесс полимеризации, в латекс после последнего полимеризатора подается щелочной раствор гидрохинона.

При более низкой температуре полимеризации получают каучук с лучшим молекулярно - весовым распределением. Такие каучуки легче обрабатываются и обладают более высокими физико - механическими показателями после вулканизации.

Дегазация латекса осуществляется непрерывным способом сначала на колоннах предварительной дегазации, на которых производится дегазация основной массы бутадиена, а затем на двухступенчатых вакуумных дегазационных колоннах. На колоннах предварительной дегазации отгонка незаполимеризовавшихся мономеров осуществляется подачей острого пара, увлажненного водой. Колонна предварительной дегазации представляет собой вертикальный аппарат с встроенной ступенью. Процесс дегазации латекса ведется под вакуумом с использованием в качестве теплоносителя водяного пара, который увлажняется умягченной водой. Латекс, поступающий в колонну, смешивается с водяным паром. Вследствие этого из него частично удаляется НАК и почти полностью бутадиен. Затем дегазированный латекс собирается в емкости и анализируется. Кондиционный латекс насосом подается в цех выделения каучука. Отогнанные из латекса пары бутадиена, НАК и воды проходят через отделитель и отбойники и поступают в систему конденсации.

Латекс после дегазации должен удовлетворять требованиям, ниже приведенным в таблице.

Таблица 1 - Массовый состав дегазированного бутадиен - нитрильного латекса, %.

Компоненты

СКН - 18

СКН - 26

СКН - 40

Каучук

>16

>16

>10

Свободный НАК

<0,1

<0,1

<0,1

Свободный бутадиен

<0,0009

<0,0009

<0,0009

Связанный НАК

17 - 20

27 - 30

36 - 40


Дегазированный латекс из цеха полимеризации собирается и хранится в вертикальных цилиндрических емкостях объемом от 150 до 1000 м3, снабженных мешалками рамного типа. В этих емкостях происходит также усреднение партии латекса. После заполнения емкости к латексу добавляют 2 - 3 % нафтама - 2 для стабилизации полимера. В случае выпуска пищевого каучука марки СКН - 26П в латекс вводят 1 - 2 % дисперсии П - 23 (2,4,6-три-трет-бутилфенол ).

Существует несколько методов выделения каучука из латекса: механический; с применением электролитов; вымораживание; тепловое воздействие; с применением растворителей.

В нашем случае коагуляция латекса производится 23 - 26% - ным раствором хлорида натрия в системе трубопроводов. Для обеспечения требуемой степени дисперсности скоагулированной крошки каучука раствор хлорида натрия до смешения его с латексом разбавляют водой. С целью уменьшения расхода поваренной соли на коагуляцию используются специальные коагулирующие добавки, например продукты поликонденсации этиленоксида с альдегидами, спиртами, аминами и др.

Одним из серьезных недостатков при коагуляции латексов СКН является повышенный расход электролита - хлорида натрия (до 1500 - 2500 кг/т). Уменьшение расхода достигается за счет использования рецикла серума, введение в латекс коагулирующих добавок и других приемов. Сушка каучука производится с учетом возможности деструкции СКН при повышенных температурах. На сушку лента каучука поступает с содержанием влаги 40 - 50 %. Сушильный агрегат - это многоходовая ленточная сушилка непрерывного действия, она оборудована девятнадцатью транспортерами, на которые поступает горячий воздух, прогреваемый в калориферах. Сушильный агрегат разделен на четыре зоны, в которых движутся транспортеры. С целью регулирования скорости транспортеров по зонам установлены вариаторы скоростей. Температура по зонам сушилки поддерживается автоматически с помощью регулирующих клапанов и выдерживается в следующих пределах: первая зона - не выше 1450С, вторая зона - не выше 1400С, третья зона - не выше 1300С. Четвертая зона служит для охлаждения высушенного каучука путем подачи свежего воздуха в сушилку. Высушенная лента каучука с содержанием влаги не более 1% подается транспортером на упаковку или на разрывную машину. На агрегате брикетирования лента упаковывается в полиэтиленовую пленку. Брикеты массой 32кг укладываются в контейнеры и отправляются потребителям.

В промышленности применяют два метода выделения каучука из латекса: в виде ленты и в виде крошки. Технологический режим выделения каучука из латекса определяется выбранной схемой. При выделении каучука из латекса в виде ленты крошки каучука размером 1 - 3 мм должна обладать определенной клейкостью, что возможно при условии удерживания крошки каучука четырехкратного объема воды. При выделении каучука в виде крошки размером 5 - 30 мм стремятся обеспечить более полное обезвоживание. Это достигается путем повышения кислотности среды, а также более длительного контакта с серной кислотой. Размер зерна обеспечивается путем подбора режима коагуляции водой или серумом (вода с примесью электролитов и отдельных водорастворимых компонентов латекса), интенсивностью смешения потоков латекса и электролитов, скоростью перемешивания потоков на стадии коагуляции, степенью промывки крошки. Все это также влияет на условия сушки каучука.

.3 Модифицированный СКН

Модификация состоит во введении в СКН различных добавок, например поливинилхлорид. Смешение производят в резиносмесителях или на вальцах.

Можно также модифицировать каучуки путем смешения латексов. Этот способ более экономичен.

Каучуки, модифицированные поливинилхлоридом, выпускают двух типов. Они различаются соотношением каучука и поливинилхлорида: 70:30 и 50:50. Модифицированный каучук получают обычно периодическим способом. Латекс СКН после дегазации смешивается с латексом поливинилхлорида в аппарате с мешалкой, при этом вводят стабилизатор для двух латексов. Выделение такого каучука производится раствором хлорида натрия при 40 - 450С. Полученная крошка промывается водой в аппарате с мешалкой и направляется в аппарат для сушки.

Преимуществом таких модифицированных каучуков являются отличные озоностойкость, сопротивление раздиру, стойкость к агрессивным средам, тепловому старению и огнестойкость.

Кроме поливинилхлоридов СКН модифицируют хлоропреновым каучуком, тиоколом, бутадиен - стирольным, полибутадиеновым, натуральным каучуками и фенолформальдегидными смолами.

Были получены изопрен - нитрильные каучуки, которые применяются при изготовлении клеев. Они обладают повышенной клейкостью. Из них получают светлые резины.

Также выпускают структурированные бутадиен - нитрильные каучуки - продукты тройной сополимеризации бутадиена, НАК и дивинилбензола (марки СКН - 26СШ и СКН - 40СШ). Большое значение имеет тройной сополимер бутадиена, НАК и стирола, выпускаемый в виде смолы.

Разработанные бутадиен - нитрильные каучуки, наполненные пластификатором на стадии латекса (вопрен 520), характеризующиеся особо легкой перерабатываемостью; карбоксилированные каучуки (СКН - 26 - 5 - сополимер бутадиена, НАК и метакриловой кислоты); большой ассортимент жидких бутадиен - нитрильных полимеров. Производятся порошкообразные каучуки, каучуки со связанным антиоксидантом, вводимым на стадии полимеризации.

.4 Вулканизация

Бутадиен-нитрильные каучуки могут вулканизоваться серой в присутствии ускорителей серной вулканизации, а также тиурамом, органическими перекисями, алкилфенолформальдегидными смолами, хлорорганическими соединениями. Вулканизацию проводят при температурах 140-190оС. При вулканизации наблюдается большое плато вулканизации. С повышением содержания связанного НАК скорость вулканизации увеличивается.

Так как БНК не кристаллизуются при деформации, ненаполненные резины на их основе характеризуются низкими прочностными показателями и практического значения не имеют.

Качество каучуков оценивают по свойствам вулканизатов стандартных смесей следующего состава (табл. 2):

Таблица 2 - Содержание, масс. частей

СКН-18

100,00

-

СКН-26, СКН-40

-

100,00

Сера

2,00

1,50

Оксид цинка

5,00

5,00

Меркаптобензитиазол

1,50

0,80

Технический углерод

50,00

45,00

Стеариновая кислота

1,50

1,50


Каучук с ингредиентами смешивают на лабораторных вальцах при температуре валков 30-40оС. Общая продолжительность смешения 41 мин, из них в течение 15 мин проводят пластикацию каучука. Продолжительность вулканизации резиновых смесей, приготовленных по стандартному рецепту при 142 ± 1оС, составляет 50-60 мин. Предел прочности ненаполненных вулканизатов стандартных смесей не превышает 5-6 МПа.

.5 Свойства

Физические свойства

Физические свойства БНК существенно зависят от содержания НАК. Бутадиен-нитрильные каучуки хорошо растворяются в кетонах, ароматических и хлорированных углеводородах, сложных эфирах и очень плохо в алифатических углеводородах и спиртах. С увеличением содержания в полимере связанного НАК существенно увеличивается межмолекулярное взаимодействие между цепями полимера и плотность, повышается температура стеклования, снижаются диэлектрические свойства, уменьшается растворимость в ароматических растворителях и увеличивается стойкость к набуханию в алифатических углеводород.


СКН-18

 СКН-26

СКН-40

Сопротивление раздиру, кН/м

46-65

65-85

72-85

Твердость по ТМ-2

69-72

75-78

72-76

Эластичность по отскоку, %

40-45

30-35

15-20

Истираемость, м3/ТДж (мм3/кДж)

82-90

55-68

41-55

Температура хрупкости, °С.

58-60

48-50

23-21

Коэффициент теплостойкости при 100°С



по прочности при растяжении.

0,3-0,4

0,3-0,4

0,3-0,4

по относительному удлинению.

0,5-0,6

0,5-0,6

0,55-0,65

Набухание в бензине в течение 24 ч, %

22-24

7-8

0,5-1,0


Технологические свойства

В зависимости от условий регулирования процесса полимеризации БНК выпускают с различными пластоэластическими свойствами: Очень жесткие (твердые) - с жесткость по Дефо 21,5 - 27,5 Н или вязкостью по Муни выше 120 усл. ед.; Жесткие - с жесткостью по Дефо 17,5 - 21,5 Н или вязкостью по Муни 90 - 120 усл. ед.; Мягкие - с жесткостью по Дефо 7,5 - 11,5 Н или вязкостью по Муни 50 - 70 усл. ед.

В соответствии с этим к обозначению каучука добавляют букву Т - для очень жестких каучуков или М - для мягких. Для каучуков получаемых в присутствии алкилсульфонатов в качестве эмульгаторов, к обозначению каучука добавляется буква С. Например, СКН-18МС обозначает, что каучук содержит около 18% связанного НАК, мягкий (за счет пониженном молекулярной массы), получен в присутствии биологически разлагаемого алкилсульфонатного эмульгатора.

Переработка БНК затруднена из-за высокой жесткости, обусловленной большим межмолекулярным взаимодействием. Обрабатываемость каучуков различных марок зависит от их исходной вязкости, а также от содержания нитрильных групп. Для всех каучуков жестких типов необходима предварительная пластикация, причем наиболее эффективна механическая пластикация на вальцах при температуре 30-40 °С.

По скорости пластикации БНК могут быть расположены в следующий ряд: СКН-40>СКН-26>СКН-18. Термоокислительная деструкция БНК малоэффективна и не находит практического применения. Существенные трудности возникают при изготовлении резиновых смесей на основе БНК в резиносмесителях, так как при этом вследствие повышенного теплообразования развиваются высокие температуры, которые приводят к повышению жесткости смесей из-за подвулканизации или термоструктурирования каучука.

Обычно применяются многостадийные режимы смешения с охлаждением и вылежкой маточных смесей между стадиями. Резиновые смеси на основе БНК обладают незначительной конфекционной клейкостью. Формование смесей затруднено вследствие высокой жесткости и большого эластического восстановления.

Каучуки, полученные низкотемпературной полимеризацией, имеют лучшие технологические свойства по сравнению с каучуками «горячей» полимеризации.

Свойства вулканизатов

Основные свойства резин на основе БНК зависят от содержания в них связанного НАК. С увеличением содержания повышаются прочностные свойства, твердость, износостойкость, стойкость к набуханию в алифатических углеводородах и стойкость к тепловому старению. В то же время существенно снижаются эластичность и морозостойкость, повышается теплообразование при многократных деформациях. Резина на основе БНК отличаются высоко стойкостью к набуханию в алифатических углеводородах, жирах и растительных маслах, но сильно набухают в полярных, ароматических и хлорсодержащих органических соединениях.

Одним из существенных преимуществ резин на основе БНК по сравнению с резинами на основе НК, СКИ-3, СКС-30 является их более высокая стойкость к тепловому старению, что объясняется образованием при окислении промежуточных продуктов, являющихся ингибиторами окисления. Резины на основе БНК имеют хорошую адгезию к латунированному металлу и приближаются в этом отношении к резинам из НК. Прочность крепления их к алюминию и его сплавам, стали, чугуну, латуни, бронзе, цинку, магнию выше прочности самого вулканизата.

БНК можно применять в комбинации с натуральным, изопреновым, бутадиеновым и бутадиен-стирольным каучуками, которые вводятся для улучшения технологических свойств смесей и повышения морозостойкости вулканизатов. Совмещение их с этиленпропиленовыми и хлоропреновыми каучуками улучшает озоностойкость и стойкость к тепловому старению, а совмещение с тиоколами, поливинилхлоридом, фторкаучуками и фенолформальдегидными смолами улучшает масло - и бензостойкость, озоностойкость.

.6 Применение

Бутадиен-нитрильные каучуки применяют для изготовления различных масло- и бензостойких изделий, используют также как пластификаторы для пластмасс, на основе которых изготовляют ударопрочные материалы.

Стойкость бутадиен-нитрильных каучуков к маслам, углеводородам и другим агрессивным средам послужила причиной широкого применения этих каучуков при изготовлении:

широкого ассортимента резинотехнических изделий;

уплотнительных деталей, втулок, колец, манжет, сальников, диафрагм, мягкой тары, шлангов, полиграфических офсетных пластин, приводных ремней и пр.;

кислотно- и щелочестойкой резины, применяемой в качестве антикоррозийных материалов для внутренних покрытий аппаратов, работающих в агрессивных средах;

покрытий топливных баков для автомобильной, авиационной, нефтяной промышленности и шлангов, теплостойкого эбонита, обладающего большой механической прочностью и стойкостью к химическим агентам, для изготовления оболочек электрических кабелей;

маслобензостойкой обуви, каблуков и подошв обуви.

Каучуки используются для производства изоляционных и электропроводящих резин, каблуков и подошв обуви, клеев и эбонитов, защитных покрытий, стойких в агрессивных средах.

.Описание технологической схемы

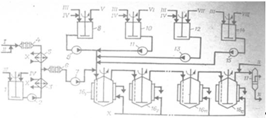
Схема установки для получения низкотемпературных бутадиен-нитрильных каучуков непрерывной полимеризацией в эмульсии представлена на рисунке 1. Водная фаза, включающая раствор основного эмульгатора, электролита и второго эмульгатора (лейканола), готовится в аппарате 1 смешением указанных компонентов, дозируемых в соответствии с заданной рецептурой, и имеет рН 10-11.

Готовая водная фаза насосом 2 через холодильник 3, охлаждаемый рассолом, подается на смешение с углеводородной фазой в диафрагмовой смеситель 6. Углеводородная фаза готовится непрерывным смешением бутадиена и акрилонитрила, подаваемых в заданном соотношении дозировочными насосами в диафрагмовый смеситель 4 охлаждается в рассольном холодильнике 5, смешивается с водной фазой в диафрагмовом смесителе 6, после чего насосом 7 подается в первый по ходу аппарат батареи полимеризаторов, состоящий, как правило, из 12 стандартных полимеризаторов объемом 12 или 20 м3.

Эмульсия инициатора готовится в аппарате 8 из умягченной воды, инициатора и эмульгатора, дозируемых из соответствующих мерников, и насосом 9 подается на смешение с эмульсией углеводородов в воде в линию шихты перед первым полимеризатором 16.

Регулятор молекулярной массы каучука (трет-додецилмеркаптан) применяется в виде раствора в акрилонитриле. Комплекс железа готовится в отсутствие воздуха в виде тонкой взвеси в воде при нагревании смеси растворов пирофосфата калия и сульфата железа (II) при перемешивании или в виде раствора омылением этилендиаминтетрауксусной кислоты едким калием с последующим взаимодействием образовавшейся соли с рассчитанным количеством сульфата железа (II), Ронгалит растворяется в воде при перемешивании. Приготовленные в соответствии с рецептом полимеризации растворы подаются на смешение в линию шихты перед первым полимеризатором. Все растворы исходных компонентов готовятся и хранятся в атмосфере азота.

Рисунок 1 - Схема полимеризации при получении низкотемпературных бутадиен эмульсионных каучуков: 1 - емкость для приготовления водной фазы; 2, 7, 9, 11, 13, 15 - насосы; 3, 5 - холодильники; 4, 6 - диафрагмовые смесители: 8, 10, 12, 14 - аппараты для приготовления компонентов; 161 - 1612 - полимеризаторы; 17 -фильтр. I-бутадиен; II-акрил; III-умягченная вода; IV - эмульгаторы; V - инициатор; VI - комплекс железа; VII- ронгалит; VIII- регулятор молекулярной массы; IX- стоппер; Х - рассол; XI-латекс на дегазацию

синтез нитрильный каучук

Дегазация латексов

Латекс из батареи полимеризаторов поступает в промежуточную емкость, снабженную рамной мешалкой, откуда насосом через фильтр подается в колонну предварительной дегазации работающую в режиме прямотока латекс - пар давлением 0,6 МПа. В колонне удаляется основная масса непрореагировавшего бутадиена, который через сепаратор направляется на выделение и регенерацию, а частично дегазированный латекс насосом подается в верхнюю часть дегазационной колонны первой ступени, где окончательно удаляется из латекса бутадиен и отгоняется основная масса стирола. Для окончательного удаления стирола латекс из куба колонны насосом подается в колонну второй ступени дегазации. Дегазированный латекс, содержащий менее 0,3% (масс.) акрилонитрила, выводится из куба колонны через гидрозатвор и насосом откачивается на выделение каучука. Отгоняемые в колоннах углеводороды поступают в сепаратор, где отделяются от захваченных частиц каучука, возвращаемых в нижнюю часть колонны, и далее в систему конденсации, состоящую из двух последовательно соединенных конденсаторов, которые осаждаются промышленной и охлажденной водой.

Сконденсированные продукты через гидрозатвор насосом подаются в отстойник, а несконденсированные (бутадиен) вместе с газообразными веществами из колонны подаются на разделение и регенерацию. Углеводородный слой из отстойника поступает на очистку от примесей, а нижний водный слой сливается и направляется на очистку.

Колонны дегазации, работающие при прямотоке греющий пар - латекс, имеют пакетную насадку диск-кольцо, скорость прохождения латекса через колонну регулируется шиберами.

Предварительная отгонка бутадиена может быть осуществлена в промежуточной емкости, которая в этом случае для подогрева латекса глухим паром снабжается рубашкой.

Дегазация высокотемпературных латексов осуществляется в двухступенчатом отгонном агрегате при температуре около 80 °С и остаточном давлении 52 кПа.


. Создание полимерной композиции

Полимерная композиция (рецепт приведен в таблице 4) характеризуется улучшенными физико-механическими показателями [15].

Таблица 4 - Рецепт резиновой смеси

Ингредиент

Содержание, масс. ч.

Функция ингредиента

Бутадиент-нитрильный каучук БНКС-40 АМ

100,00

Каучук

Тиурам Д

1,50

Вулканизующий агент

Нафтам-2

1,50

Стабилизатор

Диафен-ФП

1,00

Противостаритель

Оксид цинка

5,00

Активатор ускорителя вулканизации

Канифоль

5,00

Мягчитель

Мел

25,00

Наполнитель

Технический углерод П 701

75,00

Наполнитель

Сульфенамид Ц

2,00

Ускоритель вулканизации

NN’-дитиодиморфолин

2,00

Ускоритель вулканизации

Дибутилфталат

10,00

Пластификатор

Масло И 8А

5,00

Пластификатор


Произведем расчет навесок ингредиентов рассматриваемой резиновой смеси для ее изготовления на резиносмесителе РС 270-20 с производительностью 20 тыс. т/год.

Для обеспечения заданной производительности предприятие работает по графику пятидневной рабочей недели с двумя выходными днями (все воскресные дни не рабочие, а субботние - лишь частично не рабочие). Эффективный фонд времени его работы составит (таблица 5):

Таблица 5 - Расчет годового фонда времени предприятия

Наименование видов времени

Количество суток, часов

1. Годовой календарный фонд времени в сутках 2. Нерабочие дни: праздники, выходные дни, в том числе 52 воскресных дня  3. Всего рабочих дней в году 4. Количество смен в сутках 5. Рабочие часы в сутках 6. Эффективный годовой фонд времени работы предприятия, ч

365  8 103 262 3 23 6026


Продолжительность работы производства в сутки принимается равной 23 часам, в том числе: 8 часов днем, 8 часов вечером и 7 часов ночью. Продолжительность ночной смены уменьшена на 1 час в связи с тяжестью работы в ночное время суток.

Проведем расчет навесок ингредиентов на одну заправку и расход сырья на 20 тыс. т/год (табл. 6)

Таблица 6 - Рецепт резиновой смеси

Наименование ингредиентов

Плот-ность, кг/м3

Состав

Расчетная навеска на одну заправку, кг

Расход сырья на 20 000 тонн в год, т



Массо-вые части

Мас-совые, %

Объем-ные, %



Бутадиент-нитрильный каучук БНКС-40 АМ

987

100,00

42,92

57,40

843,36

4291,85

Тиурам Д

1400

1,50

0,61

12,65

64,38

Нафтам-2

1230

1,50

0,64

0,69

12,65

64,38

Диафен-ФП

1200

1,00

0,43

0,47

8,43

42,92

Оксид цинка

5570

5,00

2,15

0,51

42,17

214,59

Канифоль

2262

5,00

2,15

1,25

42,17

214,59

Мел

2680

25,00

10,73

5,29

210,84

1072,96

Технический углерод П 701

1820

75,00

32,19

23,35

632,52

3218,88

Сульфенамид Ц

1275

2,00

0,86

0,89

16,87

85,84

NN’-дитиодиморфолин

1360

2,00

0,86

0,83

16,87

85,84

Дибутилфталат

1045

10,00

4,29

5,42

84,34

429,18

Масло И 8А

860

5,00

2,15

42,17

214,59

Итого


233,00

100,00

100,00

1965,04

10 000


Теоретическая плотность - 1320,04 кг/м3.

Для расчета теоретической плотности резиновой смеси используют следующую формулу:


Далее определяют необходимое количество резиносмесителей.

Сначала определяется производительность одного резиносмесителя, при этом принимаются во внимание коэффициенты, учитывающие время, необходимое для ремонта К1, и время на технологические потери К2.


где V - полезный объем смесительной камеры (для РС 270-20 - 155 л);- плотность резиновой смеси;- время цикла смешения (6 мин);

К1 - для тяжелых машин - 0,98;

К2 - при изготовлении резиновой смеси только одного шифра в смену К2 = 0,98.

Для потребности в резиновой смеси 20 000 тонн в год (или 262 дней в году при 3 сменной работе) составляет 76 335,9 в день необходимое количество резиносмесителей составит:


Принимается к установке два резиносмесителя, Пприн = 2.

Коэффициент загрузки (К3) составит: К3=Прасч/Пприн = 0,84

Заключение

В данной курсовой работе в ходе изучения литературных данных был выбран способ производства, произведены необходимые расчеты по процессу, дающие представление об объемах и соотношениях реагентов и продуктов, полноты протекания процесса.

Список использованной литературы

Аверко-Антонович Л.А. и др. Химия и технология синтетического каучука/ Л.А. аверко-Антонович, Ю.О. Аверко-Антонович, И.М. Давлетбаева, П.А. Кирпичников. - М.: Химия, КолосС, 2008. - 357 с.: ил. - (учебники и учеб. пособия для студентов высш. учеб. заведений).

Куперман, Ф.Е. Новые каучуки для шин. Приоритетные требования. Методы оценки Текст. / Ф.Е. Куперман.-М.: НТЦ НИИШП, 2005.- 329 с .

Технология резины: Рецептуростроение и испытания/ Под ред. Дика Дж.с; Пер. с англ. Под ред. Шершнева В.А.- СПб.: Научные основы и технологии, 2010.- 620 с.

Кирпичников П.А., Береснев В.В., Попова Л.М. Альбом технологических схем основных производств промышленности синтетического каучука: Учеб. Пособие для вузов. - 2-е изд., перераб. - Л.: Химия, 1986 - 224 с. ил.

Вострокнутов, Е.Г. Переработка каучуков и резиновых смесей / Е.Г. Вострокнутов, М.И. Новиков, В,И. Новиков и др.:// - М.: Химия, 2005.369 с

Корнев, А. Е Технология эластомерных материалов / А. Е. Корнев, А. М. Буканов, О. Н. Шевердяев.- М.: НППА Истек, 2005. - 508 с.

Справочник химика том VI

Технический анализ и контроль производства синтетических каучуков. Изд. 2-е, пер. и доп., Л., Химия, 1976 - 168 с., ил.

Шур А.М. высокомолекулярные соединения: Учебник для ун-тов. - 3-е изд., перераб. И доп. - высш. Школа, 2008. - 650 с., ил.

Сайт о химии: www.chemport.ru <http://www.chemport.ru>

Сайт о химии: www.xumuk.ru <http://www.xumuk.ru>

Шутилин, Ю.Ф. Справочное пособие по свойствам и применению эластомеров Текст. / Ю.Ф. Шутилин. Воронеж: ВГТА, 2003.- 871 с.

Абызгильдин А.Ю. Графические модели основных производств промышленности синтетического каучука, 2001, 142 с.

Соколов Р.С. Химическая технология. - М.:Владос,2000.-1.2т

Патент «Резиновая смесь» (РФ 2232172, МПК C08L93:04, C08K13/02, C08K3:04, C08K3:22, C08K3:26, C08K5:01, C08K5:09, C08K5:18, C08K5:3412, C08K5:40, C08K5:44, опубл. 10.07.2004)

Похожие работы на - Разработка технологической схемы синтеза бутадиен-нитрильного каучука и композиции на его основе

 

Не нашли материал для своей работы?
Поможем написать уникальную работу
Без плагиата!
Без нейросетей!