Разработка технологической последовательности обработки мужской спортивной куртки с воротником
ФЕДЕРАЛЬНОЕ АГЕНТСТВО ПО ОБРАЗОВАНИЮ
РФ
ФГБОУ ВПО «ГОСУНИВЕРСИТЕТ - УНПК»
ТЕХНОЛОГИЧЕСКИЙ ИНСТИТУТ
ФАКУЛЬТЕТ ЛЕГКОЙ ПРОМЫШЛЕННОСТИ
Курсовая работа
Дисциплина
«Технология изделий легкой
промышленности»
на тему «Разработка технологической
последовательности обработки мужской спортивной куртки с воротником»
Разработала
студентка гр 21-КШ
Андрианова
Е.А.
Руководитель
к. т.н., доцент
Т.В. Кваскова
Орел, 2014
СОДЕРЖАНИЕ
Аннотация
Введение
. Эскизное
проектирование
.1
Направление современной моды
.2
Обоснование выбора ассортимента
.3 Описание
внешнего вида моделей
.4
Спецификация деталей кроя
.5
Обоснование выбора пакета материалов, применяемых при изготовлении изделий
.5.1
Характеристика материалов верха
.5.2
Характеристика подкладочных материалов
. Обоснования
выбора режимов и методов обработки
.1
Обоснования режимов обработки
.1.1
Характеристика машинных строчек и швов, применяемых при изготовлении изделия
.1.2 Контроль
качества. Организация управления качеством
.2 Выбор
методов обработки
.3 Технологические
карты на обработку узлов изделия
.3.1
Технологическая карта на обработку бокового наклонного прорезного кармана с
листочкой с настрочными концами
.3.2
Технологическая карта на обработку накладного нагрудного кармана с клапаном
.3.3
Технологическая карта на обработку нагрудного наклонного прорезного кармана с
застёжкой-молнией
.3.4
Технологическая карта на обработку внутренней застёжки в шве обтачивания борта
.3.5
Технологическая карта на обработку воротника стойки
.3.6
Технологическая карта на обработку кулисы
.3.7
Технологическая карта на обработку паты
.3.8
Технологическая карта на обработку низа изделия
.4
Составление технологической последовательности изготовления изделия
Выводы
Список
используемой литературы
Приложения
АННОТАЦИЯ
Курсовая работа содержит 52 страниц текста, 16 таблиц и 8 рисунков, 4
сборочные схемы и 1 ватман.
Целью курсовой работы является разработка технологической
последовательности по изготовлению мужских курток спортивного стиля.
В курсовой работе изучены вопросы современной моды и создана коллекция
курток, разработана конструкция и выполнено нормирование материалов. На
основании литературных источников подробно рассмотрены вопросы
конфекционирования материалов для данного ассортимента.
В основной части работы была рассмотрена технология обработки карманов,
бортов, воротника и кулисы, как наиболее сложных сборочных узлов изделия.
Исходя из этого, тщательно подобраны лучшие и качественные методы обработки.
Также подобраны определённые параметры влажно тепловой обработки, отвечающие
всем условиям свойств выбранных материалов.
Закончили работу на разработке технологических карт самых сложных узлов
изделия, что сильно помогло в тщательном и правильном составлении
технологической последовательности.
При выполнении проекта использовались справочная литература,
нормативно-техническая документация, лекции, а также ресурсы интернет.
ВВЕДЕНИЕ
Швейная промышленность является одной из крупнейших отраслей легкой
промышленности.
Главная задача швейной промышленности - удовлетворение потребности людей
в одежде высокого качества и разнообразного ассортимента. Решение этой задачи
осуществляется на основе повышенной эффективности производства, ускорения
научно - технического прогресса, роста производительности труда, всемерного
улучшения качества работы, совершенствования труда и производства.
При массовом производстве швейных изделий решающая роль принадлежит
технологическому процессу, который представляет собой экономически
целесообразную совокупность технологических операций по обработке и сборке
деталей и узлов швейных изделий.
Современная швейная отрасль, выпускающая одежду массового производства,
должна характеризоваться достаточно высоким уровнем техники, технологии и
организации производства, наличием крупных специализированных предприятий и
производственных объединений.
Совершенствование швейного производства предусматривает внедрение
высокопроизводительного оборудования, поточных линий, расширение ассортимента и
улучшение качества одежды, выпуск изделий, пользующихся повышенным спросом.
Ассортимент швейных изделий должен обновляться в результате расширения
ассортимента и улучшения качества сырьевой базы швейной промышленности.
Технология современного швейного производства все более становится
механической, ее эффективность в первую очередь зависит от применяемого
оборудования.
Решение задач, стоящих перед швейной промышленностью требует больших и
глубоких знаний от технологов. Без этих знаний невозможно внедрять новые
технологические процессы швейного производства, необходимые для изготовления
одежды высокого качества.
Задачи, решаемые в ходе выполнения курсовой работы: изучение направления
современной моды, создание коллекции моделей, обоснование выбора пакета
материалов, применяемых при изготовлении изделия, обоснование выбора методов
обработки, разработка технологического процесса изготовления изделия.
1. ЭСКИЗНОЕ ПРОЕКТИРОВАНИЕ
.1 Направление современной моды
На сегодняшний день современные стили моды несут в себе некоторые
колоритные, заметные мотивы. Они присутствуют у нас в одежде уже не одно
десятилетие, только немного видоизменялись, и подстраивались под вкусы нового
поколения. Дизайнеры предлагают изготавливать мужские куртки 2014 из тканей,
предназначенных для шитья плащей (куртки из плащевки), но возможны и варианты
применения кожи. Куртки для байкеров снова остаются в моде и не сдают свои
прочные позиции, однако материал и цвет стали совсем другими, например вместо
применения черной кожи, станут изготавливаться из замши. Тона будут преобладать
в основном белые и матовые цвета (изделия из кожи). Милитари (стиль) всегда был
любим и востребован мужчинами, он придает харизматичный вид, поэтому будет
опять на пике популярности, как и модели спортивного стиля.
.2
Обоснование выбора ассортимента
мужской спортивный куртка воротник
Жизнь
человека большого города - это активность, скорость, постоянное действие и лишь
редкие минуты отдыха и спокойствия. Такой ритм оказывает влияние на самого
человека, его жизнь, его предпочтения. Это отражается и на одежде. Сейчас на
первый план выходят такие требования, предъявляемые к повседневной одежде, как
удобство, легкость, малая объемность, минимум затрат по уходу за изделием.
Куртка
является одним из самых популярных видов верхней одежды для всех возрастных
групп населения. Она удобна, функциональна, комфортна, а главное модна и
идеально подходит для повседневной носки. Именно ее предпочитают представители
среднего класса населения нашей страны, который в последние годы четко
определился и является многочисленным.
1.3 Описание внешнего вида моделей
Актуальные молодёжные куртки отличаются полуприлегающим силуэтом малой
степени свободы, у них узкие, но обеспечивающие достаточную свободу движений
рукава. Базовая основа куртки выбрана с учётом этих тенденций. После чего, на
её основе были разработаны три различных варианта моделей курток. В данных
модельных конструкциях большое количество различных конструктивных линий, они
подходят для изготовления изделия из нейлона, тафты и современных материалов с
пропитками.
Куртка мужская демисезонная из смесовой ткани с водоотталкивающей
пропиткой, спортивного стиля, полуприлегающего силуэта.
Куртка однобортная с центральной супатной застежкой на 6 обмётанных
петель и 6 пуговиц, верхняя петля выполнена сквозной.
Полочка с нижними наклонными прорезными карманами с листочкой.
На правой полочке наклонный прорезной карман в рамку на тесьму «молния».
На левой - накладной карман со встречной складкой и клапаном, застёгивающимся
на одну прорезную петлю и одну пуговицу, фигурной формы.
Спинка со средним швом.
Рукав - классический втачной двухшовный, длинный, с накладками овальной
формы в области локтя. Низ рукава оформлен патой, застёгивающейся на одну
обмётанную петлю и одну пуговицу.
Воротник втачной стойка с острыми концами.
По талии кулиса, стягивающаяся шнуром и заканчивающаяся декоративными
деталями в виде квадрата из отделочной ткани.
По пройме накладные детали из отделочного материала фигурной формы.
По воротнику, краям листочек, краю клапана, отделочным деталям проложена
отделочная строчка шириной шва 0,5 см.
Рассчитано для молодёжи, стремящейся одеваться модно. Рекомендуемые
размеры: 164 - 78 - 92, 170 - 78 - 92, 181 - 78 - 92.
Куртка мужская демисезонная из смесовой ткани с водоотталкивающей
пропиткой, спортивного стиля, полуприлегающего силуэта.
Куртка однобортная с центральной застежкой на 6 обмётанных петель и 6
пуговиц.
Полочка с нижними наклонными прорезными карманами с листочкой и верхними
прорезными карманами с одной обтачкой и клапаном с закруглёнными концами.
Спинка со средним швом.
Рукав - классический втачной двухшовный, длинный. Низ рукава оформлен
патой, застёгивающейся на одну обмётанную петлю и одну пуговицу.
Воротник отложной с отрезной стойкой с острыми концами.
По талии кулиса, стягивающаяся шнуром и заканчивающаяся декоративными
деталями в виде квадрата из отделочной ткани.
На плечах погоны из отделочного материала фигурной формы.
По воротнику, краям листочек, краям клапанов, отделочным деталям
проложена отделочная строчка шириной шва 0,5 см.
Рассчитано для молодёжи, стремящейся одеваться модно. Рекомендуемые
размеры: 164 - 78 - 92, 170 - 78 - 92, 181 - 78 - 92.
Куртка мужская демисезонная из смесовой ткани с водоотталкивающей
пропиткой, спортивного стиля, полуприлегающего силуэта.
Куртка однобортная с центральной застежкой на тесьму «молнию» с
цельнокроеной планкой, застёгивающейся на 6 кнопок.
Полочка с нижними и верхними наклонными прорезными карманами в рамку на
тесьму «молния».
Спинка со средним швом, оформлена фигурной кокеткой из отделочной ткани.
Рукав - классический втачной двухшовный, длинный, с накладками овальной
формы в области локтя из отделочной ткани.
Воротник отложной с отрезной стойкой с острыми концами.
По талии кулиса, стягивающаяся шнуром и заканчивающаяся декоративными
деталями в виде квадрата из отделочной ткани.
По воротнику, на спинке под кокеткой, отделочным деталям проложена
отделочная строчка шириной шва 0,5 см.
Рассчитано для молодёжи, стремящейся одеваться модно. Рекомендуемые
размеры: 164 - 78 - 92, 170 - 78 - 92, 181 - 78 - 92.
.4 Спецификация деталей кроя
Таблица 1.4 - Спецификация деталей кроя
|
№
|
Наименование деталей кроя
|
Эскиз деталей Кроя
|
Наименование срезов
|
К-во деталей кроя
|
|
1
|
2
|
3
|
4
|
5
|
|
Из основной ткани
|
|
1
|
Полочка
|
|
1-2 плечевой срез 2-3 срез
горловины 3-4 срез борта 4-5 срез низа 5-6 боковой срез 6-1 срез проймы а-б
линия подгиба низа
|
2
|
|
2
|
Спинка
|
|
1-2 плечевой срез 2-3 срез
горловины 3-4 средний срез спинки 4-5 срез низа 5-6 боковой срез 6-1 срез
проймы а-б линия подгиба низа
|
2
|
|
3
|
Верхняя часть рукава
|
|
1-2 срез оката рукава 2-3
передний срез 3-4 нижний срез 4-1 локтевой срез а-б линия переднего переката
в-г линия подгиба низа д-е линия локтевого переката
|
2
|
|
4
|
Нижняя часть рукава
|
|
1-2 срез оката рукава 2-3
передний срез 3-4 нижний срез 4-1 локтевой срез В-г линия подгиба низа
|
2
|
|
5
|
Воротник со сгибом
|
|
1-2 отлет воротника 2-3
конец воротника 3-4 участок раскепа 4-5 срез горловины 5-1 средняя линия
|
2
|
|
6
|
Подборт
|
|
1-2 плечевой срез 2-4 срез
горловины 4-5 уступ лацкана 5-6 внешний срез 6-7 нижний срез 7-1 внутренний
срез
|
2
|
|
7
|
Обтачка горловины со сгибом
|
|
|
1
|
|
8
|
Листочка
|
|
|
2
|
|
9
|
Клапан
|
|
|
2
|
|
10
|
Левый нагрудный карман
|
|
|
1
|
|
11
|
Кулиса со сгибом
|
|
|
1
|
|
Из второй основной ткани
|
|
1
|
Накладная деталь на конце
кулиски
|
|
|
2
|
|
2
|
Накладка
|
|
|
2
|
|
3
|
Пата
|
|
|
4
|
|
4
|
Отделочная деталь проймы
|
|
|
2
|
|
5
|
Мешковина кармана
|
|
|
4
|
|
Из подкладочного материала
|
|
1
|
Полочка
|
|
1-2 плечевой срез 2-3 срез
горловины 3-4 срез борта 4-5 срез низа 5-6 боковой срез 6-1 срез проймы а-б
линия подгиба низа
|
2
|
|
2
|
Спинка
|
|
1-2 плечевой срез 2-3 срез
горловины 3-4 средний срез спинки 4-5 срез низа 5-6 боковой срез 6-1 срез
проймы а-б линия подгиба низа
|
2
|
|
3
|
Верхняя часть рукава
|
|
1-2 срез оката рукава 2-3
передний срез 3-4 нижний срез 4-1 локтевой срез а-б линия переднего переката
в-г линия подгиба низа д-е линия локтевого переката
|
2
|
|
4
|
Нижняя часть рукава
|
|
1-2 срез оката рукава 2-3
передний срез 3-4 нижний срез 4-1 локтевой срез в-г линия подгиба низа
|
2
|
|
Из прокладочного материала
|
|
1
|
Воротник со сгибом
|
|
1-2 отлет воротника 2-3
конец воротника 3-4 участок раскепа 4-5 срез горловины 5-1 средняя линия
|
2
|
|
2
|
Листочка
|
|
|
2
|
|
5
|
Обтачка горловины
|
|
|
1
|
|
6
|
Клапан
|
|
|
1
|
|
7
|
Подборт
|
|
1-2 плечевой срез 2-4 срез
горловины 4-5 уступ лацкана 5-6 внешний срез 6-7 нижний срез 7-1 внутренний
срез
|
2
|
|
|
|
|
|
|
.5 Обоснование выбора пакета материалов, применяемых при изготовлении
изделия
Правильный подбор материалов в пакет одежды обеспечивает высокое качество
одежды. Основные свойства одежды и требования к ней устанавливаются в
зависимости от вида изделия, его назначения и делятся на следующие группы:
функциональные, требования надежности, эргономичности и
конструкторско-технологические.
Конструкторско-технологические требования учитывают влияния свойств
материала на конструкцию изделия и на особенности его технологической обработки
в швейном производстве.
Куртки должны изготавливаться из материалов, обладающих хорошими
водозащитными свойствами. Материалы должны быть легкими, мягкими,
драпирующимися и в то же время формоустойчивыми, легко поддающимися уходу. В
качестве водозащитных материалов используют ткани со специальными водоотталкивающими
пропитками и отделками, ткани с пленочным покрытием, искусственные кожи,
пленочные и комплексные материалы.
Существенное значение для потребителя имеют свойства, обеспечивающие
чистоту изделия, а именно, стойкость к загрязнению, легкость очистки, восстановление
формы после стирки, скорость высыхания, которым также отвечает используемая
ткань.
1.5.1 Характеристика материалов верха
Широко используют ткани из синтетических нитей с водонепроницаемым
пленочным покрытием и водоотталкивающей пропиткой. Такие материалы воздухо- и
водонепроницаемы, очень легки; их поверхностная плотность лежит в пределах
46-114 г/м2.
Выбранная смесовая плащевая ткань с водоотталкивающей пропиткой,
характеризуется малой усадкой, высокой устойчивостью окраски и к истиранию, средней
прорубаемостью, стойкостью к загрязнениям, быстрой скоростью высыхания после
стирки. Соответствует выбранному ассортименту, моделям и требованиям:
функциональным, конструкторско-технологическим, эргономическим и надежности.
.5.2 Характеристика подкладочных материалов
Подкладочные материалы улучшают эксплуатационные свойства швейных
изделий. Они оформляют одежду с изнаночной стороны и в процессе эксплуатации
подвергаются интенсивному трению. Подкладочные материалы должны иметь гладкую
поверхность для обеспечения удобства пользования одеждой, быть несминаемыми,
стойкими к истиранию, окраска их должна быть устойчива к сухому и мокрому
трению, действию пота, влажно-тепловой обработке и другим воздействиям.
Подкладочные материалы не должны электризоваться, не должны иметь раздвигания
нитей в швах. Они должны иметь небольшую осыпаемость и не вызывать затруднений
при уходе.
В качестве подкладки для выбранных моделей мужских курток предложена
вискозная ткань, соответствующая по цветовой гамме ткани верха изделия.
Характеризующаяся средней осыпаемостью, гладкой поверхностью, стойкостью к
истиранию, высокой устойчивостью окраски и легкостью в уходе. Основные
характеристики технологических свойств материалов приведены в таблице 1.5.а.
Таблица 1.5.а - Показатели технологических свойств материалов
|
Наименование и артикул
ткани
|
Технологические свойства
|
|
Ширина, см
|
Осыпаемость, Дан
|
Прорубаемость
|
Способность к формообрнию
|
|
1
|
2
|
3
|
4
|
5
|
|
Ткань верха
|
|
Ткань плащевая «Хопер» с
водоотталкивающей пропиткой, арт.62111
|
140
|
2
|
Средняя
|
Низкая
|
|
Ткань плащевая «Тереза»,
арт.62157
|
147
|
2
|
Средняя
|
Низкая
|
|
Ткань курточная «Варшава» с
водоотталкивающей пропиткой, арт.62161
|
100
|
2
|
Средняя
|
Низкая
|
|
Подкладочная ткань
|
|
Ткань капроновая, арт.52325
«ДС»
|
143
|
Сильная
|
Средняя
|
Высокая
|
|
Ткань подкладочная
вискозная, арт.42832
|
140
|
Средняя
|
Средняя
|
Высокая
|
|
Прокладочный материал
|
|
Прокладочная ткань с
регулярным точечным клеевым покрытием П-548(арт. 75069)
|
140
|
Низкая
|
Средняя
|
Высокая
|
Характеристика свойств материалов приведена в таблице 1.5.б:
Таблица 1.5.б - Характеристика свойств материала.
|
Плотность
|
Волокн-й состав
|
Структура нитей
|
Перепл-е
|
Колор-ка
|
Отд-ка
|
|
Основн-ой матер.
|
Основа - 284, Уток - 204
|
Полиэф. с вискоз.
|
Комплексные
|
Саржа
|
Гладкокрашен.
|
Лаке
|
|
Подкла-дочная ткань
|
Основа и уток - 408
|
Капрон
|
Комплексные
|
Простое полотн-е
|
Гладкокрашен.
|
Лаке
|
На рисунках 1.1 а. и 1.1 б показаны ниточные переплетения данных
материалов:
Рисунок 1.1.а - Саржевое переплетение основного материала.
Рисунок 1.1.б - Простое полотняное переплетение подкладочной ткани.
Основная ткань по своим свойствам, размерным характеристикам, внешнему
виду в полной мере отвечает назначению швейного изделия и направлению моды, а
комплектующие материалы, составляющий пакет изделия, по своим свойствам
соответствуют основному материалу. Такой подбор материала обеспечивает хороший
внешний вид, нужную форму изделия и ее устойчивость, удобство в носке,
износостойкость, легкость ухода при эксплуатации, то есть высокое качество
изделия. Подбор материалов со сходными пошивочными свойствами и цветовым
оформлением дает возможность также избежать переналадки оборудования,
установить единые режимы обработки.
В конфекционной карте (приложение), представляются образцы выбранных для
изготовления данного ассортимента материалов (верха, приклада, фурнитуры).
2. ОБОСНОВАНИЯ ВЫБОРА РЕЖИМОВ И МЕТОДОВ ОБРАБОТКИ
В настоящее время, когда резко обострилась конкурентность отечественных и
зарубежных товаров, быстрая смена моделей достигается не путем перестройки
технологического прогресса, а путем организационно-технологической подготовки
прогресса, что особенно характерно для малых предприятий. Отсюда появляется
необходимость в разработке новых подходов к совершенствованию оборудования,
технологии обработки и организации труда.
Технология современного производства все больше становится механической,
ее эффективность в первую очередь зависит от применяемого оборудования: двух
игольчатых машин для сборки карманов, бретелей, поясов, полуавтоматов для
пришивания фурнитуры, изготовления петель, выполнения коротких и длинных швов;
утюжильных линий, оснащенных устройствами для подачи пара и вакуум отсосами,
многопоршневых прессов для клеевой обработки деталей.
.1 Обоснования выбора режимов обработки
При изготовлении куртки используются ниточный способ соединения деталей
одежды, как наиболее распространенный и универсальный. Ниточные соединения
имеют достаточную прочность, эластичность, красивый внешний вид. Показатели
качества ниточных соединений зависят от параметров образования строчки и от
режимов работы исполнительных инструментов швейных машин.
Качество и внешний вид изделия зависит от качества выполненных машинных
строчек и швов и правильного выбора параметров влажно-тепловой обработки,
поэтому выбору режимов обработки применяемых при изготовлении изделия уделяется
особое внимание.
2.1.1 Характеристика машинных строчек и швов, применяемых при
изготовлении изделия
Таблица 2.1.1.а - Характеристика машинных швов
|
Наименование шва
|
Графическое изображение и
код шва
|
Особенности выполнения шва
|
Применение шва в изделии
|
|
Стачной вразутюжку
|
1.01.01/301
|
Детали стачивают швом 10
мм. Припуски ткани на шов разутюживают.
|
1-1 Соединение среднего шва
спинки, боковых швов, стачивание передних и локтевых срезов рукавов.
|
|
Обтачной вкант
|
1.09.01/301.301
|
Детали стачивают швом 5 мм,
припуски в углах подрезают, выворачивают с образованием канта. При наличии
отделочной строчки прокладывают её на расстоянии 5 мм от края.
|
2-2 Обработка борта,
клапана и листочек.
|
|
Настрачной с открытым
срезом
|
2.02.03/301.301
|
Мешковину притачивают к
лицевой стороне полочки, выворачивают на изнанку. Полочку настрачивают на
припуски шва швом 2 мм от шва притачивания.
|
3-3 Притачивание мешковины
к полочке в правом нагрудном кармане
|
|
Стачной взаутюжку
|
1.01.01/301
|
Детали стачивают швом 10
мм. Припуски ткани на шов заутюживают в сторону основной ткани.
|
Обработка и соединение
подкладки с изделием.
|
|
Стачной и вподгибку с
открытым срезом
|
6.02.01/301.301
|
Детали складывают лицевыми
сторонвми, уравнивают срезы и прокладывают строчку шириной 10мм. Выворачивают
с образованием канта 2 см, и прокладывают строчку шириной 2см от сгиба.
|
4-4 Обработка низа рукавов
и низа изделия.
|
|
Накладной с закрытым срезом
|
7./301
|
Припуски накладных деталей
заутюживаются на 10 мм. Деталь настрачивается на основную деталь швом 2 мм от
сгиба.
|
5-5 Настрачивание
нагрудного кармана, накладок, накладных деталей на концах кулиски и
отделочных деталей пройм.
|
От правильности выбора параметров ВТО во многом зависит внешний вид
изделия, параметры зависят от физико-механических свойств ткани и толщины
пакета обрабатываемого узла.
В таблице 2.1.1.б указаны параметры влажно-тепловой обработки:
Таблица 2.1.1.б - Параметры влажно-тепловой обработки изделия
|
Материал
|
Температура прессования, К°
(С°)
|
Усиление прессования, КПа
|
Время обработки, с
|
Увлажнение, % к массе
материала
|
|
Пресс
|
Утюг
|
|
Пресс
|
Утюг
|
|
|
Синтетическая плащёвая
смесовая ткань
|
-
|
140-160
|
50
|
-
|
25
|
Незначит.
|
|
Подкладочная капроновая
ткань
|
-
|
150-160
|
50
|
-
|
15-20
|
.1.2. Контроль качества. Организация управления качеством продукции
При характеристике общих технических условий особое внимание уделяется
требованиям, изложенным в государственных и отраслевых стандартах и другой
нормативно-технической документации (НТД) на разрабатываемое изделие.
Значение качества продукции и безопасности производимых товаров всегда
стоит на переднем плане.
Качество продукции - совокупность свойств продукции, обусловливающих ее
пригодность удовлетворять определенные потребности в соответствии с ее
назначением. Качество продукции проверяется по действующим стандартам.
Под контролем качества понимают проверку соответствия показателей
качества продукции установленным требованиям. Контроль качества швейных изделий
осуществляется органолептическим и измерительным методами.
Органолептический метод - осмотр изделия, сопоставление его с образцом-
эталоном, проверка креплений, клеевых соединений, совмещения симметричных
деталей.
Измерительный метод - контроль с помощью линейки, сантиметровой ленты,
текстильной лупы и другие.
Для оценки уровня качества изделий ЦОТШЛ разработана методика, по которой
уровень качества готового изделия определяют в баллах по трем группам
показателей: эстетическим, конструктивно - эргономическим и технологическим.
Оценка уровня качества готового изделия проводится по 40 - бальной
системе. Оценка определяется суммированием баллов за качество разработки модели,
качество конструкции и посадку изделия по фигуре, качество и подбор материалов
и технологию изготовления.
К высшей категории качества относят изделия, оцененные в пределах 38 - 40
баллов. Соответствие качества продукции определяется документацией приведённой
в таблице 2.1.2:
Таблица 2.1.2 - Нормативно-техническая документация на разрабатываемое
изделие.
|
Решаемый технологический
подход
|
Наименование и номер
нормативного документа
|
Краткое содержание НТД
|
|
1.Разработка и поставка
продукции на производство.
|
ГОСТ 15.007 -88 Система
разработки и поставки продукции на производство. Продукция лёгкой
промышленности. Основные положения.
|
Основные положения
разработки и утверждения образцов - эталонов продукции лёгкой промышленности
бытового назначения, постановки её на производство и применение образцов -
эталонов предприятиями.
|
|
2.Установка методов
контроля качества готовых изделий.
|
ГОСТ 4103 - 82 Изделия
швейные. Методы контроля качества.
|
Установка методов контроля
качества готовых изделий швейной промышленности. Установка требований к
манекенам, применяемым для контроля качества. Контроль линейных измерений
изделия, частоты стежков и размеров дефектов внешнего вида материала.
|
|
3.Установка терминов и
определений основных понятий, относящихся к технологии швейного производства.
|
ГОСТ 205221 - 75 Технология
швейного производства. Термины и определения.
|
Установка терминов и
определений основных понятий, относящихся к технологии швейного производства,
которые обязательны для применения в используемой в народном хозяйстве
документации всех видов. Научно - технической и справочной литературе.
|
|
4.Установка требований к
маркировке, транспортированию и хранению готовых изделий.
|
ГОСТ 10581-91 Изделия
швейные. Маркировка, транспортирование и хранение.
|
Требования, которые должны
выполняться при маркировке, транспортировании и хранении швейных изделий.
|
|
5.Установка классификации,
условных и графических изображений и кодовых обозначений стежков, строчек и
швов, применяемых при изготовлении швейных изделий.
|
ГОСТ 12807-03 Изделия швейные.
Классификация стежков, строчек и швов.
|
Классификация, условные и
графические изображения и кодовые обозначения стежков, строчек и швов,
применяемых при изготовлении швейных изделий. Применяют при выборе способов
соединения деталей и узлов швейных изделий, средств технологической оснастки,
разработке карт инженерного обеспечения, при маркировке швейных машин и
полуавтоматов и другой технологической и нормативной документации.
|
|
6.Установка сорта на
готовое швейное изделие.
|
ГОСТ 12566-88 Изделия швейные
бытового назначения. Определение сортности.
|
Определение сортности
швейных изделий бытового назначения, изготовленных из различных видов
материалов. Установка отклонений, допускаемых в изделиях первого или второго
сорта. Установка недопустимых производственных дефектов.
|
|
7.Установка свойств и
технических условий на подкладочные ткани, применяемые при изготовлении
изделия.
|
ГОСТ 20272-96 Ткани
подкладочные из химических нитей и пряжи. Общие технические условия.
|
Распространяется на готовые
подкладочные ткани бытового и ведомственного назначения, вырабатываемые из
химических нитей или пряжи в утке. Устанавливает технические требования,
правила, приёмки, транспортирования и хранения этих тканей.
|
.2 Выбор методов обработки
Цель дублирования - сохранение формы деталей одежды и придание им
повышенной упругости с помощью термоклеевых прокладочных материалов.
Оно является логическим завершением конструкторских и технологических
решений получения изделия высокого качества.
Дублирование мелких деталей пальто, костюмов, плащей, курток, платьев,
корсетных изделий с термоклеевыми прокладками осуществляют по всей поверхности
детали или ее части (подборта, кокетки, клапаны, листочки, накладные карманы,
хлястики, пояса и другие детали).
2.3 Технологические карты на обработку узлов изделия.
.3.1. Технологическая карта на обработку бокового наклонного прорезного
кармана с листочкой с настрочными концами
|
№ п/п
|
Наименование операции
|
Технические условия на
выполнение операции
|
Рисунок
|
|
1
|
2
|
3
|
4
|
|
1
|
Дублирование листочки
|
Клеевой поверхностью
накладывают на изнаночную сторону листочки и приутюживают.
|
|
|
2
|
Заутюживание листочки
|
Листочку складывают вдоль
изнаночной стороной внутрь, уравнивают срезы и приутюживают через увлажнённый
проутюжельник.
|
|
|
3
|
Обтачивание листочки
|
Складываем листочку лицевой
стороной внутрь, уравниваем срезы и обтачиваем концы листочек швом 0,5см
|
|
|
4
|
Вывёртывание листочки
|
Припуски шва в углах
надсекают, чтобы избежать излишней толщины и выворачивают, с выправлением
канта 0,1-0,2см и приутюживают.
|
|
|
5
|
Прокладывание отделочной
строчки по краю листочки
|
Отделочную строчку
прокладывают на расстоянии 0,2см от сгиба листочки.
|
|
|
5
|
Обмётывание среза листочки
|
Срез листочки обмётывают на
аверлоке.
|
|
|
6
|
Нанесение линии
притачивания листочки
|
На расстоянии 3см от сгиба
листочки проводим линию с помощью мела.
|
|
|
7
|
Нанесение места
расположения входа в карман
|
Место расположения входа в
карман намечают тремя линиями, одной вдоль - линия притачивания листочки к
полочке и две линии поперёк - определяющие размер кармана.
|
|
|
8
|
Дублирование места
расположения входа в карман долевиком
|
На изнаночную сторону
полочки укладывают долевик клеевой поверхностью вниз, так, чтобы он полностью
закрывал место расположения входа в карман и даже больше на 3см со всех
сторон.
|
|
|
9
|
Притачивание первой части мешковины
к листочке
|
К заготовленной листочке
строчкой 1 притачивается первая часть мешковины. Ширина шва 1см.
|
|
|
10
|
Притачивание листочки к
полочке
|
Листочку укладывают на
лицевую сторону полочки, совмещая намеченные линии и притачивают строчкой 2,
ширина шва 1см.
|
|
|
11
|
Притачивание второй части
мешковины к полочке
|
Вторую часть мешковины
укладывают на лицевую сторону полочки, лицевой стороной вниз на расстоянии
2см от строчки притачивания листочки и притачивают строчкой 3, не доходя до
краёв строчки 2 - 0,5см. Ширина шва 1см.
|
|
|
12
|
Разрезание входа в карман
|
Вход в карман разрезают,
оставляя припуски швов по одному см. В остальном поступают как описано в
предыдущем пункте.
|
|
|
13
|
Заутюживание припусков швов
притачивания
|
Припуски швов притачивания
листочки заутюживают вниз, а шов притачивания подзора вверх по отношению ко
входу в карман.
|
|
|
14
|
Настрачивание листочки на
полочку
|
Листочку настрачивают на
полочку зигзагообразной строчкой 4.
|
|
|
15
|
Стачивание мешковины
|
Мешковину кармана стачивают
стачиваеще-обмёточной строчкой 5.
|
|
|
16
|
Приутюживание готового
кармана
|
Готовый карман
приутюживают.
|
|
.3.2 Технологическая карта на обработку накладного нагрудного кармана с
клапаном
|
№ п/п
|
Наименование операции
|
Технические условия на
выполнение операции
|
Рисунок
|
|
1
|
2
|
3
|
4
|
|
1
|
Заутюживание складок
|
Заутюживают складки по
надсечкам шаблона
|
|
|
2
|
Обработка верхнего края
кармана
|
Швом вподгибку с закрытым
срезом обрабатываем верхний край кармана.
|
|
|
3
|
Заутюживание припусков
настрачивания кармана
|
Припуски на швы
настрачивания кармана заутюживают (1см).
|
|
|
4
|
Нанесение места
расположения кармана
|
С помощью выкроек и мела
наносят на полочке место расположение кармана и клапана
|
|
|
5
|
Настрачивание кармана на
полочку
|
Карман укладывают на
полочку, совмещая намеченные линии со сгибами краёв кармана, прикалывают и
настрачивают на полочку строчкой 1. Ширина шва 0,1- 0,2см.
|
|
|
6
|
Приутюживание готового
кармана
|
Готовый карман
приутюживают.
|
|
|
7
|
Дублирование клапана
|
Клеевой поверхностью
накладывают на изнаночную сторону клапана и приутюживают.
|
|
|
8
|
Обтачивание клапана
|
Клапан и подкладку клапана
складывают лицевыми сторонами внутрь, уравнивая срезы и обтачивают со стороны
подкладки швом шириной 0,5-0,7 см строчка 2.
|
|
|
9
|
Вывёртывание клапана
|
Припуски шва обтачивания
надсекают, клапан выворачивают с выправлением канта.
|
|
|
10
|
Прокладывание отделочной
строчки
|
Отделочную строчку 3
прокладывают на расстоянии 0,2 см от края.
|
|
|
11
|
Притачивание клапана к
полочке
|
Клапан укладывают на
полочку, уравнивая по намеченный линиям и притачивают настрачным швом с
закрытым срезом: строчкой 4(ширина шва 0,5см) и строчкой 5(ширина шва 0,7-
1см).
|
|
|
12
|
Приутюживание готового
изделия
|
Готовое изделие
приутюживают.
|
|
.3.3 Технологическая карта на обработку нагрудного наклонного прорезного
кармана с застёжкой-молнией
|
№ п/п
|
Наименование операции
|
Технические условия на
выполнение операции
|
Рисунок
|
|
1
|
2
|
3
|
4
|
|
1
|
Нанесение места
расположения входа в карман
|
Место расположения входа в
карман наносится четырьмя линиями: первые 2 - линии притачивания молнии,
остальные 2 - определяюшие размер кармана
|
|
|
2
|
Дублирование входа в карман
долевиком
|
Клеевой поверхностью
накладывают на изнаночную сторону полочки, полностью закрывая разметку
кармана, заходя за неё ещё по 3см со всех сторон и приутюживают.
|
|
|
3
|
Разрезание входа в карман
|
Вход в карман разрезают не
доходя до конца 1см, далее разрезают под углом в 2 стороны, не доходя 0,1 -
0,2см.
|
|
|
4
|
Притачивание мешковины и
молнии к полочке
|
На лицевую сторону полочки
накладывают молнию и 1 часть мешковины лицевой стороной вниз, уравнивают
срезы. Притачивают швом 0,7-1см, строчка 1.
|
|
|
5
|
Вывёртывание кармана
|
Карман вывёртывают на
изнанку и приутюживают.
|
|
|
6
|
Настрачивание 2 мешковины и
молнии на верхний срез.
|
Верхний срез отгибают на
изнанку, на 0,7 - 1см. Молнию накладывают на сгиб вместе с мешковиной,
уравнивают срезы и настрачивают на полочку швом 0,2см, строчка 2.
|
|
|
7
|
Закрепление уголков
|
Уголки выправляют и
настрачивают двойной обратной строчкой на мешковину
|
|
|
8
|
Стачивание мешковины
|
На стачивающее обмёточной
машине стачивается мешковина, строчка 3.
|
|
|
9
|
Прокладывание отделочной,
одновременно закрепочной строчки
|
На расстоянии 0,2см от
сгибов прокладывается отделочная строчка с трёх сторон.
|
|
|
10
|
Приутюживание готового
изделия
|
Готовое изделие
приутюживают через увлажнённый проутюжильик.
|
|
.3.4 Технологическая карта на обработку внутренней застёжки в шве
обтачивания борта
|
№ п/п
|
Наименование операции
|
Технические условия на
выполнение операции
|
Рисунок
|
|
1
|
2
|
3
|
4
|
|
1
|
Дублирование подбортов
|
Клеевой поверхностью
накладывают на изнаночную сторону подборта и приутюживают
|
|
|
2
|
Обтачивание борта и
подборта подкладкой
|
Детали складывают лицевыми
сторонами внутрь и обтачивают швом 0,5см, строчки 1 и 2.
|
|
|
3
|
Выправление канта
|
Детали выворачивают,
выправляя канты и приутюживают.
|
|
|
4
|
Прокладывание отделочных
строчек
|
Строчки 3 и 4 прокладывают
на 0,5см от сгиба, закрепляя кант.
|
|
|
5
|
Разметка петель
|
Согласно выкройкам намечают
места расположения петель.
|
|
|
6
|
Прошивание петель
|
Зигзагообразной строчкой 5
делают петли.
|
|
|
7
|
Разрезание петель
|
Петли разрезают
|
|
|
8
|
Закрепление застёжки
|
На участке застёжки обработанный
край подборта прикрепляют к краю полочки закрепками. Закрепки располагаются
между петлями. Строчки 6
|
|
|
9
|
Закрепление внутренних
срезов обтачек полочки и подборта
|
Согласно выкройке намечаем
отделочную строчку закрепления срезов обтачек полочки и подборта и
прокладываем строчку 7.
|
|
|
10
|
Приутюживание готового
изделия
|
Готовое изделие
приутюживают через увлажнённый проутюжельник.
|
|
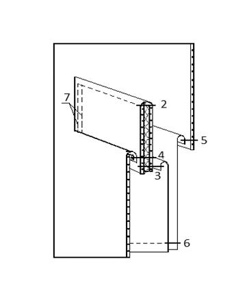
.3.5 Технологическая карта на обработку воротника стойки
|
№ п/п
|
Наименование операции
|
Технические условия на
выполнение операции
|
Рисунок
|
|
1
|
2
|
3
|
4
|
|
1
|
Дублирование нижнего
воротника
|
Клеевой поверхностью
накладывают на изнаночную сторону нижнего воротника и приутюживают.
|
|
|
2
|
Обтачивание воротника
|
Нижний и верхний воротник
складывают лицевыми сторонами внутрь, уравнивают срезы и обтачивают со
стороны нижнего воротника швом шириной 0,5-0,7см, строчка 1.
|
|
|
3
|
Вывёртывание воротника
|
Высекают углы, оставляя
припуск 0,2-0,3 см, чтобы избежать после вывёртывания толщины в шве, затем
выворачивают.
|
|
|
4
|
Приутюживание воротника
|
Выправляют кант и
приутюживают со стороны нижнего воротника через проутюжельник.
|
|
|
5
|
Втачивание воротника в
горловину
|
Воротник вкладывают между
подбортами и полочкой по надсечкам и втачивают, не доходя до плечевых швов
1,5см. Припуски на шов со стороны изделия надсекают, край верхнего воротника
и верхней части подборта отгибают и продолжают втачивать нижний воротник в
горловину.
|
|
|
6
|
Вывёртывание изделия
|
Швы в углах бортов
подрезают, оставляя 0,2см, вывёртывают на изнанку изделия.
|
|
|
7
|
Заутюживание припусков
втачивания в сторону основной детали
|
Припуски шва втачивания
заутюживают в сторону основной детали до полного прилегания.
|
|
|
8
|
Настрачивание верхнего
воротника
|
В образовавшемся отверстии
срез стойки между надсечками подгибают внутрь на 0,5см и настрачивают на
0,1см от подогнутого края на шов втачивания нижнего воротника в горловину.
|
|
|
9
|
Приутюживание готового
изделия
|
Готовое изделие
приутюживают.
|
|
.3.6 Технологическая карта на обработку кулисы
|
№ п/п
|
Наименование операции
|
Технические условия на
выполнение операции
|
Рисунок
|
|
1
|
2
|
3
|
4
|
|
1
|
Нанесение места
расположения кулисы
|
По выкройке копируем место
расположения кулисы.
|
|
|
2
|
Расположение шнура
|
Укладывают шнур на изнанку
полочки по намеченной линии.
|
|
|
3
|
Настрачивание кулисы на
полочку
|
Шнур накрывают кулисой
изнаночной стороной вниз. Подогнув срезы кулисы на 0,5см, по обе стороны
шнура прокладывают параллельные строчки 1 и 2.
|
|
|
4
|
Настрачивание накладных
деталей кулисы
|
Подгибают срезы деталей на
1см и настрачивают на полочку швом шириной 0,2см. Строчка 3.
|
|
|
5
|
Приутюживание готового
изделия
|
Готовую кулису приутюживаем
через проутюжильник.
|
|
2.3.7 Технологическая карта на обработку паты
|
№ п/п
|
Наименование операции
|
Технические условия на
выполнение операции
|
Рисунок
|
|
1
|
2
|
3
|
4
|
|
1
|
Обтачивание паты
|
Нижнюю и верхнюю пату
складывают лицевыми сторонами внутрь, уравнивая срезы и обтачивают со стороны
нижней паты швом шириной 0,5-0,7 см строчка 1
|
|
|
2
|
Вывёртывание паты
|
Высекают углы, оставляя
припуск 0,2-0,3 см, чтобы избежать после вывертывания толщины в шве, затем
выворачивают
|
|
|
3
|
Приутюживание паты
|
Приутюживают со стороны
нижней паты через увлажненный утюжильник
|
|
.3.8 Технологическая карта на обработку низа изделия
|
№ п/п
|
Наименование операции
|
Технические условия на
выполнение операции
|
Рисунок
|
|
1
|
2
|
3
|
4
|
|
1
|
Дублирование низа изделия
|
Клеевой поверхностью
накладывают на изнаночную сторону низа изделия и приутюживают.
|
|
|
2
|
Заутюживание низа изделия и
низа подкладки
|
Низ изделия подгибают на
5см, а низ подкладки на 1см и приутюживают.
|
|
|
3
|
Стачивание низа изделия с
подкладкой
|
Срезы деталей в подогнутом
состоянии уравнивают и стачивают шириной шва 0,2см от сгиба подкладки
|
|
|
4
|
Готовое изделие
приутюживают
|
Готовый низ изделия
приутюживают через увлажнённый проутюжельник
|
|
2.3.9 Сборочные схемы узлов изделия
2.4 Составление технологической последовательности изготовления изделия
Таблица 7.1 - Технологическая последовательность на изготовление мужской
спортивной куртки.
|
№ технолог. операции
|
Наименование
технологической операции
|
Специальность
|
Оборудование, инструменты,
средства малой механизации
|
|
|
Обработка накладного
нагрудного кармана с клапаном
|
|
|
1
|
Заутюживание складок
|
У
|
Утюг
|
|
|
2
|
Обработка верхнего края
кармана
|
М
|
Janome 6025S
|
|
|
3
|
Заутюживание припусков
кармана
|
У
|
Утюг
|
|
|
4
|
Нанесение места
расположения кармана
|
Р
|
|
|
5
|
Настрачивание кармана на
полочку
|
М
|
Janome 6025S
|
|
|
6
|
Дублирование клапана
|
У
|
Утюг
|
|
|
7
|
Обтачивание клапана
|
М
|
Janome 6025S
|
|
|
8
|
Вывёртывание клапана
|
Р
|
Ножницы
|
|
|
9
|
Приутюживание клапана
|
У
|
Утюг
|
|
|
10
|
Притачивание клапана
|
М
|
Janome 6025S
|
|
|
11
|
Приутюживание готового
кармана
|
У
|
Утюг
|
|
|
Обработка прорезного
нагрудного кармана на застёжке молнии
|
|
|
12
|
Нанесение места
расположения кармана
|
Р
|
Мел, выкройка
|
|
|
13
|
Дублирование входа в карман
|
У
|
Утюг
|
|
|
14
|
Разрезание входа в карман
|
Р
|
Ножницы
|
|
|
15
|
Притачивание молнии и
первой мешковины к нижнему срезу входа в карман
|
М
|
Janome 6025S
|
|
|
16
|
Вывёртывание кармана
|
Р
|
-
|
|
|
17
|
Настрачивание молнии и
второй мешковины на полочку
|
М
|
Janome 6025S
|
|
|
18
|
Закрепление уголков
|
М
|
Janome 6025S
|
|
|
19
|
Стачивание мешковины
|
М
|
Janome 6025S
|
|
|
20
|
Прокладывание отделочной
строчки
|
М
|
Janome 6025S
|
|
|
21
|
Приутюживание готового
кармана
|
У
|
Утюг
|
|
|
Обработка прорезных
карманов с настрачной листочкой.
|
|
|
22
|
Дублирование листочек
|
У
|
Утюг
|
|
|
23
|
Заутюживание листочек
|
У
|
Утюг
|
|
|
24
|
Обтачивание листочек
|
М
|
Janome 6025S
|
|
|
25
|
Вывёртывание листочек
|
Р
|
Ножницы
|
|
|
26
|
Прокладывание отделочной
строчки по краю листочки
|
М
|
Janome 6025S
|
|
|
27
|
Нанесение места
расположения кармана
|
Р
|
Мел, выкройка
|
|
|
28
|
Дублирование входов в
карманы долевиком
|
У
|
Утюг
|
|
|
29
|
Обмётывание среза листочки
|
С/М
|
Оверлок
|
|
|
30
|
Нанесение линии
притачивания листочки
|
Р
|
Мел, линейка
|
|
|
31
|
Притачивание первой части
мешковины к листочке
|
М
|
Janome 6025S
|
|
|
32
|
Притачивание листочки к
полочке
|
М
|
Janome 6025S
|
|
|
33
|
Притачивание второй части
мешковины к полочке
|
М
|
Janome 6025S
|
|
|
34
|
Разрезание входа в карман
|
Р
|
Ножницы
|
|
|
35
|
Заутюживание припусков швов
притачивания
|
У
|
Утюг
|
|
|
36
|
Настрачивание листочек на
полочку
|
М
|
Janome 6025S
|
|
|
37
|
Стачивание мешковин
|
М
|
Janome 6025S
|
|
|
38
|
Приутюживание готовых
карманов
|
У
|
Утюг
|
|
|
Обработка пат
|
|
|
39
|
Обтачивание пат
|
М
|
Janome 6025S
|
|
|
40
|
Вывёртывание пат
|
Р
|
Ножницы
|
|
|
41
|
Приутюживание пат
|
У
|
Утюг
|
|
|
Обработка застёжки
|
|
|
42
|
Стачивание среднего шва
спинки
|
М
|
Janome 6025S
|
|
|
43
|
Стачивание боковых швов
|
М
|
Janome 6025S
|
|
|
44
|
Дублирование подбортов
|
У
|
Утюг
|
|
|
45
|
Обтачивание борта и
подборта подкладкой
|
М
|
Janome 6025S
|
|
|
46
|
Выправление канта
|
Р
|
-
|
|
|
47
|
Прокладывание отделочных
строчек
|
М
|
Janome 6025S
|
|
|
48
|
Разметка петель
|
М
|
Janome 6025S
|
|
|
49
|
Прошивание петель
|
М
|
Janome 6025S
|
|
|
50
|
Разрезание петель
|
Р
|
Ножницы
|
|
|
51
|
Закрепление застёжки
|
М
|
Janome 6025S
|
|
|
52
|
Закрепление внутренних
срезов обтачек полочки и подборта
|
М
|
Janome 6025S
|
|
|
53
|
Приутюживание готовой
застёжки
|
У
|
Утюг
|
|
|
Заготовка рукавов
|
|
|
54
|
Дублирование низа рукава
|
У
|
Утюг
|
|
|
55
|
Стачивание локтевого среза
рукава. При этом втачивая пату.
|
М
|
Janome 6025S
|
|
|
56
|
Разутюживание швов
стачивания
|
У
|
Утюг
|
|
|
56
|
Настрачивание локтевых
накладок
|
М
|
Janome 6025S
|
|
|
57
|
Стачивание передних срезов
рукавов и срезов рукавов подкладки.
|
М
|
Janome 6025S
|
|
|
58
|
Разутюживание швов
стачивания
|
М
|
Janome 6025S
|
|
|
59
|
Обтачивание низа рукава
подкладкой
|
М
|
Janome 6025S
|
|
|
60
|
Вывёртывание рукава с
образованием канта
|
Р
|
-
|
|
|
61
|
Приутюживание рукава
|
У
|
Утюг
|
|
|
62
|
Прокладывание отделочной
строчки
|
М
|
Janome 6025S
|
|
|
Обработка кулисы
|
|
|
63
|
Нанесение места
расположения кулисы
|
Р
|
Мел, выкройки
|
|
|
64
|
Расположение шнура
|
Р
|
-
|
|
|
65
|
Настрачивание кулисы на
полочку
|
М
|
Janome 6025S
|
|
|
66
|
Приутюживание готовой
кулисы
|
У
|
Утюг
|
|
|
67
|
Настрачивание накладных
деталей кулисы
|
М
|
Janome 6025S
|
|
|
Обработка подкладки
|
|
|
68
|
Стачивание среднего шва
спинки подкладки
|
М
|
Janome 6025S
|
|
|
69
|
Стачивание боковых швов
подкладки
|
М
|
Janome 6025S
|
|
|
70
|
Стачивание обтачки
горловины и подбортов
|
|
Janome 6025S
|
|
|
71
|
Стачивание подкладки с
подбортами и обтачкой
|
М
|
Janome 6025S
|
|
|
72
|
Втачивание рукавов
|
М
|
Janome 6025S
|
|
|
73
|
Настрачивание отделочных
деталей пройм
|
М
|
Janome 6025S
|
|
|
74
|
Втачивание рукавов
подкладки
|
М
|
Janome 6025S
|
|
|
75
|
Разутюживание швов
втачивания
|
У
|
Утюг
|
|
|
Обработка воротника
|
|
|
|
|
76
|
Дублирование воротника
|
У
|
Утюг
|
|
|
77
|
Обтачивание воротника
|
М
|
Janome 6025S
|
|
|
78
|
Вывёртывание воротника
|
Р
|
-
|
|
|
79
|
Прокладывание отделочной
строчки
|
М
|
Janome 6025S
|
|
|
80
|
Приутюживание воротника
|
У
|
Утюг
|
|
|
81
|
Втачивание воротника
|
М
|
Janome 6025S
|
|
|
82
|
Приутюживание готового
воротника
|
У
|
Утюг
|
|
|
Обработка низа изделия
|
|
|
83
|
Дублирование низа изделия
|
У
|
Утюг
|
|
|
84
|
Заутюживание низа изделия и
низа подкладки
|
У
|
Утюг
|
|
|
85
|
Стачивание низа изделия с
подкладкой
|
М
|
Janome 6025S
|
|
|
86
|
Приутюживание готового
изделия
|
У
|
Утюг
|
|
ВЫВОДЫ
В данной курсовой работе разработана технологическая последовательность
обработки мужской куртки спортивного стиля, что является целью этой работы.
В первой части курсовой работы рассмотрено направление современной моды
для выбранного ассортимента и разработана коллекция курток, отвечающая
требованиям к данному ассортименту. Разработанная конструкция модели
технологична и рациональна.
Выбор материалов (основных, подкладочных, прокладочных) осуществлен в
соответствии с видом одежды и основными требованиями. Дана подробная
характеристика материалов, применяемых для изготовления курток, и
проанализированы их свойства.
В соответствии с проведенным анализом свойств материалов, входящих в
пакет одежды осуществлен выбор режимов и методов обработки.
На все модели выполнены технические эскизы, дающие ясное представление о
внешнем виде изделия, конструкции основных узлов, отделке фурнитуры.
Таким образом, можно сделать вывод, что цель, заданная темой курсовой
работы выполнена. В дальнейшем эта работа может послужить базой данных для
ввода в любую автоматизированную систему массового производства.
СПИСОК ИСПОЛЬЗУЕМОЙ ЛИТЕРАТУРЫ
1. Журнал
«Ателье» № 4/2012.
. Журнал
«Ателье» № 12/2010.
. ГОСТ
12807-03. Изделия швейные. Классификация стежков, строчек и швов.
. ГОСТ
20521-75. Технология швейного производства. Термины и определения. - М.: Изд-во
стандартов, 1987.
. ГОСТ
22977-89. Детали швейных изделий. Термины и определения. - М.: Изд-во
стандартов, 1990.
7. Бузов Б. А. и др. Материаловедение в производстве
изделий легкой промышленности (швейной производство), 2004.- 448с.
. Кокеткин П. П. Одежда. Технология - техника,
процессы - качество. Справочник. Москва "МГУДТ" 2001.
9. Труханова,
А.Т. Технология мужской и женской верхней одежды А.Т. Труханова - М.: Высшая
школа, - 2003.- 430 с.
. Труханова
А.Т. Справочник молодого швейника. - 4-е изд., перераб. И доп. - М.: Высш. Шк.,
1993. - 431 с.: ил.
. Кваскова
Т.В. Технология швейных изделий. Технология обработки рукавов верхних изделий:
учеб.-метод. пособие для высшего профессионального образования / Т.В. Кваскова.
- Орёл: ФГБОУ -ВПО «Госуниверситет - УНПК», 2011. - 111с.
12. Ресурсы
интернет:
<http://biznestoday.ru/pr/534-shvejnaya-promyshlennost.html>;