Разработка устройства измерения расхода воздуха с помощью теплового расходомера
Содержание
1. Литературный
обзор и описание метода измерения
2. Расчёт
чувствительного элемента датчика
. Эквивалентная
схема ЧЭ
. Расчёт
измерительного преобразователя
. Расчёт
нормирующего преобразователя с выходом 0-5 мА
. Составление
структурной схемы измерительного устройства
. Выбор
АЦП, ЦАП и вторичных приборов
. Описание
динамических свойств измерительного устройства
. Построение
статических характеристик
. Расчет
погрешности измерительного устройства
Введение
Количество жидкости, газа или пара, проходящее
через данное сечение трубопровода в единицу времени, называется расходом этого
вещества. В зависимости от того, в каких единицах он измеряется, различают
объемный и массовый расходы. Объемный расход измеряется в м3/с (м3/ч
и т.д.), а массовый - в кг/с (кг/ч, т/ч и т. д.).
Расход вещества измеряется с
помощью расходомеров, представляющих собой средства измерений или измерительные
приборы расхода. Многие расходомеры предназначены не только для измерения
расхода, но и для измерения массы или объема вещества, проходящего через
средство измерения в течение любого, произвольно взятого промежутка времени. В
этом случае они называются расходомерами со счетчиками или просто счетчиками.
Масса или объем вещества, прошедшего через счетчик, определяется по разности
двух последовательных во времени показаний отсчетного устройства или
интегратора.
. Литературный обзор и описание
метода измерения
Тепловые расходомеры - это расходомеры,
измеряющие зависящий от расхода эффект теплового воздействия на поток или тело,
контактирующий с потоком. Тепловые расходомеры используют при измерении расхода
газа и, иногда, при измерении расхода жидкости.
Тепловые расходомеры по конструкции отличаются:
способом нагрева, расположением нагревателя (снаружи или внутри трубопровода),
характером функциональной зависимости между расходом и измеряемым сигналом.
Основной способ нагрева - электрический омический. Индуктивный нагрев
используется редко. Иногда применяется нагрев с помощью электромагнитного поля
и с помощью жидкостного теплоносителя. По способу теплового взаимодействия с
потоком тепловые расходомеры можно разделить на калориметрические,
термоконвективные и термоанемометрические. При электрическом омическом нагреве
у калориметрических расходомеров нагреватель расположен внутри, а у
термоконвективных - снаружи трубы. Иногда калориметрическими расходомерами
называютотдельные расходомеры с наружным нагревом.
У калориметрических и термоконвективных
расходомеров измеряется разность температур газа или жидкости (при постоянной мощности
W нагрева) или же мощность W (при постоянной разности температур). У
термоанемометров измеряется сопротивление R нагреваемого тела (при постоянной
силе тока I) или же сила тока I (при постоянном сопротивлении).
Термоанемометрические расходомеры для вычисления
местных скоростей потоков стали применяться первыми, далее - калориметрические
расходомеры с внутренним нагревом. Потом стали внедряться термоконвективные
расходомеры с наружным расположением нагревателя. Термоконвективные расходомеры
разделяются на квазикалориметрические и теплового пограничного слоя. В
квазикалориметрических расходомерах вычисляется разность температур потока, или
мощность нагрева. В расходомерах теплового пограничного слоя вычисляется
разность температур пограничного слоя или мощность нагрева, используются при
измерении расхода преимущественно в трубопроводах диаметром 0,5-2,0-100мм. В
трубах большого диаметра используются:
•парциальные расходомеры с нагревателем на
обводной трубе;
•парциальные расходомеры с тепловым зондом;
•парциальные расходомеры с наружным нагревом
ограниченного участка трубы.
Достоинством калориметрических и
термоконвективных расходомеров является то, что они измеряют массовый расход
при постоянной теплоемкости среды, отсутствие контакта с измеряемой средой.
Недостаток термоконвективных расходомеров - большая инерционность. Для
повышения быстродействия используют корректирующие схемы и импульсный нагрев.
Термоанемометры малоинерционны и используются при измерении местных скоростей.
Погрешность термоконвективных расходомеров находится в пределах ±1,5-3%. У
калориметрических расходомеров погрешность равна ± 0,3-1%.
Иногда используют тепловые расходомеры с
нагревом электромагнитным полем или жидкостным теплоносителем. Достоинство
тепловых расходомеров с нагревом электромагнитным полем - относительно низкая
инерционность, их применяют для измерения расхода электролитов и диэлектриков,
селективно-серых агрессивных жидкостей. Электромагнитное поле образуется с
помощью излучателей энергии высокой частоты, сверхвысокой частоты или
инфракрасного диапазона. Расходомеры с жидкостным теплоносителем используются
для измерения расхода пульп, расхода газожидкостных потоков.
Предел использования термоконвективных
расходомеров - 150-200°С, реже - 250°С, при использовании нагрева
электромагнитным полем или жидкостным теплоносителем - до 450°С.
Калориметрические расходомеры основаны на
зависимости от мощности нагрева среднемассовой разности температур потока.
Калориметрический расходомер состоит из нагревателя, расположенного внутри
трубопровода, и двух термопреобразователей для измерения температур до и после
нагревателя. Термопреобразователи располагаются обычно на равных расстояниях от
нагревателя. Распределение температур по обе стороны от источника нагрева будет
зависеть от расхода вещества. При отсутствии расхода температурное поле
симметрично. При появлении расхода эта симметрия нарушается. При малых
скоростях потока температура падает вследствие притока холодного вещества
сильнее, чем температура, которая при малых скоростях может даже возрастать. В
результате вначале с ростом расхода растет разность температур. Но при
достаточном увеличении расхода температура станет постоянной, равной
температуре притекающего вещества, в то время как Т2 будет падать. При этом
разность температур будет уменьшаться с увеличением расхода. Рост разности
температур при малых значениях расхода почти пропорционален расходу. Затем этот
рост замедляется и после достижения максимума начинается падение разности
температур по гиперболическому закону. Расположение термопреобразователей
влияет на градуировочные кривые. Пропорциональность между разностью температур
и расходом наблюдается до скорости потока 0,2 м/с.
Калориметрические расходомеры с внутренним
нагревом не получили распространения в промышленности из-за малой надежности
работы в эксплуатационных условиях нагревателей и термопреобразователей,
располагаемых внутри трубопровода. Они более пригодны для различных
исследовательских и экспериментальных работ. Кроме того, целесообразно
применять их в качестве образцовых приборов для поверки и градуировки других
расходомеров. При этом особенно ценным является то, что они измеряют массовый
расход, а сами могут быть проградуированы путем измерения мощности W и разности
температур. Оценивая погрешность измерения W значениями ±0,1-0,15%, а измерения
разности температур - значениями ±0,1-0,2%, можно в случае поправочного
коэффициента обеспечить измерение расхода с относительной приведенной
погрешностью ±0,3-0,5%. При необходимости потери тепла в окружающую среду можно
оценить с помощью тепломера, измеряющего тепловой поток через стенку.
Термоконвективными называются тепловые
расходомеры, у которых нагреватель, и термопреобразователь размещаются снаружи
трубопровода, что увеличивает эксплуатационную надежность расходомеров и
удобство для применения. Передача тепла от нагревателя к измеряемой среде
производится за счет конвекции через стенку трубы.
Разновидности термоконвективных расходомеров:
•квазикалориметрические расходомеры:
- с симметричным расположением термопреобразователей;
- с нагревателем, совмещенным с
термопреобразователем;
- с нагревом непосредственно стенки
трубы;
- с асимметричным расположением
термопреобразователей;
•расходомеры, измеряющие разность температуры
пограничного слоя;
•расходомеры особых разновидностей для труб
большого диаметра.
Квазикалометрические расходомеры (первая группа)
имеют градуировочные характеристики аналогичные калориметрическим расходомерам
и две ветви: восходящую и нисходящую, а у расходомеров второй группы - только
одну ветвь, так как у них преобразователь начальной температуры изолирован от
нагревательного участка трубы. Кроме того, квазикалориметрические расходомеры
применяются преимущественно для труб диаметром от 0,5-1,0 мм и выше.
Чем больше диаметр трубы, тем в меньшей степени
прогревается центральная часть потока, и прибор все в большей мере измеряет
лишь разность температур пограничного слоя, которая зависит от его коэффициента
теплоотдачи, а значит, и от скорости потока. При малых диаметрах прогревается
весь поток и здесь так же, как и в калориметрических расходомерах, измеряется
разность температур потока с той и другой стороны нагревателя.
Тепловые расходомеры, измеряющие разность
температур пограничного слоя. Расходомеры пограничного слоя отличаются от ранее
рассмотренных тем, что тепло от нагревателя не достигает термопреобразователя,
который расположен первым по ходу потока. Для этого первый по ходу потока
термопреобразователь достаточно удален от нагревателя, а между ними
располагается теплоизолирующая прокладка. Второй термопреобразователь
располагается возможно ближе к нагревателю. Благодаря этому полностью
отсутствует начальная ветвь градуировочной кривой и кривая имеет монотонный
характер. Другой их существенный признак - отсутствие прогрева центральной части
потока, так как применяют их для труб с диаметром не менее 50 мм. В результате
в них измеряется не разность средних температур потока до и после нагревателя,
а разность температур с обеих сторон пограничного слоя.
Расходомеры особых разновидностей трубопроводов
большого диаметра. При измерении расхода веществ, имеющих высокую температуру,
а также веществ, температура которых может существенно изменяться, следует
стабилизировать или вообще исключить потерю тепла в окружающую среду. Этого
можно достичь с помощью схемы, отличие схемы заключается в применении
дополнительного компенсационного нагревателя, установленного по всей длине
измерительного участка. Нагреватель поддерживает заданную разность температур в
поперечном сечении теплоизоляции независимо от температуры и расхода
измеряемого вещества. Эта разность контролируется дифференциальной термопарой,
сигнал которой поступает в автоматический регулятор, управляющий через блок
питания током, поступающим в компенсационный нагреватель. Для измерения расхода
в трубах большого диаметра служит метод, основанный на применении теплового
зонда.
Термопреобразователями служат термопары (точнее,
термобатареи) или термометры сопротивления. В микрорасходомерах, где сложно
разместить необходимое число спаев термопар, обычно применяют термометры
сопротивления (медные и никелевые). В остальных отечественных расходомерах
применяют преимущественно термобатареи (медь-константановые и
хромель-копелевые) с числом спаев 8-30. Получаемая термо-ЭДС лежит в пределах
1-10мВ. Спаи термобатареи располагают последовательно в местах измерения
температур, и таким образом получаемая термо-ЭДС, соответствует разности
температур. Спаи должны быть изолированы от стенки трубы и в то же время их
температура должна быть как можно ближе к соответствующим температурам стенки.
Для изоляции служат синтетические смолы и цемент. Сами же спаи и термоэлектроды
должны иметь минимальные размеры, а в эпоксидные компаунды, которые закрепляют
спаи на поверхности трубы, рекомендуется добавлять теплопроводные примеси
(например, измельченный графит).
Третий элемент конструкции преобразователей
термокондуктивных расходомеров - устройство, которое должно максимально
уменьшить теплообмен преобразователя с окружающей средой. Это надо как для
уменьшения потерь тепла, так и влияния внешних тепловых возмущений. Для этого
служат наружный кожух, имеющий теплоизоляционное покрытие, и дополнительная
внутренняя труба. Между ними образуется воздушная изоляционная прослойка. Кроме
того, эффективно применение внутри кожуха многослойных отражательных экранов из
алюминиевой фольги и стеклоленты. При необходимости можно применять
дополнительный компенсационный нагреватель, поддерживающий заданную разность
температур в поперечном сечении теплоизоляции.
Термоанемометры основаны на зависимости между
потерей тепла непрерывно нагреваемого тела и скоростью газа или жидкости, в
которых это тело находится. Основное назначение термоанемометров - измерение
местной скорости и ее вектора. Они могут служить и для измерения расхода, когда
известно соотношение между местной и средней скоростью потока, или когда
последняя непосредственно измеряется с помощью термоанемометра. Кроме того,
существуют конструкции термоанемометров, специально предназначенных для
измерения расхода.
Большинство термоанемометров относится к
термокондуктивному типу со стабильной силой тока нагрева или же с постоянным
сопротивлением нагреваемого тела. У первых измеряется электрическое
сопротивление тела, являющееся функцией скорости потока, а у вторых - сила
греющего тока, которая должна возрастать с ростом скорости потока. Кроме того,
в одной группе термокондуктивных преобразователей ток нагрева одновременно
служит и для измерения, а в другой - нагревающий и измерительные токи
разделены. Через один резистор течет ток нагрева, а через другой, получающий
тепло от первого, - ток, который необходим для измерения.
К достоинствам термоанемометров относятся
большой диапазон измеряемых скоростей, начиная от весьма малых, и высокое
быстродействие, позволяющее измерять скорости, изменяющиеся с частотой в
несколько тысяч герц. Недостаток термоанемометров с проволочными
чувствительными элементами - хрупкость последних и изменение градуировки по
причине старения и перекристаллизации материала проволоки вследствие
динамических нагрузок и высокой температуры нагрева.
Первичные преобразователи термоанемометров
разделяются на проволочные, пленочные и терморезисторные.
Чувствительный элемент проволочного
преобразователя - тонкая и обычно короткая проволочка из платины, вольфрама,
никеля. Концы проволочки (термонити) приваривают к концам двух манганиновых
стерженьков, укрепленных на жестком основании. Наибольшую температуру нагрева
проволочки (до 1000°С) допускает платина. Торированный вольфрам может работать
до 600°С. Но, во избежание быстрого старения материала, обычно проволочку
нагревают только до 400-500°С. При измерении же вещества, имеющего высокую
температуру, термонить укрепляют на основании, охлаждаемом проточной водой. Для
предохранения термонити от поломки при большой скорости газового потока
предложено защищать ее стеклянной оболочкой.
Пленочный преобразователь термоанемометра
состоит из круглого стеклянного полого стержня диаметром в несколько
миллиметров с клинообразным или конусообразным концом, на которое распылена
пленка платины толщиной 50-100А в виде небольшой полоски (1х0,2 мм). Концы
полоски соединены с проводами, проходящими внутри стеклянного стержня. Иногда
наносится еще вторая пленка большего размера для температурной компенсации.
Пленочные преобразователи значительно прочнее проволочных и могут служить для
измерения скоростей газа от 1,5 м/с вплоть до 400-500 м/с при температурах до
500°С и скоростей жидкости до 18 м/с при температуре до 60°С. Их инерционность
немного больше, чем у проволочных и возрастает с уменьшением скорости. Верхний
частотный предел уменьшается от 100 кГц при скорости воздуха 300 м/с до 1 кГц
при скорости 1 м/с.
Чувствительным элементом терморезисторного
преобразователя служит миниатюрный полупроводниковый терморезистор, обычно в
виде шарика или бусинки. Их достоинства - простота конструкции, механическая
прочность и высокая чувствительность. Недостаточная стабильность градуировки в
значительной степени уменьшена. Применение их в качестве термоанемометров для
измерения скоростей жидкостей и газов при очень высокой температуре все более
расширяется. Постоянная времени у них несколько больше, чем у проволочных и
пленочных термоанемометров, и в зависимости от размера терморезистора
составляет 0,5-2,5 с.
Часто преобразователь термоанемометра состоит из
двух терморезисторов, один из которых измерительный, а другой - компенсирующий
изменение температуры потока.
Кроме того, встречаются термоанемометры, в
которых цепь нагрева отделена от цепи измерения. Терморезистор обычно
располагается внутри проволочного нагревателя. Возможны разные конструкции:
например, нагреватель намотан на трубку, внутри которой находится
терморезистор, или же спираль нагревателя с помощью стекла закрепляется на
полупроводниковом шарике и затем запаивается в стеклянный капилляр.
Преобразователи термоанемометрических
расходомеров. Преобразователь термоанемометрического расходомера отличается от
преобразователя обычного термоанемометра тем, что чувствительный элемент
(термонить) находится не в какой-то одной точке потока, а более или менее равномерно
распределен по всему его сечению. Погрешность прибора - ±2,5%.
Тепловые расходомеры с излучателями.
Существенный недостаток рассмотренных калориметрических и термоконвективных
расходомеров - их большая инерционность. В связи с этим были разработаны тепловые
расходомеры, у которых нагрев потока производится с помощью энергии
электромагнитного поля высокой частоты ВЧ (порядка 100 МГц), сверхвысокой
частоты СВЧ и инфракрасного диапазона ИК.
В первом случае для нагрева протекающей жидкости
снаружи трубопровода устанавливают два электрода, к которым подается напряжение
высокой частоты от источника, каким может служить мощный ламповый генератор.
Электроды вместе с жидкостью между ними образуют конденсатор. Мощность,
выделяемая в виде теплоты в объеме жидкости, находящемся в электрическом поле,
пропорциональна его частоте и зависит от диэлектрических свойств жидкости.
Хотя скорость прогрева жидкости в электрическом
поле весьма велика, тем не менее, достигаемая конечная температура зависит от
скорости движения жидкости и уменьшается с увеличением последней. Это позволяет
судить о расходе путем измерения степени нагрева жидкости. При очень большой
скорости жидкость уже не успевает прогреваться в конденсаторе ограниченных
размеров. В случае измерения расхода растворов электролитов, электропроводность
которых сильно зависит от температуры, измерение степени нагрева целесообразно
осуществлять путем измерения электропроводности жидкости. При этом
нагревательный элемент совмещается с чувствительным и достигается наибольшее
быстродействие расходомера. В расходомерах применяется метод сравнения
электропроводности в трубке, где протекает жидкость, и в аналогичной замкнутой
емкости с электродами, где находится такая же жидкость при постоянной
температуре. Измерительная схема состоит из высокочастотного генератора,
подающего через разделительные конденсаторы напряжение на два колебательных
контура. Параллельно одному из них подключен конденсатор с проточной жидкостью,
а к другому - конденсатор с неподвижной жидкостью. При изменении расхода
последней изменяется падение напряжения на одном из контуров, а, следовательно,
и разность напряжений между обоими контурами, которая и измеряется. Эта схема
пригодна для электролитов. Если жидкость обладает очень большой
электропроводностью, то для измерения степени ее нагрева можно применять
обычные термопреобразователи, например, термопары. Но в этом случае
быстродействие прибора уменьшится.
Высокочастотный нагрев можно применить и для
диэлектрических жидкостей, основываясь на зависимости диэлектрической
проницаемости жидкости от температуры.
Тепловые расходомеры с жидкостным или газовым
теплоносителем. Для измерения расхода пульп, высокотемпературных сред и
различных веществ в потенциально опасных технологических процессах были
предложены и нашли применение тепловые расходомеры с жидкостным теплоносителем,
обычно водой. При этом в большинстве случаев вода охлаждает, а не нагревает
измеряемое вещество.
Вода, расход которой поддерживается постоянным
(например, с помощью напорного бака с переливом), проходит через теплообменник,
охлаждая измеряемое вещество, протекающее через трубу.
Теплоизоляционный кожух защищает от внешнего
теплообмена измерительный участок трубы и теплообменник. На входе и выходе из
последнего установлены термопреобразователи, контролирующие разность температур
воды, а в начале и в конце измерительного участка - термопреобразователи,
контролирующие разность температур измеряемого вещества.
Большую чувствительность можно получить, если
применять в качестве термопреобразователей полупроводниковые терморезисторы,
включенные в две мостовые схемы, разность напряжений на выходе которых с
помощью автоматического компенсатора делается равной нулю. Необходима, хорошая
термоизоляция всего преобразователя и достаточная длина участка между
теплообменником и термопреобразователем, контролирующим выходную температуру
измеряемого вещества, с тем чтобы в зоне его установки была достигнута
равномерность температурного поля. Особенно трудно это обеспечить при малых
скоростях в ламинарной и переходной областях. Эффективно применение
завихрителей потока, а также барботажное перемешивание с помощью воздуха.
По характеру работы рассматриваемые тепловые
расходомеры относятся к калориметрической группе.
Вспомогательный теплоноситель в тепловых
расходомерах применяется не только в качестве основного источника нагрева или
охлаждения измеряемого вещества. Так, не всегда можно обеспечить
экспериментальную градуировку теплового расходомера с электрическим нагревом. В
этом случае вспомогательный теплоноситель, нагреваемый за счет потери тепла
преобразователем расходомера, может обеспечить расчетную градуировку.
Парциальные тепловые расходомеры.
Термоконвективные тепловые преобразователи расхода изготовляют обычно лишь для
труб малого диаметра. В случае применения этих преобразователей в качестве
парциальных они могут служить также и для измерения средних и больших расходов.
Иногда встречаются схемы парциальных
термоконвективных расходомеров, где автоматически поддерживается постоянный
расход в обводной трубке путем изменения степени открытия регулирующего клапана
в основном трубопроводе. В основном трубопроводе между местами присоединения
обводной трубки установлен клапан. Самоуравновешивающийся электрический мост,
снабженный пневматическим реле на выходе, поддерживает постоянную разность
температур в термоконвективном преобразователе, перемещая с помощью
пневматического исполнительного механизма клапан так, чтобы перепад на концах
обводной трубки, а значит, и расход в ней оставался неизменным. Расход
определяют по степени открытия клапана, чтобы избежать малой скорости в
обводной трубке и ее засорения.
Тепловые микрорасходомеры. Тепловые расходомеры
термоконвективного типа, не имеющие контакта с измеряемым веществом, весьма
удобны для измерения малых расходов как жидкостей, так и газов при любом
давлении последних. Чтобы иметь развитую начальную восходящую ветвь
градуировочной кривой (при постоянной мощности нагрева) чаще применяют
симметричное расположение термопреобразователей относительно нагревателя.
Рисунок 1. Конструкция термоанемометрического
расходомера: 1 - датчик температуры нагревательного элемента; 2 -
нагревательный элемент; 3 - датчик температуры потока.
Принцип работы термометрического анемометра
связан с использованием конвекционного переноса тепла подвижной средой от
нагретой поверхности. Чувствительным элементом такого анемометра является
нагретая проволока или поверхность, обычно из платины или вольфрама. Подогрев
элемента обычно осуществляется постоянным током, проходящим через него с
поддержанием постоянной температуры элемента. Иногда можно встретить
конструкции с непрямым подогревом измерительной проволоки. Для определения
скорости потока в приборе измеряется конвекционный перенос тепла от проволоки,
который является функцией от скорости движения среды, омывающей элемент.
Обычно проволока промышленных термоанемометров
для измерений в газовых потоках имеет 4-10 мкм в диаметре и длину 1 мм. Другой
конструкцией является поверхностный чувствительный элемент с подкладкой из
жаростойкого стекла с напылённым покрытием или фольгой из платины.
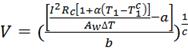
Уравнение теплового баланса на нагревателе можно
записать в виде:
I - сила
электрического тока, проходящего через нагревательный элемент;
Rw
- электрическое сопротивление нагревательного элемента;
h - коэффициент
теплообмена нагревательного элемента;
Aw
- площадь поверхности нагревателя, омываемая подвижной средой;
ΔT=T1-T2
-
разница температур нагревателя и среды.
Сопротивление нагревателя Rw
зависит от температуры:
;
α -
температурный коэффициент электрического сопротивления;
Rc
-
величина электрического сопротивления при температуре калибровки;
T1c
-
температура калибровки.
Коэффициент теплообмена h
является функцией скорости потока V
и может быть описан эмпирической зависимостью:
;
, b, c - постоянные, определяемые при калибровке
датчика (c = 0,5).
На основе записанных уравнений можно определить
скорость потока, а значит и расхода:
;
К преимуществам термоанемометрического метода
измерения относятся высокая чувствительность, высокое быстродействие, простота
конструкции. Недостатки: достоверная работа возможна только в чистых потоках с
неизменными теплофизическими характеристиками и необходимость очищения элемента
от загрязнений.
2. Расчет чувствительного элемента
датчика
Напряжение питания равно 24 В. Мощность
нагревательного элемента постоянна и равна 5 Вт. Скорость воздуха - 5 м/с.
Температура среды - 20⁰С. Температура
нагревателя при калибровке - 20,05⁰С.
Температура нагревателя
Уравнение теплового баланса на нагревателе можно
записать в виде:
- сила
электрического тока, проходящего через нагревательный элемент;- электрическое
сопротивление нагревательного элемента;- коэффициент теплообмена
нагревательного элемента;- площадь поверхности нагревателя, омываемая подвижной
средой;
ΔT = T1-T2 - разница
температур нагревателя и среды.
Нагревательный элемент - вольфрам. Т.к. сопротивление
нагревательного элемента зависит от температуры, то построим эту зависимость.
Будем считать, что она линейна. Удельное электрическое сопротивление при 20°C -
55·10−9 Ом·м, при 2700°C - 904·10−9 Ом·м.
Рассчитаем сопротивление вольфрама при данных
температурах по формуле:
ρ - удельное
сопротивление элемента;
l - длина элемента;
S - площадь сечения
проводника.
Примем длину проводника равной 1 мм.
Площадь сечения нагревательного элемента
рассчитывается по формуле:
Обычно диаметр берут 10 мкм. Такой выберем и мы:
Сопротивление вольфрама при 20⁰С:
Сопротивление вольфрама при 2700⁰С:
Рисунок 2. График зависимости сопротивления
вольфрама от температуры
Коэффициент теплообмена нагревательного элемента
h находится по
формуле:
Коэффициенты a,
b и c
- коэффициенты калибровки (a
= 1 Вт/(м2*K),
b = 106 кг*K-1*м-0.5*с-2.5,
c=0.5).
h = 2,236*106 Вт/(м2*K)
Из уравнения теплового баланса найдём разницу
температур нагревателя и среды ΔT:
Зная температуру нагревателя, узнаем и
температуру воздуха.
3. Эквивалентная схема ЧЭ
Эквивалентная схема
(схема замещения, эквивалентная схема замещения) - электрическая схема, в
которой все реальные элементы заменены максимально близкими по функциональности
цепями из идеальных элементов.
В эквивалентных схемах используются
перечисленные ниже идеальные элементы.
Предполагается также, что геометрические размеры
эквивалентной схемы настолько малы, что какие-либо эффекты длинных линий
отсутствуют» то есть эквивалентная схема рассматривается как система с
сосредоточенными параметрами.
Резистор.
Идеальный резистор характеризуется только сопротивлением. Индуктивность,
емкость, а также сопротивление выводов равны нулю.
Конденсатор.
Идеальный конденсатор характеризуется только ёмкостью. Индуктивность, утечка,
тангенс угла потерь, диэлектрическое поглощение, а также сопротивление выводов
равны нулю.
Катушка индуктивности.
Идеальная катушка индуктивности характеризуется только индуктивностью. Емкость,
сопротивление потерь, а также сопротивление выводов равны нулю.
Источник ЭДС.
Идеальный источник ЭДС характеризуется только своим напряжением. Внутреннее
сопротивление и сопротивление выводов равны нулю.
Источник тока.
Идеальный источник тока характеризуется только своим током. Утечка равна нулю.
Проводники.
Элементы эквивалентной схемы соединены идеальными проводниками, то есть
индуктивность, емкость и сопротивление проводников равны нулю.
Принципиальная электрическая схема
термоанемометра представляет собой четырехплечевой мост.
4. Расчет измерительного
преобразователя
Важным классом устройств, предназначенных для
измерения параметров электрических цепей методом сравнения, являются мосты.
Сравнение измеряемой величины с образцовой
мерой, которое производится в процессе измерения при помощи моста, может
осуществляются вручную или автоматически, на постоянном или на переменном токе.
В простейшем случае мостовая схема содержит четыре резистора, соединенных в
кольцевой замкнутый контур. Такую схему имеет одинарный мост постоянного тока
рис. 5. Резисторы R(,
R2,
R3.
и R4
этого контура называются плечами моста точки соединения соседних плеч -
вершинами моста. Цепи, соединяющие противоположные вершина, называют
диагоналями.
Одна из диагоналей 3-4 содержит источник питания
GB, а другая 1-2
указатель равновесия PG.
В случае моста переменного тока его плечи могут включать в себя не только
резисторы, но также конденсаторы и катушки индуктивности, то есть сопротивления
могут иметь комплексный характер.
Рисунок 3. Одинарный мост
Мост называется уравновешенным, если разность
потенциалов между точками 1 и 2 равна нулю, то есть напряжение на
диагонали, содержащей индикатор нуля, отсутствует и ток через индикатор равен
нулю. Соотношение между сопротивлениями плеч, при котором мост уравновешен,
называется условием равновесия моста. Представленный на рисунке 6 мост является
неравновесным электрическим мостом.
Идея построения неравновесных мостовых цепей
состоит в исходной компенсации начального значения выходного сигнала, чтоб при
х=0 он был равен нулю. Одинарные мосты постоянного тока, широко применяются для
измерения сопротивлений (разности сопротивлений) средних размеров (от 1 до
10 Ом). Встречаются также одинарные мосты, диапазон измерений которых расширен
либо в сторону меньших (104 Ом), либо в сторону больших (до
101 Ом) значений сопротивления.

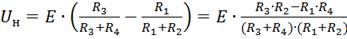
Если известны значения всех четырёх
сопротивлений, а также напряжение (Е), то напряжение на плечах моста можно
найти, используя формулы делителя напряжения, а затем вычесть их друг из друга,
чтобы найти UH:
,
Так как R3=R4,
То мы можем записать:
,
Измерительный мост показывает пример так
называемых дифференциальных измерений, которые могут обладать очень высокой
точностью. Варианты измерительного моста могут использоваться также для
измерения электрической ёмкости, индуктивности.
При измерении расхода известно, что R1=120,658
Ом, а R2
изменяется от 120,778 Ом до 124,918 Ом.
E = 24 В. Определяем
значение выходного напряжения неравновесного моста при
:
.
тепловой расходомер датчик
преобразователь
5. Расчет нормирующего
преобразователя 0-5 мА
Из числа применяемых средств измерений для
автоматизации современных промышленных установок особое место занимают
измерительные устройства (первичные и другие приборы). Эти средства измерений,
предназначенные для выработки сигналов измерительной информации в форме, удобной
для дистанционной передачи, дальнейшего преобразования и обработки, выполняются
на базе унифицированных элементов, узлов, блоков и приборов.
Одним из важных признаков современных
измерительных преобразователей, первичных и других приборов ГСП по сравнению с
подобными средствами измерений прежних разработок является унификация их
выходных сигналов. Это в свою очередь позволяет унифицировать входные сигналы
вторичных и регулирующих приборов.
Унификация выходных и входных сигналов
обеспечивает взаимозаменяемость передающих преобразователей, измерительных
устройств, вторичных приборов и других устройств автоматизации и возможность
резкого сокращения номенклатуры (разнообразия) вторичных приборов.
Унификация выходных и входных сигналов средств
измерений и их элементов, узлов и блоков существенно повышает надежность
действия дистанционной передачи, устройств защиты и обработки измерительной
информации, а также открывает широкие перспективы применения средств
вычислительной техники.
Нормирующие измерительные преобразователи
предназначены для преобразования выходного сигнала первичных преобразователей,
измерительных преобразователей в унифицированный сигнал постоянного тока.
В аналоговых электронных цепях в настоящее время
широко применяются операционные усилители в интегральном исполнении.
Операционными усилителями при этом называют усилители постоянного тока, имеющие
коэффициент усиления порядка нескольких тысяч или десятков тысяч, с
согласованными уровнями постоянного напряжения на их входах и выходах.
Приведем основные зависимости для выбранной
схемы:
При этом должны выполняться следующие условия:
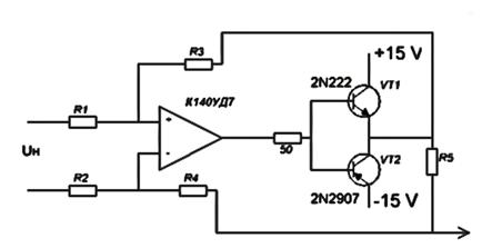
Рисунок 7. Схема нормирующего преобразователя
На рисунке 7 ниже приведена схема нормирующего
преобразователя напряжение-ток.
При Uн=0.208
В, Iвых=5мА.
Тогда:
Возьмем тогда из этого соотношения
=100Ом,
=(4,16Ом)=4,3Ом,
R3=10 Ом.
Из условия 8найдем остальные резисторы.
Ом) = 5,6 Ом
=100 Ом
6. Составление структурной схемы
измерительного устройства
Измерительное устройство состоит из нескольких
частей
Приведем основные составные части измерительных
устройств.
Преобразовательный элемент - это элемент
средства измерения, в котором происходит одно из ряда последовательных
преобразований величины;
Измерительная цепь
- совокупность преобразовательных элементов, которые обеспечивают осуществление
всех преобразований сигнала измерительной информации;
Чувствительный элемент
- первый в измерительной цепи преобразовательный элемент, находящийся под
непосредственным воздействием измеряемой величины;
Измерительный механизм
- часть конструкции средства измерения, состоящих из элементов, взаимодействие
которых вызывает их взаимное перемещение;
Отсчетное устройство
- часть конструкций средства измерений, предназначенное для отсчитывания
значений измеряемой величины;
Регистрирующее устройство
- часть регистрирующего измерительного прибора, предназначенного для
регистрации показаний.
Соединение элементов в определенную цепь преобразований
называют структурной схемой. В зависимости от соединения элементов, различают
два основных вида измерительных устройств.
7. Выбор АЦП, ЦАП и вторичных
приборов
Для построения структурной схемы
разрабатываемого измерительного преобразователя выберем АЦП, интерфейс и
регистрирующий прибор.
Аналого-цифровые преобразователи (АЦП) являются
устройствами, которые принимают входные аналоговые сигналы и генерируют
соответствующие им цифровые сигналы, пригодные для обработки микропроцессорами
и другими цифровыми устройствами.
Процедура аналого-цифрового преобразования
непрерывных сигналов, которую реализуют с помощью АЦП, представляет собой
преобразование непрерывной функции времени U(t),
описывающей исходный сигнал, в последовательность чисел (U'(tj)},
j = 0, l,
2: отнесенных к некоторым фиксированным моментам времени. Эту процедуру
можно разделить на две самостоятельные операции.
Первая из них называется дискретизацией и
состоит в преобразовании непрерывной функции времени U(t)
в непрерывную последовательность {U(tf)}.
Вторая называется квантованием и состоит в преобразовании непрерывной
последовательности в дискретную{U'(tj)}.
В основе дискретизации непрерывных сигналов
лежит принципиальная возможность представления их в виде взвешенных сумм:
где aj
-
некоторые коэффициенты или отсчеты, характеризующие исходный сигнал в
дискретные моменты времени; fj(t)
- набор элементарных функций, используемых при восстановлении сигнала по его
отсчетам. В настоящее время известно большое число методов преобразования
напряжение-код. Эти методы существенно отличаются друг от друга потенциальной
точностью, скоростью преобразования и сложностью аппаратной реализации. На
рисунке 2 представлена классификация АЦП по методам преобразования. В основу
классификации АЦП положен признак, указывающий на то, как во времени
разворачивается процесс преобразования аналоговой величины в цифровую. В основе
преобразования выборочных значений сигнала в цифровые эквиваленты лежат
операции квантования и кодирования. Они могут осуществляться с помощью либо
последовательной, либо параллельной, либо последовательно-параллельной процедур
приближения цифрового эквивалента к преобразуемой величине.
АЦП этого типа осуществляют квантование сигнала
одновременно с помощью набора компараторов, включенных параллельно источнику
входного сигнала. На рисунке 3 показана реализация параллельного метода
АЦ-преобразования для 3-разрядного числа. С помощью трех двоичных
разрядов можно представить восемь различных чисел, включая нуль. Необходимо,
следовательно, семь компараторов. Семь соответствующих эквидистантных опорных
напряжений образуются с помощью резистивного делителя.
Рисунок 5 - Классификация АЦП
Если приложенное напряжение не выходит за
пределы диапазона от 5/2h,
до 7/2h, Где h=Uоп/7
-квант входного напряжения, соответствующий единице младшего разряда АЦП, то
компараторы с 1ого по 3ий устанавливаются в состояние 1, а компараторы с 4ого
по 7ой в состояние 0. Преобразование этой группы кодов в трехзначное двоичное
число выполняет логическое устройство, называемое приоритетным шифратором,
диаграмма состояния которого приведена на рисунке 6.
Последовательно-параллельные АЦП являются
компромиссом между стремлением получить высокое быстродействие и желанием
сделать это по возможности меньшей ценой.
Рисунок 6 - Схема параллельного АЦП
Последовательно-параллельные АЦП занимают
промежуточное положение по разрешающей способности и быстродействию между
параллельными АЦП и АЦП последовательного приближения.
Последовательно-параллельные АЦП подразделяют на многоступенчатые, многоактные
и конвейерные.
Преобразование этой группы кодов в трехзначное
двоичное число.
В многоступенчатом АЦП процесс преобразования
входного сигнала разделен I пространстве, В качестве примера на рисунке ниже
представлена схема двухступенчатого 8- разрядного АЦП.
Рисунок 7 - Структурная схема двухступенчатого
АЦП
Верхний по схеме АЦП осуществляет грубое
преобразование сигнала в четыре старших разряда выходного кода. Цифровые
сигналы с выхода АЦП поступают на выходной регистр и одновременно на вход
4-разрядного быстродействующего ЦАП. Во многих ИМС многоступенчатых АЦП(AD9042,
AD9070 и др.) этот
ЦАП выполнен по схеме суммирования токов на дифференциальных переключателях, но
некоторые (AD77S,
AD9040Aи
др.) содержат ЦАП с суммированием напряжений. Остаток от вычитания выходного
напряжения ЦАП из входного напряжения схемы поступает на вход АЦП2, опорное
напряжение которого в 16 раз меньше, чем у АЦП1. Как следствие, квант АЦП2 в 16
раз меньше кванта АЦП1. Этот остаток, преобразованный АЦП2 в цифровую форму
представляет собой четыре младших разряда выходного кода. Различие между АЦП1 и
АЦП2 заключается прежде всего в требовании к точности: у АЦП1 точность должна
быть такой же как у 8-разрядного преобразователя, в то время как АЦП2
может иметь точность 4-разрядного.
Аналого-цифровые преобразователи тока в код принципиально
не отличаются от аналого-цифровых преобразователей напряжения в код. Выбор АЦП:
По каталогам производителей выбираем
20-разрядный АЦП с токовыми входами 0-5 мА DDC112,
производства Texas
Instruments.
Основные свойства:
· Однокристальное решение для измерения 20
сигналов тока низкого уровня
· Интегрирующий входной каскад с
преобразованием ток-напряжение
· Программируемый полный масштаб: от 3
до 12 пКл
· Регулируемая скорость:100 тысяч
выборок в секунду
· Время интегрирования до 10 мкс
· Напряжение питания аналогово части:
+5 В
· Корпус: BGA-64
Устройство DDC112 представляет собой 20-битный,
20-канальный АЦП с входом тока. Устройство выполняет преобразование
ток-напряжение и аналого-цифровое преобразование, позволяющее подключать к
входам и оцифровывать сигнал до 20 отдельных устройств с выходом тока низкого
уровня.
RS-485 (Recommended
Standard 485 или EIA/TIA-485-A)
- рекомендованный стандарт передачи данных по двухпроводному полудуплексному
многоточечному последовательному симметричному каналу связи. Совместная
разработка ассоциаций: Electronic
Industries
Alliance (EIA)
иTelecommunications
Industry
Association (TIA).Стандарт
описывает только физические уровни передачи сигналов (т.е. только 1-й
уровень модели взаимосвязи открытых систем OSI).
Стандарт не описывает программную модель обмена и протоколы обмена.
Свойства интерфейса стандарта RS-485.
1. Двунаправленная
полудуплексная передача данных. Поток последовательных данных передается
одновременно только в одну сторону.
Передача данных в другую сторону требует
переключения приёмопередатчика. Приёмопередатчики принято называть
"драйверами" (driver),
это устройство или электрическая цепь, которая формирует физический сигнал на
стороне передатчика.
2. Симметричный
канал связи. Для приёма/передачи данных используются два равнозначных
сигнальных провода. Провода означаются латинскими буквами "А" и
"В". По этим двум проводам идет последовательный обмен данными в
обоих направлениях (поочередно). При использовании витой пары симметричный
канал существенно повышает устойчивость сигнала к синфазной помехе и хорошо
подавляет электромагнитные излучения создаваемые полезным сигналом.
3. Дифференциальный
(балансный способ передачи данных). При этом способе передачи данных на выходе
приёмопередатчика изменяется разность потенциалов, при передаче "1"
разность потенциалов между АВ положительная при передаче "О" разность
потенциалов между АВ отрицательная. То есть, ток между контактами А и В, при
передачи "О” и ”1", течёт (балансирует) в противоположных
направлениях.
4. Многоточечность.
Допускает множественное подключение приёмников и приёмопередатчиков к одной
линии связи. При этом допускается подключение к линии только одного передатчика
в данный момент времени, и множество приёмников, остальные передатчики должны
ожидать освобождения линии связи для передачи данных.
5. Низкоимпендансный
выход передатчика. Буферный усилитель передатчика имеет низкоомный выход, что
позволяет передавать сигнал ко многим приёмникам. Стандартная нагрузочная
способность передатчика равна 32-м приёмникам на один передатчик. Кроме этого,
токовый сигнал используется для работы "витой пары" (чем больше
рабочий ток "витой пары", тем сильнее она подавляется синфазные
помехи на линии связи).
Зона нечувствительности. Если дифференциальный
уровень сигнала между контактами АВ не превышает ±200мВ, то считается, что
сигнал в линии отсутствует. Это увеличивает помехоустойчивость передачи данных.
Технические характеристики RS-485:
· допустимое число приёмопередатчиков (драйверов)
32;
· максимальная длина линии связи 1200
м;
· максимальная скорость передачи 10
Мбит/с;
· минимальный выходной сигнал драйвера
±1,5 В;
· максимальный выходной сигнал
драйвера ±5 В;
· максимальный ток короткого замыкания
драйвера 250 мА;
· диапазон нечувствительности к
сигналу ±200 мВ;
· уровень логической единицы (Uab)
>+200 мВ;
· уровень логического нуля (Uab)
<-200 мВ;
Регистраторы электронные М660.1М (щитовой).
М660.2М (переносной) программируемые, предназначены для измерения входных величин
в виде постоянного тока, напряжения постоянного тока.
Приборы производят регистрацию результатов
измерения во внутренней энергонезависимой памяти, обеспечивают отображение
информации на цветном графическом дисплее или на мониторе персонального
компьютера, передаваемой через последовательный интерфейс RS48S(при
его наличии), а также позволяют производить ввод и редактирование формул по
программируемым виртуальным математическим каналам.
Приборы предназначены для применения в различных
системах измерения и контроля параметров технологических процессов, сбора,
визуализации, регистрации, обработки и оценки данных измерений, сигнализации об
их состоянии относительно заданных значений, а также регулирования
контролируемых параметров.
На рисунке 6 приведем структурную схему
разрабатываемого устройства уровня. Сигнал с первичного измерительного
преобразователя 1, подается на измерительный преобразователь 2. Для получения
нормирующего сигнала из измерительного преобразователя сигнал подается на
нормирующий преобразователь 3. Далее сигнал поступает на АЦП 4 и посредством RS485
подается на электронный регистратор.
8. Описание динамических свойств
измерительного устройства
Средства измерений (СИ) имеют большое количество
различного рода показателей и характеристик. Все средства измерений можно
характеризовать некоторыми свойствами - метрологическими характеристиками.
Различают статические и динамические характеристики СИ.
Статические характеристики СИ возникают при
статическом режиме его работы. Статический режим работы - это такой режим, при
котором СИ воспринимает изменение входной величины и размеры измеряемой
величины не изменяются во времени. К статическим метрологическим
характеристикам СИ относятся:
диапазон измерений; измеряемая, преобразуемая
или воспроизводимая (для мер) величина;
градуировочная характеристика; чувствительность
(коэффициент преобразования измерительного преобразователя);
порог чувствительности; потребляемая мощность;
входное и выходное сопротивления.
Динамические характеристики измерительного
преобразователя возникают при динамическом режиме его работы. Динамический
режим работы - это такой режим, при котором средство измерительного
преобразователя воспринимает изменение входной величины, и размеры измеряемой
величины изменяются во времени.
Динамическими характеристиками являются:
операторная чувствительность, комплексная чувствительность, переходная
характеристика, амплитудно-частотная и фазочастотная характеристики (АЧХ и ФЧХ)
и др. Метрологическая характеристика - это характеристика одного из свойств
средства измерений, влияющая на результат измерений и на его погрешность.
Динамическая характеристика расходомеров
определяются при исследовании его реакции на типовой переходной режим, чаще
всего на скачкообразное (мгновенное) или же синусоидальное изменение расхода.
Возникающий при этом переходной процесс в расходомере описывается
дифференциальным уравнением, порядок которого будет зависеть от свойств
прибора.
У тепловых расходомеров переходной процесс
описывается линейным дифференциальным уравнением третьего порядка и более
высокого порядков.
, (9)
где х - величина непосредственно измеряемая
расходомером (разность температур); Т3,Т2,Т1 - коэффициенты имеющие размерность
9. Построение статических
характеристик
Статическая характеристика зависимости
(Q)
чувствительного элемента
Статическая характеристика зависимости
(t)
чувствительного элемента
Статическая характеристика U(
)
неуравновешенного моста
Статическая характеристика I(U)
нормирующего преобразователя
10. Расчет погрешности
измерительного устройства
Погрешность измерения - оценка отклонения
измеренного значения величины от её истинного значения.
В первую очередь погрешность измерений следует
разделить на погрешность средств измерений и погрешность результатов измерений.
Погрешности средств измерений - отклонения
метрологических свойств или параметров средств измерений от номинальных,
влияющие на погрешности результатов измерений (создающие так называемые
инструментальные ошибки измерений).
Погрешность результата измерения - отклонение
результата измеренияот действительного (истинного) значения измеряемой величины
*о, определяемая по формуле~ хв - погрешность измерения. В свою очередь
погрешности средств измерений можно разделить на инструментальную и
методическую погрешности.
Методическая погрешность обусловлена
несовершенством метода измерений или упрощениями, допущенными при измерениях.
Так, она возникает из-за использования приближенных формул при расчете
результата или неправильной методики измерений. Выбор ошибочной методики
возможен из-за несоответствия (неадекватности) измеряемой физической величины и
ее модели.
Причиной методической погрешности может быть не
учитываемое взаимное влияние объекта измерений и измерительных приборов или
недостаточная точность такого учета. Например, методическая погрешность
возникает при измерениях падения напряжения на участке цепи с помощью
вольтметра, так как из-за шунтирующего действия вольтметра измеряемое
напряжение уменьшается. Механизм взаимного влияния может быть изучен, а
погрешности рассчитаны и учтены.
Инструментальная погрешность обусловлена
несовершенством применяемых средств измерений. Причинами ее возникновения
являются неточности, допущенные при изготовлении и регулировке приборов,
изменение параметров элементов конструкции и схемы вследствие старения.
В высокочувствительных приборах могут сильно
проявляться их внутренние шумы.
Статическая и динамическая погрешности
Статическая погрешность измерений - погрешность
результата измерений, свойственная условиям статического измерения, то есть при
измерении постоянных величин после завершения переходных процессов в элементах
приборов и преобразователей.
Динамическая погрешность измерений 8 погрешность
результата измерений, свойственная условиям динамического измерения.
Динамическая погрешность появляется при измерении переменных величин и
обусловлена инерционными свойствами средств измерений. Статические и
динамические погрешности относятся к погрешностям результата измерений. В
большей части приборов статическая и динамическая погрешности оказываются
связаны между собой, поскольку соотношение между этими видами погрешностей
зависит от характеристик прибора и характерного времени изменения величины.
Систематическая погрешность измерения -
составляющая погрешности измерения, остающаяся постоянной или закономерно
изменяющаяся при повторных измерениях одной и той же физической величины.
Систематические погрешности являются в общем случае функцией измеряемой
величины, влияющих величин (температуры, влажности, напряжения питания и пр.) и
времени. В функции измеряемой величины систематические погрешности входят при
поверке и аттестации образцовых приборов.
Случайными называют составляющие погрешности
измерений, изменяющиеся случайным образом при повторных измерениях одной и той
же величины. Случайные погрешности определяются совместным действием ряда
причин: внутренними шумами элементов электронных схем, наводками на входные
цепи средств измерений, пульсацией постоянного питающего напряжения,
дискретностью счета.
Погрешность градуировки средства измерений -
погрешность действительного значения величины, приписанного той или иной
отметке шкалы средства измерений в результате градуировки.
Погрешностью адекватности модели называют
погрешность при выборе функциональной зависимости. Характерным примером может
служить построение линейной зависимости по данным, которые лучше описываются
степенным рядом с малыми нелинейными членами.
Погрешность адекватности относится к измерениям
для проверки модели. Если зависимость параметра состояния от уровней входного
фактора задана при моделировании объекта достаточно точно, то погрешность
адекватности оказывается минимальной. Эта погрешность может зависеть от
динамического диапазона измерений, например, если однофакторная зависимость y=f(x)
задана при моделировании параболой, то в небольшом диапазоне она будет мало
отличаться от экспоненциальной зависимости. Если диапазон измерений увеличить,
то погрешность адекватности сильно возрастет.
В целом в теории планирования эксперимента
погрешность адекватности может иметь большое значение, поскольку в
многофакторных экспериментах чаще всего рассматривается линейная зависимость
параметров состояния от факторов.
Под абсолютной погрешностью понимается
алгебраическая разность между номинальным и действительным значениями
измеряемой величины. Однако в большей степени точность средства измерений
характеризует относительная погрешность, т.е. выраженное в процентах отношение
абсолютной погрешности к действительному значению измеряемой или
воспроизводимой данным средством измерений величины.
Если диапазон измерения прибора охватывает и
нулевое значение измеряемой величины, то относительная погрешность обращается в
бесконечность в соответствующей ему точке шкалы. В этом случае пользуются
понятием приведенной погрешности, равной отношению абсолютной погрешности
измерительного прибора к некоторому нормирующему значению. Эго может быть,
например, диапазон измерений, верхний предел измерений, длина шкалы
и т.д; X иY- приведенные
погрешности, где X и Y-
диапазон изменения величин. Выбор X и Yв
каждом конкретном случае разный из-за нижнего предела (чувствительности)
прибора.
Класс точности прибора - предел (нижний)
приведенной погрешности.
Аддитивной погрешностью называется погрешность,
постоянная в каждой точке шкалы.
Мультипликативной погрешностью называется
погрешность, линейно возрастающая или убывающая с ростом измеряемой величины.
Определим погрешность чувствительного элемента.
Погрешность медных термопреобразователей сопротивления класса А:
, (8)
при t=10
:
=
при t=20
:
=
19
Тогда погрешность измерения разности температур
0,02
.
Относительная температурная погрешность:
В качестве погрешности измерительного
преобразователя примем 0,02 %.
Погрешность нормирующего преобразователя:
Погрешность АЦП в соответствии с его
характеристиками составляет 0,00005%.
Класс точности регистратора составляет 0,25,
т.е. относительная погрешность регистрации не должна превышать 0,25%.
Общая погрешность:
, (9)
где
-коэффициент
влияния для i-ого преобразователя
=0,53 %
Определяем абсолютную погрешность измерения
расхода:
=
=0,01
Обеспечили требуемую погрешность измерения
Литература
1. Фарзане
Н.Г., Илясов Л.В., Азим-заде А.Ю. «Технологические измерения и приборы».
2. ГОСТ
6651-94 «Термопреобразователи сопротивления. Общие технические требования и
методы испытаний».
. П.П.
Кремлёвскиий «Расходомеры и счетчики количества вещества: Справочник»- 5-ое
издание, Санкт-Петербург, 2004
. Конспект
лекций Бакаленко В.И. «Метрология».
. Лабораторный
практикум «Метрология и технические средства измерения» Бакаленко В.И.,
Михайлов В.Б.
. Интернет