Разработка технологии сборки и сварки коллектора
ТЕМА:
Разработка технологии сборки и сварки коллектора
СВАРОЧНОЕ
ПРОИЗВОДСТВО
ВВЕДЕНИЕ
Электроэнергетика России обеспечивает
потребности в электроэнергии максимального хозяйства и населения. Более 45%
суммарной потребности промышленности хозяйства коммунально-бытового сектора
тепловой энергии, а также экспортируется страны СНГ и дальнего зарубежья.
На конец 2010 года общая установленная мощность
всех электростанций страны составляет 2019,2 миллионов киловатт, в том числе
ТЭС 149,5 миллионов, ГЭС 46 миллионов, АЭС 23,7 миллионов. Линии электропередач
всех классов напряжений имеют общую протяженность более 2,5 миллионов
километров, в том числе АЭП напряжение от 220 до 1150 киловатт около 150 тысяч
километров. Более 90% этого потенциала объединяет единая энергетическая система
охватывающая территория Российской Федерации от Европейской части страны до
Дальнего Востока.
Сварка является одним из ведущих технологических
процессов обработки металлов. Большие преимущества сварки обеспечили ее широкое
применение в народном хозяйстве; без нее сейчас не мыслимо производство судов,
турбин, котлов. Сварное соединение металла характеризуется непрерывностью
структур. Для получения сварного соединения необходимо осуществлять
межмолекулярное сцепление между свариваемыми деталями. Все существующие способы
сварки могут быть разделены на 2 основные группы: сварку давлением (контактная,
газопрессовая, трением, холодная) и сварку плавлением (газовая, термитная, ЭШС,
лазерная).
Данная тема является актуальной в настоящее
время, поскольку перед объектами энергетики ставится задача повышения
надёжности, которая зависит от качества сборочно-сварочных операций.
Преимущества сварных конструкций в настоящее
время не вызывает сомнений. Благодаря применению сварки стало возможным
изготовление очень экономичных шаровых емкостей для химической промышленности,
уникальных гидравлических и паровых турбин.
Целью данной работы является изучение
существующих технологий изготовления трубопроводов и разработка собственной
технологии, которая позволит усовершенствовать существующий технический
процесс.
При изготовлении данного паропровода также
используется сварка для соединения труб в единую систему. В данном проекте этот
способ соединения наиболее оптимален, т.к. он наиболее рационален по расходу
металла и способен обеспечить наиболее надежное и герметичное соединение в
отличие от других способов: резьбовое, клепанное.
1. ИСХОДНЫЕ ДАННЫЕ
.1 Назначение, описание, техническая
характеристика и условия работы объекта
Трубные системы котлов и трубопроводов включают
сварные соединения со стыковыми и угловыми швами, выполненными различными
видами и способами сварки с использованием соответствующих сварочных
материалов. Трубопроводы тепловых электростанций эксплуатируются в сложных
условиях, которые обусловлены как высокими температурами, так и рядом нагрузок
действующих в различных направлениях и вызывающих в элементах трубопроводов
соответствующие напряжения. Высокая температура эксплуатации оказывает
существенное влияние на металл элементов трубопроводов. Надежная эксплуатация
трубопроводов обеспечивается при соблюдении условий по которому суммарная
величина всех рабочих напряжений не превышает значение допустимых напряжений
для стали данной марки и температуры рабочей среды.
Данный паропровод служит для подачи очищенной
воды от питательного насоса на парогенератор, в результате чего вес цикл
выработки электроэнергии становится замкнутым.
Технические характеристики: Ст12х1мф по ГОСТ
20072-74; t = 510 оС;
диаметр 273х18; 273х21 мм. Давление 10 мПа. Относится к 1-й категории 3-й
группе.
Рисунок 1- Принципиальная схема ТЭС.
-парогенератор;
-паровая турбина;
-электрический генератор;
-конденсатор;
5-конденсатный насос;
-деаэратор;
питательный насос;
8-главный паропровод;
9-питательный паропровод.
.2 Материалы, применяемые для изготовления
конструкции
Сталь это сплав железа с углеродом где углерода
до 2%, незначительное количество примесей, которые не вводятся предварительно,
а попадают из руды и легирующие элементы которые вводятся для улучшения свойств
стали.
Для участка трубы питательного трубопровода
применяется сталь марки Ст12х1мф.
Таблица 1- Химический состав стали Ст12х1мф, %
|
Марка
стали
|
Структурный
класс стали
|
Содержание
элементов
|
|
|
C
|
Si
|
Mn
|
S
|
P
|
Cr
|
Ni
|
Mo
|
V
|
Cu
|
|
|
|
|
|
Не
более
|
|
|
|
|
|
|
12х1мф
|
перлитный
|
0,08-0,15
|
0,17-0,37
|
0,4-0,7
|
0,025
|
0,025
|
0,9-1,2
|
0,25
|
0,25-0,35
|
0,15-0,3
|
0,2
|
Таблица 2 - Механические свойства стали Ст20 по
ГОСТ 1050-74
|
Марка
стали
|
Режим
термообработки
|
Механические
свойства при температуре 20
|
|
|
операция
|
температура
|
Охл.
среда
|
Предел
текучести т мпа
|
Предел
прочности в мпа
|
Относ.
удлинение
|
Ударная
вязкость
|
|
12х1мф
|
Нормализация
и отпуск
|
950-980
720-750
|
воздух
|
260
|
450
|
21/19
|
6/5
|
|
|
|
|
|
|
|
|
|
Таблица 3 - Физические свойства стали Ст20
|
Температура
испытания, °С
|
20
|
100
|
200
|
300
|
400
|
500
|
600
|
700
|
800
|
900
|
|
Модуль
нормальной упругости, Е, ГПа
|
198
|
197
|
188
|
183
|
175
|
167
|
157
|
151
|
|
|
|
Плотность
стали, pn, кг/см3
|
7800
|
7780
|
7750
|
7720
|
7680
|
7640
|
7600
|
7570
|
7540
|
7560
|
|
Коэффициент
теплопроводности Вт/(м ·°С)
|
|
44
|
44
|
42
|
40
|
37
|
35
|
32
|
28
|
28
|
|
Уд.
электросопротивление (p, НОм · м)
|
230
|
278
|
343
|
430
|
532
|
647
|
775
|
926
|
1087
|
1130
|
|
Температура
испытания, °С
|
20-
100
|
20-
200
|
20-
300
|
20-
400
|
20-
500
|
20-
600
|
20-
700
|
20-
800
|
20-
900
|
20-
1000
|
|
Коэффициент
линейного расширения (a, 10-6 1/°С)
|
12.4
|
13.0
|
13.6
|
14.0
|
14.4
|
14.7
|
14.9
|
14.8
|
12.0
|
|
Рассчитаем эквивалент стали по содержанию
углерода.
С экв = С + 1/9 * (Mn+Cr)+1/18Ni+1/3Mo,
% ( 1 ) [
1 ]
где: С экв - коэффициент эквивалентного
содержания углерода, %
C - содержание
углерода, %
Mn -
содержании марганца, %
Cr -
содержание хрома, %
Ni -
содержание никеля, %
Mo -
содержание молибдена, %
С экв =
0,15+0,1*(0,7+1,2)+0,05*0,25+0,3*0,35=0,5%
Найдем эквивалент стали по углероду с учетом
толщины
С экв¢ = С экв (1 + 0,005S),
% ( 2 ) [
1 ]
где: С экв¢ - эквивалент стали
по углероду с учетом толщины, %
S - толщина стенки
трубы, мм.
С экв¢ = 0,5*(1+0,005*18)
= 0,54 %
При сварки трубопроводов из стали 12х1мф
диаметром 273и толщиной стенки 18 и более, необходим предварительный подогрев
до 350-400 С, после сварки необходимо пройти УЗК.
.3 Технические условия на изготовление продукции
трубопровод сварка сборка питание
Поврежденный металл сварного соединения следует
удалять механическим способом (абразивным инструментом, вырубкой или резанием)
Допускается удаление дефектного металла воздушно-дуговой или кислородной
строжкой (резка), с последующей обработкой поверхности.
На каждое свариваемое изделие
или его узел, монтажная (ремонтная) организация подбирает или оформляет
следующую документацию:
- схему расположения сварных стыков
трубопроводов;
- сварочный формуляр элементов
котла;
сертификаты (или их копии) на
основной металл, заказчиком которого была непосредственно монтажная (ремонтная)
организация;
сертификаты (или их копии) на
электроды и сварочную проволоку, использованные при сварке;
акт на проверку
сварочно-технологических свойств электродов;
сводную таблицу сварных стыков;
сведения о сварщиках,
выполнявших сварочные работы на данном объекте;
акт на заварку контрольных или
вырезку производственных сварных соединений (в случае проведения механических
испытаний и/или металлографических исследований);
акт на визуальный контроль
сварных соединений;
протоколы механических
испытаний и металлографических исследований образцов сварных соединений (если
таковые про водятся);
заключения по ультразвуковому
контролю и/или радиографированию сварных соединений;
протокол стилоскопирования
легированных деталей трубопроводов и элементов котла, а также сварных швов;
протокол измерения твердости
металла шва;
- диаграммы или журнал термообработки сварных
стыков.
.4 Анализ существующего технологического
процесса
. Разработка правил организации работы.
. Проверка схемы.
. Выбор рабочих.
. Выбор способа сварки.
. Входной контроль.
. Сборка деталей.
. Сварка деталей.
. Термообработка деталей.
. Контроль свариваемых деталей.
. Предоставление отчетной документации.
Недостатками замены участка трубопровода в
существующем варианте являются:
применение подкладного кольца, потому что при
этом возникают остаточные напряжения.
применение ручной дуговой сварки, так как
качество сварного соединения напрямую зависит от квалификации сварщика.
- стяжка труб производится на талрепе, а талреп
предварительно приваривается к трубам, что так же является концентратором
напряжений.
.5 Нормы времени на сборочные и сварочные работы
Таблица 4-Нормы времени на сборочные и сварочные
работы на 10 стыков в час.
|
Место
сварки
|
Положение
стыка
|
Вид
стыка
|
Размеры
стыка
|
|
|
|
273х18
мм
|
273х21
мм
|
|
На
монтаже
|
Вертикальные
|
Неповоротные
|
18
|
22
|
|
На
сбороч. площадке
|
|
|
16
|
20
|
|
На
монтаже
|
Горизонтальные
|
Неповоротные
|
26
|
32
|
|
На
сбороч. площадке
|
|
|
23
|
29
|
2. ТЕХНОЛОГИЧЕСКАЯ ЧАСТЬ
.1 Предлагаемые изменения
технологического процесса
Существуют следующие типы
производств:
. Единичное производство -
отличается большой неустойчивой номенклатурой выпускаемой продукции. В
производстве используется универсальное оборудование с ручной подачей исходного
материала, отсутствует закрепление заготовок и деталей, за оборудованием
используется в основном меж цеховой транспорт.
. Серийное производство -
выпускаемые изделия производят периодически повторяющимися партиями на
специализированных участках с применением универсального оборудования.
Применяются ручная или механизированная подача заготовок, используется
общецеховой и напольный транспорт.
. Крупносерийное производство -
номенклатура выпускаемых изделий ограниченна и устойчива. Изделия производят
периодически повторяющимися крупными сериями на специализированных участках
механизированных поточных линиях, применяется подвесной и напольный транспорт.
. Массовое производство -
весьма устойчивая номенклатура выпуска продукции. Изделия производят с
постоянным ритмом на комплексно-механизированных и автоматических поточных
линиях с применением специального меж операционного транспорта.
Данная конструкция относится к единичному типу
производства, так как трубопровод выполнен в единственном экземпляре.
В ходе изменения технологического процесса
предлагаю заменить ручную дуговую сварку на полуавтоматическую в среде
углекислого газа, так как данный способ сварки более модернизирован, позволяет
выполнять более качественные сварные соединения при меньших затратах времени.
В качестве сборочно- сварочного оборудования
используем приспособление секторного типа для труб большого диаметра. Сварка
будет производиться без подкладного кольца.
.2 Заготовительные операции
Непосредственно перед сборкой труб изготовленные
под сварку кромки и прилегающие к ним участки поверхностей деталей должны быть
зачищены до металлического блеска и обезжирены. Ширина зачищенных участков,
считая от кромки, должна быть не менее 20 мм с наружной и не менее 10 мм с
внутренней стороны детали.
Для резки труб размером 273х18 применяем
труборезный станок 2Т, а для снятия фаски применяем шлифмашину Интерскол УШМ. В
базовой комплектации станок предназначен для качественной резки и снятие фасок
на трубах диаметром 89-1020 мм.
Таблица 5- Технические характеристики трубореза
2Т ПТМ-194 и ПТМ-299.
|
Тип
трубореза
|
Диаметр
обрабатываемой трубы, мм
|
Габаритные
размеры, мм
|
Масса,
кг
|
|
2Т
ПТМ-194
|
133-194
|
837х920х920
|
230
|
|
2Т
ПТМ-299
|
219-299
|
837х1030х1030
|
251
|
Таблица 6- Технические характеристики шлифмашины
Интерскол УШМ.
|
Посадочный
диаметр, мм
|
Резьба
шпинделя
|
Габариты,
см
|
Мах
число оборотов, об/мин
|
Мощность,
Вт
|
Масса,
кг
|
Вес
брутто, кг
|
Диаметр
диска, мм
|
|
22,2
|
м14
|
495х145х140
|
8000
|
1800
|
4,3
|
5,35
|
180
|
2.3 Выбор способа сварки
Для сварки главного паропровода предлагаю
использовать Комбинированный способ, так как она наиболее удобная в монтажных
условиях.
При ручной дуговой сварки электрическая дуга
горит между электродом и свариваемым изделием в газообразной среде. Газовая
защита зоны дуги стабилизирует процесс её горения. Шлак защищает сварочный шов
от быстрого охлаждения.
Защитный газ и шлак образуются при расплавлении
покрытия электрода, состоящее из следующих видов материалов: стабилизирующих -
для устойчивого горения дуги; шлакообразующих - при расплавлении образуется
шлак, защищающий капли электродного металла и сварочную ванну от атмосферного
воздуха; газообразующих - при нагревании разлагаются и образуют газы,
оттесняющие воздух от плавильной зоны и способствующие переносу капель
расплавленного электродного металла на свариваемое изделие; раскисляющих -
восстанавливающих, часть металла находящегося в расплаве в виде окислов;
легирующих - заполняющими металл шва элементами для придания специальных
свойств.
Ручная дуговая сварка позволяет выполнять швы во
всех пространственных положениях.
Корневой слой выполняется агоно-дуговой сваркой.
Позволяет получать высококачественные швы во всех пространственных положениях.
Отличается высокой концентрацией нагрева (в 6-14 раз выше чем при
электродуговой сварки ) при сравнительно низком уровне погонной энергии (2-5
ккал/см) Применяется для всех сталей структурных классов.
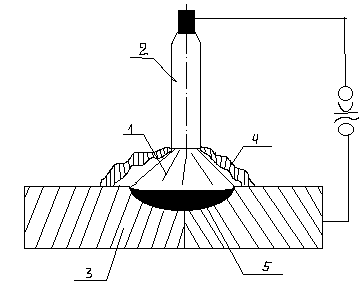
Сущность процесса сварки: электрическая дуга 1
горит между электродом 2 и свариваемым изделием 3 в газообразной среде 4.
газошлаковая защита жидкого металла 5 обеспечивается расплавленным и сгораемым
покрытием электрода
Краткая характеристика процесса: позволяет
выполнять швы во всех пространственных положениях. Производительность процесса
ограничена. Уровень погонной энергии 5-20 ккал/см. Качества шва зависит в
первую очередь от квалификации сварщика.
Рисунок 6. Схема процесса сварки последующих
проходов.
Электрическая дуга горит между неплавящимся
вольфрамовым электродом и изделием в защитной среде инертного газа- аргона.
Сварной шов образуется вследствие расплавления основного и присадочного
материала. Электродоинструментом является электрододержатель.
.4 Схема сборки и сварки конструкции
В заготовительном процессе трубы нарезают в
соответствии с чертежами. Торцы труб зачищаются шлифмашинкой. Затем
устанавливают обе трубы с выверкой в двух плоскостях в сборочное приспособление
с установкой зазора.
Ставятся прихватки, после постановления
прихваток, приспособление снимается и варят корневой шов, затем последующие
проходы. После заварки стыка, следует контроль качества шва. Паропровод
подвергают испытаниям, после проведения всех работ паропровод сдается в
эксплуатацию.
|
Установка
сборочного оборудования
|
|
Сварка
последующих проходов
|
|
Сдача
паропровода в эксплуатацию
|
.5 Описание сборочно-сварочного оборудования
В качестве сборочно-сварочного оборудования
используем приспособление секторного типа для труб большого диаметра. Сварка
будет производиться без подкладного кольца.
Приспособление секторного типа предназначено для
сборки труб под сварку диаметром 133 - 377 мм.
Состоит из двух секторов, шарнирно закрепленных
между собой крепящихся на трубу при помощи четырех болтов. Имеются две шпильки,
с помощью которых устанавливается зазор в стыке. Четыре болта обеспечивают
центровку труб относительно друг друга. Бобышки, расположенные симметрично
относительно сектора, обеспечивают соосность труб. Четыре окна предназначены
для постановки прихваток.
Рисунок 3 - Сборочно-сварочное оборудование
секторного типа
Приспособление работает следующим образом: после
установки труб, на них надевают данное приспособление и закрепляют тремя
болтами трубу, четвертый болт только наживляется. Затем при вращении двух гаек,
устанавливается зазор в стыке. После этого закручивается четвертый болт. При
этом обеспечивается жесткое закрепление обеих труб и их соосность между собой.
После постановки прихваток приспособление снимается и заново проверяется
соосность труб металлической линейкой, если зазор больше 0,5 мм. то стык
ломается и вариться заново.
2.6 Описание технологии сварки конструкции
К сварочным работам могут быть допущены
сварщики, аттестованные на 1 уровень профессиональной подготовки имеющие
аттестационное удостоверение, в котором указывается к каким видам работ допущен
сварщик. Кроме того, все сварщики должны сдать испытания на знание
противопожарных мероприятий и требований по безопасности труда.
Сварку следует производить сразу после прихваток
(не более 4 часов).
Непосредственно перед сваркой производиться
зачистка прихваток и проверка качества сварки (проводят 2 сварщика). При сварке
стыка трубопроводов применяем электроды ТМЛ-3 диаметр 4 мм, корневой шов 3мм.
На каждую партию электродов должен быть сертификат завода-изготовителя.
При сварке вертикальных стыков изделий из
малоуглеродистых сталей высота каждого слоя должна составлять 6-10мм, ширина
одного слоя не более 35мм.
При сварки горизонтальных стыков из
малоуглеродистых сталей высота валика должна быть 4-6мм, ширина 8-14мм.
Так как данный стык сваривают два сварщика
должны быть приняты меры для защиты каждого сварщика от шлака и брызг.
Рисунок 4- Порядок наложения первого
слоя шва при сварке двумя сварщиками вертикальных неповоротных стыков труб
диаметром 273мм.
Рисунок 5- Порядок наложения слоев
при сварки, вертикальных не поворотных стыков труб.
Облицовочный слой должен отвечать
следующим требованиям:
равномерная чешуйчатость с размером
чешуек 1-1,5мм.
отсутствие западания между валиками.
плавный переход от одного валика к
другому и к поверхности трубы.
выпуклость шва при толщине более
20мм.
перекрытие крайними валиками кромок
труб должно быть 1-3мм.
Сварку стыков труб диаметром 273х21
производим в узкую разделку с углом скоса кромок 10 во избежание зашлаковке и
несплавлений в корневой части шва выполняем следующим образом:
корневой слой накладывается ниточным
швом без колебательных поперечных движений электрода; диаметр электрода - не
более 3мм.
при наложении следующих слоев
электрод передвигается шарообразно вдоль шва с шагом 2-4мм. С задержкой после
каждого перемещения на 2-2,5с. В местах задержки сварщика наклоняет электрод в
плоскости. Перпендикулярной оси шва, на угол 5,8, в каждую сторону и оставляет
его в этом положении в течение 0,5-1с; диаметр электрода - не более 4мм.
шарообразное перемещение электрода
продолжается до тех пор, пока ширина разделки не позволят выполнять электродом
колебательные движения поперек шва, то есть производить сварку с обычными
манипуляциями электрода.
Наложение валиков первого слоя, если
сварку вертикального неповоротного стыка труб диаметром 273мм выполняют 2
сварщика, производиться в следующем порядке (Рис 4): первый сварщик начинает
сварку от точки А и ведет к точке Б, в это время второй сварщик сваривает
участок от точки Г до точки В, далее первый сварщик продолжает сварку от точки
Б до точки В, а второй переходит к сварке участка от точки А к точке Г.
Второй и третий слой сваривают
аналогично с учетом требований.
Последующий слой можно накладывать
участками длинной, равной половине окружности трубы. При сварки верхнего
участка вертикальных неповоротных стыков паропровода должны соблюдаться
требованиям.
Сварку первых трех слоев в стыках
труб диаметра 273мм, следует выполнять обратноступенчатым способом, при этом
длинна каждого участка должны быт в пределах 200-250мм. Длинна участков
последующих слоев может составлять половину окружности стыка.
При сварки вертикальных слоев
паропроводов из низколегированных сталей высота каждого слоя должна составлять
6-10мм, ширина одного слоя не более 35мм. Свариваемый и защищенный стык труб с
толщенной стенки 6мм и более, каждый сварщик должен клеймить присвоенным ему
клеймом. Каждый сварщик ставит свое клеймо в верхнем конце участка, который он
выполнял. Клеймение стыков паропроводов диаметром более 100мм из перлитных
сталей производиться с помощью металлической пластины 40х30х2мм, на которой
выбивается клеймо сварщика.
Таблица 9- Горелки
электрододержателей для ручной аргонодуговой сварки вольфрамовым электродом
|
Марка
горелки1*
|
Максимальный
сварочный ток, А
|
Диаметр
электрода, мм
|
Марка
горелки
|
Максимальный
сварочный ток, А
|
Диаметр
электрода, мм
|
|
ЭЗР-5-22**
|
80
|
1;
1,5
|
МГВ-13*
|
400
|
2...6
|
|
ЭЗР-32**
|
160
|
1,5;
2,3
|
ГРАД-2003*
|
250
|
2...4
|
|
ЭЗР-43**
|
500
|
4...6
|
ГРАД-4003*
|
400
|
3...7
|
|
МГ-32**
|
800
|
|
|
|
1*
При использовании горелок для ручной аргонодуговой сварки вольфрамовым
электродом длина кабеля-шланга должна составлять 2...3 тыс. м.
2**
Охлаждение естественное.
3**
Охлаждение водяное.
.7 Выбор сварочных материалов
Для ручной и дуговой сварки в среде аргона в
качестве неплавящегося электрода следует применять вольфрамовые электроды из
вольфрама, ЭВИ-2, по ГОСТ 23949, лантанированного вольфрама марки ВЛ по ТУ
48-19-27-87 диаметром 3 мм.. Для легкого возбуждения дуги и повышения
стабильности ее горения конец вольфрамового электрода необходимо затачивать на
конус; длина конической части должна составлять 6-10, а диаметр притупления
0,2-0,5 мм.
Электроды должны соответствовать марки стали
конструкции. В данном случае применяют электроды марки ТМЛ-3,типа Э-09Х1МФ. Они
выпускаются серийно диаметром 3…4мм. Предназначены для сварки паропроводов из
сталей марок 12МХ, 12Х1МФ, 15ХМФ, 20ХМФЛ и 15Х1М1ФА, работающих при температуре
до 570 С и элементов поверхности нагрева из сталей марок 12МХ, 12ХМФ, 12Х2МФБ,
12Х2МФСР не зависимо от рабочей температуры, а так же заварки дефектов в
элементах из тех же сталей. Коэффициент наплавки 9,5-10,2 г/Ач
Перед сваркой прокалка электродов по режиму Т=
3600С, в течении двух часов. Затем используют в течении двух суток.
Таблица 7 - Химический состав наплавленного
металла электродов ТМЛ-3
|
С
|
Si
|
Mn
|
Cr
|
Mo
|
S
|
P
|
V
|
|
0,08-0,13
|
0,15-0,45
|
0,5-0,9
|
0,8-1,2
|
0,4-0,7
|
0,04
|
0,04
|
0.15-0.3
|
Для сварки трубопровода подобрана сварочная
проволока из стали Св-08ХМФА, так как она подходит по химическому составу (ГОСТ
2246)
Таблица 8 - Хим. состав сварочной проволоки
Св-08ХМФА
|
С
|
Mn
|
Si
|
Cr
|
Ni
|
V
|
Mo
|
S
|
P
|
|
0.6-0.20
|
0,35-0,60
|
0,12-0,30
|
0,9-1,2
|
≤30
|
0.15-0.3
|
0,5-0,7
|
Не
более
|
|
|
|
|
|
|
|
0,025
|
0,025
|
.8 Выбор рода тока, источников питания,
сварочного оборудования
Постоянный ток, обратная
полярность.
Для сварки я выбираю постоянный
ток так как дуга горит равномерно и образуется качественный сварочный шов без
трещин и непроваров. Обратная полярность используется при сварке материалов с
отражающей оксидной пленкой на поверхности, которая имеет большую температуру
плавления, чем сам материал.
В качестве источника питания
выбираю инвертор Caddy Arc 201i.
Таблица 9 -Технические
характеристики инвертора Caddy Arc 201i.
|
Технические
характеристики:
|
Caddy™
Arc 201i
|
|
Напряжение
питания В/Гц
|
230/50
|
|
Плавкий
предохранитель, A
|
16
|
|
Допустимая
нагрузка при 40.C, MMAПВ 25%, A/ВПВ 60%, A/В ПВ 100%, A/В
|
170/26,8130/25,2
110/24,4
|
|
Допустимая
нагрузка при 40.C, TIGПВ 25%, A/ВПВ 60%, A/В ПВ 100%, A/В
|
150/16
120/14,8110/14,4
|
|
Диапазон
тока MMA (А31), A
|
-
|
|
Диапазон
тока MMA (А33), A
|
4
- 170
|
|
Диапазон
тока TIG (А33), A
|
3
- 220
|
|
Напряжение
холост. хода (А31), В
|
72
|
|
Напряжение
холост. хода (А33), В
|
72
|
|
Габариты
Д х Ш х В, мм
|
418x188x208
|
|
Масса,
кг
|
8,3
|
Таблица 11- Газоэлектрическая горелка АГС-3
|
тип
|
ток
|
Электрод(вольфрамовый)
|
Рас.
газа
|
Головка
горелки
|
масса
|
|
АГС-3
|
140
|
диаметр
|
вылет
|
4-5
|
высота
|
диаметр
|
Материал
|
260
|
|
|
2,5-3
|
15
|
|
70
|
22
|
латунь
|
|
.9 Выбор и расчет режимов сварки
Для трубопровода выбрана ручная дуговая и ручная
аргонодуговая сварка. Сталь 12Х1МФ диаметр 273х21, разделка ТР-2.
2.10 Контроль качества сборки и сварки
В процессе изготовления, монтажа и ремонта
трубопроводов и трубных систем котлов необходимо осуществлять систематический
контроль качества сварных работ и сварных соединений - предварительный контроль
(включая входной контроль), операционный контроль и приемочный контроль сварных
соединений.
Требования к методам, объемам и объектам
предварительного контроля, включающего проверку аттестации персонала, проверку
оборудования и аппаратуры, контроль основных и сварочных материалов, а также
требования к операционному контролю сборочных работ, наложены в соответствующих
разделах настоящего РД.
Визуальный и измерительный контроль:
Перед визуальным контролем сварные швы и
прилегающая к ним поверхность основного металла шириной не менее 20 мм (по обе
стороны шва) должны быть очищены от шлака, брызг расплавленного металла,
окалины и других загрязнений. Визуальный контроль производится невооруженным
глазом или с помощью лупы 4 - 7-кратного увеличения для участков, требующих
уточнения характеристик обнаруженных дефектов, с применением, при необходимости,
переносного источника света.
Таблица 14 - нормы допустимых дефектов,
выявляемых при визуальном контроле сварных соединений
|
Дефект
|
Размерный
показатель сварного соединения, мм
|
Допустимый
максимальный размер дефекта, мм
|
Допустимое
число дефектов на любых 100 мм шва
|
|
Западины
между валиками и чешуйчатость поверхности шва
|
Свыше
10
|
2,0
|
Не
ограничивается
|
|
Дефект
|
Размерный
показатель сварного соединения, мм
|
Допустимый
максимальный размер дефекта, мм
|
Допустимое
число дефектов на любых 100 мм шва
|
|
Одиночные
включения
|
Свыше
20 до 40
|
2,5
|
7
|
|
Подрезы
основного металла
|
Независимо
|
0,2
|
-
|
|
Отклонения
от прямолинейности сварных стыков
|
Независимо
|
Просвет
между линейкой и трубой на расстоянии 200 мм от стыка не должен быть более 3
м.
|
Стилоскопирование деталей и металла шва:
Все свариваемые части конструкций и деталей
(трубы, арматура, переходы, отводы, тройники, штуцера, бобышки и др.)
независимо от наличия сертификата, маркировки и предстоящего срока
эксплуатации, которые должны быть по проекту выполнены из легированной стали
(кроме низколегированных конструкционных), при этом устанавливают соответствие
марки стали контролируемых изделий марке, указанной в чертежах или ТУ, и
определяют содержание характерных легирующих элементов. Стилоскопирование
свариваемых деталей производят перед сборкой или непосредственно в процессе
сборки, а также после окончания монтажа (ремонта) трубопровода или агрегата в
целом.
УЗД основана на пропускании сквозь
конструируемый материал ультразвуковых волн, представляющих собой упругие
колебания высокой частоты (0,2 - 10 мГц) и на последующем улавливании
отраженного или прямого сигнала ультразвуковые волны получают различными
способами. Ультразвуковую дефектоскопию проводят в соответствии с требованиями
ГОСТ 14782 и руководящей документацией РД3417.302-97. При испытаниях пользуются
дефектоскопом УД - 12.
Таблица 15 - технические характеристики УД - 12.
|
Рабочая
частота, мГц
|
Глубина
прозвучивания, мм
|
Масса,
кг
|
|
1,8;2,5;5
|
120
|
2,5
|
Полученные данные сравнивают с допустимыми
значениями.
Таблица 16 - допустимые значения
|
Размер,
мм
|
Эквивалент
несплошности, Число
несплошностей на 100 ммПротяженность несплошности, мм
|
|
|
|
Минимальный
|
Максимальный
|
|
В
корне шва
|
В
сечении
|
|
18
-26
|
2,5
|
5,0
|
8
|
20%
периметра шва
|
5,0
|
При гидравлическом испытании необходимо
установить в высших точках испытуемого трубопровода воздушники, а в нижних -
спускники. После достижения испытательного давления трубопровод отключают от
пресса или насоса. Испытательное давление держится в течении 5 мин. После этого
оно снижается до рабочего, при этом давлении тщательно осматривают сварные швы
и прилегающие к ним участки основного металла трубопровода. Результаты
считаются удовлетворительными , в сварных швах не обнаружено течи, «слезок» и
«потения» и изделие не получило видимых остаточных деформаций.
.11 Методы уменьшения сварочных напряжений и
деформаций
Для уменьшения остаточных сварочных напряжений в
данном технологическом процессе применены следующие способы:
а) вместо стяжных уголков, являющихся концентраторами
напряжений, используется приспособление секторного типа;
б) отказ от подкладного кольца позволил снизить
уровень остаточных напряжений;
в) послойное заполнение разделки способствует
равномерному распределению напряжений по периметру шва;
г) предварительный подогрев и последующая
термообработка также их уменьшили;
д) одновременная сварка двумя сварщиками
Проведение этих операций позволит получить более
качественный сварной шов.
.12 Термическая обработка сварных соединений
Высокий отпуск заключается в нагреве
сварного соединения до температуры несколько ниже критической точки 
, например до 600 - 700
для углеродистой или
низколегированной стали, продолжительной выдержке (от одного до нескольких
часов) и последующем медленном охлаждении. Цель отпуска - снижение уровня
остаточных сварочных напряжений и повышение пластичности металла сварного
соединения. Высокому отпуску подвергаются сварные соединения трубопроводов из
различных сталей.
Рисунок 8 -температурный график
термической обработки сварных соединений труб.
Рисунок 9 - схема нагрева
индуктивным способом. 9 - индуктор; 10 - магнитный поток.
Индуктивный способ нагрева основан
на нагревании сварного соединения электрическим током, индуктированным в тело
трубы переменным магнитным полем. Нагревательным устройством служит индуктор, представляющий
собой соленоид в виде катушки из медного или аллюминевого проводника. По виткам
этого индуктора, которые охватывают сварное соединение, пропускается переменный
ток, создающий переменное электромагнитное поле, которое в свою очередь с той же
частотой наводит электрический ток в нагреваемый участок трубопровода. Величина
индуктивного тока зависит от напряженности магнитного поля, определяемой числом
ампер-витков индуктора.
Таблица 17 - технические
характеристики индуктора
|
Диаметр
трубы, мм
|
Длина,
мм
|
Число
витков
|
Площадь
сечения,  U, ВI,
АМощность, кВТ
|
|
|
|
|
194
- 245
|
350-550
|
12-20
|
240
|
25-30
|
800-1400
|
35-40
|
Индуктор нагревают до температуры
710 - 740
. Затем выдерживают в течении одного
часа после чего стык медленно остывает под слоем асбеста. Для теплоизоляции
нагреваемых сварных соединений при термической обработке индукционным и газопламенном
способами используются асбестовые материалы: ткань АСТ - 1, АТ - 7, АТ - 8 ГОСТ
6102 -78.
Таблица 18 - технические
характеристики трансформатора ТСД-1000-3
|
Первичное
напряжение, В
|
Напряжение
холостого хода, В
|
Пределы
регулирования током вторичной цепи, А
|
Способ
регулирования
|
Расчетный
номинальный режим работы
|
Габариты
|
|
220;380
|
69
и 78
|
400-1200
|
Плавное
регулирование механизированным способом
|
ПВ=60
|
950х815х1215
|
Термоэлектрический преобразователь (термопара)
ГОСТ 6616 - 74 - термочувствительный индуктор, в котором тепловая энергия
преобразуется в электрическую, состоит из двух разнородных металлических
проводников - термоэлектродов. Один обозначается знаком плюс (+), другой минус
( - ).
При выполнении термических работ
широкое применение получили хромель-алюмелевые термопары типа ТХА с
градуировкой ХА65 с диапазоном измерения от -200 до +1300 
с диаметром 1,2 - 3,2 мм.
Рисунок 10 - Двухсекционный гибкий
индуктор 1 - труба; 2, 3 - секции индуктора; 4 - ось сварного стыка; ИП -
источник питания
Процесс термообработки имеет следующий
температурный график
Рисунок 13.Температурный график термообработки.
Таблица 22- Режим термообработки стыковых
сварных соединений трубных элементов.
|
Сталь
|
Режим
термообработки
|
|
12Х1МФ
|
Температура
нагрева
|
Длительность
выдержки;ч
|
|
720-750
|
3
|
3. ОРГАНИЗАЦИОННАЯ ЧАСТЬ
.1 Охрана труда и техника безопасности
.