Разработка мехатронной системы пастеризации молока

  • Вид работы:
    Курсовая работа (т)
  • Предмет:
    Другое
  • Язык:
    Русский
    ,
    Формат файла:
    MS Word
    138,42 Кб
  • Опубликовано:
    2016-02-08
Вы можете узнать стоимость помощи в написании студенческой работы.
Помощь в написании работы, которую точно примут!

Разработка мехатронной системы пастеризации молока















Разработка мехатронной системы пастеризации молока

ВВЕДЕНИЕ

Одной из основных тенденций развития современного машиностроения является внедрение в технологический процесс производства мехатронных технологических машин и роботов. Мехатронный подход в построении машин нового поколения заключается в переносе функциональной нагрузки от механических узлов к интеллектуальным компонентам, которые легко перепрограммируются в новую задачу и при этом являются относительно дешевыми. Мехатронный подход к проектированию предполагает не расширение, а именно замещение функций, традиционно выполняемых механическими элементами системы на электронные и компьютерные блоки. Понимание принципов построения интеллектуальных элементов мехатронных систем, методов разработки алгоритмов управления и их программной реализации является необходимым условием для создания и внедрения мехатронных технологических машин. Пастеризация является в настоящее время самым простым и дешевым способом обеззараживания молока. Нужно отметить, что пастеризацию осуществляют при производстве всех молочных продуктом для того, чтобы избежать негативного их воздействия и развития.

Существует три режима пастеризации.

В первом случае молоко нагревают до температуры около 63 градусов Цельсия и выдерживают 30 минут. Данный процесс называется длительной пастеризацией.

Кратковременная пастеризация осуществляется при температуре около 75 градусов. Сам процесс длится 15-20 секунд, после чего молоко постепенно охлаждают.

Мгновенная пастеризация осуществляется при температуре около 90 градусов Цельсия. При этом задержки не осуществляется.

При пастеризации молока изменяются различные его свойства. Так, изменяются некоторые соли, изменяется кислотность, разрушаются отдельные виды аминокислот. Вместе с тем, благодаря пастеризации можно добиться более долгой сохранности молока, уменьшает способность молока к свертыванию.

1. ТЕХНОЛОГИЧЕСКИЙ ПРОЦЕСС УЧАСТКА ПРОИЗВОДСТВА

Принятое молоко проходит первичную обработку, в процессе которой оно сначала очищается от механических примесей на фильтрах или сепараторах-молокоочистителях, а затем оно охлаждается до 4.. .6 °С на пластинчатых охладителях 4 и насосами 1 по трубам через уравнительный бачок 5 направляется в емкости хранения 3. Молоко с температурой не выше 10 °С допускается принимать без охлаждения. Охлажденное молоко хранится в емкостях 3 и нормализуется.

При производстве белкового молока используют сухое молоко, которое предварительно растворяют в емкости 10.

Для предотвращения отстоя жира и образования в упаковках сливочной пробки при производстве молока топленого, восстановленного и с повышенной массовой долей жира (3,5.. .6,0 %) нормализованное молоко подогревают до 40.. .45 °С и очищают на центробежных сепараторах-молокоочистителях 7 и обязательно гомогенизируют в гомогенизаторах 8 при температуре 45...63 °С и давлении 12,5... 15 МПа. Затем молоко пастеризуют при 76 °С (±2 °С) с выдержкой 15.. .20 с и охлаждают до 4...6 °С с использованием пластинчатых пастеризационно- охладительных установок 6. Эффективность пастеризации в таких установках достигает 99,98 %.

При выработке топленого молока нагрев осуществляют при температуре 95.. .99 °С в трубчатых или пластинчатых пастеризаторах 9. Выдержку при данной температуре или процесс топления молока проводят в закрытых емкостях 3 в течение 3.. .4 ч. После топления молоко охлаждают в пластинчатых пастеризационно- охладительных установках до температуры 4...6 °С.

Затем молоко при температуре 4...6 °С поступает в промежуточную емкость 3, из которой направляется на фасование. Перед фасованием выработанный продукт проверяют на соответствие требованиям стандарта.

Пастеризованное молоко выпускают в стеклянных бутылках и бумажных пакетах, мешках из полимерной пленки, а также во флягах, цистернах с термоизоляцией, контейнерах различной вместимости. Фасование молока в мелкую упаковку проводится на автоматических линиях большой производительности, состоящих из нескольких машин, соединенных между собой конвейерами

2. ВЫБОР И ОБОСНОВАНИЕ ПАРАМЕТРОВ КОНТРОЛЯ И РЕГУЛИРОВАНИЯ

МС предназначены для поддержания определенного избыточного давления в пастеризаторе молока. За счет этого в установке обеспечивается производство качественного молока, чистого пастеризованного молока.

Контролируются следующие параметры:

Регулирование избыточного давления в пастеризаторе. Позволяет поддерживать давление подаваемого нагретого пара для стабилизации потока внутри установки. В случае отклонения мехатронная система сигнализируют о превышении в пастеризаторе давления, регулируя до стационарного значения.

Контроль температуры внутри. Предоставляет информацию об образовании температуры молока для соблюдения температурного режима и как следствие более точного и качественного продукта.

Контроль температуры на выходе из змеевикового охладителя. Выдает информацию об образовании температуры на выходе из пастеризатор, что позволяет не нарушать технологию.

Контроль уровня в танке обеспечивает точный уровень молока и запас его для производства.

Контроль расхода молока на выходе из пастеризатора обеспечивает рациональную подачу молока в цех для дальнейшей обработки и упаковки.

Таблица 1. Технологические параметры, подлежащие контролю и регулированию

Наименование измеряемых величин

 Наименование параметра

Тип преобразователя

Место отбора

Среда воздействия

Регулирование избыточного давления в пастеризаторе молока

12-15 МПа

Тензопреобразователь избыточного давления Метран-100-ДИ 4-20мА

пастеризатор

молоко

Контроль температуры на выходе из змеевика

2-6 °С

Термопреобразователь сопротивления медный температуры Метран-203 гр. 50М 4-20 мА

На выходе из змеевика

Молокопровод на выходе

Контроль уровня молока в танке номер 3

100 л

Радарный уровнемер VEGAPULS 61. Точность измерения: +/- 2 мм. 4-20 мА

Верхняя часть танка

Верхний уровень молока

Контроль уровня молока в танке 1 и 2

150 л

Радарный уровнемер VEGAPULS 61. Точность измерения: +/- 2 мм. 4-20 мА

Верхняя часть танка

Внутри танка

Контроль расхода молока на выходе при подаче в цех

30 м3

Ультразвуковой расходомер UFM 530 HT 4-20 мА

пастеризатор

молокопровод



3. ВЫБОР СРЕДСТВ АВТОМАТИЧЕСКОГО КОНТРОЛЯ ПАРАМЕТРОВ

.1 Контроль температуры на выходе из змеевикового охладителя

В качестве первичного преобразователя для измерения температуры используется термопреобразователь сопротивления медный Метран-203 гр.50М. Принцип действия основан на свойстве медной проволки, изменять электрическое сопротивление при изменении температуры. Статическая характеристика преобразования сопротивления медной проволоки выражается уравнением:

Rt = R0(1 + α * t),

где

где, α - температурный коэффициент, равный 0,00428 °С-1; 0 - сопротивление ТСМ при 0 °С.

В головке встроен нормирующий преобразователь электрического выходного сигнала 4-20 мА.

Таблица 2. Техническая характеристика термопреобразователя сопротивления медного Метран-203 гр.50М

Параметры прибора

Величина

Выходной сигнал, мА

4 - 20

Длина датчика, мм

150

Диапазон рабочей температуры, 0С

- 50 … +180

Градуировка, гр.

50М

Величина рабочего тока, мА

5

Показатель тепловой инерции, с

10 … 30

Сопротивление изоляции, Мом

100

Материал защитной арматуры

сталь 12Х18Н10Т


Термопреобразователь сопротивления медный Метран - 203 гр.50М подключен измерителю Метран-950.

Измеритель Метран-950 предназначен для непрерывного преобразования от сопротивления, в выходной унифицированный токовый сигнал 4…20 мА. Фиксирует изменение температуры термопреобразователя сопротивления медного. Технические характеристики одноканального измерителя Метран-950 приведены в таблице 3.

Таблица 3. Технические характеристики одноканального измерителя Метран-950

Параметры прибора

Величина

Питание, В

~220

Потребляемая мощность, ВА

8

Количество универсальных входов

1


.2 Контроль уровня молока в танке

В качестве первичного преобразователя для измерения уровня используется Радарный уровнемер VEGAPULS 61 предназначен для непрерывного измерения уровня жидкостей при несложных условиях процесса. Имеются различные возможности монтажа датчика. VEGAPULS 61 имеет герметизированную антенную систему и не требует обслуживания.

− Бесконтактное измерение

− Высокая эксплуатационная готовность, нет износа, не требуется

обслуживание

− Точные результаты измерения независимо от условий процесса

Таблица 4. Технические характеристики первичного преобразователя Метран-202

Параметры прибора

Величина

Диапазон измерения, м

До 35

Градуировка, гр

VEGAPULS 61

Длина погружаемой части, мм

0

Выходной сигнал, мА

4 - 20

Материал защитной арматуры

сталь 15Х25Т


В качестве вторичного прибора использован двухканальный измеритель 2ТРМ0 технические характеристики приведены в таблице 5 которому подключены термоэлектрические преобразователи температуры на клеммы 9, 10, 11, 12. Прибор конструктивно выполнен в пластмассовом корпусе, предназначенном для щитового крепления.

Все элементы прибора размещены на двух печатных платах:

Измерительная плата (логическое устройство - ЛУ),

Силовая плата (выходное устройство - ВУ), а также присоединительный клемник.

Таблица 5. Технические характеристики измерителя 2ТРМ0

Параметры прибора

Величина

Напряжение, В

~ 220

Частота, Гц

50

Потребляемая мощность, ВА

6

Время опроса одного входа, с

не более 0,4

Количество универсальных входов

2


.3 Контроль расхода на выходе из пастеризатора

Бесконтактный ультразвуковой расходомер UFM 530 HT состоит из первичного датчика UFS 500 HT(2 пьезоэлемента) и конвертера сигналов UFC 030.

Действие ультразвукового расходомера основано на изменении сдвига фаз ультразвуковых колебаний в зависимости от скорости среды в трубопроводе. Разность фаз между колебаниями, создаваемыми источником (пьезоэлемент), и колебаниями после прохождения по длине трубы через двигающийся поток принимаемый приемником (пъезоэлемент), служит мерой бесконтактного расхода.

Таблица 6. Технические характеристики расходомера UFM 530 HT

Параметры прибора

Величина

Диапазон скорости потока, м/сек

0,5 - 20

Материал защитной арматуры

сталь марки 08Х17Н13М2

Выходной сигнал, мА

4 - 20

Питание, В

~ 220

Частота, Гц

50

Потребляемая мощность, ВА

10



4. ВЫБОР СРЕДСТВ РЕГУЛИРОВАНИЯ И УПРАВЛЕНИЯ

пастеризация молоко мехатронный

4.1 Регулирование давления в пастеризаторе

Для измерения избыточного давления пара применяют преобразователь избыточного давления Метран-100-ДИ.

Датчик состоит из тензопреобразователя и электронного преобразователя.

Чувствительным элементом тензопреобразователя является пластина из монокристаллического сапфира прочно соединенной с металлической мембраной тензопреобразователя образующих мостовую схему с четырьмя кремневыми плёночными тензопреоразователями.

Измеряемая избыточное давление подается в камеру сенсорного блока (преобразователь давления) и преобразуется в деформацию чувствительного элемента (тензопреобразователя), вызывая при этом изменение электрического сопротивления тензорезисторов.

Внутренние полости датчика заполнены кремнийорганической жидкостью. Измеряемая разность давлений воздействует на мембраны и через жидкость воздействует на мембрану тензопреобразователя, вызывая изменение сопротивления тензорезисторов. Электронный преобразователь датчика преобразует это изменение сопротивления в токовый выходной сигнал.

В качестве вторичного прибора использован измеритель - регулятор Метран-961 технические характеристики приведены в таблице 7 которому подключен датчик избыточного давления Метран-100-ДИ.

Таблица 7. Технические характеристики тензорезисторного преобразователя Метран-100-ДИ

Параметры прибора

Величина

Предел измерения, МПа

0,16 … 1

Выходной сигнал, мА

4 - 20

Питание, В

+ 12


Измеритель - регулятор Метран-961 предназначен для измерения, регулирования избыточного давления в мазутопроводе.

Прибор конструктивно выполнен в пластмассовом корпусе, предназначенном для щитового крепления. Все элементы прибора размещены на печатной плате. Измерительная плата (логическое устройство - ЛУ) и присоединительный клеммник.

На лицевой панели расположены клавиатура управления прибором, цифровой индикатор и светодиоды.

Таблица 8. Технические характеристики одноканального измерителя - регулятора Метран-961

Параметры прибора

Величина

Температура окружающей среды, ˚С

- 10 … + 60

Влажность окружающего воздуха, %

30 … 80

Габариты, мм

90 x 90 x 108

Питание, В

~220

Потребляемая мощность, ВА

4

Количество универсальных входов

1



5. МОНТАЖ СРЕДСТВ КОНТРОЛЯ И УПРАВЛЕНИЯ МЕХАТРОННОЙ СИСТЕМЫ

.1 Монтаж датчика избыточно давления

При монтаже датчика на трубопроводе должны соблюдаться следующие условия:

Датчик устанавливаться непосредственно на трубопроводе; у места отбора давления устанавливается отключающие вентили;

Соединительные линии к датчику прокладывают так, чтобы исключалось образование газовых мешков гидравлических пробок;

Продувка соединительных линий и датчика осуществляется через трехходовой кран. Перед включением датчика в работу трехходовой кран перед ним необходимо закрыть до заполнения соединительной линии, а также петлеобразной трубки остывшей жидкостью.

Руководство по эксплуатации датчика избыточного давления на технологическом трубопроводе, имеет защитные петлеобразные сифонные трубки.

Рис.2 Монтаж датчика избыточного давления в пастеризаторе

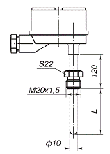
5.2 Монтаж термометра сопротивления

Термометр сопротивления монтируется так, чтобы чувствительный элемент находился в центре измеряемой среды. Для этого, погружая рабочую часть защитной арматуры, чтобы она не выступала за ось трубопровода 25-30 мм. На колене трубопровода чувствительный элемент термометра должен быть направлен навстречу, и расположен в центре потока измеряемой среды.

Подключают термометр с медным проводом, сечение которого выбирают в зависимости от градуировки вторичного прибора и расстояния от места отбора импульса до показывающего прибора.

Рис.3 Монтаж термометра сопротивления

.3 Монтаж термоэлектрического преобразователя

Установка термопреобразователя осуществляется следующим образом: монтируют в трубопроводе с помощью бобышки. Для монтажа бобышки просверливают необходимое вертикальное отверстие в трубопроводе. Установив уплотнительное кольцо на гильзу и ввернуть ее в бобышку. Удостоверится на герметичность получившуюся закладную конструкцию. Перед установкой термопреобразователя заполнить гильзу примерно на 1/10 часть высокотемпературным силиконовым маслом. После установки термопреобразователя необходимо термоизолировать выступающие над трубопроводом части конструкции, обмотав асбестовым шнуром.

 

Рис. 5 Монтаж термоэлектрического преобразователя

.4 Монтаж электропроводки

Для монтажа электропроводок систем автоматизации используются унифицированные конструкции лотков, в состав которых входят различные элементы(угольники, тройники, крестовины, элементы проходов через стены и т. д.). На лотках провода и кабели должны прокладываться пучками, вплотную друг к другу в один слой. Лотки устанавливаются на высоте не менее 1,7 метров от уровня пола или площади обслуживания.

.5 Монтаж МЭО

Исполнительные механизмы монтируют вблизи регулирующих органов в строгом соответствии с проектом в хорошо освещенных местах, не подверженных вибрации. Устанавливают их на полу, на специальных подставках, при этом ось выходного вала исполнительного механизма должна занимать горизонтальное положение. Выходной вал исполнительного механизма соединяют с валом регулирующего органа кривошипом и жесткой тягой. Узлы соединения исполнительного механизма с регулирующим органом не должны иметь люфтов. Длина тяги должна быть минимальной, её выбирают в зависимости от расстояния между исполнительным механизмом заслонкой.

6. рАЗРАБОТКА ФУНКЦИОНАЛЬНОЙ СХЕМЫ АВТОМАТИЗАЦИИ а2

Функциональную схему автоматизации выполняют на одном листе, на котором изображают средства автоматизации и аппаратуру всех систем контроля, регулирования относящихся к установке каталитического крекинга с условным изображением щита управления в виде прямоугольника (в нижней части чертежа), в котором показываются устанавливаемые на нем средств автоматизации.

Первичные преобразователи установлены на установке постеризации молока присоединенные проводами к вторичным приборам вмонтированные на щите оператора.

При построении технологической схемы дает только общее представление о принятых решениях по автоматизации установке каталитического крекинга, достигается сокращение документации.

Приборы и средства автоматизации, встраиваемые в технологическое оборудование механически связанные с ними изображают в непосредственной близости от них.

Для указателя положения дистанционного необходимо показывать существующую механическую связь.

Прямоугольник щита следует располагать в такой последовательности, чтобы при размещении в них обозначении приборов и средств автоматизации обеспечивалась наибольшая простота и ясность схемы, и минимум пересечении линии связей.

.1 Регулирование давления в пастеризаторе

Для регулирования избыточного давления пара используется преобразователь избыточного давления тензорезисторный Метран-100-ДИ (поз.1а), присоединен к измерителю - регулятору Метран - 961 (поз.1б), к нему подключен задатчик РЗД-22(поз.1в), с помощью которого задается значения регулируемого параметра.

Автоматическое или ручное регулирование осуществляется ключом выбора режима ПП2-10 (поз.1г). Ручное управление осуществляется тумблером типа ПВ1-10 (поз.1д).

В случае неравенства регулируемого избыточного давления с заданным, в регулирующем устройстве формируется сигнал рассогласования, поступающий на тиристорный пускатель бесконтактный реверсивный ПБР-2И (поз.1е), включающий исполнительный механизм типа МЭО-16/25-0,25-93 (поз.1ж), который перемещает седельный однооборотный регулирующий клапан ARI-STEVI 462 (поз.1з) до установления текущего значения равным заданному. Указатель положения дистанционный ДУП-М (поз.1и) подключен к исполнительному механизму.

.2 Контроль температуры на выходе из пастеризатора

Для контроля температуры молока используется термопреобразователь сопротивления медный ТСМ (поз.2а), который соединяется с измерителем Метран - 950(поз.2б).

.3 Контроль расхода молока в цех

Для контроля расхода молока в цех используется первичный датчик UFS 500 HT (поз.5а), представляет собой двунаправленный расходомер, который соединяется с конвертером сигналов UFC 030(поз.5б).

7. СОСТАВЛЕНИЕ ПРИНЦИПИАЛЬНОЙ СХЕМЫ э3, ЕЁ ОПИСАНИЕ

Принципиальная электрическая схема определяет полный состав приборов, аппаратов и устройств (а так же связей между ними), действие которых обеспечивает решение задач регулирования, управления, измерения и сигнализации.

.1 Система автоматического управления (САУ) пастеризатором молока

Эта схема служит для изучения принципа действия САУ ректификационной колонны, она необходима при производстве наладочных работ и в эксплуатации.

Принципиальная электрическая схема представляет собой определенным образом составленная элементарная электрическая цепь и типовые функциональные узлы выполняющие ряд стандартных операции:

Передача командного сигнала от органа управления к исполнительному органу

Усиление командного сигнала, сравнение, превращение кратковременных сигналов в длительные и, наоборот.

.2 Система автоматического контроля (САК)

К элементарной цепи относятся типовая схема включения измерительных приборов различного измерения физических параметров из первичного преобразователя и вторичного прибора.

7.3 Четкость действия схемы при аварийных режимах

Принципиальная электрическая схема в мехатронной системе технологического процесса должна быть построена таким образом, чтобы при возникновении аварийных режимов, вызванных неисправностью в цепи управления, а также при полном исчезновении или снижении и последующем восстановлении напряжения в главной (силовой), цепи управления обеспечивалась безопасность обслуживающего персонала, и предотвращалось дальнейшее развитие аварии, приводящее к повреждению механического или электрического оборудования и браку выделенных фракции нефтепродуктов в ректификационной колонне.

.4 Описание принципиальной электрической схемы

Питание подается с вторичной обмотки понижающего трансформатора, напряжение ~220В, 50Гц.

К питанию подключены: измеритель-регулятор Р1 клеммы (9, 10); измеритель РS2, PS3 на клеммы (1, 2); измеритель РS4 на клеммы (2, 3); бесконтактный реверсивный тиристорный пускатель КМ1 клеммы (1, 2); дистанционный указатель положения РS1 клеммы (1, 2).

Регулирование давления в пастеризаторе осуществляется с помощью измерителя - регулятора Р1. Клеммам (3, 4) подключен встроенный блок питания GB, которому подключен датчик избыточного давления ВР на клеммы (3, 4), а на клеммы (17, 18, 19) подключен задатчик RP. Вырабатываемый сигнал рассогласования через ключ выбора режима SA клеммы (7, 8, 12) на пускатель бесконтактный реверсивный тиристорный КМ. На клеммы (7, 8, 9, 10) и с клемм (3, 4, 5, 6) включают исполнительный механизм Y. Дистанционный указатель положения РS1 клеммы (3, 4, 5) подключается к индуктивному датчику исполнительного механизма Y. Сигнализация подключена на клеммы (1,2) измерителя - регулятора P1.

Контроль температуры верхней части колонны осуществляется одноканальным измерителем РS2. Клеммы (9, 10, 11) подключен термопреобразователь сопротивления медный ТСМ ВК1.

Контроль температуры средней и нижней части колонны осуществляется двухканальным измерителем РS3. Клеммы (9, 10) подключен преобразователь термоэлектрический хромель-копелевый BK2, на клеммы(11, 12) подключен преобразователь термоэлектрический хромель-копелевый BK3.

8. выбор и компоновка щита автоматизации

Щит систем автоматизации предназначен для размещения на нём средств контроля и управления технологическим процессом, контрольно - измерительных приборов, сигнальных устройств, автоматического управления, защиты, блокировки, линий связи между ними.

Выбираем щит на основании ОСТ 36.13-76. тип ЩШ-ЗД 2200*800*600(щит шкафной с задней стенкой).

Щит должен соответствовать ОСТ 36.13-76. и руководящим материалам РМ3-82-83. Щит предназначен для установки в закрытых помещениях с температурой окружающей среды от -30оС до +50оС и относительной влажностью не более 80%, с отсутствием вибрации агрессивных газов, паров и токопроводящей пыли.

Каркас состоит из четырёх стоек, скрепленных болтами, верхней и нижней рамки. С передней стороны каркаса между стойками устанавливают одну или две перемычки швеллера для крепления фасадных панелей. Стойка выполнена в виде швеллера с приваренными на концах кронштейнами, имеющими отверстия для крепления стоек к рамам. Рама сварена из двух одинаковых деталей швеллерного типа.

Для эффективного восприятия информации приборы располагают на следующих уровнях:

показывающие приборы - 1800мм;

регуляторы - 1500мм;

автоматические выключатели, предохранители, розетка - 1500мм, 2000мм и 1200мм соответственно;

На основании РТМ 25-91-82 необходимо чтобы между фланцами приборов, крепления хвостовых частей, было не менее 70мм снизу и не менее 30мм сверху.

Сам шкафной щит монтируется в аппаратном помещении на металлическом основании из швеллера, приваривается и заливается бетоном. Положение аппаратов внутри щита должно соответствовать требованиям инструкции эксплуатации.

Заземление приборов в щите производится: провод, прикрепленный к корпусу прибора, находящегося под напряжением, крепится к боковой стенке в нижней части щита. Щит крепится швеллером к общему заземлению цеха, которое подсоединено к металлическому пруту, забитого в землю на глубину 1,5-2 метра. Положение щита должно быть строго вертикальным. Щиты монтируются после завершения в них всех сборочных работ при t = ± 15˚С.

Питание в щите осуществляется по кабельным трассам, в нижней части щита.

9. Схема соединений внешних проводок А5

Электрические проводки к приборам и средствам автоматизации прокладывают по кратчайшему расстоянию между соединительными приборами, с минимальным числом поворотов, параллельно стенам и перекрытиям, и во избежание электрических помех, по возможности, дальше от технологического оборудования, электрооборудования, силовых осветительных линий.

Места прокладки электрических подводок должны быть доступны для монтажа и обслуживания. Особо повышенное требование предъявляют к прокладке измерительных, электрических подводок в связи с тем, что нарушение правил их прокладки может привести к снижению точности показаний всей измерительной системы, а в отдельных случаях - к выводу её из строя.

Кабель с металлической оболочкой к приборам и средствам автоматизации прокладывается на расстоянии не менее 100мм от параллельно проложенных кабелей другого назначения, и кабель с металлической оболочкой; для измерительной цепи автоматизации - на расстоянии не менее 50мм от другого кабеля к приборам средств автоматизации.

Электрический проводник надёжно защищает от сотрясения, вибрации или механических повреждений, а также от внешних влияний влажности, агрессивных газов и пыли.

10. НАЛАДКА ЭЛЕМЕНТОВ МЕХАТРОННОЙ СИСТЕМЫ

.1 Наладка измерителя-регулятора Метран-961

Перед началом работы необходимо ознакомиться с техническим описанием и инструкцией по эксплуатации измерителя-регулятора Метран-961.

При внешнем осмотре проверяют комплектность регулятора по сопроводительным документам, устанавливают наличие пломб завода-изготовителя, отсутствие внешних повреждений, прибор должен быть заземлён.

К клемнику на задней панели подключёны для каждого устройства подключен свой первичный датчик: тензорезисторный датчик избыточного давления Метран-100-ДИ.

Прибор может находиться в следующих режимах:

- Рабочий режим. В этом режиме прибор измеряет входной сигнал аналогового входа и в зависимости от измеренной величины управляет дискретными выходами и аналоговым токовым выходом в соответствии с настройками.

Режим ручного управления ПИД- регулятором. В этом режиме прибор измеряет входной сигнал, но выходное значение регулятора задается оператором вручную. Режим может использоваться для ручной настройки.

Тестовый режим. В этом режиме измерение сигналов универсального аналогового входа не выполняется. Режим может использоваться для тестирования работоспособности выходов прибора и логики их работы.

Аварийный режим. В этот режим прибор входит при наличии аварийных ситуаций, регулирование не осуществляется: все входы прибора устанавливаются в заданные в настройках состояния.

Режим поверки/калибровки. Специальный режим, в котором производится проверка и корректировка метрологических характеристик прибора.

.2 Наладка измерителя Метран-950

Метран-950 имеет два четырехразрядных светодиодных и три одиночных индикатора. Основное табло предназначено для отображения:

- числовых значений текущего измеряемого параметра в режиме измерения;

- символьных сообщений о состоянии блока в аварийных ситуациях - сообщения об ошибках.

Дополнительное табло предназначено для отображения:

- значения установки срабатывания одного из реле или типа входного сигнала (первичного преобразователя) в режиме измерения;

- символьных сообщений о состоянии блока в аварийных ситуациях -сообщения об ошибках.

.3 Наладка первичных преобразователей

На первом этапе проверяется правильность монтажа первичных измерительных приборов, затем выполняются работы по наладке первичных измерительных преобразователей в комплекте с каналами связи. Сопротивление электрической изоляции между обмотками и корпусом, а также между цепями преобразователей с двумя чувствительными элементами должно быть не менее 40мОм.

При низком сопротивлении изоляции следует проверять мегомметром на испытательное напряжение переменного тока 500В, при температуре 20±5˚С, и относительной влажностью окружающего воздуха до 80%. Электрическая изоляция должна выдержать указанное напряжение в течение 1минуты.

.4 Наладка исполнительного механизма МЭО-16/25-0,25-93

Выходной вал исполнительного механизма поворачивается на угол менее 360˚. Исполнительный механизм типа МЭО выпускается с диапазонами угла поворота выходного вала в пределах 0-90˚ или 0-240˚. Рабочий угол поворота в этих диапазонах настраивается путем регулирования конечных выключателей исполнительного механизма. Для предотвращения поломки исполнительного механизма в случае, если он не будет отключен конечным выключателем, однооборотные исполнительные механизмы имеют два настраиваемых механических упора с шагом фиксации их 3˚ в диапазоне угла поворота выходного вала. При наладке исполнительного механизма упоры устанавливают на угол, превышающий угол настройки конечных выключателей на 6-12˚ (3-6˚ на каждую сторону).

Чувствительные элементы датчиков жестко механически связаны выходным валом исполнительного механизма. Настройка диапазона действия датчика производится изменением передаточного числа этой механической связи.

11. ТАБЛИЦА СОЕДИНЕНИЙ ПРИБОРОВ НА ЩИТЕ

Для монтажа электропроводок систем автоматизации используются унифицированные конструкции лотков, в состав которых входят различные элементы (угольники, тройники, крестовины, элементы проходов через стены и т.д.). На лотках провода и кабели должны прокладываться пучками, вплотную друг к другу в один слой. Лотки устанавливаются на высоте не менее 2 метров от уровня пола или площади обслуживания.

Электропроводка в щите выполняется с помощью кабелей и проводов. Электропроводка внутри щита, подключение приборов КИПиА - используются провода:

ПВ - провод медный с поливинилхлоридной изоляцией.

таблица 10. Соединения проводок в щите

№ Провода

Откуда

Куда

Марка провода

1

2

3

4

801

XTC

SF:1

ПВГ 1х1

802

SF:2

P1:9

ПВГ 1х1

802

SF:2

KM:1

ПВГ 1х1

802

SF:2

PS1:1

ПВГ 1х1

802

SF:2

PS2:1

ПВГ 1х1

802

SF:2

PS3:2

ПВГ 1х1

802

SF:2

PS4:1

ПВГ 1х1

802

SF:2

PS5:2

ПВГ 1х1

802

SF:2

H

ПВГ 1х1

802

SF:2

XS

ПВГ 1х1

802

SF:2

EL:1

ПВГ 1х1

803

XT1

P1:10

ПВГ 1х1

803

XT1

KM:2

ПВГ 1х1

803

XT1

PS1:2

ПВГ 1х1

803

XT1

PS2:2

ПВГ 1х1

XT1

PS3:3

ПВГ 1х1

803

XT1

PS4:2

ПВГ 1х1

803

XT1

PS5:1

ПВГ 1х1

803

XT1

FU:1

ПВГ 1х1

804

P1:3

GB:1

ПВГ 1х1

805

P1:4

GB:2

ПВГ 1х1

401

P1:1

H:1

ПВГ 1х1

402

P1:2

H:2

ПВГ 1х1

120

GB1:3

BP:1

ПВГ 1х1

121

GB1:4

BP:2

ПВГ 1х1

122

BP:3

P1:6

ПВГ 1х1

123

BP:4

P1:7

ПВГ 1х1

124

P1:5

SA1:1

ПВГ 1х1

125

P1:8

SA1:3

ПВГ 1х1

126

P1:12

SA1:5

ПВГ 1х1

127

P1:14

XT:8

ПВГ 1х1

128

P1:15

XT:9

ПВГ 1х1

129

P1:16

XT:10

ПВГ 1х1

130

P1:17

RP:1

ПВГ 1х1

131

P1:18

RP:2

ПВГ 1х1

132

P1:19

RP:3

ПВГ 11х

133

SA1:2

XT:11

ПВГ 1х1

134

SA1:4

KM:8

ПВГ 1х1

135

SA1:6

XT:12

ПВГ 1х1

136

SA1:8

XT:13

ПВГ 1х1

137

SA1:7

KM:10

ПВГ 1х1

138

SB1:3

XT:14

ПВГ 1х1

139

SB1:4

XT:15

ПВГ 1х1

140

KM:7

XT:16

ПВГ 1х1

140

XT:16

Y1:9

ПВГ 1х1

141

KM:9

XT:17

ПВГ 1х1

141

XT4:17

Y1:10

ПВГ 1х1

142

KM:3

XT:18

ПВГ 1х1

143

KM:4

XT:19

ПВГ 1х1

144

KM:5

XT:20

ПВГ 1х1

145

KM:6

XT:21

ПВГ 1х1

146

PS1:3

XT:22

ПВГ 1х1

147

PS1:4

XT:23

ПВГ 1х1

148

PS1:5

XT:24

ПВГ 1х1

30

PS2:9

XT:1

ПВГ 1х1

31

PS2:10

XT:2

ПВГ 1х1

32

PS2:11

XT:3

ПВГ 1х1

33

PS3:9

XT:4

ПВГ 1х1

34

PS3:10

XT:5

ПВГ 1х1

35

PS3:11

XT:6

ПВГ 1х1

36

PS3:12

XT:7

ПВГ 1х1

37

PS4:7

BF:1

ПВГ 1х1

38

PS4:8

BF:2

ПВГ 1х1

39

FU:2

SB2:1

ПВГ 1х1

40

SВ2:2

EL:2

ПВГ 1х1

Земля

Рейка для уст.

BP

ПВГ 1х1

Земля

Рейка для уст.

P1

ПВГ 1х1

Земля

Рейка для уст.

Y

ПВГ 1х1

Земля

Рейка для уст.

PS1

ПВГ 1х1

Земля

Рейка для уст.

PS2

ПВГ 1х1

Земля

Рейка для уст.

PS3

ПВГ 1х1

Земля

Рейка для уст.

PS4

ПВГ 1х1

Земля

Рейка для уст.

BF

ПВГ 1х1



12. РАСЧЁТ И ВЫБОР ПИТАЮЩЕГО КАБЕЛЯ

Сечение проводов питающей и распределительных сетей системы электропитания приоров и средств автоматизации выбираются по условиям нагрева электрическим током и механической прочности.

Питающая и распределительная сеть системы электропитания относится, как правило, к сетям, не требующим зашиты от перегрузки, и защищаются только от коротких замыканий.

Сечения проводов и кабелей в соответствии с условием нагрева электрическим током определяется по таблицам допустимых длительных токовых нагрузок на провода и кабели с учетом условий их прокладки. Для практических расчётов условия нагревания проводов длительным расчётным током имеет вид: Iдлит. доп. > Iрасч. 4 ≥ 0,79 А

где - Iдлит. доп. - допустимый длительный ток для провода и кабеля при нормальных условиях прокладки.

13. рАСЧЁТ И ВЫБОР АППАРАТУРЫ УПРАВЛЕНИЯ И ЗАЩИТЫ

.1 Автоматический выключатель

Выбор автоматического выключателя производится по номинальным напряжению и току с соблюдением условий:

U ном.а ≥ Uном.с;

где, U ном.а - номинальное напряжение автоматического выключателя, В;

Uном.с - номинальное напряжение сети, В;

I ном.а ≥ I длит;

где, I ном.а - номинальный ток автоматического выключателя, А;

I длит - длительный расчетный ток нагрузки, А.

Таблица 11. Приборы подключенные на силовую цепь нагрузки

Наименование

Кол-во

Мощность

Одноканальный измеритель - регулятор Метран - 961

1

9 ВА

Одноканальный измеритель Метран - 950

1

9 ВА

Двухканальный измеритель 2ТРМ0

1

6 ВА

Расходомер ультразвуковой UFM 530 HT

1

10 ВА

Исполнительный механизм МЭО-16/25-0,25-93

1

130 ВА

Блок питания Метран-602-036-80-01

1

10 ВА

Итого


174 ВА


Суммарная нагрузка в схеме равняется 174 ВА. Определяется расчетный ток.

I дл = S / U = 174 / 220 = 0,79 А

По таблице 11 номинальный ток автоматического выключателя равен 4 А, так как 4 А > 1,47 А, и напряжением 220 В.

Автоматический выключатель АП50Б-2МТ (двухполюсной, комбинированный) используется в качестве защиты элементов электрической схемы от коротких замыканий и перегрузок. Автоматический выключатель с комбинированным расцепителем тока - электромагнитный и тепловой.

Таблица 12. Технические характеристики выключателя автоматического АП50Б-2МТ

Параметры прибора

Величина

Номинальный ток расцепления, А

1,6

Число блокировочных контактов

2

Циклы переключении

50000


Тепловой расцепитель представляет собой биметаллическую пластину. При перегрузке один из концов биметаллической пластины изгибается и через механизм расцепления производит отключение контактов.

.2 Выбор пакетных выключателей и переключателей тумблеров

В качестве ключа для выбора режима используется переключатель ПП2-10, характеристики которого сведены в таблицу 14. Переключатель состоит из валика, на котором насажена секция для переключения 2 цепей (мехатроника).

Таблица 13. Выключатель однополюсной ПВ1-10

Параметры прибора

Величина

Напряжение, В

~ 220

Частота, Гц

50


Таблица 14. Технические характеристики переключателя ПП2-10

Параметры прибора

Величина

Напряжение, В

~ 220

Частота, Гц

50

Номинальный ток контактов, А

4

Число коммутируемых цепей

2


.3 Выбор дистанционного указателя положения

ДУП-М предназначен для передачи на щит оператора сведений о положение регулирующего органа в системе регулирования. Указатель положения представляет собой индуктивный преобразователь. Неподвижная часть указателя - катушка, подвижная часть - плунжер.

Плунжер механически соединен с валом исполнительного механизма. Положение плунжера зависит от угла поворота выходного вала исполнительного механизма.

Рис. 4 - Принципиальная электрическая схема ДУП-М.

Таблица 15. Технические характеристики ДУП-М

Параметры прибора

Величина

Питание, В

~ 220

Частота, Гц

50


.4 Выбор пусковой аппаратуры

Пускатель бесконтактный реверсивный типа ПБР-2И предназначен для включения электродвигателя исполнительного механизма типа МЭО-16/25-0,25-93. Пускатель состоит из платы кожуха и передней панели. На передней панели расположены две клеммные колодки для подключения пускателя к внешним цепям. На плате устанавливаются элементы схемы пускателя.

Таблица 16. Технические характеристики пускателя бесконтактного реверсивного ПБР-2И

Параметры прибора

Величина

Напряжения, В

~220

Частота, Гц

50

Быстродействие, мс

 40

Разница между длительностями


входного и выходного сигнала, мс

20


.5 Задающее устройство

Задатчик ручной РЗД рассчитан на установку заданного параметра. Представляет собой реостатный 20%-й преобразователь. Задатчик ручной РЗД (рис.5), рассчитан на применение в системах автоматизации. РЗД-22 - ручная установка сигналов задания для регулятора соотношений. На передней панели РЗД расположена ручка установки значения параметра, шкала на 50 делений.

Рис. 5 - Схема задатчика РЗД-22.

Таблица 17. Технические характеристики задатчика РЗД-22

Параметры прибора

Величина

Входной сигнал, %

0 … 100

Питание, В

~ 220

Частота, Гц

50

Мощность, ВА

4



14. МЕРОПРИЯТИЯ ПО ТЕХНИКЕ ЭЛЕКТРОБЕЗОПАСНОСТИ В УСЛОВИЯХ ЭКСПЛУАТАЦИИ МЕХАТРОННОЙ СИСТЕМЫ

Техника безопасности включает организационные и технические мероприятия и средства, предотвращающие воздействие на работающих вредных производственных факторов, обеспечивающих защиту людей от поражения электрическим током.

.1 Меры безопасности:

Защитное заземление должно обеспечить защиту людей от поражения электрическим током при прикосновении к металлическим нетоковедущим частям оборудования, которые могут оказаться под напряжением в результате повреждения изоляции. Защитное заземление выполняют путём преднамеренного электрического соединения (металлическими проводниками) нетоковедущих частей электроустановок с "землёй".

Защитное отключение - это система быстродействующей защиты, автоматически (за 0,2 и менее) отключающая электроустановку при возникновении в ней опасности поражения человека электрическим током. Применяется в тех случаях, когда невозможно или трудно осуществить защитное заземление.

Перед проведением электроремонтных работ проводят следующие мероприятия: оформляют наряд-допуск; ремонт производят не менее чем двое рабочих; отключают электропитание; вынимают плавкие предохранители; замыкают накоротко токоведущие провода (после снятия напряжения) заземляют.

14.2 Электробезопасность

При мехатронике каталитического крекинга возникает необходимость подключения электроустановок к электросети.

Реакция на электрический ток возникает только после прохождения через ткани человека. Степень поражения человека зависит от рода и величины напряжения и тока; частоты электрического тока; пути тока через человека; продолжительности действия тока; условий внешней среды.

Причинами злектротравматизма является:

появление напряжения на частях установок и машин, не находящихся под напряжением в нормальных условиях эксплуатации (корпуса и др.).

появление шагового напряжения на поверхности земли, в результате замыкания токоведущих проводов на землю.

15. ПРОТИВОПОЖАРНЫЕ МЕРОПРИЯТИЯ И ОХРАНА ОКРУЖАЮЩЕЙ СРЕДЫ

.1 Противопожарные мероприятия

Пожары возникают по различным причинам и в ряде случаев приносят значительный материальный ущерб, а иногда приводят к гибели людей. На предприятии должно быть организовано:

- Обучение всех рабочих и служащих правилами пожарной безопасности и действиям на случай возникновения пожара. Лица, не прошедшие инструктаж о соблюдении мер пожарной безопасности, не допускают к работе.

Осуществление мероприятий, направленных на обеспечение пожарной безопасности, возлагается на руководителей предприятий и на начальников цехов.

Для тушения электроустановок применяются огнетушители углекислотные типа ОУ-2, ОУ-5, и порошковые огнетушители типа ОП-2, ОП-4. Также в помещении должен располагаться шит огнетушения в котором должно находится лопата, топор (с деревянными ручками), ведра, плотная ткань (брезент), багор, рядом с щитом располагаются ящики с песком.

Для тушения установки каталитического крекинга на предприятии повышенной опасности имеется своя пожарная часть с пожарными машинами (минимум 3 транспортных средства) со штатом сотрудников которые занимаются тушением пеной в случае возгорания ректификационной колонны с пожарных машин.

На предприятии должен имеется закрытые резервуары с водой, химическими реагентами, доступ к которым в случае воспламенения должен быть обеспечен незамедлительно.

15.2 Охрана окружающей среды

Выброс вредных химических веществ на нефтехимическом предприятии, загрязняющих атмосферный воздух населенных мест, установлены два норматива: максимальная разовая и среднесуточная предельно допустимые концентрации (ПДК). Кроме того, определены значения безопасных уровней воздействия (ОБУВ) некоторых новых или ранее не изученных вредных веществ, для которых ещё не утверждены ПДК.

Предельно допустимая максимальная разовая концентрация в воздухе населенных мест (мг/м3) - это такая концентрация, при которой вдыхание воздуха в течение 20-30 мин не вызывает рефлекторных реакций в организме человека. Предельно допустимая среднесуточная концентрация в воздухе населенных мест (мг/м3) - это такая концентрация, которая не оказывает на человека прямого или косвенного вредного воздействия при неопределенно долгом (годы) вдыхании.

Ориентировочный безопасный уровень воздействия - это, как правило, расчётная концентрация вредного вещества (мг/м3), нормативное действие которой ограничено во времени периодом, необходимым для установления ПДК, которая также не должна оказывать на человека прямого или косвенного вредного воздействия при неопределённо долгом вдыхании.

Токсические свойства вредных веществ при их воздействии на организм человека характеризуются соответствующим классом опасности. По степени токсического воздействия вредные вещества подразделяются на четыре класса опасности: 1 класс - чрезвычайно опасные; 2 класс - высоко опасные; 3класс - умеренно опасные; 4 класс - мало опасные.

Для обеспечения нормативов ПДК в компонентах окружающей среды должны быть соблюдены нормативы допустимых выбросов и сбросов химических веществ.

3аключение

Для управления технологическим процессом установки каталитического крекинга зачастую недостаточно периодического измерения параметров, характеризующее их качество, поскольку возможно, что в момент измерения контролируемая величина принимает значение, не угрожающие нормальному ходу процесса, но меняется она настолько быстро, что необходимо принимать меры для предупреждения её отключения от доступных норм путём оперативного вмешательства в технологический процесс.

В систему управления каталитического крекинга внедряются современные средства мехатроники, основанные на микроэлектронике, которые обладают высокой надежностью и точностью измерения и регулирования технологических параметров.

Установка каталитического крекинга имеет технологические параметры, при повышении или понижении которых, может существенно снизиться качество конечных продуктов. Поэтому параметры необходимо точно контролировать и регулировать с минимальным временем запаздывания мехатронного регулирования.

Качественный монтаж, наладка и эксплуатация элементов системы мехатронного управления позволяют добиться стабильного мехатронного регулирования и контроля технологических параметров установки каталитического крекинга, а также производства качественной продукции.

 К главным преимуществам МС относятся:

исключение многоступенчатого преобразования информации и, следовательно, высокая передача информации и улучшенные характеристики машин и модулей;

конструктивная компактность модулей;

возможность объединения мехатронных модулей в сложные МС и комплексы, допускающие быструю разборку (реконфигурацию);

относительно низкая стоимость установки, настройки и обслуживания МС благодаря модульности конструкции, унификации аппаратных и программных платформ;

способность выполнять сложные движения за счет применения методов адаптивного и интеллектуального управления.

СПИСОК ИСТОЧНИКОВ

1.А.С. Клюев “Проектирование систем автоматизации технологических процессов” , 2008г.

2.В.А. Старостин “Технологические измерения и контрольно-измерительные приборы в промышленности строительных материалов” , 2007 г.

3. А.С. Боронихин “Основы автоматизации производства” , 2008 г.

. С.М. Горев “Автоматизация производственных процессов нефтяной и газовой промышленности” , 2005 г.

5. М.Л. Каминский, В.М. Каминский “Монтаж приборов и систем автоматизации”, 2008 г.

.Уильям Л. Леффер “Переработка нефти” , 2005 г.

. К.А.Пупков “Мехатроника” , 2008 г.

. Ю.В. Подураев “Основы механики” , 2010 г.

. Метран “ Преобразователи термоэлектрические ТХА и ТХК Метран-200” , руководство по эксплуатации, 2007 г.

. Emerson “Датчики температуры” каталог, 2009 г.

. А.А. Костин “Популярная нефтехимия” , 2013 г.

. В.М. Капустин, С.Г. Кукес, Р.Г. Бертолусини “Нефтеперерабатывающая промышленность США и бывшего СССР”, 2006 г.

. Метран “Датчики давления Метран-100” , руководство по эксплуатации, 2007 г.

. ГОСТ 2.104-2006 ЕСКД “Основные надписи”

. ГОСТ 2.105-2006 ЕСКД “Общие требования к текстовым документам”

. ГОСТ 2.321-2008 ЕСКД “Обозначения буквенные”

Похожие работы на - Разработка мехатронной системы пастеризации молока

 

Не нашли материал для своей работы?
Поможем написать уникальную работу
Без плагиата!
Без нейросетей!