Эксплуатация машинно-тракторного парка
ВВЕДЕНИЕ
В выступлениях президента, постановлениях правительства большое влияние
уделяется развитию сельскохозяйственного производства, обеспечению
продовольственной безопасности страны. Вместе с тем наблюдается снижение, по
разным причинам, энерговооруженности сельскохозяйственных предприятий,
повсеместное старение техники, уменьшение числа механизации кадров и снижение
их профессионального уровня.
Решения правительства по развитию комплекса предусматривают
агропромышленного повышение готовности машинно-тракторного парка, более
эффективное его использование, увеличение срока службы его отдельных элементов,
сокращение затрат материальных и финансовых ресурсов на обеспечение его
исправного и работоспособного состояния, затрат труда. Эффективное использование
сельскохозяйственной техники в значительной степени зависит от уровня
организации технического обслуживания и ремонта. Пополнение машинно-тракторного
парка сельскохозяйственных предприятий современными сложными машинами, весьма
чувствительными к нарушению правил технической эксплуатации вследствие
различного ресурса составных частей и недостаточной долговечности многих
элементов, требует усиления профилактических и контрольных мероприятий,
нацеленных на управление техническим состоянием машин. Это требует совершенствования
и развития ремонтно-обслуживающей базы. Размеры, структура и функции её
определяются содержанием и характером работ, выполняемых при ремонте и
техническом обслуживании машин.
К основным направлениям развития ремонтно-обслуживающей базы относятся:
создание единой системы ремонтно-обслуживающих предприятий;
специализация и концентрация производства, расширение масштабов и
ускорения привлечения заводов-изготовителей к выполнению ремонта и обслуживания
выпускаемой техники с использованием ремонтной базы АПК;
полное удовлетворение потребности предприятий в высококачественной
отремонтированной техники, в запасных частях, ремонтно-техническом
обслуживании;
проведение технического переоснащения и реконструкции действующих
объектов;
использование свободных мощностей заводов и ремонтных мастерских для
производства ремонтно-технического оборудования и другой продукции.
Важную роль в обеспечении готовности машинно-транспортного парка
принадлежит ремонтно-обслуживающим производствам хозяйств. Роль данных
предприятий неуклонимо растет, так
как в современных условиях, когда служба технического сервиса реформируется,
хозяйства стремятся расширять номенклатуру работ по техническому обслуживанию и
ремонту машинно-тракторного парка, но
при обязательном соблюдении технологии и обеспечении их качества, поэтому
необходимо задействовать весь комплекс взаимосвязанных технических,
организационных и экономических мероприятий, обеспечивающих эффективность их
функционирования. К таким мероприятиям относят в частности техническое
перевооружение и реконструкция существующей ремонтно-обслуживающей базы
сельскохозяйственных мероприятий, внедрение прогрессивных технологий ремонта,
улучшение условий работы инженерно-технического персонал, повышение его
квалификации.
Надлежащая техническая оснащенность и правильная организация процесса
ремонта и технического обслуживания во многом обуславливают эффективность
функционирования ремонтно-обслуживающей и, в конечном итоге оказывают
существенное влияние на обеспечение требуемой эксплуатационной надежности
изменяющегося в количественном и качественном отношении машинно-тракторного
парка.
В связи с этим целью данного проекта является повышение качества
технического обслуживания и ремонта машин в хозяйстве путем закупки
усовершенствованного оборудования для центральной ремонтной мастерской.
1.
ПРОИЗВОДСТВЕННО-ЭКОНОМИЧЕСКАЯ ХАРАКТЕРИСТИКА ОАО «МАКАРОВО-АГРО» КАМЕНЕЦКОГО
РАЙОНА БРЕСТСКОЙ ОБЛАСТИ
1.1 Общие сведения и местоположение хозяйства
ОАО "Макарово-Агро" создано 16 марта 2003 года на основании
решения собрания уполномоченных членов колхоза «Советский пограничник»,
созданного в 1958 году.
В настоящее время общая земельная площадь хозяйства составляет 3590 га.
ОАО «Макарово-Агро» расположено в юго-западной части Беларуси с административным
центром в деревне Макарово. Хозяйство находится в 44 км от районного центра
города Каменец, от железнодорожной станции “Высоко-Литовск” на удалении 8 км, а
от областного центра города Брест 45 км.
Хозяйство объединяет 7 населенных пунктов, куда входят 380 дворов с
численностью 945 человек. Так же имеется 3 молочно-товарных фермы, ремонтная
мастерская, пилорама, столярный цех, 2 магазина. Хозяйство обслуживается
районными объединениями "Сельхозхимия", "Сельхозтехника".
Общество является коммерческой организацией - юридическим лицом, имеет
самостоятельный баланс, печать. Общество вправе иметь штампы, бланки со своим
наименованием, собственную эмблему, товарный знак (знак обслуживания),
открывать в установленном порядке текущий (расчетный) и иные счета в банках.
Место нахождения Общества: 225081,
Республика Беларусь, Брестская область, Каменецкий район, д.Макарово.
Общества, в которых предприятие является учредителем, акционером: ОАО
«Красносельск-стройматериалы», ОАО «Каменецкий Райагросервис», СОАО «Беловежские
сыры», ОАО «Жабинковский сахарный завод», ОАО « Брестский мясокомбинат».
ОАО «Макарово-Агро» является производителем сельскохозяйственной
продукции. Основными ее видами являются: мясо КРС, молоко, зерновые культуры,
сахарная свекла. Кроме того, для нужд животноводческой отрасли хозяйство
занимается производством травянистых кормов. Однако, в связи со спецификой с/х
производства, основным направлением является повышение качества выпускаемой
продукции (жирность, крахмалистость, сахаристость, упитанность скота).
Большое значение для увеличения объема производимой
продукции и повышения эффективности производства имеет обеспеченность хозяйства
необходимыми трудовыми ресурсами, их рациональное использование.
По своим должностным обязанностям весь персонал разделяется
на управленческий персонал (руководители), инженерно-технические работники
(специалисты), служащие и рабочие. Структура и численность работников в
хозяйстве по состоянию на 01.01.2012 г. представлена в таблице 1.1.
Таблица 1.1 Структура численности работников.
|
Группа работников
|
Среднегодовая численность,
человек
|
Фонд заработной платы
работ-ников списо-чного состава, млн.руб.
|
|
Численность работников,
всего:
|
2
|
3
|
|
В том числе: Служащие,
всего:
|
191
|
-
|
|
из них: руководители
|
25
|
145
|
|
специалисты
|
9
|
66
|
|
Рабочие, всего:
|
15
|
83
|
|
из них: обслуживающие
животноводство, всего:
|
142
|
-
|
|
трактористы-машинисты,
трактористы, комбайнеры, всего:
|
54
|
250
|
|
водители грузовых
автомобилей (шоферы), всего:
|
42
|
210
|
|
рабочие, занятые на
конно-ручных работах, в растениеводстве и на прочих работах, всего:
|
15
|
70
|
|
рабочие ремонтных
мастерских, всего:
|
23
|
45
|
|
8
|
25
|
1.2 Природно-климатические условия
Территория, на которой располагается хозяйство
характеризуется умеренно-континентальным климатом со сравнительно теплым летом
и умеренно холодной зимой. Вегетационный период, в течении которого
среднесуточная температура воздуха выше 120С длится 140-145 дней, что
соответствует требованиям к теплу основных сельскохозяйственных возделываемых
культур. Среднегодовое количество осадков составляет 585мм. За вегетационный
период выпадает 380-460 мм. Постоянный снежный покров устанавливается в конце
ноября и держится около 120 дней.
Средняя максимальная его толщина достигает 35-38 мм. В
общем, климат района мягкий с достаточным количеством осадков, вполне
благоприятен для производства всех районированных культур.
Преобладающим на территории хозяйства являются
дерново-подзолистые почвы. Они характеризуются отсутствием ясно выраженного
подзолистого горизонта, мощность пахотного горизонта в них колеблется от 18 до
25 см. В общем, для хозяйства характерна пестрота почвенного покрова, но почвы
пахотных угодий отличаются сравнительно высоким плодородием. Территории
хозяйства представляет собой широковолнистую равнину со слабовыраженными ее
формами и элементами. Крутизна склонов земель совхоза в некоторых местах
достигает 6о, что способствует слабому развитию водной эрозии на
пологих и слабопологих склонах.
Особое внимание в хозяйстве уделяется повышению
плодородия почв, культурно-техническим мероприятиям, мелиорации. Большинство
почв на территории хозяйства засорено камнями, но ежегодно производится их
уборка с привлечением учащихся Высоковского сельскохозяйственного
профессионально -технического колледжа и работников хозяйства.
.3 Анализ производства продукции растениеводства
Растениеводство - одна из важнейших отраслей сельского хозяйства.
Основными показателями, характеризующими ее развитие, являются размеры посевных
площадей и урожайность возделываемых на них сельскохозяйственных культур.
Получение высоких урожаев сельскохозяйственных культур имеет огромное значение,
так как растениеводство - это главный источник, обеспечения продовольствием
населения, животных - кормами, промышленность - сырьем.
Важнейшим видом ресурсов в сельскохозяйственном производстве, в том числе
изучаемого ОАО «Макарово-Агро», является земля. От того, насколько эффективно
используются земельные ресурсы, зависит эффективность работы всего предприятия.
Для объективного анализа земельных угодий следует рассмотреть структуру
землепользования в динамике за 2011-2013 годы, которая приведена в таблице 1.2
На основании данных таблицы 1.2 можно сделать вывод о том, что земельная
площадь за последние три года практически не изменилась. Увеличение площади под
прудами и водоемами на рассматриваемый промежуток времени не наблюдается.
Таблица 1.2 Состав и структура землепользования ОАО
«Макарово-Агро»
|
Экспликация угодий
|
2011
|
2012
|
2013
|
|
га
|
%
|
га
|
%
|
га
|
%
|
|
1
|
2
|
3
|
4
|
5
|
6
|
7
|
|
Общая земельная площадь
|
3590
|
100
|
3590
|
100
|
3590
|
100
|
|
В том числе: пашня
|
2229
|
70,5
|
2229
|
70,5
|
2236
|
71
|
|
сенокосы
|
550
|
17,6
|
550
|
17,6
|
550
|
17,5
|
|
пастбища
|
400
|
11,9
|
400
|
11,9
|
400
|
11,5
|
|
Всего сельхозугодий:
|
3179
|
88
|
3179
|
88
|
3187
|
88,5
|
|
Пруды и водоемы
|
36
|
1
|
36
|
1
|
36
|
1
|
|
Прочие угодья
|
375
|
11
|
375
|
11
|
367
|
10,5
|
На основании данных таблицы 1.2 можно сделать вывод о том, что земельная
площадь за последние три года практически не изменилась. Увеличение площади под
прудами и водоемами на рассматриваемый промежуток времени не наблюдается.
В структуре сельхозугодий наибольший удельный вес занимает пашня 70,5 % от
всей площади сельхозугодий. В промежутке с 2010 по 2012 года ее площадь
остается такой же. Площадь отведенная под
пастбища и сенокосы так же особо не изменилась и составляет 17,6 % и 11,9 % от
общей площади сельхозугодий.
Показатели, связанные со структурой посевных площадей, от которой зависит
эффективность использования пашни, что в свою очередь определяет специализацию
хозяйства, приведены в таблица. 1.3.
Таблица 1.3.Размер и структура
посевных площадей
|
Культуры
|
2011
|
2012
|
2013
|
|
Пл., га
|
Стра, %
|
Пл., га
|
Стра, %
|
Пл., га
|
Стра, %
|
|
1
|
2
|
3
|
4
|
5
|
6
|
7
|
|
Зерновые и зернобобовые,
всего: В том числе: озимые яровые Кукуруза, всего: В том числе: на зерно на
силос Сахарная свекла, всего: Картофель, всего:
|
1030 700 330 350 100 250
120 10
|
32,1 11 4,4 0,3
|
110 725 375 650 250 400
60 10
|
33,8 21,5 2,2 0,3
|
1160 780 380 650 300 350
- 10
|
35 21,2 - 0,3
|
|
Кормовые корнеплоды, всего:
Рапс, всего: Многолетние травы, всего: В том числе: сено семена зеленая масса
на выпас Однолетние травы, всего: В том числе: сено семена зеленая масса на
выпас
|
250 200 949 250 60 449 190
270 20 90 160
|
7,3 6,8 29,4 8,7
|
50 200 840 200 50 400 190
169 50 10 79 30
|
1,9 6,8 27,4 6,1
|
35 250 900 250 50 400 200
182 50 17 100 15
|
1,2 7,5 28,2 6,6
|
|
Кормовые корнеплоды, всего:
Рапс, всего: Многолетние травы, всего: В том числе: сено семена зеленая масса
на выпас Однолетние травы, всего: В том числе: сено семена зеленая масса на
выпас
|
250 200 949 250 60 449 190
270 20 90 160
|
7,3 6,8 29,4 8,7
|
50 200 840 200 50 400 190
169 50 10 79 30
|
1,9 6,8 27,4 6,1
|
35 250 900 250 50 400 200
182 50 17 100 15
|
1,2 7,5 28,2 6,6
|
|
Всего посевов:
|
3179
|
100
|
3179
|
100
|
3187
|
100
|
|
|
|
|
|
|
|
|
Из таблицы 1.3 видно, что площади под зерновые и зернобобовые культуры в
2012 году увеличились на 130 га по сравнению с 2010 годом, так-же как и
остальные посевные площади так например: под кукурузу на 300 га, под рапс на 50
га, а под такие культуры как многолетние травы уменьшились на 49 га, сахарную
свеклу вообще исключили из севооборота. Так же необходимо отметить, что общая
посевная площадь в 2013 году увеличилась на 8 га по сравнению с 2011 годом.
Одним из факторов, определяющих объем производства и эффективности
отрасли растениеводства в ОАО «Макарово-Агро» является урожайность
сельскохозяйственных культур, которая отражена в таблице 1.4.
Таблица 1.4 Урожайность сельскохозяйственных культур, ц/га.
|
Наименование культуры
|
2011
|
2012
|
2013
|
|
1
|
2
|
3
|
4
|
|
Рожь
|
33,8
|
35,4
|
44,7
|
|
Пшеница
|
38,9
|
44,1
|
38
|
|
Тритикале
|
35,6
|
30,8
|
33,2
|
|
Ячмень
|
35,8
|
32,1
|
33,7
|
|
Овес
|
31,9
|
34
|
42,5
|
|
Кукуруза на зерно
|
65,8
|
71,7
|
79,9
|
|
Рапс
|
17,6
|
15,8
|
21,3
|
|
Картофель
|
150,6
|
275,9
|
308,5
|
|
Сахарная свекла
|
389,4
|
450,7
|
-
|
|
Кукуруза на силос
|
385,7
|
415,9
|
458,3
|
Проанализировав данные таблицы 1.4 можно отметить, что в 2012 году по
сравнению с 2010-2011 годом наблюдается увеличение урожайности ржи, ячменя,
овса, рапса, кукурузы на зерно и силос, картофеля. У пшеницы, тритикале,
урожайности в 2013 году по сравнению с предыдущими годами осталась на том же
уровне, это было связано с неблагоприятными погодными условиями.
Одним из показателей, характеризующих экономическую эффективность
производства того или иного вида продукции, является рентабельность.
Рентабельность - прибыльность, доходность, в ней отражается результат
живого и овеществленного труда, уровень организации и управления производством.
Абсолютные показатели рентабельности (чистый доход и прибыль) не позволяют
сравнивать производственную деятельность различных предприятий (хозяйств). Для
этих целей используется относительный показатель - уровень рентабельности. Он
определяется по формуле:
(1.1)
где:
прибыль;
себестоимость реализованной продукции.
Данные для анализа изменения уровня рентабельности отдельных видов
продукции растениеводства представлены в таблице 1.5.
Таблица 1.5 Себестоимость основных видов сельскохозяйственных культур,
млн. руб./т.
|
Отрасль и вид продукции
|
2011 г.
|
2012 г.
|
2013 г.
|
|
Себестоимость товарной
продукции
|
Выручка от реалиизации
|
Прибыль (+)убыток (-)
|
Уровень рентабельности, %
|
Себестоимость товарной
продукции
|
Выручка от реалиизации
|
Прибыль (+)убыток (-)
|
Уровень рентабельности, %
|
Себестоимость товарной
продукции,
|
Выручка от реалиизации
|
Прибыль (+)убыток (-)
|
Уровень рентабельности, %
|
|
1
|
2
|
3
|
4
|
5
|
6
|
7
|
8
|
9
|
10
|
11
|
12
|
13
|
|
Всего по растениеводству:
|
2043
|
1943
|
173
|
8,4
|
3072
|
3610
|
660
|
21,5
|
2789
|
3794
|
1005
|
36
|
|
Пшеница
|
183
|
412
|
314
|
171
|
74
|
89
|
15
|
20,2
|
172
|
501
|
329
|
191,3
|
|
Тритикале
|
39
|
29
|
-10
|
-25
|
249
|
139
|
0
|
0
|
77
|
133
|
56
|
72,7
|
|
Ячмень
|
1
|
1
|
0
|
0
|
-
|
-
|
-
|
-
|
7
|
12
|
5
|
71,4
|
|
Овес
|
-
|
-
|
-
|
-
|
-
|
-
|
-
|
-
|
1
|
1
|
0
|
0
|
|
Кукуруза
|
1961
|
-568
|
-251
|
-12,8
|
418
|
732
|
314
|
75,1
|
101
|
164
|
63
|
|
Рапс
|
11
|
11
|
6
|
54,5
|
16
|
18
|
2
|
12,5
|
35
|
43
|
8
|
22,9
|
|
Картофель
|
389
|
136
|
-253
|
-65
|
796
|
802
|
6
|
0,8
|
841
|
994
|
153
|
18,2
|
|
Сахар. свекла
|
1084
|
1213
|
129
|
11,9
|
1389
|
1705
|
316
|
22,8
|
1472
|
1857
|
385
|
26,2
|
|
Люпин
|
-
|
-
|
-
|
-
|
39
|
46
|
7
|
17,9
|
15
|
21
|
6
|
40
|
|
Другая продукция
растениеводства
|
444
|
472
|
28
|
6,3
|
50
|
50
|
0
|
0
|
68
|
68
|
0
|
0
|
По данным таблицы 1.5 можно сделать вывод, что уровень рентабельности по
отдельным видам продукции растениеводства в данном хозяйстве с каждым годом
увеличивается и становится более выше. Это говорит о том, что хозяйство
получает прибыль от большинства возделываемых культур.
1.4 Анализ производства продукции животноводства
Животноводство является важнейшим звеном агропромышленного комплекса.
Поэтому в хозяйстве большое внимание уделяется развитию животноводства в целях
повышения производства молока и мяса. Развитие этой отрасли в хозяйстве
рассмотрим на примере таблицы 1.6.
Таблица 1.6 Основные показатели продуктивности животных.
|
Показатели
|
2011
|
2012
|
2013
|
В среднем по р-ну за 2013г.
|
|
1
|
2
|
3
|
4
|
5
|
|
Основное стада КРС, голов:
|
2156
|
2110
|
2293
|
-
|
|
в т.ч. коров, голов
|
688
|
677
|
712
|
57581
|
|
Среднегодовой удой молока
от 1 коровы, кг
|
4586
|
4746
|
5086
|
4601
|
|
Жирность молока, %
|
3,38
|
3,43
|
3,61
|
-
|
|
Среднесуточной прирост
живой массы молодняка:
|
|
КРС, гр.
|
545
|
564
|
565
|
544
|
Из данных таблицы 1.6 видно, что практически все показатели
продуктивности животных имеют тенденцию к увеличению. Что касается КРС, то мы
видим, что за последние три года произошло увеличение среднесуточного прироста
животной массы молодняка КРС на 20 грамм. Наблюдается увеличение среднего удоя
молока от 1 коровы на 500 кг. С 2009 года в хозяйство отказалось от разведения
свиней. Все это свидетельствует о том, что в хозяйстве сложились благоприятные
условия для воспроизводства животных и выпуска продукции животноводства.
При производстве сельскохозяйственной продукции в условиях рыночных
отношений очень важно минимизировать производственные затраты с целью повышения
максимума прибыли. Для анализа причин изменения себестоимости продукции в
животноводстве сопоставим полученные данные с изменением продуктивности животных
и производительности труда. Для анализа изменения уровня себестоимости единицы
продукции представим в виде таблицы 1.7.
Таблица 1.7. Рентабельность отдельных видов продукции животноводства,
млн. руб.
|
Отрасль и вид продукции
|
2011 г.
|
2012 г.
|
2013 г.
|
|
Себестоимость товарной
продукции
|
Выручка от реалии-зации
|
Прибыль (+)убыток (-)
|
Уровень рентабельности, %
|
Себестоимость товарной
продукции
|
Выручка от реалиизации
|
Прибыль (+)убыток (-)
|
Уровень рентабельности, %
|
Себестоимость товарной
продукции,
|
Выручка от реалиизации
|
Прибыль (+)убыток (-)
|
Уровень рентабельности, %
|
|
1
|
2
|
3
|
4
|
5
|
6
|
7
|
8
|
9
|
10
|
11
|
12
|
13
|
|
Животноводство, всего:
|
1433
|
1842
|
86
|
6
|
12971
|
6726
|
895
|
6,9
|
7604
|
8568
|
981
|
12,9
|
|
Молоко
|
5553
|
2041
|
733
|
13,2
|
3714
|
3904
|
208
|
5,6
|
5005
|
5945
|
941
|
18,8
|
|
Говядина
|
-
|
-92
|
36
|
-0,2
|
2000
|
2611
|
4
|
0,2
|
2000
|
2519
|
40
|
2
|
По данным таблицы 1.7 мы видим, что уровень рентабельности животноводства
в ОАО «Макарово-Агро» положительный и с каждым годом его процент становится
больше, что приносит прибыль хозяйству.
1.5 Состав и эффективность использования машинно-тракторного
парка
Для ведения интенсивного с/х производства хозяйству необходим
высокопроизводительный машинно-тракторный парк с мощными скоростными
тракторами, автомобилями и современными комбинированными, широкозахватными с/х
агрегатами. Наличие тракторов, автомобилей и другой с/х техники в ОАО
«Макарово-Агро» приведено в табл. 1.8.
Таблица 1.8.Обеспеченность ОАО «Макарово-Агро» тракторами и
сельскохозяйственной техникой
|
№
|
Наименование с/х техники
|
Годы
|
|
|
2011
|
2012
|
2013
|
|
1
|
Тракторы
|
25
|
26
|
29
|
|
2
|
Погрузчики
|
3
|
3
|
4
|
|
3
|
Комбайны: Зерноуборочные
Кормоуборочные
|
6 2
|
6 2
|
6 3
|
|
4
|
Косилки самоходные
|
3
|
2
|
2
|
|
5
|
Плуги
|
6
|
6
|
6
|
|
6
|
Культиваторы
|
10
|
10
|
9
|
|
7
|
Комбинированные
почвообрабатывающие агрегаты
|
3
|
3
|
4
|
|
8
|
Посевные агрегаты
|
4
|
4
|
4
|
|
9
|
Сеялки Зерновые Кукурузные
и свекл.
|
3 3
|
3 2
|
3 3
|
|
10
|
Картофелесажалки
|
2
|
2
|
2
|
|
11
|
Машины для внесения твердых
органических удобрений
|
5
|
4
|
4
|
|
12
|
Разбрасыватели мин.
Удобрений
|
4
|
3
|
3
|
|
13
|
Опрыскиватели
|
4
|
3
|
3
|
|
14
|
Косилки тракторные,
прицепные и навесные.
|
2
|
2
|
2
|
|
15
|
Ворошилки и валкообразователи
|
3
|
3
|
2
|
|
16
|
Грабли
|
3
|
3
|
3
|
|
17
|
Пресподборщики
|
4
|
5
|
5
|
|
18
|
Картофелекопатели
|
4
|
4
|
3
|
Таблица.1.9 Перечень техники, подлежащей ремонту и
обслуживанию в течении года в хозяйстве
|
Наименование машин
|
Количество
|
Габаритные размеры L*B
машины, мІ.
|
|
|
1
|
2
|
3
|
|
|
Плуги Плуг ПЛН-3-35
|
2
|
2,6·1,6=4,16
|
|
|
Плуг ПГП-7-40
|
1
|
5,5·2,9=16
|
|
|
Плуг ППО-5-40
|
1
|
4,5·2,4=10,8
|
|
|
Плуг ППО-8-40
|
1
|
5,8·3,1=18
|
|
|
Культиваторы Культиватор
КОН-2,8
|
1
|
3,5·1,5=5,2
|
|
|
Культиватор КСМ-5,4
|
1
|
2,5·3,2=8,3
|
|
|
Культиватор КПН-5,6
|
1
|
2,3·3,4=8,3
|
|
|
Культиватор КРН-5,6
|
1
|
2,3·3,4=8,3
|
|
|
Культиватор КШН-6
|
3
|
1,6·5,9=9,5
|
|
|
Культиватор КСН-6,3
|
2
|
2,7·4,1=11,1
|
|
|
Агрегат АПН-4
|
1
|
2·4=8
|
|
|
Агрегат комбинированный
АКШ-7,2
|
1
|
1,95·4,7=8,3
|
|
|
Окучники Окучник
картофельный ОКГ-4
|
1
|
1,8·3,8=6,8
|
|
|
Катки Катки ЗККШ-6
|
1
|
1,95·2,1=4
|
|
|
Катки водоналивные
|
1
|
2,1·2,3=4,83
|
|
|
Сеялки Сеялка СТВ-12
|
3
|
2,5·7,1=17,75
|
|
|
Посевной агрегат АПП-6АБ
|
1
|
7,5·6,2=46,5
|
|
|
Посевной агрегат
(Культиватор Kverneland KTC+сеялка Accord DV)
|
1
|
7·8=56
|
|
|
Картофелесажалки
|
|
|
|
|
Картофелесажалка СН-4Б
|
2
|
4,4·4,4=19,36
|
|
Картофелесажалка СК-4
|
1
|
|
|
Разбрасыватели мин.
удобрений Разбрасыватель мин. удобрений РУ-7000
|
2
|
7,1·2,5=17,8
|
|
Машина для внесения твердых
орг. удобрений ПРТ-7
|
2
|
4·2,2=8,8
|
|
Машина для внесения твердых
орг. удобрений ПРТ-11
|
6,5·2,2=14,3
|
|
Опрыскиватели Опрыскиватель
Мекосан- 2000/2500 MF
|
2
|
5·2,5=12,5
|
|
Косилки Косилка навесная
Kuhn GMD 800
|
1
|
1,2·3,6=4,3
|
|
Косилка навесная Kuhn FS
883+FS 313F
|
1
|
2,5·5,3=13,25
|
|
Грабли и ворошители
|
|
|
|
Грабли ГВР-630
|
1
|
5·2,2=11
|
|
Пресподборщики
|
|
|
|
Пресподборщик Krone Big
Pack 1270 XC
|
1
|
3,5·2,6=9,1
|
|
Пресподборщик ПРФ-175
|
4
|
2,6·1,6=4,2
|
|
Картофелекопатели и
комбайны
|
|
|
|
Картофелекопатель КТН-2В
|
2
|
3,22·1,75=5,36
|
|
Картофелекопатель КСТ-1,4
|
2
|
3,4·1,8=6,1
|
|
Камнеуборочная машина
|
1
|
2,5·2=5
|
|
Дождевальная установка
|
4
|
3·2=6
|
|
Зерноуборочные комбайны
КЗС-10К
|
4
|
6,7·3,8=25,5
|
|
КЗС-1218 "Полесье
GS-12"
|
1
|
6,8·4=27,2
|
|
Кормоуборочные комбайны
КВК-800 "Полесье"
|
1
|
5,2·3,6=18,7
|
|
Прицепы Прицеп 2-ПТС-4
|
4
|
4,5·2=9
|
|
Прицеп 2-ПТС-6
|
2
|
5,3·2=10,6
|
|
Прицеп ПСТ-12
|
2
|
6·2,1=12,6
|
|
Прицеп ПИМ-40
|
2
|
7·3,5=24,5
|
|
Прицеп ПС-45
|
2
|
7,2·3,6=26
|
|
Жатки Жатка кукурузная
КОК-6-1 (MH 653 Полесье-Oros)
|
1
|
2,5·6=15
|
|
Машина для внесения жидких
органических удобрений МЖТ -11
|
1
|
6,5·2,3=15
|
|
Бороны БДТ - 7,0
|
2
|
4,4·7=30,8
|
|
|
|
|
|
|
тракторный ремонтный растениеводство машина
Таблица 1.10.Техническая база по механизации животноводства
|
Наименование технических
средств
|
годы
|
|
2011
|
2012
|
2013
|
|
1.Агрегатов по механизации
животноводства, шт.
|
|
|
|
|
в т. ч. доильных установок
|
10
|
10
|
10
|
|
скребковых транспортёров
|
13
|
13
|
13
|
|
2.Общее количество
электродвигателей, шт.
|
980
|
963
|
963
|
|
их суммарная мощность, кВт
|
3610
|
3274
|
3274
|
|
3.Потребление
электроэнергии, всего, тыс. кВт
|
544
|
393
|
328
|
|
4.Всего энергетических
мощностей, тыс. кВт
|
4154
|
3667
|
3602
|
|
5.Приходится энергетических
мощностей:
|
|
|
|
|
а) на одного среднегодового
работника, кВт
|
34,79
|
35,2
|
45,2
|
|
б) на100га с.-х. угодий,
кВт
|
288,7
|
284,2
|
275,5
|
|
6.Оснащённость техникой:
|
|
|
|
|
а) приходится пашни на 1
усл. эт. трактор, га
|
53,3
|
55,3
|
46,6
|
|
б) приходится посевов
зерновых на один зерноуборочный комбайн, га
|
102
|
102
|
110
|
|
в) имеется автомашин на
1000га с.-х. угодий, шт.
|
11,1
|
10,8
|
10,7
|
Из таблиц 1.8, 1.9, 1.10 следует, что количество техники для механизации
технологических процессов в хозяйстве уменьшилось, однако ещё имеется
достаточное количество с/х. техники, электродвигателей и мощностей, чтобы
механизировать основные производственные процессы.
В целом по хозяйству уровень оснащённости с/х. техникой достаточно
высока. Об этом свидетельствуют такие показатели, как площадь пашни,
приходящаяся на один условный трактор, равная 46,6 га/усл.эт.тр. Несмотря на выше
сказанное, необходимо отметить, что большое количество техники подлежит
списанию, так как она выработала свой ресурс.
1.6 Анализ состояния ремонтно-обслуживающей базы
Для проведения ремонтно-обслуживающих работ по тракторам и автомобилям,
с/х технике, животноводческому оборудованию в ОАО «Макарово-Агро».
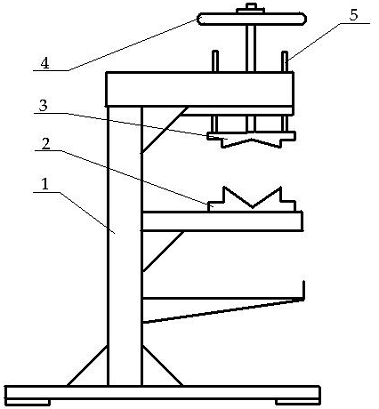
Имеется ремонтно-обслуживающая база (рисунок. 1.1). Производственная база
на центральной усадьбе колхоза состоит из 4-ех секторов. В первом размещаются
постройки для проведения технического оборудования и ремонта с.-х. техники и
кратковременной стоянки тракторов и комбайнов. В секторе находится центральная
ремонтная мастерская, площадка для ремонта с.-х. машин, материально-технический
склад, административно-бытовые помещения.
Второй сектор предназначен для технического обслуживания и ремонта
автомобилей. В нем расположен гараж с профилакторием и открытые площадки для
хранения автомобилей.
Третий сектор - длительное хранение. Здесь размещены сараи и открытые
площадки для хранения сложных с.-х. машин, площадки для консервации и монтажа
новых и регулировок снимаемых с хранения с.-х. машин.
Анализируя РОБ ОАО «Макарово-Агро» можно сказать, что практически вся
техника в период эксплуатации и во время длительного хранения находится под
открытым небом. Это приводит к увеличению расхода средств на технический осмотр
и ремонт. Площадка для мойки техники находится в крайне неудобном положении,
т.е. чтобы попасть на эту площадку грязная техника должна проехать по
территории всей РОБ, что ведет к дополнительному загрязнению территории.
Секторы ремонта и технического обслуживания тракторов и автомобилей не
достаточно оснащены диагностическим ремонтом оборудованием. Отсутствует крытая
площадка для хранения зерноуборочных комбайнов.
Нефтебаза представлена ёмкостями для хранения топлива, стационарными
средствами заправки. Заправка транспортных средств осуществляется из
стационарных колонок типа КЭР - 40 - 0,5 - бензином и типа КЭР - 40 - 10 -
дизельным топливом. Выдача масел производится маслозаправочными колонками 367М.
Резервуары для хранения продуктов находится на бетонных фундаментах. Территория
нефтебазы обнесена забором.
Склад для хранения запчастей расположен в отдельных зданиях. Склад не
подключаем к центральному отоплению, что в зимний период приводит к нарушению температурного
режима, а повышение влажности отрицательно сказывается на состоянии хранящихся
запчастей, материалов и смазок, которые после длительного хранения уже не могут
полностью отвечать своим требованиям.
Перечень оборудования мастерской приведем в таблица. 1.11.
Таблица 1.11.Ведомость основного оборудования.
|
Наименование
|
Марка
|
|
1
|
2
|
|
Ремонтно-монтажный участок
|
|
Станок
вертикально-сверлильной
|
2М125
|
|
Пресс-гирдавлический
|
ОР-14575
|
|
Подвесной кран
|
ГОСТ-7890-73
|
|
Компрессор
|
ГП-0-15/10
|
|
Стенд расстыковки и
раскатки тракторов кл. 1,4 т.с.
|
ОР-16364
|
|
Домкрат гаражный
|
П-304
|
|
Тележка для перевозки
деталей
|
638.39.206
|
|
Бак для сбора масла
|
ОРГ-8911А
|
|
Ящик для песка
|
5139.000
|
|
Секция стеллажей
|
512.000
|
|
Сварочно-кузнечный участок
|
|
Горн кузнечный на один
огонь
|
5903-26
|
|
Наковальня кузнечная
|
ГОСТ - 11398-75
|
|
Тиски стуловые
|
ГОСТ-4045-75
|
|
Станок
обдирочно-шлифовальный
|
3Б634
|
|
Ванна для закалки в воде и
масле
|
ОРГ-1968-18-540
|
|
Ларь для кузнечного
инструмента
|
031.50.800-1
|
|
Ящик для угля
|
013.55.800-1
|
|
Ящик для песка
|
5139.000
|
|
Трансформатор сварочный
|
ТД - 300-292
|
|
Преобразователь сварочный
|
ПСО-300-292
|
|
Стол для сварочных работ
|
ОКС-7523
|
|
Секция стеллажей
|
5153.000
|
|
Шиноремонтный участок
|
|
Аппарат
электро-вулканизационный для камер
|
ОШ - 8970
|
|
Установка для проверки
камер
|
ПКУ-2
|
|
Станок
обдирочно-шлифовальный
|
3Б634
|
|
Версток для ремонта машин
|
01035-800-1
|
|
Стеллаж для покрышек
|
0415-5.800.2
|
|
Слесарно-механический
участок
|
|
Станок токарно-винторезный
|
16К20 (2шт)
|
|
Станок токарно-винторезный
|
1М61
|
|
Станок
обдирочно-шлифовальный
|
3Б634
|
|
Тумбочка для инструмента
|
54.47.000
|
|
Ящик для стружки
|
|
|
Верстак слесарный на одно
место
|
ОРГ-5365
|
|
|
|
Анализ состояния секторов показывает, что в настоящее время они не
удовлетворяют установленным требованиям.
1.7 Структура инженерной службы
Необходимо отметить тот факт, что нормальное функционирование РОБ
невозможно без хорошо организованной инженерно-технической службы.
Структурная схема инженерно-технической службы ОАО «Макарово-Агро»
Рисунок. 1.1. Структурная схема инженерно-технической службы ОАО
«Макарово-Агро»
Во главе инженерной службы стоит главный инженер. В его подчинении
находятся заведующий машинным двором, заведующий гаражами, инженер по технике
безопасности и охране труда, инженер по трудоемким процессам, инженер по эксплуатации
машинно-тракторного парка, инженер по сельскохозяйственным машинам и главный
энергетик.
В подчинении руководителей среднего звена имеются специальные бригады.
Текущее руководство инженерной службой в период работы ведется через
диспетчера по мобильным телефонам. Инженерная служба хозяйства укомплектована
полностью высококвалифицированными специалистами, которые хорошо справляются со
своими обязанностями, позволяющими эффективно эксплуатировать имеющиеся машины
и агрегаты, а также своевременно и качественно проводить техническое
обслуживание и ремонт имеющегося машинно-тракторного парка. Среди недостатков
можно отметить небольшой процент молодых кадров в инженерной службе.
2. РАСЧЕТ ТРУДОЕМКОСТЕЙ РЕМОНТА, ОБОСНОВАНИЕ РАБОЧИХ
,ПЛОЩАДЕЙ МАСТЕРСКОЙ, КОЛИЧЕСТВА РАБОТАЮЩИХ, ПОДБОР ОБОРУДОВАНИЯ, ПЛАНИРОВКА
2.1 Расчет годового объема ремонтно-обслуживающих работ
Исходными данными для расчета являются ожидаемое на начало планируемого
года число машин в хозяйстве каждой марки, среднегодовая наработка тракторов и
комбайнов или среднегодовой пробег автомобилей, удельная трудоемкость ТО и
ремонта машин.
В объем ремонтно-обслуживающих работ, выполняемых в хозяйстве, входит
трудоемкость технического обслуживания, текущего и частично капитального
ремонта машин, монтаж и ремонт оборудования животноводческих ферм (комплексов),
ремонт технологического оборудования мастерской и авто гаража, восстановление
изношенных деталей, оказание услуг фермерам и населению, прочие работы.
2.1.1 Трудоемкость
текущего ремонта комбайнов и сельскохозяйственных машин
Текущий ремонт комбайнов включает в себя
затраты труда на плановый ремонт по результатам оценки технического состояния
после окончания сезона уборки и неплановый ремонт, связанный с устранением
неисправностей. Ежегодные затраты труда на текущий ремонт комбайнов конкретной
марки
Тт = Nм . Тг
, (2.1)
где: Тг - годовая трудоемкость
текущего ремонта комбайнов и машин, чел.-ч.
Nм - число машин данной
марки (принимаем из задания).
Для примера определим трудоемкость
текущего ремонта комбайнов КЗС-10К
Тт = 1 . 230 =230
чел.-ч.
Аналогично определяем трудоемкость
текущего ремонта остальных комбайнов и с/х машин.
Данные расчета приводим в таблице 2.1
Таблица 2.1Трудоемкость текущего ремонта
комбайнов и сельскохозяйственных машин
|
Марка машины
|
Количество
|
Годовая наработка мото-ч
|
Годовая трудоекость ТР,
чел.-ч
|
Общая трудоекость ТР,
чел.-ч
|
|
1
|
2
|
3
|
4
|
5
|
|
Комбайны:
|
|
|
|
|
|
КЗС-12
|
1
|
80,9
|
230
|
230
|
|
КЕЙС
|
1
|
11,7
|
69
|
69
|
|
КЗС-10
|
4
|
212,1
|
46
|
184
|
|
Итого
|
6
|
|
345
|
483
|
|
Сельхозмашины
|
|
|
|
|
|
Плуги
|
|
|
|
|
|
ПЛН-5-40
|
4
|
-
|
16
|
64
|
|
ПЛН-3-35
|
6
|
80
|
14
|
84
|
|
ППО-8-40
|
2
|
240
|
20
|
40
|
|
Бороны
|
|
|
|
|
|
БЗСС-1,0
|
36
|
94
|
4
|
144
|
|
БДТ-3
|
4
|
243
|
29
|
116
|
|
Культиваторы
|
|
|
|
|
|
КПС-4
|
2
|
86
|
22
|
44
|
|
АКШ-6
|
1
|
324
|
33
|
33
|
|
Сеялки
|
|
|
|
|
|
ССТ-12Б
|
1
|
240
|
24
|
24
|
|
СПУ-6
|
1
|
260
|
53
|
53
|
|
Картофелесажалка КСМ-4
|
1
|
120
|
53
|
53
|
|
СН-4Б
|
1
|
-
|
10
|
10
|
|
Пресс-подборщик ПРФ-175
|
4
|
80
|
45
|
180
|
|
Комбинированный агрегат
АКШ-7,2
|
1
|
134
|
81
|
81
|
|
Разбрасыватели удобрений
|
|
|
|
|
|
РУ-7000
|
2
|
40
|
26
|
52
|
|
ПРТ-7
|
1
|
68
|
75
|
75
|
|
ПРТ-10
|
3
|
74
|
90
|
270
|
|
Грабли ГВР-630
|
3
|
40
|
30
|
|
Опрыскиватели
|
|
|
|
|
|
Мекосан-2000
|
3
|
186
|
36
|
108
|
|
Погрузчик ПЭА-1
|
1
|
436
|
36
|
36
|
|
Итого
|
77
|
|
640
|
1557
|
|
|
|
|
|
|
|
|
|
2.1.2 Трудоемкость капитального
ремонта машин
Годовая трудоемкость капитального ремонта комбайнов определяется по
формуле:
Тк.к.= Nм . Нг к,
(2.2)
Где Нг.к
- нормативная трудоемкость одного капитального
ремонта, чел.-ч.
Для комбайнов КЗС-12
Тк.к.= 1 . 230 = 230 чел.-ч.
Для комбайнов других марок расчет трудоемкости
капитального ремонта производим аналогично. Результаты
расчетов сводим в табл. 2.2.
Таблица 2.2. Годовая трудоемкость капитального ремонта комбайнов
|
Марка комбайна
|
Количество
|
Годовая трудоемкость
ремонта, чел. ч
|
Общая годовая трудоемкость
ремонта, чел. ч
|
|
КЗС-12
|
1
|
230
|
230
|
|
К-Г-6
|
2
|
210
|
410
|
|
КЗР-10
|
4
|
230
|
920
|
|
КВК-800
|
1
|
250
|
250
|
|
Итого
|
8
|
920
|
1810
|
Трудоемкость капитального ремонта машин других марок определяем
аналогично. Результаты расчетов сводим в таблица.2.3.
Таблица 2.3. Годовая трудоёмкость капитального ремонта с/х
машин
|
Марка машины
|
Количество
|
Годовая трудоёмкость
ремонта, чел. ч
|
Общая годовая трудоёмкость
ремонта, чел. ч
|
|
|
Плуги
|
|
|
ПЛН-5-40
|
4
|
20
|
80
|
|
|
Плн-3-35
|
6
|
10
|
60
|
|
|
ППО-8-40
|
2
|
30
|
60
|
|
|
Бороны
|
|
|
БЗСС-1
|
36
|
5
|
180
|
|
|
БДТ-3
|
4
|
15
|
60
|
|
|
Культиваторы
|
|
|
КПС-4
|
2
|
20
|
40
|
|
|
АКШ-6
|
1
|
30
|
30
|
|
|
Сеялки
|
|
|
ССТ-12Б
|
1
|
50
|
50
|
|
|
СПУ-6
|
1
|
40
|
40
|
|
|
Картофелесажалки
|
|
|
СН-4Б
|
1
|
30
|
30
|
|
|
КСМ-4
|
1
|
30
|
30
|
|
|
Пресс-подборщик
|
|
|
ПРФ-175
|
4
|
30
|
120
|
|
|
Комбинированные агрегаты
|
|
|
АКШ-7.2
|
1
|
45
|
45
|
|
|
Разбрасыватели удобрений
|
|
|
РУ-7000
|
2
|
40
|
80
|
|
|
ПРТ-7
|
1
|
30
|
30
|
|
|
ПРТ-10
|
3
|
40
|
120
|
|
|
АКШ-7.2
|
1
|
45
|
45
|
|
Разбрасыватели удобрений
|
|
РУ-7000
|
2
|
40
|
80
|
|
ПРТ-7
|
1
|
30
|
30
|
|
ПРТ-10
|
3
|
40
|
120
|
|
Грабли
|
|
ГВР-630
|
3
|
35
|
105
|
|
Опрыскиватели
|
|
Мекосан-2000
|
3
|
25
|
75
|
|
Погрузчик
|
|
ПЭА-1
|
1
|
30
|
30
|
|
Итого
|
77
|
555
|
1265
|
|
|
|
|
|
|
|
|
|
|
|
В последние годы широко применяют агрегатный метод ремонта
машин: работоспособность машин восстанавливают заменой их составных частей,
требующих капитального ремонта, из обменного фонда. При использовании в
хозяйстве агрегатного метода из общей трудоемкости ремонта машины необходимо
вычесть затраты труда на ремонт сборочных единиц (агрегатов), отправляемых на
специализированные предприятия.
Трудоемкость ремонта сборочных единиц на специализированных
предприятиях можно принять: по тракторам гусеничным-20%, по колесным
тракторам-20%, по автомобилям - 20%, комбайнам - 20% от общей трудоемкости
капитального ремонта.
Таким образом, годовая трудоемкость работ по капитальному
ремонту всех с/х машин, выполняемых в мастерской хозяйства, будет равна:
Тк.р. = 0,65Тк.кол. + 0,42Тк.к.
, (2.3)
где: Тк.к.. и Тк.с/х. - годовая
трудоемкость капитального ремонта соответственно комбайнов и
сельскохозяйственных машин, чел.-ч.
Тк.р. = 0,65 . 1810+0,42 .
1265 = 1707,8 чел.-ч.
Общую трудоемкость основных ремонтно-обслуживающих работ,
выполняемых в хозяйстве, определяют по формуле
Тоб=+Тт+Тк.р ,
(2.4)
где: Тт - трудоемкость текущего ремонта комбайнов
и сельскохозяйственных машин, чел.-ч;
Тк.р - трудоемкость капитального ремонта комбайнов
и с/х машин (без учета трудоемкости работ, выполняемых на специализированных
ремонтных предприятиях), чел.-ч.
Тоб= 2040+1707,8=3747,8 чел.-ч
2.1.3 Расчет трудоемкости
дополнительных работ
Кроме основных ремонтно-обслуживающих работ в мастерской
хозяйства выполняют дополнительные работы, объем которых устанавливают в
процентах от трудоемкости основных работ в процентах:
. Ремонт, монтаж и техническое обслуживание оборудования ферм
и комплексов - 8...10%, принимаем 10% ,тогда Тф
=375чел.-ч.
. Ремонт технологического оборудования мастерской, гаража и
машинного двора 4...6%, принимаем 5%, тогда Тоб.т=187,4 чел.-ч
. Изготовление и восстановление деталей - 5...6%, принимаем
5% , тогда Тд =187,4 чел.-ч
.Оказание услуг фермерам и прочие работы - 12%,тогда Тпр
= 449,7 чел.-ч
Итого
Т`об = Тоб + Тф + Тоб.т
+ Тд + Тпр , (2.5)
Т`об =3747,8+375+187,4+187,4+449,7 = 4947,3 чел.-ч
2.2 Распределение трудоемкости ремонтно-обслуживающих работ
по месяцам
Ремонт и техническое обслуживание машин в
хозяйстве организуются на основании оперативных (месячных) и годовых планов.
При составлении планов производится распределение всего объёма
ремонтно-обслуживающих работ между предприятиями ремонтно-обслуживающей базы.
Ответственные операции по обеспечению работоспособности машин могут выполняться
на договорной основе центрами фирменного технического сервиса машин, ремонтными
и другими сервисными предприятиями и организациями АПК. При распределении работ
учитывают наличие в хозяйстве производственной базы для ТО и ремонта, уровень
квалификации ремонтных рабочих, качество и экономическую целесообразность
ремонта на стороне или собственными силами.
В дипломных проектах следует предусмотреть
проведение в условиях хозяйства технического обслуживания и текущего ремонта
всех машин, капитального ремонта агрегатным методом.
Капитальный ремонт сборочных единиц машин
(агрегатов) проводить на специализированных предприятиях. На центрах фирменного
технического сервиса и в рай-агропром-технике.
По ремонтным работам, подлежащим
выполнению в хозяйстве, составляют график и определяют место их проведения
(ЦРМ, профилакторий гаража, ПТО).
Плановый ремонт машин должен выполняться с
учетом того, чтобы связанные с ним простои не отражались на сроках выполнения
полевых работ.
Следует также учитывать, что в
весенне-летний и летне-осенний периоды объем механизированных работ
увеличивается. Следовательно, будет увеличиваться потребность в периодическом
техническом обслуживании машин, так как она зависит от интенсивности их
использования. Объем плановых ремонтных работ в эти периоды снижается из-за
большой загрузки машин. При планировании ремонта комбайнов и
сельскохозяйственных машин необходимо учитывать сроки выполнения полевых работ.
Ремонт этих машин целесообразно проводить после окончания периода их
использования (весеннего сева, уборки, сева озимых и т. д.).
Оборудование животноводческих ферм и
комплексов работает в стационарных условиях и включено в непрерывный
технологический процесс. Большинство оборудования, поэтому ремонтируется на
месте его работы путем замены сборочных единиц. Загрузка оборудования
кормоцехов, раздачи кормов, удаления навоза будет меньше в пастбищный период.
Поэтому в этот период следует предусмотреть в плане большой объем работ по
ремонту.
Техническое обслуживание комбайнов должно
планироваться на период уборки соответствующих культур.
2.3 Распределение общей
трудоемкости по видам работ и обоснование состава мастерской
Распределение трудоемкости по видам работ является важной
задачей проектирования. От точности распределения зависят состав подразделений
(участков) ремонтной мастерской и точность последующих расчетов числа рабочих,
оборудования и производственной площади участков. При проектировании мастерских
хозяйств используют приближенные расчеты для распределения общего объема работ
по технологическим видам, так как заранее неизвестно, какие работы будут
выполняться. Поэтому распределение ремонтно-обслуживающих работ по
технологическим видам производят по укрупненным показателям, используя
процентные отношения отдельных видов работ от общей трудоемкости.
Состав подразделений мастерской
разрабатывают с учетом выполнения всех видов работ. Основная структурная
единица мастерской производственный участок, на котором выполняется работа
определенного технологического вида. Участок должен занимать обособленную
площадь и оснащаться специальным оборудованием. Состав участков мастерской
хозяйства принимаем с учетом имеющихся в хозяйстве сельскохозяйственных машин. Таблица 2.4.
Таблица 2.4. Распределение трудоемкости
ремонтно-обслуживающих работ по месяцам
|
Виды ремонтно-обслуживающих
работ
|
Трудоемкость работ, чел.-ч
|
|
Общая
|
в том числе по месяцам
|
|
|
Январь
|
Февраль
|
Март
|
Апрель
|
Май
|
Июнь
|
Июль
|
Август
|
Сентябрь
|
Октябрь
|
Ноябрь
|
Декабрь
|
|
1
|
2
|
3
|
4
|
5
|
6
|
7
|
8
|
9
|
10
|
11
|
12
|
13
|
14
|
|
1.К. Р.:
|
|
|
|
|
|
|
|
|
|
|
|
|
|
|
С/Х машин
|
531.3
|
120
|
180
|
70
|
--
|
--
|
--
|
--
|
--
|
--
|
--
|
85
|
76.3
|
|
Комбайнов
|
1176.5
|
160
|
94
|
250
|
156.5
|
90
|
-
|
--
|
--
|
--
|
--
|
240
|
186
|
|
2.Т. Р.:
|
|
|
|
|
|
|
|
|
|
|
|
|
|
|
Комбайнов
|
483
|
-
|
-
|
-
|
-
|
120
|
54
|
91
|
87
|
80
|
51
|
-
|
-
|
|
с/х машин
|
1557
|
120
|
89
|
156
|
94
|
135
|
146
|
136
|
97
|
195
|
190
|
120
|
79
|
|
3.Ремонт оборудования ферм
|
375
|
--
|
--
|
--
|
64
|
53
|
35
|
79
|
23
|
43
|
78
|
--
|
--
|
|
4.Ремонт технологического
оборудования
|
187.4
|
--
|
--
|
--
|
34.6
|
26
|
16.6
|
28
|
13
|
24
|
45.2
|
--
|
--
|
|
5.Восстановление и
изготовление деталей
|
187.4
|
15.6
|
13.2
|
23.7
|
10
|
7
|
23
|
15.6
|
13
|
32
|
9.3
|
11
|
14
|
|
6.Оказание услуг фермерам и
прочие работы
|
449.7
|
-
|
45.6
|
32.8
|
67
|
25
|
86
|
69.3
|
13
|
43
|
56
|
12
|
-
|
|
Итого
|
4947.3
|
415.6
|
421.8
|
532.5
|
426.1
|
456
|
360.6
|
418.9
|
246
|
417
|
369.5
|
355.3
|
2.4 Расчет
производственных участков
.4.1 Режим работы и фонды
времени
Ремонтная мастерская работает по прерывной рабочей неделе в
одну смену с одним выходным днем. Продолжительность рабочей недели
принимается 40 ч.
Номинальный годовой фонд времени работы
Фнр = dр . tсм - dпп . tс, (2.6)
где: Фнр - номинальный годовой фонд
времени работы рабочих, ч;
dp- число рабочих дней в году (при шестидневной
рабочей неделе принимают равным 305 дней);
tсм - продолжительность смены (при шестидневной
рабочей неделе tсм=40/6)
tс - время, на которое сокращается смена в
предпраздничные дни (tc=1ч);
dпп - число предпраздничных дней в году, принимаем dпп=9 дней.
Фнр = 305 . 40/6 - 9 .
1 = 2024
Действительный годовой фонд времени работы определяют с
учетом всех потерь времени.
Фдр = (Фнр - dо tсм)
п , (2.7)
где: d0 - общее число рабочих дней отпуска рабочего в
году, d0=24дня;
п - коэффициент, учитывающий потери рабочего
времени по уважительным причинам (
п =0,96).
Фдр = (2024 - 24 . 40/6)
. 0,96 = 1789 ч
Годовой фонд времени работы оборудования
Фо = (dр . tсм - dпп . tс) .
и . n (2.8)
где:
и - коэффициент использования оборудования (
и=0,97);
n - число смен.
Учитывая, что в напряженные периоды в мастерской возможно
проведение работ в 1,5 смены, среднегодовое значение числа смен можно принять
равным 1,2.
Фо = 2024 . 0,97 . 1,2 =
2356 ч
2.4.2 Расчет числа производственных рабочих и
другого персонала
В штат ремонтной мастерской входят производственные и
вспомогательные рабочие, инженерно-технические работники, счетно-конторский и
младший обслуживающий персонал. При ремонте и техническом обслуживании
тракторов и автомобилей привлекаются к выполнению разборочно-сборочных и
слесарных работ водители этих машин.
В дипломном проекте рассчитываем явочное и списочное число
производственных рабочих для каждого технологического вида работ. Списочный
состав производственных рабочих Рсп определяют по действительному
фонду времени работы рабочих:
Рсп= Тв/(Фдр
. кп), (2.9)
где Т в - годовая трудоемкость
определенного технологического вида работ, чел.-ч;
kn - коэффициент,
учитывающий перевыполнение рабочим норм выработки (kn =1,05.. .1,1).
Для примера рассчитаем число списочных
рабочих для выполнения кузнечных работ:
Рсп= 1026,1 / (1789 . 1,05) = 0,54
работников
Принимаем Рсп= 1 человек
Явочное число рабочих Ряв
определяют по номинальному фонду работы:
Ряв = Тв/(Фнр
. кп), (2.10)
Ряв = 1026,1 / (2024 .
1,05) = 0,48 работников
Принимаем Ряв = 9 человек
Списочное число рабочих учитываем при расчете числа остальных
работников мастерской и площади бытовых помещений. По явочному числу определяем
количество рабочих на участках. Результаты расчета числа рабочих приводим в
табл.2.5.
Учитывая, что ТО и ремонт автомобилей часто проводят в
профилактории гаража, для выполнения этих работ необходимо определять число
рабочих отдельно.
Число вспомогательных рабочих (кладовщик,
электрослесарь, разнорабочие и т. д.) принимаем10. ..12% от числа
производственных рабочих. Число инженерно-технических работников (заведующий
мастерской, техник-нормировщик, мастер и т. д.) принимаем 8% от числа производственных
и вспомогательных рабочих; служащих-3% и младшего обслуживающего персонала.
Таблица 2.5Сводные данные о численности производственных рабочих
|
Наименование участка
|
Трудоёмкость работ, чел-ч.
|
Число рабочих, чел
|
|
|
Явочное
|
Списочное
|
|
|
Расчётное
|
Принятое
|
Расчётное
|
Принятое
|
|
1.Моечные,разборочно-моечные,
слесарные по тракторам, комбайнам, автомобилям и с/х машинам
|
8905,9
|
4,1
|
4
|
4,2
|
4
|
|
2.Кузнечные
|
1026,1
|
0,48
|
1
|
0,54
|
1
|
|
3. Сварочные
|
1393,5
|
0,65
|
|
0,74
|
|
|
4.Медницко-жестяницкие
|
734,6
|
0,34
|
|
0,39
|
|
|
5.Ремонт топливной
аппаратуры
|
318,8
|
0,15
|
1
|
0,17
|
1
|
|
6. Ремонт гидросистем
|
179,8
|
0,08
|
|
0,01
|
|
|
7.Ремонт
электрооборудования
|
365,0
|
0,17
|
1
|
0,2
|
1
|
|
8.Станочные
|
1610,5
|
0,75
|
1
|
0,85
|
1
|
|
10.Шиноремонтные
|
214,5
|
0,1
|
1
|
0,1
|
1
|
|
11.Обойно-окрасочные
|
538,4
|
0,25
|
|
0,3
|
|
|
Итого
|
15288,1
|
8,15
|
9
|
8,9
|
9
|
Объединяем работников на участках :2,3,4;
5,6,7; 10,11 ( таблица..2.5)
.4.3 График загрузки
рабочих ремонтно-монтажного участка
Для построения графика для каждого месяца
рассчитываем трудоемкость слесарно-монтажных и регулировочных работ с учетом
принятого распределения работ по месяцам года и процентных соотношений по
капитальному, текущему ремонту машин, техническому обслуживанию и т. д.
Полученные результаты сопоставляем с месячным фондом времени
рабочего, величину которого можно принять равной в среднем 170 ч. Это позволяет
обоснованно выбрать состав бригад (звеньев). Например, трудоемкость текущего
ремонта тракторов в январе составляет 280 ч. Следовательно, на эту работу
поставим звено из двух рабочих, один из которых тракторист ремонтируемого
трактора. Поскольку общий объем работ для них недостаточен, подсчитывается
период их занятости в днях.
Для этого трудоемкость делится на
количество рабочих звена и их среднедневной фонд времени (6,7 или 8,0 ч
соответственно для шестидневной и пятидневной рабочей недели). Таким же образом
строим графики по остальным объектам работ. График представлен на листе 3
графической части.
2.4.4 Расчёт и подбор ремонтно-технологического оборудования
Рассчитываем потребность в металлорежущих станках и сварочном
оборудовании. Число металлорежущих станков:
Nст = Тст / Фо
и, (2.11)
где: Тст- годовая трудоемкость
станочных работ, чел. -ч;
Ф0 -действительный фонд времени
использования оборудования, ч;
и - коэффициент
использования оборудования (
и=0,7);
Nст = 1610/(
1964,5 . 0,7 )= 1,1
Принимаем Nст = 1 станка.
Nсв = Тсв / Фо
и , (2.12)
где: Тсв - годовая трудоемкость
сварочных работ, чел. -ч;
Nсв = 1393,5/
(1964,5 . 0,7) = 1,0
Принимаем Nсв=1 комплект сварочного оборудования
Общее количество станков ориентировочно
распределяем по группам следующим образом: токарно-винторезные-1станок.
Заточные и обдирочно-шлифовальные,
настольно-сверлильные станки принимаем без расчета. Марки станков подбирают с
учетом технологических процессов и размеров обрабатываемых деталей.
Мойку сборочных единиц и деталей при
ремонте машин производим в моечной машине ОМ-1366Г-01. Все остальное
оборудование мастерской и организационную оснастку подбираем исходя из нужд
технологического процесса.
В мастерской необходимо предусмотреть
подъемно-транспортные средства. При выборе грузоподъемного оборудования
учитываем грузоподъемность, зону обслуживания, интенсивность грузопотока,
направление перемещения грузов, габариты транспортируемых объектов и т. п.
В ремонтно-монтажном участке при сборке
машин целесообразно использовать электрифицированную кран-балку
грузоподъемностью до 3 т, которая может обслуживать всю площадь участка.
Кран-балки грузоподъемностью 3,2т можно установить на участках технического
обслуживания, ремонта сельскохозяйственных машин. Число кран-балок на участке
принимаем из расчета одна на 30...40 м длины участка.
Принятое технологическое оборудование и организационную
оснастку сводим в таблице. 2.6. В таблице по каждому участку отдельно
подсчитываем суммарную площадь, занимаемую оборудованием. Эти данные необходимы
для расчета производственных площадей участков.
Таблица 2.6.Ведомость оборудования и
организационной оснастки
|
Наименование оборудования и
оснастки
|
Шифр или марка
|
Количество
|
Размеры оборудования в
плане, мм
|
Занимаемая площадь , м2
|
|
1
|
2
|
3
|
4
|
5
|
|
1. Кузнечно-сварочный и
медницко-жестяницкий участок.
|
|
1.Горн кузнечный на один
огонь
|
5902-26
|
1
|
1000 1000
|
1,0
|
|
2.Вентилятор кузнечный
|
ОПС-3561А
|
1
|
500 460
|
0,23
|
|
3. Молот ковочный
|
М-4129А
|
1
|
790 1560
|
1,23
|
|
4.Стеллаж для инструмента
|
0409.5.800-1
|
1
|
1430 500
|
0,715
|
|
5. Наковальня двурогая
|
1210-0401
|
1
|
600 150
|
0,09
|
|
6. Станок
точильно-шлифовальный
|
3Б634
|
1
|
1000 665
|
0,665
|
|
7. Ванна для закалки
деталей
|
5008.5.800-1
|
1
|
600 400
|
0,24
|
|
8. Стол для сварочных работ
|
ОКС-7523
|
1
|
1100 750
|
0,82
|
|
9.Трансформатор сварочный
|
ТД-102УХЛ-2
|
1
|
630 365
|
0,22
|
|
10. Выпрямитель сварочный
|
ВД-201У3
|
1
|
785 780
|
0,61
|
|
11. Шкаф сварщика
|
0205.5.800-1
|
1
|
800 430
|
0,34
|
|
12.Щит для сварочных работ
|
5157.000
|
1
|
1200 1000
|
|
|
13. Ящик для песка
|
0304.5.800-1
|
1
|
500 500
|
0,25
|
|
Всего
|
|
|
|
5,64
|
|
2. Слесарно-механический
участок
|
|
14.Станок
горизонтально-фрезерный
|
6Т80Ш
|
1
|
1600 1875
|
3,0
|
|
15. Станок
токарно-винторезный
|
1К62
|
1
|
2800 1190
|
3,33
|
|
16.Верстак слесарный
|
ОРГ-5365
|
1
|
1300 920
|
1,19
|
|
17.Станок
точильно-шлифовальный
|
3К634
|
1
|
1000 665
|
0,665
|
|
18. Тумбочка
инструментальная
|
0206.5.800-1
|
1
|
665 551
|
0,36
|
|
Всего
|
|
|
|
6,98
|
|
3. Участок проверки и
регулировки топливной аппаратуры и гидросистем
|
|
19. Стенд для испытания
дизельной аппаратуры
|
КИ-15711М-01
|
1
|
1100 620
|
0,86
|
|
20. Прибор для испытания и
регулировки форсунок
|
КИ-15706
|
1
|
785 340
|
0,26
|
|
21.Стенд для ремонта
форсунок
|
ОР-5227
|
1
|
970 540
|
0,42
|
|
22. Верстак для ремонта
карбюраторов
|
0104.5.800-1
|
1
|
1250 750
|
0,93
|
|
23. Ящик для песка
|
0304.5.800-1
|
1
|
500 500
|
0,25
|
|
24.Ларь для обтирочного
материала
|
5133.000
|
1
|
1000 500
|
0.5
|
|
25. Стеллаж для топливной
аппаратуры
|
0402.5.800-1
|
1
|
900 350
|
0,31
|
|
Всего
|
|
|
|
2,47
|
|
4. Участок проверки
электрооборудования и зарядки аккумуляторов
|
|
26.Верстак для ремонта
электрооборудования
|
477.060.01
|
1
|
1200 950
|
1,14
|
|
27. Аква-дистиллятор
|
ДЭ-4-2
|
1
|
320 300
|
0.096
|
|
28. Выпрямитель селеновый
|
ВСА-5А
|
1
|
400 340
|
0,13
|
|
29.Ванна для приготовления
электролита
|
0509.5.800-1
|
1
|
650 348
|
0,22
|
|
30. Стенд для проверки
электрооборудования
|
КИ-968
|
1
|
885 885
|
0,78
|
|
1.Тележка для перевозки и
разлива серной кислоты
|
477.060.06
|
1
|
1200 696
|
0,83
|
|
32.Шкаф для зарядки
аккумуляторов
|
ШЗ. 00
|
1
|
1100 800
|
0,88
|
|
33. Стеллаж для хранения
аккумуляторов
|
0411.5.800-1
|
1
|
2015 515
|
1,03
|
|
Всего
|
|
|
|
2,93
|
|
5. Шиноремонтный участок
|
|
34.Вешалка для камер
|
0103.5.800-1
|
1
|
1550 450
|
0,67
|
|
35. Верстак для ремонта шин
|
ОРГ-1468-01-080
|
1
|
1250 750
|
1.0
|
|
36. Стеллаж для покрышек
|
0415.5.800-1
|
1
|
2150 800
|
1,72
|
|
37. Установка для проверки
камер
|
ПКШ-2
|
1
|
1620 720
|
1,16
|
|
37. Компрессор
|
155-2135
|
1
|
1785 560
|
0,99
|
|
38. Электро-вулканезатор
|
6140
|
1
|
405 350
|
0,14
|
|
Всего
|
|
|
|
3,15
|
|
39. Стол монтажный
|
ОРГ-1486-01а
|
1
|
1200 800
|
0.96
|
|
40. Установка для мойки
деталей
|
ОРГ-4990Б
|
1
|
900 650
|
0,58
|
|
41. Ларь для обтирочного
материала
|
0314.5.800-1
|
1
|
500 500
|
0,25
|
|
42. Установка для промывки
смазочной системы
|
ОМ-16361
|
1
|
1070 800
|
0,85
|
|
43. Установка для смазки и
заправки
|
ОЗ-16386
|
1
|
1450 810
|
1,17
|
|
44.Тележка инструментальная
|
70-7878-1004
|
1
|
600 320
|
0,19
|
|
45. Ящик для песка
|
0304.5.800-1
|
1
|
500 500
|
0,2
|
|
Всего
|
|
|
|
2,71
|
|
7. Участок ремонта
агрегатов
|
|
46.Установка для мойки
деталей
|
ОРГ-4990Б
|
1
|
900 650
|
0,58
|
|
47.Верстак слесарный
|
ОРГ-5365
|
1
|
1300 920
|
1,19
|
|
48. Станок для шлифовки
фасок клапанов
|
ЦКБ-Р-108
|
1
|
870 575
|
0,5
|
|
49. Станок
настольно-сверлильный
|
2М112
|
1
|
910 614
|
0,55
|
|
50. Стенд для разборки и
сборки рядных двигателей
|
ОПТ-5557М
|
1
|
1080 1000
|
1.1
|
|
1. Подставка под
оборудование
|
0305.5.800-1
|
1
|
820 700
|
0,62
|
|
52. Ящик для песка
|
0304.5.800-1
|
1
|
500 500
|
0.25
|
|
Всего
|
|
|
|
3,72
|
|
8. Участок мойки деталей и
агрегатов, дефектовки
|
|
53. Моечная машина
|
ОМ-1366ГО-1
|
1
|
4660 3450
|
16,0
|
|
54. Контейнер для
выбракованных деталей
|
0312.5.800-1
|
1
|
800 800
|
0,64
|
|
55. Стол дефектовщика
|
0109.5.800-1
|
1
|
2400 800
|
1,92
|
|
56. Электрошкаф моечной
машины
|
-
|
1
|
800 300
|
0,24
|
|
57.Подставка под
оборудование
|
0305.5.800-1
|
1
|
820 700
|
0,62
|
|
58.Пресс гидравлический
|
ОКС-1671М
|
1
|
1500 670
|
1,0
|
|
59. Ящик для песка
|
0304.5.800-1
|
1
|
500 500
|
0.25
|
|
Всего
|
|
|
|
17,0
|
|
9. Ремонтно-монтажный
участок
|
|
60.Тележка для перевозки
агрегатов
|
70-7878-1004
|
1
|
600 320
|
0,96
|
|
61. Домкрат гаражный
гидравлический
|
П-304
|
1
|
1630 430
|
0,7
|
|
1
|
2
|
3
|
4
|
5
|
|
62. Нагнетатель смазки
|
ОЗ-18002
|
6
|
690 380
|
1,57
|
|
63. Гайковёрт для гаек
колёс
|
ОР-12234М
|
1
|
1200 650
|
0,78
|
|
64. Ящик для песка
|
5139.000
|
1
|
500 500
|
0,25
|
|
Всего
|
|
|
|
2,26
|
|
Всего по всем участкам
|
|
|
|
48,76
|
|
|
|
|
|
|
|
|
|
|
|
|
|
|
|
.5 Расчёт площади ремонтного предприятия
Расчёт производственных площадей участков наружной очистки и мойки,
разборочно-моечного, технической диагностики производится по площади,
занимаемой оборудованием и машинами, и переходным коэффициентом, учитывающим
рабочие зоны, проходы и проезды между оборудованием. Площади этих участков определяем
по формуле:
, (2.13.)
где Fоб, Fм - площади занимаемые оборудованием и
машинами, м2;
s - коэффициент, учитывающий рабочие зоны и проходы
(табл.2.5).
Площадь, занимаемая машинами, определяется по их габаритным размерам
(табл. 2.5) и наибольшему количеству машин, одновременно находящихся на
участке. Площадь, занимаемая машинами одновременно находящимися на
ремонтно-монтажном участке, определится в соответствии с площадью занимаемой
наиболее большой машиной парка ( КЗС-12, ППО-8-40), и составит:
Fм=16,7+21,3+17+25=80
м2, тогда
Fуч=
(2,26+80) 4,5=370,1 м2
Плщади остальных производственных участков рассчитываем по формуле:
(2.14.)
Для кузнечно-сварочного участка
Fуч =
4∙5=20 м2
Принимаем 21 м2
Площади остальных производственных участков рассчитываются аналогично.
Площадь конторы принимаем 15 м2, санбытузла - 40 м2.
В здании мастерской располагаются склад запчастей и агрегатов,
инструментальная кладовая. Площадь складских помещений принимаем равной 10% от
производственной площади.
Все расчеты площадей участков и вспомогательных помещений сводим в
таблие.2.7.
Таблица 2.7.Площади участков и вспомогательных помещений
|
№ п.п.
|
Участки и помещения
|
Площадь, м2
|
Значение коэффициента
|
Площадь участка, м2
|
|
|
|
занимаемая машинами
|
занимаемая оборудованием
|
|
расчётная
|
принятая после компоновки
|
|
|
1
|
2
|
3
|
4
|
5
|
6
|
7
|
|
|
1
|
Ремонтно-монтажный участок
|
80,0
|
2,26
|
4,0
|
370,1
|
372,0
|
|
|
1
|
2
|
3
|
4
|
5
|
6
|
7
|
|
2
|
Участок диагностики и ТО
машин
|
16,7
|
2,71
|
4,0
|
77,6
|
82,0
|
|
3
|
Кузнечно-сварочный и
медницко-жестяницкий
|
-
|
4,64
|
6,5
|
36,8
|
45,7
|
|
4
|
Слесарно-механический
участок
|
-
|
6,98
|
3,0
|
24,4
|
29,0
|
|
5
|
Участок проверки и
регулировки топливной аппаратуры и гидросистем
|
-
|
2,47
|
6,5
|
16,5
|
19,5
|
|
6
|
Участок проверки
электрооборудования, зарядки аккумуляторов
|
-
|
3,15
|
5,5
|
17,6
|
22,6
|
|
7
|
Шиноремонтный
|
-
|
3,15
|
5,5
|
17,3
|
21,0
|
|
8
|
Участок ремонта агрегатов
|
-
|
3,72
|
5.0
|
18,6
|
20,0
|
|
9
|
Участок мойки деталей и
агрегатов, дефектовки
|
-
|
17
|
3,8
|
64,4
|
67,0
|
|
10
|
Кабинет зав. мастерской
|
|
|
|
|
4,0
|
|
11
|
Кабинет по ТБ
|
|
|
|
|
4,5
|
|
12
|
Санбытузел
|
|
|
|
|
17,0
|
|
13
|
Складское помещение
|
|
|
|
|
12
|
|
Всего
|
|
|
|
|
726,5
|
|
|
|
|
|
|
|
|
|
|
3. КОНСТРУКТОРСКАЯ РАЗРАБОТКА
.1 Обоснование актуальности разработки стенда для разборки и
сборки карданных валов
В связи с перестройкой агропромышленного комплекса в последние годы
происходит улучшение районной обслуживающей базы хозяйства. Однако охват машин
комплексным ремонтом значительно ограничен. Работоспособность машин в большей
степени восстанавливают заменой их сборочных единиц, требующих капитального
ремонта, из обменного фонда. В дипломном проекте предусмотрено организовать
ремонт некоторых агрегатов в центральной мастерской хозяйства. Для этого в
ремонтно-монтажном отделении оборудованы участки по ремонту агрегатов.
В настоящее время разборка карданных валов производится на монтажном
столе или непосредственно на самом агрегате. В процессе разборки карданных
валов (масса некоторых достигает более 100 кг) возникает необходимость их
поворота для удобства выполнения разборочных операций. Для поворота применяются
подсобные рабочие. Отсутствие необходимого специального оборудования для
разборки карданных валов, приводит к увеличению трудозатрат на их ремонт.
В дипломном проекте разработана конструкция, позволяющая после несложной
доработки производить разборку или сборку карданных валов в условиях ЦРМ
хозяйства. Общий вид стенда представлен в графической части (лист 5).
Наиболее распространенной причиной выхода из строя карданных валов -
износ крестовин в местах крепления со скользящей вилкой. В результате этого
появляется биение карданного вала и через некоторое время, заклинивают
игольчатые подшипники. Для предотвращения неполадок, необходимо периодично
проверять карданный шарнир на нагрев.
При незначительных износах (величина износа не более 1,0 мм)
ограничиваются растачиванием посадочных отверстий вилок и ставят дополнительное
кольцо.
Выполнить разборно-сборочные рабаты в условиях обычной ремонтной
мастерской хозяйства поможет проектируемый нами стенд. Предлагаемый стенд
позволит выполнить разборно-сборочные работы вдвое быстрее и тем самым
экономить значительные средства. За весь объем работ, проводимых на ремонтных
предприятиях колхоз не всегда в состоянии рассчитаться из-за высокой цены
ремонта и отсутствия денежных средств хозяйства. Поэтому в данном проекте нами
разработан стенд для разборки и сборки карданных валов.
3.2 Назначение, устройство и принцип работы стенда для разборки и сборки карданных
валов
Стенд предназначен для увеличения эффективности разборно-сборочных работ
в условиях обычной ремонтной мастерской хозяйства, а также устранение небольших
неполадок в узле крестовина-вилка.
Рисинок.3.1. Схема стенда для разборки и сборки карданных валов
Cтенд
состоит из станины 1, на которой крепятся с помощью сварки опоры, стойка стенда
в свою очередь крепятся анкерными болтами к фундаменту. Для поддержания
карданных валов в горизонтальном положении имеется поддерживающая призма 2, для
удобства сборки и разборки и предотвращения прокручивания карданного вала
сверху прижимается прижимной призмой 3. К самой прижимной призме с помощью гаек
прикручены направляющие 5, по которым призма 3 может перемещаться вертикально,
а также не дают призме провернутся вокруг своей оси. Для удобства опускания или
подъема прижимной призмы на винту установлен маховик 4, что также позволяет
слесарю и без значительного усилия прижать сам карданный вал.
На неподвижные, поддерживающие призмы ложится карданный вал и сверху
прижимается прижимной призмой в таком положении, чтобы было легче и удобнее
проводить разборно-сборочные работы.
3.3 Основные расчеты стенда для разборки сборки карданных
валов
.3.1 Расчет сварочного соединения
Соединение должно быть равнопрочным основному элементу. Полоса и косынка
из стали Ст-3. Сварка - ручная. Нагрузка - статическая.
Определяем допускаемое напряжение растяжения косынка из стали С т-3(табл.
1.1) [27] Gт=240 Н/мм2 и [s]=1.35
, (3.1)
где: GT-предел текучести;
е - масштабный фактор, е = 0,9;
[s]-коэффициент безопасности;
КG-эффективный коэффициент концентрации
напряжений при статических нагрузках КG=1,0…1,2.
Тогда: [Gp]=
H/мм2
Рисунок.3.2. Расчетная схема сварочного соединения
Определяем допускаемое напряжение среза в шве по таблица. 2.1[27], приняв
электроды марки Э42:
(3.2)
где: [Gp]-допускаемое напряжение растяжения.
[фcp/]=0,6·160=96
H/мм2
Находим усилие, которое может передать косынка, имеющий сечение А=1920 мм2(ГОСТ
8509-57) по формуле:
F=A [Gp], (3.3)
где: А - сечение уголка.
F=1920·160=30,7·104
H
Определяем потребную суммарную длину лобового и флангового швов, приняв
катет шва, приняв катет шва r =
д=10 мм;
, (3.4)
где: F-усилие, которое может передать
уголок;
r -
катет шва;
[фcp/]-допускаемое напряжение среза.
l =
мм.
Определим длину фланговых швов:
lф=l / 2, (3.5)
тогда: lф=457:2=228,5 мм
Определяем нагрузку, приходящиеся на фланговые швы:
(3.6)
Fф=
Н.
3.3.2 Расчет винтового механизма
Рассчитаем винтовую пару с усилием надавливания F=153.5·103H. Длина
опускания винта l=240
мм. Коэффициент трения в резьбе и на торце винта f=0.15(сталь-чугун). Усилие рабочего Ft=100H. Найти d, d1, H, D, h, D1, lp, dp, з.
Определить внутренний диаметр винта, приняв материал Сталь 35 с
допускаемым напряжением на сжатие [Gc] =70Н/мм2 по формуле:
(3.7)
где: F-усилие приходящие на швы;
[Gc]-допускаемое напряжение на сжатие.
мм
принимаем трапецеидальную резьбу (СТ СЭВ 185-75), для которой d1=62мм, d2=66мм, d=68мм, Р=6мм, б=
.
Рисунок.3.2. Расчетная схема винтового механизма
Для проверки винта на самоторможение определим угол подъема винтовой
линии и угол трения. Угол подъема резьбы:
(3.8)
тогда
Угол трения
(3.9)
где: f-коэффициент трения в резьбе и на
торце винта, f=0,15;
б-угол подъема резьбы.
Условие самоторможения обеспечивается(с>ш).
Так как стержень винта работает на сжатие и имеет большую свободную
длину, его необходимо проверить на продольный изгиб с учетом устойчивости по
формуле:
, (3.10)
Коэффициент уменьшения допускаемых напряжений ц для сжатых стержней
выбирается в зависимости от гибкости л. Гибкость равна:
, (3.11)
где: l-длина опускания винта, l=240мм.
откуда ц=0,97
Учитывая наличие зазоров в закреплении винта, принимаем м=1(шарнирное
закрепление концов).
Радиус инерции для круглого стержня:
, (3.12)
тогда:
<ц[GC]=0,97·70=67,9 H/мм2
Определяем число витков гайки (СЧ 18-36) из условия износостойкости,
приняв [q]=8 Н/мм2 по табл. 4.4[ ]:
, (3.13)
где: [q]-износостойкость резьбы.
Так как z>30, то принимаем резьбу Троп
76 х 8 для которой d=76мм, d2=70мм, d1=62мм, P=8мм, б=
. Тогда:
Определим высоту гайки: Н=z·P=19·8=152 мм.
Определяем наружный диаметр гайки из условия прочности на растяжение:
, (3.14)
[GP]=
, (3.15)
где: GB-предел текучести, GB=180 Н/мм2
[S]-коэффициент безопасности, [S]=2,5
тогда
Н/мм2
Если принять Gсм=0,4GB=0,4·180=72 H/мм2,
то диаметр буртика из условия прочности на смятие равен:
, (3.16)
тогда:
мм
принимаем 106мм.
Определяем высоту буртика гайки h из условия прочности на срез. Для чугуна фср=0,15· GB=0,15·180=27 Н/мм2.
откуда:
, (3.17)
где: [фср]-допускаемое напряжение среза.
мм
принимаем h=20мм.
Момент трения в резьбе и на торце винта, т.е. момент, необходимый для
вращения винта, определим по формуле:
, (3.18)
где: ш-угол подъема резьбы, ш=arctg
;
dп
- диаметр пяты, dп=d-1=76-1=75мм;
-угол трения.
Н/мм
Находим КПД винтовой пары по формуле:
, (3.19)
тогда:
%
Находим КПД стенда по формуле:
, (3.20)
следовательно:
%
Определим момент затяжки:
, (3.21)
где: R-плечо.
Hмм=12Нм
4. ОХРАНА ТРУДА
Охрана труда - система обеспечения безопасности жизни
и здоровья работников в процессе трудовой деятельности, включающая правовые,
социально-экономические, организационные, технические, психофизиологические,
санитарно-гигиенические, лечебно-профилактические, реабилитационные и иные
мероприятия и средства. [22]
Основная цель улучшения условий труда: достижение социального
эффекта, т.е. обеспечение безопасности труда, сохранение жизни и
здоровья работающих, сокращение количества несчастных случаев и заболеваний на
производстве.
Задачи: не допустить несчастных случаев на производстве
и профессиональных заболеваний с одновременным обеспечением благоприятных
условий труда, улучшение условий труда и экономические результаты: рост
прибыли (в связи с повышением производительности труда); сокращение затрат,
связанных с компенсациями за работу с вредными и тяжелыми условиями труда;
уменьшение потерь, связанных с травматизмом, профессиональной заболеваемостью;
уменьшением текучести кадров и т.д. Основным документом в
нормативно-технической документации является нормативный акт «Система
стандартов безопасности труда».
Современное состояние условий охраны труда в народном
хозяйстве республики можно охарактеризовать как напряжённое, а если точнее, по
целому ряду отраслей промышленности - как неудовлетворительное. Среди
показателей, характеризующих здоровье работающих, профессиональная
заболеваемость занимает особое место, поскольку возникновение этих заболеваний
этимологически связано с вредными производственными факторами. Анализ данных
официальной отчётности свидетельствует, что у нас в республике в течение ряда
лет регистрируется 250-300 случаев профессиональной заболеваемости.
По оперативным данным Департамента государственной инспекции труда,
в январе - июне 2009 года в результате несчастных случаев на производстве
погибли 83 работника (в январе - июне 2008 г. - 84), тяжело травмированы 338
работников (357). Удельный вес погибших при отсутствии вины нанимателя
составляет 35 % от общего числа смертельно травмированных, что практически на
уровня прошлого
года (первое полугодие 2008 года 35,7 %) и потерпевших с
тяжелым исходом - 50 % от общего числа тяжело травмированных, что ниже прошлого
года(первое полугодие 2008 года 41,7 %).[23].
Анализируя полученные данные о травматизме и его
последствиях, мы видим, какой невосполнимый ущерб он наносит обществу. Поэтому
следует осуществлять дополнительные меры по улучшению условий и безопасности.
труда. С этой целью в хозяйстве проводится анализ состояния
труда и разработка мероприятий по охране труда, благодаря которым можно
добиться снижения количества несчастных случаев и создать здоровые и безопасные
условия труда.
.1 Анализ состояния охраны труда в ОАО
«МАКАРОВО-АГРО» Брестской области Каменецкого района
Сельскохозяйственное предприятие «Макарово-Агро» Каменецкого
района, Брестской области, согласно «Положения о системе организации работы и
контроля по охране труда на предприятиях и в организациях Госагропрома
Республики Беларусь» от 30.08.1998 г. несёт ответственность директор хозяйства.
Ежегодно издаётся приказ по хозяйству на проведение всей практической работы по
охране труда и пожарной безопасности. Также он, совместно с профсоюзным
комитетом, разрабатывает мероприятия по устранению (или уменьшению) вредных
условий, содержанию рабочих мест в надлежащем санитарно-гигиеническом состоянии
и предупреждению возникновения несчастных случаев, улучшению условий труда,
принимает меры по их выполнению.
Опасные и вредные опасные факторы: Пыль является наиболее
распространенным неблагоприятным фактором производства; Воздействие шума;
Электрический ток определенной силы; раскаленные тела; недостаточная
освещенность рабочей зоны.
Мероприятия по улучшению охраны труда
На основании проведенного анализа состояния охраны труда
вхозяйстве необходимо провести ряд мероприятий по улучшению техники
безопасности и производственной санитарии. Так, в производственных помещениях,
в которых в процесса работы выделяется пыль, выхлопные газы, пары бензина и
другие
выделения необходимо отремонтировать или заменить на новую
приточно-вытяжную вентиляцию. При реконструкции ЦРМ нами предусмотрена
венткамера, также 2 агрегата для отсоса пыли и мелкой стружки ПА 2-12М в
кузнечно-сварочном и слесарно-механическом участках, а так же вентилятор
кузнечный ОКС - 3361А.
Для улучшения микроклимата необходимо реконструировать
отопление.
Для обеспечения благоприятных условий труда и исключения
несчастных случаев в центральной ремонтной мастерской необходимо провести
следующие технические мероприятия:
улучшить состояние полов на участке;
смотровые канавы оборудовать подъемниками, для колес
направляющими, на эстакаде установить перила высотой 1 м, отбойные реборды и
направляющие;
предусмотреть специальные подставки для установки под
вывешенную машину;
организовать обучение работников правилам работы с
грузоподъемными механизмами и устройствами; - оборудовать площадки для хранения
сельскохозяйственной техники средствами противопожарной защиты;
нанести разметку из несмываемой краски, определяющую место
установки техники на открытых площадках;
оборудовать все рабочие места в соответствии с правилами
охраны труд;
обеспечить работников средствами индивидуальной защиты в
соответствии с требованиями «Правил обеспечения работников средствами
индивидуальной защиты» и контролировать их использование;
организовать обучение охране труда в соответствии с
нормативными а документами, строго контролировать проведение и регистрацию
инструктажей (повторного и целевого);
разработать инструкции по охране труда для всех видов работ;
периодически проводить проверки соблюдения техники
безопасности при работе на тракторах и сельскохозяйственных машинах;
оформить кабинет по охране труда и технике безопасности и
обеспечить его необходимой литературой и оборудованием;
внедрить мероприятия по экономическому стимулированию
выполнения требований охраны труда;
разработать инструкцию по охране труда при работе на стенде
для ремонта радиатора тракторов
Таблица 4.1. Выделение и использование средств на мероприятия
по охране труда
|
Показатели
|
2012г.
|
2013г.
|
|
Планируемое
|
Фактическое
|
Планируемое
|
Фактическое
|
|
Сего затрат, тыс.руб.
|
3544,06
|
3379,75
|
3608,77
|
3533,97
|
|
На средства индивидуальной
защиты
|
3246,5
|
3019,9
|
3256,3
|
3151,7
|
|
Ассигнование на одного
работника
|
8,36
|
7,25
|
6,57
|
7,57
|
|
На лечебно - профи-
лактическое питание и молоко
|
289,2
|
352,6
|
345,9
|
374,7
|
Как видно из таблицы 4.1, в виду тяжелого финансового
положения хозяйства в сложных экономических условиях, пытаются выделять больше
денежных средств, но все же многие аспекты охраны труда остаются без должного
внимания. Особенно это видно из того, что колхозе нет в полном объеме
обеспечения специальной одеждой и средствами индивидуальной защиты. Эти и
другие недостатки зачастую приводят к несчастным случаям.
Недостатки в работе по охране труда приводят к случаям
травматизма. Расследование несчастных случаев в хозяйстве проводятся в
соответствии с “Правилами расследования и учета несчастных случаев на
производстве и профессиональных заболеваниях” утвержденных Постановлением
Совета Министерство Республики Беларусь 15.01.2004г. Несчастные случаи,
произошедшие в хозяйстве, расследуются и регистрируются для отчетности, на
каждый несчастный случай составляют акт по форме Н-1. Несчастные случаи
расследуются комиссией в течении трех рабочих дней. Комиссия назначается
администрацией хозяйства в составе полномочного представителя нанимателя
(назначается решением правления хозяйства), исполняющего обязанности инженера
по охране туда, полномочного представителя профсоюзной организации, утвержденного
решением профсоюзного комитета и представителя из страхового агентства. При
этом выясняется его обстоятельства, и составляют акт по форме Н-1 (НП) в
четырех экземплярах, которые затем отправляют на утверждение руководителю. Тот
в сваю очередь, в течении двух дней рассматривает несчастный случай,
утверждается актом, и назначаются меры по устранению причин, вызывающих
несчастный случай.
Данные о показателях производственного травматизма за два
года представлены в таблице 4.2.
Таблица 4.2. Показатели производственного травматизма.
|
Показатели
|
Обозначения
|
Годы
|
|
|
2012
|
2013
|
|
Среднесписочное число
работников
|
Р
|
116
|
132
|
|
Число несчастных случаев
|
Д
|
1
|
2
|
|
Число дней нетрудоспособных
|
КЧ = Т 1000 / Р
|
10
|
22
|
|
Показатели частоты
травматизма
|
КТ = Д / Т
|
0,86
|
1,7
|
|
Показатели потерь рабочего
времени
|
Кn=КЧ КТ=Д 1000/Р
|
23,8
|
44,4
|
Проанализировав, значения таблицы 4.2 сделаем вывод, что
частота травматизма в течение последних двух лет несколько уменьшилось.
Показатели тяжести травматизма в 2003 году увеличься по сравнению с 2002 годом.
4.2 Мероприятия по улучшению состояния охраны
труда в ОАО «МАКАРОВО-АГРО»
Исходя из анализа состояния охраны труда в ОАО “Макарово-Агро”,
необходимо разработать следующие мероприятия:
При поступлении информационных материалов об авариях и несчастных
случаях, происходящих на аналогичных производственных, и при выполнении разовых
работ, не связанных с прямыми обязанностями по специальности.
Установить более жесткий контроль за соблюдением от при работе на токарных и
сверлильных станках.
Установить на технологическое оборудование защитные кожухи на
приводе сверлильном станке и переносные ширмы на сварочном посту.
Разработать инструкции по охране труда на рабочее место по
ремонту электрооборудованию и ремонту шин, в соответствии “Порядком разработки,
согласование и утверждения и инструкции по охране труда” утвержденным
постановлением Госкомтруда Республики Беларусь от 14 июля 2008 раз в пять лет.
Организовать предрейсовый контроль в соответствии с “Порядком
проведения обязательных медицинских осмотров”, утвержденным Постановлением
Министерство здравоохранения Республики Беларусь от 8.08.2012 N 33.
Обеспечить своевременную выдачу необходимых средств
индивидуальной защиты в полном объеме в соответствии с “Правилами обеспечения
работников средствами индивидуальной защиты ”, утвержденными Постановлением
Министерства труда Республики Беларусь от 28.04.1999г.N67 и согласно ”Типовых
отраслевых норм бесплатной выдачи средств индивидуальной защиты работником
сельского хозяйства” утвержденных постановлением Министерства труда социальной
защиты РБ 26.09.2003г.
На основании ГОСТ 12.3.017-79 ССБТ “Ремонт и техническое
обслуживание МТП, общие требование безопасности”. Оборудуем смотровые ямы
мостиками-настилами, а также противооткатными башмаками, исключающими движение
машины во время обслуживания.
Для поддержания на посту технического обслуживания
температура соответствующей СНиП 2.04.05-91 ”Отопление, вентиляция и
кондиционирование” в холодные и переходные период года предусмотрено отопление.
Для соответствия требований СанПин один раз в смену будет
проводится влажная уборка полов.
Принятая естественная и механическая вентиляция отвечает
требованиям СНиП 2.04.05-91 ”Отопление, вентиляция и кондиционирование”, а
также ГОСТ
.04.021-75 ”Система вентиляции. Общие требования
безопасности”.
Естественная вентиляция осуществляется за счет разности
наружных и внутренних потоков воздуха.
Механическая вентиляция осуществляется за счет работы
вентиляторов.
Освещение на посту технического обслуживания и ремонта
проектируем согласно СНБ 2.04.05-98 “Естественное и искусственное освещение ”.
Производим расчет искусственного освещение.
Число ламп ЛБ - 40 в светильнике - две, марка светильника -
ОД.
Число светильников определяем из формулы:
N=
, (4.1)
где: Е - норма освещенности , лК. Для поста технического обслуживания
согласно [17] Е = 200 лК
S - площадь участка технического обслуживания, м2. S = 145,8 м2
Кз - коэффициент запаса, равный 1,4 - 2 для ламп
газоразрядных, принимаем Кз = 1,5;
з - коэффициент использование осветительной установки
принимают в пределах [0,2…0,6] зависит от высоты подвеса светильников и размера
помещения. [17];
z - поправочный коэффициент (отношение минимальной
освещенности и средний горизонтальный). Для светильников ОД z = 0,72 [17];
F- световой поток одной лампы, лК. Для ламп ЛБ - 40 F = 2480 лК [17];
n - количество ламп в светильнике, n = 2.
Для определения коэффициента использования необходимо
определить показатель помещения:
В=
=
=1,76 (4.2)
Значение коэффициента использования выбираем из табл.20 [17]
и оно равно з = 0,6 при коэффициенте отражения потолка сс=50% и стен
сп=30%
Подставим и получим количество светильников.
N=
= 20,4 шт.
Принимаем 21 светильников ОД по две лампы ЛБ = 40(мощностью
40 Вт)
4.3 Требования безопасности при
эксплуатации стенда для разборки и сборки карданных валов
К работе на стенде допускаются лица не моложе 18 лет,
изучавшие данный стенд, прошедшие инструктаж по технике безопасности.
Запрещается пользоваться инструментом, приспособлением,
оборудованием, обращению с которым слесарь не обучен.
Слесарь должен работать в спецодежде и в случае необходимости
использовать средства индивидуальной защиты; очки, перчатки.
При работе с тяжелыми деталями устанавливать и снимать их
следует при помощи подъемного устройства.
Слесарь не должен снимать и надевать одежду в
непосредственной близости от рабочего места, а должен хранить ее в гардеробе.
Нельзя работать на стенде когда изношен болт, которым осуществляется
фиксация вала.
При возникновении ситуации, которые могут привести к авариям
или несчастными случаям, остановить работу, и сообщить о возникновении ситуации
зав. мастерской.
Не допускать к использованию стенда посторонних лиц, и лиц не
имеющих соответственного разрешения.
Во время работы располагать инструмент так, чтобы не возникала
необходимость тянуться за ним.
Правильно накладывать ключ на гайку, не поджимать гайку рывком. Не
использовать гайки и болты со смятыми гранями.
Слесарь должен выполнять работу только ту, которую поручает ему
непосредственно руководитель.
Во время работы должен быть внимателен, не отвлекаться на посторонние
дела и разговоры.
Стенд должен быть огражден перилами, которые бы ограждали его с той
целью, чтобы никто не смог подойти близко к стенду во время эксплуатации.
Слесарь должен соблюдать правила личной гигиены.
При возникновении аварийной ситуации приведшей к травмированию
работников, принять меры по оказанию пострадавшему первой медицинской помощи и
поставить в известность руководителя работ.
По окончанию работ привести в порядок свое рабочее место.
Выполнение разработанных в разделе мероприятий улучшит состояние охраны
труда в хозяйстве ОАО «Макарово-Агро» в целом, что снизит вероятность
травматизма и заболеваний, что скажется на повышении производительности труда.
5. ОХРАНА ОКРУЖАЮЩЕЙ СРЕДЫ
В настоящее время почву обрабатывают на скоростных тракторах, урожай
собирают мощными комбайнами, транспортировку удобрений, зерна и другой с.-х.
продукции осуществляют большим количеством машин повышенной грузоподъемности, а
животноводческие фермы все больше оснащаются современными средствами
механизации и автоматизации. Увеличивается количество минеральных удобрений,
вносимых в почву, возрастает выпуск других химических средств для нужд
земледелия и животноводства. Больших масштабов достигли орошение и осушение
земель. Все это вместе взятое представляет собой мощный антропогенный пресс,
который с огромной силой «давит» на агробиогеоценозы и вообще на природную
среду. В перспективе сила этого влияния будет расти.
При проектировании ремонтно-обслуживающего комплекса в основу должен быть
положен подход, учитывающий природные условия и оценку воздействия объектов на
окружающую среду.
При выборе территории для размещения объектов с.-х. производства должна
быть изучена возможность использования несельскохозяйственного назначения или
непригодные для сельского хозяйства, либо с.-х. угодий худшего качества.
Склады горючих и смазочных материалов должны размещаться на обособленных
площадках с подветренной стороны от жилых, общественных и производственных
зданий ниже по рельефу с соответствующей обваловкой. Во всех случаях должны
быть максимально сохранены земельные насаждения.
Инженерам - механикам необходимо:
содержать в исправном состоянии машины и орудия, применяя их по
назначению;
контролировать правильность использования с.-х. техники, обращая особое
внимание на орудие и дополнительные приспособления для противоэрозийной
обработки почвы;
постоянно работать над конструктивным улучшением системы орудий и
приспособлений в соответствии с естественно-географическими условиями
хозяйства, чтобы повысить его надежность, производительность и качество работ в
полеводстве, садоводстве, овощеводстве, и уменьшить количество циклов,
добиваясь снижения нежелательных физических и биологических изменений в почве;
контролировать использование нефтепродуктов, не допускать загрязнение ими
почвы, воды, растительности. Организовать сбор, хранение и утилизацию
отработанных нефтепродуктов;
осуществлять контроль ремонтных баз, мастерских и полевых станков
тракторных бригад, чтобы уменьшить загрязнение почвы и воды отходами
производства;
следить за исправностью с.-х. техники и особенно двигателей с целью
уменьшения токсических выбросов в атмосферу и снижения уровня шума;
владеть методикой разработки и определения ущерба, причиняемого
природопользованию в хозяйстве в результате неправильного использования и
нарушения технологий в связи с механизацией.
Внимание специалистов сельского хозяйства и практической реализации
перечисленных задач охраны природы - надежная гарантия улучшения земельных,
водных и всех других природных ресурсов.
6. ТЕХНИКО-ЭКОНОМИЧЕСКОЕ ОБОСНОВАНИЕ
ДИПЛОМНОГО ПРОЕКТА
Экономическая часть - завершающий этап дипломного проекта, который дает
возможность сделать окончательные выводы о технико-экономической
целесообразности расширения мастерской и введения в производство новых
конструкционных решений, и об эффективности их работы.
6.1 Определение экономической эффективности ремонтной
мастерской
Стоимость основных производственных фондов определяется по формуле:
Сопф = Сзд. + Соб. + Спи, (6.1)
где: Сзд. - стоимость производственного здания, тыс. руб.;
Соб. - стоимость установленного оборудования, тыс. руб.;
Спи. - стоимость приборов, приспособлений, тыс. руб..
Стоимость производственного здания определим по формуле:
Сзд. = См.·Sз
(6.2)
где: См.-средняя стоимость работ, отнесенная к 1 м2
производственной площади ремонтного предприятия, руб. 1 м2;
Sз. -
производственная площадь здания, м2.
Получим:
Сзд. = 1080 · 29000 = 31320 тыс. руб.
Стоимость установленного оборудования:
Соб. = 0,4·31320 = 12528 тыс.
руб. (6.3)
Стоимость приборов, приспособлений:
Спи = 0,1 · Соб. = 0,1 · 12528 = 1252,8 тыс. руб. (6.4)
Стоимость реконструкции здания:
Сзд. = См · Sз. =
384 ·29000 = 11136 тыс. руб.
Соб. = 0,4 · Сзд. = 0,4 · 11136 = 4454,4 тыс. руб
Спи. = 0,1 · Соб. = 0,1 · 4454,4 = 445,44 тыс. руб.
Тогда стоимость основных производственных фондов с учетом расширения
составит:
Сопф. = 31320 + 12528 + 1252,8 + 11136 + 4454,4 + 445,4 = 61136,64 тыс.
руб.
Определим количество условных ремонтов:
Nусл.
= Зт/300, (6.5)
где: 3т - затраты труда, чел - ч.
Получим:
Nусл.
= 33598, 7:300=112
Определим эксплуатационные затраты ремонта по формуле:
Эз. = Зп. + Зз. + Рм. + Оп. + Пз.+ А + Ото + Отр. (6.6)
где: Зп. - полная заработная плата рабочих, тыс. руб.;
Зз. - затраты на приобретение запчастей, тыс. руб.;
Рм. - стоимость ремонтных материалов, тыс. руб.;
Оп. - общепроизводственные накладные расходы, тыс. руб.;
Пз. - прочие затраты, тыс. руб.;
А - отчисления на аммортизацию производственные фондов, тыс. руб.;
Ото. и Отр. - отчисления на техническое обслуживание и текущий ремонт,
тыс. руб. 25% [12]
А = 0,03 · Соф. = 0,03 · 61136,64 = 1834,1 тыс. руб. (6.7)
Ото. Тр. = 0,25 х Сопф. = 0,25 · 61136,64 = 15284,16 тыс. руб.
(6.8)
Полную заработную плату рабочим определим по формуле:
Зпо. = Тобщ. Сч Км, (6.9)
где: Сч - средняя часовая тарифная ставка рабочих, руб., Сч
= 712 руб.
Тобщ. - общая трудоемкость ремонтно-обслуживающих работ чемл.-ч.;
Км. - коэффициент, учитывающий доплату, Км = 1,02
Получим:
Зпо. = 33598,7 · 712 · 1,02 = 24400719,9 тыс. руб.
Дополнительная заработная плата определяется по формуле:
Зп.д. = 0,1 · Зпо = 0,1 · 244007,19 = 24400,7 тыс. руб.
(6.10)
Определим коллективный фонд премирования:
Пр. = 0,4 · Зп.д. = 0,4 · 24400,7 = 9760,28 тыс. руб. (6.11)
Размер отчислений на социальное страхование:
Нс.с. = (Зпо + Зпа. + Пр.) · Кс.с, (6.12)
где: Кс.с. - коэффициент учитывающий изменения размера отчислений на
социальное страхование;
Получим:
Нс.с. = (244007,19+24400,7+9760,28) · 0,3 = 83450,45 тыс. руб.
Тогда полная заработная плата составит:
Зп. = Зп.о. + Зп.а. + Пр. + Мс.с = 244007,19+9760,28+
+83450,45+24400,7=361618,62 тыс. руб. (6.13)
Стоимость запасных частей:
Зс.з. = 2,6 · Зп. = 2,6 · 361618,62 = 940208,4 тыс. руб.
(6.14)
Стоимость ремонтных материалов:
Рм. = Зп. · Км. = 361618,62 · 0,1 = 36161,9 тыс. руб. (6.15)
Общепроизводственные накладные расходы:
Оп. = 0,75 · Зп. = 0,75 · 361618,62 = 271213,96 тыс. руб.
(6.16)
Прочие затраты:
Пз. = (Зп. + Зс.з. + Рм. + Оп.) · 0,05 (6.17)
Получим:
Пз. = (361618,62+940208,4+36161,9+271213,96) · 0,05 = 80460,14 тыс.
руб.
Тогда эксплуатационные затраты составят:
Эз. = 361618,62+940208,4+36161,9+271213,96+80460,14+
+1834,1+15284,16 = 17067,81 тыс. руб.
Определим фондоотдачу:
Фо. = Гп/Сопф, (6.18)
где: Гп. - годовой выпуск продукции, тыс. руб.;
Сопф. - производственные фонды, тыс. руб.[12]
Фо. = 73363,97:61136,64=1,2
Выпуск продукции на 1 м2 производственной площади определим по
формуле:
Вs = Гп/S=73363,97:1464=50,1 (6.19)
Прибыль на 1 рубль производственных фондов:
Ппф. = Гп - Эз/Сопф (6.20)
где: Ппф. - прибыль на 1 рубль производственных фондов, тыс. руб.
Получим:
Ппф. = 73363,97 - 17067,81:61136,64 = 73363,69
Производительность труда:
Пт. = Гп./Зт (6.21)
где: Зт. - затраты труда, чел.-ч.
Имеем
Пт. = 73363,97:33598,7 = 2,19
Количество условных ремонтов:
Nус. =
Зт/300 = 33598,7:300 = 112 (6.22)
Себестоимость условного ремонта:
Сусл. = Эз./300 = 17067,81:112 = 1,52млн. руб. (6.23)
Капитальные вложения на 1 условный ремонт:
КВ = Сопф./300 = 61136,64:300 = 203,8 тыс. руб. (6.24)
Приведенные затраты на 1 условный ремонт:
ПЗ = Эз. + 0,1 · Сопф. (6.25)
Подставляя численные значения, получим:
ПЗ = 17067,81 + 0,1 · 61136,64 = 23181,5 тыс. руб.
Расчет экономических показателей существующей мастерской ведется
аналогично. Данные расчетов сведем в таблица.6.1.
Таблица 6.1. Технико-экономические показатели ремонтной мастерской
|
Показатели
|
Фактический 2012г.
|
Проектируемый
|
Проект в процентах к 2012г.
|
|
1
|
2
|
3
|
4
|
|
Стоимость производственных
фондов, млн. руб.
|
45,1
|
61,1
|
135,6
|
|
в том числе:
|
|
|
|
|
Производственная площадь,м2
|
1080
|
1464
|
135,6
|
|
Стоимость оборудования,
млн. руб.
|
12,5
|
17
|
135,6
|
|
Численность работников
|
19
|
19
|
100,0
|
|
Объем работ, чел- час.
|
33598,7
|
33598,7
|
100,0
|
|
Себестоимость одного
условного ремонта, млн. руб.
|
1,1
|
1,52
|
1,36
|
|
Среднемесячная зарплата,
тыс.руб
|
96,0
|
105,0
|
109,4
|
|
Количество условных
ремонтов, штук
|
112
|
112
|
100
|
|
Годовая экономия, тыс. руб.
|
-
|
64560,05
|
-
|
|
Срок окупаемости, г.
|
-
|
0,95
|
-
|
Годовая экономия определяется по формуле:
Эг = (Эз1 - Эз2) · Ппф.2, (6.26)
Ппф.1 Ппф.2
где: Эз1 и Эз2-соответственно эксплуатационные затраты существующей и
проектируемой затраты мастерских, тыс. руб.;
Ппф.1 и Ппф2 - соответственно прибыль на 1 рубль производственных фондов,
тыс. руб.[12];
Годовая экономия составит:
Эг = (56977,7 - 17067,81) ·73363,69 = 64560,05 тыс.
руб.
51278,67 73363,69
Годовой экономический эффект определяется по формуле:
Гэф. = (ПЗ1 - ПЗ2) · Ппф.2 , (6.27)
Ппф.1 Ппф.
Получим:
Гэф. = (17067,81
- 23161,42) ·73363,69 = 1257,26 тыс. руб.
51278,67 73363,69
Срок окупаемости проектируемой мастерской:
Сок. = 61136,64:64560,05 = 0,95 года
Как видно из расчетов, капитальные вложения по расширению мастерской
окупят себя за 1 год, а годовая экономия, получаемая при расширении мастерской,
позволит экономить хозяйству до 45 % ежегодных эксплуатационных затрат.
.2 Экономическое обоснование стенда для разборки и сборки
карданных валов
За базу сравнения при экономическом обосновании приспособления
принимается универсальный инструмент.
Рассчитаем себестоимость контроля по сравнительным вариантам. Зарплата (с
начислениями) рассчитывается по формуле:
Сз = Сч.е.∙ Кд ∙Км · Кn· t (6.29)
где: С.ч.е. - часовая тарифная ставка, руб.;
Кд. - коэффициент, учитывающий дополнительную зарплату, %;
Км. - коэффициент, учитывающий начисления в фонд социального
Кn - коэффициент, учитывающий размер
премии из фонда зарплаты и фонда поощрения при выполнении норм, %;
t -
трудоемкость разборки и сборки:
При применении приспособления по формуле получаем:
Сз. = 712 · 1,07 ·1,044·1,11 · 0,3 = 264,9 руб.
Отчисления на амортизацию определяются по формуле:
Са = Бх · а./100Ан (6.30)
где: Б - балансовая стоимость изделия, руб.;
а - норма годовых амортизационных отчислений, %;
Ан - годовая программа разборки и сборки карданных валов, шт.
При применении приспособления по формуле:
Са. = 400 · 24 = 8 тыс. руб.
При применении универсального инструмента по формуле имеем:
Са. = 500 · 24 = 10 тыс. руб.
Удельные капитальные затраты, приходящиеся для контроля одного изделий
определяются по формуле:
К = Б/Ан , (6.31)
где: Б - балансовая стоимость изделия, руб.;
Ан. - годовая программа контролируемого изделия, шт.
При применении приспособления по формуле получаем:
Км. = 400/12= 33,3 тыс. руб.
При применении универсального инструмента по формуле:
К = 500/12 = 41,6 тыс. руб.
Суммарная величина затрат по изменяющимся элементам себестоимости
приведена в таблица.6.2.
Таблица 6.2.Суммарная величина затрат
|
Элемент затрат
|
Затраты, тыс. руб.
|
|
При применении
приспособления
|
При применении
универсального инструмента
|
|
Амортизация
|
8
|
10
|
|
Удельные капитальные
затраты
|
33,3
|
41,6
|
|
ИТОГО:
|
41,3
|
51,7
|
Годовой экономический эффект от применения приспособления определяется
согласно методике по определению экономической эффективности использования
новой техники, изобретений и рационализаторских предложений на предприятиях по
формуле:
Э год = [ (Сс + Екс) - (См + Екм) ] · Ам (6.32)
где: Сс - себестоимость разборки и сборки карданных валов и применением
универсального инструмента - 0,90 тыс. руб.;
Кс - удельные капитальные затраты, приходящиеся на продажу карданных
валов с применением универсального инструмента - 0,142 тыс. руб.;
См - себестоимость разборки и сборки карданных валов с применением
приспособления - 0,441 тыс. руб.;
Км - удельные капитальные затраты, приходящиеся на разборки и сборки
карданных валов с применением приспособления - 0,133 тыс. руб.;
Е - нормативный коэффициент сравнительной эффективности капитальных
затрат - 0,15;
Ам - годовая программа разборки и сборки карданных валов - 12 шт.
Э год - [ (0,90 + 0,15 · 0,142) - (0,441 + 0,15 · 0,133) ]·12
= 5,52 тыс. руб.
Таблица 6.3Технико-экономические показатели стендадля разборки и сборки
карданных валов.
|
Показатель
|
Универсальный инструмент
|
Приспособлене
|
Проект в %
|
|
Стоимость изделия
|
500
|
400
|
80
|
|
Затраты на 1 операцию, тыс.
руб.
|
0,142
|
0,133
|
78,6
|
|
Годовой экономический
эффект, тыс. руб.
|
-
|
5,52
|
-
|
Анализируя выше приведенные расчеты можно заключить, что все
нововведения, предлагаемые в дипломном проекте выгодно отличаются с
экономической стороны от существующих в хозяйстве, что немаловажно в трудной
сегодняшней финансовой обстановке. Каждый сэкономленный рубль в дальнейшем
поможет хозяйству выйти из затруднительного положения, вечно не хватающих
материальных средств, создать основу для дальнейшего развития.
ЗАКЛЮЧЕНИЕ
1. Для повышения эффективности управления техническим
состоянием машин в хозяйстве предполагается реконструкция ЦРМ путем добавления
участков. Ремонта с/х техники; ремонта силового и автотракторного
электрооборудование, зарядки хранения аккумуляторных батарей.
. Разработанная на основе типового проката 816 - 01 - 31
схема генплана РОБ имеет следующие технико-экономические показатели: общая
площадь участка 0,34 га, коэффициент застройки 0,65, коэффициент использования
площадки участка 0,88, коэффициент озеленения 0,2.
. Машинно-тракторный парк хозяйства значительно изношен.
Около половины машин и оборудования эксплуатируется за пределами
амортизационных сроков службы. Расчет МТП на ЭВМ показал, что в хозяйстве
недостаточно тракторов, зерноуборочных и кормоуборочных комбайнов и некоторых
машин для обработки почвы.
. На основании анализа действующих типовых проектов ЦРМ и
проведенных расчетов изменен состав производственных участков и вспомогательных
помещений мастерской.
. На основании расчетов установлено, что необходимая площадь
составляет 2100 м2 . Следует дополнительно приобрести и установить
(перечислить основное оборудование) и другое оборудование на сумму около 1,5
млрд.руб. Число производственных рабочих мастерской с учетом привлекаемых к
ремонту водителей машин следует увеличить до 10 человек.
. Предлагается провести аттестацию рабочих мест и внедрить
комплекс мероприятий по организации труда и отдыха, рабочих мастерской.
. Предложенная внедрения стенда для разборки и сборки карданных
валов позволит улучшить условия труда, качество ремонта, сократить оперативное
время, повысить производительность труда на 18%. 8. Технико-экономические
расчеты показали, что необходимые капитальные вложения составят млрд.руб. Это
позволит повысить производительность труда на 15% и снизить себестоимость
ремонта техники на 7,5 %. Срок окупаемости капитальных вложений - 0,95 года.
СПИСОК ИСПОЛЬЗОВАННЫХ ИСТОЧНИКОВ
1. А.Г. Банников, А.К. Рустманов, А.А. Вакулин. Охрана
природы. М.: Агропромиздат, 1996.
. /А.П. Ляхов, А.В. Новиков, Ю.В. Будько, П.А. Кункевич и
др./ Эксплуатация машинно-тракторного парка Мн.: Ураджай, 2001.
. Баранов Л.Ф. Техническое обслуживание и ремонт машин. Мн.:
Ураджай, 2000.
. Выполнение раздела «Охрана труда» в дипломных проектах. Методические
указания БСХА /Сост. С.М. Разинкевич, А.С. Алексеенко/. Горки, 2000.
. Глазов Г.А. и др. Технология металлов и других
конструкционных материалов. Ленинград: Машиностроение, 1999.
. Дубинина Н.П. Технология металлов и других конструкционных
материалов. М.: Высшая школа, 2002.
. Иванов М.Н. Детали машин. М.: Высшая школа, 1991.
. Карпенко А.Н., Халанский В.М. Сельскохозяйственные машины.
Москва: Агропромиздат, 1995.
. Левитский И.С. Технология ремонта машин и оборудования. М:
Колос, 2005.
. Миклуш В.П. и др. Организация ремонтно-обслуживающего
производства и проектирования предприятий технического сервиса АПК. Мн:
Ураджай, 2001.
. Надежность и ремонт машин. Методические указания по
курсовому проектированию БСХА; Сост. Л.Ф. Баранов. Горки, 1995.
12. Организация производства на предприятиях АПК.
Методические указания к лабораторным и практическим занятиям. БСХА /Сост. Е.А.
Дайнеко, Н.И. Мурашкина/. Горки, 2000.
13. Охрана труда в сельском хозяйстве. Справочник /Сост. В.Н.
Михайлов и
др./. М.: Агропромиздат, 2003.
. Прейсман В.И. Основы надежности сельскохозяйственной
техники. Киев: Высшая школа, 1998.
. П.С. Солуянов, Г.Н. Гряник и др. Охрана труда Мн.: «Колос» 1997.
. Проектирование технологического процесса механической
обработки резанием деталей машин. Методические указания для студентов ФМСХ.
БСХА; Сост. В.Е. Ползовский. Горки, 2004
17. Проверочный расчет освещения. Методические указания к
выполнению заданий по расчету освещения. БСХА /Сост. С.Н. Разинкевич, В.А.
Гарбар/ П.И. Горки, 1995.
. Стандарт предприятия. Проекты (работы) курсовые и
дипломные. Общие требования и оформление. СТП БСХА2.01-99; Сост. Л.Ф. Баранов,
А.К. Трубилов, Горки, 1999.
. С.М. Бабусенко Проектирование ремонтно-обслуживающих
предприятий. М: Агропромиздат, 1990.
. Справочное пособие инженера-механика сельскохозяйственного
производства /Л.Ф. Баранов, В.А. Хитрюк, В.П. Величко, Г.П. Солодухин/. Мн.:
Ураджай, 1996.
. Суслов В.П., Суслов Л.В. Машинные дворы и ремонтные
мастерские для сельскохозяйственной техники. Мн: Ураджай, 1997
22. Тельнов Н.Ф. Ремонт машин. Москва: Агропромиздат, 2000.
. Типовые инструкции по охране труда для работающих в
ремонтных мастерских. Мн.: Ураджай, 1992.
. Чистяков В.Д. и др. Ремонт тракторов, автомобилей и
сельскохозяйственных машин. М: Колос, 2003
25. Чернявский С.А. и др. Курсовое проектирование деталей
машин. М.: Машиностроение, 2007.
. Филатов Л.С. Безопасность труда в сельскохозяйственном
производстве. М.: Росагропромиздат, 1998.
. Шейнблит А.Е. Курсовое проектирование деталей машин. М.:
Высшая школа, 1991.
. Я.Д. Певзнер Организация ремонта машин в сельском
хозяйстве. Ленинград, 1998.