Развитие теоретических принципов технической диагностики

  • Вид работы:
    Реферат
  • Предмет:
    Неопределено
  • Язык:
    Русский
    ,
    Формат файла:
    MS Word
    310,07 kb
  • Опубликовано:
    2008-06-27
Вы можете узнать стоимость помощи в написании студенческой работы.
Помощь в написании работы, которую точно примут!

Развитие теоретических принципов технической диагностики

Федеральное агентство по образованию

Южно-Уральский Государственный Университет

Кафедра Философии






Реферат

на тему:

Развитие теоретических принципов технической диагностики

Аспирант кафедры «Системы управления»

Пушников А.А.

Научный руководитель проф.

д.т.н. Щипицын  А.Г.






Челябинск – 2008

Содержание

Введение…………………………………………………………………….3

1.   История дисциплины «Техническая диагностика»…………….....6

2.   Теоретические принципы технической диагностики……………10

Заключение………………………………………………………………..17

Литература………………………………………………………………...18

Введение


Техническая диагностика - научно-техническая дисциплина, изучающая и устанавливающая признаки дефектов технических объектов, а также методы и средства обнаружения и поиска (указания местоположения) дефектов. Основной предмет технической диагностики — организация эффективной проверки исправности, работоспособности, правильности функционирования технических объектов (деталей, элементов, узлов, блоков, заготовок, устройств, изделий, агрегатов, систем, а также процессов передачи, обработки и хранения материи, энергии и информации), то есть организация процессов диагностирования технического состояния объектов при их изготовлении и эксплуатации, в том числе во время, до и после применения по назначению, при профилактике, ремонте и хранении. Диагностирование — одна из важных мер обеспечения и поддержания надёжности технических объектов. [1]

Диагностирование осуществляется либо человеком непосредственно (например, внешним осмотром, «на слух»), либо при помощи аппаратуры. Объект и средства его диагностирования в совокупности образуют систему диагностирования. Взаимодействуя между собой, объект и средства реализуют некоторый алгоритм диагностирования. Результатом является заключение о техническом состоянии объекта — технический диагноз, например: «радиоприёмник исправен», «станок неработоспособен», «в телевизоре отказал частотный детектор». Различают системы тестового и функционального диагностирования. Системы первого вида применяют при изготовлении объекта, во время его ремонта и профилактики и при хранении, а также перед применением и после него, когда необходимы проверка исправности объекта или его работоспособности и поиск дефектов. В этом случае на объект диагностирования подаются специально организуемые тестовые воздействия. Системы второго вида применяют при использовании объекта по назначению, когда необходимы проверка правильности функционирования и поиск дефектов, нарушающих последнее. При этом на объект поступают только предусмотренные его алгоритмом функционирования (рабочие) воздействия. Разработка и создание систем диагностирования включают: изучение объекта, его возможных дефектов и их признаков; составление математических моделей (формализованного описания) исправного (работоспособного) объекта и того же объекта в неисправных состояниях; построение алгоритмов диагностирования; отладку и опробование системы.

В изучении объектов большое значение имеет их классификация по различным признакам, например по характеру изменения значений параметров, по виду потребляемой энергии и т. п. Изучение дефектов проводится с целью определения их природы, причин и вероятностей возникновения, физических условий их проявления, условий обнаружения и т. п.

Математическая модель объекта диагностирования (детерминированная или вероятностная) — описание объекта в исправном и в неисправном его состояниях в виде формальных зависимостей между возможными воздействиями на объект и его реакциями на эти воздействия [7]. Модели (даже исправных объектов), используемые при диагностировании, могут отличаться от моделей, используемых при проектировании тех же объектов. Например, для диагностирования технического состояния шумящих объектов моделями могут служить кривые шума или вибрации (при так называемых акустических методах технической диагностики), а в микроэлектронной технологии или в сварочном производстве — изображения объектов в рентгеновских лучах (при неразрушающем контроле).

Алгоритм диагностирования предусматривает выполнение некоторой условной или безусловной последовательности определённых экспериментов с объектом. Эксперимент характеризуется тестовым или рабочим воздействием и составом контролируемых признаков, определяющих реакцию объекта на воздействие. Различают алгоритмы проверки и алгоритмы поиска. Алгоритмы проверки позволяют обнаружить наличие дефектов, нарушающих исправность объекта, его работоспособность или правильность функционирования. По результатам экспериментов, проведённых в соответствии с алгоритмом поиска, можно указать, какой дефект или группа дефектов (из числа рассматриваемых) имеются в объекте.

1. История дисциплины «Техническая диагностика»


С начала 1970-х годов проблеме диагностики и изоляции отказов динамических процессов стали уделять все большее внимание. Было изучено и разработано большое количество методологий основанных на физической и аналитической избыточности.

В 1973 году Джонс представил, например, хорошо известный метод «фильтров выявления отказов» для линейных систем. Виллски обобщил ранние исследования в этой области. Ролт рассмотрел применение методов идентификации к выявлению отказов реактивных двигателей. Методы корреляции были применены для выявления протечек Изерманом.

Первая книга по методам диагностики, основанным на моделях, применительно к химическим процессам была опубликована Химмелблау в 1978. Выявление отказов датчиков, основанное на аналитической избыточности наблюдателей было предложено Кларком.

Использование методов оценки параметров для выявления отказов технических систем было продемонстрировано Холлманом, Гейгером, Филбертом и Метсгером. Развитие методов выявления отказов процесса, основанное на моделировании, оценке параметров и состояния, было обобщено Изерманом. Методы вектора равенства были изначально предложены Шой и Вилски, а затем в дальнейшем доработаны Патоном и Ченом.

Методы частотной области обычно применяются, когда воздействие, как отказов, так и возмущений имеет частотные характеристики, отличающиеся друг от друга и, следовательно, частотный спектр служит критерием различения отказов. Данные методы рассматриваются в работах Франка и Динга.

Задача отделения рассогласований от возмущений рассматривается в нескольких статьях. Например, Шоу и Вилски, Чанг, Спейер, Лю и др. предложили оптимальные надежные отношения равенства, а Энами и Наэни выдвинули концепцию порогового селектора. Чен и Патон для выполнения надежной диагностики использовали метод отделения возмущений. Метод Патона и Чена интересен в противопоставлении с методом Шоу и Вилски, которые минимизировали моделируемую неопределенность, для нескольких рабочих точек. Патон и Чен рассматривали эту проблему непосредственно при оценке оптимальной матрицы неизвестных входных возмущений в диапазоне рабочих точек и использовали метод распределения собственных чисел. [11]

Широко распространены традиционные подходы диагностики отказов, основанные на методах «аппаратной (или физической)» избыточности, которые используют дополнительные наборы датчиков, исполнительных механизмов, компьютеров и программного обеспечения для измерения и/или управления  отдельными переменными.  Основные недостатки этих методов аппаратной избыточности – дополнительное оборудование и стоимость технического обслуживания, а так же дополнительное пространство, требуемое для размещения оборудования.

В последнее время в этом направлении появилось несколько альтернативных решений, позволяющих проводить диагностику отказов в сложных и неопределенных системах. Самым многообещающим из них является использование для моделирования нелинейных динамических систем и диагностики отказов нейронных сетей.

Нейронные сети достаточно широко используются во многих инженерных областях, но с их использованием также возникают некоторые трудности. Первой проблемой является то, что в большинстве случаев нейронные сети использовались только для работы со статическими процессами. Таким образом, поведение нейронной сетей при моделировании нелинейных динамических процессов является достаточно неопределенным и слабо изученным. Вторая трудность заключается в том, что зачастую нейронные сети использовались лишь в качестве классификаторов отказов. Остальные возможности нейронных сетей при этом не использовались. Обычно нейронные сети использовались для определения возможных отказов или других изменений в системе по ее выходам. Такой подход использования только лишь выходов системы для диагностики отказов мог быть корректным для статических систем, но в динамических системах изменение их входов может значительно повлиять на их выходы. Таким образом, такой метод диагностики, который только анализирует выходную информацию, может давать неправильные оценки о состоянии системы в те моменты времени, когда изменяются ее входные характеристики.

В последнее десятилетие были разработаны несколько эффективных методов обнаружения основных дефектов машин и оборудования по вибрации на этапе их зарождения. Они основаны, главным образом, на анализе высокочастотной вибрации, для возбуждения которой не нужны большие колебательные силы, но и проявляется она только в месте их действия, быстро затухая при распространении. Такие методы стали использоваться диагностами многих стран для перехода от вибрационного мониторинга к глубокой диагностике. Параллельно развивались методы автоматизации алгоритмов диагностики, что позволило ряду производителей диагностических систем заменить программным обеспечением экспертов при решении типовых диагностических задач. Доля таких задач очень высока и превышает девяносто процентов от всех задач, решаемых путем анализа сигналов вибрации. Первые автоматические системы вибрационной диагностики были разработаны в 1991-1992 годах и постоянно совершенствовались. [7]

В 1998 году появилось новое поколение систем автоматической диагностики машин по вибрации, разработанное совместно специалистами России и США, и объединившее лучшие свойства, как систем мониторинга, так и систем диагностики.

Задача построения диагностических моделей также может решаться на основе различных подходов. Среди которых наиболее оптимальным средством для обеспечения высокой точности, хороших аппроксимационных свойств и логической прозрачности представляются нейро-нечеткие сети. [9]

2. Теоретические принципы технической диагностики


Сложные системы, в том числе и технические, требуют обеспечения высокого уровня качества функционирования и надежности. Это требование становится особенно актуальным в случае, кода от работы системы зависит выполнение поставленной оперативно-функциональной задачи, сопряженной с опасностью потери человеческих жизней или значительных капитальных финансовых вложений. Резервом повышения надежности является переход от планово-предупредительного обслуживания и ремонта к обслуживанию и ремонту по действительному техническому состоянию. Использование этой стратегии обслуживания требует широкого применения средств и методов автоматизированного контроля и диагностирования. В связи с этим возникает необходимость обеспечения такого свойства изделия (объекта технического диагностирования), которое позволило бы с минимальными затратами достоверно определить его техническое состояние. Функционирование сложных технических систем, в особенности электронных, в структурах управления оперативно-функциональными объектами, весьма чувствительных к внешним влияниям (излучение, температура, влажность, механические воздействия, биологическая агрессивность, и т.д.), с течением времени может не только изменять свои параметры в допустимых пределах, но катастрофически приводить их к таким значениям, которые не только не совместимы с их нормальной работой, но опасны для окружающей среды и могут явиться причиной самоликвидации (разрушения). Распознавание и прогнозирование таких ситуаций выходит за пределы простой диагностики.

Во-первых, это сопряжено с неточностью получаемой информации и ограниченностью числа параметров диагностирования по мере старения системы или несанкционированного доступа к ней. Во-вторых, с недостаточностью точек контроля системы, в особенности в условиях кратных дефектов. В-третьих, отсутствием своевременного мониторинга и прогнозирования поведения окружающей среды, влияющей на процесс работы системы в режиме реального времени. В-четвертых, для систем технической диагностики, встроенных в комплексы управления, важной составляющей является временной фактор, то есть скорость принятия решения. В-пятых, любое усложнение системы диагностирования приводит к “нежелательным”, со стороны заказчика, финансовым вложениям в их разработки и производство. [4]

Техническая система обязательно взаимодействует с внешней средой. Поэтому происходит изменение величин диагностируемых параметров под влиянием внешних условий. Прогнозирование этого влияния является составной частью встроенных систем диагностирования.

Работоспособность и качество системы диагностирования оцениваются незамедлительностью выдачи информации о местонахождении, типе и причине неисправности при проведении мониторинга технической системы и окружающей среды. Таким образом, во-первых, система диагностирования должна обладать высоким быстродействием.

Во-вторых, отысканию местонахождения дефекта способствует правильность организации поисков дефектов, которая связанна с коэффициентом глубины поиска.

В-третьих, система отыскания неисправности (дефекта) должна располагать методологией правильного распознавания и классификацией признаков дефектов любой кратности. Распознавание и классификация неисправностей определяет их тип и причину возникновения.

Решению второй проблемы посвящены исследования [2, 4, 5], первой проблеме из приводимого библиографического списка – работы [3, 6, 8], а третьей – лишь [3]. В целом, проблема быстродействия диагностических систем может быть успешно решена распараллеливанием потоков обработки диагностической информации путем применения вычислительных систем с массовым параллелизмом – нейронных сетей.

Наиболее дешевым и простым способом повышения быстродействия диагностических систем является введение в их контрольно-измерительный комплекс вычислительных систем с архитектурой SISD по классификатору Б.М.Когана, но с использованием в них программно-алгоритмического обеспечения, позволяющего эмулировать виртуальную нейронную сеть. Другим подходом является аппаратная реализация в контрольно-измерительном комплексе реального нейронного компьютера на основе вычислительной системы с архитектурой MIMD.

Таким образом, выходные параметры диагностической системы должны определять с одной стороны причину и тип дефекта (неисправности), с другой стороны - состояние объекта диагностирования, его соответствие оперативно-функциональному назначению.

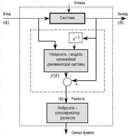
Аналитические модели диагностики отказов определяют, выделяют и классифицируют отказы в компонентах системы. Рисунок 1 демонстрирует структуру аналитической модели диагностики отказов, состоящую из двух основных частей.

Рисунок 1. Концептуальная структура аналитической модели диагностики отказов

Первая часть модели представляет собой определитель разности, который обрабатывает входы и выходы системы в соответствии с определенным алгоритмом. На его выходе формируются сигналы разности. Разность должна быть отличной от нуля в случае отказа и равна нулю, если отказа нет.

Второй частью модели является классификатор отказов, в котором разности оцениваются на наличие в системе отказа и по определенному правилу принимается решение о выходе системы из строя. Процесс принятия решения может состоять из простой проверки превышения полученной разности максимально допустимого значения, или же использовать более сложные методы статистических оценок. [6]

Основной проблемой разработки аналитических моделей диагностики отказов является определение разности. Большинство определителей разности основаны на моделях линейных систем. Для нелинейных систем основным подходом является их линеаризация. Однако, для систем с высокой степенью нелинейности и большим количеством нелинейных операций, такая линеаризация не дает удовлетворительных результатов.

Единственным решением данной проблемы является использование большого количества линейных систем, что не очень практично при создании моделей, работающих в реальном времени. Большинство известных линеаризацией применимы лишь для ограниченного класса нелинейностей. К тому же, процесс создания моделей очень сложен и точность получаемых результатов трудно проверить.

Зная возможности нейронных сетей моделировать сложные системы обладая небольшим количеством информации, можно сделать вывод о том, что проблемы такого характера можно решить полностью, если использовать в аналитических моделях нейронные сети.

Следующая ступень обработки - классификация разностей и определение возможного отказа. Главной задачей здесь является правильное отделение нормальных разностей от разностей, содержащих данные об отказе. В присутствии в системе шумов и неопределенностей эта задача может оказаться трудной. Для выделения отказа разность должна быть обработана таким образом, чтобы стало понятно, какой компонент системы вышел из строя. Обработка одного сигнала разности не представляет особой трудности, однако, вектор разностей усложняет процесс определения отказа. Основным подходом определения отказа является создание набора структурированных разностных сигналов. То есть, в этом случае, каждая разность является чувствительной к одной определенной группе отказов и нечувствительной ко всем остальным. Однако, создание такого набора разностей для нелинейных систем является сложной задачей. Даже для линейных систем отношения между отказами и разностями могут быть нелинейными для параметрических отказов.

Все это приводит к решению использовать нейронные сети для выделения отказов, так как нейронные сети могут быть натренированы определенным образом с целью получения соответствующей связи между входами и выходами.

Д. Баршдорф в работе пишет, что важным шагом в любом методе диагностики отказов является построение математической модели, дающей адекватную информацию о функционировании системы. Диагностирование неисправностей системы при помощи детерминистических методов распознавания дефектов эффективно при наличии математической модели ее функционирования. Эти модели в большинстве случаев можно анализировать лишь численными методами, что накладывает ограничение на их использование в реальном времени при поиске неисправностей и управлении технической системой. Почти все реальные процессы функционирования технических систем имеют нелинейное поведение, для них характерно возникновение нештатных ситуаций. В этих случаях обычно используют экспертов, то есть происходит вмешательство человека в процесс диагностирования и управления технической системой. Если детерминистические знания недоступны или математическое моделирование требует больших затрат расчетного времени, либо не обеспечивает требуемой точности, то могут быть использованы другие методы. Такими методами являются моделирование знаний оператора при помощи эвристических познаний и стратегий логического вывода, как например, это делается в экспертных системах на основе нечетких логик с реализацией их на базе аппаратных или программно-алгоритмических эмуляционных нейронных сетей. [1]

Нейронные сети оказались полезными как средство контроля механизмов. Например, нейронная сеть может быть обучена так, чтобы отличить звук, который издает машин при нормальной работе («ложная тревога») от того, который является предвестником неполадок.

Одним из наиболее важных преимуществ нейронных сетей является их способность представлять нелинейные преобразования, таким образом, нейронные сети способны формировать очень точную аппроксимацию для нелинейных функций любой продолжительности.

Нейронные сети являются альтернативным вариантом проектирования оценочных устройств. Важным свойством нейронных сетей является то, что они изучают динамику системы в процессе тренировки, состоящей из нескольких тренировочных циклов, с тренировочным данными, поступающими либо из предыдущего цикла, либо состоящей из реальных сигналов. После каждого цикла нейронная сеть узнает все больше и больше о динамике объекта. Одним из наиболее важных качеств нейронных сетей является их возможность изучать динамику поведения нелинейных систем автоматически, в случае, если архитектура нейронной сети содержит как минимум три слоя. [10]

Преимущества классификатора, построенного на основе нейросетей, перед традиционными оценочными методами заключается в таких факторах: независимость от шумов, самообучаемость, возможность параллельной обработки и т.д.

Обученная нейронная сеть, на основе мониторинга окружающих условий по радиационному фону, может с высокой степенью точности предсказать появление дефектов в полупроводниковых приборах и оценить степень их живучести, то есть своевременно вывести технический объект (робота) из зоны опасного воздействия радиации для его ремонта.

Заключение


Меньше чем за 40 лет в рамках дисциплины технической диагностики было решено много практических задач и достигнуто много существенных теоретических достижений. Но, несмотря на значительный прогресс в теории и практике автоматизации обнаружения основных дефектов машин и оборудования, оценка технического состояния промышленного оборудования на большинстве российских предприятий выполняется на основе субъективного метода оценки высококвалифицированными специалистами диагностами, обслуживающими объекты диагностирования на протяжении длительного времени и получивших опыт ориентирования во внешних признаках изменения технического состояния. Последние достижения науки предопределяют необходимость перехода от субъективных методов оценки состояния к объективным.

На данный момент перспективными направлениями развития методов и средств диагностики являются методы, основанные на нечеткой логике или нечетких множествах, экспертные системы и нейронные сети. Методы нечеткой логики позволяют значительно упростить описание модели объектов контроля и диагностики, а также являются более простыми для аппаратной реализации. Экспертные системы позволяют принимать решения о состоянии объекта контроля, если оценка состояния или поиска неисправности объекта контроля является трудно формализуемой задачей. Нейронные сети используют для идентификации объектов контроля, распознавания образов и прогнозирования состояния технической системы.

Литература


1.   Баршдорф Д. Нейронные сети и нечеткая логика. Новые концепции для технической диагностики неисправностей. //Приборы и системы управления. 1996. №2.

3.   Биргер И.А. Техническая диагностика.-М.: Машиностроение, 1978.

4.   Бушуева М.Е. Методы и алгоритмы обеспечения контролепригодности сложных технических систем при кратных дефектах. Н.Новгород, 1997.

5.   Бушуева М.Е., Беляков В.В. Диагностика сложных технических систем / Разработка радиационно стойких полупроводниковых приборов для систем связи и прецизионных измерений с использованием шумового анализа //Труды 1-го ра-бочего совещания по проекту НАТО SfP–973799 Semiconductors –Н.Новгород: ТАЛАМ, 2001, с.63–98.

6.   Круглов В.В., Борисов В.В. Искусственные нейронные сети. Теория и практика. –М.: Горячая линия. Телеком, 2001, 382 с.

7.   Розенблатт Ф. Проблема внедрения самообучающихся информационных
 систем для оценки качества изготовления и
функционирования машин и оборудования. Санкт-Петербург – 2004.

8.   Селлерс Ф. Методы обнаружения ошибок в работе ЭЦВМ, пер. с англ., М., 1972;

9.   Субботин С. А. Синтез вейвлет-нейро-нечетких моделей для диагностики деталей авиадвигателей. ОАО "Мотор-Сич", 2003

10. Шахов А.В., Власов А.И., Кузнецов А.С., Поляков Ю.А. Нейрокомпьютеры: архитектура и реализация. //Приложение к журналу “Информационные технологии”. 2000. №9

11. Silvio Simani, Cesare Fantuzzi and Ron. Ою Patton. Model-based Fault diagnosis in Dynamic Systems Using Identification Techniques. Spring, 2002

Похожие работы на - Развитие теоретических принципов технической диагностики

 

Не нашли материал для своей работы?
Поможем написать уникальную работу
Без плагиата!
Без нейросетей!