Вакуумная перегонка мазута. Технологическая схема типовой установки АВТ, получаемые продукты и их пр...
МИНИСТЕРСТВО ОБРАЗОВАНИЯ И НАУКИ РОССИЙСКОЙ ФЕДЕРАЦИИ
ФЕДЕРАЛЬНОЕ АГЕНСТВО ПО ОБРАЗОВАНИЮ
Государственное образовательное
учреждение
высшего профессионального
образования
уфимский государственный нефтяной
технический университет
Кафедра технологий нефти и газа
Вакуумная перегонка
мазута. Технологическая схема типовой установки АВТ, получаемые продукты и их
применение.
Подготовка
углеводородных газов к переработке.
/реферат/
Выполнил: ст.гр. ЭА4з-06-01
В.А. Геч
зач. кн. №062685
Проверил: преподаватель
А.Т. Гильмутдинов
Уфа – 2007
Содержание
1. Введение. 3
2. Типы промышленных установок. 4
3. Блок атмосферной перегонки нефти установки ЭЛОУ – АВТ – 6. 6
4. Блок вакуумной перегонки мазута установки ЭЛОУ – АВТ – 6. 10
5. Блок стабилизации и вторичной перегонки бензина установки ЭЛОУ – АВТ – 6 ……………………………………………………………………………13
6. Особенности технологии вакуумной перегонки мазута по
масляному варианту 16
7. Вакуумная (глубоковакуумная) перегонка мазута в
насадочных колоннах. 17
8. Перекрестноточные посадочные колонны для четкого фракционирования мазута
с получением масляных дистиллятов. 22
9. Конденсационно-вакуумсоздающие системы вакуумных колонн. 25
10. Фракционирование углеводородных газов нефтепереработки. 28
11. Заключение. 35
Список использованных источников. 36
Введение
Особенно велико современное экономическое значение
нефти и газа. Нефть и газ – уникальные и исключительно полезные ископаемые.
Продукты их переработки применяют практически во всех отраслях промышленности,
на всех видах транспорта, в военном и гражданском строительстве, сельском
хозяйстве, энергетике, в быту и т.д. За последние несколько десятилетий из
нефти и газа стали вырабатывать в больших количествах разнообразные химические
материалы, такие, как пластмассы, синтетические волокна, каучуки, лаки, краски,
моющие средства, минеральные удобрения и многое другое. Не зря называют нефть
«четным золотом», а XX век – веком нефти и газа. Нефть и газ определяют не
только экономику и технический потенциал, но часто и политику государства.
Процессы перегонки нефти осуществляют
на так называемых атмосферных трубчатых (AT) и вакуумных трубчатых (ВТ) или атмосферно- вакуумных
трубчатых (АВТ) установках.
В зависимости от направления
использования фракций установки перегонки нефти принято именовать топливными,
масляными или топливно-масляными и соответственно этому - варианты переработки
нефти.
На установках AT осуществляют неглубокую перегонку
нефти с получением топливных (бензиновых, керосиновых, дизельных) фракции и
мазута. Установки ВТ предназначены для перегонки мазута. Получаемые на них
газойлевые. масляные фракции и гудрон используют в качестве сырья процессов
последующей (вторичной) переработки их с получением топлив, смазочных масел,
кокса, битумов и других нефтепродуктов.
Современные процессы перегонки нефти
являются комбинированными с процессами обезвоживания и обессоливания, вторичной
перегонки и стабилизации бензиновой фракции: ЭЛОУ - AT, ЭЛОУ -АВТ, ЭЛОУ-АВТ- вторичная перегонка и т.д.
Диапазон мощностей отечественных
установок перегонки нефти широк - от 0,5 до 8 млн. т. нефти в год. До 1950 г.
максимальная мощность наиболее распространенных установок AT и АВТ составляла 500-600 тыс.т/год.
В 1950-60-х гг. проектировались и строились установки мощностью 1; 1,5; 2 и 3
млн. т/год нефти. В 1967 г. ввели в эксплуатацию высокопроизводительную
установку АВТ мощностью 6 млн. т/год. Преимущества установок большой единичной
мощности очевидны: высокая производительность труда и низкие капитальные и
эксплуатационные затраты по сравнению с установками малой производительности.
Еще более существенные экономические
преимущества достигаются при комбинировании AT и АВТ (или ЭЛОУ - AT и ЭЛОУ -АВТ) с другими технологическими процессами, такими, как
газо-фракционирование, гидроочистка топливных и газойлевых фракций,
каталитический риформинг, каталитический крекинг, очистка масляных фракций и
т.д.
Надо отметить, что старые установки
малой мощности подверглись модернизации с увеличением их мощности в 2 - 2,5
раза и более по сравнению с проектной.
Поскольку в эксплуатации находятся AT и АВТ довоенного и последующих
поколений, отечественные установки перегонки нефти характеризуются большим разнообразием схем
перегонки, широким ассортиментом получаемых фракций. Даже при одинаковой
производительности ретификационые колонны имеют разные размеры, неодинаковое
число и разные типы тарелок; по разному решены схемы теплообмена, холодного, горячего, и
циркуляционного орошения а также вакуумсоздающей системы. В этой связи ниже
будут представлены лишь принципиальные технологические схемы отдельных блоков
(секций), входящих в состав высокопроизводительных современных типовых установок
перегонки нефти.
При выборе технологической схемы и режима
атмосферной перегонки нефти руководствуются главным образом ее фракционным
составом и, прежде всего, содержанием в ней газов и бензиновых фракций.
Перегонку стабилизированных нефтей
постоянного состава с небольшим количеством растворенных газов (до 1,2 % по С4
включительно), относительно невысоким содержанием бензина (12-15 %) и выходом
фракций до 350°С не более 45 % энергетически наиболее выгодно осуществлять на
установках (блоках) AT по схеме с
однократным испарением, то есть с одной сложной ректификационной колонной с
боковыми отпарными секциями. Установки такого типа широко применяются на
зарубежных НПЗ. Они просты и компактны, благодаря осуществлению совместного
испарения легких и тяжелых фракций требуют минимальной температуры нагрева
нефти для обеспечения заданной доли отгона, характеризуются низкими
энергетическими затратами и металлоемкостью. Основной их недостаток ─
меньшая технологическая гибкость и пониженный (на 2,5 -3,0 %) отбор светлых, по
сравнению с двухколонной схемой, требуют более качественной подготовки нефти.
Для перегонки легких нефтей с высоким
содержанием растворимых газов (1,5 - 2,2 %) и бензиновых фракций (до 20 - 30
%) и фракций до 350°С (50-60%) целесообразно применять атмосферную перегонку
двухкратного испарения, то есть установки с предварительной отбензинивающей
колонной и сложной ректификационной колонной с боковыми отпарными секциями для
разделения частично отбензиненной нефти на топливные фракции и мазут.
Двухколонные установки атмосферной перегонки нефти получили в отечественной
нефтепереработке наибольшее распространение. Они обладают достаточной
технологической гибкостью, универсальностью и способностью перерабатывать нефти
различного фракционного состава, так как первая колонна, в которой отбирается
50 - 60 % бензина от потенциала, выполняет функции стабилизатора, сглаживает
колебания в фракционном составе нефти и обеспечивает стабильную работу основной
ректификационной колонны. Применение отбензинивающей колонны позволяет также
снизить давление на сырьевом насосе, предохранить частично сложную колонну от
коррозии, разгрузить печь от легких фракций, тем самым несколько уменьшить требуемую
тепловую ее мощность.
Недостатками двухколонной AT является более высокая температура
нагрева отбензиненной нефти, необходимость поддержания температуры низа первой
колонны горячей струей, на что требуются затраты дополнительной энергии. Кроме
того, установка оборудована дополнительной аппаратурой: колонной, насосами,
конденсаторами-холодильниками и т.д.
Блок атмосферной перегонки нефти высокопроизводительной, наиболее
распространенной в нашей стране установки ЭЛОУ - АВТ - 6 функционирует по схеме
двухкратного испарения и двухкратной ректификации. Это показано на рисунке 1.
Обезвоженная
и обессоленная на ЭЛОУ нефть дополнительно подогревается в теплообменниках и
поступает на разделение в колонну частичного отбензинивания 1. Уходящие с верха этой колонны
углеводородный газ и легкий бензин конденсируются и охлаждаются в аппаратах
воздушного и водяного охлаждения и поступают в емкость орошения. Часть
конденсата возвращается наверх колонны 1 в качестве острого орошения.
Отбензиненная нефть с низа колонны 1 подается в трубчатую печь 4, где
нагревается до требуемой температуры и поступает в атмосферную колонну 2.
Часть отбензиненной нефти из печи 4 возвращается в низ колонны 1 в качестве
горячей струи. С верха колонны 2 отбирается тяжелый бензин, а сбоку через
отпарные колонны 3 выводятся топливные фракции 180-220 (230), 220 (230)-280 и
280-350°С. Атмосферная колонна, кроме острого орошения, имеет 2
циркуляционных орошения, которыми отводится тепло ниже тарелок отбора фракций
180-220 и 220-280°С. В нижние части атмосферной и отпарных колонн подается
перегретый водяной пар для отпарки легко кипящих фракций. С низа атмосферной
колонны выводится мазут, который направляется на блок вакуумной перегонки.
Ниже приведены материальный баланс, технологический режим и характеристика
ректификационных колонн блока атмосферной перегонки нефти (типа самотлорской)[1].
Материальный баланс блока AT
Поступило,
%
Нефть 100
Получено,
% на нефть
Газ и нестабильный бензин (н.к.-180
°С) - 19,1
Фракции: 180-220 °С
- 7,4
220-280 °С-11,0
280-350 °С- 10,5
Мазут - 52,0
Технологический режим работы блока AT
Колонна частичного отбензинивания
нефти
Температура, °С
питания - 205
верха - 155
низа - 240
в
емкости орошения - 70
Давление,
МПа - 0,5
Кратность острого орошения, кг/кг -
0,6:1
Атмосферная колонна
Температура, °С
питания - 365
верха - 146
вывода фракций: 180-220 °С - 196
220-280 °С - 246
280-350 °С -312
низа - 342
Давление, МПа - 0,25
Кратность острого орошения, кг/кг
1,4:1
Характеристика ректификационных
колонн
Диаметр, м Число тарелок[2]
Колонна частичного 5 24
отбензинивания нефти, в т.ч.
концентрационная часть 12
отгонная часть 10
Атмосферная колонна
верхняя часть 5 15
средняя часть 7 23
нижняя часть 7 5
Отгонные колонны 2 по 10
Практикой эксплуатации промышленных установок
AT и АВТ были выявлены следующие
недостатки схемы 1:
- не обеспечиваются проектные
показатели по температуре подогрева нефти на входе в К-1, тем самым и по отбору
легкого бензина в ней;
- способ регулирования температуры низа
К-1 посредством горячей струи через печь требует повышенных энергозатрат на
циркуляцию отбензиненной нефти.
Для интенсификации работы К-1 на ряде
НПЗ были переобвязаны теплообменники по сырью и теплоносителю с целью повышения
температуры подогрева нефти на входе в К-1. На одном НПЗ[3]
внедрена энергосберегающая технология отбензинивания нефти которая отличается
от схемы 1 тем, что часть поступающей в К-1 исходной обессоленной нефти
нагревается в конвекционной камере печи (атмосферной или вакуумной) до 180°С
(вместо 205°С) и подается вторым потоком в секцию питания, а в низ К-1 в
качестве испаряющего агента подается водяной пар (≈0,7% мас.).
Основное назначение установки (блока) вакуумной перегонки мазута
топливного профиля - получение вакуумного газойля широкого фракционного состава
(350 - 500 °С), используемого как сырье установок каталитического крекинга,
гидрокрекинга или пиролиза и в некоторых случаях - термического крекинга с
получением дистиллятного крекинг - остатка, направляемого далее на коксование с
целью получения высококачественных нефтяных коксов.
О
четкости разделения мазута обычно судят по фракционному составу и цвету
вакуумного газойля. Последний показатель косвенно характеризует содержание
смолисто-асфальтеновых веществ, то есть коксуемость и содержание металлов.
Металлы, особенно никель и ванадий, оказывают отрицательное влияние на
активность, селективность и срок службы катализаторов процессов
гидрооблагораживания и каталитической переработки газойлей. Поэтому при
эксплуатации промышленных установок ВТ исключительно важно уменьшить унос
жидкости (гудрона) в концентрационную секцию вакуумной колонны в виде брызг,
пены, тумана и т.д. В этой связи вакуумные колонны по топливному варианту имеют
при небольшом числе тарелок (или невысоком слое насадки) развитую питательную
секцию: отбойники из сеток и промывные тарелки, где организуется рециркуляция
затемненного продукта. Для предотвращения попадания металлоорганических
соединений в вакуумный газойль иногда вводят в сырье в небольших количествах
антипенную присадку типа силоксан.
В процессах вакуумной перегонки,
помимо проблемы уноса жидкости усиленное внимание уделяется обеспечению
благоприятных условий для максимального отбора целевого продукта без заметного
его разложения. Многолетним опытом эксплуатации промышленных установок ВТ
установлено, что нагрев мазута в печи выше 420-425°С вызывает интенсивное
образование газов разложения, закоксовывание и прогар труб печи, осмоление
вакуумного газойля. При этом, чем тяжелее нефть, тем более интенсивно идет
газообразование и термодеструкция высокомолекулярных соединений сырья.
Вследствие этого при нагреве мазута до максимально допустимой температуры уменьшают
время его пребывания в печи, устраивая многопоточные змеевики (до четырех),
применяют печи двустороннего облучения, в змеевик печи подают водяной пар и
уменьшают длину трансферного трубопровода (между печью и вакуумной колонной).
Для снижения температуры низа колонны организуют рецикл (квенчинг) частично
охлажденного гудрона. С целью снижения давления на участке испарения печи
концевые змеевики выполняют из труб большего диаметра и уменьшают перепад
высоты между вводом мазута в колонну и выходом его из печи. В вакуумной колонне
применяют ограниченное количество тарелок с низким гидравлическим
сопротивлением или насадку; используют вакуумсоздающие системы, обеспечивающие
достаточно глубокий вакуум. Количество тарелок в отгонной секции также должно быть
ограничено, чтобы обеспечить малое время пребывания нагретого гудрона. С этой
целью одновременно уменьшают диаметр куба колонн.
В процессах вакуумной перегонки
мазута по топливному варианту преимущественно используют схему однократного
испарения, применяя одну сложную ректификационную колонну с выводом
дистиллятных фракций через отпарные колонны или без них. При использовании
отпарных колонн по высоте основной вакуумной колонны организуют несколько
циркуляционных орошений.
Принципиальная схема блока вакуумной
перегонки мазута установки ЭЛОУ-АВТ-6 приведена на рисунке 2.

Мазут, отбираемый с низа атмосферной
колонны блока AT (см. рис.1), прокачивается
параллельными потоками через печь 2 в вакуумную колонну 1. Смесь нефтяных и
водяных паров, газы разложения (и воздух, засасываемый через неплотности) с
верха вакуумной колонны поступают в вакуумсоздающую систему. После кон и
охлаждения в конденсаторе-холодильнике она разделяется в газосепараторе на газовую и
жидкую фазы. Газы отсасываются трехступенчатым пароэжекторным вакуумным
насосом, а конденсаты поступают в отстойник для отделения нефтепродукта от
водного конденсата. Верхним боковым погоном вакуумной колонны отбирают фракцию
легкого вакуумного газойля (соляр). Часть его после охлаждения в
теплообменниках возвращается наверх колонны в качестве верхнего циркуляционного орошения.
Вторым боковым погоном отбирают широкую газойлевую (масляную) фракцию.
Часть ее после охлаждения используется как среднее циркуляционное орошение
вакуумной колонны. Балансовое количество целевого продукта вакуумного газойля
после теплообменников и холодильников выводится с установки и направляется на
дальнейшую переработку.
С нижней тарелки концентрационной части колонны выводиться затемненная
фракция, часть которой используется как нижнее
циркуляционное орошение, часть - может выводиться с установки или
использоваться как рецикл вместе с загрузкой вакуумной печи.
С низа вакуумной колонны отбирается гудрон и после охлаждения в
теплообменнике возвращается в низ колонны в качестве квенчинга. В низ вакуумной
колонны и змеевик печи подается водяной пар.
Материальный баланс блока вакуумной
перегонки
Поступило,
% на нефть
Мазут -52
Получено.
% на нефть
Легкий вакуумный газойль -1,2
Вакуумный газойль -
22,0
Гудрон -
28,8
Технологический режим в вакуумной
колонне
Температура,°С
питания
- 395
верха
- 125
низа
- 352
вывода:
легкого вакуумного газойля -195
широкого вакуумного газойля - 260
затемненной фракции - 300
Давление наверху (абс), кПа - 8,0
Характеристика вакуумной колонны
Диаметр, м Число тарелок[4]
Верхняя часть 6,4 4
Средняя часть 9,0 10
Нижняя часть 4,5 4
Во
фракциях легкого и тяжелого бензинов, отбираемых с верха соответственно
отбензинивающей и атмосферной колонн (см. рис. 1), содержатся растворенные
углеводородные газы (С1 -С4). Поэтому прямогонные бензины
должны подвергаться вначале стабилизации с выделением сухого (С1-С2)
и сжиженного (С2-С4) газов и последующим их рациональным
использованием.
Прямогонные бензины после предварительной стабилизации
не могут быть использованы непосредственно как автомобильные бензины ввиду их
низкой детонационной стойкости. Для регулирования пусковых свойств и упругости паров,
товарных автобензинов обычно используется только головная фракция бензина н.к.
- 62 (85°С), которая обладает к тому же достаточно высокой детонационной
стойкостью.
Для последующей переработки
стабилизированные бензины подвергаются вторичной перегонке на фракции,
направляемые как сырье процессов каталитического риформинга с целью получения
высокооктанового компонента автобензинов или индивидуальных ароматических
углеводородов — бензола, толуола и ксилолов. При производстве ароматических
углеводородов исходный бензин разделяют на следующие фракции с температурными
пределами выкипания: 62 -85 °С (бензольную), 85-105 (120°С) (толуольную) и 105
(120)-140°С (ксилольную). При топливном направлении переработки прямогонные
бензины достаточно разделить на 2 фракции: н.к.-85°С и 85-180°С.
Для стабилизации и вторичной
перегонки прямогонных бензинов с получением сырья каталитического риформинга
топливного направления применяют в основном двухколонные схемы, включающие
колонну стабилизации и колонну вторичной перегонки бензина на фракции н.к. - 85
и 85 - 180°С. Как наиболее экономически выгодной схемой разделения
стабилизированного бензина на узкие ароматикообразующие фракции признана
последовательно-параллельная схема соединения колонн вторичной перегонки, как
это принято в блоке стабилизации и вторичной перегонки установки ЭЛОУ-АВТ - 6
на рисунке 3. В соответствии с этой схемой прямогонный бензин после
стабилизации разделяется сначала на 2 промежуточные фракции (н.к. - 105°С и
105-180°С), каждая из которых затем направляется на последующее разделение на
узкие целевые фракции.
Как видно из рисунке 3, нестабильный
бензин из блока AT после нагрева в
теплообменнике поступает в колонну стабилизации (дебутанизатор) 1. С верха этой
колонны отбирают сжиженные газы С2-С4, которые проходят
конденсатор-холодильник и поступают в газосепаратор. Часть конденсата
возвращается в колонну 1 в качестве острого орошения, а балансовое количество
выводится с установки. Подвод тепла в низ дебутанизатора осуществляется горячей
струей подогретого в печи стабильного бензина. Из стабильного (дебетированного)
бензина в колонне 2 отбирают фракцию С5-105°С.
Пары этой фракции конденсируют в аппарате воздушного охлаждения. Часть
конденсата возвращают в колонну 2 в качестве острого орошения, а балансовую
часть направляют в колонну 3. Кроме того, часть паров верха колонны 2 подают
без конденсации в колонну 3. С верха колонны 3 отбирают фракцию С5-
62°С, с куба - 62-1050С. которая может выводиться с установки как
целевая направляться в колонну 4 для разделения на фракции 62-85°С (бензольную)
и 85-105°С (толуольную).
Остаток колонны 2 - фракцию 105-180°С
-направляют на разделение в колонну 5 на фракции 105-140 °С и 140-180 °С.

Тепло в низ колонны 4 подводится
через кипятильник, а остальных колонн вторичной перегонки (2,3 и 5) - с горячей
струей подогретого в печи
кубового остатка этих колонн.
Материальный баланс блока
стабилизации и вторичной перегонки бензина
Поступило, % на
нефть
Нестабильный бензин -19,1
Получено, % на нефть
Сухой газ (С1-С2) -0,2
Сжиженный газ (С2-С4)
-1,13
Фракция С5-62°С - 2,67
Фракция 62-105°С - 6,28
Фракция 105-140°С - 4,61
Фракция 140-180°С - 4,21
Технологический режим и
характеристика ректификационных колонн блока стабилизации и вторичной перегонки
бензина
Колонны №
Температура, °С
1 2 3 4 5
питания 145
154 117 111 150
верха
75 134 82 96 132
низа
190 202 135 127 173
в емкости орошения 55 97
60 80 110
Кратность орошения, кг/кг
3,5:1 1,3:1 4:1 2,2:1 2,4:1
Давление, МПа
1,1 0,45 0,35 0,20 0,13
Диаметр, м
верхняя часть
2,8 3,6 3,6 2,8 4,0
нижняя часть
3,6 - - - -
Число тарелок[5]
40 60 60 60 60
Расходные
показатели установки ЭЛОУ-АВТ-6 на 1 т перерабатываемой нефти: топливо жидкое -
33,4 кг; электроэнергия 10,4 кВт*ч; вода оборотная - 4,3 м3; водяной
пар (1,0 МПа) со стороны -1,1 кг, собственной выработки - 48 кг. Ниже, на
рисунке 4, представлен общий вид установки ЭЛОУ-АВТ-6.
Основное
назначение процесса вакуумной перегонки мазута масляного профиля (ВТМ) –
получение узких масляных фракций заданной вязкости, являющихся базовой основой
для получения товарных масел путем последующей многоступенчатой очистки от
нежелательных компонентов (смолистых, асфальтеновых соединений, полициклических
ароматических углеводородов, твердых парафинов).
Многие показатели качества (вязкость,
индекс вязкости, нагарообразующая способность, температура вспышки и др.)
товарных масел, а также технико-экономические показатели процессов очистки
масляного производства во многом предопределяются качеством исходных нефтей и
их масляных фракций. Поэтому в процессах ВТМ, по сравнению с вакуумной
перегонкой топливного профиля, предъявляются более строгие требования к
четкости погоноразделения и выбору сырья. Наиболее массовым сырьем для
производства масел в нашей стране являются смеси западно-сибирских
(самотлорская, усть-балыкская, сосниская) и волго-уральских (туймазинская,
ромашкинская, волгоградская) нефтей. Для получения масел высокого качества из
таких нефтей рекомендуется получать узкие 50-градусные масляные фракции
(350-400; 400-450 и 450-500°С) с минимальным налеганием температур кипения
смежных дистиллятов (не более 30-60°С). Для обеспечения требуемой четкости
погоноразделения на ректификационных колоннах ВТМ устанавливают большее число
тарелок (до 8 на каждый дистиллят), применяют отпарные секции; наряду с
одноколонными широко применяют двухколонные схемы (двухкратного испарения по
дистилляту) перегонки (рисунок 5 (а, б)).
Следует отметить, что одноколонные
ВТМ превосходят двухколонные по капитальным и эксплуатационным затратам, но
уступают по четкости погоноразделения: обычно налегание температур кипения
между смежными дистиллятами достигает 70-130°С. В то же время желаемое
повышение четкости ректификации путем увеличения числа тарелок не достигается
из-за снижения при этом глубины вакуума в секции питания колонны. При работе
установки ВТМ по схеме рис. 5,а давление в секции питания колонны
поддерживается порядка 13-33 кПа при давлении вверху 6-10 кПа и температуре
нагрева мазута не выше 420 °С. В низ колонны подается 5-10 % водяного пара (на
гудрон). При работе ВТМ по схеме рис. 5,б необязательно иметь во второй колонне
глубокий вакуум, больший эффект разделения в ней достигается увеличением общего
числа тарелок. Температура нагрева мазута на входе в первую колонну 400 -420°С
и широкой масляной фракции во второй ступени вакуумной перегонки - 350-360 °С.
В
последние годы в мировой нефтепереработке все более широкое распространение при
вакуумной перегонке мазута получают насадочные контактные устройства
регулярного типа, обладающие, по сравнению с тарельчатыми, наиболее важным
преимуществом весьма низким гидравлическим сопротивлением на единицу теоретической
тарелки. Это достоинство регулярных насадок позволяет конструировать вакуумные
ректификационные колонны, способные обеспечить либо более глубокий отбор
газойлевых (масляных) фракций с температурой конца кипения вплоть до 600°С,
либо при заданной глубине отбора существенно повысить четкость фракционирования
масляных дистиллятов.
|
Рис. 5. Схемы одноколонной (а) и двухколонной (б)
перегонки мазута по масляному варианту: I - мазут; II,
Ш и IV - соответственно маловязкий,
средневязкий и высоковязкий дистилляты; V - гудрон; VI - водяной пар; VII - неконденсированные газы и водяной пар; VIII - легкий вакуумный газойль
|
|
|
Применяемые в настоящее время
высокопроизводительные вакуумные колонны с регулярными насадками по способу
организации относительного движения контактирующихся потоков жидкости и пара
можно подразделить на следующие 2 типа: противоточные и перекрестноточные.
Противоточные вакуумные колонны с
регулярными насадками конструктивно мало отличаются от традиционных
малотоннажных насадочных колонн: только вместо насадок насыпного типа
устанавливаются блоки или модули из регулярной насадки и устройства для
обеспечения равномерного распределения жидкостного орошения по сечению колонны.
В сложных колоннах число таких блоков (модулей) равно числу отбираемых фракций
мазута.
На рисунке 6 представлена
принципиальная конструкция вакуумной насадочной колонны противоточного типа
фирмы Гримма (ФРГ). Она предназначена для глубоковакуумной перегонки мазута с
отбором вакуумного газойля с температурой конца кипения до 550°С. Отмечаются
следующие достоинства этого процесса:
- высокая производительность - до 4
млн. т/год по мазуту;
- возможность получения
глубоковакуумного газойля с температурой конца кипения более 550°С с низкими
коксуемостью (менее 0,3
% масс. по Конрадсону) и содержанием металлов (V+10Ni + Na) менее 2,5 ppm;
- пониженная (на 10-15 °С) температура
нагрева мазута после печи;
- более чем в 2 раза снижение потери
давления в колонне;
- существенное снижение расхода
водяного пара на отпарку.
На Шведском НХК (ФРГ) эксплуатируются
две установки этой фирмы производительностью по 2 млн. т/г по мазуту. Вакуумная
колонна оборудована регулярной насадкой типа «Перформ-Грид». Давление вверху и
зоне питания колонны поддерживается соответственно 7 и 36 гПа (5,2 и 27 мм рт.
ст.).
На ряде НПЗ развитых
капиталистических стран эксплуатируются аналогичные высокопроизводительные
установки вакуумной (глубоковакуумной) перегонки мазута, оборудованные
колоннами с регулярными насадками типа «Глитч-Грид».
На
некоторых отечественных НПЗ внедрена и успешно функционирует принципиально
новая высокоэффективная технология вакуумной перегонки мазута в
перекрестноточных насадочных колоннах[6].
Гидродинамические условия контакта
паровой и жидкой фаз в перекрестноточных насадочных колоннах (ПНК) существенно
отличаются от таковых при противотоке. В противоточных
насадочных колоннах насадка занимает все поперечное сечение колонны, а пар и
жидкость движутся навстречу друг другу. В ПНК насадка занимает только часть
поперечного сечения колонны (в виде различных геометрических фигур: кольцо,
треугольник, четырехугольник, многоугольник и т.д.). Перекрестноточная регулярная насадка изготавливается из традиционных для
противоточных насадок материалов: плетеной или вязаной металлической сетки (так
называемые рукавные насадки), просечно-вытяжных листов, пластин и т.д. Она
проницаема для пара в горизонтальном направлении и для жидкости в вертикальном
направлении. По высоте ПНК разделена распределительной плитой на несколько
секций (модулей), представляющих собой единую совокупность элемента регулярной
насадки с распределителем жидкостного орошения. В пределах каждого модуля
организуется перекрестноточное (поперечное) контактирование фаз, то есть
движение жидкости по насадке сверху вниз, а пара - в горизонтальном
направлении. Следовательно, в ПНК жидкость и пары проходят различные
независимые сечения, площади которых можно регулировать (что дает
проектировщику дополнительную степень свободы), а при противотоке - одно и то
же сечение. Поэтому перекрестноточный контакт фаз позволяет регулировать в
оптимальных пределах плотность жидкого и парового орошений изменением толщины и
площади поперечного сечения насадочного слоя и тем самым обеспечить почти на
порядок превышающую при противотоке скорость паров (в расчете на горизонтальное
сечение) без повышения гидравлического сопротивления и значительно широкий
диапазон устойчивой работы колонны при сохранении в целом по аппарату принципа
и достоинств противотока фаз, а также устранить такие дефекты, как
захлебывание, образование байпасных потоков, брызгоунос и другие, характерные
для противоточных насадочных или тарельчатых колонн.
Экспериментально установлено, что
перекрестноточный насадочный блок конструкции Уфимского государственного
нефтяного университета (УГНТУ), выполненный из металлического сетчатовязаного
рукава, высотой 0,5 м, эквивалентен одной теоретической тарелке и имеет
гидравлическое сопротивление в пределах всего 1 мм рт. ст. (133,3 Па), то есть
в 3-5 раз ниже по сравнению с клапанными тарелками. Это достоинство особенно
важно тем, что позволяет обеспечить в зоне питания вакуумной ПНК при ее
оборудовании насадочным слоем, эквивалентным 10-15 тарелкам, остаточное
давление менее 20-30 мм рт. ст. (27-40 ГПа) и, как следствие, значительно
углубить отбор вакуумного газойля и тем самым существенно расширить ресурсы
сырья для каталитического крекинга или гидрокрекинга. Так, расчеты показывают,
что при глубоковакуумной перегонке нефтей типа западно-сибирских выход
утяжеленного вакуумного газойля 350-690°С составит 34,1 % на нефть), что в 1,5
раза больше по сравнению с отбором традиционного вакуумного газойля 350-500°С
(выход которого составляет 24,2 %) С другой стороны, процесс в насадочных
колоннах можно осуществить в режиме обычной вакуумной перегонки, но с высокой
четкостью погоноразделения, например, масляных дистиллятов. Низкое
гидравлическое сопротивление регулярных насадок позволяет «вместить» в
вакуумную колонну стандартных типоразмеров в 3-5 раза большее число
теоретических тарелок. Возможен и такой вариант эксплуатации глубоковакуумной
насадочной колонны, когда перегонка мазута осуществляется с пониженной
температурой нагрева или без подачи водяного пара.
Отмеченное выше другое преимущество
ПНК - возможность организации высокоплотного жидкостного орошения -
исключительно важно для эксплуатации высокопроизводительных установок вакуумной
или глубоковакуумной перегонки мазута, оборудованных колонной большого
диаметра. Для сравнения сопоставим потребное количество жидкостного орошения
применительно к вакуумным колоннам противоточного и перекрестноточного типов
диаметром 8 м (площадью сечения ≈50 м2). При противотоке для
обеспечения даже пониженной плотности орошения ≈20 м3/м2ч
требуется на орошение колонны 50x20=1000 м3/ч жидкости, что
технически не просто осуществить. При этом весьма сложной проблемой становится
организация равномерного распределения такого количества орошения по сечению
колонны.
В
ПНК, в отличие от противоточных колонн, насадочный слой занимает только часть
ее горизонтального сечения площадью на порядок и более меньшую. В этом случае
для организации жидкостного орошения в вакуумной ПНК аналогичного сечения
потребуется 250 м3/ч жидкости, даже при плотности орошения 50 м3/м2ч,
что энергетически выгоднее и технически проще. На рисунке 7 представлена
принципиальная конструкция вакуумной перекрестноточной насадочной колонны,
внедренной на АВТ-4 ПО «Салаватнефтеоргсинтез». Она предназначена для вакуумной перегонки мазута арланской
нефти с отбором широкого вакуумного газойля - сырья каталитического крекинга.
Она представляет собой цилиндрический вертикальный аппарат (ранее
бездействующая вакуумная колонна) с расположением насадочных модулей внутри
колонны по квадрату. Диаметр колонны 8 м, высота укрепляющей части около 16 м.
В колонне смонтирован телескопический ввод сырья, улита, отбойник и шесть
модулей из регулярной насадки УГНТУ. Четыре верхних модуля предназначены для
конденсации вакуумного газойля, пятый является фракционирующим, а шестой служит
для фильтрации и промывки паров. Для снижения крекинга в нижнюю часть колонны
вводится охлажденный до 320°С и ниже гудрон в виде квенчинга. Поскольку паровые
и жидкостные нагрузки в ПНК различны по высоте, насадочные модули выполнены
различными по высоте и ширине в соответствии с допустимыми нагрузками по пару и
жидкости. Предусмотрены циркуляционное орошение, рецикл затемненного продукта,
надежные меры против засорения сетчатых блоков механическими примесями, против
вибрации сетки и проскока брызгоуноса в вакуумный газойль.
Давление
в зоне питания колонны составило 20-30 мм рт. ст. (27-40 ГПа), а температура
верха - 50-70 °С; конденсация вакуумного газойля была почти полной: суточное
количество конденсата легкой фракции (180-290 °С) в емкости - отделителе воды -
составило менее 1 т. В зависимости от требуемой глубины переработки мазута ПНК
может работать как с нагревом его в вакуумной печи, так и без нагрева за счет
самоиспарения сырья в глубоком вакууме, а также в режиме сухой перегонки. Отбор
вакуумного газойля ограничивался из-за высокой вязкости арланского гудрона и
составлял 10-18 % на нефть.
Перекрестноточные насадочные колонны
(ПНК) в зависимости от количества устанавливаемых в них насадочных блоков и,
следовательно, от достигаемого в зоне питания глубины вакуума можно
использовать в следующих вариантах:
а) вариант глубоковакуумной перегонки
с углубленным отбором, но менее четким фракционированием вакуумных дистиллятов,
если ПНК оборудованы ограниченным числом теоретических ступеней контакта;
б)
вариант обычной вакуумной перегонки, но с более высокой четкостью
фракционирования отбираемых дистиллятов, когда ПНК оборудована большим числом
теоретических ступеней контакта.
Второй вариант особенно эффективен
для фракционирования мазута с получением масляных дистиллятов с более узким
температурным интервалом выкипания за счет снижения налегания температур
кипения смежных фракций.
На одном из НПЗ России
(«Орскнефтеоргсинтез») проведена реконструкция вакуумного блока установки АВТМ,
где ранее отбор масляных дистиллятов осуществлялся по типовой двухколонной
схеме с двухкратным испарением по дистилляту (см. рис. 5,б) с переводом ее на
одноколонный вариант четкого фракционирования мазута в ПНК. Принципиальная
конструкция этой колонны представлена на рисунке 8.
При реконструкции вакуумной колонны
было смонтировано 20 перекрестноточных насадочных блоков (из просечно-вытяжного
листа конструкции УГНТУ с малым гидравлическим сопротивлением), в т.ч. 17 из
которых - в укрепляющей части, что эквивалентно 10.8 теоретическим тарелкам
(вместо 5,6 до реконструкции).
При
эксплуатации реконструированной установки АВТМ были получены следующие
результаты по работе ПНК и качеству продуктов разделения:
Показатели
До После
реконструкции
реконструкции
Производительность, т/ч 46—48
55
Остаточное давление, мм рт. ст
на верху колонны 40-70
40-60
в зоне питания 96-126
53-73
Температура,
°С
сырья
365-375 350-360
верха
165-175 165 -175
низа 340-355
340-350
Расход, т/ч
верхнего циркуляционного
орошения 30-35
30-48
водяного пара 0,5-0,8
0,2-0,42
Число теоретических тарелок
в укрепляющей секции 5,6
10,8
Отбор на нефть, % масс.
I погон 8,6-9,0
10,0-10,4
II
погон 9,0-9,5
13,0-15,6
Температурный
интервал
выкипания фракций, °С (tк95%- tк5%)
I масляный погон 130-140
100 110
II масляный погон 150-160
105-125
Налегание масляных фракций, °С
70-105 27-60
Температура вспышки, °С
I масляный погон 175-178
184-190
II масляный погон 213-217
214 -221
гудрон 247-268
260-290
Вязкость при 50 °С, сСт
I масляный погон 10,5-14
11,7-17
II масляный погон 35-59
39-60
Цвет,
ед. ЦНТ
I масляный погон 1,5-2,0
1,5-2,0
II масляный погон 4,5-5,0
3,5-4,5
Как видно из приведенных выше данных,
применением ПНК достигается значительная интенсификация процесса вакуумной
перегонки на установках АВТМ. По сравнению с типовым двухколонным энергоемким
вариантом вакуумной перегонки энергосберегающая технология четкого
фракционирования мазута в одной перекрестноточной насадочной колонне имеет
следующие достоинства:
- исключается из схемы вакуумной перегонки
вторая трубчатая печь и вторая вакуумная колонна со всем сопутствующим
оборудованием и вакуумсоздающей системой;
- -температура нагрева мазута на входе
в ПНК ниже на 10-15°С;
- расход водяного пара меньше в 2 раза;
- масляные дистилляты имеют более узкий
фракционный состав: 100-110 вместо 130-140 °С;
-
отбор масляных
дистиллятов увеличивается с 18,5 до 25 % на нефть;
-
производительность
вакуумного блока увеличивается примерно на 10%.
Заданная глубина вакуума в вакуумных
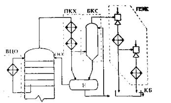
колоннах создается с помощью конденсационно-вакуумсоздающих систем (КВС)
установок АВТ путем конденсации паров, уходящих с верха колонн, и эжектирования
неконденсирующихся газов и паров (водяной пар, H2S, СО2,
легкие фракции и продукты термического распада сырья и воздух, поступающий
через неплотности КВС).
Конденсационно-вакуумсоздающая
система современных установок АВТ состоит из системы конденсации, системы
вакуумных насосов, барометрической трубы, газосепаратора и сборника конденсата.
Для конденсации паров на практике
применяются следующие два способа (рис. 9):
1) конденсация с ректификацией в
верхней секции вакуумной колонны посредством
- верхнего циркуляционного орошения
(ВЦО) или (и)
- острого орошения (ОО);
2) конденсация без ректификации вне
колонны в выносных конденсаторах-холодильниках:
- поверхностного типа (ПКХ)
теплообменом с водой или воздухом;
- барометрического типа (БКС) смешением
с водой или газойлем, выполняющим роль хладоагента и абсорбента;
- в межступенчатых конденсаторах водой,
устанавливаемых непосредственно в пароэжекторных насосах (ПЭК).
Для создания достаточно глубокого вакуума в колонне не обязательно
использование одновременно всех перечисленных выше способов конденсации. Так,
не обязательно включение в КВС обоих способов конденсации паров с ректификацией
в верхней секции колонны: для этой цели вполне достаточно одного из двух
способов. Однако ВЦО значительно предпочтительнее и находит более широкое
применение, поскольку по сравнению с ОО позволяет более полно утилизировать
тепло конденсации паров, поддерживать на верху вакуумной колонны оптимально
низкую температуру в пределах 60-80°С, тем самым значительно уменьшить объем
паров и газов. Из способов конденсации паров без ректификации вне колонны на
установках АВТ старых поколений применялись преимущественно барометрические
конденсаторы смешения, характеризующиеся низким гидравлическим сопротивлением и
высокой эффективностью теплообмена, кроме того, при этом отпадает необходимость
в использовании газосепаратора. Существенный недостаток БКС - загрязнение
нефтепродуктом и сероводородом оборотной воды при использовании последней как
хладоагента. В этой связи более перспективно использование в качестве
хладоагента и одновременно абсорбента охлажденного вакуумного газойля. По
экологическим требованиям в КВС современных высокопроизводительных установок
АВТ, как правило, входят только поверхностные конденсаторы-холодильники в
сочетании с газосепаратором.
В качестве вакуум-насосов в настоящее
время применяют струйные насосы - одно- и преимущественно двух- или трехступенчатые
эжекторы на водяном паре и промежуточной его конденсацией (ПЭН).
Пароэжекционные вакуумные насосы обладают рядом принципиальных недостатков
(низкий коэффициент полезного действия, значительный расход водяного пара и
охлажденной воды для его конденсации, загрязнение охлаждающей воды и воздушного
бассейна и т.д.).
По признаку связи с окружающей средой
различают сборники конденсата открытого типа - барометрические колодцы (БК) и
закрытого типа - емкости-сепараторы (Е). Вместо широко использовавшихся ранее
барометрических колодцев на современных установках АВТ применяют сборники
преимущественно закрытого типа, обеспечивающие более высокую экологическую
безопасность для обслуживающего персонала.
КВС установок АВТ обязательно
включают барометрическую трубу (БТ) высотой не менее 10 м, которая выполняет
роль гидрозатвора между окружающей средой и вакуумной колонной.
Глубина вакуума в колоннах при прочих
идентичных условиях зависит в значительной степени от температуры хладоагента,
подаваемого в выносные конденсаторы-холодильники. При вакуумной перегонке с
водяным паром остаточное давление в колонне не может быть меньше давления насыщенных паров воды при
температуре их конденсации:
Температура воды, ° С 10 15
20 25 30 40 50
Давление насыщенных
паров
воды, гПа 1,25 17,1 23,4 32,2 42,5 74
124
Поэтому обычно летом вакуум падает, а
зимой повышается. Практически давление вверху колонны больше вышеуказанных цифр
на величину гидравлического сопротивления потоков паров в трубопроводах и
выносных конденсаторах-холодильниках.
В последние годы на вакуумных
колоннах ряда НПЗ (Московском. Мозырском. Мажейкяйском, Комсомольском. «Уфанефтехиме» и др.)
внедрена и успешно эксплуатируется новая высокоэффективная экологически чистая
КВС с использованием жидкостного струйного устройства - вакуумного
гидроциркуляционного (ВГЦ) агрегата. В ВГЦ агрегате конденсация паров и
охлаждение газов осуществляется не водой, а охлаждающей рабочей жидкостью (применительно
к АВТ - газойлевой фракцией, отводимой из вакуумной колонны). По сравнению с
традиционным способом создания вакуума с использованием паровых эжекторов КВС
на базе ВГЦ агрегатов обладает следующими преимуществами:
- не требует для своей работы расхода
воды и пара;
- экологически безопасно, работает с
низким уровнем шума, не образует загрязненных сточных вод;
- создает более глубокий вакуум (до 67
Па или 0,5 мм рт. ст.);
- полностью исключает потери нефтепродуктов и газов,
отходящих с верха вакуумной колонны;
- значительно уменьшает потребление
энергии и эксплуатационные затраты на тонну сырья;
- позволяет дожимать газы разложения до
давления, необходимого для подачи их до установок сероочистки.
Принципиальная
технологическая схема КВС для перспективных установок АВТ с использованием ВГУ
агрегатов приведена на рисунке 10.
Процессы газофракционирования
предназначены для получения из нефтезаводских газов индивидуальных
низкомолекулярных углеводородов С1-С6 (как предельных,
так и непредельных, нормального или изостроения) или их фракций высокой
чистоты, являющихся компонентами
высокооктановых автобензинов, ценным нефтехимическим сырьем, а также сырьем
для процессов алкилирования и производств метилтретбутилового эфира и т.д.
Источником
углеводородных газов на НПЗ являются газы, выделяющиеся из нефти на установках AT, ABT и образующиеся в термодеструктивных или
каталитических процессах переработки нефтяного сырья, а также газы стабилизации
нестабильных бензинов (таблица 1).
В зависимости от химического состава различают предельные и непредельные
газы. Предельные углеводородные газы получаются на установках перегонки нефти и
гидрокаталитической переработки (каталитического риформинга, гидроочистки,
гидрокрекинга) нефтяного сырья. В состав непредельных газов, получающихся при
термодеструктивной и термокаталитической переработке нефтяного сырья (в
процессах каталитического крекинга, пиролиза, коксования и др.), входят низкомолекулярные
моно-, иногда диолефины как нормального, так и изостроения.
Как правило, предельные и непредельные углеводородные газы на НПЗ
перерабатываются раздельно вследствие их различного назначения.
При фракционировании предельных газов
получают следующие узкие углеводородные фракции:
- метан-этановую (сухой газ), иногда
этановую, которую используют как сырье пиролиза или в качестве хладоагента на
установках глубокой депарафинизации масел и т.д.;
-
пропановую,
используемую как сырье пиролиза, бытовой сжиженный газ и хладоагент для
производственных установок;
-
-изобутановую,
являющуюся сырьем установок алкилирования, производств синтетического каучука;
-
бутановую для
получения бутадиена или используемую как бытовой сжиженный газ и как компонент
автобензинов для регулирования их пусковых свойств;
-
изопентановую,
которая служит сырьем для производства изопренового каучука и высокооктановым
компонентом автобензинов;
-
пентановую
фракцию - сырье для процессов пиролиза, изомеризации и т.д. Иногда смесь пентанов
и более тяжелых углеводородов не разделяют на фракции, а используют как газовый
бензин.
Таблица
1 - Состав газов различных процессов переработки ромашкинской нефти, % масс.
|
Компонент
|
Газы процессов
переработки
|
Сжиженные газы
стабилизации
|
|
АВТ
|
КР
|
ГО диз-топлива
|
ЗК
|
пиролиз
|
КК
|
АВТ
|
КР
|
КК
|
ЗК
|
|
Водород
Метан
Этилен
Этан
Пропилен
Пропан
Изобутилен
Н-Бутилен
Изобутан
Н-Бутан
Амилены
Изопентан
Н-Пентан
Гексаны и
Выше
Примеси
|
-
2,65
-
13,32
-
41,29
-
8,02
24,50
-
5,05
3,27
1,90
-
|
5,50
12,50
-
24,50
-
32,00
-
11,00
14,50
-
-
-
-
-
|
-
34,0
-
24,5
-
20,5
-
-
21,0
-
-
-
-
-
|
0,4
32,5
4,5
21,5
4,0
15,0
2,2
4,4
7,0
8,5
-
-
-
-
-
|
16,0
34,4
29,3
5,0
10,5
0,2
1,3
1,2
-
0,5
-
-
-
-
1,50
|
2,50
11,0
6,0
8,0
12,5
6,0
14,0
14,0
4,0
-
-
-
-
-
|
-
-
-
0,80
-
21,70
-
-
14,80
48,20
-
8,10
3,50
2,90
-
|
-
-
-
1,60
-
46,9
-
-
26,2
21,1
-
2,2
2,0
-
-
|
-
-
0,12
0,84
23,00
7,89
19,81
18,81
17,47
4,14
3,07
4,43
0,90
0,06
0,09
|
-
-
3,5
5,0
7,5
6,6
2,15
6,60
12,90
15,50
13,25
2,10
11,50
13,00
0,75
|
На
ГФУ непредельных газов из олефинсодержащих потоков выделяются следующие
фракции:
-
пропан-пропиленовая
- сырье процессов полимеризации и алкилирования, нефтехимических производств;
-
бутан-бутиленовая
- сырье установок алкилирования для производств метилэтилкетона, полиизобутилена,
синтетического каучука и др.;
-
этан-этиленовая и
пентан - амиленовая фракции, используемые как нефтехимическое сырье.
Получаемые
на ГФУ фракции углеводородных газов должны по качеству соответствовать
техническим условиям на эти нефтепродукты.
До
фракционирования углеводородные газы направляются вначале в блоки очистки от
сероводорода и осушки.
На
нефте- и газоперерабатывающих заводах наибольшее распространение получили
следующие физические процессы разделения углеводородных газов на индивидуальные
или узкие технические фракции: конденсация, компрессия, ректификация и
абсорбция. На ГФУ эти процессы комбинируются в различных сочетаниях.
Компрессия
и конденсация — процессы сжатия газа компрессорами и охлаждения его в
холодильниках с образованием двухфазной системы газа и жидкости. С повышением
давления и понижением температуры выход жидкой фазы возрастает, причем
сконденсировавшиеся углеводороды облегчают переход легких компонентов в жидкое
состояние, растворяя их. Обычно применяют многоступенчатые (2, 3 и более)
системы компрессии и охлаждения, используя в качестве хладоагентов воду,
воздух, испаряющиеся аммиак, пропан или этан. Разделение сжатых и охлажденных
газов осуществляют в газосепараторах, откуда конденсат и газ направляют на
дальнейшее фракционирование методами ректификации или абсорбции.
Абсорбция
- процесс разделения газовых смесей, основанный на избирательном поглощении
отдельных компонентов сырья жидким поглотителем - абсорбентом. Растворимость
углеводородов в абсорбенте возрастает с повышением давления, ростом
молекулярной массы и понижением температуры процесса ниже критической
температуры абсорбируемого газа.
Абсорбция - обратимый процесс, и на
этом основано выделение поглощенного газа из жидкости - десорбция. Сочетание
абсорбции с десорбцией позволяет многократно применять поглотитель и выделять
из него поглощенный компонент. Для десорбции благоприятны условия, противоположные тем, при
которых проводят абсорбцию, то есть повышенная температура и низкое давление.
Наилучшим абсорбентом для углеводородных газов являются близкие им по строению
и молекулярной массе жидкие углеводороды, например, бензиновая или керосиновая
фракции.
Ректификация является завершающей
стадией разделения углеводородных газов. Особенность ректификации сжиженных
газов, по сравнению с ректификацией нефтяных фракций, - необходимость
разделения очень близких по температуре кипения компонентов или фракций сырья
при высокой четкости фракционирования. Так, разница между температурами кипения
этана и этилена составляет 15°С. Наиболее трудно разделить бутан-бутиленовую
фракцию: температура кипения изобутана при нормальном давлении составляет 11,7
°С, изобутилена - 6,9, бутена - 1 - 6,29, а н-бутана - 0,5 °С.

Ректификацию
сжиженных газов приходится проводить при повышенных давлениях в колоннах,
поскольку для создания жидкостного орошения необходимо сконденсировать верхние
продукты колонн в обычных воздушных и водяных холодильниках, не прибегая к
искусственному холоду.
Конкретный выбор схемы
(последовательности) разделения, температуры, давления и числа тарелок в
колоннах определяется составом исходной газовой смеси, требуемой чистотой и
заданным ассортиментом получаемых продуктов.
На НПЗ для разделения нефтезаводских
газов применяются преимущественно 2 типа газофракционирующих установок, в
каждый из которых входят блоки компрессии и конденсации: ректификационный -
сокращенно ГФУ, и абсорбционно-ректификационный АГФУ. На рис.11 и 12 приведены
принципиальные схемы ГФУ для разделения предельных газов и АГФУ для
фракционирования жирного газа и стабилизации бензина каталитического крекинга
(на схемах не показаны блоки сероочистки, осушки, компрессии и конденсации). В
блоке ректификации ГФУ (рис.11) из углеводородного газового сырья сначала в
деэтанизаторе 1 извлекают сухой газ, состоящий из метана и этана. На верху
колонны 1 поддерживают низкую температуру подачей орошения, охлаждаемого в
аммиачном конденсаторе-холодильнике. Кубовый остаток деэтанизатора поступает в
пропановую колонну 2, где разделяется на пропановую фракцию, выводимую с верха
этой колонны, и смесь углеводородов С4 и выше, направляемую в бутановую колонну 3.
Ректификатом этой колонны является смесь бутанов, которая в изобутановой
колонне 4 разделяется на изобутановую и бутановую фракции. Кубовый продукт
колонны 3 подается далее в пентановую колонну 5, где в виде верхнего
ректификата выводится смесь пентанов, которая в изопентановой колонне 5
разделяется на н-пентан и изопентан. Нижний продукт колонны 5 - фракция С6
и выше - выводится с установки.
Для
деэтанизации газов каталитического крекинга на установках АГФУ (рис.12)
используется фракционирующий абсорбер 1. Он представляет собой комбинированную
колонну абсорбер-десорбер. В верхней части фракционирующего абсорбера
происходит абсорбция, то есть поглощение из газов целевых компонентов (С3
и выше), а в нижней - частичная регенерация абсорбента за счет подводимого
тепла. В качестве основного абсорбента на АГФУ используется нестабильный бензин
каталитического крекинга. Для доабсорбции унесенных сухим газом бензиновых
фракций в верхнюю часть фракционирующего абсорбера подается стабилизированный
(в колонне 4) бензин. Абсорбер оборудован системой циркуляционных орошений для
съема тепла абсорбции (на рис.12 не показана). Тепло в низ абсорбера подается с
помощью «горячей струи». С верха фракционирующего абсорбера 1 выводится сухой
газ (С1-С2), а с низа вместе с тощим абсорбентом
выводятся углеводороды С3 и выше. Деэтанизированный бензин,
насыщенный углеводородами С3 и выше, после подогрева в теплообменнике
подается в стабилизационную колонну 2, нижним продуктом которого является
стабильный бензин, а верхним - головка стабилизации. Из нее (иногда после
сероочистки) в пропановой колонне 3 выделяют пропан-пропиленовую фракцию.
Кубовый продукт пропановой колонны разделяется в бутановой колонне 4 на
бутан-бутиленовую фракцию и остаток (С5 и выше), который
объединяется со стабильным бензином.
|
Рис. 12. Принципиальная схема
абсорбционно-газофракционирующей установки (АГФУ): I - фракционирующий абсорбер; 2 -
стабилизационная колонна; 3 - пропановая колонна; 4 - бутановая колонна; I - очищенный жирный газ; II - нестабильный бензин; III - сухой газ; IV - пропан-пропиленовая фракция; V -бутан-бутиленовая фракция; VI - стабильный бензин
|
|
|
В таблице 2 и 3 приведен
технологический режим ректификационных колонн установок ГФУ и АГФУ.
Известно,
что затраты при ректификации определяются преимущественно флегмовым числом и
числом тарелок в колонне. Для близкокипящих компонентов с малой относительной
летучестью эти параметры особенно велики. Поэтому из общих капитальных и
эксплуатационных затрат на газофракционирование существенная (около половины)
часть приходится на разделение фракций iC4-нC4 и
iC5-hC5. В этой связи на НПЗ часто
ограничиваются фракционированием предельных газов без разделения фракций С4
и выше.
Таблица
2 - Технологический режим колонн ГФУ
|
Ректификационная
колонна[7]
|
Давление, МПа
|
Температура, 0С
|
|
верха
|
низа
|
|
Деэтанизатор (1)
Пропановая (2)
Бутановая (3)
Изобутановая (4)
Пентановая (5)
Изопнтановая (6)
|
2,6-2,8
1,2-1,4
2,0-2,2
1,0-1,2
0,3-0,4
0,35-0,45
|
25-30
62-68
58-65
65-70
75-80
78-85
|
110-115
145-155
110-115
80-85
120-125
95-100
|
Таблица
3 - Технологический режим колонн АГФУ
|
Параметр
|
Ректификационные колонны
|
|
1
|
2
|
3
|
4
|
Давление, Мпа
Температура, 0С:
верха
питания
низа
Число тарелок
Флегмовое число
|
1,35
35
40
130
60
-
|
0,93
78
150
218
60
2
|
1,73
44
86
107
60
3
|
0,59
48
61
106
60
3
|
Технологические установки перегонки нефти
предназначены для разделения нефти на фракции и последующей переработки или
использования их как компоненты товарных нефтепродуктов. Они составляют основу
всех НПЗ. На них вырабатываются практически все компоненты моторных топлив,
смазочных масел, сырье для вторичных процессов и для нефтехимических
производств. От их работы зависят ассортимент и качество получаемых компонентов
и технико-экономические показатели последующих процессов переработки нефтяного
сырья.
1)
Ахметов С.А.
Технология глубокой переработки нефти и газа. Уфа: «ГИЛЕМ», 2002. – 671с.;
2)
Справочник
нефтепереработчика. Под редакцией Ластовкина Г. А., Радченко Е.Д. Л.: Химия,
1986;
3)
Эрих В.Н., Расина
М.Г., Рудин М.Т. Химия и технология нефти и газа. Л.: Химия, 1985.
[1] В зависимости от типа перегоняемой нефти и структуры
выпуска товарных нефтепродуктов на разных НПЗ получают фракции, несколько
отличающиеся по температурным пределам выкипания.
[2] Тип тарелок – клапанная перекрестно-прямоточная
[3] На ЭЛОУ – АВТ ОАО «Орскнефтеоргсинтез»
[4] Тип тарелок: в концентрационной части - клапанная
перекрестно-прямоточная, в отгонной - ситчатая с отбойниками.
[5] Тип
тарелок - клапанные перекрестно-прямоточные.
[6] Разработчики
- профессор Уфимского государственного нефтяного технического университета
К.Ф.Богатых с сотрудниками.
[7] Общее число тарелок – от 390 до 720