Технико-экономическое обоснование производства нового изделия в условиях АО «Атоммашэкспорт»
|
Министерство
образования и науки Российской Федерации
Федеральное государственное
автономное образовательное учреждение высшего образования
«Национальный исследовательский ядерный университет
«МИФИ»
Волгодонский
инженерно-технический институт -
филиал
федерального государственного автономного образовательного учреждения высшего
образования «Национальный исследовательский ядерный университет «МИФИ»
(ВИТИ НИЯУ МИФИ)
|
ФАКУЛЬТЕТ Атомной энергетики и
машиностроения
КАФЕДРА Экономики и
социально-гуманитарных дисциплин
НАПРАВЛЕНИЕ
ПОДГОТОВКИ 38.03.02
Менеджмент
ДОПУСТИТЬ К ЗАЩИТЕ
Заведующий кафедрой ЭиСГД
_______________ Руденко В.А.
« 10 » июня 2016г.
ПОЯСНИТЕЛЬНАЯ
ЗАПИСКА
к выпускной
квалификационной работе
НА
ТЕМУ: «Технико-экономическое
обоснование производства нового изделия в условиях АО «Атоммашэкспорт»
АВТОР ВЫПУСКНОЙ
КВАЛИФИКАЦИОННОЙ РАБОТЫ
фамилия, имя,
отчество, группа, подпись
РУКОВОДИТЕЛЬ
ВЫПУСКНОЙ КВАЛИФИКАЦИОННОЙ РАБОТЫ
фамилия, имя,
отчество, ученая степень, ученое звание, должность, подпись
КОНСУЛЬТАНТЫ:
Нормоконтроль,
Довбыш Виктория Евгеньевна , к.э.н., доцент_________
наименование
раздела, фамилия, имя, отчество, ученая степень, ученое звание, должность,
подпись
ФАКУЛЬТЕТ Атомной энергетики и
машиностроения
КАФЕДРА Экономики и
социально-гуманитарных дисциплин
НАПРАВЛЕНИЕ
ПОДГОТОВКИ 38.03.02
Менеджмент
УТВЕРЖДАЮ:
Заведующий кафедрой ЭиСГД
_______________ Руденко В.А.
« 27 » апреля 2016г.
ЗАДАНИЕ
на выпускную квалификационную
работу
студенту Соковых Марине___________________________
Фамилия, имя, отчество
1.Тема выпускной
квалификационной работы
«Технико-экономическое
обоснование производства нового изделия в условиях АО «Атоммашэкспорт»
Тема выпускной
квалификационной работы утверждена
приказом руководителя ВИТИ НИЯУ МИФИ от 20 ноября 2015г. № 134/7 -
лс.
2.
Консультанты выпускной
квалификационной работы:
Нормоконтроль,
Довбыш Виктория Евгеньевна , к.э.н., доцент____________
Содержание
|
Введение……………………………………………………………………………….4
1 Потенциал предприятия и оценка
результативности его использования
1.1 Сущностная характеристика
потенциала предприятия и его структура
1.2 Современные тенденции развития потенциала
предприятия
1.3 Методические подходы оценки
состояния и результативности использования потенциала предприятия
1.4 Методы оценки
конкурентоспособности потенциала предприятия
2 Характеристика предприятия и анализ его
деятельности за 2013-2015
гг…...
3.Технико-экономические расчеты производства нового изделия
привод
3.1 Изучение маркетинговой среды…………………………………………….
3.2 Технико-экономические расчеты производства нового
изделия привод...
|
Введение
Современное экономическое
развитие свидетельствует о необходимости использования новых теоретических
подходов, прикладного инструментария, которые предоставляют возможность
эффективного преодоления сложными социально-экономическими системами
хозяйствования различных уровней неопределенности динамического рыночной среды
и позволяют своевременно адаптироваться к нему.
Для эффективного
функционирования и обеспечения конкурентоспособности предприятий и других
субъектов хозяйствования необходимо качественно развивать
материально-технические, структурно-функциональные, социально-трудовые и другие
элементы потенциала. Это приводит исключительное внимание руководителей
предпринимательских структур к эффективному управлению технологическими и
организационными изменениями, особенно в алгоритмы определения и использования
их потенциальных социально-экономических возможностей.
Однако, к сожалению,
несмотря на понятную всем необходимость эффективного менеджмента, который
должен базироваться на стратегическом мышлении с применением передовых
достижений науки управления, решения, принимаемые руководителями, часто
характеризуются импульсивностью и непредсказуемостью. Это является следствием
как нестабильности правовой и экономической среды, так и недостаточностью
уровня знаний о собственном предприятии. Причем решение, как правило, касаются
какойлибо одной сферы деятельности, а другие, не менее значимые направления,
выходят из-под контроля. Отсюда задачей экономической теории является
предложить руководителю такой инструментарий, который позволит оперативно
оценивать внутренние возможности и слабости подчиненной ему подразделения,
выявлять скрытые резервы и повышать эффективность ее деятельности.
В экономической
литературе понятие «потенциал предприятия» трактуется по-разному. При этом
выделяются различные сроки:
- Производственный
потенциал;
- Производственно-экономический;
- Экономический;
- Рыночный;
- Маркетинговый;
- Конкурентный.
Необходимо различать
понятия производственно-экономического и рыночного потенциала предприятия.
Рыночный потенциал
представляет собой максимально возможный объем реализации при данном уровне
обеспеченности ресурсами и является мерой использования
производственно-экономического потенциала. Производственно-экономический
потенциал характеризуется размерами имеющихся у предприятия основных фондов и
персонала. Однако в современных условиях в качестве его важнейших составляющих
необходимо рассматривать также применяемые технологии и управленческие ресурсы.
Актуальность исследований
дипломной работы заключается в:
- рассмотрение
структурных теоретических и методологических аспектов эффективности и
конкурентоспособности;
- анализ хозяйственной
деятельности и разработка конкретных мероприятий для практического применения
на предприятии АО «Атоммашэкспорт»
Целью дипломной работы
является исследование анализа хозяйственной деятельности предприятия и разработка
мероприятий для усовершенствования деятельности.
Предметом исследования
является текущего состояния деятельности предприятия и пути повышения
эффективности его использования.
Объект исследования – АО
«Атоммашэкспорт».
Задачи дипломной работы:
- исследовать
сущностную характеристику потенциала предприятия и современные тенденции его
развития;
- обобщить
методические подходы к оценке состояния и результативности использования
потенциала предприятия;
- обосновать
основные направления и факторы развития потенциала предприятия и повышения
эффективности его использования;
- привести общую
характеристику предприятия и эффективности его хозяйственной деятельности;
- дать аналитическую
оценку состояния и уровня использования потенциала предприятия и его
составляющих;
- выявить проблемные
вопросы по использованию потенциальных возможностей предприятия по повышению
эффективности его деятельности, а также факторы и резервы конкурентоспособного
развития;
- обосновать
основные мероприятия по стратегии развития предприятия и более эффективного
использования его потенциальных возможностей;
- провести
техникоэкономическое обоснование наиболее перспективных направлений
стратегического развития использования выявленных возможностей по повышению эффективного
хозяйствования, а также определить их влияние на результаты деятельности
предприятия.
Методологическое
обеспечение: современные теории рыночной экономики, системный подход,
публикации отечественных ученых по вопросам структуры и оценки потенциала
предприятия, «вертикально-горизонтальный» анализ динамики структур балансовых
агрегатов и статей отчетов о прибылях и убытках, ретроспективный анализ
коэффициентных показателей деловой активности и рентабельности, аналитическая
обработка и группировки показателей в динамике.
1. Потенциал предприятия и
оценка результативности его использования
1.1 Сущностная
характеристика потенциала предприятия и его структура
В дискуссиях о сущности
потенциала предприятия отмечается, что «... необходимо различать понятия
производственно-экономического и рыночного потенциала предприятия. Последний
представляет собой возможный объем реализации при данном уровне обеспеченности
ресурсами и является степенью использования первого»[69]. Величина
производственно-экономического потенциала предприятия обусловливает его
конкурентоспособность на целевом рынке, которая характеризует способность
(сегодняшнюю и перспективную) проектировать, производить и реализовывать
товары, по своему качеству более привлекательны для потребителей, чем продукция
конкурентов. Чем больше эта величина, тем у данного субъекта хозяйствования
более устойчивые позиции на рынке. Увеличить объем потенциала, а,
следовательно, и повысить конкурентоспособность возможно с помощью инвестиций в
человеческий капитал, технико-технологическую базу производства и
совершенствования управления.
Производственный
потенциал предприятия (ППП) - это отношения, которые возникают на микроуровне
между работниками предприятия по поводу получения максимально возможного
производственного результата, которого можно достичь при наиболее эффективном
использовании производственных ресурсов, при имеющемся уровне техники и
технологии, передовых формах организации производства, независимо от состояния
внешней среды [63]. К производственным ресурсам, характеризующие ППП, относят
основные фонды, оборотные средства и трудовые ресурсы предприятия. Иными
словами, производственный потенциал предприятия - это потенциальный объем
производства продукции, потенциальные возможности использования сырья и
материалов, потенциальные возможности профессиональных кадров.
Под рыночным потенциалом
предприятия Е.В.Попов понимает «возможность управления его ресурсами на
определенных этапах развития с целью эффективного взаимодействия с рынком»
[58]. Каждое предприятие обладает рыночным потенциалом, но не все используют
его на 100%.
Этот автор выделяет такие
составляющие рыночного потенциала как элемента стратегического планирования -
блок ресурсов, блок системы управления и стратегического планирования предприятия
и блок маркетинга.
Эти три блока охватывают
все основные стратегические компоненты предприятия, позволяющие достигать
намеченных целей.
В управленческом блоке
формируется миссия, вырабатывается стратегия развития, определяются цели.
Реализация поставленных целей осуществляется за счет имеющихся на предприятии
ресурсов (трудовых, информационных, финансовых, материальных). Маркетинговый
элемент, дополняющий структуру рыночного потенциала предприятия, отражает
деятельность персонала: аналитическую, производственную, коммуникационную.
Таким образом, понятием «рыночный потенциал предприятия» объединяются не только
ресурсы, которые взаимодействуют с системой управления на различных этапах, но
и методы, применение которых позволяет наиболее эффективно реализовывать
имеющиеся рыночные возможности.
Маркетинговый потенциал
предприятия трактуется учеными как "степень готовности, способности,
возможности маркетинговой службы предприятия своевременно и качественно
выполнять маркетинговые функции, главная задача - повышение
конкурентоспособности предприятия в условиях меняющейся внешней среды"
[51].
Выделяют также
конкурентный потенциал организации, под которым понимается ее потенциальная
возможность сохранять или увеличивать конкурентоспособность в краткосрочном
периоде [60]. Иначе говоря, этот показатель определяется совокупностью
параметров, которые определяют возможность (потенциал) и способность
организации эффективно функционировать на рынке (удерживать или увеличивать
свою рыночную долю, иметь достаточно высокий уровень рентабельности) в
перспективе.
Сосненко Л.С. оперирует
термином экономического потенциала и трактует его как "способность
предприятия обеспечивать свое долгосрочное функционирование и достижение
стратегических целей на основе использования системы имеющихся ресурсов"
[63]. Им разработана многоуровневая структурная модель формирования
экономического потенциала предприятия на основе поэтапно-структурного подхода.
Поэтапно структурный
подход к формированию величины экономического потенциала предприятия
предусматривает выделение промежуточных уровней потенциальных возможностей
предприятия. Нижним уровнем является производственный потенциал, представляет
собой способность производственной системы производить материальные блага,
используя ресурсы. Связующим звеном является хозяйственный потенциал, то есть
совокупная способность производственного потенциала предприятия и уровня его
деловой активности в условиях существующего маркетинговой среды удовлетворять
потребности рынка в определенном объеме материальных благ и услуг.
Маркетинговая
составляющая является инструментом реализации производственного потенциала,
который позволяет ему трансформироваться в экономический.
При этом воспользовались
следующим группам показателей:
1) показатели
эффективности производственной деятельности (чистый доход от реализации
продукции; издержки производства и сбыта; себестоимость продукции;
среднегодовая стоимость основных производственных фондов; среднесписочная
численность работников; валовая прибыль; относительный показатель затрат на 1
руб. продукции; относительный показатель производительности труда;
относительный показатель фондоотдачи; относительный показатель рентабельности
товара);
2) показатели,
характеризующие финансовое состояние предприятия (коэффициент автономии, коэффициент
платежеспособности, коэффициент абсолютной ликвидности, коэффициент
оборачиваемости оборотных средств);
3) показатели
эффективности организации сбыта и продвижения товара (рентабельность продаж,
коэффициент затоваренности готовой продукцией, коэффициент загрузки
производственных мощностей, коэффициент эффективности рекламы и средств
стимулирования сбыта);
4) показатель
конкурентоспособности товара.
Анализ вышеизложенных
точек зрения позволяет нам определить ресурсно-производственный потенциал как
совокупность взаимосвязанных составляющих: ресурсно-сырьевого и
производственного потенциала, направленных на достижение эффективного
функционирования производственно-хозяйственной структуры. Количественные и
качественные параметры этих потенциалов, а также их интеграция определяют
производственную способность хозяйственной единицы. Однако
ресурсно-производственный потенциал, определяя возможность выпуска материальных
благ и услуг, не может служить мерой полезного эффекта.
Ресурсно-производственный
потенциал может служить характеристикой как самых крупных систем (народного
хозяйства, отрасли), так и малых, локальных (объединения, предприятия). Но при
этом РВП любой из задекларированных подсистем не функционирует изолированно,
замкнуто. Наблюдается процесс взаимопроникновения потенциалов «обмен» их
отдельными составными частями, что приводит к увеличению
ресурсно-производственного потенциала каждой подсистемы. Одним из таких
потенциалов экономический потенциал, который характеризуется еще и количеством
трудовых ресурсов и качеством их подготовки, величиной производственных
мощностей, наличием транспортных средств, производственной способностью
хозяйства и уровнем продуктивности сельскохозяйственных угодий, развитием
отраслей непроизводственной сферы, достижениями науки и техники, ресурсами
разведанных полезных ископаемых, состоянию здоровья населения. Экономический
потенциал, таким образом, обобщающим показателем, характеризующим накопленные
воспроизведены ресурсы.
Величина
производственно-экономического потенциала предприятия определяет его
конкурентоспособность на целевом рынке, характеризующий способность
(сегодняшнюю и перспективную) проектировать, изготавливать и сбывать товары, по
своим ценовым и других качествах в комплексе более привлекательны для потребителей,
чем продукция конкурентов. Очевидно, чем больше эта величина, тем в данной
единицы, субъекта, благоприятные предпосылки для успешной деятельности и более
устойчивые позиции она может занять на соответствующем целевом рынке.
Увеличить объем ее потенциала
и, следовательно, повысить конкурентоспособность можно с помощью инвестиций в
человеческий капитал, технико-технологическую базу производства и
совершенствования управления.
Анализ последних
публикаций], посвященных проблемам оценки потенциала предприятия позволяет
выделить наиболее удачный подход, согласно которому к предметным составляющим
потенциала промышленного предприятия необходимо отнести:
- рыночный
потенциал: потенциальный спрос на продукцию на доле рынка, занятой
предприятием; потенциальный объем спроса на продукцию предприятия на всех
рынках, предприятие и рынок труда, предприятие и рынок факторов производства;
- производственный
потенциал: потенциальный объем производства продукции, потенциальные
возможности основных средств, потенциальные возможности использования сырья и
материалов, потенциальные возможности профессиональных кадров.
Под производственным
потенциалом предприятия (ВПП) следует понимать отношения, возникающие на
предприятии по поводу достижения максимально возможного производственного
результата при наиболее эффективном использовании:
а) интеллектуального
капитала предприятия для поиска передовых форм организации производства;
б) имеющейся техники с
целью получения наиболее высокого уровня технологий;
в) материальных ресурсов
для обеспечения максимальной экономии и оборачиваемости;
финансовый
потенциал потенциальные финансовые показатели производства (прибыльности,
ликвидности, платежеспособности), потенциальные инвестиционные возможности.
Оценка рыночного
потенциала на текущий момент времени уже детально исследована и описана многими
авторами в процессе анализа перехода России к рыночной экономике. Однако
проблема эффективной оценки финансового и, особенно, производственного
потенциала промышленного предприятия остается открытой.
1.2
Современные тенденции развития потенциала предприятия
Нестабильность
общественного развития и глубинные трансформации экономической системы нашего
государства вызвали перестройку всего хозяйственного механизма предприятий,
проявляется в изменении пропорций между элементами, формировании новых и
разрушении старых производственных связей, переоценке традиционных ориентиров
развития.
Сегодня в
периодических изданиях и научных трудах доминируют две точки зрения на оценку
современного этапа общественного развития: индустриальный и социальный.
Сторонники первого берут за ключевой фактор развития технико-технологическую
базу производства, а второй - социально-трудовой фактор.
Анализируя
мировые тенденции развития, следует указать на основу формирования потенциала
современных предприятий - персонал. Развитие концепции управления персоналом
превращается в важнейшую тенденцию, которая находится в тесном взаимосвязи и
взаимозависимости с другими основными направлениями общей эволюции
экономической мысли: появлением и распространением сотовых организаций,
формированием «плоских» иерархий и «прозрачных» систем управления;
реинжинирингом производственно-хозяйственной деятельности; переходом от
традиционных принципов управления к новым (партнерство, гуманизация и т.д.);
расширение внутреннего-офирмових рынков; развитием компьютерного и
телекоммуникационного обеспечения процессов управления и его виртуализации.
Теоретической
основой определения размера и управления трудовым потенциалом предприятия
является концепция «человеческих ресурсов», которая возникла в середине ХХ в. и
доказала необходимость использования экономических критериев для оценки роли
социально-трудовой фактора в производстве. Большинство практических расчетов по
данной концепцией базируются на возможности использования стоимости созданных
рабочим экономических благ, а также дохода, полученного предприятием на этой
основе, в качестве критерия ценности сотрудника. Иначе говоря, все
профессионально-квалификационные характеристики рабочего оцениваются менеджерами
только в случае возможности их реализации в рамках конкретной организации.
Постепенное
проникновение прогрессивных теоретических концепций в практику сказалось
деформированием структуры потенциала предприятий. В настоящее время большинство
предприятий, понимая ценность собственного персонала, пытается при любых
условиях сохранить квалифицированных работников. Большое распространение
получает практика заключения "пожизненных" трудовых соглашений,
которая особенно характерна для японских предприятий. Отметим, что по своей
сути трудовой потенциал предприятий обладает способностью к спонтанному
наращивания, даже при недостатке какой-либо финансовой поддержки.
Другой важной
особенностью потенциала современных предприятий является его информатизация, которая
тесно связана с социально-трудовой составляющей. Связь реализуется через
процессы накопления и обработки коммерческой информации персоналом в процессе
ведения бизнеса. Таким образом ценность персонала предприятия определяется
информационными потоками, которые он генерирует в процессе хозяйствования.
Качество информационных потоков в организации непосредственно влияет на ее
адаптивность, целеустремленность, а следовательно, и на результативность
деятельности. Информация связывает все процессы предпринимательской
деятельности в единую результативную систему. Она регулирует функционирование
производственной подсистемы, способствует росту производительности труда
персонала, эффективности использования основных и оборотных фондов, качественно
развивая всю экономическую систему.
Ускорение темпов
научно-технического прогресса приводит к росту доли основных фондов в
элементной структуре потенциала современных предприятий, хотя на отечественных
предприятиях эту тенденцию обусловлено сокращением всех других элементов.
Анализируя опыт хозяйствования современных предприятий, отметим существенные
недостатки определения потенциала основных фондов производственной мощность
предприятия:
1. Практике
определения потенциала основных фондов на основании производственной мощности
ведущего структурного подразделения или производственного участка надо признать
ошибочным. Устранение с поля анализа всего спектра технологических и
коммерческих операций по изготовлению и презентування продукции на рынке
позволяет определить только техническую производительность того или иного
подразделения. Такой подход исключает экономически объективное формирование
стоимости любого структурного подразделения (центра хозяйствования).
2. Выделение
ведущего структурного подразделения (производственного участка) для расчета
потенциала основных фондов значительно деформирует результаты, поскольку
учитываются производственные возможности только одного вида оборудования, в
основном составляет незначительную долю общей стоимости имущества.
3. Динамичность
развития предприятий вызывает необходимость учета структурных изменений
элементов потенциала основных фондов и пропорций между ними. Важность учета
совершенствования технологии, улучшения организации производства, повышения
квалификации работников и т.д. обусловлено колоссальными альтернативными
потерями современных предприятий.
Отметим, что
согласно проведенным расчетам, элементная структура потенциала современных
предприятий формируется примерно на 60% за счет основных фондов, на 25% персонала,
15% информации, фондов обращения и оборотных фондов. Эти цифры являются
средними значениями в целом и, конечно, различаются в зависимости от специфика
предпринимательской деятельности, однако их расчет базируется на статистических
данных, что позволяет делать выводы о асимметричность информации из-за
значительной «тенизации» экономических отношений. Но даже такие данные
невозможным констатации ресурсной природы потенциала современных предприятий,
который формируется на экстенсивной основе. Следует указать на то, что,
учитывая темпы научно-технического прогресса и роста нестабильности рыночных
отношений в мировой практике наблюдается увеличение доли наукоемких элементов.
1.3 Методические подходы оценки
состояния и результативности использования потенциала предприятия
Оценка потенциала - это
результат определения и анализа его качественных и количественных характеристик
предприятия, которым управляют (управляющие), а также самого процесса
управления им. Оценка дает возможность установить, как работает предприятие,
или достигаются поставленные цели, как изменения и усовершенствования в
процессе управления влияют на полноту использования потенциала предприятия, его
эффективность.
В научных трудах по
проблемам формирования и реализации потенциала предприятий обычно недостаточно
разработаны вопросы измерения его величины и уровня эффективности
использования. Множество самых разнообразных мнений высказывается относительно
подходов к оценке потенциала предприятия, особенно в отношении
основополагающего принципа оценки: с помощью общего (глобального) показателя
или системы показателей?
Некоторые экономисты
считают, что существует единственный синтетический (интегральный) показатель. В
целом разделяя это мнение, многие ученые предполагают, что наличие частных показателей
не противоречит существованию общего. При этом, на их взгляд, обязательным
условием должно быть сведения частных показателей к общему. Но существуют и
другие взгляды, указывающие на недостатки интегральных показателей и их
неэффективность за практического использования, главной причиной чего является
сложность их расчета и недостаточная теоретическая обоснованность сравнения
разнородных величин. Кроме того сконструирован на любых принципах общий
синтетический показатель оценки эффективности деятельности хозяйственной
системы и ее элементов не может охватить или, точнее, учесть все условия
протекания процесса производства, уровень его организации. Независимо от воли и
желания исследователя сведения применяемых показателей в синтетические,
интегральные и другие за использование качественно разнородных или
разнонаправленных показателей может привести (или приводит) к противоречивости
или несовместимости отдельных элементов такого показателя.
Для оценки потенциала
предприятия необходимо всеобъемлющая система показателей, причем в основу
конструирования такой системы должна быть возложена структурная модель,
учитывающая не только фактическую динамику, но и теоретические предпосылки.
Поэтому структурная модель системы показателей концептуально должна учитывать
такие требования к ее формирования:
- Общетеоретическая интерпретация,
взаимосвязь и целенаправленности как отдельных показателей, их групп, так и
всей системы в целом;
- Обеспечение сопоставимости, единой
направленности показателей групп, всей системы;
- Возможность регулировки значений
величин показателей, в зависимости от уровня использования ресурсов,
расходуемых и эффективности результата;
- Возможность получения прогноза о
направленность динамики показателей.
Следует отметить, что
совокупность оценочных принципов, показателей, критериев и методов составляет
методологию оценки. В общем виде методологию оценки можно представить как
последовательность таких действий: формирование категории, разработка
показателей, установленные критерия сравнения, выбор способа оценки, получения
результата оценки.
Таким образом оценку
величины потенциала предприятия можно определить как сумму фактических значений
его составляющих. Но при этом возникает вопрос: в каких единицах измерять эти
составляющие? Большинство исследователей считает, что универсальным измерителем
элементов потенциала предприятия стоимостные единицы. В таком случае сумма
стоимости элементов характеризовать размер всего потенциала предприятия. Но и
этот метод не такой универсальный, как кажется на первый взгляд, прежде всего
изза трудностей, связанных с стоимостной оценке трудовых ресурсов.
Исходя из выше указанного
можно говорить, что оценка стоимости потенциала предприятия - это
упорядоченный, целенаправленный процесс определения в денежном выражении
стоимости объекта с учетом потенциального и реального дохода, который имеет
место в определенный промежуток времени в условиях конкретного рынка.
Принимая во внимание
научные работы по проблемам определения потенциала отдельных предприятий или
социально-экономических систем разных уровней их все можно разделить на четыре
общие группы (в зависимости от их базавого критерия) - ресурсные (расходные),
относительные (сравнительные), целевые (результатные) и субьектнооб
"ективизовани (экспертные).
Как указано выше,
объективным и адекватным критерием оценки потенциала предприятий является их
рыночная стоимость. Таким образом, базисом для оценочной методологии следует
считать совокупность принципов, основанных на международных стандартах оценки.
Любую стоимость можно
рассматривать с позиций бывших, современных и будущих результатов с учетом
того, что расширенное воспроизводство возможно только тогда, когда в денежном
эквиваленте полученные результаты покрывают понесенные для их достижения
расходы.
Из всего разнообразия
методов определения стоимости потенциала выделяют три традиционные подходы:
затратный, сравнительный и исходный (доходный).
Каждый из этих трех
подходов имеет много различных методов оценки, как:
1. затратный - метод
сравнительной единицы, метод разделения по компонентам, метод количественной
диагностики, метод учета затрат на инфраструктуру, метод замещения, метод
индексации данных проектно-сметной документации;
2. сравнительный - метод
парных продаж, метод статистических корректировок, экспертные методы сравнения,
метод мультипликаторов сравнения;
3. исходный - метод
капитализации дохода, метод дисконтирования денежных потоков, метод остаточного
дохода.
Кратко экономическую суть
трех указанных подходов к оценке имущества предприятия, учитывая необходимость
учета возможностей его эффективного использования, можно объяснить так:
1. затратный
(имущественный) - определяет стоимость объекта по сумме затрат на его создание
и использование;
2. сравнительный
(рыночный) - определяет стоимость на базе сопоставления с аналогами, которые
уже были объектами рыночных сделок;
3. исходный (доходный) -
оценивает стоимость объекта на принципе величины чистого потока положительных
результатов от его использования.
Каждый из этих подходов
имеет свои преимущества и недостатки. Рассмотрим их.
Использование затратного
подхода позволяет
- Оценивать объекты
общегосударственного или уникального характера, или в условиях малоактивного и
неразвитого рынка капитала, недвижимости, земли и т.д.;
- Анализировать варианты
наилучшего использования земельного участка, технико-экономических возможностей
нового строительства и разного рода улучшений;
- Окончательно
сбалансировать величины рыночной стоимости предприятия с его возможностями по
каждому из структурных элементов.
К недостаткам можно
отнести:
- Использование «бывшей»
хозяйственной информации требует приведения к одному временному периоду;
- Игнорирование
перспектив развития предприятия и рыночной среды;
- Из круга исследований
полностью выпадают индивидуальные возможности эффективного использования
объекта.
Сравнительный подход
имеет следующие преимущества:
- Ориентируется на
текущие фактические цены и рыночные условия деятельности, что позволяет
избежать расхождения между расчетной величиной стоимости и ее рыночным
эквивалентом;
- Достоверная фактическая
информация повышает точность аналитических расчетов и отражения специфики
объекта оценки, учтя фактически достигнутые финансово-экономические результаты;
- Позволяет учесть не
только внутренние особенности объекта, но и рыночную ситуацию в целом.
Однако и недостатков у
этого подхода тоже много:
- Нуждается в
существовании развитого, цивилизованного и прозрачного рынка объектов оценки;
- Невозможность оценки
уникальных или специфических объектов за отсутствия аналогов для сравнения;
- Игнорирование
перспектив развития предприятий в будущем
- Значительные затраты
времени и ресурсов для сбора и обработки большого массива информации как об
объекте оценки, так и его аналогов;
- Необходимость
использования сложных расчетных процедур для установления адекватных поправок
против аналога, что не всегда возможно.
К преимуществам исходного
подхода можно отнести:
- Учет перспектив
деятельности и развития предприятия как целостного земельно-имущественного и
социально-организационного комплекса, исходя из прежнего опыта достигнутых
результатов и сложившихся рыночных условий;
- Возможность учета
специфики рыночных условий для определенного объекта с помощью правильного
определения уровня дисконта или коэффициента капитализации.
Недостатками же этого
подхода являются:
- Невозможность
достижения абсолютно точных результатов из-за длительности периода оценки и
нестабильность реальных процессов притока и оттока капитала;
- В аналитических
расчетах используется прогнозная (вероятностная), а не фактическая
хозяйственная информация;
- Аналитические процедуры
формирования ставок дисконтирования и капитализации имеют слишком субъективный
характер.
Во время анализа и
определения рыночной стоимости необходимо уделять внимание большом количестве
разнообразных факторов, которые ее фактически и формируют. Все их условно можно
разделить на три уровня:
1. общие факторы,
непосредственно не связанные с объектом оценки (экономические, социальные,
политические, природные)
2. локальные факторы,
которые непосредственно связаны с отдельным классом объектов оценки
(местонахождение, условия продажи, физические и финансово-экономические
факторы)
3. индивидуальные
факторы, которые непосредственно обусловлены конкретным объектом оценки
(материально-технические, рыночно-ситуационные, социально-трудовые,
структурно-функциональные).
Рассмотрим несколько
подробнее каждый из трех подходов.
Затратный подход
базируется на постулате, что потенциальный владелец пользователь не согласится
потратить на формирование и реализацию собственных внутренних или внешних
возможностей больше, чем стоимость ожидаемого финансово-имущественного
результата. Таким образом, методы этого подхода предусматривают ресурсную
оценку всех составляющих целостного земельно-имущественного и
социально-организационного комплекса предприятия, на основании учета всех
затрат, необходимых для его воспроизведения (замещения) на конкретную дату в
рабочем состоянии.
Наиболее специфическим
элементом затратных методов оценки потенциала разновидности смет, которые
составляются с целью определения полных затрат на тот или иной компонент
земельно-имущественного и социально-организационной системы предприятия. Базой
для составления смет служит проктна документация, установлены нормативы
расходов, рабочие чертежи, договоры на приобретение или выполнения работ и тому
подобное.
На современном этапе
неразвитости национальных рынков и недоступности информации о них,
нестабильности экономической системы в Украине в целом, недостаточного уровня
подготовки аналитиков, затратный подход является наиболее распространенным (а
иногда и единственно возможным) в отечественной оценочной практике.
Сравнительный подход
базируется на информации о недавних рыночных сделках с аналогичными объектами и
ее использование как базы определения стоимости объекта оценки. В основу
методов данного подхода положен допущение о том, что субъекты рыночных
отношений заключают соглашения по аналогии с заведенным традициям или прежним
опытом. К сожалению, абсолютных аналогов отдельных элементов потенциала не
существует, поэтому следует использовать различные механизмы корректировки
стоимости аналога.
Совокупность всех
возможных критериев сравнения можно разбить на следующие группы: 1) общие
показатели сферы деятельности предприятия; 2) показатели масштаба деятельности;
3) показатели финансового состояния; 4) показатели качества менеджмента; 5)
показатели рыночной позиции.
За базу сравнения
традиционно принимают такие финансово-экономические показатели: совокупный
капитал предприятия, сумма его чистых активов, выручка от операционной
деятельности (общий валовой доход), денежный поток от функционирования объекта,
чистая прибыль. Средняя сумма выплачиваемых дивидендов и тому подобное.
Исходный подход
базируется на зависимости стоимости объекта оценки от возможностей его
эффективного использования, то есть возможных результатов. Это утверждение
следует из того мнения, что потенциальный владелец пользователь не заплатит за
объект больше, чем он ожидает получить от его хозяйственного использования.
Этот подход пользуется понятиями «прилив» и «утечка» капитала (cash flow -
inflow and outflow). Традиционное понятие «денежного потока» означает сумму
чистых доходов, связанных с деятельностью предприятия, полученных из всех
источников. Традиционно выделяют две модели формирования денежного потока
предприятия - поток для собственного капитала и поток для совокупного капитала.
Особенности определения денежных потоков предприятия - это функция финансового
менеджмента и инвестиционного анализа.
При расчетах стоимости
объекта во времени используется шесть функций денежной единицы (F1 - будущая
стоимость денежной единицы, F2 - накопление денежной единицы за период, F3 -
фактор фондозамищення (коэффициент замещения капитала), F4 - текущая стоимость
денежной единицы, F5 - текущая стоимость единичного аннуитета (фактор текущей
стоимости аннуитета), F6 - коэффициент амортизации денежной единицы), рассчитанных
на основании сложных процентов.
Наиболее типичными
методами исходной технологии расчетов является капитализация доходов и
дисконтирования денежных потоков.
Общая методология метода
дисконтирования предполагает установление стоимости потенциала (или его
элемента) на уровне чистого приведенного потока капитала от его эксплуатации.
Общий расчет производится по традиционной технологии дисконтирования и
сравнение денежных приливов и отливов капитала предприятия по данному объекту.
Специфика оценки отдельных объектов оказывается в особой структуре учетной
ставки, определяется различными методами.
Методы капитализации
базируются на использовании коэффициента, который делает перевод чистых потоков
капитала от использования объекта в его стоимость. В целом такие методы в
основном базируются на трех теоретических принципах - ожидания, замещения и
спроса и предложения. Суть коэффициента капитализации заключается в сочетании
двух экономических процессов - получение дохода на капитал и возмещение
капитала инвесторавласника.
В зависимости от базы
определения нормы (ставки) возмещение капитала разделяют нормы дохода, нормы
денежных потоков, нормы возмещения и нормы доходности. В соответствии с этим
принято различать такие виды коэффициентов капитализации:
1. общий коэффициент
капитализации
2. коэффициент
капитализации собственного капитала
3. коэффициент
капитализации заемного капитала
4. коэффициент
капитализации в зависимости от объекта оценки.
В заключение
целесообразно отметить, что каждый из названных подходов и специальных методов
имеет указанные выше преимущества и недостатки и только на основе комплексного
использования наработанного опыта оценки можно достичь реального определения
стоимости имущества и воплощенного в нем потенциала.
Поэтому прикладная оценка
потенциала предприятия проводится на основе всех подходов и всеми доступными
методами. Конечный выбор величины стоимости объекта производится на основе
определения ее среднеарифметического эквивалента с учетом весомости полученных
результатов или субъективного мнения эксперта. К тому же процесс гармонизации
полученных величин стоимости не сводится к механическому усреднения, это
вероятностный расчет рыночной стоимости, величина которой находится в пределах
от минимальной до максимальной расчетной стоимости объекта. Конечный вывод
делается на основе логических научно обоснованных выводов, которые
предусматривают повторный анализ ценностно-образовательных факторов, проверку
расчетных процедур, и тому подобное.
1.4 Методы оценки
конкурентоспособности потенциала предприятия
Конкурентоспособность
потенциала предприятия - это комплексная характеристика, отражающая уровень
преобладания совокупности показателей оценки возможностей предприятия,
определяющие его успех на определенном рынке за определенный промежуток времени
по совокупности аналогичных показателей предприятий-конкурентов.
Конкурентоспособность
потенциала предприятия - комплексное, многопрофильное понятия, поскольку
предполагает учет взаимодействия сих его составляющих (производство, персонал,
маркетинг, менеджмент, финансы и др.).
Конкурентоспособность
потенциала предприятия имеет несколько особенностей, а именно :
1.
Конкурентоспособность не является имманентным качеством предприятия (т.е. его
внутренней, естественной качеству). Она может быть обнаружена и оценена только
при наличии конкурентов (реальных или потенциальных).
2. Это понятие
является относительным, то есть оно имеет разный уровень отношении различных
конкурентов.
3.
Конкурентоспособность потенциала предприятия определяется производительностью
использования привлеченных к процессу производства ресурсов.
4. Уровень
конкурентоспособности потенциала предприятия зависит от уровня
конкурентоспособности его составляющих (прежде продукции), а также от общей
конкурентоспособности отрасли и страны.
На современном
этапе развития научных исследований конкурентоспособности потенциала
предприятия наметился дуалистический подход к определению ее уровней. В
зависимости от глобализации целей исследования выделяют следующие уровни конкурентоспособности
потенциала предприятия:
1) мировое
лидерство
2) мировой
стандарт
3) национальное
лидерство
4) национальный
стандарт
5) отраслевое
лидерство
6) отраслевой
стандарт
7) пороговый
уровень.
Если предприятие
находится ниже порогового уровня, то его потенциал считается вовсе не
конкурентоспособным.
Согласно второму
взглядом отделяют четыре уровня конкурентоспособности потенциала предприятия.
Предприятия первого уровня рассматривают организацию аппарата управления как
внутренне нейтральный элемент потенциала, а роль руководителя ограничивают
налаживанием выпуска продукции, без учета проблемы конкурентоспособности и
удовлетворения потребностей потребителей. Лишними считают изменение конструкции
или повышение технического уровня продукции, совершенствование структуры и
функций отдела сбыта и службы маркетинга, поскольку не учитываются изменения
рыночной ситуации и потребностей потребителей. Предприятия второго уровня
конкурентоспособности пытаются сделать производственный элемент потенциала «внешне
нейтральным». Это означает, что потенциал предприятия должен полностью
соответствовать стандартам, установленным его основными конкурентами. А если
руководители предприятия понимают его конкурентные преимущества на рынке
несколько иначе, чем их основные соперники, и стараются не ограничиваться теми
общими стандартами производства, действующие в области, то потенциал
предприятия эволюционирует до третьего уровня конкурентоспособности. На таких
предприятиях производственная составляющая потенциала подвергается сильному
влиянию со стороны составляющей управления, способствует ее развитию и
совершенствованию. Когда успех в конкурентной борьбе становится уже не столько
функцией производства, сколько функцией управления и начинает зависеть от
качества, эффективности управления, организации производства, тогда предприятия
достигают четвертого уровня конкурентоспособности своего потенциала оказываются
впереди конкурентов в течение длительного времени.
Сейчас потенциал
большинства отечественных предприятий можно отнести к первому уровню
конкурентоспособности. Однако стоит отметить, что заметны и прогрессивные
сдвиги в деятельности отдельных предприятий, тяготеют к третьему и даже до
четвертого уровня конкурентоспособности потенциала.
2.
Характеристика предприятия и анализ его деятельности за 2013-2015 гг
3.Технико-экономические расчеты производства нового изделия
привод
3.1 Изучение маркетинговой среды
АО «Атоммашэкспорт»
является одним из крупнейших в России производителей электротехнического и
машиностроительного оборудования, а также производства ядерных реакторов и
составных частей к нему.
По своим производственным
показателям он уступает крупнейшему международному производителю ООО «Силовые
машины» и группе компаний «Энергомаш»
Исходные
сведения о рынке сбыта можно представить с помощью таблицы 1.
Таблица
1
Исходные
данные для оценки рынков сбыта
|
Показатели
|
Волгодонск
|
Населенные пункты в радиусе 100 км
|
Рынки, удаленные за 100 км
|
|
|
Размер рынка:
|
10 %
|
районные центры
|
Площадки строящихся атомных станций
|
|
|
|
|
Стадия развития рынка
|
высокий
|
высокий
|
высокий
|
|
продолжение таблицы
1
|
Причины существования
рынка
|
Спрос в результате
строительства атоных станций
|
|
Территориальность
рынка
|
общероссийская
|
|
возможности сбыта
|
В любой форме по договам купли-продажи
|
|
Контроль правительственный
|
отсутствует
|
|
Характер потребления
|
постоянный
|
|
Уязвимость рынка
|
Зависимость от внутри и внешне политической
ситуации
|
Характеристику конкурентной ситуации на рынке представим
таблицей 2.
Таблица 2 - Характеристика конкурентной ситуации на
рынке
|
Название
конкурирующей фирмы
|
Доля рынка, %
|
Предполагаемый объем продаж, млн. руб.
|
Возможности (ресурсы)
|
Упаковка
|
Ценовая
политика
|
Сильные, слабые стороны
|
|
ООО «Силовые машины»
|
20
|
20
|
Финансовые, материальные
|
При необходимости
|
Средних цен
|
Развитая конструкторская база
|
|
ООО Энергомаш
|
15
|
15
|
Финансовые, материальные
|
При необходимости
|
Средних цен
|
большая текучесть кадров
|
|
ООО Энергомаш-капитал
|
15
|
15
|
Финансовые, материальные
|
При необходимости
|
Средних цен
|
Отсутствие системы внутреннего контроля
|
Характеристика
конкурентной ситуации на рынке показывает, наличие у конкурентов ресурсов,
необходимых для производственно-хозяйственной деятельности.
Проведем
тщательный анализ производственного и хозяйственного профиля основных
конкурентов и их рыночной стратегии (таблица 3).
Таблица 3- Анализ производственного и
хозяйственного профиля основных конкурентов
|
Группы показателей
|
Основные конкуренты
|
|
ООО «Силовые машины»
|
ООО Энергомаш
|
ООО Энергомаш-капитал
|
|
1. РЫНОК
1.1. Размеры рынка
|
20
|
15
|
15
|
|
1.2. Особенности внедрения на
рынок
|
Свободное
|
Свободное
|
Свободное
|
|
1.3. Степень вхождения в рынок
|
Свободная
|
Свободная
|
Свободная
|
|
1.4. Рыночный спрос
|
постоянный
|
постоянный
|
постоянный
|
|
|
|
|
|
2. ПРОДУКЦИЯ
2.1. Освоение производства
продукта
|
да
|
да
|
да
|
|
2.2. Жизненный цикл продукции
|
зрелость
|
зрелость
|
зрелость
|
|
2.3. Конкуренция продукции
|
конкурентоспособна
|
конкурентоспособна
|
конкурентоспособна
|
|
2.4. Ассортимент продукции
|
разный
|
разный
|
разный
|
|
2.5. Конструкция и дизайн продукта
|
свой
|
Не требуется
|
свой
|
|
2.6. Новый продукт
|
да
|
да
|
да
|
|
3. ЦЕНЫ
3.1. Новая продукция
|
да
|
да
|
да
|
|
3.2. Выпускаемая продукция
|
да
|
да
|
да
|
|
4. ПРОДВИЖЕНИЕ ТОВАРОВ
4.1. Реклама
|
да
|
да
|
да
|
Продолжение таблицы 3
|
5. ОРГАНИЗАЦИЯ
СБЫТА И РАСПРЕДЕЛЕНИЯ ТОВАРОВ НА РЫНКЕ
5.1. Структура каналов сбыта
|
Через магазин
|
Через магазин
|
Факторов, влияющих на
конкурентоспособность предприятия, представлены в таблице 4.
Таблица
4
Факторы конкурентоспособности предприятия
|
Факторы
|
АО Атоммашэкспорт
|
Конкуренты
|
|
ООО «Силовые машины»
|
ООО Энергомаш
|
ООО Энергомаш-капитал
|
|
Размеры
рынка
|
3
|
5
|
4
|
4
|
|
Время деятельности предприятия, лет
|
20
|
20
|
10
|
10
|
|
Имидж, баллов
|
5
|
5
|
5
|
5
|
|
Уровень технологии
|
современные
|
современные
|
современные
|
современные
|
|
Освоение новых видов работ
|
да
|
да
|
да
|
да
|
|
Применение новых разработок
|
да
|
да
|
да
|
да
|
На основании факторов
конкурентоспособности предприятий построим таблицу для определения количества
баллов (таблица 5).
Таблица 5
Бальная оценка
конкурентоспособности предприятия
|
Показатель
|
Коэф-т весо-мости
|
АО Атоммашэкспорт
|
Конкуренты
|
|
Баллы
|
S
|
ООО «Силовые машины»
|
ООО Энергомаш
|
ООО Энергомаш-капитал
|
|
Баллы
|
S
|
Баллы
|
S
|
Баллы
|
S
|
|
Занимаемая доля рынка
|
0,2
|
2
|
0,4
|
5
|
1
|
4
|
0,8
|
3
|
0,6
|
|
Время деятельности предприятия
|
0,1
|
3
|
0,3
|
5
|
0,5
|
4
|
0,4
|
3
|
0,3
|
|
Имидж
|
0,1
|
5
|
0,5
|
5
|
0,5
|
5
|
0,5
|
3
|
0,3
|
Продолжение таблицы
5
|
Качество обслуживания
|
0,15
|
5
|
0,75
|
5
|
0,75
|
5
|
0,75
|
4
|
0,6
|
|
Уровень персонала
|
0,18
|
5
|
0,9
|
5
|
0,9
|
3
|
0,54
|
4
|
0,72
|
|
Срок исполнения заказа
|
0,15
|
5
|
0,75
|
5
|
0,75
|
4
|
0,6
|
4
|
0,6
|
|
Итого:
|
1
|
26
|
3,6
|
27
|
4,4
|
24
|
3,59
|
23
|
3,12
|
По количеству
баллов наибольшее по факторам конкурентоспособности набирает ООО «Силовые
машины», далее следует ООО «Атоммашэкспорт».
Относительный
показатель преимуществ предприятия определить по формуле:
где Бп
– балльная оценка анализируемого предприятия, баллы;
Бк – балльная оценка наиболее
сильного конкурента, баллы.
Показатель (П – 100) показывает
превышение преимуществ предприятия над конкурентами. Преимущество предприятия
ООО «Атоммашэкспорт» меньше на 18,2 %, это означает, что надо позаботиться об
изучении существующего опыта работы на данном рынке, внимательно присмотреться
к тому, как действуют конкуренты. Построение профиля отобразим на основании
данных таблицы 5 в таблице 6.
Таблица
6
Построение
профиля требований
|
Факторы
|
Бальная
оценка
|
|
1
|
2
|
3
|
4
|
5
|
|
Занимаемая доля рынка
|
|
|

|
|
|
|
Время деятельности предприятия
|
|
|

|
|
|
|
Имидж
|
|
|
|
|

|
|
Качество обслуживания
|
|
|
|

|

|
|
Уровень персонала
|
|
|
|
|

|
|
Срок исполнения заказа
|
|
|
|
|

|

АО «Атоммашэкспорт» ООО
«Силовые машины»
ООО
«Энергомаш» ООО «Энергомаш-капитал»
Факторы позиционирования приведены в
таблице 7. Максимальная оценка по каждому фактору составляет 5 баллов.
Таблица 7 - Факторы позиционирования продукции
|
Наименование
|
Цена
|
Дизайн
|
Качест-во
|
Прес-тиж
|
Широта ассортимен-та
|
Прода-жи
|
Сумма баллов
|
|
ООО Атоммашэкспорт
|
4
|
4
|
5
|
5
|
5
|
2
|
25
|
|
ООО «Силовые машины»
|
5
|
5
|
5
|
5
|
5
|
5
|
30
|
|
ООО Энергомаш
|
4
|
4
|
4
|
4
|
5
|
4
|
25
|
|
ООО Энергомашкапитал
|
4
|
4
|
4
|
3
|
4
|
3
|
22
|
Факторы позиционирования
показывают, что АО «Атоммашэкспорт» по баллам уступает основному конкуренту ООО
«Силовые машины», столько же баллов набирает и второй конкурент ООО
«Энергомаш».
Имидж
организации, представленный в ряде областей, и является тем самым фундаментом,
на котором основывается план по маркетингу.
Таблица 8 предназначается
для того, чтобы дать оценку качества тех видов деятельности компании, которые и
находят отражение в имидже. В третьей графе отмечается, что необходимо сделать
по поводу тех оценок, которые отражены во второй графе.
Таблица 8 - Анализ имиджа
|
Механизм/средство
|
Оценка
(1 –
очень хорошо) (2 – хорошо) (3 – плохо)
|
Комментарии
(оставить без изменений; необходимо изменить)
|
|
Интернет-реклама
|
1
|
Собственный сайт
|
|
Визитные карточки
|
1
|
В наличии
|
|
Прямая рассылка
|
3
|
отсутствует
|
|
Сотрудники
|
1
|
обучение
|
|
Выставки
|
1
|
ежегодно
|
|
Надписи
|
1
|
На рекламе
|
|
Литература
|
2
|
планируется
|
|
Упаковка
|
1
|
своя
|
|
Прямые продажи
|
1
|
серез магазин
|
|
Формирование общественного мнения
|
1
|
Через СМИ
|
|
Связь с общественностью
|
1
|
Через СМИ
|
|
Продвижение товара
|
1
|
постоянно
|
|
Рекламные надписи
|
1
|
В СМИ
|
|
Фасад магазина
|
1
|
новый
|
|
Список телефонов
|
1
|
обновленный
|
|
Транспортные средства
|
1
|
2 единицы
|
|
Молва
|
1
|
Через СМИ
|
Имидж АО «Атоммашэкспорт» не требует изменений.
Оценка обслуживания клиента побуждает по-новому
взглянуть на те виды услуг, которые предлагаются клиентам (таблица 9).
Таблица 9 - Оценка
обслуживания клиента
|
Область
|
Жалобы
|
Баллы
|
Что нужно
предпринять
|
|
Дocтaвкa
|
отсутствуют
|
5
|
В рамках
действующих договоров
|
|
Сроки
|
отсутствуют
|
5
|
|
Pемонт/доделка
|
отсутствуют
|
5
|
|
Пожелания покупателей
|
отсутствуют
|
5
|
Таблица 10 позволяет рассмотреть возможности
внесения изменений в использование различных приемов торговли.
Таблица
10
Оценка
возможных изменений
|
Наименование
|
Адекватность
|
Что нужно
изменить
|
|
Обучение торгового персонала
|
+
|
ежегодно
|
|
Обучение в области товароведения
|
+
|
ежегодно
|
|
Каталог
|
+
|
обновляется
|
|
Технические аннотации
|
+
|
Согласно ГОСТ
|
|
Каталоги представителей
|
+
|
обновляются
|
|
Стиль телефонных разговоров
|
+
|
Предельно вежливый
|
|
Телефонные услуги
|
+
|
отсутствуют
|
|
Принятие заказов по телефону
|
+
|
приветствуется
|
|
Визитные карточки
|
+
|
В наличии
|
|
Проспекты
|
+
|
издаются
|
|
Регистрация клиентов
|
+
|
В базе данных
|
|
Совещания по торговле
|
+
|
проходят
|
|
Образцы
|
+
|
имеются
|
Анализ
таблицы 10 показал, что оценка возможных изменений не требует изменений.
Карта
позиционирования товара по параметрам «дизайн – качество» представлена
рисунком 3.
Для выбранной позиции
организация должна разработать мероприятия по освоению и производству
выбранного продукта.
|
|
дизайн
|
|
|
|
1
|
2
|
3
|
4
|
5
|
 6
|
7
|
8
|
9
|
10
|
10
|
|
|
|
|
|
|
|
|
|
|
10
|
|
9
|
|
|
|
|
|
|
|
|
|
|
9
|
|
8
|
|
|
|
|
|
|
|
|
|
|
8
|
|
7
|
|
|
|
|
|
|
|
|
|
|
7
|
|
6
|
|
|
|
|
|
|
|
|
|
|
6
|
|
5
|
|
|
|
|
|
|
|
|
|
|
5
|
|
4
|
|
|
|
|
|
|
|
|
|
|
4
|
|
3
|
|
|
|
|
|
|
|
|
|
|
3
|
|
2
|
|
|
|
|
|
|
|
|
|
|
2
|
|
1
|
|
|
|
|
|
|
|
|
|
|
1
|
|
|
1
|
2
|
3
|
4
|
5
|
6
|
7
|
8
|
9
|
10
|
|
|
|
|
|
|
|
|
|
|
|
|
|
|
- - АО «Атоммашэкспорт»
- ООО «Силовые машины»
- ООО «Энергомаш»
Рисунок
3. Карта позиционирования товаров по параметра «дизайн – качество»
Для анализа конкурентоспособности проведем анализ оценки
сравнительных преимуществ в таблице 11.
Таблица 11 - Оценка сравнительных преимуществ
|
Группы
показателей
|
АО Атоммашэкспорт
|
ООО Силовые машины
|
ООО Энергомаш
|
ООО Энергомашкапитал
|
|
1. Товар
|
|
|
|
|
|
1.1. Качество
|
5
|
4
|
3
|
5
|
|
1.2.
Технико-экономические показатели
|
2
|
5
|
4
|
3
|
|
1.3. Престиж торговой
марки
|
5
|
5
|
5
|
3
|
продолжение таблицы
11
|
1.4. Упаковка
|
5
|
5
|
4
|
4
|
|
1.5. Уровень
послепродажного обслуживания
|
5
|
5
|
5
|
4
|
|
1.6. Гарантийный срок
|
5
|
5
|
5
|
4
|
|
1.7. Уникальность
|
4
|
5
|
4
|
4
|
|
1.8.
Многовариантность использования
|
3
|
5
|
3
|
4
|
|
1.9. Надежность
|
5
|
5
|
5
|
5
|
|
1.10. Защищенность
патентами
|
5
|
5
|
4
|
5
|
|
2. Цена
|
|
|
|
|
|
2.1. Продажная
|
4
|
5
|
4
|
4
|
|
2.2. Процент скидки с
цены
|
4
|
5
|
4
|
5
|
|
2.3. Сроки платежа
|
4
|
5
|
4
|
5
|
|
2.4. Условия
предоставления кредита
|
0
|
0
|
0
|
0
|
|
2.5. Условия
финансирования покупки
|
3
|
3
|
3
|
3
|
|
3. Каналы сбыта
|
|
|
|
|
|
3.1. Формы сбыта:
|
|
|
|
|
|
-
прямая доставка;
|
0
|
0
|
0
|
0
|
|
-
торговые представители;
|
0
|
5
|
0
|
0
|
|
-
предприятия-производители;
|
0
|
0
|
0
|
0
|
|
-
оптовые посредники;
|
5
|
3
|
5
|
5
|
|
-
дилеры
|
5
|
5
|
3
|
4
|
|
3.2. Степень охвата
рынка
|
2
|
5
|
4
|
3
|
|
3.3. Размещение
складских помещений
|
5
|
5
|
5
|
3
|
|
3.4. Система
транспортировки
|
5
|
5
|
5
|
4
|
|
3.5. Система контроля
запасов
|
5
|
5
|
3
|
3
|
|
4. Продвижение
товаров на рынках
|
|
|
|
|
|
4.1. Реклама:
|
|
|
|
|
|
-
для потребителей;
|
5
|
5
|
4
|
4
|
|
-
для торговых посредников
|
5
|
5
|
3
|
4
|
|
4.2. Индивидуальная
продажа:
|
|
|
|
|
|
-
стимулирование потребителей;
|
3
|
5
|
3
|
4
|
|
-
демонстрационная торговля;
|
4
|
5
|
3
|
3
|
|
-
показ образцов товаров;
|
5
|
5
|
5
|
5
|
|
-
подготовка персонала сбытовых служб
|
4
|
5
|
4
|
4
|
|
4.3. Продвижение
товаров по каналам сбыта:
|
|
|
|
|
|
-
продажа на конкурсной основе;
|
4
|
5
|
4
|
3
|
|
-
премии торговым посредникам
|
4
|
5
|
4
|
4
|
|
-
телевизионный маркетинг
|
3
|
5
|
4
|
2
|
|
-
продажа товаров через СМИ
|
3
|
5
|
3
|
3
|
|
ОБЩЕЕ КОЛИЧЕСТВО БАЛЛОВ
|
126
|
150
|
119
|
116
|
Анализ оценки
сравнительных преимуществ показывает, что у АО «Атоммашэкспорт» преимущество
перед своими конкурентами, за исключением ООО «Силовые машины», имеющая
наибольший балл 150.
Если рассматривать группы
показателей по которым АО «Атоммашэкспорт» превышает своих конкурентов или
находится на одном уровне с ними, то это качество, престиж торговой марки,
упаковка, уровень послепродажного обслуживания, гарантийный срок, надежность,
условия финансирования покупки, форма сбыта оптовые посредники, размещение
складских помещений, система транспортировки, система контроля запасов, реклама
для потребителей, реклама для торговых посредников, продажа показов образцов
товаров.
Предварительный
прогноз составленный отделом маркетинга показывает, что в первый год заказ на
привод будет составлять 96 штук.
Представим прогноз продаж
привода АО «Атоммашэкспорт», в таблице 12.
Таблица 12 План продаж привода АО
«Атоммашэкспорт», шт
|
Месяц
|
2017
|
|
|
|
1й месяц
|
6
|
|
|
2й месяц
|
6
|
|
|
3й месяц
|
6
|
|
|
4й месяц
|
6
|
|
|
5й месяц
|
8
|
|
|
6й месяц
|
10
|
|
|
7й месяц
|
10
|
|
|
8й месяц
|
10
|
|
|
9й месяц
|
10
|
|
|
10й месяц
|
8
|
|
|
11й месяц
|
8
|
|
|
12й месяц
|
8
|
|
|
Всего
|
96
|
|
План продаж привода
представим графиком на рисунке 5.
Рисунок 5. План продаж привода на
2017 г.
Стратегия
ценообразования принятая руководством заключается на первоначальном этапе
установить цену ниже рыночной, с минимальной рентабельностью.
В АО «Атоммашэкспорт» для продажи привода
применяется схема товародвижения: производство - магазин - потребитель.
При решении вопросов товародвижения
следует осуществить выбор каналов распределения. АО «Атоммашэкспорт»
использует только один канал распределения нового товара привода – через своего
менеджера в магазине (таблица 13).
Таблица 13 - Канал распределения
товаров
|
Группа потребителей
|
Канал распределения
товаров
|
|
Физические и юридические лица
|
Через продавца в магазине
|
Рекламу продаж
нового товара привод будет размещена в местных газетах. Стоимость рекламы привода
за год представлена таблицей 14
Таблица 14 - Цены
на рекламу привода
|
Наименование
газеты
|
стоимость,
руб.
|
|
Вечерний
Волгодонск
|
7000
|
|
Шанс,
007
|
5000
|
|
Всего
|
12000
|
Реклама привода будет публиковаться в течении года с января
по декабрь месяц, всего на сумму 12 000 руб.
Сценарий на ближайшее будущее представлен таблицей 16, в целях определения
трех уровней объема продаж по привода.
Таблица 16 - Сценарий на ближайшее
будущее продажи привода
|
Товары/услуги
|
Прогноз продаж на
ближайший год, шт
|
|
оптимистический
|
пессимистический
|
наиболее реальный
|
|
привод
|
1000
|
600
|
96
|
|
Итого
|
1000
|
600
|
96
|
Реальный
прогноз предполагает продажу привода 96 единиц. Разработаем наиболее реальный прогноз продажи привода на год
(таблица 17).
Таблица 19 - План по продвижению привода на рынок,
руб.
|
Виды продвижения
|
Стоимость
|
Время
|
|
1. Реклама
|
12000
|
100
|
|
Всего
|
12000
|
100
|
План по рекламе для реализации привода
представлен таблицей 20. Цель таблицы определить цель рекламы, определить
целевую группу, средства и стоимость рекламных мероприятий.
Таблица 20 - План по рекламе для реализации привода
|
Цель/описание
рекламы
|
Целевая группа
|
Средства
|
Стоимость, руб.
|
|
Информационная реклама
|
юридические лица и граждане
|
собственные
|
12000
|
|
Всего
|
|
|
12000
|
План
информационной рекламы для реализации привода предусматривает вложение
собственных средств предприятия в сумме 12000 руб.
Список средств
массовой информации (таблица 21) предназначен для изучения возможностей
установления контактов с ними.
Таблица
21 - Список средств массовой информации
|
Средства массовой информации
|
Контакты
|
Комментарии
по поводу клиентов: аудитория
|
|
Вестник машиностроения
|
телефон:
+7(495) 661-03-36,
е-mail: mashpubl@mashin.ru
|
Юридические
лица
|
Список средств
массовой информации, показывает что реклама будет публиковаться в российском
журнале «Вестник машиностроения», который является важным информационным
источником для различных покупателей данной отрасли.
3. Технико-экономические расчеты производства нового
изделия привод
3.1 Производственная программа
Конструкторами завода разработана новая продукция – привод
для клапана регулирующего. Продукция будет предназначена для предприятий
нефте-и гозоснабжения.
Привод для клапана регулирующего предназначен для управления
клапаном, который устраняет помпаж турбогенераторов. В состав привода для
клапана входит двигатель, редуктор, шариковинтовую передачу, шпиндель, кроме
этого подключается отдельно система управления. В редукторе содержится муфта.
При отклонении давления в магистральном газопроводе от заданной величины
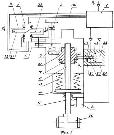
система управления подает команду на срабатывание струйной турбины (рисунок )
Рисунок 1 – Привод для клапана регулирующего
На
рисунке 1 изображена принципиальная схема привода для клапана регулирующего.
Привод для клапана регулирующего исключает использование уплотнений в двигателе
и механической системе, тем самым повышается надежность и долговечность
привода.
Технология
производства привода для клапана регулирующего следующий по операциям в
таблице:
Таблица - Технологический процесс
производства привода для клапана регулирующего
|
Наименование
операций
|
Время на операцию
|
Подготовительно-заключительное
время
|
|
отрезная
|
0,2
|
2
|
|
сверлильная
|
3
|
|
токарная торцовка заготовки
|
2,8
|
5
|
|
токарная - прорезка
|
3
|
1
|
|
токарная - накатка
|
2
|
1
|
|
шлифование
|
1
|
2
|
|
отрезная
|
0,5
|
2
|
|
контрольно-измерительная
|
0,5
|
2
|
|
сборка
|
4
|
5
|
|
Всего
|
17
|
22
|
Всего планируется в год
выпускать новой продукции на 96 штук, что позволит догрузить оборудование.
Обоснование типа
производства и формы организации производственного процесса производится на
основе степени специализации рабочих мест, характеризуемой коэффициентом
закрепления операций.
Коэффициент закрепления
операций представляет собой количество деталеопераций, выполняемых на одном
рабочем месте и рассчитывается аналогично расчетам в поточной форме организации
производства:
где
- i-я деталеоперация;
n – количество деталеопераций
техпроцесса;
- принятое количество оборудования на i-ой операции.
= 4,5
Минимальный размер партии
определяется по наиболее загруженной группе оборудования или по самой
трудоемкой операции, для которой справедливо соотношение tпз/tшi=max:
где tпз - норма
подготовительно-заключительного времени на наиболее трудоемкую операцию, мин;
tш - штучное время на эту операцию, мин;
- коэффициент, учитывающий допустимые потери времени на
переналадку;
= 90
= 6
= 16,07
= 3
= 4,5
= 18
= 36
= 36
= 11,25
таким образом tпз/tшi=max =
90
Периодичность (ритм
запуска) характеризуется отрезком времени между двумя следующими друг за другом
запусками партий деталей одного наименования:
где
-
продолжительность планово-отчетного периода (месяца), соответствует среднему
числу рабочих дней в месяце;
=22 сут.
- месячное программное задание по
изделию;
=Nгi/12 ;
= 8
Корректировка партии
не требуется, поэтому принимается N = 8
По каждой операции
определяется штучно-калькуляционное время для каждой детали по формуле
где tшкi - штучное время на i-то операцию,
мин;
tпз- подготовительно-заключительное
время на партию, мин;
nд — величина партии деталей.
tшк1 =0,2 +
=0,45
tшк2 =3 +
=3,25
tшк3 =2,8 +
=3,43
tшк4=3 +
=3,13
tшк5=2 +
=2,13
tшк6 =1 +
=1,25
tшк7 =0,5 +
=0,75
tшк8 =0,5 +
=0,75
tшк9 =4 +
=4,63
Потребность в
оборудовании рассчитывается по каждой операции технологического процесса,
исходя из ее трудоемкости, годовой программы выпуска изделий и годового
действительного фонда времени работы оборудования при заданном коэффициенте
сменности:
где mрi- расчетное количество оборудования
на i-й операции;
tшкji- трудоемкость изготовления j-й детали на i-и операции, мин;
k - количество типоразмеров деталей,
закрепленных за i-й операцией;
Nгj - годовая программа j-детали по i- й операции;
Fдр -
действительный годовой рабочий фонд времени работы оборудования, ч. Fдр принять равным действительному фонду
времени в поточном производстве;
mр1=
=0,001 = 1 шт.
mр2=
=0,003 = 1 шт.
mр3=
=0,003 = 1 шт.
mр4=
=0,003 = 1 шт.
mр5=
=0,002 = 1 шт.
mр6=
=0,001 = 1 шт.
mр7=
=0,001= 1 шт.
mр8=
=0,001 = 1 шт.
mр9=
=0,004 = 1 шт.
Принятое количество
оборудования по i-й операции определяется путем округления расчетного значения
до ближайшего целого числа в большую сторону (в меньшую сторону округление
допускается при превышении расчетного значения над принятым не более 5-8% , при
этом разрабатываются организационно - технические мероприятия по данной
операции, компенсирующие избыток загрузки).
Принятое количество
оборудования:
mпр-уч = 1 + 1 + 1+ 1 + 1 + 1 + 1 + 1 + 1 = 9 шт
Загрузка оборудования
определяется по каждой операции:
=
=0,01
=
=0,003
=
=0,003
=
=0,003
=
=0,002
=
=0,001
=
=0,001
=
=0,001
=
=0,004
Средний коэффициент
загрузки оборудования определяется по формуле:
=
=0,002
Результаты расчетов
сводятся в таблицу 10. При этом однотипные операции с использованием
одинакового оборудования анализируются на возможность их выполнения на
минимально необходимом количестве станков. В таблицу заносится уточненный
коэффициент загрузки с учетом совмещения операций.
Таблица 9 – Принятое количество и загрузка оборудования
|
№
|
Наименование операции
|
Оборудование
|
Расчетное количество оборудования
|
Принятое количество оборудования
|
Уточненный коэффициент загрузки
|
|
1
|
отрезная
|
токарно-винторезный
станок 16К20
|
0,001
|
1
|
0,012
|
|
2
|
сверлильная
|
токарно-винторезный
станок 16К20
|
0,003
|
|
3
|
токарная торцовка заготовки
|
токарно-винторезный
станок 16К20
|
0,003
|
|
4
|
токарная - прорезка
|
токарно-винторезный
станок 16К20
|
0,003
|
|
5
|
токарная - накатка
|
токарно-винторезный
станок 16К20
|
0,002
|
|
6
|
шлифование
|
плоскошлифовальный
станок ЗГ71М
|
0,001
|
1
|
0,001
|
|
7
|
отрезная
|
токарно-винторезный
станок 16К20
|
0,001
|
|
|
|
8
|
контрольно-измерительная
|
штангенциркуль
|
0,001
|
|
9
|
сборка
|
Слесарный стол
|
0,004
|
|
|
|
0,013
|
|
0,013
|
Принятое количество оборудования
на участке с учетом совмещения операций используется при планировании работ в
системе планово-предупредительного ремонта и отображается на планировке
участка.
Для определения
календарных - сроков запуска деталей и построения графика работы участка
необходимо определить длительность производственного, технологического и
операционных циклов партии деталей в зависимости от принятой формы ее движения
по операциям технологического процесса. Длительность производственного цикла
для параллельно-последовательного вида движения определяется в сутках и
составляет:
где h - число смен;
Тcм - продолжительность одной смены, мин;
nд - число деталей в партии;
nт - величина транспортной партии, определяется
произвольно, путем деления nд на равные
части;
n - количество операций техпроцесса;
tшкi - штучно-калькуляционное время на i-ю
операцию, мин;
mпрi - количество принятых рабочих мест
(единиц оборудования) на i-й операции, mпрi≥1;
- время межоперационных перерывов,
мин;
tк - длительность пребывания деталей в
других цехах (кооперация), tк=0;
- наименьшее соотношение для каждой
пары смежных операций технологического процесса.
Длительность производственного
цикла: =
Длительность
технологического цикла:
Расчетная (явочная)
численность основных производственных рабочих участка рассчитывается в разрезе
каждой операции:
где tшкi – трудоемкость j-й
детали по i-й операции, мин;
k- количество типоразмеров деталей,
закрепленных за операций;
– годовая программа j -й детали;
– действительный годовой фонд времени
работы одного работника (определяется по балансу рабочего времени на данный
календарный год), может быть принят
=1870 ч;
Ч =
Ч =
Ч =
Ч =
Ч =
Ч =
Ч =
Ч =
Ч =
Общее явочное количество
основных рабочих участка:
=0,001+0,003+0,002+0,003+0,002+0,001+0,0001+0,0001+0,003=0,0152
= 1чел
где n- число операций техпроцесса.
Списочная расчетная численность определяется:
где kнр=1,1 - коэффициент, учитывающий
превышение явочной численности на процент невыходов на работу по уважительным
причинам.
Принятая списочная
численность основных рабочих
определяется
путем округления расчетной до ближайшего большего числа.
Численность
вспомогательных рабочих в непоточном производстве, условно отнесенная на
участок, может укрупнено быть определена в размере 28-30% от численности
основных рабочих:
Общая численность рабочих
участка определяется как сумма принятого числа основных и вспомогательных:
чел.
Численность инженерно-технических
работников цеха определяется в размере 8-10% от общей численности рабочих:
Общая численность
работающих на участке:
3.3 Экономические расчетв себестоимости
нового изделия
Определение стоимости основных фондов и
амортизационных отчислений.
Для производства применяется следующее
оборудование (таблица ):
токарно-винторезный станок 16К20 –
1980 000 руб.
плоскошлифовальный станок ЗГ71М –
640 000 руб.
Таблица - Основное оборудование для
производства привода
|
Наименование
|
Первоначальная
стоимость
|
Загрузка
до
производства нового изделия
|
Загрузка
новой продукцией
|
Загрузка
после загрузки новой продукцией
|
|
токарно-винторезный
станок 16К20
|
1980000
|
67
|
0,002
|
67,002
|
|
плоскошлифовальный
станок ЗГ71М
|
64000
|
68
|
0,002
|
68,002
|
|
Всего
|
2044000
|
|
|
|
Загрузка оборудования новой
продукцией составит 0,002 %.
Представим графически загруженность
основного оборудования до производства привода и во сремя производства
Таким
образом, для расчета амортизационных отношений следует применять коэффициент
0,002 для расчета той части, которая пойдет на выполнение производственной
задачи – выпуска привода.
Стоимость подъемно-транспортного
оборудования принимается в размере 5 % от стоимости производственного
оборудования.
Спт
= 0,05 х 2044 = 102,2 тыс. руб.
Общая стоимость
производственной площади
,
( 0 )
где
–
стоимость 1 м2 площади соответственно производственной и
административно-бытовой;
Sпр – производственная площадь,
занимаемая оборудованием;
SАБП – административно-бытовая площадь.
Sпп = 220 х 4200 + 22 х 4200 =1016400
руб.
Стоимость энергетического
оборудования (доля стоимости цеховых распределительных устройств,
энергетических установок и сетей, приходящихся на участок):
. ( 0 )
где
–
стоимость энергооборудования, приходящаяся на 1 кВт установленной мощности
оборудования участка, руб.;
– суммарная мощность установленного
оборудования участка, кВт.
Сэ= 3000 х 30
= 90 тыс. руб.
Стоимость инструмента и оснастки, включаемых
в основные фонды, принимается укрупнено 5 % от балансовой стоимости
производственного оборудования.
Сио=
0,05 х 2044 = 102,2тыс.руб.
Стоимость производственного и
хозяйственного инвентаря принимается укрупнено в размере 1 % от совместной
стоимости производственного оборудования и площадей.
Синв
= (1016,4 + 2044) х 0,02 = 61,208 тыс. руб.
Амортизационные отчисления
определяются по действующим нормативам для каждой группы основных
производственных фондов с учетом коэффициента загрузки 0,002(таблица 28).
Таблица 28 – Стоимость
основных фондов участка
|
Наименование групп основных фондов
|
Балансовая
стоимость, руб.
|
Амортизационные
отчисления
|
|
норма, %
|
коэф, %
|
годовая сумма, руб.
|
|
Производственная площадь
|
1016400
|
4
|
0,002
|
81,31
|
|
Производственное оборудование
|
2044000
|
14,29
|
|
584,18
|
|
Подъемно-транспортное оборудование
|
102200
|
20
|
0,002
|
40,88
|
|
Энергетическое оборудование
|
90000
|
10
|
0,002
|
18,00
|
|
Инструменты и приспособления
|
102200
|
50
|
0,002
|
102,20
|
|
Производственный и хозяйственный инвентарь
|
61208
|
100
|
0,002
|
122,42
|
|
Итого:
|
3416008
|
|
|
948,98
|
Для изготовления привода
используется листовая горячекатанная сталь ГОСТ 19903-74, весом 36 кг. Вес
листа 78,5 кг/м. Всего в производстве 96 привода это 3456 кг, или 45 метров
листовой стали, на сумму 121306 руб ( цена 35100).
Кроме этого в состав
привода входит пульт управления, разработанный и поставляемы ООО «Топаз» по
цене 76200 руб.
Двигатель в виде струйной
турбины поставляется ООО «Полесье» по цене 48320 руб.
В состав входит выходной
шпиндель, и гайка шариковинтовой передачи снабженной зубчатым венцом,
производства ООО «Югэлектро» по цене 12800 руб.
Материальные затраты
представим таблицей
Таблица – Материальные затраты для
производства привода
|
Наименование
материально-производственных запасов
|
Поставщик
|
Количество
|
Цена
|
Сумма приобретения
|
|
Сталь ГОСТ 19903-74, тонн
|
ООО ТД "Ладор"
|
3,46
|
35100
|
121306
|
|
Пульт управления
|
ООО "Топаз"
|
96
|
76200
|
7315200
|
|
Двигатель
|
ООО "Полесье"
|
96
|
48320
|
4638720
|
|
Прочие запасные части
|
ООО "Югэлектро"
|
96
|
12800
|
1228800
|
|
Всего
|
13304026
|
Всего материальных затрат
на сумму 13304026 руб.
Основная и дополнительная
заработная плата рабочих на выпуск привода
, (
0 )
где n – количество операций
Сст– часовая тарифная
ставка разряда, руб./ч;
t – время изготовления детали, мин.;
Кдз– коэффициент,
учитывающий дополнительную заработную плату (оплата отпусков, доплаты к
тарифу);
Км– коэффициент
многостаночного обслуживания.
С =
х 39 х 1,08 х 170 х 1= 119,34 руб.
Фонд заработной платы
основных рабочих составляет
. (
0 )
Зосн = 119,34 х 96 = 11456,64 руб.
Расчет заработной платы
основных рабочих участка представлен в таблице 30.
Заработная плата
вспомогательных рабочих:
С =
х 39 х 1,08 х 150 х 1= 105,3 руб.
Звсп = 105,3 х 96 = 10108,8 руб.
Заработная плата сотрудника ИТР
С =
х 39 х 1,08 х 220 х 1= 154,44 руб.
Зитр = 96 х 154,44 = 14826,24 руб.
Отчисления на социальное страхование определяются по
формуле
, (
0 )
где
– фонд заработной платы i-ой категории работающих.
Результаты расчетов представлены в
таблице 31.
Таблица 31 – Расчет
численности работающих и заработной платы
|
Наименование категории работников
|
Количество человек
|
На программу
|
На одно изделие
|
|
Основная зарплата, руб.
|
Социальное страхование, руб.
|
Заработная плата, руб.
|
Социальное страхование, руб.
|
|
1.Основные рабочие
|
1
|
11,46
|
3,59
|
119,34
|
|
2.Вспомогательные рабочие
|
1
|
10,11
|
3,16
|
105,30
|
32,96
|
|
3.ИТР и служащие
|
1
|
14,83
|
4,64
|
154,44
|
48,34
|
|
Итого
|
1
|
36,39
|
11,39
|
379,08
|
118,65
|
Расчет
общепроизводственных расходов:
, (
0 )
Расходы на содержание и
эксплуатацию оборудования
, (
0 )
где Си – амортизационные отчисления.
Си = 948,98 руб.
Ср– затраты на ремонт
оборудования, которые определяются
Ср = 948,98
х 0,3 = 284,69
Сэ– затраты на силовую
электроэнергию, которые определяются
, (
0 )
где Ncр – средняя
установленная мощность единицы оборудования, кВт;
– коэффициент использования
электродвигателей по мощности
(
);
– коэффициент,
учитывающий потери электроэнергии в сети
(
);
tм
– норма машинного времени на годовой выпуск продукции, может быть принята в размере
70% от годовой трудоемкости по участку Туг, мин;
– средний КПД
электродвигателей i-ого вида оборудования
(
);
Цэ – стоимость 1
кВт∙ч энергии, руб.
Сэ =
2042,04 руб.
Ссом – затраты на
смазочно-обтирочные материалы укрупнено могут быть приняты в размере 8-10 % от
затрат на ремонт оборудования:
руб.
Сэо = 948,98 + 284,69 + 2042,04
+ 28,47 = 3304,19 руб.
Затраты на эксплуатацию
технологической оснастки
. (
0 )
Затраты на эксплуатацию
специальных приспособлений принимаются:
,
где Кi
- балансовая стоимость приспособленияi-ого
вида;
–
коэффициент, учитывающий затраты на ремонт;
Цвi
– выручка от реализации приспособления i-й
операции после его выбытия из эксплуатации, укрупненно принимается в размере 10
÷15% от балансовой стоимости приспособления i-ого
вида:
;
Тп – срок
погашения стоимости приспособления, годы, укрупненно Тп=5
лет;
m – количество
видов приспособлений.
Сэсп =
780 руб.
Затраты на эксплуатацию
режущего инструмента
, (
0 )
где n
– количество типоразмеров инструмента;
Киi
– балансовая стоимость i-ого
инструмента;
Циi–
цена реализации списанного инструмента – укрупненно принимается в размере 10
÷15% от балансовой стоимости i-ого
инструмента;
Спi
– затраты на 1 переточку, руб.;
nпi
– число переточек;
Тс
– период стойкости между двумя переточками;
Куб=1¸1,05
– коэффициент случайности убыли инструмента;
tм
– машинное время пользования i-м
инструментом, мин. (может быть принято укрупненно 70% от трудоемкости).
Ср =
971,04 руб.
Затраты на мерительный
инструмент
, (
0 )
где Сзi
– сумма годовых затрат по эксплуатации i-го
вида мерительного инструмента (10% от балансовой стоимости приспособлений и инструмента,
табл.2);
Мi–
коэффициент занятости мерительного инструмента на
i-й
операции;
n
– количество типоразмеров мерительного инструмента.
руб.
Тогда Сосн = 676 + 971,04
+ 6132 = 7779,04 руб.
Затраты на содержание помещений с учетом освещения,
канализации, обеспечение горячей и холодной водой принимаются укрупнено из
расчета 20 % от балансовой стоимости производственных площадей.
руб.
Прочие расходы принимаются в
размере 0,5 % от всей суммы общепроизводственных расходов.
Тогда
Соп = (3304,19 + 7779,04 + 24935 + 7804,67 + 203280) х 1,005 = 248338,45 руб.
Калькуляция себестоимости
изделия приведена в таблице 33.
Таблица 33 – Калькуляция
себестоимости привода
|
Наименование статей затрат
|
На изделие
|
На программу
|
|
1. Материалы за вычетом отходов
|
166300,325
|
13304026,00
|
|
2. Основная заработная
плата (включая дополнительную) основных производственных рабочих
|
119,34
|
11456,64
|
|
3. Отчисления в социальные фонды
|
37,35
|
3585,93
|
|
4. Общепроизводственные расходы
|
2586,86
|
248338,45
|
|
5. Цеховая себестоимость
(стр.1+стр.2+стр.3+стр.4)
|
169043,88
|
13567407,02
|
|
6. Общезаводские расходы (150 % к стр.2)
|
119,34
|
11 456,64
|
|
7. Производственная
себестоимость (стр.5+стр.6)
|
169163,22
|
13578863,66
|
|
8. Внепроизводственные расходы (5 % к стр.7)
|
21216,97
|
2036829,55
|
|
9. Полная себестоимость (стр.7+стр.8)
|
190380,19
|
15615693,21
|
Цена изделия принимается с учетом 20 % рентабельности
и составляет 228456,23 руб. без НДС.
Цена детали рассчитывается по
формуле
Цi=Спi+Пi,
где Спi– полная
себестоимость i-й детали, руб.;
Пi – планируемая
прибыль на i-ю деталь, руб.
Ц= 190380,19 +
38076,04 = 228456,23
Прибыль на
единицу продукции:
,
где Спб
– полная себестоимость изделия;
Ризд
– заданная рентабельность изделия, %.
Пб=
Общая прибыль участка:
где – Пi – прибыль i- го
изделия;
Ni – годовая
программа i- го изделия;
n – число видов
изделий (деталей), закрепленных за участком.
Пуч =
3655299,7
руб.