Hасчет двухступенчатого редуктора
Содержание.
Задание на проект ….............................…………………………………….2
Введение…………..……………………………………….…………..…….3
1. Выбор электродвигателя
и кинематический расчет................……........…4
2. Расчет зубчатых колес
2.1 Выбор
материала………………………………………………………....7
2.2 Расчет
быстроходной ступени…………………………………………...7
2.3 Расчет тихоходной
ступени…………………………………………….12
3. Предварительный расчет
валов редуктора...……………………………..16
4. Конструктивные размеры
шестерни и колеса……………………………18
5. Конструктивные размеры
корпуса и крышки.............……………………18
6. Проверка долговечности
подшипников…………………………………..20
7. Проверка прочности
шпоночных соединений ............…………………...26
8. Уточненный расчет
валов ..................………………………………….…..27
9. Выбор сорта
масла...........…………………………………………………..35
10. Посадки деталей
редуктора..……………………………………………..35
11. Список
литературы................................................………………………..36
Спецификация к
редуктору.....................................................................…..…38
Задание:
Спроектировать привод ленточного транспортера.
Вариант № 38.
Исходные
данные:
Срок
службы: 7 лет
Мощность
на выходном валу Р3= 8 кВт
Угловая
скорость на выходном валу w3= 3.2π рад/с = 10 рад/с
ВВЕДЕНИЕ.
Цель
курсового проектирования – систематизировать, закрепить, расширить
теоретические знания, а также развить расчетно-графические навыки студентов.
Основные требования, предъявляемые к создаваемой машине: высокая
производительность, надежность, технологичность, минимальные габариты и масса,
удобство в эксплуатации и экономичность. В проектируемом редукторе используются
зубчатые передачи.
Редуктором
называют механизм, состоящий из зубчатых или червячных передач, выполненный в
виде отдельного агрегата и служащий для передачи мощности от двигателя к
рабочей машине.
Назначение
редуктора – понижение угловой скорости и повышение вращающего момента ведомого
вала по сравнению с валом ведущим.
Нам в
нашей работе необходимо спроектировать редуктор для ленточного транспортера, а
также подобрать муфты, двигатель. Редуктор состоит из литого чугунного корпуса,
в котором помещены элементы передачи – 2 шестерни, 2 колеса, подшипники, валы и
пр. Входной вал посредством муфты соединяется с двигателем, выходной также
посредством муфты с транспортером.
1.
Выбор
электродвигателя и кинематический расчет.
Кинематический анализ схемы
привода.
Привод состоит из
электродвигателя, двухступенчатого редуктора. При передаче мощности имеют
место ее потери на преодоление сил вредного сопротивления. Такие
сопротивления имеют место и в нашем приводе: в зубчатой передаче, в опорах
валов, в муфтах и в ремнях с роликами. Ввиду этого мощность на приводном валу
будет меньше мощности, развиваемой двигателем, на величину потерь.
1.1
Коэффициент полезного действия привода.
По
таблице 1.1 [1] коэффициент полезного действия пары цилиндрических колес
ηз.к. = 0,98; коэффициент, учитывающий потери пары подшипников
качения, ηп = 0,99; коэффициент, учитывающий потери в муфте
ηм = 0,98; коэффициент, учитывающий потери в ремне с роликами
ηр = 0,9


0,98*0,99*0,98 = 0,95
0,95*0,98*0,99 = 0,92
0,92*0,99 = 0,91
Общий КПД привода:
= 0,982 * 0,995 *
0,982*0,9 = 0,8
1.2
Выбор
электродвигателя.
Требуемая
мощность электродвигателя:
Ртр=Р3/
=8/0,8=10 кВт,
Частота
вращения барабана:
При
выборе электродвигателя учитываем возможность пуска транспортера с полной
загрузкой.
Пусковая
требуемая мощность:
Рп=Ртр*1,3м=10*1,3=13
кВт
Эквивалентная
мощность по графику загрузки:

кВт
По
ГОСТ 19523-81 (см. табл. П1 приложения [1]) по требуемой мощности
Ртр
= 10 кВт выбираем электродвигатель трехфазный асинхронный
короткозамкнутый
серии 4АН закрытый, обдуваемый с синхронной частотой
n = 1500 об/мин
4АН132М4 с параметрами Рдв = 11 кВт и скольжением
S=2,8 %, отношение
Рп/Рн=2. Рпуск=2*11=22 кВт - мощность данного
двигателя на пуске. Она больше чем нам требуется Рп= 13 кВт.
Номинальная
частота вращения двигателя:
где: nдв – фактическая частота вращения
двигателя, мин-1;
n – частота вращения, мин-1;
s – скольжение, %;
Передаточное
отношение редуктора:
U=nдв/n3=1458/95,5=15,27
Передаточное
отношение первой ступени примем u1=5; соответственно второй ступени u2=u/u1=15,27/5=3,05
1.3
Крутящие моменты.
Момент
на входном валу:
,
где: Ртр – требуемая мощность двигателя, кВт;
– угловая скорость вращения двигателя,
об/мин;
где: nдв – частота вращения двигателя, мин-1;
Момент
на промежуточном валу:
Т2
= Т1 * u1 * η2
где: u1 – передаточное отношение первой ступени;
η2 – КПД второго вала;
Т2
= 65,5*103 * 5*0,92 =301,3*103 Нмм
Угловая скорость промежуточного вала:
Момент на выходном валу:
Т3
= Т2 * u2 * η3
где: u2 – передаточное отношение второй ступени;
η3 – КПД третьего вала;
Т3
= 301,3*103 * 3,05 * 0,91 = 836,3*103 Нмм
Угловая скорость выходного вала:
Все
данные сводим в таблицу 1:
таблица
1
|
Быстроходный вал
|
Промежуточный вал
|
Тихоходный вал
|
|
Частота вращения, об/мин
|
n1= 1458
|
n2=291,3
|
n3=95,5
|
|
Угловая скорость, рад/с
|
w1= 152,7
|
w2 =30,5
|
w3= 10
|
|
Крутящий момент, 103 Нмм
|
T1= 65,5
|
T2= 301,3
|
T3= 836,3
|
2.
Расчет зубчатых колес.
2.1
Выбор материала.
Выбираем материал со средними
механическими характеристиками: для шестерни сталь 45, термическая обработка –
улучшение, твердость НВ 230; для колеса – сталь 45, термическая обработка –
улучшение, но на 30 единиц ниже НВ 200.
Допускаемые
контактные напряжения по формуле (3.9 [1])
, МПа
где:
σН lim b –
предел контактной выносливости, МПа;
, МПа
для
колеса:
= 2*200 + 70 = 470 МПа
для
шестерни:
= 2*230 + 70 = 530 Мпа
КНL – коэффициент долговечности
,
где: NHO – базовое число циклов напряжений;
NНЕ – число циклов перемены напряжений;
Так
как, число нагружения каждого зуба колеса больше базового, то принимают КHL = 1.
[SH] – коэффициент безопасности, для
колес нормализованной и улучшенной стали принимают [SH] = 1,1
1,2.
Для
шестерни:
Для
колеса:
Тогда
расчетное контактное напряжение определяем по формуле (3.10 [1])
= 0.45(481+428)=410 МПа.
2.2
Расчет
быстроходной ступени двухступенчатого зубчатого редуктора.
2.2.1 Межосевое расстояние определяем по
формуле (3.7 [1])
, мм
где:
Ка – для косозубых колес Ка = 43;
u1 – передаточное отношение первой
ступени;
Т2
– крутящий момент второго вала, Нмм;
КНβ
– коэффициент, учитывающий не равномерность распределения нагрузки по ширине
венца.
При
проектировании зубчатых закрытых передач редукторного типа принимают значение КНβ
по таблице 3.1 [1]. КНβ=1,25
[σH] – предельно допускаемое напряжение;
ψba – коэффициент отношения зубчатого
венца к межосевому расстоянию, для косозубой передачи ψba = 0,25
0,40.
мм
Ближайшее
значение межосевого расстояния по ГОСТ 2185-66 аw = 160 мм (см. с.36 [1]).
2.2.2 Нормальный модуль:
mn =
(0,01
0,02)*аw
где:
аw – межосевое расстояние, мм;
mn =
(0,01
0,02)*аw = (0,01
0,02)*160 = 1,6
3,2 мм
Принимаем
по ГОСТ 9563-60 mn = 3.
Предварительно
примем угол наклона зубьев β=10°.
2.2.3
Число зубьев шестерни (формула 3.12 [1] ):
,
где:
аw – межосевое расстояние, мм;
β – угол
наклона зуба, °;
u1 – передаточное отношение первой
ступени;
mn –
нормальный модуль, мм;
2.2.4
Число зубьев колеса:
z2 = z1 * u1 = 17*5=85
2.2.5 Уточняем значение угла наклона
зубьев:
,
где: z1 – число зубьев шестерни;
z2 – число зубьев колеса;
mn –
нормальный модуль, мм;
аw – межосевое расстояние, мм;
β
= 17°
2.2.6 Диаметры делительные.
Для
шестерни:
Для
колеса:
Проверка:
2.2.7 Диаметры вершин зубьев.
Для
шестерни: da1 =d1+2mn =53,3
+ 2*3 = 59,3 мм
Для
колеса: da2 =d2+2mn = 266,7
+ 2*3 = 272,7 мм
2.2.8 Ширина зуба.
Для
колеса: b2 = ψba * aw = 0,4 * 160 = 64 мм
Для шестерни:
b1 = b2 + 5 = 64 + 5 = 69 мм
2.2.9 Коэффициент ширины шестерни по
диаметру.
,
где:
b1 – ширина зуба для шестерни, мм;
d1 – делительный диаметр шестерни, мм;
2.2.10
Окружная
скорость колес.
м/с
Степень
точности передачи: для косозубых колес при скорости до 10 м/с следует принять
8-ю степень точности.
2.2.11
Коэффициент
нагрузки.
По
таблице 3.5 [1] при ψbd =
1,29, твердости НВ< 350 и несимметричном рас-положении колес коэффициент КНβ
= 1,17.
По
таблице 3.4 [1] при ν = 4,1 м/с и
8-й степени точности коэффициент КНα=1,07.
По
таблице 3.6 [1] для косозубых колес при скорости менее 5 м/с коэф-фициент КНυ = 1.
= 1,17 * 1,07 * 1 = 1,252
2.2.12
Проверяем
контактные напряжения по формуле 3.6 [1].
, МПа
где:
аw – межосевое расстояние, мм;
Т2
– крутящий момент второго вала, Нмм;
КН
– коэффициент нагрузки;
u1 - передаточное отношение первой
ступени;
b2 – ширина колеса, мм;
Условие
прочности выполнено.
2.2.13
Силы,
действующие в зацеплении.
В
зацеплении действуют три силы:
-
Окружная
, Н
где:
Т1 – крутящий момент ведущего вала, Нмм;
d1 –делительный диаметр шестерни, мм;
-
Радиальная
, Н
где:
α – угол зацепления, °;
β
– угол наклона зуба, °;
-
Осевая
Fa = Ft * tg β, Н
Fa = Ft * tg β = 2457,8 * 0,3057 = 751,4 Н
2.2.14
Проверка
зубьев на выносливость по напряжениям изгиба
(
см. формулу 3.25 [1] ).
, МПа
где: Ft – окружная сила, Н;
Коэффициент
нагрузки КF = KFβ * KFν ( см. стр. 42 [1])
По
таблице 3.7 [1] при ψbd
= 1,34, твердости НВ ‹ 350 и несимметричном рас-положении зубчатых колес
относительно опор коэффициент КFβ = 1.36.
По
таблице 3.8 [1] для косозубых колес 8-й степени точности и скорости 4,1 м/с
коэффициент КFυ =
1,1.
Таким
образом, КF = 1,36 *
1,1 = 1,496.
Коэффициент,
учитывающий форму зуба, YF зависит от эквивалентного числа зубьев zυ
-
У шестерни
-
У колеса
Коэффициент
YF1 = 3,85 и YF2
= 3,6 (см. стр. 42 [1] ).
Определяем
коэффициенты Yβ и КFα .
,
где
средние значения коэффициента торцевого перекрытия εα =
1,5; степень точности n = 8.
Допускаемые напряжение при проверке на изгиб определяют по формуле 3.24 [1]:
, МПа
По
таблице 3.9 для стали 45 улучшенной предел выносливости при отнуле-вом цикле
изгиба
= 1,8 НВ.
Для
шестерни
= 1,8 * 230 = 414 МПа
Для
колеса
= 1,8 * 200 = 360 МПа
Коэффициент
безопасности
По
таблице 3.9 [1] [SF]’ =
1.75 для стали 45 улучшенной; [SF]” = 1 для поковок и штамповок.
Допускаемые
напряжения:
Для
шестерни
Для
колеса
Проверку
на изгиб следует проводить для того зубчатого колеса, для которого отношение
меньше. Найдем отношения:
Для
шестерни
Для
колеса
Проверку
на изгиб проводим для колеса:
Условие
прочности выполнено.
2.3
Расчет
тихоходной ступени двухступенчатого зубчатого редуктора.
2.3.1 Межосевое
расстояние определяем по формуле (3.7 [1])
, мм
где:
Ка = 43;
u3 – передаточное отношение на выходе;
Т3
– крутящий момент на выходе;
КНβ=1.25
ψba = 0,25
0,40.
Ближайшее
значение межосевого расстояния по ГОСТ 2185-66 аw = 200 мм (см. с.36 [1]).
2.3.2 Нормальный модуль.
mn =
(0,01
0,02)*аw = (0,01
0,02)*200 = 2
4 мм
Принимаем
по ГОСТ 9563-60 mn = 3
мм
Предварительно
примем угол наклона зубьев β=10°.
2.3.3 Число зубьев шестерни (формула 3.12
[1] )
2.3.4 Число зубьев колеса
Z4 = z3 * u2 = 32*3,05=97,6
2.3.5
Уточняем значение угла наклона зубьев.
β
= 12,83°=12o50/
2.3.6
Диаметры делительные.
Для
шестерни:
Для
колеса:
Проверка:
2.3.7
Диаметры вершин зубьев.
Для
шестерни: da3 =d3+2mn =98,5
+ 2*3 = 104,5 мм
Для
колеса: da4 =d4+2mn =
301,5 + 2*3 = 307.5 мм
2.3.8
Ширина зуба.
Для
колеса: b4 = ψba aw = 0,4 * 200 = 80 мм
Для
шестерни: b3 = b4 + 5 = 80 + 5 = 85 мм
2.3.9
Коэффициент ширины шестерни по диаметру.
2.3.10
Окружная скорость колес.
, м/с
Степень
точности передачи: для косозубых колес при скорости до 10 м/с следует принять
8-ю степень точности.
2.3.11
Коэффициент нагрузки.
По
таблице 3.5 [1] при ψbd =
0,93, твердости НВ< 350 и несимметричном рас-положении колес коэффициент КНβ
= 1,1.
По
таблице 3.4 [1] при ν = 1,5 м/с и
8-й степени точности коэффициент КНα=1,06.
По
таблице 3.6 [1] для косозубых колес при скорости более 1,5 м/с коэффициент КНυ = 1.
= 1,1 * 1,06 * 1 = 1,15
2.3.12
Проверяем контактные напряжения по формуле 3.6 [1].
Условие
прочности выполнено
2.3.13
Силы, действующие в зацеплении.
В зацеплении действуют три силы:
-
Окружная
-
Радиальная
-
Осевая
Fa = Ft * tg β=6117,8*0.228=1394,9 Н
2.3.14
Проверка зубьев на
выносливость по напряжениям изгиба
Коэффициент
нагрузки КF = KFβ * KFν ( см. стр. 42 [1])
По
таблице 3.7 [1] при ψbd
= 0,863, твердости НВ ‹ 350 и несимметричном расположении зубчатых колес
относительно опор коэффициент КFβ = 1.2.
По
таблице 3.8 [1] для косозубых колес 8-й степени точности и скорости 1,5м/с
коэффициент КFυ =
1,1.
Таким
образом, КF = 1,2 *
1,1 = 1,32.
Коэффициент,
учитывающий форму зуба, YF зависит от эквивалентного числа зубьев zυ
У шестерни
У колеса
Коэффициент
YF1 = 3,62 и YF2
= 3,6 (см. стр. 42 [1] ).
Определяем
коэффициенты Yβ и КFα .
,
где
средние значения коэффициента торцевого перекрытия εα =
1,5; тепень точности n = 8.
Допускаемые
напряжение при проверке на изгиб определяют по формуле 3.24 [1]:
,
По
таблице 3.9 для стали 45 улучшенной предел выносливости при отнуле-вом цикле
изгиба
= 1,8 НВ.
Для
шестерни
= 1,8 * 230 = 414 МПа
Для
колеса
= 1,8 * 200 = 360 МПа
Коэффициент
безопасности
По
таблице 3.9 [1] [SF]’ =
1.75 для стали 45 улучшенной; [SF]” = 1 для поковок и штамповок.
Допускаемые
напряжения:
Для
шестерни
Для
колеса
Проверку
на изгиб следует проводить для того зубчатого колеса, для которого отношение
меньше. Найдем отношения:
Для
шестерни
Для
колеса
Проверку
на изгиб проводим для колеса
Условие
прочности выполнено.
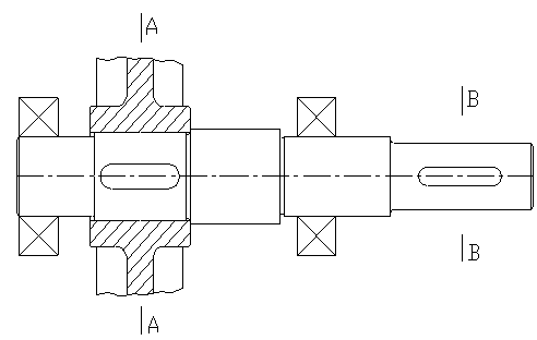
3.
Предварительный
расчет валов редуктора.
Предварительный
расчет проведем на кручение по пониженным допускаемым напряжениям. Материал тот
же что и шестерня Сталь 45 улучшенная.
3.1 Ведущий вал:
Диаметр выходного конца при допускаемом напряжении
Н/мм2.
,
мм [1]
где:
Т-крутящий момент, Нмм;
- допускаемое напряжение, Н/мм2;
мм
Так
как вал редуктора соединен с валом двигателя муфтой, то необходимо согласовать
диаметры ротора dдв и вала dв1. Муфты УВП могут соединять валы с соотношением dв1:dдв
0,75, но полумуфты должны при этом
иметь одинаковые наружные диаметры. У подобранного электродвигателя dдв=32 мм. Выбираем МУВП по ГОСТ
21425-93 с расточками полумуфт под dдв=32 мм и dв1=25 мм.
Примем
под подшипник dп1=30 мм.
Шестерню
выполним за одно целое с валом.
3.2 Промежуточный вал:
Материал
тот же что и шестерня Сталь 45 улучшенная.
Диаметр под подшипник при допускаемом напряжении
Н/мм2.
мм
Примем
диаметр под подшипник dП2=30 мм.
Диаметр
под зубчатым колесом dзк=35 мм.
Шестерню
выполним за одно с валом.
3.3 Выходной вал:
Диаметр выходного конца при допускаемом напряжении
Н/мм2.
мм
Выбираем
муфту МУВП по ГОСТ 21424-75 с расточкой полумуфт под dв3=46мм.
Диаметр
под подшипник примем dП3=50 мм.
Диаметр
под колесо dзк=55 мм.
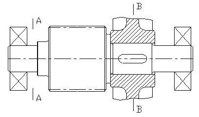
4.
Конструктивные размеры шестерни и колеса
Размеры
колес определяются из следующих формул (табл.10.1[1]):
Диаметр
впадин зубьев: df=d1-2.5mn, мм
Диаметр
ступицы:
, мм
длина
ступицы:
, мм
толщина
обода:
, мм., но не менее 8 мм.
толщина
диска:
, мм
диаметр
отверстий:
, мм Do=df-2
мм
фаска:
n=0.5mn x 45o
Все
расчеты сводим в таблицу 2:
Таблица
2
|
z
|
mn
|
b,
мм
|
d,
мм
|
da,
мм
|
df,
мм
|
dст,
мм
|
Lст,
мм
|
,
мм
|
С,
мм
|
|
Первая
ступень
|
шестерня
|
17
|
3
|
69
|
53,3
|
59,34
|
45,8
|
-
|
-
|
-
|
-
|
|
колесо
|
85
|
3
|
64
|
266,7
|
272,7
|
259,2
|
72
|
67,5
|
8
|
18
|
|
Вторая
ступень
|
шестерня
|
32
|
3
|
85
|
98,5
|
104,5
|
91
|
-
|
-
|
-
|
-
|
|
колесо
|
98
|
3
|
80
|
301,5
|
307,5
|
294
|
104
|
97,5
|
8
|
24
|
5.
Конструктивные размеры корпуса и крышки
Расчет
проведем по формулам (табл. 10.2, 10.3[1]):
Толщина
стенки корпуса:
мм.
Толщина
стенки крышки редуктора:
мм.
Толщина
верхнего пояса (фланца) корпуса:
мм.
Толщина
нижнего пояса (фланца) крышки корпуса:
мм.
Толщина
нижнего пояса корпуса:
мм., примем р=23
мм.
Толщина
ребер основания корпуса:
мм., примем m=9 мм.
Толщина
ребер крышки корпуса:
мм., примем m=8 мм.
Диаметры
болтов:
-
фундаментальных:
мм., принимаем болты с резьбой М20;
-
крепящих крышку к
корпусу у подшипников:
мм., принимаем болты
с резьбой М16;
-
крепящих крышку
с корпусом:
мм., принимаем болты с резьбой М12;
Гнездо
под подшипник:
-
Диаметр отверстия
в гнезде принимаем равным наружному диаметру подшипника: Dп1=30 мм, Dп2=60 мм.
-
Диаметр гнезда: Dk=D2+(2-5) мм., D2 – Диаметр фланца крышки подшипника,
на 1 и 2 валах D2= 77мм, на 3 валу D2= 105мм. Тогда Dk1=D2+(2-5)= 80 мм, Dk2=D2+(2-5)= 110 мм.
Размеры
радиальных шарикоподшипников однорядных средней серии приведены в таблице 3:
Таблица
3
|
Условное обозначение подшипника
|
d
|
D
|
B
|
Грузоподъемность,кН
|
|
Размеры, мм
|
С
|
Со
|
|
N306
|
30
|
72
|
19
|
28,1
|
14,6
|
|
N310
|
50
|
100
|
27
|
65,8
|
36
|
Размеры
штифта:
-
Диаметр
мм.
-
Длина
мм.
Из
табл. 10.5[1] принимаем штифт конический ГОСТ 3129-70
мм,
мм.
Зазор
между торцом шестерни с одной стороны и ступицы с другой, и внутренней стенкой
корпуса А1=1,2
=1,2*10=12 мм.
Зазор
от окружности вершин зубьев колеса до внутренней стенки корпуса, а также расстояние
между наружным кольцом подшипника ведущего вала и внутренней стенкой корпуса
А=
=10 мм.
Для
предотвращения вытекания смазки подшипников внутрь корпуса и вымывания
пластического смазывающего материала жидким маслом из зоны зацепления
устанавливаем мазеудерживающие кольца, их ширину определяет размер y=8-12 мм. Мы принимаем y=10 мм.
6.1 Ведущий вал
Реакции
опор:
в
плоскости XZ:
Проверка:
-388,2-2457,8+2108,7+737,3=0
в
плоскости YZ:
Проверка:
-542,5+935,4-392,9=0
Суммарные
реакции:
Подбираем подшипник по
более нагруженной опоре №2
|
Условное обозначение подшипника
|
d
|
D
|
B
|
Грузоподъемность,кН
|
|
Размеры, мм
|
С
|
Со
|
|
N306
|
30
|
72
|
19
|
28,1
|
14,6
|
Отношение
Этой
величине по таблице 9.18[1] соответствует e=0,21
Отношение
X=0.56, Y=2.05
Эквивалентная
нагрузка по формуле:
, H
где V=1-вращается внутреннее кольцо
подшипника;
коэффициент безопасности по таблице 9.19[1] КБ=1;
температурный коэффициент по таблице 9.20[1] КТ=1,0.
H
Расчетная
долговечность, млн. об по формуле :
Расчетная
долговечность, ч по формуле :
ч
Фактическое
время работы редуктора
Срок
службы 7 лет, при двухсменной работе:
365дней*16ч.КгодКсут=365*16*0,7*0,3=1226,4
ч.
6.2
Промежуточный вал
Реакции
опор:
в
плоскости XZ:
Проверка:
3176-6117,8+484+2457,8=0
в
плоскости YZ:
Проверка:
1,6+2283,8-935,4-1350=0
Суммарные
реакции:
Подбираем подшипник по
более нагруженной опоре №1
|
Условное обозначение подшипника
|
d
|
D
|
B
|
Грузоподъемность,кН
|
|
Размеры, мм
|
С
|
Со
|
|
N306
|
30
|
72
|
19
|
28,1
|
14,6
|
Отношение
Этой
величине по таблице 9.18[1] соответствует e=0,21
Отношение
X=1, Y=0
Эквивалентная
нагрузка по формуле:
H
Расчетная
долговечность, млн. об по формуле :
Расчетная
долговечность, ч по формуле :
ч
6.3
Ведомый вал
Реакции
опор:
в
плоскости XZ:
Проверка:
-5325,8+6117,8+1043,3-1835,3=0
в
плоскости YZ:
Проверка:
-254,6-2283,8+2538,4=0
Суммарные
реакции:
Подбираем подшипник по
более нагруженной опоре №1
|
Условное обозначение подшипника
|
d
|
D
|
B
|
Грузоподъемность,кН
|
|
Размеры, мм
|
С
|
Со
|
|
N310
|
50
|
100
|
27
|
65,8
|
36
|
Отношение
Этой
величине по таблице 9.18[1] соответствует e=0,195
Отношение
X=0.56, Y=2.2
Эквивалентная
нагрузка по формуле:
H
Расчетная
долговечность, млн. об по формуле :
Расчетная
долговечность, ч по формуле :
ч
Применяются
шпонки призматические со скругленными торцами по
ГОСТ
23360-78. Материал шпонок - сталь 45 нормализованная.
|
Диаметр вала
d, мм
|
Ширина шпонки
b, мм
|
Высота шпонки
h, мм
|
Длина шпонки
l, мм
|
Глубина паза
t1, мм
|
|
25
|
8
|
7
|
30
|
4
|
|
35
|
10
|
8
|
32
|
5
|
|
46
|
12
|
8
|
65
|
5
|
|
55
|
16
|
10
|
55
|
6
|
Напряжения смятия и условие прочности по формуле:
Допускаемые
напряжения смятия при стальной ступице
=100...120Мпа
7.1
Ведущий вал
При d=25 мм;
; t1=4 мм; длине шпонки l=30 мм; крутящий момент Т1=65,5Нм
7.2 Промежуточный вал
При d=35 мм;
; t1=5 мм; длине шпонки l=32 мм; крутящий момент Т2=301,3Нм
7.3 Ведомый вал
При d=55 мм;
; t1=6 мм; длине шпонки l=55 мм; крутящий момент Т3=314Нм
При d=46 мм;
; t1=5 мм; длине шпонки l=65 мм
8.1 Ведущий вал
Уточненный
расчет состоит в определении коэффициентов запаса прочности s для опасных сечений и сравнении их с
допускаемыми значениями [s].
Прочность соблюдена при
.
Материал
вала - сталь 45 улучшенная. По таблице 3.3[1]
Пределы
выносливости:
Сечение
А-А.
Концентрация
напряжений обусловлена наличием шпоночного паза
Коэффициент
запаса прочности по нормальным напряжениям изгиба
Коэффициент
запаса прочности по касательным напряжениям
По
таблице 8.5[1] принимаем
;
По таблице 8.8[1] принимаем
;
Момент
сопротивления кручению по таблице 8.5[1]:
при d=25 мм; b=8 мм; t1=4 мм
Момент
сопротивления изгибу:
При d=25 мм; b=8 мм; t1=6 мм
Изгибающий
момент в сечении А-А
My=0;
MА-А=МX
Амплитуда
и среднее значение отнулевого цикла:
Амплитуда
нормальных напряжений:
,
Составляющая постоянных
напряжений:
тогда
Результирующий
коэффициент запаса прочности по формуле (8.17 [ 1 ] )
Условие
прочности выполнено.
Сечение
В-В
принимаем
Момент
сопротивления кручению при d=40.3
мм:

Изгибающий
момент в сечении B-B
Амплитуда
и среднее значение отнулевого цикла:
Амплитуда
нормальных напряжений:
,
величина очень маленькая поэтому ее
учитывать не будем
тогда
Результирующий
коэффициент запаса прочности по формуле (8.17 [ 1 ] )
Условие
прочности выполнено.
Материал
вала - сталь 45 улучшенная. По таблице 3.3[1]
Пределы
выносливости:
Сечение
А-А.
Концентрация
напряжений обусловлена посадкой подшипника с гарантированным натягом
принимаем
Момент
сопротивления кручению при d=30
мм:
Момент
сопротивления изгибу:
Изгибающий
момент в сечении А-А
Амплитуда
и среднее значение отнулевого цикла:
Амплитуда
нормальных напряжений:
,
величина очень маленькая поэтому ее
учитывать не будем
тогда
Результирующий
коэффициент запаса прочности по формуле (8.17 [ 1 ] )
Условие
прочности выполнено.
Сечение
В-В.
Концентрация напряжений
обусловлена наличием шпоночного паза
принимаем
Момент
сопротивления кручению при d=35
мм; b=10 мм; t1=5 мм
Момент
сопротивления изгибу:
Изгибающий момент в
сечении B-B
Амплитуда
и среднее значение отнулевого цикла:
Амплитуда
нормальных напряжений:
,
величина очень маленькая поэтому ее
учитывать не будем
тогда
Результирующий
коэффициент запаса прочности по формуле (8.17 [ 1 ] )
Условие
прочности выполнено.
Материал
вала - сталь 45 улучшенная. По таблице 3.3[1]
Пределы
выносливости:

Сечение
А-А.
Концентрация напряжений
обусловлена наличием шпоночного паза
принимаем
Момент
сопротивления кручению при d=55
мм; b=16 мм; t1=6 мм
Момент
сопротивления изгибу:
Изгибающий
момент в сечении А-А
Амплитуда
и среднее значение отнулевого цикла:
Амплитуда
нормальных напряжений:
,
величина очень маленькая поэтому ее
учитывать не будем
тогда
Результирующий
коэффициент запаса прочности по формуле (8.17 [ 1 ] )
Условие
прочности выполнено.
Сечение
В-В.
Концентрация напряжений
обусловлена наличием шпоночного паза
принимаем
Момент
сопротивления кручению при d=42
мм; b=12 мм; t1=5 мм
Момент
сопротивления изгибу:
Изгибающий момент в
сечении B-B
Амплитуда
и среднее значение отнулевого цикла:
Амплитуда
нормальных напряжений:
,
величина очень маленькая поэтому ее
учитывать не будем
тогда
Результирующий
коэффициент запаса прочности по формуле (8.17 [ 1 ] )
Условие
прочности выполнено.
Смазывание
зубчатого зацепления производится окунанием зубчатого колеса на промежуточном
валу в масло, заливаемое внутрь корпуса до уровня, обеспечивающего погружение
тихоходного колеса примерно на 10 мм. Объем масляной ванны определяем из
расчета 0.25 дм3 масла на 1кВт передаваемой мощности: V=0.25*11=2.75 дм3. По
таблице 10.8[1] устанавливаем вязкость масла. Для быстроходной ступени при
контактных напряжениях
401,7 МПа и скорости v=2,8 м/с рекомендуемая вязкость масла
должна быть примерно равна 28*10-6 м2/с. Для тихоходной
ступени при контактных напряжениях
400,7 МПа и скорости v=1,05м/с рекомендуемая вязкость масла
должна быть примерно равна 34*10-6 м2/с.
Средняя
вязкость масла
По
таблице 10.10[1] принимаем масло индустриальное И-30А (по ГОСТ 20799-75).
Камеры
подшипников заполняем пластическим смазочным материалом УТ-1(табл.9.14[1]),
периодически пополняем его шприцем через пресс-масленки.
Посадки
назначаем в соответствии с указаниями, данными в табл. 10.13 [1].
Посадка
зубчатого колеса на вал H7/p6 по ГОСТ 25347-82.
Шейки
валов под подшипники выполняем с отклонением вала k6.
Отклонения
отверстий в корпусе под наружные кольца по H7.
Остальные
посадки назначаем, пользуясь данными табл. 10.13[1].
11.
Cписок литературы
1.
Чернавский
С.А. Курсовое
проектирование деталей машин: Учебное пособие для техникумов .– М.:
Машиностроение, 1980.–351 с.
2.
Шейнблит
А.Е. Курсовое
проектирование деталей машин: Учебное пособие для техникумов. – М.: Высшая
школа, 1991. – 432 с.: ил.
3.
Палей М.А. Допуски и посадки: Справочник: В 2ч.
Ч.1. – 7-е изд., - Л.: Политехника, 1991. 576с.: ил.
4.
В.И.Анурьев Справочник
конструктора-машиностроителя: т.1,2,3.-М.:Машиностроение, 1982г.576 с.,ил.
5.
Еремеев
В.К., Горнов Ю.Н. Курсовое
проектирование деталей машин: Методическое пособие и задания к проектам для студентов заочной формы
обучения всех технических специальностей. - И.: Изд-во ИрГТУ, 2004г. – 128 с.