ФХМА дизельного топлива

  • Вид работы:
    Курсовая работа (т)
  • Предмет:
    Химия
  • Язык:
    Русский
    ,
    Формат файла:
    MS Word
    1,6 Мб
  • Опубликовано:
    2015-03-20
Вы можете узнать стоимость помощи в написании студенческой работы.
Помощь в написании работы, которую точно примут!

ФХМА дизельного топлива

Министерство образования и науки Российской Федерации

Федеральное государственное бюджетное образовательное

учреждение высшего профессионального образования

«Национальный минерально-сырьевой университет «Горный»

Кафедра общей и физической химии








КУРСОВАЯ РАБОТА

По дисциплине: Аналитическая химия и физико-химические методы анализа

Тема работы: ФХМА дизельного топлива


Автор:

Шворак И.В.




Санкт-Петербург

Содержание

Введение

. Общая часть

.1 Определение содержания непредельных углеводородов в дизельном топливе по йодному числу

.2 Определение минеральных примесей

.2.1 Определение кислотности дизельного топлива

.2.2 Определение содержания воды

.3 Определение плотности

.3.1 Ареометрический метод

.3.2 Метод Вестфаля-мора

.3.3 Метод взвешенных капель

.3.4 Пикнометрический метод

.4 Определение вязкости

.5 Определение коэффициента поверхностного натяжения нефтепродуктов

.5.1 Метод кольца

.5.2 Метод Ребиндера-вейлера

.5.3 Сталагмометрический метод

.6 Рефракция

.7 Рентгенофлоуресцентный анализ

. Экспериментальная часть

.1 Определение содержания непредельных углеводородов в дизельном топливе по йодному числу

.2 Определение кислотности дизельного топлива

.3 Определение содержания воды

.4 Определение плотности

.5 Определение вязкости

.6 Определение коэффициента поверхностного натяжения

.7 Определение показателя преломления

.8 Определение элементного состава

Заключение

Библиографический список

Введение

Жидкое топливо является очень важным энергетически ресурсом. Оно широко используется как в транспорте, так и на производстве. С развитием моторостроения и форсированием режима работы различной техники, где применяются углеводородные топлива, к их качеству начали предъявлять новые требования. В связи с этим появляется необходимость в создании методов, позволяющих оценивать новые эксплуатационные показатели топлив. От того, насколько достоверно тем или иным методом можно оценить какое-либо свойство, насколько близко соответствует оценка, полученная данным методом, действительному поведению топлива в условиях его использования, во многом зависят результаты разработки сортов топлив необходимого качества, экономичность и надежность работы двигателей и техники в целом.

Хороший метод должен удовлетворять следующим общим требованиям: оценка какого-либо свойства должна быть достоверной (соответствовать действительным свойствам), воспроизводимой (в разное время, разными операторами), метод должен быть чувствителен к изменению определяемого свойства, оценочные параметры, должны быть точными (что зависит от прибора, способа измерения и др.).

Для достижения поставленных задач применяются физико-химические методы анализа, позволяющие определить эксплуатационные характеристики исследуемых топлив.

1. Общая часть

.1 Определение содержания непредельных углеводородов в дизельном топливе по йодному числу

углеводород дизельный топливо нефтепродукт

В дизельном топливе наряду с парафиновыми, нафтеновыми и ароматическими углеводородами содержатся так же непредельные углеводороды - олефины, которые образуются в основном при переработке нефти. Эти углеводороды характеризуются наличием в структуре молекул двойных или тройных связей. Непредельные углеводороды легко окисляются, полимеризуются, образуя высокомолекулярные асфальто-смолистые соединения. Присутствие подобных углеводородов в дизельном топливе нежелательно, так как приводит к сильному нагароотложению в топливной системе и выхлопном тракте.

Содержание непредельных углеводородов в нефтепродуктах определяется по иодному числу - это количество иода J2, г, поглощаемого 100 г испытуемого нефтепродукта.

В коническую колбу на 250 мл отмерить цилиндром 5 мл ацетона. Из капельницы с дизельным топливом внести в колбу с ацетоном 20 капель топлива. Определить массу дизельного топлива, г, узнав у преподавателя массу одной капли топлива:


В колбу добавить 10 мл спиртового раствора иода (раствор готовится из расчета 20 г J2 на 100 мл спирта) и 50 мл дистиллированной воды. Колбу быстро закрыть пробкой и встряхивать не менее 5 мин, затем поставить в темное место. Через 5 мин в колбу добавить 10 мл раствора иодида калия KJ (ω = 20 %).

Содержимое колбы оттитровать раствором гипосульфита натрия Na2S2O3 (Cн = 0,1 моль-экв/л), добавляя его порциями по несколько капель и постоянно перемешивая содержимое колбы. Раствор Na2S2O3 предварительно залить в бюретку, доведя уровень жидкости до верхнего нулевого деления. В ходе титрования, при появлении светло-желтой окраски в колбе, туда добавить 10 капель свежеприготовленного водного раствора крахмала (ω = 0,5 %). Продолжать титровать содержимое колбы до перехода сине-фиолетовой окраски в молочно-белую. Определить по бюретке объем раствора Na2S2O3, мл, пошедший на титрование пробы дизельного топлива.

В отдельной колбе провести контрольный опыт в той же последовательности и с теми же количествами реактивов, но без добавления топлива.

Рассчитать иодное число , г/100 г топлива по формуле:


где  - объем раствора Na2S2O3, израсходованного на титрование в контрольном опыте, мл;  - объем раствора Na2S2O3, израсходованного на титрование в опыте с образцом дизельного топлива, мл; F - фактор раствора гипосульфита натрия Na2S2O3, г J2 (определен расчетным путем и равен 0,9186); 0,01269 - количество J2, г, эквивалентное 1 мл раствора Na2S2O3;  - масса дизельного топлива, г.

Определить массовую долю , %, непредельных углеводородов в анализируемом дизельном топливе:

 

где M - средняя молярная масса непредельных углеводородов в топливе (приблизительно 150 г/моль), 254 - молярная масса иода J2, г/моль.

1.2 Определение минеральных примесей

.2.1 Определение кислотности дизельного топлива

Кислоты могут попасть в топливо при использовании загрязненной тары, или остаться в нем после кислотной очистки нефти на нефтеперерабатывающих заводах. Кроме того, растворимые органические кислоты образуются в дизельном топливе при деструкции и окислении углеводородов отдельных классов.

Кислоты агрессивны по отношению ко всем типам металлов и сплавов, щелочи разрушают сплавы амфотерных металлов: алюминия, цинка, свинца, олова.

Метод заключается в следующем, нужно отмерить цилиндром 50 мл дизельного топлива и вылить в делительную воронку, закрепленную в штативе. Туда же добавить 50 мл дистиллированной воды, предварительно нагретой до +50…+60 0С. Воронку аккуратно вынуть из штатива и содержимое ее перемешать в течение 5 мин, следя за тем, что бы слои жидкости скользили относительно друг друга.

Кислоты, присутствующие в дизельном топливе, растворяются в воде. Делительную воронку вновь закрепить в лапке штатива, дать жидкостям расслоиться, снять с воронки верхнюю пробку, подставить под носик воронки небольшой стакан и слить в него, приоткрывая нижний кран, 30…40 мл нижнего водного слоя.

Далее содержание кислот водного слоя определяют методом кондуктометрического титрования, используя в качестве титранта гидроксид натрия. Добавляя его порциями по 0,5 мл при постоянном перемешивании, реализуемом по средством магнитной мешалки, со снятием показаний кондуктометра.

Суть кондуктометрического титрования заключается в том, что при титровании определяемого вещества А стандартным раствором реактива В в случае получения нерастворимого или слабодиссоциирующего соединений (без учета разбавления) электропроводность раствора титруемого электролита уменьшается. Минимум на кривой титрования наблюдается к концу титрования (в точке эквивалентности). При избытке реактива электропроводность возрастает. Это служит признаком конца титрования.

Метод титрования, при котором точку эквивалентности фиксируют по резкому изменению электропроводности исследуемого раствора, носит название кондуктометрического титрования.

Так, например, в процессе титрования едкого натра хлористоводородной кислотой:


концентрация щелочи уменьшается. Так как электропроводность раствора значительно ниже электропроводности раствора и хлористоводородной кислоты, то по мере прибавления кислоты электропроводность раствора уменьшается и в точке эквивалентности будет наименьшей. При дальнейшем прибавлении хлористоводородной кислоты электропроводность вновь возрастает.

Рис. 1. Кривая кондуктометрического титрования раствором.

Рис. 2. Кривая кондуктометрического титрования раствором.

Кривые кондуктометрического титрования. Если отложить по оси абсцисс значения объемов прибавляемого титрованного раствора кислоты (в миллилитрах), а по оси ординат - величины электропроводности, получится характерная кривая кондуктометрического титрования (рис. 1). Точка эквивалентности при этом титровании совпадает с точкой минимума электропроводности.

Другой вид имеет кривая кондуктометрического титрования нитрата серебра хлоридом бария (рис. 2). В этом случае в процессе титрования не наблюдается заметного изменения электропроводности, но после достижения точки эквивалентности прибавление даже незначительного избытка хлорида бария вызывает повышение электропроводности. Кривые третьего типа получаются при титровании слабых кислот сильными основаниями или слабых оснований сильными кислотами (рис. 3). Здесь электропроводность до точки эквивалентности возрастает менее резко, чем после ее достижения.

Рис. 3. Кривая кондуктометрического титрования слабой кислоты сильным основанием.

Таким образом, форма получаемой кривой кондуктометрического титрования зависит от типа титрования, а изменения электропроводности обусловлены различной подвижностью ионов в одинаковых условиях опыта.

.2.2 Определение содержания воды

Вода - обычный спутник сырых нефтей. Содержание её в продуктах переработки нефти и, в частности, в очищенных маслах и лёгких горючих обычно практически очень мало, за исключением случаев обводнения нефтепродуктов.

Вода может содержаться в нефти и нефтепродуктах либо в виде простой взвеси, и тогда она легко отстаивается при хранении, либо в виде эмульсии, защитные плёнки которой могут быть образованы солями карбоновых кислот нефтей, смолисто-асфальтеновыми веществами, частицами глины и т.д., и тогда приходится прибегать к особым приёмам обезвоживания [5].

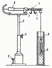
Определить содержание воды в нефти можно по методу Дина-Старка (рис. 4). Метод основан на отделении воды от нефти за счет азеотропной перегонки вода-растворитель (бензин).

Рис. 4. Прибор Дина-Старка: 1 - круглодонная колба; 2 - ловушка - приёмник; 3 - холодильник

Пробу нефти предварительно хорошо перемешивают. Затем в круглодонную колбу ёмкостью 0,5 л берут навеску нефти в количестве 100 г (с точностью до 0,02 г), наливают в колбу 100 мл бензин-калошу, добавляют "кипелки" (кусочки фарфора или керамики) и собирают прибор Дина-Старка (рис. 4). Вся используемая посуда (колба, ловушка-приёмник, обратный холодильник) должна быть чистой и сухой. Нагревание колбы с нефтью осуществляют с помощью электронагревательного прибора так, чтобы из холодильника в ловушку стекало по 2-4 капли в секунду сконденсированной азеотропной смеси воды с растворителем. Нагревание ведут до тех пор, пока объем воды в ловушке перестанет изменяться (30-60 мин.).

Содержание воды в нефти (в % мас.) определяют по формуле:

,

где V - объем воды в ловушке, мл;  - плотность воды; m - навеска нефти, г.

.3 Определение плотности

Плотность является простейшей характеристикой, дающей возможность ориентировочно судить о фракционном и химическом составах нефти. Абсолютной плотностью вещества называют количество массы, содержащейся в единице объема.

На величину плотности нефти и нефтепродуктов существенное влияние оказывает наличие растворенных газов, фракционный состав и количество смолисто-асфальтеновых веществ. Плотность нефти зависит от химического состава. Для нефтепродуктов c повышением температуры плотность нефтепродуктов уменьшается [1].

В практике нефтяного дела чаще определяют относительную плотность . Это безразмерная величина, показывающая отношение плотности нефтепродукта при температуре t2 к плотности дистиллированной воды при температуре t1. Стандартными температурами в некоторых странах, в том числе и в России приняты: для воды t1.= 4 оС, для нефтепродукта t2.= 20 оС. В других странах стандартной температурой нефтепродукта и воды является t1.= t2.= 60 оF, что примерно соответствует 15 оС. Таким образом обычно определяют  и . Поскольку плотность воды при 4 оС равна единице (1 г/см3), численные значения относительной и абсолютной плотности совпадают.

Существует несколько методов определения плотности нефтепродуктов. Выбор того или иного метода зависит от имеющегося количества нефтепродукта, его вязкости, требуемой точности определения и отводимого для анализа времени.

1.3.1 Ареометрический метод

Простейшим прибором для определения плотности жидких нефтепродуктов является ареометр (плотномер).

Градуировка ареометра отнесена к плотности воды при 4 оС и его показания соответствуют . Ареометром можно определить плотность только с точностью до 0,001 для маловязких и 0,005 для высоковязких нефтепродуктов [1].

В чистый сухой цилиндр, установленный на прочной подставке, осторожно наливают нефть с таким расчетом, чтобы при погружении ареометра она не переливалась через края цилиндра. Затем сухой и чистый ареометр (рис. 5), держа за верхний конец, опускают в нефть. Отсчет плотности производят по верхнему уровню мениска, при этом глаз наблюдателя должен находиться на уровне мениска. Температура нефти определяется по термометру ареометра или измеряется дополнительным термометром. Отсчет по шкале ареометра дает плотность при температуре испытания. Для приведения найденной плотности пользуются формулой Менделеева:

,

где  - средняя температурная поправка к плотности на 1 °С.

Рис. 5. Ареометр.

Поправка зависит от значения плотности испытуемого нефтепродукта. В обычной практике  находят по таблице в зависимости только от плотности.

1.3.2 Метод Вестфаля-мора

Весы Вестфаля-Мора состоят из вращающегося на призме коромысла 1 с висящим на конце его поплавком (который иногда снабжен термометром) и неподвижного штатива 3, имеющего внизу регулировочный винт 5, а наверху неподвижное острие. Коромысло состоит из двух частей или плеч: одно из них более короткое и широкое, другое более длинное и тонкое, разделенное на 10 делений, к последнему делению которого на тонкой платиновой нити подвешен стеклянный поплавок 8. Вес поплавка подобран таким, чтобы он точно уравновешивал коромысло в воздухе [2]. Прибор снабжен разновесами 7.

Рис. 6. Гидростатические весы Вестфаля-Мора: 1 - коромысло; 2 - призма; 3 - штатив; 4 - винт в стойке; 5 - регулировочный винт; 6 - противовес; 7 - серьги (гири); 8 - поплавок; 9 - цилиндр.

В чистый и сухой стакан, прилагаемый к весам Вестфаля-Мора (рис. 6), осторожно наливают нефть до тех пор, пока в него не погрузится поплавок и около 15 мм проволоки, на которой он подвешен. Равновесие весов нарушается. Для достижения равновесия на коромысла весов навешивают серьги (гири), начиная с самой крупной. Количеством гирь и их положением определяется видимая плотность нефтепродукта при данной температуре. Так как большая часть весов Вестфаля-Мора дает показания , то для пересчета значений  на стандартный и общепринятый показатель  пользуются формулой:

,

где 0,99823 - значение плотности воды при 20 оС; 0,0012 - значение плотности воздуха при 20 оС и давлении 0,1 МПа;  - "видимая" плотность, определенная гидростатическими весами;  - средняя температурная поправка на 1 оС.

1.3.3 Метод взвешенных капель

Для малого количества жидких нефтепродуктов (капли) либо для твёрдых веществ (парафина, битума и др.) пользуются методом уравнивания плотности, или методом взвешенной капли [1]: каплю или кусочек исследованного нефтепродукта вводят в спиртоводный () или водно-соляный раствор слабой концентрации () и добавляют в сосуд воду или концентрированный раствор соли до тех пор, пока испытуемый нефтепродукт не будет взвешен внутри раствора (рис. 7). В этом случае плотность нефтепродукта равна плотности раствора, которую определяют ареометром.

Этот способ пригоден лишь для технических целей.

Рис. 7. Прибор для определения плотности нефтепродукта методом взвешенных капель.

.3.4 Пикнометрический метод

Наиболее точный результат достигается при определении плотности пикнометром (до 0,00005). В зависимости от агрегатного состояния нефтепродукта, его количества и требуемой точности взвешивания применяют пикнометры различной формы и ёмкости.

Рис. 8. Пикнометр

Перед определением необходимо взвесить на аналитических весах с точностью до 0,0002 г вес чистого сухого пикнометра (рис. 8) с известным водным числом М, которое определяют по формуле:

М = М2 - М1,

где М2 - масса пикнометра с водой до метки в г;

М1 - масса пустого пикнометра в г.

При помощи пипетки с оттянутым носиком сухой пикнометр наполняют нефтью несколько выше метки, закрывают пробкой и помещают в водяной термостат с температурой 200,2 оС на 15-20 мин. Затем держа пикнометр за бумажный хомуток, удаляют избыток нефтепродукта, установив его уровень по нижнему краю мениска согласно метке пикнометра (для светлых нефтепродуктов уровень - по верхнему краю мениска). После этого пикнометр вытирают досуха и взвешивают на аналитических весах. Далее расчет проводится по формулам (2.9) и (2.10). Вместо формулы (2.10) можно использовать поправку, которую вычитают из значения .

,

где m3 - масса пикнометра с нефтью, г; m2 - масса сухого чистого пикнометра, г; m1 - масса пикнометра с водой, г.

Пересчет  в  осуществляют по формуле:

,

1.4 Определение вязкости

Вязкость жидкостей проявляется при перемещении в потоке разных её слоёв друг относительно друга с различной скоростью [4].

Вязкость является одной из важнейших характеристик нефтей и нефтепродуктов. Она характеризуется прокачиваемость нефти при транспортировке её по трубопроводам, прокачиваемость топлив в двигателях внутреннего сгорания, поведение смазочных масел в механизмах [1].

Чтобы оценить эффективность подогрева нефти для перекачки, вязкость её определяют при температурах 20 и 50 оС. Вязкость нефти тем больше, чем выше её относительная плотность и меньше содержание в ней светлых нефтепродуктов (особенно бензина). Однако при равных этих показателях вязкость нефтей с изменением температуры может изменяться по-разному в зависимости от их группового химического состава.

Основной закон вязкостного течения установлен Ньютоном:

,

где F - тангенсальная сила, вызывающая сдвиг слоёв друг относительно друга, Н;

S - площадь слоя, м2;

Коэффициент пропорциональности  называется динамической вязкостью.

Различают динамическую, кинематическую и условную вязкость. Кинематическая вязкость нефтей различных месторождений изменяется в довольно широких пределах (0,02-5,0)10-4 м2/с при 20 оС [3].

Динамическая вязкость измеряется в пуазах. Кинематическая вязкость численно равна отношению кинематической вязкости нефтепродукта к его плотности и измеряется в стоксах.

Для сравнительной оценки высоковязких нефтепродуктов и подобных им жидкостей пользуются также условной вязкостью, под которой понимается отношение времени истечения из стандартного вискозиметра (ГОСТ 1532-54) определённого объёма испытуемой жидкости ко времени истечения такого же количества дистиллированной воды при 20 оС [5].

Вязкость при данной температуре определяется по формуле:

,

где  - время истечения нефтепродукта при данной температуре; - водное число вискозиметра.

Для взаимного пересчёта различных единиц вязкости пользуются формулами, таблицами и программами.

Все вискозиметры по принципу действия делятся на следующие группы [5]:

) Капиллярные вискозиметры, основанные на определении текучести жидкости через капилляры. Из этой серии наибольшее применение получили вискозиметры Оствальда-Пинкевича и Фогеля-Освага;

Рис. 9. Стеклянный капиллярный вискозиметр: 1 - измерительный резервуар; 2 - капилляр; 3 - приёмный сосуд; M1 и М2 - метки, служащие для измерения времени истечения жидкости из измерительный резервуара.

) Приборы для определения вязкости по скорости падения тела или по затуханию колебаний твёрдого тела в испытуемой жидкости (вискозиметры Гуревича, Гепплера).

Рис. 10. Разрез вискозиметра Гепплера: 1 - установочные винты; 2 -ватерпас; 3 - запорная гайка; 4 - измерительная трубка; 5 - запорная пробка; 6 - термостатирующая рубашка; 7 - термометр; 8 - фиксатор.

) Ротационные вискозиметры Метод определения вязкости приборами данного типа состоит в измерении крутящего момента при круговом сдвиговом течении материала с постоянной скоростью в тонком кольцевом слое (в зазоре между коаксиально расположенными цилиндрами).

Рис. 11. Ротационный вискозиметр РВ-7 (с заданным крутящимся моментом): 1 - внутренний вращающийся цилиндр; 2 - внешний неподвижный цилиндр; 3 - ось вращающейся системы; 4 - термостат; 5 - мешалка термостата; 6 - термопары; 7 - шкив; 8 - тормоз; 9 - нить; 10 - блок; 11 - груз, вращающийся шкив. Скорость вращения шкива определяют по скорости опускания груза.

) Вискозиметр с вибрирующим зондом основан на изменении резонансной частоты колебаний в жидкости различной вязкости. Так как частота будет зависеть и от плотности измеряемой жидкости, некоторые модели позволяют определять эту плотность независимо от вязкости, тогда как другие используют заданное известное значение плотности [6].

Рис. 12. Вибрационный вискозиметр: 1 - U-образный камертон; 2 - постоянные магниты; 3 - чувствительные электроэлементы; 4 - пластины, определяющие уровень погружения чувствительных элементов в исследуемую жидкость; 5, 6 - катушки соответственно управления и привода; 7 - разделительный конденсатор; 8 - коллекторная цепь транзистора; 9 - сопротивление; 10 - плата; 11 - частотометр; 12 - сосуд с исследуемой жидкостью.

) Вискозиметр пузырькового типа основан на определении параметров движения пузырька газа, свободно всплывающего в вязкой среде.

1.5 Определение коэффициента поверхностного натяжения нефтепродуктов

Если поверхность жидкости представить себе как натянутую эластичную мембрану, то поверхностное натяжение жидкости можно рассматривать как силу, которая действует на единицу длины линии, ограничивающей поверхность жидкости, и стремится эту поверхность стянуть или уменьшить [5].

По мнению Гаусса, для того, чтобы увеличить поверхность S жидкости на величину dS, надо затратить некоторую энергию dr, которая для одной и той же величины dS будет зависеть от величины поверхностного натяжения жидкости. Таким образом:


Поверхностные явления играют большую роль в современных процессах нефтепереработки. Это связано с присутствием в нефтях и их фракциях некоторых полярных соединений (кислородных, сернистых и азотсодержащих) [1]. Поверхностное натяжение нефтяных жидкостей зависит от многих факторов, важнейшими из которых являются: температура, давление, химический состав жидкости, а также соприкасающихся с ней фаз.

1.5.1 Метод кольца

Это классический метод для определения поверхностного/межфазного натяжения, который основан на измерении максимального усилия (F) для отрыва кольца с известной геометрией (длиной смачивания, L), сделанного из хорошо смачиваемого материала (угол смачивания ϴ = 0°). При подъёме кольца жидкость стремится стечь с него, что приводит к постепенному утончению плёнки жидкости и отрыву кольца.

Сила межфазного натяжения рассчитывается на основе разницы между максимальным усилием (Fmax), приложенным для отрыва кольца, и силой гидростатического столба жидкости под кольцом (Fv). Данные для последней величины могут быть взяты из специальных таблиц (Харкинса-Джордана) или рассчитаны на основе разности плотностей фаз, геометрических данных кольца и высоты поднятия тонкого слоя жидкости. Краевой угол между жидкостью и стандартным кольцом равен нулю для большинства общеизвестных жидкостей (за исключением ртути).


Рис. 13. Метод кольца

Современные методы анализа показали, что максимальная нагрузка на весы (максимальное натяжение) фиксируется в момент, когда краевой угол смачивания равен 0°, при этом под кольцом образуется тонкая плёнка жидкости. В момент отрыва кольца плёнка жидкости истончается, и поверхностное / межфазное натяжение уже не максимально.

Современные тензиометры по методу кольца позволяют несколько раз растянуть/сжать тонкий слой плёнки без обрыва и, на основе нескольких измерений, рассчитать среднее значение (метод тонкой плёнки). В этом случае может быть зафиксировано изменение поверхностного натяжения во времени. Так как во время измерения происходят небольшие изменения площади поверхности, то метод также называют "псевдостатическим" (частично статическим).

В явном виде метод отрыва кольца можно наблюдать в аналоговом тензиометре K6. В современных цифровых тензиометрах (кроме тензиометра K20S) метод отрыва кольца оставлен больше для сравнения, чем для исследований. В основе современных тензиометров серии K (K20, K11, K100) лежат цифровые весы, которые позволяют чувствовать малейшее изменение веса.

Основной недостаток метода кольца дью Нуи - необходимость вводить поправки на прикладываемую силу из-за дополнительного веса жидкости под кольцом. Вес жидкости под кольцом необходимо вычесть из максимально измеренной силы, чтобы получить истинную силу, прикладываемую к кольцу для его отрыва от поверхности. Кроме веса жидкости под кольцом необходимо учитывать, разницу внешнего и внутреннего диаметра кольца. Максимальная нагрузка, при которой угол смачивания равен 0°, достигается по-разному для внутренней и внешней стороны кольца.

1.5.2 Метод Ребиндера-вейлера

Метод Ребиндера-Вейлера или метод определения максимального давления в пузырьке выполняется следующим образом [7]: в исследуемую жидкость 1, находящуюся в сосуде (рис. 14), вертикально опускается капиллярная трубка 2, узкий конец которой диаметром не более 0,5 мм касается мениска исследуемой жидкости. Другим концом эта трубка сообщается с атмосферным воздухом, поэтому внутри капилляра поддерживается атмосферное давление ро.

Рис. 14. Метод Ребиндера-Вейлера

Давление р над исследуемой жидкостью постепенно уменьшают с помощью водяного насоса. Разность давлений (ро − р) стремиться выдуть пузырек воздуха из капилляра в жидкость, но этому противодействует добавочное давление

Δр = 2σ/r

создаваемое силами поверхностного натяжения жидкости в образующемся пузырьке радиуса r и направленное к центру пузырька.

Наконец, при некоторой разности давлений (ро − р) из капиллярной трубки выдувается в жидкость воздушный пузырек. Разность давлений (ро − р), максимальная в этот момент, измеряется U-образным манометром и равна ρgh, где ρ − плотность жидкости в манометре, h − разность ее уровней.

Таким образом, в момент выдувания пузырька имеет место равенство:

ρgh = 2σ/r

Здесь неизвестен радиус r выдуваемого пузырька, измерить который крайне затруднительно. Поэтому прибегают к использованию эталонной жидкости, коэффициент поверхностного натяжения σo которой известен и близок к коэффициенту поверхностного натяжения σ исследуемой жидкости. При этом полагают, что радиусы пузырьков, выдуваемых из одного и того же капилляра в обоих случаях будут одинаковы.

Теперь вместо исследуемой жидкости в сосуд наливают эталонную жидкость и измеряют по манометру максимальную разность уровней ho, при которой пузырек воздуха выдувается в эталонной жидкости и выполняется равенство:

ρgho = 2σo/r

Разделив уравнение (2.11) на (2.12) и решив относительно σ, получаем формулу для вычисления поверхностного натяжения исследуемой жидкости:

σ = σoh/ho

Рассмотренным методом можно определять поверхностное натяжение и на границе раздела двух не смешивающихся жидкостей. В этом случае узкий конец капиллярной трубки должен касаться поверхности раздела этих жидкостей, но при этом следует обязательно учитывать гидростатическое давление ρ1gН жидкости, расположенной сверху, толщина слоя которой равна Н, а плотность − ρ1.

.5.3 Сталагмометрический метод

Под действием поверхностного натяжения свободная поверхность капель жидкости стремится принять шарообразную форму, соответствующую наименьшей поверхностной энергии и наименьшей площади свободной поверхности. Их форма тем ближе к шаровой, чем меньше вес капель, поскольку для малых капель сила поверхностного натяжения превосходит силу тяжести.

Форма и размер капель, отрывающихся от конца капиллярной трубки, зависят не только от силы поверхностного натяжения, но и от диаметра трубки и плотности вытекающей жидкости. При вытекании жидкости из капиллярной трубки размер капли постепенно растет. На рис. 15 показан процесс образования капли.

Рис. 15. Сталагмометрический метод

Перед отрывом капли образуется шейка, диаметр d которой несколько меньше диаметра d1 капиллярной трубки. По окружности шейки капли действуют силы поверхностного натяжения, удерживающие каплю. По мере увеличения размера капли растет сила тяжести mg, стремящаяся оторвать ее. В момент отрыва капли она равна результирующей силе поверхностного натяжения Fн = πdσ:

πdσ = mg

Отсюда следует, что, измеряя массу m одной капли и зная диаметр d шейки капли, можно вычислить коэффициент поверхностного натяжения:

σ = mg/(πd)

Массу одной капли определяют взвешиванием на аналитических весах определенного отсчитанного количества капель (другое название метода - метод счёта капель) и последующего вычисления средней массы одной капли.

.6 Рефракция

При переходе световых лучей из одной среды в другую их скорость и направление меняется. Эти явления известны под названием лучепреломления или рефракции.

Если луч попадает из оптически менее плотной среды в оптически более плотную, то он приближается к перпендикуляру, восстановленному в точке перехода. Если же, наоборот, то луч удаляется от этого перпендикуляра. С изменением угла падения меняется угол преломления, но отношение величин этих углов для одной и той же среды остаётся постоянным:

,

где r - угол падения; i - угол преломления.

Это отношение называется коэффициентом преломления.

Показатель преломления углеводородов будет тем меньше, чем больше в них относительное содержание водорода. Кроме того, при одинаковом содержании углеродных и водородных атомов в молекуле показатель преломления и плотность циклических углеводородов будет выше, чем алифатических [5].

Для жидкостей и твердых тел n определяют, как правило, относительно воздуха, для газов -относительно вакуума [9]. Значения n зависят от длины волны света и температуруры, которые указывают соответственно в подстрочном и надстрочном индексах, напр. -показатель преломления при 20 °С для D-линии спектра натрия (длина волны 589 нм). Часто используют также линии С и F спектра водорода (длина волны соответственно равна 656 и 486 нм). В случае газов необходимо учитывать зависимость n от давления (указывать его или приводить данные к нормальному давлению). Анизотропные тела одно- и двухосные кристаллы характеризуются соответственно двумя экстремальными или тремя значениями n.

Обычно n жидких и твердых тел определяют с точностью до 0,0001 на рефрактометрах, в которых измеряют предельные углы полного внутреннего отражения; при этом нет необходимости придавать образцу строго определенную геометрическую форму. Наиболее распространены рефрактометры с призменными блоками и компенсаторами дисперсии Аббе, позволяющие определять nD в "белом" свете по шкале или цифровому индикатору. Максимальная точность абсолютных измерений (10-10) достигается на гониометрах с помощью методов отклонения лучей призмой из исследуемого материала. Для измерения n газов наиболее удобны интерференционные методы; портативные ("шахтные") интерферометры выпускают большими сериями для контроля содержания СН4 в воздухе рудников, обнаружения утечки и скопления его в сетях бытового газоснабжения. Интерферометры используют также для точного (до 10-7) определения разностей n растворов. Для этой же цели служат дифференциальные рефрактометры, основанные на отклонении лучей системой двух-трех полых призм. При идентификации минералов n мелких крупинок (порошков) определяют иммерсионным методом, погружая крупинки в капли иммерсионных жидкостей с известными n и наблюдая в микроскоп (иногда при нагревании или изменении длины волны света) момент совпадения n. Обратный вариант иммерсионного метода-идентификация расплавов органических веществ с помощью микроскопа и набора стеклянных порошков с известными n (метод Кофлера) - получил распространение при анализе лекарственных препаратов.

Автоматические рефрактометры для непрерывной регистрации n в потоках жидкостей используют при контроле технологических. процессов и автоматическом управлении ими, в лабораториях - для контроля ректификации и как универсальные детекторы жидкостных хроматографов.

.7 Рентгенофлоуресцентный анализ

Для определения элементного состава вещества используют метод рентгенофлоурисцентного анализа (РФА). Метод РФА основан на сборе и последующем анализе спектра, полученного путём воздействия на исследуемый материал рентгеновским излучением.

При облучении атом переходит в возбуждённое состояние, сопровождающееся переходом электронов на более высокие квантовые уровни (рис. 16). В возбуждённом состоянии атом пребывает крайне малое время, порядка одной микросекунды, после чего возвращается в спокойное положение (основное состояние). При этом электроны с внешних оболочек либо заполняют образовавшиеся вакантные места, а излишек энергии испускается в виде фотона, либо энергия передается другому электрону из внешних оболочек (оже-электрон). При этом каждый атом испускает фотоэлектрон с энергией строго определённого значения.

Рис. 16. Модель атома Бора, модель электронных оболочек

Далее соответственно по энергии и количеству квантов судят о строении вещества. В качестве источника излучения могут использоваться как рентгеновские трубки, так и изотопы каких-либо элементов. Поскольку каждая страна имеет свои требования к ввозу и вывозу излучающих изотопов, в производстве рентгенофлуоресцентной техники в последнее время стараются использовать, как правило, рентгеновскую трубку.

2. Экспериментальная часть

Для исследования было взято дизельное топливо с локомотивного депо ОАО "РЖД"

.1 Определение содержания непредельных углеводородов в дизельном топливе по йодному числу

Йодное число для исследуемого дизельного топлива было вычислено в соответствии с методикой, описанной в п.2.1.


Измеренные и расчеты по формулам 1.2 и 1.3 параметры занесены в табл. 2.1.

Таблица 2.1

Образец

mдт, г

VКО, мл

V, мл

ИЧ, г

, %

Дизельное топливо

0,415

100,6

98,8

5,06

2,99


Где  - объем раствора Na2S2O3, израсходованного на титрование в контрольном опыте, мл;  - объем раствора Na2S2O3, израсходованного на титрование в опыте с образцом дизельного топлива, мл; F - фактор раствора гипосульфита натрия Na2S2O3, г J2 (определен расчетным путем и равен 0,9186); 0,01269 - количество J2, г, эквивалентное 1 мл раствора Na2S2O3;  - масса дизельного топлива, г.

2.2 Определение кислотности дизельного топлива

Кислотность исследуемого дизельного топлива была определена в соответствии с методикой, описанной в п. 2.2.1.

Установка для кондуктометрического титрования изображена на рис. 2.1.

Рис. 2.1. Установка для кондуктометрического титрования

Таблица 2.2 Измеренные показатели электропроводности занесены в табл. 2.2.

VNaOH, мл

σ, мСм/см

0,5

24,2

1,0

30,6

1,5

35,7

2,0

40,5

2,5

106,8

3,0

157,2

3,5

204,6

4,0

251,2

4,5

302,8


График зависимости электропроводности раствора от объема титранта изображен на рис. 2.2

Рис. 2.2. График зависимости электропроводности раствора от объема титранта

По данному графику следует, что точка эквивалентности достигается при объеме титранта равном 2 мл. Для титрования был взят гидроксид натрия концентрацией 0,5 н, но так как и проба дизельного топлива была 50 мл, а не 100, то следовательно и количество NaOH концентрацией 1 н, необходимое для нейтрализации кислот содержащихся в пробе 100 мл, равно 2 мл.

2.3 Определение содержания воды

Содержание воды в исследуемом дизельном топливе было определено по методу Дина-Старка (рис. 2.3)

Измеренные и рассчитанные по формуле 1.5 параметры занесены в табл. 2.3.

Рис. 2.3. Прибор Дина-Старка: 1 - круглодонная колба; 2 - насадка Дина-Старка; 3 - обратный холодильник.

Таблица 2.3

Образец

Vдт, мл

Vводы, млХ, %



дизельное топливо

0,83

0

0


Где Vводы - объем воды в ловушке, мл;  - плотность; Х - содержание воды, %.

.4 Определение плотности

Относительная плотность исследуемого дизельного топлива была определена при помощи пикнометра (рис. 1.8) в соответствии с методикой.

Измеренные и рассчитанные по формулам 1.9 и 1.10 параметры занесены в табл. 3.4


Таблица 2.4

Образец

Водяное число, М, г

m1, г

m2, г

m3, г

Плотность, Плотность,


Дизельное топливо

10

22,8

12,8

21,1

0,83

0,8287


Где m3 - масса пикнометра с нефтью, г; m2 - масса сухого чистого пикнометра, г; m1 - масса пикнометра с водой, г.

.5 Определение вязкости

Вязкость исследуемого дизельного топлива была определена на приборе HVM-472 HERZOG (рис. 2.4) при температуре 40 оС.

Рис. 2.4. Прибор для измерения вязкости HVM-472 HERZOG

Рис. 2.5. Результат измерения вязкости прибором HVM-472 HERZOG

Полученные данные занесены в табл. 2.5.

Таблица 2.5

Образец

Вязкость, , мм/с

Дизельное топливо

2,084


.6 Определение коэффициента поверхностного натяжения

Коэффициент поверхностного натяжения дизельного топлива был определён по методу кольца на приборе TD1C LAUDA.

Рис. 2.6. Прибор для измерения поверхностного натяжения TD1C LAUDA

Полученные данные занесены в табл. 2.6.

Таблица 2.6

Образец

Плотность, Коэффициент поверхностного натяжения, , мН/м


Дизельное топливо

0,83

29,8

2.7 Определение показателя преломления

Показатель преломления дизельного топлива был определён рефрактометрическим методом на приборе ИРФ-454Б2М (рис. 2.7).

Рис. 2.7. Рефрактометр ИРФ-454Б2М

Полученные данные занесены в табл. 2.7.

Таблица 2.7. Измерения

Образец

Показатель преломления,

Дизельное топливо

1,4615


2.8 Определение элементного состава

Анализ исследуемого дизельного топлива на наличие тяжёлых металлов был проведён рентгенофлоуресцентным методом на приборе Спектроскан Макс (рис. 2.8).

Рис. 2.8. Спектроскан Макс

В результате проведённого спектрального анализа было установлено, что в дизельном топливе содержаться железо, цинк и медь (рис. 2.9).

Рис. 2.9. Результаты анализа элементного состава

Заключение

В результате выполнения курсовой работы были достигнуты следующие цели:

. Установлены показатели качества исследуемого дизельного топлива такими физико-химическими методами анализа как:

·          определение содержания непредельных углеводородов в дизельном топливе по йодному числу

·        определение кислотности дизельного топлива

·        определение содержания воды

·        определение вязкости

·        определения показателя преломления

·        определение коэффициента поверхностного натяжения

·        определение элементного состава

. Обработаны экспериментальные данные.

·          Йодное число ИЧ=5,06 < 6

·        Кислотность VNaOH=2мл < 5

·        Содержание воды Х=0%

·        Плотность =0,8287 г/см3

·        Вязкость =2,084 мм/с

·        Показатель преломления =1,4615

·        Коэффициент поверхностного натяжения =29,8 мН/м

В соответствии с ГОСТ 305-82, по определенным показателям исследуемое дизельное топливо подходит для эксплуатации.

. Получены навыки работы с автоматическим вискозиметром HVM-472 HERZOG, прибором TD1C LAUDA, Рефрактометром ИРФ-454Б2М, Спектроскан Макс.

Библиографический список

1.     Гуревич И.Л. Технология переработки нефти и газа. Т.1. - М: Химия, 1972, с. 360.

2.      Технический анализ нефти и нефтяных фракций: Метод. указания к лабораторному практикуму / Казан. гос. технол. ун-т; Сост. А. А. Гречухина. Казань 2004, 61с.

.        Рыбак Б.М. Анализ нефти и нефтепродуктов - Л: Гостоптехиздат, 1962, с. 888.

.        Воюцкий С.С. Курс коллоидной химии - М: Химия, 1975, с. 512

.        Иоффе Б.В. Рефрактометрические методы химии, 3 изд., Л., 1983.

.        Ахметов А.Ф., Кондрашева Н.К., Герасимова Е.В. Основы нефтепереработки. Учебное пособие. Уфа, 2011 - 301 с.

.        Мандельштам Л.И. Полный сборник трудов, Т.1, М., 1947, с. 760

.        Сафиева Р.З. Физикохимия нефти - М: Химия, 1998, с. 448

9.     Правила оформления курсовых и квалификационных работ: Методические указания / Санкт-Петербургский государственный горный институт (технический университет). Сост.: И.О. Онушкина, П.Г. Талалай. СПб, 2005. 50 с.

10.   ГОСТ 305-82. Топливо дизельное (27.09.13).

Похожие работы на - ФХМА дизельного топлива

 

Не нашли материал для своей работы?
Поможем написать уникальную работу
Без плагиата!
Без нейросетей!