Установка обратного осмоса
ВВЕДЕНИЕ
Среди мембранных методов разделения жидких
смесей важное место занимают обратный осмос и ультрафильтрация [1-3]. В
последние годы их начали применять для опреснения соленых вод, очистки сточных
вод, получения воды повышенного качества, концентрирования технологических
растворов в химической, пищевой, микробиологической и других отраслях
промышленности. Обратный осмос основан на фильтровании растворов под давлением,
превышающим осмотическое, через полупроницаемые мембраны, пропускающие
растворитель, но задерживающие растворенные вещества (низкомолекулярные (три
обратном осмосе). Разделение проходит при температуре окружающей среды без
фазовых превращений, поэтому затраты энергии значительно меньше, чем в
большинстве других методов разделения (таких как ректификация, кристаллизация,
выпаривание и др.). Малая энергоемкость и сравнительная простота аппаратурного
оформления обеспечивают высокую экономическую эффективность указанного
процесса.
При проведении обратного осмоса получают два
раствора: оретант обогащении растворенными веществами, другой пермеат обеднен
ими.
Если каждый из этих растворов является готовым
продуктом (например, пермеат - чистая вода, приходная для использования на
производстве), обратный осмос может быть единственным массообменным процессом в
схеме разделения. Однако на практике чаше встречаются случае, когда концентрат
должен подвергаться более значительному концентрированию, чем может обеспечить
обратный осмос, либо пермеат требует более глубокой очистки.
Процесс мембранного разделения газов в настоящее
время используют для решения ограниченного числа задач, что связано с
необходимостью получения в каждом конкретном случае полупроницаемой мембраны,
обладающей высокой селективностью и проницаемостью по компонентам данной смеси.
Наиболее изучены следующие процессы мембранного разделения газов: получение
воздуха, обогащенного кислородом; получение азота; концентрирование водорода
продувочных газов синтеза аммиака и нефтепродуктов; выделение гелия, диоксида
углерода и сероводорода из природных газов; получение и поддержание состава
газовой среды, обеспечивающего длительную сохранность овощей и фруктов.
1. УСТАНОВКА ОБРАТНОГО ОСМОСА
Здесь рассматривается технологическая схема
концентрирования растворов, в которой основным узлом является установка
обратного осмоса. Ее использование позволяет существенно снизить общие затраты
на процесс концентрирования, поскольку большая часть воды удаляется этим
высокоэкономичным методом и лишь малая часть - сравнительно дорогим методом
(выпариванием).
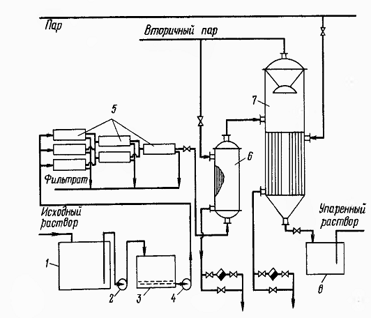
Технологическая схема установки представлена на
рис. 1. Исходный раствор неорганической соли из емкости / подается насосом 2 на
песочный фильтр 3, где очищается от взвесей твердых частиц. Далее раствор
насосом высокого давления 4 подается в аппараты обратного осмоса 5, где его
концентрация повышается в несколько раз. Концентрат подогревается в
теплообменнике 6 и направляется для окончательного концентрирования в выпарной
аппарат 7, работающий под избыточным давлением. (В случае больших
производительностей целесообразно для экономии греющего пара использовать
многокорпусную выпарную установку.) Упаренный раствор стекает в емкость 8.
Пермеат из аппаратов обратного осмоса возвращается для использования на
производстве либо сбрасывается в канализацию, в зависимости от его качества.
Вторичный пар из выпарного аппарата 7 направляется для обогрева других
производственных аппаратов, в том числе теплообменника 6. (В схеме может быть
предусмотрена система вентилей для отключения мембранных аппаратов, вышедших из
строя, и их замены без прекращения работы установки.)
Рисунок 1 - Технологическая схема установки для
концентрирования растворов с применением обратного осмоса: 1 - емкость для
исходного раствора; 2 - насос низкого давления; 3 - фильтр; 4 - насос высокого
давления; 5 - аппараты обратного осмоса; 6 - теплообменник; 7 - выпарной
аппарат; 8 - емкость для упаренного раствора
Задание
Рассчитать и спроектировать установку для
концентрирования 4 кг/сек водного раствора хлористого кальция от концентрации 1
% массовых до 25 % массовых. Первичное концентрирование провести обратным
осмосом, окончательное - выпариванием. Потери соли с пермиатом не должны
превышать 10 % от ее количества, содержащегося в исходном растворе. Выполнить
чертежи технологической схемы установки, мембранного аппарата и выпарного
аппарата.
2. РАСЧЕТ АППАРАТА
ОБРАТНОГО ОСМОСА
.1 Технологический
расчет
.1.1 Степень
концентрирования на ступени обратного осмоса
При концентрировании разбавленных растворов
обратный осмос экономичнее выпаривания. Однако начиная с концентраций
растворенных веществ 0,2-0,4 моль/л воды, характеристики обратного осмоса
начинают ухудшаться: становится существенным снижение удельной
производительности мембран и начинает уменьшаться их селективность, которая для
разбавленных растворов (при концентрациях не менее 2-10-4 моль/л) остается
примерно постоянной. Это приводит к увеличению необходимой поверхности мембран
и ухудшению качества пермеата, что снижает экономичность обратного осмоса. Поэтому
примем концентрацию 0,3 моль/л воды в качестве конечной для ступени обратного
осмоса. (Наиболее правильный путь - определять эту концентрацию на основе
технико-экономических расчетов.)
С помощыо данных, приведенных в
Приложении 11.1, находим, что выбранное значение соответствует концентрации 3,2
% (масс.). Таким образом, в аппаратах обратного осмоса раствор концентрируется
от начальной концентрации
% (масс.) до
конечной
% (масс.).
Степень концентрирования
2.1.2 Выбор
рабочей температуры и перепада давления через мембрану
С повышением температуры
разделяемого раствора селективность мембран изменяется мало, а удельная
производительность увеличивается в первом приближении обратно пропорционально
вязкости пермеата (в том диапазоне температур, где мембраны не разрушаются от
термических воздействий). Однако с повышением температуры возрастает скорость
гидролиза полимерных мембран и сокращается срок их службы. Учитывая это, а
также то, что использование теплообменников .усложняет и удорожает процесс,
обратный осмос целесообразно проводить при температуре окружающей среды (обычно
20-25 °С). В тех случаях, когда технологический раствор, подвергаемый разделению,
уже имеет повышенную температуру, экономически оправдана работа и при
температурах выше 25 °С.
С увеличением перепада рабочего
давления через мембрану возрастает движущая сила обратного осмоса и
увеличивается удельная производительность мембран. Однако при высоких давлениях
полимерные мембраны подвергаются уплотнению, которое при определенном давлении,
зависящем от структуры мембраны, может нейтрализовать эффект, связанный с
повышением движущей силы. Кроме того, при высоких давлениях мембраны быстрее загрязняются
взвешенными в растворе микрочастицами, поскольку в этих условиях загрязняющим
частицам легче внедриться в.поры мембраны, а на поверхности мембраны образуется
более плотный осадок задержанных микрочастиц. Практика применения обратного
осмоса показывает, что в условиях длительной эксплуатации оптимальный перепад
давления для полимерных плоских мембран составляет 5-6 МПа, а для мембран в
виде полых волокон - 2-3 МПа.
Выбираем t = 25°С,
МПа.
2.1.3 Выбор
мембраны
При выборе мембраны следует исходить
из того, что она должна обладать максимальной удельной производительностью при
селективности, обеспечивающей выполнение требований к качеству пермеата
(соответствие санитарным нормам или нормам на техническую воду, допустимым
потерям растворенного вещества и т. п.). Кроме того, мембрана должна обладать
высокой химической стойкостью по отношению к разделяемому раствору.
При работе в нейтральных растворах
наибольшее распространение получили ацетатцеллюлозные мембраны, которые
характеризуются хорошими разделительными свойствами, но не являются химически
стойкими в щелочных и сильнокислых средах (рабочий диапазон 3<pH<8).
Поскольку растворы
укладываются
в этот диапазон, последующий выбор проводим из ацетатцеллюлозных мембран.
Предварительно проводим подбор
мембраны по истинной селективности
от которой затем следует перейти к
наблюдаемой ф с учетом концентрационной поляризации в реальных мембранных
аппаратах [3]. Истинная селективность
, а наблюдаемая
,
,
и
-
концентрация соли в произвольном сечении аппарата соответственно в объеме
разделяемого раствора, в пермеате и у поверхности мембраны со стороны
разделяемого раствора).
Истинную селективность мембран по
отношению к сильным электролитам можно рассчитать по формуле:
,
где
и
- константы для данной мембраны при
определенных давлении и температуре;
- среднее геометрическое значение
теплот гидратации ионов, образующих соль;
- валентность иона с меньшей
теплотой гидратации.
Формула с высокой точностью
применима в диапазоне концентраций от 2·10-4 до 2·10-1 моль/л и приближенно -
до концентрации 4·10-1 моль/л.
Ниже представлены характеристики
ацетат-целлюлозных мембран для обратного осмоса, выпускаемых в России
(характеристики установлены при перепаде рабочего давления через мембрану
МПа и
рабочей температуре t=25 ºС, что
соответствует выбранным нами рабочим параметрам; в качестве удельной
производительности по воде указаны средние значения за длительный период
эксплуатации; значения констант а и
отвечают размерности
в
кДж/моль). В табл. 2.1 представлены характеристики ацетатцеллюлозных мембран
для обратного осмоса.
Таблица 2.1 - Представлены
характеристики ацетатцеллюлозных мембран для обратного осмоса
|
Марка
мембраны
|
Удельная
производительность по воде , Константы уравнения
|
|
|
|

|
|
|
МГА-100
|
1,4
|
6,70
|
3,215
|
|
МГА-95
|
2,3
|
3,47
|
1,844
|
|
МГА-90
|
3,0
|
2,67
|
1,420
|
|
МГА-80
|
4,9
|
1,00
|
0,625
|
Значения теплот гидратации ионов, необходимые
для расчета, приведены в Приложении 3.2.
Для рассматриваемого случая
кДж/моль,
кДж/моль,
. Тогда
кДж/моль.
Рассчитаем истинную селективность
для мембраны МГА-100:
Аналогичным образом определим
истинную селективность для остальных мембран в табл. 2.2.
Таблица 2.2 - Истинная селективность
для остальных мембран
|
Мембрана
|
МГА-100
|
МГА-95
|
МГА-90
|
МГА-80
|
|
0,9330,9770,9450,814
|
|
|
|
|
Приняв в первом приближении, что
наблюдаемая селективность равна истинной, определим среднюю концентрацию
растворенного
вещества в пемеате по формуле:
Расчет начнем с наиболее
производительной мембраны МГА-80:
кг соли/кг раствора.
Расход пермеата
найдем по
формуле:
где
- расход исходного раствора.
Тогда
кг/с
Расход соли с исходным раствором:
кг/с
Потери соли с пермеатом:
кг/с
что в процентах от количества,
содержащегося в исходном растворе, составит:
%.
Полученное значение больше
допустимого (10 %), поэтому рассмотрим следующую по удельной производительности
мембрану - МГА-90:
кг соли/кг раствора
кг/с
кг/с
что в процентах от количества, содержащегося
в исходном растворе, составит:
%.
Это значение находится в пределах
допустимого, поэтому выбираем для дальнейших расчетов мембрану МГА-90, имеющую
селективность по
и удельную
производительность по воде
2.1.4
Приближенный расчет поверхности мембраны
Удельная производительность мембран
при
разделении обратным осмосом водных растворов электролитов определяется
соотношением:
где
- перепад рабочего давления через
мембрану;
- осмотическое давление в объеме
разделяемого раствора;
- удельная производительность по
воде.
По данным приложения 11.1 строим
график зависимости осмотического давления от концентрации
(рис.3.1).
Рисунок 2.1 - Зависимость
осмотического давления водного раствора
от его концентрации при температуре
По графику находим
МПа;
МПа.
Удельная производительность на входе
разделяемого раствора в аппараты обратного осмоса и на выходе соответственно
равна:
В первом приближении принимаем, что
средняя удельная производительность мембраны может быть выражена как средняя
арифметическая величина:
Тогда рабочая поверхность мембран
составит:
2.1.5 Выбор
аппарата и определение его основных характеристик
Среди мембранных аппаратов наиболее
распространены аппараты с рулонными (спиральными) фильтрующими элементами, с
плоскокамерными фильтрующими элементами (типа «фильтр-пресс»), с трубчатыми
фильтрующими элементами, с мембранами в виде полых волокон. В установках
большой производительности целесообразно использовать аппараты первого или четвертого
типа как наиболее компактные (ввиду высокой удельной поверхности мембран).
Ориентируясь на отечественную
аппаратуру, выберем аппараты рулонного типа. Среди них наиболее перспективны
аппараты, каждый модуль которых состоит из нескольких совместно навитых
рулонных фильтрующих элементов (РФЭ). Такая конструкция позволяет уменьшить
гидравлическое сопротивление дренажа потоку пермеата благодаря тому, что путь,
проходимый пермеатом в дренаже, обратно пропорционален числу навитых РФЭ.
Выберем аппарат с РФЭ типа
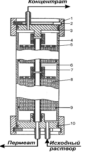
ЭРО-Э-6,5/900, выпускаемыми серийно отечественной промышленностью.
Аппарат (см,, рис. 11.3)
состоит из корпуса 4, выполненного в виде грубы из нержавеющей стали, в которой
размещается от одного до четырех рулонных модулей 8. Модуль формируется, навивкой
пяти мембранных пакетов на пермеатоотводящую трубку 6. Пакет образуют две
мембраны 11, между которыми расположен дренажный слой 13. Мембранный дакает
герметично соединен с пермеатоотводящей трубкой, кромки его также
герметизируют, чтобы предотвратить смешение разделяемого раствора с пермеатом.
Для создания необходимого зазора между мембранными пакетами при навивке модуля
вкладывают крупноячеистую сетку-сепаратор 12, благодаря чему образуются
напорные каналы для .прохождения разделяемого раствора.
Герметизация пермеатоотводящих
трубок в аппарате обеспечивается резиновыми кольцами 7., Герметизация корпуса
осуществляется с помощью крышек 3, резиновых колец 10 И упорных разрезных колец
2, помещаемых в прорези накидного кольца 1, привариваемого к корпусу 4.
Исходный раствор через штуцер
поступает в аппарат и проходит через витки модуля (напорные каналы) в осевом
направлении. Последовательно проходя все модули, раствор концентрируется и
удаляется из аппарата через штуцер отвода концентрата. Прошедший через мембраны
пермеат транспортируется по дренажному слою к пермеатоотводящей трубке,
проходит через отверстия в ее стенке и внутри трубки движется к выходному
Штуцеру. . :
С целью предотвращения
телескопического эффекта (возникающего вследствие разности, давлений модулей и
приводящего к сдвигу слоев навивки в осевом направлении) у заднего торца модуля
устанавливают антителескопическую решетку 5, в которую он упирается.
Байпасирование жидкости в
аппарате предотвращено резиновой манжетой 9, перекрывающей зазор между рулонным
модулем и внутренней стенкой корпуса.
Основные характеристики
аппарата ЭРО-Э-6,5/900 приведены ниже
Рисунок 2.2 - Схема устройства
аппарата рулонного типа: 1 - накидное кольцо; 2 - упорные кольца; 3 - крышки; 4
- корпус; 5 - решетка; 6 - пермеатоотводящая трубка; 7 - резиновые кольца;8 -
рулонные модули; 9 - резиновая манжетка; 10 - резиновые кольца.
Основные характеристики аппарата ЭРО-Э-6,5/900
приведены ниже:
Длина рулонного модуля
, м 0,90
Длина пакета
, м 0.95
Ширина пакета
, м 0,83
Высота напорного канала, равная
толщине сетки-
сепаратора
, м
Толщина дренажной сетки
, м
Толщина подложки
, м
Толщина мембраны
, м
Число элементов в модуле
5
Материал корпуса Сталь Х18Н10Т
Диаметр корпуса, мм
Толщина крышки, м
Диаметр крышки, м 0,108
Определим параметры аппарата,
необходимые для расчетов.
Поверхность мембран в одном элементе
определяется произведением
. Учитывая, что часть этой
поверхности используется для склеивания пакетов (примерно на длине 0,05 м) и не
участвует в процессе обратного осмоса, рабочую поверхность мембран в одном
элементе
определим
по соотношению:
Рабочая поверхность мембран в одном
модуле
равна
произведению
на число
элементов в модуле:
Примем, что аппарат состоит из двух
модулей. Тогда рабочая поверхность мембран в аппарате:

Сечение аппаратов по которому
проходит разделяемый раствор:
Общее число аппаратов в мембранной
установке
2.1.6
Секционирование аппаратов в установке
Проведем секционирование аппаратов в
установке, т. е. определим число последовательно соединенных секций, в каждой
из которых разделяемый раствор подается одновременно (параллельно) во все
аппараты.
Необходимость секционирования
обусловлена тем, что при параллельном соединении всех аппаратов велико
отрицательное влияние концентрационной поляризации, а при последовательном
соединении чрезмерно велико гидравлическое сопротивление потоку разделяемого
раствора.
Для модулей ЭРО-Э-6,5/900
экспериментально установлено, что оптимальный расход составляет 1000 л/ч (0,278
кг/с).
Тогда число аппаратов в первой
секции можно найти, разделив расход исходного раствора на значение оптимального
расхода для каждого аппарата:
.
Найдем значение
,
соответствующее данному значению
:
где
- расход пермеата;
- расход исходного раствора.
Далее определим число аппаратов в
последующих секциях:
Суммируя число аппаратов, замечаем,
что
, а
т. е. в случае 13 секций недостает
одного аппарата до общего числа 100, а в случае 14 секций количество аппаратов
больше на 3. Ограничимся 13 секциями, добавив по два аппарата к первым двум
секциям. На основании полученных данных имеем:
|
Секция
|
1
|
2
|
3
|
4
|
5
|
6
|
7
|
8
|
9
|
10
|
11
|
12
|
13
|
|
Число
аппаратов в секции
|
14
|
13
|
11
|
10
|
9
|
8
|
7
|
7
|
6
|
5
|
5
|
4
|
4
|
.1.7 Расчет наблюдаемой
селективности мембран
Наблюдаемую селективность рассчитываем по
формуле:
где
- скорость движения раствора по
направлению к мембране, вызванного отводом пермеата;
- коэффициент массоотдачи.
Проведем расчеты при средних значениях
рабочих параметров установки.
Средняя удельная производительность
; средняя
концентрация
% (масс.).
Средняя линейная скорость движения разделяемого
раствора в каналах мембранных аппаратов:
где
- расход концентрата.
Подставив значения получим:
м/с
Значения плотности
и нужные
для последующих расчетов значения коэффициентов кинематической вязкости
и диффузии
находим,
пользуясь данными Приложения 11.1.
Определим режим течения раствора.
Эквивалентный диаметр кольцевого
канала:
м
Критерий Рейнольдса:
Таким образом, в аппаратах
ламинарный режим течения разделяемого раствора.
Для нахождения среднего по длине
канала значения
в случае
ламинарного потока в щелевых и кольцевых каналах можно использовать
критериальное уравнение:
где
- диффузионный критерий Прандтля;
- длина канала, равная ширине
пакета.
Подставив численные значения,
получим:
Коэффициент массоотдачи:
м/с
Поперечный поток:
м/с
Теперь рассчитаем наблюдаемую
селективность:
откуда
Проверим пригодность выбранной мембраны. Для
этого определим концентрацию соли в пермеате, используя полученное значение
наблюдаемой селективности:
кг соли/кг раствора.
Найдем расход пермеата:
кг/с
Потери соли с пермеатом:
кг/с
что в процентах от исходного
содержания составляет
%. Это
значение меньше допустимого (10 %), поэтому нет необходимости перехода к более
селективным мембранам.
2.1.8
Уточненный расчет поверхности мембран
Рассчитаем удельную
производительность мембран с учетом осмотического давления раствора у
поверхности мембраны и пермеата. Необходимые для расчета концентрации
и
найдем
следующим путем. Согласно определению,
где
,
и
- концентрация соли в произвольном
сечении аппарата соответственно в объеме разделяемого раствора, в пермеате и у
поверхности мембраны со стороны разделяемого раствора
Отсюда для каждого поперечного
сечения можно записать:
Рассмотрим два крайних сечения.
Сечение на входе в аппараты первой
секции:
кг соли/кг раствора
кг соли/кг раствора
По графику (см. рис. 3.1) находим:
МПа
МПа
Сечение на выходе из аппаратов
последней секции:
кг соли/кг раствора
кг соли/кг раствора
МПа
МПа
Выразим удельную производительность
в виде функции от концентрации раствора по уравнению:
где
- константа для данной системы.
Найдем значение
для крайних
сечений:
Разница между полученными
значениями, выраженная в процентах, составляет:
%
Это расхождение невелико, поэтому
уравнение для нахождения удельной производительности применимо ко всей
установке при использовании среднеарифметического значения
:
Тогда удельная производительность
Рабочую поверхность мембран можно
определить по формуле (
):
Расхождение со значением, полученным
в первом приближении, составляет
%
Полученная разница не превышает 10
%, поэтому перерасчета не делаем.
.2 Расчет
гидравлического сопротивления
Развиваемое насосом давление
рассчитывается
по формуле:
где
- перепад давления через мембрану;
- гидравлическое сопротивление при
течении жидкости в каналах аппарата;
- гидравлическое сопротивление
дренажного слоя.
Определение
.
где
- гидравлическое сопротивление
полых каналов;
- коэффициент, зависящий от вида
сепарирующей сетки. Обычно
. Для рассматриваемых рулонных
модулей по экспериментальным данным
.
Раствор течет от первой до последней
секции в каналах кольцевого сечения вдоль оси аппаратов. Общая длина канала
равна
произведению числа секций, числа модулей в аппарате и длины пути в модуле,
равной ширине мембранного пакета:
м.
Значение
определяют
на основе общего выражения:
При ламинарном режиме течения в
кольцевых и щелевых каналах
. Тогда
Па
Па
Определение
.
где
- коэффициент, зависящий от вида
дренажного материала. Обычно
.
Эквивалентный диаметр ( в
перерасчете на полный канал) равен:
м.
Па
Примем
. Тогда
Па
Определим давление, которое должен
развивать насос:
Па
Напор насоса (при плотности
исходного раствора
)
м
штуцер выпарной концентрация секционирование
3. Расчет трехкорпусной
выпарной установки
.1 Технологический
расчет
.1.1 Определение
поверхности теплопередачи выпарного аппарата
Поверхность теплопередачи каждого корпуса
выпарной установки определяют по основному уравнению теплопередачи:
= Q/K∆tП
Для определения тепловых нагрузок Q,
коэффициентов теплопередачи K и полезных разностей температур
необходимо
знать распределение упариваемой воды, концентраций растворов и их температур
кипения по корпусам. Эти величины находят методом последовательных приближений.
Первое приближение
Производительность установки по выпариваемой
воде определяют из уравнения материального баланса:
= GН(1-xН/xК)
GН = 4 кг/с; xН
= 3,2%; xК = 25%.
Подставив, получим:
W = 4 (1-3,2/25) =
3,49 кг/с
.1.2 Концентрация
упариваемого раствора.
Распределение концентраций раствора по корпусам
установки зависит от соотношения нагрузок по выпариваемой воде в каждом
аппарате. В первом приближении на основании практических данных принимают, что
производительность по выпариваемой воде распределяется между корпусами в
соответствии с соотношением.
1 : w2
: w3 = 1,0 : 1,05 :
1,1
Тогда
w1 = 1,0W/(1,0+1,05+1,1)
= 1,0W/3,15
w2 = 1,05W/(1,0+1,05+1,1)
= 1,05W/3,15
w3 = 1,1W/(1,0+1,05+1,1)
= 1,1W/3,15
Получаем:
w1 = 1,0∙3,49/3,15
= 1,11 кг/с
w2 = 1,05∙3,49/3,15
= 1,16 кг/с
w3 = 1,1∙3,49/3,15
= 1,22 кг/с
Далее рассчитываем концентрации растворов в
корпусах:
= GH∙xH/(GH-w1)= GH∙xH/(GH-w1-w2)=
GH∙xH/(GH-w1-w2-w3)
Пдставив, находим:
x1 = 4∙0,032/
(4-1,11) = 4,4%
x2 = 4∙0,032/
(4 -1,11-1,16) = 7,4%
x3 = 4∙0,032/
(4-1,11-1,16-1,22) =25%
Концентрация раствора в последнем корпусе x3
соответствует заданной концентрации упаренного раствора xk.
.1.3 Температуры
кипения растворов
Общий перепад давлений в установке равен:
∆PОБ
= PГ1 - РБК = 0,5-0,01
= 0,49 МПа
В первом приближении общий перепад давлений
распределяют между корпусами поровну. Тогда давления греющих паров в корпусах
равны:
РГ1 = 0,49 МПа
РГ2 = РГ1 - ∆РОБ/3
РГ3 = РГ2 - ∆РОБ/3
Подставив, получим:
РГ2 = 0,49- 0,49 /3 = 0,33 МПа
РГ3 = 0,33 - 0,49 /3 = 0,17 МПа
Давление в барометрическом конденсаторе:
РБК = РГ3-∆РОБ/3
РБК = 0,17 - 0,49 /3 = 0,01 МПа
что соответствует заданному значению РБК.
Таблица 3.1 -Характеристика по давлениям паров
их температуры и энтальпии
t,°C
|
I,кДж/кг
|
|
РГ1
=0,49
|
tГ1 = 150,2
|
IГ1 = 2752
|
|
РГ2
= 0,33
|
tГ2 = 135,9
|
IГ2 = 2735
|
|
РГ3
= 0,17
|
tГ3 = 114,5
|
IГ3 = 2706
|
|
РБК
= 0,01
|
tБК = 47,3
|
IБК = 2581
|
При определении температуры кипения растворов в
аппаратах исходят из следующих допущений. Распределение концентраций раствора в
выпарном аппарате с интенсивной циркуляцией практически соответствует модели
идеального перемешивания. Поэтому концентрацию кипящего раствора принимают
равной конечной в данном корпусе и, следовательно, температуру кипения раствора
определяют при конечной концентрации.
Изменение температуры кипения по
высоте кипятильных труб происходит вследствие изменения гидростатического
давления столба жидкости. Температуру кипения раствора в корпусе принимают
соответствующей температуре кипения в среднем слое жидкости. Таким образом,
температура кипения раствора в корпусе отличается от температуры греющего пара
в последующем корпусе на сумму температурных потерь
от
температурной (Δ'),
гидростатической (Δ'') и
гидродинамической (Δ''')
депрессий (∑Δ=Δ' +Δ''+Δ''').
Гидродинамическая депрессия
обусловлена потерей давления пара на преодоление гидравлических сопротивлений
трубопроводов при переходе из корпуса в корпус. Обычно в расчетах принимают Δ''''=1,0-1,5
град на корпус. Примем для каждого корпуса Δ'''' = 1 град. Тогда
температуры вторичных паров в корпусах (в °С) равны:
ВП1 = tГ2 + ∆1'''
tВП2 = tГ3 + ∆2'''
tВП3 = tБК + ∆3'''
Подставив, получим:
tВП1 = 135,9+
1 = 136,9°С
tВП2 = 114,5+
1 = 115,5°С
tВП3 = 47,3+
1 = 48,3°С
Сумма гидродинамических депрессий:
∑∆''' = ∆1''' + ∆2'''
+ ∆3'''
∑∆''' = 3°C
По температурам вторичных паров
определим их давления. Они равны сответственно в (Па) табл 3.2:
Таблица 3.2 - Давления вторичных
паров
|
P, МПаt,°Cr
,кДж/кг
|
|
|
|
PВП1 =0,323
|
tВП1 = 135,4
|
r ВП2= 2163
|
|
РВП2 = 0,174
|
tВП2 = 115,5
|
r ВП2= 2221
|
|
РВП3 = 0,012
|
tВП3 = 48,3
|
r ВП3= 2395
|
Гидростатическая депрессия обусловлена разностью
давлений в среднем слое кипящего раствора и на его поверхности. Давление в
среднем слое кипящего раствора Pср каждого корпуса определяется по уравнению.
Рср = Рвп + ρ∙g∙H∙(1-ε)/2
где H
- высота кипятильных труб в аппарате, м;
p - плотность
кипящего раствора, кг/м3;
ε - паронаполнение
(объемная доля пара в кипящем растворе), м3/м3.
Для выбора значения H необходимо ориентировочно
оценить поверхность теплопередачи выпарного аппарата Fор. При кипении водных
растворов можно принять удельную тепловую нагрузку аппаратов с естественной
циркуляцией q=20000-50000Вт/м2, аппаратов с принудительной циркуляцией
q=40000-80000 Вт/м2. Примем q=40000 Вт/м2. Тогда поверхность теплопередачи 1-го
корпуса ориентировочно равна:
= Q/q
= w1∙r1/q
= 0,444∙2163∙103 /40000 = 24 м2
где r1
= 2163 - теплота парообразования вторичного пара, кДж/кг.
По ГОСТ 11987 - 81[3] трубчатые аппараты с
выносной циркуляционной трубой (тип 3, исполнение 2) состоят из кипятильных
труб высотой 5 м при диаметре dн=38 мм и толщине стенке dст=2 мм. Примем высоту
кипятильных труб Н = 4 м.
При пузырьковом (ядерном) режиме кипения
паронаполнение составляет e = 0,4 - 0,6. Примем ε
= 0.5. Плотность водных растворов, в том числе раствора СаСl2
при соответствующих концентрациях и температурах в корпусах равна:
ρ1 = 1089,18 кг/м3, ρ2
= 1119,84 кг/м3, ρ3 = 1188
кг/м3.
Давление в среднем слое кипятильных труб
корпусов (в Па) равны:
РСР1 = РВП1 + ρ1∙g∙H∙(1-ε)/2
РСР1 = 32,3∙104 + 1089,18∙9,8∙4(1-0,5)/2
= 33,3∙104 Па
РСР2 = РВП2 + ρ2∙g∙Н∙(1-ε)/2
РСР2 = 17,4∙104 + 1119,84∙9,8 ∙4
(1-0,5)/2 = 19,3∙104 Па
РСР3 = РВП3 + ρ3∙g∙Н∙(1-ε)/2
РСР3 = 1,2 ∙104 + 1188∙9,8∙4(1-0,5)/2
= 3,25∙104 Па
Этим давлениям соответствуют следующие
температуры кипения и теплоты испарения растворителя (табл. 3.3):
Таблица 3.3 Температуры кипения и теплоты
испарения растворителя
|
P, Па
|
t, °C
|
r,кДж/кг
|
|
РСР1
= 33,3∙104
|
tСР1 = 137,8
|
rВП1 = 2165
|
|
РСР2
= 19,3∙104
|
tСР2 = 121,8
|
rВП2 = 2215
|
|
РСР3
= 2,4∙104
|
tСР3 = 63,3
|
rВП3 = 2342
|
Определим гидростатическую депрессию по
корпусам:
Δ1'' = tСР1
- tВП1
Δ2'' = tСР2
- tВП2
Δ3'' = tСР3
- tВП3
Δ1'' = 137,8-
135,4= 2,4 0С
Δ2'' = 121,8-
115,5= 6,3 0С
Δ3'' = 63,3 -
48,3= 15 0С
Сумма гидростатических депрессий:
∑∆'' = ∆1'' + ∆2'' + ∆3''
∑∆'' = 2,4 + 6,3 + 15 = 23,7°C
Температурную депрессию Δ'
определим по уравнению:
Δ'=1,62·10-2·Δ'атмТ2/rвп
где T- температура паров в среднем слое
кипятильных труб, К;
Δ'атм -
температурная депрессия при атмосферном давлении [1, приложение 4.5].
∆АТМ1' = 2,135°C
∆АТМ2' = 3,302°C
∆АТМ3' = 6,0°C
Находим значение Δ'
по корпусам (в °C)
∆1' = 1,62∙10-2∙2,135∙(137,8+
273)2 / 2165= 2,65°C
∆2' = 1,62∙10-2∙3,302∙(121,8+
273)2 / 2215= 3,7°C
∆3' = 1,62∙10-2∙6,0∙(63,3+
273)2 / 2342= 4,9°C
Сумма температурных депрессий:
∑∆' = ∆1' + ∆2' + ∆3'
∑∆' = 11,25 °C
Температуры кипения растворов в корпусах равны
(в °C):
К1 = tГ2
+ ∆1' + Δ1''
+ ∆1'''
tК2 = tГ3
+ ∆2' + Δ2''
+∆2'''
tК3 = tБК
+ ∆3' + Δ3''+
∆3'''
К1 = 135,9+ 2,65 +2,4 + 1 = 141,95
tК2 = 114,5+ 3,7 +
6,93+ 1 = 126,1
tК3 = 47,3 + 4,9 +
15 + 1 = 68,2
.1.4 Полезная разность температур:
∆tП1
= tГ1 - tK1
= 150,2 - 141,95
∆tП1
= 8,25°С
∆tП2
= tГ2 - tK2=
135,9 - 126,1
∆tП2
= 9,8°С
∆tП3
= tГ3 - tK3
= 114,5 - 68,2
∆tП3
= 46,3°С
Общая полезная разность температур
∑∆tП
= ∆tП1 + ∆tП2
+ ∆tП3
∑∆tП
= 8,25+ 9,8+ 46,3= 64,35°С
Проверим общую разность температур:
∑∆tП
= tГ1-tБК-(∑∆'
+ ∑∆'' + ∑∆''' )
∑∆tП
= 150,2-47,3-(11,25 + 23,3 + 3) = 64,35°С
3.1.5 Определение
тепловых нагрузок
Расход греющего пара в 1-й корпус,
производительность каждого корпуса по выпаренной воде и тепловые нагрузки по
корпусам определим путем совместного решения уравнений тепловых балансов по
корпусам и уравнения баланса по воде для всей установки:
1 = D∙
i Г1 = 1,035∙[GH∙cH∙(tK1-tH)+w1∙
rВП1+Qконц]
Q2 = w2∙
i Г2 = 1,025∙[(GH-w1)∙c1∙(tK2-tK1)+w2∙
rВП2+ Qконц2]
Q3 = w2∙
i Г1 = 1,015∙[(GH-w1-w2)∙c2∙(tK3-tK2)+w3∙
rВП2 + Qконц3]
W = w1
+ w2 + w3
(22)
где 1,035; 1,025; 1,015 - коэффициенты,
учитывающие потери тепла в окружающую среду;
сН,с1,с2 - теплоемкости растворов соответственно
исходного, в первом и во втором корпусах, кДж/(кг∙К) [4];конц, Qконц2,
Qконц3 - теплоты концентрирования по корпусам, кВт; tн - температура кипения
исходного раствора при давлении в 1-м корпусе; tн=tвп1+∆'н=150,2+1,8=153
(где ∆н - температурная депрессия для исходного раствора); можно принять:
Анализ зависимости теплоты концентрирования от
концентрации и температуры показал, что она наибольшая для третьего корпуса.
Поэтому рассчитаем теплоту концентрирования для 3- го корпуса:
конц3 = G
сух Δq=G
н x н Δq
где G
сух - производительность по сухому СаСl2,
кг/с;
Δq
- разность интегральных теплот растворения при концентрациях х2 и х3,
кДж/кг.конц3 = 0,66·0,14=0,09.
Сравним Qконц3 с ориентировочной тепловой
нагрузкой для 3-го корпуса Q3ор
ор = (GH-w1-w2)∙c2∙(tK3-tK2)+w3∙(IВП3-cВ∙tK3)
ор = (2,06-0,444-0,467) ∙3,64∙(68,2-126,1)+0,489∙(2706-4,19∙68,2)=941,5
кВт
Поскольку Qконц3 составляет значительно меньше 3
% от Q3ор, в уравнениях тепловых балансов пренебрегаем этой величиной.
Получим систему уравнений:
1=D∙632,7=1,035∙[2,06∙3,85∙(141,95-22)+w1∙2163]
Q2=w1∙569,9=1,025∙[(2,06-w1)∙3,78∙(126,1-141,95)+w2∙2221]
Q3=w2∙480,3=1,015∙[(2,06-w1-w2)∙3,65∙(68,2-126,1)+w3∙2395]
w1 + w2
+ w3 = 3,49
Решение этой системы уравнений дает следующие
результаты:
D = 3,15 кг/с; w1=
1,11 кг/с; w2 = 1,16 кг/с; w3
= 1,22 кг/с
Q1= 1998,5 кВт; Q2
= 1464,2 кВт; Q3 = 1069,5 кВт;
Наибольшее отклонение вычесленных нагрузок по
испаряемой воде в каждом корпусе от предварительно принятых ( w1=
0,444 кг/с, w2 = 0,467 кг/с, w3
= 0,389 кг/с) не привышает 3 %, поэтому не будем пересчитывать концентрации и
температуры кипения.
Таблица 3.4 - Параметры растворов и паров по
корпусам
|
Параметр
|
Корпус
|
|
1
|
2
|
3
|
|
Производительность
по испаряемой воде, w, кг/с
|
1,11
|
1,16
|
1,22
|
|
Концентрация
растворов x, %
|
10,2
|
14,3
|
25
|
|
Давление
греющих паров Pг , МПа
|
0,49
|
0,33
|
0,17
|
|
Температура
греющих паров tг , °C
|
150,2
|
135,9
|
114,5
|
|
Температурные
потери
,
град6,0511,6320,9
|
|
|
|
|
Температура
кипения раствора tk, °C
|
141,95
|
126,1
|
68,2
|
|
Полезная
разность температур , град8,259,846,3
|
|
|
|
3.1.6 Выбор конструкции
выпарного аппарата.
Аппараты с вынесенной зоной кипения. При
скоростях 0,25-1,5 м/сек с которыми движется раствор в аппаратах с естественной
циркуляцией, не удается предотвратить отложения твердых осадков на поверхности
теплообмена. Поэтому требуется периодическая остановка аппаратов для очистки,
что связано со снижением их производительности и увеличением стоимости
эксплуатации.
Загрязнение поверхности
теплообмена при выпаривании кристаллизующихся растворов можно значительно
уменьшить путем увеличения скорости циркуляции раствора и вынесением зоны его
кипения за пределы нагревательной камеры.
В аппарате с вынесенной зоной кипения (рис. 1)
выпариваемый раствор поступает снизу в нагревательную камеру 1 и, поднимаясь по
трубам (длиной 4-7 м) вверх, вследствие гидростатического давления не закипает
в них. При выходе из кипятильных труб раствор поступает в расширяющуюся кверху
трубу вскипания 2, установленную над нагревательной камерой в нижней части
сепаратора 3. Вследствие понижения давления в этой трубе раствор вскипает и
таким образом, парообразование происходит за пределами поверхности нагрева.
Циркулирующий раствор опускается по наружной не
обогреваемой трубе 4. Упаренный раствор отводится из кармана в нижней части
сепаратора 3. Вторичный пар, пройдя отбойник 5 и брызгоуловитель 6, удаляется
сверху аппарата. Исходный раствор поступает либо в нижнюю часть аппарата (под
трубную решетку нагревательной камеры), либо сверху в циркуляционную трубу 4.
Вследствие большой поверхности испарения,
которая создается в объеме кипящего раствора, и частичного самоиспарения
капель, унесенных вторичным паром, значительно снижается брызгоунос. Кипящий
раствор не соприкасается с поверхностью теплообмена, что уменьшает отложение
накипи.
В виду значительного перепада
температур (до~30°С) между греющим паром и раствором и малой потери напора в
зоне кипения скорость циркуляции в этих аппаратах достигает 1,8-2 м/сек.
Увеличение скорости приводит к увеличению
производительности и интенсификации теплообмена. Коэффициенты теплопередачи в
таких аппаратах достигают 3000 вт/(м2·град) [2580 ккал/( м2·ч·град)].
Аппараты с вынесенной зоной кипения могут
эффективно применяться для выпаривания кристаллизующихся растворов умеренной
вязкости.
Рисунок 3.1 - Аппарат выпарной с вынесенной
зоной кипения
Выбор конструкционного материала.
Выбираем конструкционный материал, стойкий в
среде кипящего СaCl2
в интервале изменения концентраций от 3,2 до 25%. В этих условиях химически
стойкой является сталь марки Х17. Скорость коррозии ее не менее 0,1 мм/год,
Коэффициент теплопроводности
λСТ = 45,1 Вт/(м∙К)
.1.7 Расчет
коэффициентов теплопередачи
Коэффициент теплопередачи для первого корпуса определяют
по уравнению аддитивности термических сопротивлений:
Примем, что суммарное термическое
сопротивление равно термическому сопротивлению стенки и накипи. Термическое
сопротивление загрязнений со стороны пара не учитываем. Получим:
∑δ/λ =
0,002/45,1 + 0,0005/2 = 0,000287 м2∙К/ Вт
Коэффициент теплоотдачи от
конденсирующегося пара к стенке a1 равен:
где r1- теплота конденсации греющего
пара, Дж/кг;
- соответственно плотность (кг/
).
теплопроводность Вт/(
), вязкость
(
) конденсата
при средней температуре пленки,
,
где
- разность температур конденсации
пара и стенки, град.
ПЕРВЫЙ КОРПУС
Расчет
- ведут
методом последовательных приближений. В первом приближении примем
=1 0С. Тогда
ПЛ = tГ1-∆t1/2
tПЛ = 150,2-1/2 =
143,9 °С
1 = 2121800 Дж/кг ρЖ
= 918,3 кг/м3
μЖ = 0,00013 Па∙с
λЖ
= 0,599 Вт/(м∙К)
Для установившегося процесса
передачи тепла справедливо уравнение
где q - удельная тепловая нагрузка, Вт/
;
Δtст
- перепад температур на стенке, град;
Δt2 - разность между
температурой стенки со стороны раствора и температурой кипения раствора, град.
Отсюда
Тогда
Коэффициент теплоотдачи от стенки к
кипящему раствору для пузырькового кипения в вертикальных кипятильных трубках
при условии естественной циркуляции раствора равен:
Физические свойства кипящего
раствора СaCl2 сведем в
таблицу 3.5.
Таблица 3.5 - Физические свойства
кипящего раствора СaCl2
|
Параметр
|
Корпус
|
|
1
|
2
|
3
|
|
Теплопроводность
раствора λ, Вт/(м·К)
|
0,57
|
0,59
|
0,6
|
|
Плотность
растворов ρ, кг/м3
|
1042
|
1086
|
1166
|
|
Теплоемкость
раствора с, Дж/ (кг·К)
|
3450
|
3198
|
2346
|
|
Вязкость
раствора µ, Па·с
|
0,0019
|
0,0031
|
0,0071
|
Подставив численные значения, получим:
Проверим правильность первого
приближения по равенству удельных тепловых нагрузок:
' = α1∙∆t1
' = 8946∙1 = 17891 Вт/м2
'' = α2∙∆t2
'' = 1762∙3,75 = 6607 Вт/м2
Как видим, q' ≠ q''
Расхождение между тепловыми
нагрузками превышает 3%.
Для второго приближения примем
=0,5 0С.
Пренебрегая изменением физических
свойств конденсата при изменении температуры на 1,5 градуса рассчитаем α1 по
соотношению:
Получим:
' = 15044∙0,5=7522 Вт/м2
q'' = 1290∙4,15
=5353 Вт/м2
Как видим, q' ≠ q''
Для расчета в третьем приближении
строим графическую зависимость удельной тепловой нагрузки от разности
температур между паром и стенкой в первом корпусе (рис. 3.2) и определяем
=0,8 0С.
Рисунок 3.2 - График тепловой
нагрузки
= 1594
q' = 11249∙0,8=8999
Вт/м2
q'' = 1594∙4,42=8045
Вт/м2
Как видим, q' ≈ q''
Расхождение между тепловыми
нагрузками не превышает 3%, расчет коэффициентов теплоотдачи на этом заканчиваем.
Находим коэффициент теплопередачи:
К1 = 1 / (1/α1 + ∑δ/λ + 1/α2)
К1 = 1/ (1/11249 + 0,000287 +
1/1594) = 997 Вт/ м2∙К
ВТОРОЙ КОРПУС
К2 = 0,58 · К1 = 0,58 · 997 = 578,2
Вт/ м2∙К
ТРЕТИЙ КОРПУС
К3 = 0,33 · К1 = 0,33 · 997 = 329
Вт/ м2∙К
Распределение полезной разности
температур
Полезные разности температур в
корпусах установки находим из условия равенства из поверхностей теплопередачи:
где
- соответственно полезная разность
температур, тепловая нагрузка, коэффициент теплопередачи для j- го
корпуса.
Q1 = 1998,5
кВт
Q2 = 1464,2
кВт
Q3 = 1069,5
кВт
Подставив численные значения,
получим:
∆tП1=64,35∙1998,5/997/(1998,5/997+1464,2/578,2+1069/329)
∆tП1= 16,5
град
∆tП2=64,35∙1464,2/578,2/(1998,5/997+1464,2/578,2+1069/329)
∆tП2= 20,9
град
∆tП3=64,35∙1069/329/(1998,5/997+1464,2/578,2+1069/329)
∆tП3= 26,9
град
Проверим общую полезную разность
температур установки:
Сравнение полезных разностей
температур ∆tП, полученных во 2-м и 1-м
приближениях, приведено табл. 3.6:
Таблица 3.6 - Сравнение полезных
разностей температур ∆tП
|
Параметр
|
Корпус
|
|
1
|
2
|
3
|
|
∆tП во 2-м
приближении
|
16,5
|
20,9
|
26,9
|
|
∆tП в 1-м
приближении
|
8,25
|
9,8
|
46,3
|
Поверхность теплопередачи выпарных аппаратов
Уточненный расчет
=
∆tП =
∆tП1 =
∆tП2 =
∆tП3 =
По ГОСТ 11987 - 81 выбираем выпарной
аппарат со следующими характеристиками табл. 3.7.
Таблица 3.7 - Технические
характеристики выпарного аппарата с естественной циркуляцией
|
Показатель
|
Значение
|
|
Номинальная
поверхность теплообмена F, м2
|
125
|
|
Диаметр
греющей камеры dk, мм
|
1000
|
|
Диаметр
сепаратора
dc,
мм
|
2200
|
|
Диаметр
циркуляционной трубы dц, мм
|
700
|
|
Общая
высота аппарата Ha, мм
|
16000
|
|
Масса
аппарата
Ma,
кг
|
10000
|
3.2 Гидравлический
расчет
Определение гидравлического сопротивления в
трубном пространстве:
Число ходов:= 1
Определение коэффициентов местных сопротивлений
Входной штуцер: ζтр1=
1,5 Выходной штуцер; ζтр1= 1,5 (3,
с. 33)
Поворот на 180o между ходами: ζ'тр2=
2,5 (3, с. 33)
Количество поворотов n = z - 1 = 0 (3, с. 33)
Вход в трубы или выход из них:
ζ'тр3 = 1 n = 2 z =
2
ζтр3= nζ'тр3
= 2 (1, с. 33)
Скорость в трубах:
Скорость в штуцерах: dт.ш= 0,065
Высота выступов шероховатостей:
Δ= 0,0002м
Относительная шероховатость труб:
е=Δ/dв=
0,0002/0,034 = 0,00558
Критерий Рейнольдса:
Коэффициент трения: λт=64/Re=
0,04
λт=
Гидравлическое сопротивление в
трубном пространстве: (3, с. 34)
Δpт=
Δpт 
Число сегментных перегородок: водяной пар= 0 (3,
т II.9, с. 27)
Определение коэффициентов местных сопротивлений:
Входной штуцер: Выходной штуцер:
ζм1= 1,5 ζм1=
1,5
Поворот на 180 o м/у перегородками: Количество
поворотов
ζ'м2= 1,5 n=x= 0
ζм2=nζ'м2=
0
Площадь самого узкого сечения в межтрубном
пространстве:м= 0,121 м² (1, т.
XXXV, с. 517)
Скорость в межтрубном пространстве:
Скорость во входном штуцере: dм.ш=
80мм
Скорость в выходном штуцере: dм.ш=
20 мм
Число рядов труб:
Критерий Рейнольдса
Гидравлическое сопротивление в
межтрубном пространстве: (3, с. 34)
Па.
3.3
Механический расчет
3.3.1 Расчет проточной
части трубного пространства
Расчетная поверхность теплообмена
Длина труб l=8м
Число труб