Технологическая схема нефтеперерабатывающего завода по переработке 4 миллионов тонн в год троицко–анастасиевской нефти
Введение
Нефть - добываемая из недр земли горючая
маслянистая жидкость красно-коричневого, иногда почти черного цвета; является
сложной смесью углеводородов с примесью их кислород-, серо-, азотсодержащих и
иных производных. В течение многих столетий нефть использовали в качестве
лечебного средства, топлива и осветительного материала.
Развитие нефтеперерабатывающей промышленности
было тесно связано с появлением новых машин, механизмов и двигателей, а также с
потребностями быта. Так, главной целью нефтепереработки было получение из нефти
осветительного керосина, заменившего лучину и плошки с животным жиром. Бензин и
мазут не находили применения и являлись обременительными отходами производства.
В 1876 г. по методу, разработанному Д. И. Менделеевым, в Балахне впервые в мире
было организовано промышленное производство смазочных масел из мазута. Нефтяные
масла стали вытеснять животные и растительные жиры во многих отраслях техники.
После изобретения В. Г. Шуховым форсунки ранее сжигавшийся в ямах мазут стали
применять как ценное топливо в различных отраслях промышленности и судоходства.
Изобретение в последней четверти XIX в.
двигателя внутреннего сгорания и применение его практически во всех отраслях
промышленности способствовали новому качественному скачку в развитии
нефтепереработки. Грандиозное развитие автомобильной и авиационной
промышленности поставило проблему нефтеснабжения в ряд важнейших мировых
экономических и политических проблем. Бензин, ранее не находивший применения,
стал одним из важнейших продуктов, увеличение производства которого требовало
роста добычи нефти и совершенствования технологии ее переработки. В дальнейшем,
с появлением двигателя внутреннего сгорания с воспламенением от сжатия
(дизеля), появилась необходимость и в дизельном топливе, занимающем
промежуточное положение между керосином и мазутом. Увеличение скорости движения
самолетов и необходимость преодоления звукового барьера выявили потребность в
реактивном двигателе. Для него стали вырабатывать новое топливо - реактивный,
или авиационный, керосин с повышенной химической стабильностью.
Одновременно с улучшением качества и
производством новых видов топлива развивалось и совершенствовалось производство
смазочных и других нефтепродуктов, необходимых для нужд промышленности и
обеспечения нормальной работы новых, более напряженно работающих машин и
двигателей.
Увеличить объем первичной переработки нефти на
25-30%, и обеспечить совершенствование технологии нефтепереработки, внедрение
новых технологических процессов, эффективных катализаторов, прогрессивного
оборудования; обеспечить глубокую переработку нефти и повышение доли вторичных
процессов; увеличить производство высокооктановых бензинов, малосернистых
дизельных и авиационных топлив, ароматических углеводородов, высококачественных
смазочных масел; организовать крупнотоннажное производство жидких парафинов для
нужд микробиологической промышленности и производства синтетических моющих
средств; расширить выпуск и ассортимент нефтехимического сырья; перейти на
строительство в основном комбинированных и укрупненных технологических
установок, обеспечить приближение производств по переработке нефти к районам
массового потребления нефтепродуктов; повысить производительность труда в
нефтеперерабатывающей промышленности на 39-41%.
Современное состояние и тенденции развития
нефтеперерабатывающей промышленности мира
В начале 20 века основным источником энергии в
мире было твердое топливо. Нефть и газ играли незначительную роль в мировом
топливно-энергетическом балансе. С расширением поиска и увеличение добычи нефти
и газа, а также с развитием трубопроводного транспорта, роль этих источников
энергии в силу их исключительных достоинств стала неуклонно расти. В 50-60 и 70
годах 20 века прирост доли нефти и газа в мировом топливно-энергетическом
балансе (ТЭБ) происходил быстрыми темпами, но в 80-е годы эти темпы замедлились
и такая тенденция к снижению доли нефти в ТЭБ сохраняется до сих пор.
Таблица 1
Изменение доли источников энергии в мировом
топливно-энергетическом балансе, % [1].
|
Энергоноситель
|
1900г
|
1980г
|
1990г
|
2000г
|
2020г
(прогноз)
|
|
Нефть
|
3,7
|
43,5
|
37,6
|
36,0
|
21,2
|
|
Газ
|
1,1
|
18,8
|
20,8
|
19,0
|
19,0
|
|
Твердое
топливо
|
93,2
|
28,9
|
29,1
|
24,0
|
33,2
|
|
Ядерное
топливо
|
0
|
2,5
|
5,6
|
6,0
|
13,6
|
|
Гидроэнергия
и др.
|
2,0
|
6,3
|
6,9
|
15,0
|
13,0
|
Общей современной тенденцией в структуре
использования нефти в мировой экономике является снижение доли ее потребления в
электро- и теплоэнергетике в качестве котельно-печного топлива и увеличение - в
качестве транспортного моторного топлива и нефтехимического сырья. Ниже
приведена структура использования нефти в мировой экономике, % масс.
1980
г. 2000 г.
Транспорт,
в т. ч. 38,6 52
автомобильный 278 40
Электро-
и теплоэнергетика
(котельно-печное
топливо) 51,5 35
Нефтехимия 5,2 8,0
Неэнергетическое
использование
(масла,
битум, парафины, кокс и др.) 4,7 5,0
Эти изменения в структуре потребления нефти
обусловлены опережающим развитием за последние годы транспортных средств с
двигателями внутреннего сгорания по сравнению с развитием энергетики, то есть
превышением темпов моторизации по сравнению с темпами электрификации.
Анализ тенденции развития основных отраслей
топливной промышленности свидетельствует о том, что соотношение между нефтью,
газом и углем на уровне 2005 - 2010 годов должно стабилизироваться. Дальнейшее
повышение доли нефти и газа в общем потреблении топлива в эти годы следует
считать экономически неоправданным в связи с необходимостью ориентации этих
полезных ископаемых на использование преимущественно в химической
промышленности, а не в энергетике. [1]
Качественный и количественный скачок в
тенденциях развития мировой нефтепереработки произошел на рубеже 1970-80-х гг.,
когда резкое повышение цен на нефть привело к сокращению ее добычи и
потребления в качестве котельно-печного топлива и тем самым переориентации на
углубленную и глубокую переработку нефти. После 1979 г. объемы переработки
нефти, суммарные мощности, а также число НПЗ постепенно уменьшались. При этом
преимущественно закрывались маломощные менее рентабельные НПЗ. Естественно, это
привело к некоторому росту удельной мощности НПЗ. Снижение объемов нефтедобычи
привело к появлению избытка мощностей НПЗ, преимущественно по процессам прямой
перегонки нефти, которые подвергались реконструкции под другие вторичные
процессы.
Характеристика троицко - анастасиевской нефти
Нефтяные месторождения Краснодарского края
генетически связаны с Азово-Кубанской впадиной занимающей территорию Западного
Предкавказья. Первый промышленный приток нефти был получен в 1864 году на
месторождении Кудако.
В пределах Кавказкой части Азово-Кубанского
бассейна можно выделить Западно-Кубанскую, Восточно-Кубанскую,
Ейско-Березанскую и Адыгейскую нефтеносные зоны, отличающихся друг от друга
геологическим строением, типом структур и залежей нефти и газа.
Наибольшие запасы нефти и газа выявлены в
пределах Западно-Кубанского прогиба. Нефтеносные запасы приурочены к
внутреннему южному борту прогиба, а газовые главным образом к центральной части
- Анастасиевско - Краснодарской антиклинальной зоне. С Анастасиевско -
Краснодарской антиклинальной зоной связано самое крупное на Кубани
Троицко-Анастасиевское газонефтяное месторождение. Большие запасы нефти
обнаружены также в Восточно-Кубанской прогибе и вдоль восточного склона
Адыгейского выступа, где открыто Баракаевское месторождение с газовыми и нефтяными
залежами.
Большинство месторождений Западно-Кубанского
прогиба приурочено к двум антиклинальным зонам - Азовской и Калужской,
протянувшимся полосой вдоль южного борта прогиба. По особенностям
геологического строения, характеру нефтегазоносности и на основании сложившихся
представлений в пределах этой полосы выделяют четыре нефтегазоносных района:
Хадыженский, Северный (Ново-Дмитриевский), Ильско-Абинский,
Крымско-Варениковский.
Месторождения западной части
Анастасиевско-Краснодарской антиклинальной зоны и северного борта
Западно-Кубанского прогиба составляют Приаазовский нефтегазоносный район.
Залежи нефти и газа в Западно-Кубанского прогибе находятся в толще пород
значительного стратиграфического диапазона. Однако промышленная
нефтегазоностность связана главным образом с палеогеновыми и неогеновыми
отложениями. В неогене основные запасы с многоценовыми отложениями, главным
образом с мэотисом. В палеогеновых отложениях запасы в основном приурочены к
верхней части раздела.
Месторождения Анастасиевско-Краснодарской
антиклинальной зоны. В этой зоне расположены Курганское, Западно-Анастасиевское
и Троицко-Анастасиевское нефтегазовые месторождения. Залежи приурочены к
мэотическим и понтическим слоям.
Троицко-Анастасиевское месторождение введено в
разработку в 1954 году. Здесь эксплуатируется IV, V, VI, VIа, и VII горизонты,
но основное количество нефти даёт IV горизонт. Нефти IV, V и VI горизонтов
отличаются по свойствам. Нефть VI горизонта является тяжёлой (относительная
плотность 0,9067), содержит мало бензиновых фракций до 200 0C (8,2%) при общем
выходе светлых фракций до 350 0C 48,3%. Нефть малосернистая (о,22% серы),
малопарафинистая (1% парафина), смолистая (9,21% асфальтенов и смолистых
веществ) с высокой кислотностью (1,10 мг КОН на 1 г нефти). Образцы нефти V и
VI горизонтов являются легкими (относительная плотность соответственно 0,8754 и
0,8373), содержат фракций, выкипающих до 200 0C, 17,5 и 33,2%, а фракций до 350
0С -
50 и 70,2% соответственно. Содержание парафина в нефтях V и VIгоризонтов составляет
1,3 м 1,9%.
В бензиновых фракциях нефтей IV горизонта мало
ароматических углеводородов (5 - 7%); они состоят в основном из нафтеновых
(27-76%) и изопарафиновых углеводородов (17-68%). В аналогичных фракциях нефтей
V и VI горизонтов наблюдается увеличение содержания ароматических и парафиновых
углеводородов, в том числе и нормальных парафинов. Дистиллятные 50-градусные
фракции, отбираемые в интервале 200-500 0С, для нефтей IV, V и VI горизонтов
характеризуются высоким содержанием ароматических углеводородов, составляющим
соответственно19-48, 19-40 и 20-49%. Во фракциях 200-350 0С увеличивается
содержание парафиновых углеводородов за счёт уменьшения количества нафтеновых.
Фракции нефти IVгоризонта отличаются низкой температурой застывания (-60 0С для
дистиллята 300-350 0С). Температуры застывания фракций в тех же пределах нефтей
V и VI горизонтов - 18 и -38 0С. Температура застывания дистиллята 450-500 0С
соответственно -7, 28 и 34 0С. Бензиновая фракция нефти IV горизонта,
выкипающая в интервале 28-180 0С, имеет октановое число в чистом виде 72, а для
тех же фракций нефтей V и VI горизонтов октановые числа соответственно равны
54,6 и 57,6.
Из троицко-анастасиевской нефти можно получать
дизельные топлива (арктическое, зимнее и специальное), флотские и топочные
мазуты, битумы. Из дистиллятов нефти IV горизонта можно получать
низкозастывающие масла без депарафинизации. Выход базовых дистиллятных и
остаточных масел соответственно.
Таблица 2. Физико-химическая характеристика
троицко-анастасиевской нефтесмеси
|
r20,
кг/м3
|
Моле-кулярная
масса
|
Вязкость,
мм2/с
|
Температура
застывания, оС
|
Температура
вспыш-ки в закры-том тигле, оС
|
Давление
насыщенных паров, мм рт. ст.
|
Парафин
|
|
|
n20
|
n50
|
с
обработкой
|
без
обработки
|
|
при
38оС
|
при
50оС
|
содержание,
%
|
Температура
плавления, оС
|
|
906,7
|
237
|
37,81
|
11,73
|
-54
|
-
|
28
|
-
|
-
|
1,0
|
-
|
|
Содержание,
%
|
Коксуемость,
%
|
Золь-ность,
%
|
Кислотное
число, мг КОН на 1 г нефти
|
Содержание,
%
|
Выход
фракций, масс. %
|
|
серы
|
азота
|
смол
сернокислотных
|
смол
силикагелевых
|
асфальтенов
|
|
|
|
нафтеновых
кислот
|
фенолов
|
до
200оС
|
до
350оС
|
|
0,22
|
0,111
|
18
|
8,40
|
0,81
|
1,88
|
0,026
|
1,10
|
-
|
-
|
8,2
|
48,3
|
|
|
|
|
|
|
|
|
|
|
|
|
|
|
|
|
|
Таблица 3 Разгонка нефти по ГОСТ 2177-66
|
н.к.,
°С
|
Отгоняется
( в %) до температуры, оС
|
|
120
|
140
|
150
|
160
|
180
|
200
|
220
|
240
|
260
|
280
|
300
|
|
101
|
-
|
1
|
2
|
3
|
5
|
6
|
10
|
16
|
24
|
32
|
40
|
Таблица 4. Элементный состав нефти
|
Содержание,
% масс.
|
|
С
|
Н
|
О
|
S
|
N
|
|
86,23
|
12,79
|
0,25
|
0,63
|
0,10
|
Таблица 5. Потенциальное содержание (масс. %)
фракций в нефти
|
Отгоняется
до температуры, о С (газ до С4)
|
%
|
Отгоняется
до температуры, о С
|
%
|
Отгоняется
до температуры, о С
|
%
|
|
60
|
0,3
|
180
|
6,4
|
350
|
48,5
|
|
62
|
-
|
190
|
7,2
|
360
|
49,5
|
|
70
|
0,4
|
200
|
8,4
|
370
|
50,2
|
|
80
|
0,7
|
210
|
9,7
|
380
|
50,9
|
|
85
|
0,8
|
220
|
11,2
|
390
|
51,7
|
|
90
|
0,9
|
230
|
12,6
|
400
|
54,5
|
|
95
|
1,0
|
240
|
15,4
|
410
|
55,2
|
|
100
|
1,1
|
250
|
18,5
|
420
|
60,5
|
|
105
|
1,2
|
260
|
20,6
|
430
|
63,5
|
|
110
|
1,4
|
270
|
26,5
|
440
|
66,6
|
|
120
|
1,6
|
280
|
27,5
|
450
|
69,7
|
|
130
|
2,2
|
290
|
31,6
|
460
|
72,2
|
|
140
|
2,6
|
300
|
35,2
|
470
|
74,2
|
|
145
|
2,9
|
310
|
36,9
|
480
|
76,7
|
|
150
|
3,2
|
320
|
39,8
|
490
|
78,9
|
|
160
|
4,4
|
330
|
43,6
|
500
|
81,8
|
|
170
|
5,2
|
340
|
46,2
|
Остаток
|
18,2
|
Таблица 6. Характеристика фракций, выкипающих до
200°С
|
Температура
отбора, оС
|
Выход
(на нефть), %
|
Плотность
r20,
кг/м3
|
Фракционный
состав, оС
|
Содержание
серы, %
|
Окта-новое
число без ТЭС
|
Кислотность,
мг КОН на 100 мл фракции
|
Давление
насыщенных паров при 38оС, мм рт. ст.
|
|
|
|
н.к.
|
10%
|
50%
|
90%
|
|
|
|
|
|
28-85
|
0,6
|
674,9
|
41
|
52
|
65
|
88
|
0,012
|
89,3
|
-
|
-
|
|
28-100
|
0,9
|
683,2
|
44
|
58
|
73
|
95
|
-
|
-
|
-
|
-
|
|
28-110
|
1,2
|
692,1
|
46
|
61
|
79
|
100
|
-
|
-
|
-
|
-
|
|
28-120
|
1,4
|
697,2
|
48
|
64
|
83
|
104
|
-
|
85,5
|
-
|
-
|
|
28-130
|
2,0
|
714,2
|
52
|
74
|
97
|
116
|
-
|
-
|
-
|
-
|
|
28-140
|
2,4
|
725,0
|
55
|
80
|
106
|
124
|
-
|
-
|
-
|
-
|
|
28-150
|
3,0
|
60
|
90
|
120
|
137
|
0,020
|
80,9
|
8,50
|
-
|
|
28-160
|
4,2
|
755,0
|
75
|
95
|
127
|
149
|
0,026
|
77,6
|
-
|
-
|
|
28-170
|
5,0
|
757,2
|
76
|
101
|
133
|
153
|
-
|
-
|
-
|
-
|
|
28-180
|
6,2
|
761,1
|
77
|
109
|
142
|
160
|
-
|
72,0
|
-
|
-
|
|
28-190
|
7,0
|
770,5
|
78
|
114
|
149
|
166
|
-
|
68,4
|
-
|
-
|
|
28-200
|
8,2
|
783,2
|
79
|
122
|
157
|
181
|
0,044
|
65,7
|
7,02
|
-
|
Таблица 7. Групповой углеводородный состав
фракций, выкипающих до 200°С
|
Температура
отбора, оС
|
Выход
(на нефть), %
|
Плотность
r20,
кг/м3
|
Показатель
преломле-ния n Содержание
углеводородов, %
|
|
|
|
|
|
Аромати-ческих
|
нафтеновых
|
Парафиновых
|
|
|
|
|
|
|
всего
|
нормального
строения
|
изостроения
|
|
28-95
|
0,8
|
705,0
|
-
|
5
|
25
|
70
|
14
|
56
|
|
95-120
|
0,6
|
736,1
|
1,4145
|
6
|
39
|
55
|
9
|
46
|
|
120-150
|
1,6
|
772,5
|
1,4335
|
7
|
60
|
33
|
4
|
29
|
|
150-200
|
5,2
|
807,4
|
1,4439
|
7
|
90
|
3
|
-
|
-
|
|
28-200
|
8,2
|
783,2
|
1,4310
|
6
|
75
|
19
|
-
|
-
|
Таблица 8. Характеристика фракций, служащих
сырьем для каталитического риформинга
|
Темпера-тура
отбора, оС
|
Выход
(на нефть), %
|
Плотность
r20,
кг/м3
|
Содержание
серы, %
|
Содержание
углеводородов, %
|
|
|
|
|
Аромати-ческих
|
нафтеновых
|
Парафиновых
|
|
|
|
|
|
|
всего
|
нормального
строения
|
изостроения
|
|
60-140
|
2,4
|
737,1
|
0,029
|
6
|
42
|
52
|
6
|
46
|
|
60-180
|
6,2
|
773,9
|
0,042
|
5
|
73
|
22
|
4
|
18
|
|
85-120
|
0,8
|
733,3
|
0,026
|
2
|
29
|
69
|
9
|
60
|
|
85-180
|
5,6
|
775,7
|
0,038
|
5
|
75
|
20
|
4
|
16
|
|
105-140
|
1,4
|
761,1
|
-
|
6
|
54
|
40
|
6
|
34
|
|
120-140
|
1,0
|
766,2
|
-
|
7
|
57
|
36
|
5
|
31
|
|
140-180
|
3,8
|
799,9
|
0,046
|
7
|
72
|
21
|
4
|
17
|
Таблица 9. Характеристика легких керосиновых
дистиллятов
|
Температура
отбора, оС
|
Выход
на нефть, % масс.
|
Плотность
ρ20,
кг/м3
|
Фракционный
состав, оС
|
Температура
отбора, оС
|
Вязкость,
мм2с
|
|
|
|
|
н.к.
|
10%
|
50%
|
90%
|
98%
|
|
ν20
|
ν-40
|
|
|
120-240
|
13,8
|
815,6
|
150
|
159
|
188
|
222
|
233
|
120-240
|
1,74
|
7,955
|
|
|
80-275
|
24,8
|
831,4
|
127
|
173
|
221
|
248
|
257
|
80-275
|
7,955
|
14,555
|
|
|
Температура,
ºС
|
Теплота
сгорания, ккал/кг
|
Содержание,
% масс.
|
Тем-пература
отбо-ра, оС
|
Кислотность,
мг КОН на 100 мл фракции
|
Фактичесие
смолы, мг на 100 мл дистиллята
|
|
начала
кристаллиз-ации
|
вспышки
|
|
ароматических
углеводородов
|
Об-щей
серы
|
серы
мерка-птано-вой
|
|
|
|
|
<-60
|
38
|
10335
|
10,2
|
0,061
|
-
|
120-240
|
7,5
|
-
|
|
То
же
|
30
|
10277
|
15,7
|
0,072
|
-
|
80-275
|
11,7
|
3,0
|
|
|
|
|
|
|
|
|
|
|
|
|
|
|
|
|
|
|
Таблица 10. Характеристика керосиновых
дистиллятов
|
Температура
отбора, оС
|
Выход
на нефть, % масс.
|
Плотность
ρ20,
кг/м3
|
Фракционный
состав, оС
|
|
|
|
н.к.
|
10%
|
50%
|
90%
|
98%
|
выкипает
до 270оС, %
|
|
150-330
|
40,4
|
858,9
|
185
|
210
|
252
|
289
|
301
|
72
|
|
Температура
отбора, оС
|
Температура,
оС
|
Октановое
число
|
Высота
некоптящего пламени, мм
|
Содержание
серы, %
|
Кислотность,
мг КОН на 100 мл дистиллята
|
|
помутнения
|
вспышки
|
|
|
|
|
|
150-330
|
<-60
|
70
|
45
|
17
|
0,08
|
25,6
|
|
|
|
|
|
|
|
|
|
|
Таблица 11. Характеристика дизельных топлив и
компонентов
|
Температура
отбора, оС
|
Выход
на нефть, % масс.
|
Цетановое
число
|
Фракционный
состав, оС
|
|
|
|
10%
|
50%
|
90%
|
98%
|
|
150-330
|
40,4
|
45
|
210
|
252
|
289
|
301
|
|
160-340
|
41,8
|
45
|
216
|
260
|
303
|
314
|
|
150-350
|
45,3
|
45,5
|
211
|
265
|
313
|
324
|
|
180-350
|
42,1
|
43,7
|
233
|
269
|
314
|
327
|
|
200-350
|
40,1
|
43,7
|
239
|
271
|
313
|
325
|
|
240-350
|
33,1
|
45
|
254
|
278
|
315
|
325
|
|
275-350
|
23,0
|
48
|
286
|
296
|
328
|
Таблица 12. Характеристика сырья для
каталитического крекинга
|
Температура
отбора, оС
|
Выход
на нефть, % масс.
|
Плотность
ρ20,
кг/м3
|
Молекулярная
масса
|
Вязкость,
мм2/с
|
Температура
застывания, оС
|
Коксуемость,
%
|
|
|
|
|
ν50
|
ν100
|
|
|
|
350-500
|
33,3
|
943,0
|
355
|
58,67
|
4,45
|
-29
|
0,12
|
Таблица 13. Характеристика мазутов и остатков
|
Мазут
и остаток
|
Выход
на нефть, %
|
Плотность
ρ20,
кг/м3
|
Вязкость
|
Температура,
оС
|
Содержа-ние
серы, %
|
Кок-суе-мость,
%
|
|
|
|
ВУ50
|
ВУ80
|
ВУ100
|
застывания
|
вспышки
|
|
|
|
Мазут
топочный
|
|
40
|
51,5
|
960,7
|
34,79
|
6,28
|
3,22
|
-3
|
208
|
|
|
|
100
|
46,5
|
967,1
|
-
|
10,30
|
4,55
|
4
|
214
|
|
|
|
Остаток
|
|
выше
300оС
|
64,8
|
941,8
|
-
|
2,49
|
1,74
|
-20
|
172
|
0,30
|
2,34
|
|
-"-350оС
|
51,5
|
960,7
|
34,79
|
6,28
|
3,22
|
-3
|
208
|
0,34
|
3,40
|
|
-"-400оС
|
46,5
|
967,1
|
-
|
10,30
|
4,55
|
4
|
214
|
0,35
|
4,10
|
|
-"-450оС
|
30,3
|
983,7
|
-
|
48,66
|
15,40
|
20
|
254
|
0,38
|
6,80
|
|
-"-500оС
|
18,2
|
997,5
|
-
|
-
|
-
|
36
|
312
|
0,39
|
10,70
|
Таблица 14. Групповой углеводородный состав
дистиллятной части троицко - анастасиевской нефтесмеси
|
Температура
отбора, оС
|
Выход
(% на нефть), %
|
Парафино-нафтеновые
углеводороды
|
Ароматические
углеводороды
|
|
|
|
I
группа
|
II
группа
|
|
|
n %n %n %
|
|
|
|
|
|
|
200-250
|
10,1
|
1,4480-1,4580
|
81
|
1,4965-1,5140
|
9
|
1,5330-1,5535
|
10
|
|
250-300
|
16,7
|
1,4550-1,4700
|
72
|
1,5000-1,5273
|
10
|
1,5710-1,5900
|
15
|
|
300-350
|
13,3
|
1,4600-1,4734
|
62
|
1,4985-1,5282
|
16
|
1,5320-1,5645
|
5
|
|
350-400
|
5,0
|
1,4650-1,4845
|
53
|
1,4910-1,5235
|
13
|
1,5318-1,5876
|
17
|
|
400-450
|
16,2
|
1,4715-1,4848
|
48
|
1,4928-1,5280
|
15
|
1,5330-1,5900
|
18
|
|
450-500
|
12,1
|
1,4790-1,4880
|
47
|
1,5075-1,5282
|
8
|
1,5320-1,5740
|
20
|
|
Температура
отбора, оС
|
Ароматические
углеводороды
|
Промежуточная
фракция и смолистые вещества, %
|
|
III
группа
|
IV
группа
|
Сумм-мар-но,
%
|
|
|
n %n %
|
|
|
|
|
|
|
200-250
|
1,5330-1,5535
|
10
|
-
|
-
|
19
|
-
|
|
250-300
|
1,5710-1,5900
|
15
|
1,5900
|
2
|
27
|
1
|
|
300-350
|
1,5320-1,5645
|
5
|
1,5930-1,6074
|
16
|
37
|
1
|
|
350-400
|
1,5318-1,5876
|
17
|
1,5910-1,6250
|
15
|
45
|
2
|
|
400-450
|
1,5330-1,5900
|
18
|
1,5982-1,6430
|
15
|
48
|
4
|
|
450-500
|
1,5320-1,5740
|
20
|
1,5963-1,6300
|
20
|
48
|
5
|
|
|
|
|
|
|
|
|
|
|
Таблица 15. Характеристика дистиллятных базовых
масел и групп, углеводородов, полученных адсорбционным методом
|
Исходная
фракция и смесь углеводородов
|
Выход,
%
|
Плотность
r20,
кг/м3
|
n Вязкость,
мм2/сИндекс вязкостиМолекулярная массаТемпература застывания, оССодержание
серы, %
|
|
|
|
|
|
|
на
фракцию
|
на
нефть
|
|
|
n50
|
n100
|
|
|
|
|
|
Фракция
350-450оС
|
100,0
|
21,2
|
932,9
|
1,5225
|
7,55
|
5,51
|
-
|
320
|
-32
|
0,25
|
|
Нафтено-парафиновые
углеводороды
|
46,6
|
9,8
|
877,8
|
1,4790
|
18,04
|
4,60
|
76
|
340
|
-17
|
-
|
|
Нафтено-парафиновые
и I группа ароматических углеводородов
|
64,7
|
13,6
|
889,4
|
1,4908
|
19,75
|
4,82
|
70
|
340
|
-26
|
-
|
|
Нафтено-парафиновые,
I, II и III группы ароматических углеводородов
|
79,6
|
16,9
|
904,3
|
1,5008
|
21,49
|
5,04
|
64
|
330
|
-27
|
-
|
|
Нафтено-парафиновые,
I, II, III и часть IV группы ароматических углеводородов
|
92,2
|
19,6
|
921,8
|
1,5147
|
23,38
|
5,13
|
30
|
320
|
-29
|
0,20
|
|
Фракция
450-500оС
|
100,0
|
12,1
|
960,7
|
1,5350
|
289,9
|
19,74
|
-
|
425
|
-7
|
0,28
|
|
Нафтено-парафиновые
углеводороды
|
40,5
|
4,9
|
906,1
|
1,4923
|
91,85
|
12,68
|
55
|
470
|
-28
|
-
|
|
Нафтено-парафиновые
и I группа ароматических углеводородов
|
58,8
|
7,1
|
915,7
|
1,5000
|
124,3
|
14,76
|
38
|
465
|
-25
|
-
|
|
Нафтено-парафиновые,
I, II и III группы ароматических углеводородв
|
76,1
|
9,3
|
932,0
|
1,5135
|
178,5
|
16,66
|
-5
|
460
|
-15
|
-
|
|
Нафтено-парафиновые,
I, II, III и часть IV группы ароматических углеводородов
|
87,1
|
10,6
|
945,0
|
1,5225
|
260,4
|
19,56
|
-42
|
460
|
-6
|
0,22
|
Таблица 17. Характеристика остаточных базовых
масел и групп углеводородов
Остаток и смесь углеводородов Выход, Плотность
r20, кг/м3 Показатель
преломления n
МВязкость,
мм2/сn50¤
|
n100Индекс
вязкостиВВКТемпература застывания, 0ССодержание серы, %
|
|
|
|
|
|
|
|
|
|
на
остаток
|
на
нефть
|
|
|
|
n50
|
n100
|
|
|
|
|
|
|
Остаток
выше 500оС
|
100,0
|
18,2
|
997,5
|
-
|
-
|
-
|
-
|
-
|
-
|
-
|
36
|
0,39
|
|
Нафтено-парафиновые,I,
II и III группы ароматических углеводородов после депарафинизации
|
25,0
|
4,5
|
913,5
|
1,5035
|
314,8
|
30,38
|
10,2
|
66
|
0,840
|
-17
|
0,16
|
Таблица 16. Выход гача при депарафинизации
масляных фракций
|
Фракция,
оС
|
Выход
гача, %
|
Температура
плавления гача, оС
|
|
на
фракцию
|
на
нефть
|
|
|
350
- 450
|
6,1
|
1,2
|
47
|
|
450
- 500
|
4,5
|
0,6
|
56
|
Таблица 18. Выход петролатума при
депарафинизации парафино-нафтеновых и I группы ароматических углеводородов,
выделенных из деасфальтированного остатка троицко-анастасиевской нефти выше
500оС
|
Выход
петролатума, % масс.
|
Температура
плавления, оС
|
|
на
остаток
|
на
нефть
|
|
|
6,2
|
1,5
|
42
|
Таблица 19. Потенциальное содержание базовых
дистиллятных и остаточных масел
|
Температура
отбора, оС
|
Выход
(на нефть) дистиллятной фракции или остатка
|
Характеристика
базовых масел
|
Содержание
базового масла, %
|
|
|
Плотность
r20,
кг/м3
|
Вязкость,
мм2/с
|
n50/
n100
|
ИВ
|
ВВК
|
температура
застывания, оС
|
на
дистиллятную фракцию или остаток
|
на
нефть
|
|
|
|
n50
|
n100
|
|
|
|
|
|
|
|
350
- 450
|
21,2
|
904,3
|
21,49
|
5,04
|
-
|
64
|
-
|
-27
|
77,5
|
16,9
|
|
450
- 500
|
12,1
|
906,1
|
124,0
|
14,60
|
-
|
40
|
-
|
-25
|
56,2
|
6,8
|
|
Остаток
выше 500
|
18,2
|
913,5
|
314,8
|
30,38
|
10,2
|
66
|
0,840
|
-17
|
25,0
|
4,5
|
Таблица 20. Характеристика нефти применительно к
получению из нее дорожных битумов (ГОСТ 11954-66)
|
Содержание,
%
|
2,5
П
|
А
+ СС
|
А
+ СС - 2,5П
|
|
Асфальтенов
- А
|
смол
силикагелевых - Сс
|
Парафина
- П
|
|
|
|
|
0,81
|
8,40
|
1,0
|
2,50
|
9,21
|
6,71
|
|
Из
нефтей, у которых åА + СС - 2,5П<
0, нельзя получить битум
|
Таблица 21. Разгонка (ИТК) троицко-анастасиевской
нефти (смеси) в аппарате АРН-2 и характеристика полученных фракций
|
№
фракции
|
Температура
выкипания фракции при 760 мм рт. ст., оС
|
Выход
(на нефть), %
|
Плотность
r20,
кг/м3
|
n Молекуля-рная
массаВя-зкость n20, мм2/с
|
|
|
|
|
|
отдельной
фракции
|
суммарный
|
|
|
|
|
|
|
1
|
До
28 (газ до С4)
|
0,2
|
0,2
|
-
|
-
|
-
|
-
|
|
|
2
|
28-156
|
3,3
|
3,5
|
735,4
|
1,4110
|
110
|
-
|
|
|
3
|
156-176
|
2,8
|
6,3
|
797,6
|
1,4394
|
-
|
1,31
|
|
|
4
|
176-207
|
3,0
|
9,3
|
820,7
|
1,4518
|
-
|
1,79
|
|
|
5
|
207-228
|
3,2
|
12,5
|
831,8
|
1,4588
|
163
|
2,37
|
|
|
6
|
228-240
|
2,9
|
15,4
|
838,6
|
1,4636
|
-
|
3,03
|
|
|
7
|
240-252
|
3,3
|
18,7
|
852,7
|
1,4699
|
175
|
3,57
|
|
|
8
|
252-267
|
3,3
|
22,0
|
858,6
|
1,4758
|
185
|
4,27
|
|
|
9
|
267-275
|
2,9
|
24,9
|
865,5
|
1,4802
|
-
|
4,97
|
|
|
10
|
275-281
|
2,9
|
27,8
|
873,7
|
1,4859
|
198
|
5,76
|
|
|
11
|
281-288
|
3,0
|
30,8
|
878,2
|
1,4892
|
-
|
6,77
|
|
|
12
|
288-294
|
3,1
|
33,9
|
885,0
|
1,4930
|
210
|
7,65
|
|
|
13
|
294-310
|
3,0
|
36,9
|
888,1
|
1,4946
|
238
|
9,71
|
|
|
14
|
310-320
|
2,9
|
39,8
|
889,9
|
1,4956
|
240
|
12,87
|
|
|
15
|
320-327
|
2,9
|
42,7
|
895,9
|
1,4958
|
245
|
16,66
|
|
|
16
|
327-339
|
3,0
|
45,7
|
903,7
|
1,5030
|
250
|
22,54
|
|
|
17
|
339-351
|
2,9
|
48,6
|
908,5
|
1,5068
|
260
|
30,10
|
|
|
18
|
351-389
|
3,0
|
51,6
|
918,3
|
1,5130
|
265
|
42,60
|
|
|
19
|
389-407
|
3,0
|
54,6
|
919,9
|
1,5138
|
270
|
62,86
|
|
|
20
|
407-416
|
2,9
|
57,5
|
923,6
|
1,5156
|
300
|
101,3
|
|
|
21
|
416-420
|
3,0
|
60,5
|
931,3
|
1,5192
|
320
|
176,5
|
|
|
22
|
420-430
|
3,0
|
63,5
|
937,6
|
1,5230
|
330
|
-
|
|
|
23
|
430-440
|
3,1
|
66,6
|
942,7
|
1,5252
|
370
|
-
|
|
|
24
|
440-450
|
3,1
|
69,7
|
952,3
|
1,5292
|
400
|
-
|
|
|
25
|
450-468
|
3,2
|
72,9
|
956,7
|
1,5320
|
430
|
-
|
|
|
26
|
468-477
|
3,0
|
75,9
|
961,6
|
1,5352
|
440
|
-
|
|
|
27
|
477-490
|
3,0
|
78,9
|
963,2
|
1,5378
|
450
|
-
|
|
|
28
|
490-500
|
2,9
|
81,8
|
964,0
|
1,5388
|
455
|
-
|
|
|
29
|
Остаток
|
18,2
|
100,00
|
-
|
-
|
-
|
-
|
|
|
№
фракции
|
Температура
выкипания фракции при 760 мм рт.ст., оС
|
Вязкость,
мм2/с
|
Температура,
оС
|
Содержание
серы, %
|
|
|
n50
|
n100
|
застывания
|
вспышки
|
|
|
1
|
До
28 (газ до С4)
|
-
|
-
|
-
|
-
|
-
|
|
2
|
28-156
|
-
|
-
|
-
|
0,022
|
|
3
|
156-176
|
-
|
-
|
-
|
-
|
-
|
|
4
|
176-207
|
-
|
-
|
-
|
-
|
-
|
|
5
|
207-228
|
1,45
|
-
|
-
|
52
|
0,067
|
|
6
|
228-240
|
1,74
|
-
|
-
|
-
|
-
|
|
7
|
240-252
|
1,81
|
-
|
-
|
-
|
-
|
|
8
|
252-267
|
2,23
|
-
|
-
|
89
|
0,095
|
|
9
|
267-275
|
2,55
|
-
|
-
|
-
|
-
|
|
10
|
275-281
|
2,79
|
-
|
-
|
-
|
-
|
|
11
|
281-288
|
3,03
|
-
|
-
|
124
|
0,108
|
|
12
|
288-294
|
3,32
|
-
|
-
|
-
|
-
|
|
13
|
294-310
|
3,98
|
1,66
|
-
|
-
|
-
|
|
14
|
310-320
|
4,83
|
1,85
|
-
|
-
|
0,117
|
|
15
|
320-327
|
6,00
|
2,10
|
<-60
|
148
|
-
|
|
16
|
327-339
|
7,32
|
2,38
|
-59
|
-
|
-
|
|
17
|
339-351
|
8,99
|
2,73
|
-53
|
-
|
0,23
|
|
18
|
351-389
|
11,37
|
3,16
|
-49
|
-
|
-
|
|
19
|
389-407
|
14,76
|
3,72
|
-45
|
170
|
-
|
|
20
|
407-416
|
20,02
|
4,44
|
-38
|
-
|
-
|
|
21
|
416-420
|
28,28
|
5,53
|
-32
|
-
|
0,26
|
|
22
|
420-430
|
41,91
|
6,88
|
-27
|
-
|
-
|
|
23
|
430-440
|
72,99
|
9,49
|
-19
|
208
|
-
|
|
24
|
440-450
|
138,6
|
13,15
|
-13
|
-
|
-
|
|
25
|
450-468
|
251,7
|
18,72
|
-5
|
-
|
0,29
|
|
26
|
468-477
|
-
|
22,82
|
-1
|
-
|
-
|
|
27
|
477-490
|
-
|
25,06
|
2
|
-
|
-
|
|
28
|
490-500
|
-
|
25,34
|
5
|
-
|
-
|
|
29
|
Остаток
|
-
|
-
|
-
|
312
|
0,39
|
|
|
|
|
|
|
|
|
|
|
|
|
Определение шифра нефти
В основу технологической классификации положены
признаки, имеющие значение для транспорта, переработки нефтей или получения
заданного ассортимента продуктов. Классификация нефтей по технологическим
признакам позволяет, с учетом физико-химических свойств нефти и ее фракций,
определить вариант технологической схемы переработки конкретной нефти.
За рубежом существует большое число
разнообразных технологических классификаций. В России для нефтей, поступающих
на переработку, пользуются технологической классификацией нефтей в соответствии
с ГОСТ 912-66 или ОСТ 38.1197-80 и техническими требованиями к нефтям в
соответствии с ГОСТ 9965-76.
Технологическая классификация распространяется
на нефти России, используемые для производства моторных топлив для двигателей и
масел. При классификации как индивидуальных нефтей, так и их смесей учитывают
содержание серы в нефтях и нефтепродуктах; потенциальное содержание фракций,
выкипающих до 350 °С; потенциальное содержание и качество базовых масел;
содержание твердого парафина в нефти и возможность получения реактивных,
дизельных зимних или летних топлив и дистиллятных базовых масел с
депарафинизацией или без нее (нормы ОСТ 38.1197-80 приведены в таблице 22).
По содержанию серы нефти делятся на три класса.
Если одно или все дистиллятные топлива, получаемые из малосернистой нефти,
содержат серу выше указанных в таблице 24 пределов, то эта нефть должна быть
отнесена к нефтям класса 1. Нефти, содержащие от 0,51 до 2,0 % (масс.) серы,
относятся к классу 2. Однако и в этом случае учитывается содержание серы в
продуктах: если во всех дистиллятных топливах из данной нефти количество серы
не превышает норм, установленных для топлив из малосернистой нефти, то эта
нефть должна быть отнесена к классу 1, т. е. к малосернистой. В случае если при
таком же количестве серы в нефти [0,51-2,0 % (масс.)] одно или все топлива
содержат серы больше, чем указано в нормах для сернистой нефти, эта нефть
должна быть отнесена к классу 2, т. е. к высокосернистым нефтям. По аналогии
определяются и высокосернистые нефти, содержащие более 2,0 % (масс.) серы.
Таблица 22 - Технологическая классификация
нефтей (ОСТ 38.1197-80)
В зависимости от содержания парафина в нефтях и
возможности получения из них топлива для реактивных двигателей, зимних или
летних дизельных топлив и дистиллятных базовых масел без депарафинизации или с
ее применением нефти делятся на три вида: П1, П2, П3.
П1 - нефти малопарафинистые, содержащие не более
1,5 % парафина (с температурой плавления 50 °С), и при условии, что из нефтей
без депарафинизации могут быть получены: топливо для реактивных двигателей с
температурой начала кристаллизации не выше минус 60 °С; зимние дизельные
топлива (240-350 °С) с температурой застывания не выше минус 45 °С и
дистиллятные базовые масла определенного уровня кинематической вязкости при 50
°С с температурой застывания для масел с вязкостью от 8 до 14 мм2/с - минус 30
°С, с вязкостью от 14 до 23 мм2/с - минус 15 °С, с вязкостью от 23 до 52 мм2/с
- минус 10 °С.
П2 - нефти парафинистые, содержащие от 1,51 до
6,0 % (масс.) парафина, и при условии, что из нефтей без депарафинизации могут
быть получены: топливо для реактивных двигателей с температурой начала
кристаллизации не выше минус 60 °С и дизельное летнее топливо (фракция 240−350
°С) с температурой застывания не выше минус 10 °С, а дистиллятные базовые масла
- с депарафинизацией.
П3 - нефти высокопарафинистые, содержащие более
6,0 % парафина, и при условии, что из нефтей не может быть получено без
депарафинизации дизельное топливо.
Если из нефти, предварительно отнесенной к виду
П1, не может быть получен хотя бы один из указанных нефтепродуктов без
депарафинизации, то эта нефть должна быть отнесена к нефтям вида П2. В том
случае, если из нефти, предварительно отнесенной к виду П2, может быть получено
дизельное топливо без депарафинизации, то эта нефть должна быть отнесена к
нефтям вида П1.
Сочетание обозначений класса, типа, группы,
подгруппы и вида составляет шифр технологической характеристики нефтей. Шифр
нефти является как бы ее технологическим паспортом, определяющим направление ее
переработки (на топлива или масла, для получения парафинов и т. д.), набор
технологических процессов (необходимость включения гидрогенизационных процессов
или установок депарафинизации) и качество конечных нефтепродуктов.
По материалам таблиц 1-19 устанавливается шифр
нефти по ОСТ-38.1197-80 в соответствии с технологической классификации,
являющийся основой для выбора варианта и схемы переработки.
Таблица 23
Шифр нефтей согласно технологической
классификации ( ГОСТ 912 66)
|
Нефть
|
Шифр
нефти
|
|
Класс
|
Тип
|
Группа
|
Подгруппа
|
Вид
|
|
Троицко
- анастасиевская (IV горизонт)
|
I
|
T1
|
M3
|
И3
|
П1
|
Таблица 24. Определение шифра нефти по
ОСТ-38.1197-80 в соответствии с технологической классификации
|
Наименование
|
Значение
|
|
1.
Содержание серы, % масс. в
|
|
|
нефти
|
0,22
|
|
бензине
|
0,025
|
|
реактивном
топливе (керосине)
|
0,080
|
|
дизельном
топливе
|
0,080
|
|
Класс
нефти
|
1
|
|
2.
Выход фракций до 350°С, % масс.
|
48,5
|
|
Тип
нефти
|
1
|
|
3.
Потенциальное содержание базовых масел, % масс.
|
|
|
нефть
|
28,2
|
|
мазут
|
54,757
|
|
Группа
нефти
|
3
|
|
4.
Индекс вязкости масел
|
66
|
|
Подгруппа
нефти
|
2
|
|
5.
Содержание парафина в нефти, % масс.
|
1,0
|
|
Температура,
°С
|
|
|
начала
кристаллизации авиакеросина
|
<-60
|
|
застывания
дизельного топлива
|
-60
|
|
застывания
базовых масел
|
|
|
маловязкого
|
|
|
средневязкого
|
-27
|
|
высоковязкого
|
-25
|
|
Вид
нефти
|
1
|
|
Шифр
нефти
|
1.1.3.2.1
|
Характеристика получаемых продуктов
На заводе по переработке троицко -
анастасиевской нефти I структуры, мощностью 4 миллионов тонн в год
вырабатывается следующая продукция:
. Автомобильный бензин по ГОСТ 2084-77 или ГОСТ
Р 51105-97.
Таблица 25.
Требования на автобензин по ГОСТ 2084-77.
|
Показатель
|
Марка
бензина
|
|
Аи-92
|
Аи-95
|
Аи-98
|
|
Плотность
при 20ºС,
кг/м3, не более
|
770
|
770
|
Не
нормируется
|
|
Детонационная
стойкость - октановое число, не менее: ММ; ИМ
|
83 92
|
85 95
|
88 98
|
|
Фракционный
состав, ºС: н.к., не ниже;
10%, не выше; 50%, не выше; 90%, не выше; к.к., , не выше; остаток в колбе,
%, не более; потери, %, не более
|
35 70 120 190 215 1,5 4,0
|
35 70 120 190 215 1,5 4,0
|
- 70 120 190 215 1,5 4,0
|
|
Давление
насыщенных паров бензина, мм.рт.ст., не более
|
600
|
600
|
600
|
|
Содержание
свинца, г/дм3, не более: этилированный; неэтилированный
|
0,15
0,013
|
0,15
0,013
|
-
0,013
|
|
Кислотность,
мг КОН/100см3, не более
|
3,0
|
3,0
|
3,0
|
|
Содержание
фактических смол, мг/100см3, не более
|
5,0
|
5,0
|
5,0
|
|
Индукционный
период на месте производства бензина, мин, не менее
|
600
|
600
|
600
|
|
Содержание:
серы, % масс, не более; меркаптановой серы, % масс, не более; бензола, % об,
не более МТБЭ, % масс, не более
|
0,05
0,001 - -
|
0,05
0,001 - -
|
0,1
- 5,0 12
|
Также в товарных бензинах полностью отсутствуют
водорастворимые кислоты и щелочи, механические примеси и вода, испытание на
медной пластинке - выдерживают. На блоке компаундирования бензинов
предусмотрено введение в них высокооктановых кислородсодержащих добавок, таких
как МТБЭ, ЭТБЭ, ЭТЭБ и др.
. Реактивное топливо ТС-1 по ГОСТ 10227
Таблица 26.
Требования на реактивное топливо ТС-1 по ГОСТ
10227.
|
Показатель
|
Марка
|
|
ТС-1
|
|
Плотность
при 20ºС,
кг/м3, не менее
|
780
|
|
Фракционный
состав, ºС: н.к., не выше;
10%, не выше; 50%, не выше; 90%, не выше; 98%, не выше
|
150
165 195 230 250
|
|
Кинематическая
вязкость, мм2/с, при температуре: 20ºС,
не менее; -40ºС, не более
|
1,3
8
|
|
Низшая
теплота сгорания, кДж/кг, не менее
|
43120
|
|
Высота
некоптящего пламени, мм, не менее
|
25
|
|
Кислотность,
мг КОН/100см3, не более
|
0,7
|
|
Йодное
число, гI2/100г топлива, не более
|
2,5
|
|
Температура,
ºС:
начала кристаллизации, не выше; вспышки в закрытом тигле, не ниже
|
-60
28
|
|
Термоокислительная
стабильность в статистических условиях при 150ºС,
не более: содержание осадка, г/100см3 топлива; содержание фактических смол,
мг/100см3
|
18
3
|
|
Содержание,
% масс, не более: ароматических углеводородов; общей серы; меркаптановой серы
|
22
0,2 0,003
|
|
Зольность,
%, не более
|
0,003
|
|
Удельная
электрическая проводимость пСм/м: при температуре заправки техники, не менее;
при 20ºС,
не более
|
50
600
|
Также в товарном реактивном топливе полностью
отсутствуют водорастворимые кислоты и щелочи, мыла нафтеновых кислот,
сероводород, механические примеси и вода, испытание на медной пластинке при 100ºС
в течение 4 часов - выдерживает. Для улучшения некоторых свойств по
необходимости на заводе можно предусмотреть добавление антиокислительных,
противоизносных или антистатичеких присадок.
. Дизельное топливо по ГОСТ 305-82
Таблица 27.
Требования на дизельные топлива по ГОСТ 305-82.
|
Показатель
|
|
А
|
З
|
|
Цетановое
число, не менее
|
45
|
45
|
|
Фракционный
состав, ºС, не выше: 50%;
90%
|
255
330
|
280
340
|
|
Кинематическая
вязкость, при 20ºС, мм2/с
|
1,5-4,0
|
1,8-5,0
|
|
Температура
застывания, ºС, не выше, для
климатической зоны: умеренной; холодной
|
-
-50
|
-35
-45
|
|
Температура
помутнения, ºС, не выше, для
климатической зоны: умеренной; холодной
|
-
-
|
-25
-35
|
|
Температура
вспышки в закрытом тигле, ºС,
не ниже: для тепловозных и судовых дизелей и газовых турбин; для дизелей
общего назначения
|
35 30
|
40 35
|
|
Содержание
серы, %масс, не более, в топливе: I вида; II вида
|
0,2
0,4
|
0,2
0,5
|
|
Содержание
меркаптановой серы, % масс, не более
|
0,01
|
0,01
|
|
Содержание
фактических смол, мг/100см3 топлива, не более
|
30
|
30
|
|
Кислотность,
мгКОН/100мл топлива, не более
|
5
|
5
|
|
Йодное
число, гI2/100г топлива, не более
|
6
|
6
|
|
Зольность,
%, не более
|
0,01
|
0,01
|
|
Коксуемость
10% остатка, не более
|
0,3
|
0,3
|
|
Коэффициент
фильтруемости, не более
|
3
|
3
|
|
Плотность
при 20ºС,
кг/м3, не более
|
830
|
840
|
Также в товарных дизельных топливах полностью
отсутствуют сероводород, водорастворимые кислоты и щелочи, механические примеси
и вода, испытание на медной пластинке выдерживают. Для увеличения качества
дизельных топлив к ним можно добавить антидымные и атифрикционные присадки.
Таблица 28
Характеристика нефтяных битумов
|
Марка
битума
|
Глубина
проникновения иглы в 0,1 мм
|
Температура
|
Растяжимость,
см, не менее
|
|
при
25 оС
|
при0
°С, не более
|
размягчения,
не менее
|
хрупкости,
не более
|
вспышки,
не менее
|
при
25 °С
|
при0°С
|
|
Вязкие
дорожные
|
|
БНД
200/300
|
20
1 + 300
|
45
|
35
|
-20
|
200
|
-
|
20
|
|
БНД
130/200
|
1
3 1 + 200
|
35
|
39
|
-18
|
220
|
65
|
6
|
|
БНД
90/130
|
91+130
|
28
|
43
|
-17
|
220
|
60
|
4,2
|
|
БНД60/90
|
61+90
|
20
|
47
|
-15
|
220
|
50
|
3,5
|
|
БНД40/60
|
40+60
|
13
|
51
|
-20
|
220
|
40
|
-
|
|
Изоляционные
|
|
БНИ-1У-3
|
30+50
|
15
|
65
|
-
|
230
|
4
|
-
|
|
БНИ-IV
|
25+40
|
12
|
75
|
-
|
230
|
3
|
-
|
|
БНИ-V
|
>20
|
9
|
90
|
-
|
230
|
2
|
-
|
|
Кровельные
|
|
БНК
115/180
|
140+220
|
|
40
+ 50
|
-
|
240
|
-
|
-
|
|
БНК
90/40
|
35+45
|
|
85
+ 95
|
-20
|
240
|
-
|
-
|
|
БНК
90/30
|
25+35
|
|
85
+ 95
|
-10
|
240
|
-
|
-
|
|
БНК
50/50
|
41+60
|
-
|
50
|
|
220
|
4
|
|
|
БН70/30
|
2
1+40
|
-
|
70
|
|
230
|
3
|
|
|
БН90/10
|
5+20
|
-
|
90
|
|
240
|
1
|
|
Характеристика установок завода по переработке
нефти
Блок ЭЛОУ
Обезвоживание и обессоливание троицко -
анастасиевской нефти проводят в 2 ступени на электродегидраторах.
Параметры процесса обессоливания и
обезвоживания:ступень t=135 - 140ºC, p=1,2МПа;ступень
t=125 - 135ºС, p=1,1МПа.
После обессоливания и обезвоживания нефть
поступает на установку первичной перегонки АВТ.
Установка АВТ
На атмосферном блоке установки АВТ нефть
перерабатывается по двухколонной схеме.
После блока ЭЛОУ сырье нагревается до 200ºС
за счет регенерации тепла отходящих горячих потоков атмосферной колонны:
керосина, дизельного топлива и мазута, - и поступает на фракционирование в
отбензинивающую колонну К-1. К-1 работает при минимальных флегмовых числах, температура
верха - 150ºС, температура низа
колонны - 240ºС, давление в
колонне - 0,3МПа.
После отбензинивающей колонны сырьё подаётся в
трубчатую печь, где нагревается до 350ºС,
и поступает на фракционирование в атмосферную колонну К-2. Температура ввода сырья
- 350ºС,
температура низа колонны - 340ºС,
температура верха - 130ºС,
температура низа керосинового стриппинга - 190÷195ºС,
температура низа дизельного стриппинга - 300÷310ºС,
давление в колонне 0,15МПа.
Мазут атмосферной колонне направляется на вакуумный
блок, где нагревается в трубчатой печи до 410ºС
и поступает на фракционирование в вакуумную колонну К-3. Давление вверху и в
зоне питания колонны соответственно 5,2 и 27 мм.рт.ст., температура верха - 70ºС,
температура низа 420ºС. В
вакуумную колонну предусмотрена подача водяного пара в отгонную часть колонны.
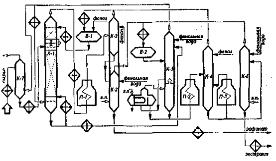
[1]
Получаемые продукты:
Углеводородные газы идут на газофракционирующую
установку;
Бензиновая фракция н.к.-180ºС
поступает на блок вторичной перегонки, где разделяется на н.к.-70ºС
и 85-180ºС;
Керосиновая фракция 180-220ºС
- товарный продукт, реактивное топливо ТС-1;
Фракция дизельного топлива 220-350ºС,
после гидроочистки является товарным продуктом, малосернистым дизельным
топливом, марки «З»;
Фракция вакуумного дистиллята 280-350ºС
- после гидроочистки является компонентом зимнего дизельного топлива;
Фракция I-я масляная фракция 350 - 450 ºС
Фракция II-я масляная фракция 450-500ºС;
Гудрон - фракция выше 500ºС
Рис.1 Принципиальная схема блока атмосферной перегонки
нефти установки ЭЛОУ - АВТ - 4: 1 - отбензинивающая колонна; 2 - атмосферная
колонна; 3 - отпарные колонны; 4 - атмосферная печь; I - нефть с ЭЛОУ; II -
легкий бензин; III - тяжелый бензин; IV - фракция 180 - 220 оС; V - фракция 220
- 280 оС; VI - мазут; VII - газ; VIII - водяной пар.
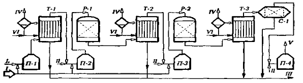
Установка ГК
На установке гидрокрекинга перерабатывается
тяжёлых вакуумный газойлей с установки АВТ. С помощью гидрокаталитического
крекинга из тяжелых газойлевых фракций получают высококачественные реактивные и
дизельные топлива, имеющие низкие температуры застывания и начала
кристаллизации и не содержащие в своём составе серосодержащих соединений.
Параметры процесса.
Процесс гидрокрекинга проводят в 2 ступени,
давление 15МПа, объёмная скорость подачи сырья 1ч-1, кратность циркуляции ВСГ -
1000 - 1700нм3/м3, температура 1 ступени 420ºС,
катализатор Al-Ni-Mo, температура 2 ступени 320 - 425ºС,
катализатор Pt или Ni на Al-Si [4].
После гидрокрекинга предусмотрена установка для
разделения продуктов крекинга на следующие фракции:
Углеводородные газ и сероводород - после очитки
от сероводорода, газы направляются на установку газофракционирования (ГФУ);
Бензиновые фракции - смешиваются с прямогонным
бензином и поступают на блок вторичной перегонки;
Керосиновые фракции - товарный продукт -
реактивное топливо ТС - 1;
Фракция дизельного топлива - компонент зимнего
дизельного топлива;
Остаток >350ºС
- используется как сырьё для производства масел и битумов.
Рис. №2. Принципиальная технологическая схема
установки одноступенчатого гидрокрекинга вакуумного газойля; I - сырье; II -
ВСГ; III - дизельное топливо; IV - легкий бензин; V - тяжелый бензин; VI -
тяжелый газойль; VII - углеводородные газы на ГФУ; VIII - газы отдува; IX -
регенерированный раствор МЭА; X - раствор МЭА на регенерацию; XI - водяной пар
Установка вторичной перегонки бензина
На установке вторичной перегонки бензина
стабильные бензиновые фракции, требующие повышения октанового числа разделяются
на фракции: н.к.-70ºС и 85-180ºС.
Фракция н.к.-70 - является сырьём для установки гидроизомеризации, фракция 70-180ºС
- сырьём для установки каталитического риформинга.
Установка изомеризации легких бензиновых фракций
Сущность процесса каталитическое превращение
легких нормальных парафиновых углеводородов в соответствующие углеводороды
изостроения c целью повышения октанового числа и выработки высокооктановых
компонентов автомобильного бензина. Сырьем является прямогонная фракция н.к.-70ºС
с блока вторичной перегонки бензина и пентан с ГФУ предельных газов.
Катализатор процесса: ИП-62, в его состав входит 0,55% Pt, нанесенной на
фторированный оксид Al2O3. Температура процесса - 320-380ºС.
Давление 2,8-3МПа, соотношение подаваемого ВСГ и сырья 1,6÷2ч-1.
В процессе изомеризации получают:
Изомеризат - изопентан, изогексан и т.д. -
высокооктановый компонент автобензина;
Углеводородный газ - на ГФУ
Рис.№3 Принципиальная технологическая схема
установки изомеризации пентанов и гексанов; I - сырьё; II - ВСГ; III -
изопентановая фракция; IV - бутовая фракция; V- изогексановая фракция; VI -
гексановая фракция на изомеризацию; VII - жирный газ.
Установки гидроочистки
Каталитическая гидроочистка - эффективный
процесс удаления из нефтяных фракций серы, азота и кислорода, содержащиеся в
виде соответствующих органических соединений, что снижает содержание в
продуктах гетероатомных и смолистых соединений. При гидроочистке происходит
также гидрирование непредельных соединений. Процесс ведут при температуре 340÷400ºС,
давлении 3÷5МПа, объемной
скорости 2÷4ч-1, кратности
циркуляции ВСГ 100÷1000 нм3/м3
сырья.
Сырьем для установок гидроочистки являются:
Фракция дизельного топлива;
Бензиновые фракции;
Керосиновые фракции;
Прямогонная фракция дизельного топлива;
Продуктами соответственно являются:
Гидроочищенный бензин;
Гидроочищенный компонент зимнего дизельного
топлива;
Гидроочищенное сырьё керосиновой фракции;
Малосернистое (до 0,01-0,05%масс серы) арктическое
дизельное топливо;
Предельные углеводородные газы и сероводород;
Масленые фракции;
В процессе гидроочистки применяют Al-Ni-Mo
катализатор.
Установка каталитического риформинга (с блоком
предварительной гидроочистки)
Назначение процесса - получение высокоароматизированных
бензиновых дистиллятов, которые используются в качестве высокооктанового
компонента бензина.
Гидроочистку ведут при давлении 3÷4
МПа,
температуре 330÷400ºС,
объемной скорости 2,5÷5 ч-1, расход
Н2 равен 0,1÷0,15% масс., кратность
ЦВСГ = 100÷500 нм3/м3 сырья.
Катализатор Al-Ni-Mo. Гидрогенизат отправляют на блок каталитического
риформинга.
Риформинг ведут на установке каталитического
риформинга с непрерывной регенерацией катализатора. Параметры процесса:
температура 450ºС, при
давлении 0,8МПа, с объемной скоростью 1÷2 ч-1,
соотношение ВСГ сырье 500÷1500 нм3/м3
сырья. Катализатор процесса - К-104 - полиметаллический, в его состав, помимо
платины входят другие металлы, усиливающие каталитические свойства.
Сырьё процесса: гидроочищный бензин УЗК, фракция
70-180ºС
вторичной перегонки бензина.
Получаемые продукты:
Риформат - высокооктановый компонент
автобензина;
Углеводородные газы - на ГФУ;
Водородсодержащий газ - сырьё для
гидрогенезационных процессов.
Рис. №3. Принципиальная технологическая схема
установки риформинга непрерывной регенерации катализатора: 1 - бункер
закоксованного катализатора; 2 - бункер регенерированного катализатора; 3 -
шлюз; 4 - дозатор; 5 - разгрузочное устройство; I - гидроочищенное сырье; II -
ВСГ; III -риформат на стабилизацию
Установка производства серы (процесс Клауса)
Сероводород, полученный на блоках очистки
углеводородных газов ДЭА гидроочистки, гидрокрекинга направляют на установку
производства серы с целью получения элементарной серы как товарного продукта.
Получение серы из сероводорода ведут методом
Клауса путем частичного сжигания сероводорода и взаимодействия полученного
диоксида серы с сероводородом. Процесс ведут в две ступени. Первая -
термическая (800-1000ºС), вторая -
каталитическая (300-350ºС,
катализатор - Al2O3).
Рис. №4. Принципиальная технологическая схема
установки получения серы из сероводорода по методу Клауса: I - сероводород; II
- воздух; III - сера; IV - водяной пар; V - газы дожила; VI - конденсат
Газофракционирующие установки предельных и
непредельных углеводородных газов.*
Установки предназначены для разделения
углеводородных газов на фракции углеводородных газов высокой чистоты.
Очищенные от кислых компонентов углеводородные
газы установки очистки газов ДЭА, а также газы с установок АВТ, изомеризации и
риформинга подвергают разделению на ГФУ предельных газов. Продуктами являются
сухой газ и сжиженный газ - пропан-бутан.
Газы коксования разделяют на ГФУ непредельных
газов на пропан-пропиленовую, бутан-бутиленовую фракции и сухой газ. Первые две
являются ценным сырьём для нефтехимии
Газы каталитического крекинга также разделяют на
ГФУ непредельных газов на пропан-пропиленовую, бутан-бутиленовую фракции и
сухой газ. Первые две являются сырьём для процесса алкилирования.
Процесс ведут при температуре верха
деэтанизатора (первой колонны) 0÷50ºС,
давлении 4 МПа, во второй колонне давление 1,8 МПа, в третьей колонне - 1,8
МПа, температура верха 50, низа 110ºС.
Установка висбрекинга гудрона
Наиболее распространенный прием углубления
переработки нефти - это вакуумная перегонка мазута и раздельная переработка
вакуумного газойля и гудрона. Получающийся гудрон, особенно в процессе
глубоковакуумной перегонки, непосредственно не может быть использован как
котельное топливо из-за высокой вязкости. Для получения товарного котельного
топлива из таких гудронов без их переработки требуется большой расход
дистиллятных разбавителей, что сводит практически на нет достигнутое вакуумной перегонкой
углубление переработки нефти. Наиболее простой способ неглубокой переработки
гудронов - это висбрекинг с целью снижения вязкости, что уменьшает расход
разбавителя на 20 - 25 % масс., а также соответственно общее количество
котельного топлива. Обычно сырьем для висбрекинга является гудрон, но возможна
и переработка тяжелых нефтей, мазутов, даже асфальтов процессов
деасфальтизации. Висбрекинг проводят при менее жестких условиях, чем
термокрекинг, вследствие того, что, во-первых, перерабатывают более тяжелое,
следовательно, легче крекируемое сырье; во-вторых, допускаемая глубина крекинга
ограничивается началом коксообразования (температура 440-500 °С, давление
1,4-3,5 МПа).
Рис. №5. Принципиальная технологическая схема
установки висбрекинга гудрона: I -сырье; II - бензин на стабилизацию; III
-керосино-газойлевая фракция (200-350 °С); IV - висбрекинг-остаток; V - газы
ГФУ; VI - водяной пар.
Установка нефтяного битума
Сырьём для установки нефтяного битума является
экстракционное разделение нефтепродуктов асфальты деасфальтизации и экстракты
селективной очистки. С помощью нефтяного битума получают битум. Область
применения битума очень широки: дорожное строительство, изготовления кровельных
материалов, строительство зданий и сооружений, для изоляции трубопроводов,
применение в лакокрасочной и кабельной промышленности, для заливочных
аккумуляторных мастик и другое.
Установка селективной очистки масленых фракций
Назначение процессов селективной очистки -
удаление смолистых веществ и полициклических ароматических углеводородов из
масел с целью повышения их индекса вязкости и снижения коксуемости (по признаку
извлечения нежелательного компонента его можно назвать процессом деароматизации
масел).
Сырьем процессов служат масляные дистилляты,
получаемые при вакуумной перегонке мазутов, и деасфальтизаты гудронов.
Целевые продукты процессов - рафинаты
направляются на депарафинизацию с целью улучшения низкотемпературных свойств
масел. Побочные продукты селективной очистки - экстракты - используются как
сырье для производства битумов, технического углерода, нефтяных коксов,
пластификаторов каучуков в резиновой и шинной промышленности, как компонент
котельного топлива.
Рис. №6 Принципиальная технологическая схема
установки селективной очистки масел фенолом
Поточная схема переработки нефти
Поточная схема нефтеперерабатывающего завода
представлена на рис1
Троицко - анастасиевской нефть I структуры с
промыслов поступает на нефтеперерабатывающий завод. Сырая нефть проходит стадию
очистки на блоке ЭЛОУ, где производится её обезвоживание и обессоливание.
Обезвоженная нефть поступает на атмосферный блок установки АВТ, а вода и
растворённые в ней соли выводятся с установки.
На атмосферном блоке нефть перерабатывается по
двухколонной схеме, так как содержание бензина в нефти 33,6%масс. В первой
колонне К-1 производится отбензинивание нефти, то есть 13,1%масс бензиновой
фракции и 1,9%масс растворенные в ней углеводородные газы отеляются от сырья.
Полуотбензиненная нефть после К-1 поступает в атмосферную колонну К-2 на
дальнейшую ректификацию. В колонне К-2 сырьё разделяется на бензиновую фракцию
н.к.-180ºС,
керосиновую фракцию 180-220ºС,
дизельную фракцию 220-350ºС и остаток
мазут.
Керосиновая фракция блока АТ полностью
удовлетворяет требованиям ГОСТ на реактивное топливо ТС-1, фракция дизельного
топлива прямой гонки 220-350ºС
- на дизельное топливо марки «З» и «А», после дополнительной очистки от серы на
блоке гидроочистки (ГО) оно отвечает требованиям на малосернистое арктическое
дизельное топливо марки ДТ А-0,08-минус 60.
Мазут после атмосферного блока направляется на
вакуумный блок, где нагревается в печи до 410ºС
и поступает на фракционирование в вакуумную колонну К-3 для разделения. С верха
колонны К-3 отгоняются остаточные светлые углеводороды нефти, которые, после
гидрооблагораживания на блоке ГО, являются тяжёлым компонентом зимнего
дизельного топлива. С низа колонны выводится остаток - гудрон, который является
хорошим сырьём для производства масленых фракций.
На установке гидрокрекинга происходит
переработка тяжёлых вакуумных газойлей блока АВТ. С помощью
гидрокаталитического крекинга из тяжелых газойлевых фракций на катализаторах,
при повышенных давлениях и температурах и циркуляции водородсодержащего газа
вырабатываются высококачественные реактивные и дизельные топлива, имеющие
низкие температуры застывания и начала кристаллизации и не содержащие в своём
составе серосодержащих соединений.
На установке гидрокрекинга вакуумный газойль
перерабатывается в низкокачественный бензин, который поступает на смешение с
прямогонным бензином с целью повышения его детонационной стойкости. Керосиновые
дистилляты ГК являются товарным продуктом - реактивным топливом ТС-1. Дизельные
дистилляты - низкотемпературный, легкий компонент дизельного топлива. Газы
гидрокрекинга, вместе с другими газами с установок гидроочистки идут на
установку очистки от сероводорода. Остаток ГК является сырьём для установки
каталитического крекинга..
В процессе каталитической гидроочистки на Al-Ni-Mo
катализаторе при повышенных температурах и давлении происходит удаление из
нефтяных фракций серы, азота и кислорода, содержащиеся в виде соответствующих
органических соединений, что снижает содержание в продуктах гетероатомных и
смолистых соединений. При гидроочистке происходит также гидрирование
непредельных соединений. В процессе ГО возможны реакции крекинга сырья.
Сырьем для установок гидроочистки являются:
бензиновая фракция, керосиновая фракция, фракция дизельного топлива и дистиллят
вакуумной перегонки мазута, получения масленых фракций, прямогонная фракция
дизельного топлива.
Продуктами являются:
Гидроочищенный бензин - направляется на блок
каталитического риформинга;
Гидроочищенный компонент зимнего дизельного
топлива - компонент товарного продукта;
Гидроочищенное сырьё для получения базового
масла;
Малосернистое (до 0,01-0,05%масс серы)
арктического дизельное топливо - товарный продукт;
Бензиновая фракция - смешивается с прямогонным
бензином и направляется на блок вторичной перегонки;
В процессе гидроочистки применяют Al-Ni-Mo
катализатор.
На установке очистки углеводородных газов ГО и
ГК диэтаноламином (ДЭА) происходи очистка от сероводорода. ДЭА образует
комплекс с кислыми компонентами углеводородного газа, который при повышении
температура распадается на исходные компоненты. Сероводород с установки очистки
газа гидрогенезационных процессов является сырьём для установки производства
серы окислительной конверсией (процесс Клауса), а очищенный газ отправляется на
ГФУ предельных газов.
Бензиновые фракции с блоков гидроочистки,
гидрокрекинга и прямогонный бензин идут на вторичную перегонку, где разделяются
на фракции н.к.-70ºС и 70 - 180ºС.
На установке гидрокаталитической изомеризации
происходит процесс я превращения легких нормальных парафиновых углеводородов в
соответствующие углеводороды изостроения с целью повышения октанового числа и
выработки высокооктановых компонентов автомобильного бензина. Сырьем является
прямогонная фракция н.к.-70ºС
блока вторичной перегонки бензина и газовый бензин ГФУ предельных газов.
Катализатор процесса: ИП-70. Углеводородный газ с блока изомеризации
направляется на ГФУ предельных углеводородов
Фракция 70-180ºС
блока вторичной перегонки бензина и гидроочищенный бензин узла замедленного
коксования - идёт на процесс каталитического риформинга. Сущность процесса
риформинга заключается в получение высокоароматизированных бензиновых
дистиллятов, которые используются в качестве высокооктанового компонента
бензина, и водорода для гидрогенезационных процессов.
В процессе риформинга получаются следующие
продукты: риформат - высокооктановый компонент автобензина. углеводородные газы
направляются на ГФУ предельных газов, водородсодержащий газ - сырьё для
гидрогенезационных процессов.
Углеводородные газы с блока очистки ДЭА от сероводорода,
атмосферного блока, каталитического риформинга и гидроизомеризации направляются
на ГФУ. Продуктами являются газовый бензин - направляется на блок
гидроизомеризации легкой бензиновой фракции*, метан - этановая
фракция, пропан-бутановая фракция (ПБВ и сухой газ).
Для поддержания балансового количества водорода
в ВСГ требуются дополнительные установки производства водорода. Сырьём для этих
установок является небольшое количество сухого газа с ГФУ и химочищенная вода.
Продуктами являются углекислый газ, который
выбрасывается в атмосферу и технический водород, поток которого направляется в
циркулирующий водородсодержащий газ.
Балансовое количество сухого газа может быть
использовано в качестве топлива для трубчатых печей или по трубопроводам
направляться потребителям в качестве бытового газа.
Материальный баланс блока ЭЛОУ
Так как нефть с промыслов после транспортировки
требует дополнительного обезвоживания и обессоливания, то, принимая в сырой
нефти до 1%масс. воды и солей, составляем материальный баланс.
Таблица 29
|
Статьи
баланса
|
%
на нефть
|
%
на сырье установки
|
Тыс.
т/год
|
|
Поступило:
|
|
Нефть
сырая
|
101
|
101
|
4040
|
|
Всего
|
101
|
101
|
4040
|
|
Получено:
|
|
Нефть
обессоленная и обезвоженная
|
100
|
100
|
4000
|
|
Вода
и соли
|
1
|
1
|
40
|
|
Всего:
|
101
|
101
|
4040
|
Таблица 30
|
Статьи
баланса
|
Потенциальное
содержание в нефти, % масс.
|
Отбор
от потенциала в долях от единицы
|
Фактический
отбор, % масс. на нефть
|
Расход,
тыс. т/год
|
|
Газ
до С4 включительно
|
-
|
-
|
-
|
-
|
|
н.к.
- 70
|
0,4
|
0,99
|
0,4
|
16
|
|
70
- 85
|
0,4
|
0,99
|
0,4
|
16
|
|
85
- 105
|
0,4
|
0,99
|
0,4
|
16
|
|
105
- 140
|
1,4
|
0,99
|
1,4
|
56
|
|
140
- 180
|
3,8
|
0,99
|
3,8
|
152
|
|
180
- 230
|
0,98
|
6,1
|
244
|
|
230
- 350
|
35,9
|
0,99
|
35,6
|
1424
|
|
350
- 500
|
33,3
|
0,85
|
28,3
|
1132
|
|
Выше
500
|
18,2
|
1,25
|
22,8
|
912
|
|
Потери
|
0
|
-
|
0,8
|
32
|
|
Итого
|
100
|
-
|
100
|
4000
|
Таблица 31 Материальный баланс установки АВТ
|
Статьи
баланса
|
%
на нефть
|
%
на сырье установки
|
Тыс.
т/год
|
|
ПОСТУПИЛО:
|
|
Нефть
обессоленная и обезвоженная
|
100
|
100
|
4000
|
|
Всего:
|
100
|
100
|
4000
|
|
ПОЛУЧЕНО:
|
|
фракция
н.к.-70 оС
|
0,4
|
0,4
|
16
|
|
70
- 85 оС
|
0,4
|
0,4
|
16
|
|
85
- 105 оС
|
0,4
|
0,4
|
16
|
|
105
- 140 оС
|
1,4
|
1,4
|
56
|
|
140
- 180 оС
|
3,8
|
3,8
|
152
|
|
180
- 230 оС
|
6,2
|
6,2
|
244
|
|
230
- 350
|
35,6
|
35,6
|
1424
|
|
350
- 500
|
28,3
|
28,3
|
1132
|
|
Выше
500 оС
|
22,8
|
22,8
|
912
|
|
Потери
|
0,8
|
0,8
|
32
|
|
Всего
|
100
|
100
|
4000
|
Таблица 32 Материальный баланс блока АТ
|
Статьи
баланса
|
%
на сырье установки
|
Тыс.
т/год
|
|
Поступило:
|
|
Нефть
обессоленная и обезвоженная
|
100
|
4000
|
|
Получено:
|
|
Газ
и нестабильный бензин
|
6,4
|
256
|
|
Фракции
180 - 220 оС
|
4,8
|
192
|
|
Фракции
220 - 280 оС
|
16,3
|
652
|
|
Фракции
280 - 350 оС
|
21
|
840
|
|
Мазут
|
51
|
2040
|
|
Потери
|
0,5
|
20
|
|
Всего
|
100
|
4000
|
Таблица 33 Материальный баланс стабилизации и
вторичной перегонки бензина
|
Статьи
баланса
|
%
на сырье установки
|
Тыс.
т/год
|
|
Поступило:
|
|
Нестабильный
бензин
|
100
|
256
|
|
Получено:
|
|
Углеводородные
газы
|
3,125
|
8
|
|
Фракция
н.к. 70 оС
|
3,125
|
8
|
|
Фракция
н.к. 70 - 85 оС
|
6,25
|
16
|
|
Фракция
н.к. 85 - 180 оС
|
87
|
222,7
|
|
Потери
|
0,5
|
1,3
|
|
Всего:
|
100
|
256
|
Таблица 34 Материальный баланс блока
гидроочистки
|
Статьи
баланса
|
%
на сырье установки
|
Тыс.
т/год
|
|
Поступило:
|
|
Фракция
70 - 85 оС
|
6,7
|
16
|
|
Фракция
н.к. 85 - 180 оС
|
93,3
|
222,7
|
|
ВСГ
|
1,35
|
3,2
|
|
в
т.ч. водород
|
(0,15)
|
(0,35)
|
|
Всего:
|
101,35
|
241,9
|
|
Получено:
|
|
Гидрогенизат
|
99,00
|
236,3
|
|
Бензин-отгон
|
-
|
-
|
|
Углеводородные
газа
|
1,85
|
4,4
|
|
Сероводород
|
-
|
-
|
|
Потери
|
0,5
|
1,2
|
|
Всего:
|
101,35
|
241,9
|
Таблица 35 Материальный баланс гидроочистки дизельного
топлива
|
Статьи
баланса
|
%
на сырье установки
|
Тыс.
т/год
|
|
Поступило:
|
|
Фракция
220 - 280 оС
|
43,7
|
652
|
|
Фракция
н.к. 280 - 350 оС
|
56,3
|
840
|
|
ВСГ
|
1,4
|
20,9
|
|
в
т.ч. водород
|
(0,4)
|
(6)
|
|
Всего:
|
101,4
|
1512,9
|
|
Получено:
|
|
Гидрогенизат
|
96,9
|
1445,7
|
|
Бензин-отгон
|
1,2
|
17,9
|
|
Углеводородные
газа
|
1,6
|
23,9
|
|
Сероводород
|
1,2
|
17,9
|
|
Потери
|
0,5
|
7,5
|
|
Всего:
|
101,4
|
1512,9
|
Таблица 36 Материальный баланс гидроочистки
керосина
|
Статьи
баланса
|
%
на сырье установки
|
Тыс.
т/год
|
|
Поступило:
|
|
Фракция
180 - 220 оС
|
100
|
192
|
|
ВСГ
|
1,25
|
2,4
|
|
в
т.ч. водород
|
(0,25)
|
(0,48)
|
|
Всего:
|
101,25
|
194,4
|
|
Получено:
|
|
Гидрогенизат
|
97,9
|
188
|
|
Бензин-отгон
|
1,10
|
2,1
|
|
Углеводородные
газа
|
1,55
|
3
|
|
Сероводород
|
0,2
|
0,4
|
|
Потери
|
0,5
|
0,9
|
|
Всего:
|
101,25
|
194,4
|
Таблица 37
Материальный баланс гидроочистки бензина и
каталитического риформинга (установка Л 35-11/1000)
|
Статьи
баланса
|
%
на сырье установки
|
Тыс.
т/год
|
|
Поступило:
|
|
Фракция
85 - 180 оС
|
91,7
|
222,7
|
|
Бензин
- отгон гидроочистки ЛК-6У
|
-
|
-
|
|
Бензин
- отгон г/о дизтоплива ЛК-6У
|
7,4
|
17,9
|
|
Бензин
- отгон г/о КТ-1
|
0,9
|
2,1
|
|
Всего:
|
100
|
242,7
|
|
Получено:
|
|
Риформат
|
82,6
|
200,5
|
|
Рефлюкс
и углеводородный газ (в т.ч. Н2S)
|
6,9
|
16,7
|
|
ВСГ
|
10
|
24,3
|
|
В
т.ч. водород
|
(4,5)
|
(10,9)
|
|
Потери:
|
0,5
|
1,2
|
|
Всего:
|
100
|
242,7
|
Таблица 38 Материальный баланс ГФУ
|
Статьи
баланса
|
%
на сырье установки
|
Тыс.
т/год
|
|
Поступило:
|
|
Углеводородные
газы: г/о ЛК-6У-1
|
60,3
|
23,9
|
|
г/о
КТ-1
|
7,6
|
3
|
|
Стабилизации
и вторичной перегонки бензина ЛК-6У
|
20,2
|
8
|
|
Гидроочистки
ЛК-6У-1
|
11,9
|
4,7
|
|
Всего:
|
100
|
39,6
|
|
Получено:
|
|
Метан-этановая
фракция
|
24,0
|
9,5
|
|
Пропановая
фракция
|
24,0
|
9,5
|
|
Бутановая
фракция
|
28,4
|
11,2
|
|
Газовый
бензин
|
23,1
|
9,2
|
|
Потери
|
0,5
|
0,2
|
|
Всего:
|
100
|
39,6
|
Таблица 39 Материальный баланс блока висбрекинга
|
Статьи
баланса
|
%
на сырье установки
|
Тыс.
т/год
|
|
Поступило:
|
|
Гудрон
|
100
|
1413,1
|
|
Получено:
|
|
Углеводородный
газ
|
1,7
|
24,4
|
4,3
|
61,6
|
|
Дизельная
фракция
|
7,3
|
104,6
|
|
Газойль
|
15,7
|
225
|
|
Вакуумный
остаток висбрекинга
|
70,5
|
1010,3
|
|
Потери
|
0,5
|
7,2
|
|
Всего:
|
100
|
1413,1
|
Таблица 40 Материальный баланс блока вакуумной
разгонки мазута
|
Статьи
баланса
|
%
на сырье установки
|
Тыс.
т/год
|
|
Поступило:
|
|
Мазут
|
100
|
2040
|
|
Получено:
|
|
I-я
масляная фракция (фр. 350 - 450)
|
30,1
|
279,3
|
|
II-я
масленая фракция (фр. 450 - 500)
|
17,2
|
158
|
|
Гудрон
(фр. > 500 оС)
|
47,2
|
1592,7
|
|
Потери
|
0,5
|
10
|
|
Всего:
|
100
|
2040
|
Таблица 41 Материальный баланс блока
деасфальтизации гудрона
|
Статьи
баланса
|
%
на сырье установки
|
Тыс.
т/год
|
|
Поступило:
|
|
Гудрон
|
100
|
79,8
|
|
Получено:
|
|
Деасфатизат
|
48,5
|
38,7
|
|
Битум
деасфальтизации
|
51
|
40,7
|
|
Потери:
|
0,5
|
0,4
|
|
Всего:
|
100
|
79,8
|
Таблица 42 Материальные балансы блока
селективной очистки масел фурфуролом
|
Статьи
баланса
|
%
на сырье установки
|
Тыс.
т/год
|
|
I-й
поток
|
|
|
|
Поступило:
|
|
I-я
масляная фракция
|
100
|
279,3
|
|
Получено:
|
|
Рафинат
I-й масляной фракции
|
59
|
164,8
|
|
Экстракт
I-й масляной фракции
|
40,5
|
113,1
|
|
Потери
|
0,5
|
1,4
|
|
Всего:
|
100
|
279,3
|
|
II-й
поток
|
|
|
|
Поступило:
|
|
II-я
масляная фракция
|
100
|
158
|
|
Получено:
|
|
Рафинат
II-й масляной фракции
|
60
|
94,8
|
|
Экстракт
II-й масляной фракции
|
39,5
|
62,4
|
|
Потери
|
0,5
|
0,8
|
|
Всего:
|
100
|
158
|
|
III-й
поток
|
|
|
|
Поступило:
|
|
Деасфальтизат
|
100
|
38,7
|
|
Получено:
|
|
Остаточный
рафинат
|
62
|
24
|
|
Остаточный
экстракт
|
37,5
|
14,5
|
|
Потери
|
0,5
|
0,2
|
|
Всего:
|
100
|
38,7
|
Таблица 43 Материальный баланс производства
битума
|
Статьи
баланса
|
%
на сырье установки
|
Тыс.
т/год
|
|
Поступило:
|
|
Гудрон
|
25,7
|
79,8
|
|
Асфальт
деасфальтизации
|
13,2
|
40,7
|
|
Экстракты
от очистки масел
|
61,1
|
190
|
|
ПАВ
|
3
|
9,3
|
|
Всего:
|
103
|
319,8
|
|
Получено:
|
|
Битумы
дорожные
|
72,7
|
225,7
|
|
Битумы
строительные
|
26,9
|
83,5
|
|
Отгон
|
1,3
|
4
|
|
Газ
окисления
|
1,6
|
5
|
|
Потери
|
0,5
|
1,6
|
|
Всего:
|
103
|
319,8
|
Таблица 44 Материальный баланс установки
изомеризации
|
Статьи
баланса
|
%
на сырье установки
|
Тыс.
т/год
|
|
Поступило:
|
|
Фракция
н.к. 70 оС
|
100
|
8
|
|
ВСГ
|
0,8
|
0,064
|
|
В
т.ч. водород
|
(0,2)
|
0,016
|
|
Всего:
|
100,8
|
8,064
|
|
Получено:
|
|
Изомеризат
|
95,8
|
7,664
|
|
Автобензин
|
4,5
|
0,36
|
|
Потери
|
0,5
|
0,04
|
|
Всего:
|
100,8
|
8,064
|
Таблица 45 Материальный баланс установки
производства серы
|
Статьи
баланса
|
%
на сырье установки
|
Тыс.
т/год
|
|
Поступило:
|
|
Сероводород
|
100
|
8,8
|
|
Получено:
|
|
Сера
элементарная
|
99,5
|
8,756
|
|
Потери
|
0,5
|
0,044
|
|
Всего:
|
100
|
8,8
|
Таблица 46 Материальный баланс завода в целом
|
Статьи
баланса
|
%
на сырье установки
|
Тыс.
т/год
|
|
Поступило:
|
|
Нефть
обессоленная
|
100
|
4000
|
|
ПАВ
|
0,18
|
7,2
|
|
Присадки
к маслам
|
0,5
|
20
|
|
Всего:
|
100,68
|
4027,2
|
|
Получено:
|
|
Автомобильный
бензин
|
6,2
|
248
|
|
В
т.ч. катализат риформинга
|
(5)
|
(200,5)
|
|
Газовые
бензины
|
(0,2)
|
(9,2)
|
|
Изомеризат
|
(0,2)
|
(7,664)
|
|
Автобензин
|
(0,01)
|
(0,36)
|
|
Бензин
висбрекинга
|
(0,59)
|
(61,6)
|
|
Гидроочищенное
дизельное топливо
|
36
|
1445,7
|
|
Очищенный
керосин
|
4,7
|
188
|
|
Рефлюкс
и УВГ (в т.ч.Н2S)
|
0,4
|
16,7
|
|
ВСГ
|
0,6
|
24,3
|
|
Метан
- этановая фракция
|
0,24
|
9,5
|
|
Пропановая
фракция
|
0,24
|
9,5
|
|
Бутановая
фракция
|
0,3
|
11,2
|
|
УВГ
|
0,1
|
4
|
|
Дизельная
фракция
|
0,4
|
17,5
|
|
Газойль
|
5,6
|
225
|
|
Вакуумный
остаток висбрекинга
|
25,2
|
1010,3
|
|
I
- я масленая фракция (350 -450 оС)
|
|
|
|
В
т.ч. рафинат I - ой масленой фракции
|
4,11
|
164,4
|
|
II
- я масленая фракция
|
|
|
|
В
т.ч. рафинат II - ой масленой фракции
|
2,4
|
94,8
|
|
Деасфальтизат
|
|
|
|
В
т.ч. остаточный рафинат
|
0,6
|
24
|
|
Битумы
дорожные
|
5,6
|
225,7
|
|
Битумы
строительные
|
2,1
|
83,5
|
|
Отгон
|
0,3
|
12,1
|
|
Газ
окисления
|
0,4
|
14,9
|
|
Сера
элементарная
|
0,22
|
8,7
|
|
Присадки
|
0,5
|
20
|
|
Потери
безвозвратные
|
0,8
|
32,2
|
|
Всего:
|
100,68
|
4027,2
|
Компаундирование нефти продуктов
На современных НПЗ большинство установок
работает с получением компонентов, т.е. продуктов, не соответствующих по ряду
показателей требованиям ГОСТов и ТУ (фракционному составу, октановому числу,
температуре застывания, вязкости и др.). Смешением таких компонентов между
собой и введением присадок и добавок получают товарную продукцию, отвечающую
требованиям нормативно-технической документации.
Необходимо составить таблицу материального
баланса по товарным продуктам, полученным смешением (бензин, дизельное
топливо).
Таблица 47
Материальный баланс по бензину
|
Статьи
баланса
|
%
на нефть
|
%
на топливо
|
тонн/год
|
|
Получено:
|
|
Изомеризат
|
0,19
|
3,3
|
7524
|
|
Риформат
|
5,01
|
87,9
|
200412
|
|
Газовый
бензин
|
0,23
|
4
|
9120
|
|
Бензин
висбрекинга
|
0,26
|
4,6
|
10488
|
|
Автобензин
|
0,01
|
0,2
|
456
|
|
Всего.
|
5,7
|
100
|
22800
|
Мероприятия, предусматриваемые на НПЗ для защиты
окружающей среды
Промышленные предприятия топливно-энергетического
комплекса, в том числе химической, нефтеперерабатывающей и нефтехимической
промышленности, а также автомобильный транспорт в настоящее время являются
одними из наиболее крупных источников загрязнения природы: атмосферы, почвы,
водоемов и морей.
По характеру влияния на природу все загрязнители
можно разделить на химические, механические, тепловые, биологические,
акустические (шумовые), электромагнитные и радиоактивные; по физическому
состоянию - на газообразные, жидкие, твердые; по происхождению - на естественные
(природные) и антропогенные.
Загрязнения атмосферы. По своим источникам
антропогенные атмосферные загрязнения разделяются на следующие группы:
Ниже приведены показатели для различных типов
двигателей по относительным удельным выбросам основных токсичных компонентов:
Двигатель СО [СН] NO Сажа Бензпирен
Карбюраторный 15 6 2 1 2
Дизельный 1 2 1 20 1
Газотурбинный 1 1 6 1 20
) газовые выбросы ТЭС и котельных. Они содержат
примерно те же примеси, что и транспортные загрязнения, а также частички угля,
золы и т.д. Природа этих загрязнений изменяется в зависимости от вида топлива,
типа сжигания, режима работы и регулировки горелок.
) газовые выбросы промышленных предприятий.
Больше всего загрязняют окружающую среду металлургическая,
топливно-энергетическая, нефтехимическая и химическая промышленности. Эти
загрязнения весьма разнообразны, и их состав зависит от качества сырья и
технологии переработки.
Экологизация химической технологии. Наиболее
традиционно применяемый подход при организации борьбы против загрязнения
окружающей среды - строительство очистных сооружений. Однако это целесообразно
лишь для приспособления существующих производств к новым требованиям экологии,
поскольку приводит к значительному увеличению капитальных и эксплуатационных
затрат и мало снижает реальные отходы. Главным направлением решения проблемы
экологической безопасности следует считать экологизацию химических производств,
то есть создание экологически чистых безотходных, точнее, малоотходных
технологических производств, в которых наиболее рационально и комплексно
используются все компоненты сырья и энергии и не нарушаются нормальное
функционирование окружающей среды и природное равновесие.
Можно выделить следующие основные направления в
осуществлении экологически чистых технологических процессов, в том числе
нефтехимических:
) комплексное использование и глубокая
переработка сырья. Производство должно быть как можно менее ресурсоемким
(ресурсосберегающие технологии), осуществляться с минимумом затрат сырья и
реагентов на единицу продукции. Образующиеся полуфабрикаты должны передаваться
в качестве сырья другим производствам и полностью перерабатываться. Пример
такого подхода - технология глубокой переработки нефти;
) оптимальное использование энергии и топлива.
Производство должно осуществляться при минимальных затратах энергии и топлива
на единицу продукции (энергосберегающие технологии) и, следовательно, тепловые
загрязнения окружающей среды также минимальны. Энергосбережению способствуют:
укрупнение и энерготехнологическое комбинирование процессов; переход на
непрерывные технологии; совершенствование процессов разделения; применение
активных и селективных катализаторов, позволяющих проводить процессы при пониженных
температурах и давлениях; рациональная организация и оптимизация тепловых схем
и схем рекуперации энергетического потенциала отходящих потоков; снижение
гидравлического сопротивления в системах и потерь тепла в окружающую среду и
т.д. Нефтеперерабатывающие и нефтехимические предприятия являются крупными
потребителями топлива и энергии. В их энергетическом балансе на долю прямого
топлива приходится 43 - 45 %, тепловой энергии - 40 - 42 % и электрической -
13-15 %. Полезное использование энергетических ресурсов не превышает 40 - 42 %,
что приводит к перерасходу топлива и образованию тепловых выбросов в окружающую
среду;
) создание принципиально новых малоотходных
технологических процессов. Этого можно добиться совершенствованием
катализаторов, техники и технологии производств. Малоотходные процессы более
эффективны, чем процессы с дорогостоящими очистными сооружениями. Экономичнее
получать небольшое количество сильно концентрированных отходов, которые можно
перерабатывать или ликвидировать по специальной технологии, чем большой объем
сильно разбавленных отходов, сбрасываемых в биосферу;
) создание и внедрение замкнутых систем
водопользования, включающих (или сводящих к минимуму) потребление свежей воды и
сброс сточных вод в водоемы;
) обеспечение высокой эксплуатационной
надежности, герметичности и долговечности функционирования оборудования и всех
систем производств. Сведение к минимуму или исключение вероятности аварий,
взрывов, пожаров и выбросов отравляющих веществ в окружающую среду. Разработка
автоматизированных систем обеспечения экологической безопасности производств и
комплексов;
) обеспечение высокого качества целевых
продуктов, используемых в народном хозяйстве. Экологически чистыми должны быть
не только сами технологические процессы, но и выпускаемые в них товарные
продукты. Так, моторные топлива должны удовлетворять возросшим экологическим
требованиям по содержанию сернистых соединений, ароматических углеводородов,
вредных присадок, например, этиловой жидкости и т.д.;
) использование новых экологически чистых
продуктов из альтернативных источников сырья, например, нефтяного и природных
газов, кислородсодержащих углеводородов (спиртов, эфиров) и водорода в
автомобильном транспорте. Перевод части автотранспорта на альтернативные
топлива рассматривается во многих странах мира как радикальная мера снижения
вредных выбросов автомобиля, оздоровления воздушного бассейна больших городов,
позволяющая одновременно значительно расширить ресурсы моторных топлив. Мировой
парк автомобилей, работающих в настоящее время только на газовых топливах,
превысил 4,5 млн единиц и растет исключительно быстрыми темпами.
Кроме того, оздоровлению окружающей среды
способствуют также конструктивное совершенствование и экологизация мобильной
техники. Так, применительно к автотранспорту это означает:
дизелизацию, то есть преимущественное
использование дизелей, по сравнению с бензиновыми автомобилями;
усовершенствование электромобилей;
повышение топливной экономичности транспортных
средств за счет снижения их тоннажности (преимущественный выпуск автомобилей
малого и особо малого классов, мини-тракторов), применения легких синтетических
материалов взамен стали, кузовов с малым аэродинамическим сопротивлением и т.д;
снижение токсичности транспортных средств за
счет совершенствования конструкции двигателей и улучшения процесса сгорания
(двигатели с турбонаддувом, форкамерные, малотоксичный двигатель Стирлинга,
двигатели с отключением части цилиндров при малых нагрузках, двухтопливные
двигатели, установка каталитических зажигателей или нейтрализаторов выхлопных
газов, электронных зажигателей, использование компьютеров и т.д.).
Заключение
Разработана поточная технологическая схема
нефтеперерабатывающего завода по переработке 4 миллионов тонн в год троицко -
анастасиевской нефти.
Данная нефть перерабатывается по топливному -
масленому варианту, потому что кроме моторных топлив из нефти получают
смазочные масла.
Основными товарными продуктами разработанного
НПЗ являются моторные топлива. Выход их составляет: автобензина различных
марок, реактивного топлива, марки ТС-1, дизельного топлива, марки «З», марки
«А». А также получаются различные масла, битумы (дорожные и строительные) и
другие продукты.
Преимущества разработанной поточной схемы завода
заключаются в следующем: переработка нефть компаундирование
Технология поточной схемы обеспечивает глубокую
переработку углеводородного сырья по топливному - масленому варианту;
Переработка нефти по технологии поточной схемы
является безотходной, т.е. все получаемые побочные продукты являются либо товаром,
либо сырьём для других процессов химической промышленности;
Для увеличения глубины переработки и
экологизации производства необходимо предусмотреть возврат потерь в сырьё, для
последующей переработки. На канализационные стоки ставить нефтеловушки и возвращать
углеводороды в процесс переработки.
Список используемой литературы
С.А.Ахметов.
Технология глубокой переработки нефти и газа, Уфа, издательство «Гилем», 2002г.
А.И.Богомолов,
А.А.Гайле, В.В.Громова и др. Химия нефти и газа, Ленинград: «Химия» - 1989г.
В.
М. Капустин, М.Г. Рудин, А.М. Кудинов Основы проектирования
нефтеперерабатывающих и нефтехимических предприятий М.- «Химия» - 2012г.
А.
Н.,Переверзев,С.Н. Овчаров, А. С. Овчарова Разработка поточных технологических
схем НПЗ - Ставрополь: СКФУ - 2012г.
В.
П.Суханов Переработка нефти М.: - Высшая школа - 1979г.
Нефти
СССР (справочники). Том 3, М. -, «Химия» - 1972г.
Приложение №1 Поточная схема завода по
топливному - масляному варианту с глубокой переработки
троицко - анастасиевской нефти производительностью 4 млн. т/год