Синтез и физико-химические свойства биядерных комплексов железа с октафенилпорфиразином и фталоцианином
Федеральное агентство по образованию
Государственное
образовательное учреждение
высшего
профессионального образования
Ивановский
государственный химико-технологический университет
Кафедра
технологии пищевых продуктов и биотехнологии
Магистерская
диссертация
Синтез и
физико-химические свойства биядерных комплексов железа с октафенилпорфиразином
и фталоцианином
Студент: Громова Е.Д.
Научный руководитель:
доц. Иванова С.С.
Руководитель программы:
д.х.н. проф. Макаров С.В.
Иваново 2010
Аннотация
железо фталоцианин бром биядерный
Громова Е.Д. Синтез и физико-химические свойства биядерных комплексов
железа с октафенилпорфиразином и фталоцианином. Магистерская диссертация.
Иваново: ИГХТУ, 2010, 61 c.
В данной научной работе получен и спектрально охарактеризован
водорастворимый биядерный комплекс фталоцианина железа. Проведена его
периферическая модификация: получена аммонийная соль
µ-нитридо-бис(тетрасульфофталоцианин железа (III1/2)),
µ-нитридо-бис(тетра-(N,N,-дибутилсульфамидо)фталоцианин железа (III1/2)).
Проведено окисление красителя кислотного оранжевого пероксидом водорода в
присутствии водорастворимого биядерного комплекса фталоцианина железа
N(Fe(SO3NН4)4). Изучено поведение µ-нитридодимера октафенилпорфиразина
N(FeOPTAP)2 в присутствии окислителя брома.
В работе рисунков 38, схем 4.
Содержание
Условные
обозначения
Введение
.
Аналитический обзор литературы
.1 Общие
сведения о порфиринах и родственных соединениях
.2
Геометрическое строение тетрапиррольных макроциклов на основе порфирина
.3 Синтез
комплексов железа с порфиразином
.4 Синтез
биядерных комплексов железа с порфиразинами и фталоцианином
.5 Получение
водорастворимых комплексов
.6
Электронная спектроскопия как метод исследования координационных форм
Fe-комплексов
.7
Масс-спектральный анализ
.8
ИК-спектроскопия
.9
ЭПР-спектроскопия
.10
Окисленные формы димеров
.11
Каталитические свойства в реакциях окисления-восстановления
.
Экспериментальная часть
.1 Подготовка
растворителей и реактивов
.2
Физико-химические методы исследования
.3 Синтез
бромид октафенилтетраазапорфирина железа (ΙΙΙ),
BrFeОФТАП
.4 Синтез
гидросульфата октафенилатетраазапорфирина железа (ΙΙΙ),
(HSO4)FeОФТАП
.5 Синтез
µ-нитридо-бис(октафенилтетраазопорфирина железа (ΙΙΙ
½), N(FeОФТАП)2
.6 Синтез
биядерных комплексов фталоцианина железа
2.7
Исследования окислительно-восстановительных реакций с участием µ-нитридодимеров
. Результаты
и обсуждение
.1 Синтез и
спектральная характеристика моноядерных комплексов железа
3.2 Синтез и
спектральная характеристика биядерных комплексов железа с октафенилпорфиразином
и фталоцианином
3.3 Получение
водорастворимого биядерного комплекса фталоцианина железа и его модификация
.4
Определение каталитической активности N(FeФц(SO3NН4)4)2 в реакции окисления
красителя кислотного оранжевого пероксидом водорода
3.5 Изучение
состояния биядерных комплексов в присутствии брома как окислителя
Выводы
Список
использованной литературы
Условные обозначения
ДХМ - дихлорметан;
ДМСО - диметилсульфоксид;
ДМФА - диметилформамид;- пиридин;- бромнафталин
ДФФН - дифенилфумародинитрил;
ОФТАП - дианион октафенилтетраазапорфирина;
Фц - дианион фталоцианина;
Фц(SO3H)4 - дианион тетрасульфонатофталоцианина;
Фц(SO2Cl)4 - дианион тетрахлоросульфотанофталоцианина;
Фц(SO3NBu2)4 - тетра(N,N-дибутилсульфамидо)фталоцианина;ФП - дианион
тетрафенилпорфирина;
Введение
Тетрапиррольные макроциклические соединения (порфирины и их структурные
аналоги - порфиразины и фталоцианины) давно уже являются предметом интенсивных
исследований не только вследствие огромного значения этих соединений в живой
природе, но и благодаря все расширяющемуся кругу их практического применения. В
настоящее время известно более 30 областей практического использования
порфиринов. Порфирины, металлопорфирины и их аналоги применяются в качестве
сверхпрочных красителей и пигментов, эффективных катализаторов и
биокатализаторов различных процессов, лекарственных препаратов, особенно для
фотодинамической и нейтроно-захватной терапии рака, а также в качестве
модельных соединений при исследовании ряда биологических процессов [1-11].
Успешное развитие этих направлений зависит от наличия надежных
высокоэффективных методов синтеза и модификации порфиринов, обладающих самыми
разнообразными физико-химическими свойствами, устойчивых к действию агрессивных
сред и реагентов, хорошо растворимых в растворителях различной природы, в том
числе водных растворах.
Важным свойством порфиринов и фталоцианинов является их способность
образовывать устойчивые комплексы с различными металлами. Порфириновый фрагмент
входит в состав таких важнейших соединений как гемоглобин, осуществляющего
перенос диатомного кислорода от легких к тканям, хлорофилл, принимающий участие
в фотосинтезе растений, а также фермент цитохромов, играющих определяющую роль
в биохимических окислительных процессах.
Сейчас ученые проявляют большой интерес к изучению биядерных комплексов
порфиразина и фталоцианина железа. Известно, что многие природные ферменты,
такие как метан-монооксигеназа, толуол-монооксигеназа содержат в своей
структуре в качестве активного центра биядерные комплексы железа -
µ-оксодимерные структуры. Так, было показано [12-15], что структура ФцFe-O-FeФц
является более эффективным катализатором окисления многих соединений (например,
метилнафталина и триметилфенола) по сравнению с соответствующим мономером.
Такой эффект обусловлен лучшей делокализацией заряда между двумя атомами железа
в биядерном комплексе. Однако в ходе окислительно-восстановительных реакций,
катализируемых биядерными µ-оксо-комплексами, он превращается в моноядерный
комплекс, что приводит к уменьшению эффективности работы катализатора и
снижению селективности. В поисках более устойчивой биядерной структуры ученые
обратились к µ-нитридо-комплексам. В 2003 г профессором Эрколани в Хэндбуке был
опубликован обзор, объединяющий все накопленные к этому времени знания по
синтезу и характеристике µ-нитридо-комплексов порфиринов и фталоцианинов [16].
В последние 2-3 года стали появляться сообщения о высоких каталитических
свойствах µ-нитридо-комплексов фталоцианина. Так, было обнаружено, что ФцFe-N-FeФц
является высокоэффективным и экологически чистым катализатором окисления таких
химически инертных соединений, как метан и пропан [15,17].
Но, к сожалению, полученные на данный момент биядерные комплексы не
обладают растворимостью в воде в отличие от их природных аналогов, что было бы
интересно при изучении этих соединений как синтетических аналогов действия
естественных оксиредуктаз. Поэтому целью нашей работы стало получение биядерных
комплексов фталоцианинов и порфиразинов, а также их водорастворимых
производных, изучение их физико-химических свойств и окислительно
восстановительных реакций с их участием.
1. Аналитический обзор литературы
.1 Общие сведения о порфиринах и родственных соединениях
К порфиринам относятся многочисленные циклические ароматические
полиамины, содержащие многоконтурную сопряженную систему, в основе которой
лежит 16-членный макроцикл с замкнутой сопряженной системой, включающий 4-8
атомов азота. Родоначальником всех порфиринов является простейший макроцикл -
порфин, структурная формула которого приведена на рис. 1.1.
Рис. 1.1. Структурная формула порфина с обозначением атомов по
номенклатуре Фишера

Макроцикл ароматической природы образован замыканием четырех (І, ІІ, ІІІ,
ІV) пиррольных колец с помощью метиновых (-СН=) мостиков. Метиновые мостики
(-СН=) по широко используемой номенклатуре Фишера принято нумеровать греческими
буквами α,
β, γ и δ,
которые также называют -
мезо-положение. По номенклатуре ИЮПАК принята нумерация атомов в порфирине,
представленнаяна рис. 1.2. [18].
Мостиковое СН - замещение гетероатомом азота (=N-)
приводит к многочисленной группе синтетических азопорфиринов. Для наименования
5,10,15,20-тетраазапорфина и его производных Линстедом, разработавшим в
-50-е годы удобные методы их синтеза, было предложено
название порфиразин (рис. 1.3). Наиболее известным и хорошо изученным
порфиразином является тетрабензопорфиразин, обычно называемый фталоцианином
(рис. 1.4) [19].
Рис. 1.3. Порфиразин (R=H) (если R=Ph -
октафенилпорфиразин)
Рис. 1.4. Фталоцианин
История изучения химии порфиринов и фталоцианинов насчитывает уже
практически 100 лет (работы Линстеда 20-е гг).
В настоящее время большое внимание уделяется изучению биядерных
комплексов фталоцианина как перспективных катализаторов процессов окисления
[17]. Структура биядерного комплекса напоминает сэндвич, в котором два
макроциклических лиганда с координированным атомом железа соединены через
кислород (μ-оксо комплекс), азот (μ-нитридо-комплекс) или углерод (μ-карбидо комплекс). Биядерный
комплекс, в котором N-мостик соединяет две порфириновые единицы, впервые был
получен в 1976 г. (рис. 1.5) [20], фталоцианиновый - в 1986 г. (рис.1.6) [21].
Рис. 1.5. Биядерный μ-нитридо
Рис. 1.6. Биядерный μ-нитридо комплекс порфиразина железа
комплекс фталоцианина железа
.2 Геометрическое строение тетрапиррольных макроциклов на основе
порфирина
Координационный центр порфиринового лиганда (N4H2) состоит из четырех
атомов азота (2 пиррольных -NH- и 2 пирролениновых =N-).В металлокомплексе
воздействие металла на все 4 атома азота равномерно распределяется. Строение
реакционного центра, отражая геометрию и электронную структуру молекулы
порфирина в целом, оказывает важное влияние на кинетические параметры
образования металлопорфиринов, их диссоциацию, координационные и спектральные
свойства. [22] Электронная и геометрическая структура молекулы порфирина
определяет состояние и прочность N-H связей, а также особенности сольватации
реакционного центра. Размеры координационной полости определяют степень
стерической совместимости между лигандом и ионом металла. Расстояние N-Ct
(Сt-центр координирующей полости порфирина) в среднем равно 2.055±0.01
Å.
Значительные изменения геометрии макроцикла и его координационного центра
наблюдаются при переходе от порфирина к тетраазапорфирину (порфиразину)
(рис.1.7).
Рис. 1.7. Средние геометрические параметры скелета порфирина (вверху)
[23] и изменения при тетраазазамещении (внизу) [24]. Длины связей и их
изменения даны в Å, углы - в градусах. А - кольца пиррольного типа, В -
пирроленинового.
Исчерпывающий анализ структурных изменений в строении координационного
узла порфириновых лигандов под влиянием состояния атома Fe и связанного с ним
аксиального лиганда, сделал Хорд в своем обзоре. В нем имеются многочисленные
данные, касающиеся расстояний M-CtN, характеризующих удаление иона металла от
плоскости N4 порфиринового ядра и др. Предполагается, что комплексы с
порфиринами, если они не связаны с аксиальными лигандами, имеют плоскостное
строение координационного центра.
Но, следует заметить, что в результате колебательных взаимодействий в
системе металлопорфирина атом Fe находится преимущественно вне плоскости
макроцикла. Удаление металла от плоскости N4 в первую очередь зависит от
прочности ковалентного связывания экстралигандов с металлопорфиринами [25].
В пентакоординационных комплексах атом Fe значительно выходит из
плоскости внутрициклических атомов азота N4 в сторону аксиального лиганда.
Расстояние, на которое удаляется металл от центра плоскости Fe-CtN, зависит от
силы координационного взаимодействия Fe-порфирин - Fe-аксиальный лиганд, от
размеров и заряда аксиальных лигандов и определяется силами притяжения и
отталкивания в системе Fe-аксиальный лиганд-порфин [26].
Установлено, что чем прочнее координационная связь металл-порфирин, тем
менее ковалентна и прочна связь металл-аксиальный лиганд и, следовательно, тем
больше способность к сохранению плоскостной структуры MN4 и всего макроцикла в
целом [22].
При мезо-азазамещении наблюдаются существенные изменения длин связей
между атомом железа и пиррольными атомами азота (Fe-Np) этих лигандов, а также
между центром макроцикла и атомами азота пиррольных колец (Ct- Np). Это
объясняется тем, что замена метиновых групп Смезо-Н на атомы Nмезо в
порфиразинах и фталоцианине приводит к сужению координационной плоскости N4 за
счет возрастания порядка π-связей CN и отрицательной разности в размерах атомов N
и C в макроцикле. При этом наблюдается уменьшение углов у атома, образующего
мостиковую связь. Это обусловлено повышенными пространственными требованиями
пары электронов φN-орбитали и, как следствие, приводит к уменьшению
размеров центрального координационного пространства в случае Fe-порфиразина и
Fe-фталоцианина, по сравнению с Fe-порфирином. Кроме того, улучшаются условия
для участия в σ-связывании вакантной орбитали 3dx2-y2 атома Fe, и как
следствие, связь атома Fe с макрокольцом упрочняется, и его выход из плоскости
N4 затрудняется. Уменьшение расстояния Fe-CtN подтверждает это. Для
пентакоординированных комплексов Fe(III) высокоспиновое состояние становится
менее выгодным, чем смешанное (S=3/2+5/2) у XFeФц [27].
Рентгеноструктурные исследования μ-оксо и μ-нитридо димеров комплексов железа
были обобщены в работе Эрколани [16]. Стерические помехи, создаваемые объемными
порфириновыми лигандами, приводят к тому, что μ-димерный мостик М-Х-М в них является
почти линейным. Наибольшие отклонения от линейности наблюдаются для μ-оксодимеров, когда угол может
достигать (174,5°).
Рис. 1.8
В молекуле μ-нитридо оптимальный угол близок к 180° (рис.1.8).
Расстояние между макроциклическими лигандами в димере определяется степенью
выхода из плоскости атома металла и длиной связи М-Х. В μ-(FeTФП)2О атом Fe выходит из плоскости N4
на 0,5 Å,
и расстояние Fе-О равно 1,763
Å.
Данные рентгеноструктурного анализа показывают, что в μ-(FeTФП)2N атом железа выходит из
плоскости N4 на меньшую величину (0,32 Å), тогда как расстояние между железом и
мостиковым атомом азота составляет 1,6605(7) Å.
Таким образом, в μ-нитридодимере по сравнению с μ-оксодимером сближены как атомы Fe,
так и макроциклические лиганды.
1.3 Синтез комплексов железа с порфиразином
Металлокомплексы железа с порфиразинами и фталоцианином наиболее удобно
получать темплатным синтезом путем формирования лиганда порфиразина из его
отдельных частей вокруг центрального атома металла, т.е. синтез на матрице. В
качестве матрицы берется соль подходящего металла, который удовлетворяет всем
стерическим (пространственным) требованиям формирующегося порфиразиновый
макроцикл. Реакции такого типа проводят при высоких температурах
непосредственным спеканием реагентов или в высококипящем растворителе
(хлорнафталин, хинолин) [28].
Методика получения железопорфиразинов темплатным синтезом описана в [29].
При темплатной циклотетрамеризации дифенилфумародинитрила (ДФФН) с карбинол
железа (Fe(CO)5) в кипящем 1-бромнафталине первоначально образуется зеленый
карбонильный комплекс (COFe(ΙΙ)ОФТАП), который при контакте
реакционной смеси с воздухом переходит в красно-коричневый бромидный комплекс
BrFe(ΙΙΙ)ОФТАП и может быть очищен
хроматографией на кислой окиси алюминия. Полученный при этом комплекс является
удобным исходным материалом для синтеза различных координационных форм Fe(ΙΙ)
и Fe(ΙΙΙ)
октафенилпорфиразинов
[30, 31].
.4 Синтез биядерных комплексов железа с порфиразинами и фталоцианином
При хроматографии BrFe(ΙΙΙ)ОФТАП или (H2SO4)Fe(ΙΙΙ)ОФТАП на нейтральной или основной
окиси алюминия образуется µ-оксодимер µ-О(FeОФТАП)2, который при обработке
кислотой НХ дает соответствующие ацидокомплексы (X)FeОФТАП с различными
ацидолигандами. Встряхивание раствора (X)FeОФТАП в органических растворителях с
водным раствором NaOH приводит к изменению цвета раствора с красно-коричневого
на зеленый вследствие образования µ-оксодимера µ-О(FeОФТАП)2. Анионный
дигидрокомплекс [(НО)2FeПАРH8]- является возможным интермедиатом в этой реакции
[19].
При встряхивании в делительной воронке комплекса (H2SO4)FeОФТАП,
растворенного в толуоле или бензоле, с азидом натрия и дальнейшим кипячении
отделенного органического слоя получается комплекс µ-нитридодимера
µ-N(FeОФТАП)2, который может быть очищен при помощи колоночной хроматографии на
окиси алюминия. Схема синтеза биядерных комплексов Fe-октафенилпорфиразина
представлена на рис.1.9.
Был исследован механизм образования µ-N(FeОФТАП)2 из азидного комплекса
[32]. Лимитирующей стадией является разложение азидного комплекса при
нагревании и образование реакционноспособного неустойчивого интермедиата,
содержащего Fe(V), с концевой нитридной группой [:NºFe(V)ОФТАП]. µ-Нитридный комплекс
образуется в результате неполного переноса нитридного атома азота к атому
железа в азидном комплексе:
[:NºFe(V)ОФТАП]
+ [(N)3Fe(III)ОФТАП] ® [m-N(Fe(IV)ОФТАП)2](N3) ® µ-N(FeОФТАП)2.
Рис. 1.9. Схема синтеза биядерных комплексов Fe-октафенилпорфиразина
1.5 Получение водорастворимых комплексов
Водорастворимые комплексы фталоцианинов классически могут быть получены
при введении сульфогрупп по периферии макроцикла с образованием соответствующих
сульфокислот.
Так, например, получают красители на основе фталоцианина - CuФц
обрабатывают хлорсульфоновой кислотой в присутствии тионилхлорида,
образовавшийся CuФц(SO2Cl)4 подвергают гидролизу и получают CuФц(SO3H)4 [33].
.6 Электронная спектроскопия как метод исследования координационных форм
Fe-комплексов
Порфиразины, обладая протяженной ароматической π-системой, имеют характерные
электронные спектры поглощения (ЭСП), которые являются очень чувствительными как
к строению макроциклического лиганда, так и к наличию
металла-комплексообразователя, его природе, спиновому и окислительному
состоянию и координационному окружению.
Поэтому метод ЭСП широко применяется для характеристики и исследования
состояния порфиразинов и фталоцианинов.
Основой для теоретической интерпретации спектральных данных является
четырехорбитальная модель Гоутермана [34, 35], несомненными достоинствами
которой являются наглядность и простота (рис. 10.1).
Рис. 1.10. Свойства симметрии ВЗМО (p1 и p2)
и НВМО (p*1 и p*2) для порфиразинового лиганда, имеющего D2h
симметрию; размер кружков пропорционален величине коэффициентов атомных
орбиталей (слева). Энергетические уровни порфиразина лиганда (D2h) и его комплексов,
дикатионов и дианионов (D4h) (справа).
Для комплексов с металлами, имеющими незаполненную d-оболочку, в
частности, для комплексов Fe, характерно наличие в ЭСП переходов с переносом
заряда между металлом и макроциклическими экстралигандами. Положение π→π* - переходов и проявление ПЗ-переходов
зависят от степени окисления и спинового состояния
металла-комплексообразователя, природы и количества экстралигандов в его
координационной сфере [36]. Электронная спектроскопия является чувствительным и
надежным методом определения окислительного и спинового состояния атома железа
при характеристике и идентификации различных координационных форм комплексов
Fe-азапорфиринов с переходными металлами.
В комплексах железа с порфиразиновыми лигандами наблюдается взаимодействие
d-орбиталей железа с орбиталями лиганда. Для FePc возможны следующие
электронные перходы:
. Рс → Fe: α 1u, α 2u (π) →
eg(dπ); α 2u (π) → α 1g(dz2).
2. Fe → Рс: b2g(dxy), eg(dπ) → eg(π*).
Переходы с орбиталей лиганда на орбитали атома железа α
1u (π) →
α 1g(dz2) и α
2u (π) →
b2g(dx2-y2) запрещены по симметрии. Переход α 2u (π) →
α 1g(dz2) разрешен,
но в спектрах соответствующая ему полоса малоинтенсивна. Она наблюдается как в
комплексах с Fe(ІІ), так и с Fe(ІІІ) [37].
Характер ЭСП комплексов Fe(III) зависит от координационного состояния
атома железа (рис.1.12). В ЭСП Вместо пентакоординационных комплексов XFeOPTAP
вместо двух интенсивных Q- и В-полос в видимой области спектра наблюдаются 4
полосы с убывающей интенсивностью (рис. 1.11). Такой характер спектра связан с
появлением интенсивных полос переноса заряда с ВЗМО на частично заполненные
d-орбитали атома железа (p®dz2
при 400-450 нм и p®dp при 650-725 нм). Q- и В-полосы при
этом гипсохромно смещены (до 530-560 и 310-330 нм, соответственно) вследствие
дестабилизации НВМО макроцикла при взаимодействии с dp орбиталями.
В присутствии нуклеофилов (N-основания, гидроксид, фторид) происходит
практически мгновенное присоединение экстралиганда в транс-положение с
образованием гексакоординационных комплексов X2Fe(III)OPTAP. Отличительной
особенностью их ЭСП является наличие одной уширенной Q-полосы поглощения (рис.
1.12 для [(OH)2FeOPTAP]-).
Рис. 1.12. ЭСП пентакоординационных ацидокомплексов
Fe(III)-октафенилпорфиразина [(X)FeПАPh8] (X=F, Cl, Br, I, HSO4) в CH2Cl2
Рис. 1.13. ЭСП различных координационных форм Fe-октафенилпорфиразина
Важными координационными формами Fe-октафенилпорфиразина и фталоцианина
являются биядерные m-комплексы.
В ЭСП мюнитридо димеров наблюдается уширение Q-полосы вследствие экситонного
взаимодействия дух соседних p-хромофоров (в области 620 нм в толуоле, 628 нм в хлороформе [29] для m-N(FeOPTAP)2 и 625 нм для N(FeФц)2 в
пиридине [38].
.7 Масс-спектральный анализ
Масс-спектрометрия - метод исследования вещества путём определения масс
ионов этого вещества (чаще отношений масс ионов к их зарядам) и их количеств.
Совокупность значений масс и их относительных содержаний называется
масс-спектром.
В масс-спектроскопии используется разделение в вакууме ионов разных масс
под воздействием электрических и магнитных полей. Поэтому исследуемое вещество
прежде всего подвергается ионизации. Чаще исследуются положительные ионы, так
как существующие методы ионизации позволяют получать их более простыми путями и
в больших количествах, чем отрицательные.
Молекулярный структурный масс-спектральный анализ основан на том, что при
ионизации вещества некоторая доля молекул превращается в ионы, не разрушаясь, а
некоторая доля при этом распадается на осколки - фрагменты (диссоциативная
ионизация, фрагментация). Измерение масс и относительного содержания
молекулярных и осколочных ионов (молекулярного масс-спектра) даёт информацию не
только о молекулярной массе, но и о структуре молекулы [39].
1.8
ИК-спектроскопия
В основе метода инфракрасной (ИК) спектроскопии лежит измерение
зависимости интенсивности поглощения электромагнитных колебаний ИК-диапазона от
их частоты. При этом для характеристики колебаний используют волновое число, показывающее
сколько раз данная волна уместится на отрезке 1 см. Рабочий диапазон
ИК-спектрометров лежит в интервале от 400 до 4000 см-1.
Поглощение квантов ИК-излучения ведет к возбуждению колебаний молекул.
Число колебательных степеней свободы нелинейной молекулы, состоящей из n
атомов, равно 3n - 6. Поэтому уже сравнительно простые молекулы имеют сложный
ИК-спектр. Его область от 900 до 1450 см-1, называют областью отпечатков
пальцев [40].
Инфракрасная спектроскопия является важным методом исследования порфиразинов
и фталоцианинов. В ИК-спектрах Fe-комплексов можно выделить области неплоских
дефомационных колебаний макроцикла 400-410, 310-320, 220-230 см-1, полоса
110-130 см-1 относится к неплоским деформациям координационного узла δ(FeN4)
[19].
В тетраазапорфиринах С - Н-связи имеют характеристиеские частоты
колебаний в области 1036-1067, 780-803, 3070-3080 см-1. В
октафенилтетраазапорфирине максимальную интенивность из трех частот С -С
колебаний бнзольных колец имеет средняя - 1580-1596 см-1 [41, 42].
Введение металла в координационную плоскость макроцикла приводит к
сужению полос вследствие повышения симметрии и выравнивания электронной
плоскости в молекуле. Отличительным признаком комплексов Fe(ІІІ) является
большая интенсивность полосы 1004 см-1 по сравнению с полосой 990 см-1 для
комплексов Fe(ІІ) . Происхождение этих полос прежде всего связано с колебаниями
сα-сβ.
В пентакоординационных комплексах Fe(ІІІ) появляется полоса 1297 - 1300
см-1, отсутствующая в гексакоординационных комплексах. Проявление этого
колебания (сα- N или сα-Nмезо) становится возможным за счет изменения сииметрии
молекул D4h до С4v. Кроме того, в ближней ИК области наблюдаются полосы слабой
интенсивности 1100-1200 нм и 950-1000 нм [43].
Для сульфокислот характерны сильные колебания в области 1050-1250 см-1 и
средние в области 1000-1100 см-1. Полосы поглощения сульфохлоридов наблюдаются
в интервале 1177-1204 и 1380-1410 см-1 [44].
.9 ЭПР-спектроскопия
Метод электронного парамагнитного резонанса (ЭПР) широко применяется для
изучения комплексных соединений, поскольку позволяет по числу линий в спектре,
их интенсивности и положению делать выводы о составе внутренней координационной
сферы, ее строении, характеристиках связи металл-лиганд.
Метод ЭПР основан на известном эффекте Зеемана, заключающемся в том, что
при введении парамагнитной частицы, характеризующейся квантовым числом S, в
постоянное магнитное поле ее основной энергетический уровень расщепится на 2S +
1 подуровней, отделенных друг от друга интервалами энергии, равными:
,
где Н - напряженность магнитного поля;
b - единица атомного магнетизма - магнетон Бора;- фактор
спектроскопического расщепления, определяющий, по существу, величину
эффективного магнитного момента частицы.
Основные параметры спектров ЭПР - интенсивность, форма и ширина
резонансной линии, g-фактор, константы тонкой и сверхтонкой структуры. На
практике обычно регистрируется 1-я, реже 2-я производные кривой поглощения, что
позволяет повысить чувствительность и разрешение получаемой информации.
Интенсивность линии определяется площадью под кривой поглощения, которая
пропорциональна числу парамагнитных частиц в образце. Оценку их абсолютного
количества осуществляют сравнением интенсивностей спектров исследуемого образца
и эталона.Фактор формально определяется как фактор спектроскопического
расщепления Ланде, равный:
,
где L, S, J - квантовые числа соотв. орбитального, спинового и полного
моментов кол-ва движения. В случае чисто спинового магнетизма L= 0 (ситуация
свободного электрона) g = 2,0023. Отклонение от этой величины свидетельствует о
примеси орбитального магнетизма (спин-орбитальное взаимодействие), приводящего
к изменению величины резонансного поля. [44, 45].
Для m-нитридодимерного
комплекса октафенилпорфиразина был получен ЭПР спектр (рис.1.14), вид которого
(триплет в области g»2,13)
свидетельствует о том, что оба атома железа в составе этого биядерного
комплекса эквиваленты и имеют формальную степень олкисления +3.5. Неспаренный
электрон с 2s-орбитали мю-нитридного атома азота преимущественно делокализован
на dz2 орбиталях атома железа [29].
Рис. 1.14. ЭПР спектры μ-N(FеОФТАП)2 в толуоле (А) и в пиридине
(Б,В).
Б - в атмосфере N2, А, В - в присутствии О2 (77 К)
.10 Окисленные формы димеров
Было показано, что μ-нитридо димер фталоцианина железа в присутствии брома,
трифторуксусной кислоты или концентрированной азотной кислоты окисляется с
образованием (N[FeIVОФТАП]2)+, который содержит FeIV. [47].
Также было доказано, что при этом окислению подвергается также
макроциклический лиганд (Фц(-1)) пи-катион-радикал, в ИК-спектре когторого
появляются полосы 1549, 1050 и 1350 см-1, которые характерны для образования
радикальных форм [48].
.11 Каталитические свойства в реакциях окисления-восстановления
Поиск новых эффективных катализаторов реакций окисления-восстановления
является одной из наиболее актуальных проблем современной химии. Для успешной
реализации того или иного каталитического процесса не достаточно лишь поиска
соединений обладающих наибольшей активностью в нем. В последние годы на первое
место выходит экологичность и селективность каталитических реакций. Так, в
случае реакций окисления субстратов различной природы наблюдается тенденция к
все большему использованию таких окислителей как кислород воздуха или перекись
водорода с уменьшением применения таких традиционных окислителей как
перманганаты или бихроматы. В этой связи особое место занимают катализаторы, в той
или иной степени моделирующие природные ферменты, например цитохромы.
Фталоцианинаты и порфиразинаты переходных металлов обладают рядом
свойств, делающих перспективным их использование в качестве эффективных
катализаторов реакций окисления-восстановления. Данные соединения являются
синтетическими аналогами порфиринатов, входящих в состав активных центров
многих природных ферментов оксидаз и редуктаз. Также данные соединения
характеризуются большей синтетической доступностью, и, как следствие, значительно
меньшей стоимостью по сравнению с порфиринатами, и в настоящее время многие из
них производятся в промышленных масштабах.
Высокая каталитическая активность порфиринов обусловлена ароматическим
характером сопряженной π-системы макроцикла, сопряжением координационного атома
металла с этой π-системой и легким изменением степени окисления
некоторых центральных атомов металла.
Каталитическая активность металлопорфиринов зависит от многих факторов:
природы центрального атома-комплексообразователя, природы порфиринового
лиганда, характера углеродного носителя.
В настоящее время большое внимание уделяется изучению биядерных
комплексов фталоцианина как перспективных катализаторов процессов окисления.
Такой большой интерес обусловлен тем, что многие природные ферменты, такие как
метан-монооксигеназа, толуол-монооксигеназа содержат в своей структуре в
качестве активного центра биядерные комплексы железа - µ-оксодимерные
структуры. Так, было показано, что структура ФцFe-O-FeФц является эффективным
катализатором окисления многих соединений (например, метилнафталина и
триметилфенола), благодаря лучшей делокализации заряда между двумя атомами
железа, по сравнению с мономерным комплексов FePc. Однако в ходе
окислительно-восстановительных реакций, катализируемых биядерным µ-оксо-комплексом,
он превращается в моноядерный комплекс, что приводит к уменьшению эффективности
работы катализатора и снижению селективности. В поисках более устойчивой
биядерной структуры ученые обратились к µ-нитридо-комплексам. Так, было
обнаружено, что PcFe-N-FePc является высокоэффективным и экологически чистым
катализатором окисления таких химически инертных соединений, как метан и пропан
(они относятся к классу алканов, так называемых "химических
мертвецов"). Схема окисления алканов представлена на рис. 1.15. [49].
Рис. 1.15. Схема окисления алканов
Но, к сожалению, полученные на данный момент биядерные комплексы не
обладают растворимостью в воде в отличие от их природных аналогов, что было бы
интересно при изучении этих соединений как синтетических аналогов действия
естественных оксиредуктаз. Поэтому целью нашей работы является получение
биядерных водорастворимых µ-нитридо-комплексов фталоцианинов и порфиразинов Fe
и изучение их каталитических свойств в окислительно-восстановительных реакциях
с участием перекисей в кислых водных средах. Полученные биядерные комплексы
фталоцианинов и порфиразинов железа должны будут сочетать в себе высокую
эффективность каталитического действия с высокой стабильностью в кислых условиях.
Вода является реакционной средой для процессов, протекающих в живых
клетках. Соответственно изучение каталитических свойств металлопорфиринов в
водных растворах представляет собой интерес с точки зрения биохимии.
Синтетические металлопорфирины обладают биологической активностью и
используются как лекарственные формы, бактерицидные средства и др. Поэтому
перспективной задачей является установление механизма биологического действия
таких соединений и прогнозирование их биологической активности по результатам,
полученным на модельных небиологических системах [50]
2.
Экспериментальная часть
.1 Подготовка
растворителей и реактивов
В работе использовались реактивы марки "х.ч.", некоторые
подвергались дополнительной очистке. Для синтеза: дихлорметан (ДХМ) и хлороформ
перегоняли над поташом, собирая фракции при 40oC и 61оС, соответственно. Толуол
кипятили с обратным холодильником в течение нескольких часов над оксидом
фосфора (V) (Р2О5), после чего перегоняли при нормальном давлении, отбирая
среднюю фракцию, Ткип=110-1110С. Хлорсульфоновую кислоту перегоняли при 150оС.
Для титрования: использовали бром марки "х.ч." и свежеперегнанный
ДХМ.
.2
Физико-химические методы исследования
Электронные спектры поглощения (ЭСП) записывали на спектрофотометре
Hitachi U-2000 для 10-6-10-5 М растворов комплексов порфиразинов и
фталоцианинов (325-800 нм). ИК-спектры получали для образцов, таблетированных в
KBr, на Фурье-интерферометре Avatar 360 Ft-IR ESP (400-4000 см-1). Элементный
анализ исследуемых образцов регистрировали на Элементном Анализаторе FlahEA
1112. Спектры ЭПР снимали в лаборатории Р. Силаги-Думитреску, Университет
"Babes-Bolyai", Cluj-Napoca, Румыния.
.3 Синтез бромид октафенилтетраазапорфирина железа(ΙΙΙ),
BrFeОФТАП
,5 г ДФФН растворяют в 5,5 мл бромнафталина, раствор доводят до кипения и
к нему медленно добавляют раствор 0,95 мл Fe(CO)5 в 7,5 мл бромнафталина.
Реакционная смесь быстро приобретает зеленый цвет. Кипячение смеси для
завершения реакции продолжают в течение 2 часов. Затем реакционную смесь
охлаждают и продукт высаждают в 200 мл гексана, отфильтровывают, промывают
гексаном, эфиром, затем сушат на воздухе. Выход 2,65 г влажного BrFeOФТАП.
Рассчитано для С64Н40N8FeBr: 72,74%С, 3,81% Н, 10,60 %N; 7,56%Br.
получено: 72,50%С, 3,75%Н, 10,47%N, 7,50%Br.
ИК (KBr, см-1): 1644 сл.; 1482 ср.; 1440оч. сл.; 1373ср.; 1310 сл.;
1152ср.; 1004 с.; 990 с; 885 оч. сл.; 691с.; 611ср.; 535 сл.; 422 сл.
ЭСП (ДХМ): 716 нм, 548 нм, 432 нм.
.4 Синтез гидросульфата октафенилатетраазапорфирина железа (ΙΙΙ),
(HSO4)FeОФТАП
,17 г BrFeOФТАП растворяют в 50 мл 96% H2SO4, полученный раствор быстро
выливают в 300 г льда. Выпавший осадок центрифугируют, промывают водой и
высушивают. Выход 73%.
ИК(KBr, см-1): 1601сл.; 1483 ср.; 1380 ср.; 1296 ср; 1204 сл.; 1150 ср.;
1074 ср.; 1040 с.; 991 с.; 916 оч. сл.; 889 ср; 748 оч. сл.; 692 с; 611 ср.;
534 сл.
ЭСП (ДХМ): 438, 563, 721 нм.
.5 Синтез µ-нитридо-бис(октафенилтетраазопорфирина железа (ΙΙΙ
½), N(FeОФТАП)2
метод. 0,966 г BrFeOФТАП растворяют в 100 мл толуола. Полученный раствор
встряхивают в делительной воронке с 10% водным раствором NaN3. Органический
слой отделяют, сушат безводным Na2SO4, отфильтровывают, затем кипятят 1 час.
После удаления растворителя путем перегонки с прямым холодильником получают
N(FeОФТАП)2. Продукт очищают при помощи колоночной хроматографии на Al2O3
(элюент - хлороформ). Выход 81%.
ИК (KBr, см-1): 1631 ср.; 1482 оч. сл.; 1373 ср; 1200 сл.; 1004 с.; 920
ср.; 880 оч. сл; 775 оч сл.; 691 с.; 610 сл.; 5553 оч. сл; 424 оч сл.
ЭСП (ДМСО): 630 нм.
ЭСП (ДХМ): 610 нм.
ЭСП (Рy): 619 нм.
метод. 2,5 г сырого (HSO4)FeОФТАП обрабатывают 10% водным раствором NaN3,
отделяют органический слой на делительной воронке, сушат безводным Na2SO4,
после чего добавляют 10 мл уксусной кислоты и кипятят 1ч. Затем реакционную смесь
охлаждают, отфильтровывают на воронке Бюхнера, осадок промывают ДХМ. Полученный
продукт очищают при помощи колоночной хроматографии на Al2O3 (элюент - ДХМ).
Выход 64%.
ИК(KBr, см-1): 1630 оч. сл.; 1475 ср; 1200 сл.; 1152 ср.; 1004 с.; 990
с.; 920 ср.; 691 с.; 610 с.; 535 оч. сл; 470 оч. сл.
ЭСП (ДХМ): 426, 465, 584, 630 нм.
.6 Синтез биядерных комплексов фталоцианина железа
Образец µ-нитридного комплекса фталоцианина железа N(FeФц)2 был любезно
предоставлен П.А. Стужиным.
µ-Нитридо-бис(тетрасульфохлорофталоцианин железа (III1/2)),
N(FeФц(SO2Cl)4)2. 0,4 г N(FeФц)2 помещают в колбу на 25 мл, добавляют 15 мл
хлорсульфоновой кислоты. Образуется раствор темно-синего цвета. Затем
содержимое колбы греют 4 ч при температуре 130 0С. После кипячения полученный
раствор оставляют стоять на ночь. На следующий день раствор выливают на 300 г
льда, выпадает осадок, который центрифугируют и промывают до рН = 4. Выход 83%.
ИК(KBr, см-1): 1710 ср.; 1636 сл.; 1383 ср.; 1178 сл.; 1030с.; 655 сл.;
874сл.; 748ср.; 598 с.; 550 сл.; 424с.
ЭСП (ацетон): 634 нм.
ЭСП (метанол): 635 нм.
µ-Нитридо-бис(тетрасульфофталоцианин железа (III1/2)), N(Fe(SO3Н)4)2.
Комплекс [FeФц(SO2Cl)4]2N растворяют в 20 мл воды, кипятят при 100 0С 5 мин.
Далее ставят комплекс в сушильный шкаф (t=80 0C) на целый день до высыхания.
Выход 81%.
ИК(KBr, см-1): 1710 ср.; 1636 сл.; 1383 ср.; 1178 сл.; 1030с.; 655 сл.;
874сл.; 748ср.; 598 с.; 550 сл.; 424с.
ЭСП (С5Н5ОН): 636 нм.
ЭСП (HCON(CH3)2): 639 нм.
ЭСП (ДМСО): 646 нм.
ЭСП (Рy): 653 нм.
ЭСП (Н2О): 635 нм.
Аммонийная соль µ-нитридо-бис(тетрасульфофталоцианина железа (III1/2)),
N(FeФц(SO3NН4)4)2.
N(FeФц(SO3Н)4)2 обрабатывают 5%-ным раствором аммиака. Для этого комплекс
N(FeФц(SO3Н)4)2 растворяют в 100 мл воды и добавляют 5 мл аммиака. Полученную
аммиачную соль биядерного комплекса отфильтровывают, затем оставшийся аммиак
выпаривают на водяной бане и высушивают в сушильном шкафу при 800С. Выход 78%.
Рассчитано для С64Н56N25Fe2О24S8: 39,88%С, 2,93% Н, 18,17%N; 13,31%S.
получено: 32,76%С, 3,16%Н, 13,63%N, 7,57%S.
ИК (KBr, см-1): 1643 с.; 1400 с.; 1323 оч. сл.; 1110 ср.; 1040 с.; 880
ср; 651 оч. сл.
ЭСП (ДМСО): 643 нм.
ЭСП (ДМФА): 640 нм.
ЭСП (Н2О): 335, 636 нм.
3,2 мл дибутиламина растворяют в 10 мл ацетона. Полученный сульфохлорид
[FeФц(SO2Cl)4]2N растворяют в 5 мл ацетона. Взаимодействие полученных растворов
проводят при кипении реакционной массы в течение 4,5 ч. Далее раствор фильтруют
через бумажный фильтр, фильтрат упаривают. Выход 72%.
ИК(KBr, см-1): 2950 ср.; 2560с.; 2450с.; 2390 ср.; 1715 ср.; 1600 с.;
1465 с.; 1413 оч. сл.; 1380 оч. сл.; 1348 оч. сл.; 1175 сл.; 1028 сл.; 887 сл.;
742 ср.; 631 оч.сл.; 581 оч. сл.; 430 сл.
ЭСП (ДХМ): 634 нм.
.7 Исследования окислительно-восстановительных реакций с участием
µ-нитридодимеров
В присутствии µ-нитридодимера N(FeФц(SO3NН4)4) проводили окисление
красителя кислотного оранжевого пероксидом водорода спектрофотометрическим
методом. В спектрофотометрическую кювету помещали раствор универсального буфера
(рН=11,5), к которому добавляли краситель оранж (с=5·10-5моль/л), димер
(с=2·10-5моль/л), пероксид водорода (с=40ммоль/л). Снимали электронные спектры
поглощения на приборе Specord M40 через каждые 20 с. Аналогично проводили окисление
кислотного оранжевого пероксидом водорода в отсутствии µ-нитридодимера
N(FeФц(SO3NН4)4).
Изучение состояния µ-нитридодимеров N(FeOPTAP)2 и N(FeФц(SO2NH2)4)2 в
присутствии брома (окислителя) также проводили методом спектрофотометрического
титрования на спектрофотометре Hitachi U-2000 в среде дихлорметана. Отдельно
готовили раствор димера (С " 1×10-5 моль/л) и раствор брома (0,078 моль/л) в ДХМ. Далее в
спектрофотометрическую кювету помещали раствор димера (1,5 мл), к которому
добавляли раствор брома с помощью микрошприца по 0,001 мл, регистрируя ЭСП
после каждого добавления. Отношение концентраций окисленных форм, находящихся в
равновесии (индикаторное отношение I=Ci/Ci-1) определяли спектрофотометрически
на длинах волн, соответствующих максимумам поглощения. Значения
концентрационных констант устойчивости окисленных форм Ki определяли
интерполяцией зависимости lgI=pKi+nlg[Br2], n-число частиц брома, принимающих
участие в образовании данной окисленной формы i.
3. Результаты
и обсуждение
.1 Синтез и спектральная характеристика моноядерных комплексов железа
Комплекс BrFeOФТАП был получен темплатной циклоконденсацией
дифенилфумародинитрила (ДФФН) с карбонилом железа (Fe(CO)5) в кипящем
1-бромнафталине по схеме 3.1:
Схема 3.1. Синтез бромид октафенилтетраазапорфирина железа (ΙΙΙ)
Использование Fe(СО)5 приводит первоначально к образованию комплексов
зелёного цвета. Fe(II), таких как FeІІОФТАП и (СО)FeІІОФТАП,
ДФФН+Fe(СО)5 → FeІІОФТАП +(СО)FeІІОФТАП.
После окончания выделений СО горячая реакционная смесь при контакте с
кислородом воздуха переходит в красно-коричневый BrFeІІІОФТАП [51], который
может быть очищен хромотографией на кислой окиси алюминия (элюент - СН2Cl2 или
СН2Cl3). Для полученного комплекса были получены ЭСП и ИК спектр. Электронный
спектр поглощения BrFeOФТАП имеет типичный вид для пентакоординационных
комплексов железа (III) (рис. 3.1).
Рис. 3.1. ЭСП BrFeOФТАП в ДХМ
Рис. 3.2. ИК-спектр BrFeOФТАП
ИК спектр BrFeOФТАП типичен для комплексов октафенилтетраазапорфиринов
(рис. 3.2). В нем доминируют колебания макроциклического лиганда (валентные
колебания 1482, 1373, 1310, 1152,; плоскостные деформационные колебания 1004,
990, 885, 833, 775; внеплоскостные деформационные колебания 611, 535, 518.
Валентные колебания фенильных групп дают полосы при 1644, Деформационные колебания
фенильных колец проявляются при 691 см-1 и 748 см-1.
Полученный бромидный комплекс октафенилтетраазапорфирина железа (ΙΙΙ)
является удобным
исходным материалом в синтезе различных координационных форм Fe(ІІ) и Fe(ІІІ).
Так, бромидный комплекс BrFeOФТАП превратили в гидросульфатный
(HSO4)Fe(ІІІ)ОФТАП быстрым переосаждением из концентрированной серной кислоты.
Электронный спектр поглощения в дихлорметане представлен на рис. 3.3.
Рис. 3.3. ЭСП (HSO4)Fe(ІІІ)ОФТАП в ДХМ
В легко координирующих растворителях почти сразу происходит присоединение
дополнительного экстралиганда и пентакоординационный комплекс
(HSO4)Fe(ІІІ)ОФТАП превращается в гексакоординационный комплекс, а в таком
растворителе как пиридин легко происходит его восстановление до Py2Fe(II)OФTAP
а в оснỏвном растворителе - диметилформамиде, содержащем воду,
наблюдается образование m-оксо-комплекса
(рис. 3.4) [52].
Рис. 3.4. ЭСП Py2Fe(II)OФTAP и m-O(FeOФТАП)2, образующихся при растворении (HSO4)Fe(ІІІ)ОФТАП
в пиридине и в ДМФА, соответственно
В ИК спектре (HSO4)Fe(ІІІ)ОФТАП, представленном на рис. 3.5, помимо
колебаний макроциклического лиганда (плоскостных деформационных колебаний 1483,
1296, 1150-1005, 889 см-1, внеплоскостных деформационных 991, 611, 534 см-1) и
колебаний фенильных колец (692, 1443 см-1) присутствуют характеристичные полосы
при 1380 и 1150 см-1, соответствующие колебаниям группы SO2.
Рис. 3.5. ИК-спектр (HSO4)Fe(ІІІ)ОФТАП
.2 Синтез и спектральная характеристика биядерных комплексов железа с
октафенилпорфиразином и фталоцианином
Биядерный комплекс µ-нитридо-бис(октафенилтетраазопорфирина Fe (ΙΙΙ½)
N(FeОФТАП)2 образуется
при термолизе азидного комплекса N3FeOPTAP в кипящем бензоле [29]. Мы
попытались осуществить синтез µ-нитридного комплекса с использованимем менее
токсичных растворителей, чем бензол, двумя способами.
В первом случае синтез проводили аналогично, описанному в ссылке, но с
использованием гомолога бензола - толуола.
При встряхивании в делительной воронке комплекса (HSO4)FeОФТАП,
растворенного в толуоле, с азидом натрия и дальнейшим кипячении отделенного
органического слоя получается комплекс µ-нитридодимера N(FeОФТАП)2, который
может быть очищен при помощи колоночной хроматографии на кислой окиси алюминия.
Электронные спектры поглощения в различных растворителях представлен на
рис. 3.6.
Рис. 3.6. ЭСП N(FeОФТАП)2
В ИК-спектре полученного N(FeОФТАП)2 (рис.3.7) присутствует характерная
интенсивная полоса валентных колебаний µ-нитридного мостика Fe-N-Fe при 920
см-1.
Рис. 3.7. ИК-спектр N(FeОФТАП)2
Вид ЭПР спектра (рис.3.8) полученного димера N(FeОФТАП)2 согласуется с
данными, полученными ранее [29].
В нем присутствует триплет, который дает неспаренный электрон
µ-нитридного атома азота Fe-N·-Fe.
Рис. 3.8. ЭПР спектр N(FeОФТАП)2
Во втором случае комплекс (HSO4)FeОФТАП обработали водным раствором NaN3,
отделили органический слой на делительной воронке, сушили безводным Na2SO4,
после чего добавили уксусной кислоты и кипятили. Электронный спектр поглощения
представлен на рис. 3.9.
Рис. 3.9 ЭСП N(FeОФТАП)2 в ДХМ
В ИК-спектре полученного таким образом N(FeОФТАП)2 также присутствует
полоса при 920 см-1, отвечающая колебаниям µ-нитридного мостика.
Однако этот метод все таки нецелесообразно использовать, т.к. продукт
получается более загрязненным и образуется с меньшим выходом, чем в первом
случае.
.3 Получение водорастворимого биядерного комплекса фталоцианина железа и
его модификация
Синтез водорастворимого биядерного µ-нитридо комплекса фталоцианина
железа проводили классическим методом - сульфохлорированием фталоцианинового
лиганда и последующим гидролизом с образованием сульфокислоты N(FeФц(SO3H)4)2.
Реакция сульфохлорирования N(FeФц)2 при температуре 150 0С с хлорсульфоновой
кислотой приведена на схеме 3.2:
Схема 3.2. Сульфохлорирование µ-нитридо комплекса фталоцианина железа
ИК-спектр сульфохлорированного µ-нитридо комплекса фталоцианина железа
представлен на рис. 3.10.
Рис.3.10. ИК-спектр N(FeФц(SO2Cl)4)2
Далее сульфохлорированный комплекс подвергли гидролизу при 800С по схеме
3.3:
Схема 3.3. Гидролиз сульфохлорированного µ-нитридо комплекса фталоцианина
железа
Мы ожидали, что полученный димер тетрасульфокислоты будет отлично
растворяться в воде.
Однако оказалось, что растворение димера происходит, но не так быстро и
хорошо, как бы хотелось. Для увеличения растворимости полученный продукт
превратили в аммонийную соль N(FeФц(SO3NH4)4), которая стала растворяться в
воде "как сахар". Для этого димер тетрасульфокислоты обработали
5%-ным раствором аммиака, продукт отфильтровали, а оставшийся аммиак выпарили
на водяной бане и высушили при 800С. Реакция представлена на схеме 3.4.
Схема 3.4. Получение аммонийной соли µ-нитридо
-бис(тетрасульфофталоцианин железа (III1/2)
На рис. 3.11 представлен ИК-спектр µ-нитридо биядерного комплекса
фталоцианина железа.
Рис. 3.11. ИК-спектр N(FеФц)2
В ИК-спектре аммонийной соли µ-нитридо-бис(тетрасульфофталоцианина железа
(III1/2)) видны только интенсивные полосы колебаний сульфоаммонийных групп,
которые перекрывают полосы колебаний макроциклического лиганда и µ-нитридного
мостика.
Таким образом, можно полагать, что синтезированный продукт является
водорастворимым биядерным µ-нитридо комплексом тетрасульфофталоцианина железа.
Спектры поглощения комплексов N(Fe(SO3NН4)4)2, N(FeФц)2 в растворе
универсального буфера (pH 10.0) представлены на рис.3.12 (кривые 1,5). Видно,
что максимум поглощения дикомплекса в видимой области спектра смещен
относительно монокомплекса на 4 нм. Более яркие изменения проявлены в
органических растворителях. Так, в ДМФА и ДМСО изменения составляют 26 и 8 нм
соответственно (рис. 3.12).
Рис. 3.12. Спектры N(FeФц)2 (1.72×10-5 моль/л) и N(Fe(SO3NН4)4)2 (1.5×10-5
моль/л) в различных
растворителях при 250С
Поэтому для увеличения растворимости димера в CH2Cl2 при изучении
окислительно-восстановительных реакций с его участием был получен
N-дибутилсульфамидное производное μ-нитридодимера фталоцианина
N(Fe(Фц(SO2NBu2)4)2.
Для этого дибутиламин растворили в небольшом количестве органического
растворителя (ацетона), полученный предварительно сульфохлорид N(FeФц(SO2Cl)4)2
растворили в том же органическом растворителе. Взаимодействие проводили при
кипении реакционной массы в течение 4.5 ч, раствор фильтровали через бумажный
фильтр, фильтрат упаривали [53]. ЭСП полученного комплекса в ДХМ представлен на
рис.3.13, ИК-спектр представлен на рис. 3.14.
В ИК-спектре помимо колебаний макроциклических колец и SO2 групп (в
области 1380 1150 см-1), наблюдаются полосы, соответствующие колебаниям
бутильных групп в области 2350-245- см-1и N-Bu в области 2950 см-1.
Рис. 3.13 ЭСП N(Fe(Фц(SO2NBu2)4)2 в ДХМ.
Рис. 3.14. ИК-спектр N(Fe(Фц(SO2NBu2)4)2
В отличие от ЭПР спектра мономера ClFeФц, в ЭПР спектре полученного
димера (рис.3.15) наблюдается триплет в области g»2,13.
Такой вид спектра характерен для m-нитридодимерных комплексов железа и показывает, что
неспаренный электрон с 2s орбитали атома азота из N-Fe-N делокализован
преимущественно на dz2 орбиталях атома Fe.
Рис. 3.15. ЭПР спектры ClFeФц (вверху) и N(FeФц(SO3NН4)4)2 (внизу)
.4 Определение каталитической активности N(FeФц(SO3NН4)4)2 в реакции
окисления красителя кислотного оранжевого пероксидом водорода
Было проведено окисление красителя кислотного оранжевого пероксидом
водорода в присутствии водорастворимого биядерного комплекса фталоцианина
железа N(Fe(SO3NН4)4). Изменение концентрации оранжа в процессе его окисления
пероксидом в пристуствии и отсутствии µ-нитридодимер фталоцианина железа
представлено на рис. 3.16.
Рис. 3.16. Изменение концентрации оранжа в процессе его окисления
пероксидом в пристуствии (2) и отсутствии (1) бифталоцианина железа
Ожидалось, что синтезированный комплекс N(FeФц(SO3NН4)4) в процессе
окисления красителя оранжа будет проявлять каталитическую активность. Однако из
рис.3.16 видно, что N(FeФц)2 и N(FeФц(SO3NН4)4)2 ведут себя практически
одинаково. Поэтому в процессе окисления полученный µ-нитридодимер
N(Fe(SO3NН4)4) не эффективен в качестве катализатора.
.5 Изучение состояния биядерных комплексов в присутствии брома как
окислителя
Титрование бромом µ-нитридобис(октафенилтетраазопорфирина железа (ΙΙΙ
½), N(FeОФТАП)2
При добавления брома в раствор N(FeОФТАП)2 в ДХМ наблюдается сложная
спектральная картина, с двумя сериями изобестических точек (рис. 3.17).
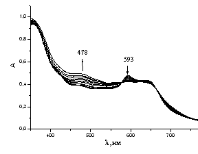
Рис. 3.17. Титрование бромом (FeOФТАП)2N
На первой стадии процесса уменьшается интенсивность полосы при 620 нм и
происходит ее гипсохромное смещение до 593 нм, одновременно увеличивается
интенсивность полосы при 357 нм (рис. 3.18). На второй стадии интенсивность
Q-полосы уменьшается, но появляется уширенная полоса в области 478 нм. Такие
спектральные изменения соответствуют последовательному образованию двух
окисленных форм N(FeOФТАП)2. Вначале происходит окисление атома железа, его
степень окисления повышается от +3,5 до +4. На этой стадии образуется
[N(Fe(IV)OФТАП)2]Br. При этом НВМО дестабилизируется, что приводит к
гипсохромному смещению Q- полосы от 620 до 593 нм.
Спектральные изменения, наблюдаемые на второй стадии (рис.3.19),
характерны для образования радикальной формы макроциклического лиганда и
образования [N(Fe(IV)OФТАП·+)2]Br2.
Рис. 3.18. Первая стадия титрования (FeOФТАП)2N
Рис. 3.19. Вторая стадия титрования (FeOФТАП)2N
Методом спектрофотометрического титрования были получены константы
устойчивости образующихся окисленных форм. На рис. 3.20 и 3.21 представлены
логарифмические зависимости индикаторного отношения от концентрации брома на
двух стадиях окисления. Концентрационные константы устойчивости
[N(Fe(IV)OФТАП)2]Br и [N(Fe(IV)OФТАП·+)2]Br2 равны рК1»3,40 и рК2»1,47, соответственно.

Рис. 3.20. Зависимости логарифма индикаторного отношения I от логарифма
концентрации брома на первой стадии окисления

Рис. 3.21. Зависимости логарифма индикаторного отношения I от логарифма
концентрации брома на второй стадии окисления
Титрование бромом µ-нитридо-бис(тетра(N,N-дибутилсульфамидо)фталоцианин
железа (III1/2)), N(Fe(Фц(SO2NBu2)4)2
Нами также была изучена реакция окисления бромом дибутилсульфамидного
производного биядерного комплекса фталоцианина. Спектральная картина процесса
окисления отличается от спектральных изменений в случае биядерного комплекса
октафенилпорфиразина (рис.3.22). В ЭСП N(Fe(Фц(SO2NBu2)4)2 по мере титрования
бромом наблюдается батохромное смещение Q-полосы поглощения и уменьшение ее
интенсивности, а также появляется широкая полоса поглощения в области 400 нм.
Рис. 3.22. ЭСП N(Fe(Фц(SO2NBu2)4)2 в ДХМ и его изменения в процессе
титрования Br2
Такие спектральные изменения характерны для образования монокатиона
[N(Fe(IV)(Фц(SO2NBu2)4)2]+ с окисленным атомом железа(IV). Окисление
макроциклического лиганда, как это происходило в случае димера октафенилпорфиразина,
не наблюдается.
Спектрофотометрическим методом была определена константа устойчивости
данной окисленной формы рК. Логарифмическая зависимость индикаторного отношения
от концентрации брома приведена на рис. 3.23.
Рис. 3.23. Зависимости логарифма индикаторного отношения I от логарифма
концентрации брома на первой стадии окисления (рК=3,51±0,02)
Значения полученных констант устойчивости окисленных форм
[N(Fe(IV)OФТАП)2]Br (рК1»3,40)
и [N(Fe(IV)(Фц(SO2NBu2)4)2]Br (рК=3,51) примерно одинаковые, т.е. природа
макроциклического лиганда незначительно влияет на окисление атома железа в
мю-нитридных комплексах.
Выводы
1. Был получен пентакоординационный комплекс BrFeOPTAP и на его основе
синтезирован биядерный комплекс µ-нитридо-бис (октафенилтетра- азопорфирина
железа (ΙΙΙ½),
N(FeОФТАП)2.
. Синтезирован водорастворимый биядерный комплекс фталоцианина железа
N(FeФц(SO3H)4)2. Впервые получены его аммонийная производная N(Fe(SO3NН4)4)2,
дибутилсульфамидное N(Fe(Фц(SO2NBu2)4)2.
3. Показано, что µ-нитридодимер N(FeФц(SO3NН4)4)2 не проявляет
каталитическую активность при окислении красителя кислотного оранжевого
пероксидом водорода.
. Изучено поведение µ-нитридодимеров октафенилпорфиразина N(FeOPTAP)2 и
фталоцианина N(Fe(SO3NН4)4)2, в присутствии окислителя брома. Обнаружено, что в
случае октафенилпорфиразина происходит окисление не только атома железа Fe3,5
до FeIV, но и макроциклического лиганда с образованием катион радикальной формы
[N(Fe(IV)OФТАП·+)2]Br2. В
случае фталоцианина происходит только окисление металла. Получены константы
устойчивости образующихся кислотных форм (рК=3,40 ± 0,04 на 357 нм и рК=3,22 ±
0,03 на 620 нм для N(FeОФТАП)2 и рК=3,51±0,02 для N(Fe(Фц(SO2NBu2)4)2).
Показано, что природа макроциклического лиганда не оказывает практически
никакого влияния на их образование.
Список использованной литературы
1. Paquette
B; Ali, H; van Lier, E.J.J. Chim. Phys. Phys. // Chim. Biol. - 1991. - V.88. -
P.1113-1123.
.
Boyle R.W.; Rousseau, J.; Kudrevich, S.V.; Obochi, M.O.K.; van Lier, J.E. Br.
J. Cancer. - 1996. - V.73. - P.49-53.
.
Kalia O.L.; Lukyanets E.A.; Vorozhtsov G.N. // J. Porphyrins Phthalocyanines.
-1999. - V.3. - 592-610.
.
Allen C.M.; Sharman W.M.; van Lier, J.E. // J. Porphyrins Phthalocyanines. -
2001. - P. 5. - 161-169.
5.
Priola S.A.; Raines A.; Caughey, W.S. Science. - 2000. - V.287. - P. 1503-1506.
.
Hersam M.C.; Guisinger N.P.; Lyding, J.W. // Nanotechnology. - 2000.- V.11. -
P.70-76.
.
Balkus K.J.; Eissa M.; Levado R. // J. Am. Chem. Soc. - 1995. - V.117. - P.
10753-10754.
.
Colonna S.; Gaggero, N.; Montanari F.; Pozzi, G.; Quichi, S. //.J. Org. Chem.
-2001. - V. 1. -P.181.
.
Sakamoto K.; Kato T.; Kawaguchi T.; Ohno-Okumura E.; Urano, T.; Yamaoka T.;
Suzuki S.; Cook M.J. // J. Photochem. Photobiol. A: Chem. - 2002. - V.153. - P.
245.
.
Zhao M.; Stern C.; Barrett A.G.M.; Hoffman B.M. // Angew. Chem., Int. Ed. -
2003. - V. 42. - P. 462.
.
Toyama, M.; Demets, G. J. F.; Araki, K.; Toma, H. E. // Electrochem. Commun. -
2000 - V.2. - P.749.
.
Sorokin A.B.; Tuel A.; // New J. Chem. - 1999. - V. 23. - P. 473476.
.
Sorokin A.B.; Tuel A.; // Catal. Today. - 2000. - V. 57. - P. 4559.
.
Sorokin A.B.; Mangematin S.; Pergrale C.J. // Mol. Catal. A. - 2002. - V. 182.
- P. 267281.
.
Bottomley L.A.; Gorce J.-N.; Goedken V.L.; Ercolani C. Inorg. Chem. -1985. -
V.24. - P.3733-3737.
.
Floris B., Donzello M., Ercolani C. Single-Atom Dinuclear Metal Complexes with
Emphasis on Phtalocyanine Systems. // The Porphyrin Handbuk. - 2003. - V. 8. -
P. 1-49.
.
Sorokin, A.B.; Kudrik, E.V.; Bouchu, D. // Chem. Commun. - 2008. - P.2562-2564.
. Березин
Б.Д.; Ениколопян Н.С. // В кн.: Порфирины: структура, свойства, синтез. Изд-во
"Наука". - 1985. С. 7-14.
. Стужин П.А.
Синтез, строение и физико-химические свойства азапорфиринов и порфиразинов.
Дисс.докт.хим.наук. Иваново. ИГХТУ, 2004. - 352 c.
. Summerville
D.A.; Cohen I.A. // J. Am. Chem. Soc. - 1976. - V. 98. - P. 1747-1752.
.
Bottomley L.A.; Gorce J.-N.; Goedken V.L.; Ercolani, // C. Inorg. Chem. -1985. - V. 24. - P.3733-3737.
. Березин
Б.Д. Координационные соединения порфиринов и фталоцианинов. - М.: Наука, 1978.
- 280 с.
23.
Webb L.E.; Fleisher E.B.; Crystal Structure of Porphine. // J. Chem Phys. -
1965.- V. 43, №9. - P.
3100-3111.
. Березин
Б.Д., Койфман О.И. Образование, строение и свойства экстракомплексов
порфиринов. // Успехи химии. - 1998. - Т. ХLІХ. - С. 2389-2417.
26.
Hoard J.L. Stereochemistry of porphiryns and metalloporphiryns. // In:
Porphiryns and Metalloporphiryns / Ed. K.M. Smith Amsterdam-Oxford-N. Y.: Elsevier Sci. Publ. Comp. - 1975.
- P. 317-380.
. Махмуд
Хамдуш. Синтез, исследование структуры и свойств μ-димеров Fe-порфиринов. // Дисс. канд.
хим. наук. Иваново. ИГХТУ. - 1995. - 178 с.
. Березин
Б.Д.; Ениколопян Н.С. Металлопорфирины. - М.: Наука, 1988. - 160 с.
29.
Stuzhin P.A.; Latos - Grazinski L; Jezerski A. Synthesis and properties of
binuclear nitride-bridged iron octapheniltetraazaporfine. E.p.r. studies of
dioxygen adduct formation. // Transition Met. Chem. - 1989. - V.14. -
P.341-346.
.
Stuzhin P.A.; Hamdush M.; Ziener U. Iron octaphenyltetraazaporphyrins:
synthesis and characterizationof the five coordinate complexes of iron(III)
(XFeIIIOPTAP, X=F, Cl, Br, I, HSO4). // Inorg. Chim. Acta. - 1995. - V. 236.,
№1-2. - P. 131-139.
31. Стужин
П.А.; Мигалова И.С.; Березин Б.Д. Спектроскопическое исследование комплексов Fe(ІІІ)-октафенилтетраазапорфина. //
Журн. неорг. химии. - 1993. - Т. 38, №12. - С. 2004-2010.
. Стужин
П.А., Хамдуш М. // В кн. "1ая Международная конференция по
биокоординационной химии", Иваново. - 1994. - C. 144.
Бородкин В.Ф.
Химия красителей. - М.: Химия. - 1981. - 248 с.
34.
Gouterman M. Spectra of porphyrins. // J. Mol. Spectr. - 1961. - V. 6. - P. 138-163
. Соловьев
К.Н. Интерпретация электронных спектров порфиринов на основании соображений
симметрии. // Опт. и спектр. - 1961. - Т. 10. - С. 737-744.
. Стужин
П.А.; Хамдуш М. Азидные комплексы Fe(ІІІ)-октафенилтетраазапорфина. //
Координационная химия. - 1998. - Т. 24. - С. 330-335.
37.
Owens J.W.; O׳ connor C.J. Comparison of the electronic and vibrational spectra of
complexes of protoporphyrin - ІX,
hemeoctapeptide and hmeoproteins. // Coord. Chem. Rev. - 1983. - V. 85 - P.
1-45.
.
Goedken V.L.; Ercolani C.J. // Chem. Soc., Chem. Com. - 1984. - Р. 378.
39. Бейнон
Дж. Масс-спектрометрия и её применение в органической химии. - М.: Наука, 1964.
. Голубчиков
О.А. Инфракрасные спектры органических соединений: Методические указания к
лекционному курсу и семинарским занятиям по органической химии. // Иван. гос.
хим-технол. ун.-т.
. Соловьев
К.Н.; Гладков Л.Л.; Старухин А.С. и др. Спектроскопия порфиринов: колебательные
состояния. - Мн.: Наука и техника, 1987. - 415 с.
. Гуринович
Г.П.; Севченко А.П., Соловьев К.Н. Спектроскопия хлорофилла и родственных
соединений. - Минск: Наука и техника, 1968. - 520 с.
43.
Ogoshi H.; Watanabe E. Synthesis and farinfrared spectra of ferric
octaethylporphyrine complexes. // J. Am. Chem. Soc. - 1973. - V. 95. - P. 2845-2849.
. Голубчиков
О.А., Сырбу С.А. Методические указания к лекционному курсу и семинарским
занятиям по органической химии. Иван. гос. хим-технол. ун.-т. - Иваново, 1988.
- 26 с.
. Блюменфельд
Л.А., Воеводский В.В., Семенов А.Г. Применение электронного парамагнитного
резонанса в химии. - Новосибирск: Изд-во СО АН СССР, 1962. - 187 с.
. Вертц Дж.,
Болтон Дж., Теория и практические приложения метода ЭПР. - М.: Наука 1975. -
384 с.
47.
Kennedy B.J., Murray K.S., Homborg H.; Kalz W. // Inorg. Chim, Acta. - 1987. -
V. 134. - P. 19.
.
Myers J.F.; Canham G.W.R.; Lever A.B. // Inorg. Chem. - 1975. - V. 14. - P. 461.
.
Kudrik E.V., Afanasiev P., Bouchub D., Milleta M., Sorokin A.B. // J.
Porphyrins Phthalocyanines. - 2008. - V. 12. - P. 1078-1089.
50. Аскаров
К.А.; Березин Б.Д.; Быстрицкая Е.В. Порфиририны: спектроскопия, электрохимия,
применение. М.: Наука, 1987. - 384 с.
. Стужин
П.А., Мигалова И.С., Березин Б.Д. // Ж. неорг. Химии, - 1998. - Т. 38. - С.
2004-2010.
. Стужин П.А.
Комплексы железа с октафенилтетраазапорфином.// Макрогетероциклы. - 2009. - Т.
2(2). - С. 114-129.