Исследование качества питьевой воды методом турбидиметрического фотометрирования

  • Вид работы:
    Дипломная (ВКР)
  • Предмет:
    Химия
  • Язык:
    Русский
    ,
    Формат файла:
    MS Word
    885,25 Кб
  • Опубликовано:
    2015-07-09
Вы можете узнать стоимость помощи в написании студенческой работы.
Помощь в написании работы, которую точно примут!

Исследование качества питьевой воды методом турбидиметрического фотометрирования

Областное государственное автономное образовательное учреждение

среднего профессионального образования

«Старооскольский индустриальный техникум»










ВЫПУСКНАЯ КВАЛИФИКАЦИОННАЯ РАБОТА

Исследование качества питьевой воды методом турбидиметрического фотометрирования


Выполнена

Требунских О.М.





Старый Оскол, 2014

Содержание

Введение

. Общая часть

.1 История развития черной металлургии в России, Белгородской области

.2 История развития предприятия

.3 Структура и организация аналитического контроля производства

.4 Основные методы анализа, применяемые в лаборатории

2. Специальная часть

.1 Фотометрические методы анализа

2.2 Отбор и подготовка проб

.3 Посуда, реактивы и аппаратура

.4 Выполнение анализа

.6 Охрана труда и техника безопасности в химической лаборатории

.6.1 Правила электробезопасности

.6.2 Правила пожаробезопасности

.6.3 Техника безопасности на рабочем месте

.7 Влияние технологического процесса производства на состояние окружающей среды

. Экономическая часть

.1 Основные понятия заработной платы

.2 Расчет заработной платы лаборанта 4 разряда

Заключение

Список использованных источников

Приложения

Введение

Актуальность темы определяется тем, что как важно знать значение питьевой воды и её свойства. Вода - одно из самых распространённых веществ в природе (гидросфера занимает 71 % поверхности Земли). Воде принадлежит важнейшая роль в геологии, истории планеты. Без воды невозможно существование живых организмов.

По особенностям происхождения, состава или применения, выделяют:

мягкая вода <#"821518.files/image001.gif">

.) Определяем сумму доплаты за расширения зоны обслуживания 30%, в руб.

.) Определяем сумму начисленной заработной платы за месяц, в руб.

+4284+1713.6=11709.6

.) Определяем сумму стандартных налогов вычетов, в руб.

.) Определяем налогооблагаемую базу для расчета налога на доходы физических лиц, в руб.

.6-400=11309.6

.) Определяем сумму налога на доходы физических лиц по ставки 13%, в руб.

.) Определяем сумму заработной платы к выдаче, в руб.

.6-1470.248=9839.352

Заключение

Общеизвестно, что человеческому организму для нормальной жизнедеятельности в первую очередь нужна чистая питьевая вода. Вода - это основное средство доставки питательных микроэлементов ко всем органам нашего тела. Чистая питьевая вода не заменима в процессах роста и питания организма, чистая питьевая вода обеспечивает стабильный уровень температуры в теле и в случаях потребности именно вода способна заполнить недостающие, но жизненно важные ресурсы в организме и заменить их на некоторое время.

В стремительном темпе нашей жизни довольно часто организм испытывает недостаток водного баланса в теле. Это проявляется в легкой жажде, но чаще всего из-за большого скопления дел, на это чувство мы не обращаем своего внимания, тем более, если источника с водой нет под рукой.

А последствия недостачи жидкости в организме отражаются очень плачевно на нашем здоровье: как только организму перестает хватать воды - сбиваются все физиологические циклы, расходуются те ресурсы, которые организм припасает на "черный день" или же особо экстренные ситуации.

Воду-то организм нашел, но чтобы восполнить недостающий потраченный на воду ресурс - организм как можно быстрее старается его обновить да еще и с запасом - отсюда "на лицо" лишний вес, да и не только на лицо, но и на все тело.

Это не единственное последствие "легкой жажды": также разбалансируются механизмы пищеварения, обмена веществ, кровообращения и даже мозговой деятельности. Все это грозит переутомлением, потерей внимания, головными болями. Но это еще не все. Если регулярно организм не дополучает воды в активный период дня - это грозит серьезными сбоями практически во всех системах организма, в итоге недостаток воды ведет не только к обострению "слабых мест" в нашем организме, но и к появлению новых недугов.

Чистая вода, как уже было сказано, имеет огромное значение в человеческой жизни, жизни животного, растительного мира, и природы в целом.

Дееспособность всех живых клеток зависит от наличия воды. Исследуя то, какую роль вода играет для человека, можно увидеть, что весь наш организм является совокупностью водных растворов, коллоидов, суспензий и прочих сложных по своему составу водных систем.

Вода обогащает клетки организма питательными веществами (витамины, минеральные соли) и выводит отходы жизнедеятельности (шлаки). Помимо этого, вода задействована в процессе терморегуляции (потоотделение) и в процессе дыхания (человек может дышать очень сухим воздухом, но сравнительно небольшое время). Для нормальной работоспособности всех систем человеку требуется пить как минимум 1/5 литра воды в сутки.

В итоге, чистая вода, употребляемая человеком необходима для его правильной жизнедеятельности. Поэтому главным вопросом нашего питания является регулярное употребление воды путём введения в организм в свободном виде и в пище, а также обязательное использование именно чистой воды. Поэтому необходимо проводить очистку питьевой воды, а проверка на мутность питьевой воды также является неотъемлемой частью, которая производит очитку воды и проверяет качество.

Мутность воды - показатель, характеризующие уменьшение прозрачности воды в связи с наличием неорганических и органических тонкодисперсных взвесей, а также развитием планктонных организмов. Причинами мутности воды может быть наличие в ней песка, глины, неорганических соединений (гидроксида, алюминия, карбонатов различных, металлов), а также органических примесей или живых существ, например бактерио- фито- или зоопланктона.

металлургия питьевой вода фотометрический

Список использованных источников

1.       Конспект по дисциплине: «Аналитическая химия»

.        Конспект по дисциплине: «Физико-химические методы анализа»

.        Конспект по дисциплине: «Спектральный анализ»

.        Книги:

.        «Основы технического анализа». Писаренко В.В. и Захаров Л,С. Издательство «Высшая школа». Москва 1972

.        «Технический анализ контроля». Августинович И.В., Андрианова С.Ю. Москва. Издательский центр « Академия» 2010

.        «Производственное обучение лаборантов химиков». Гурвич Я.А. Москва. «Высшая школа» 1987

.        «Основы аналитической химии». Книга 1. Иванов В.М. Гармаш А.В.

.        Доролова Ю.А. Москва. «Высшая школа» 2004

.        ГОСТы:

12.     ГОСТ 3351-74 Вода питьевая. Методы определения вкуса, запаха, цветности и мутности;

13.    ГОСТ 4192-82 Вода питьевая. Методы определения минеральных веществ

14.     ГОСТ 2874-82 Вода питьевая. Гигиенические требования и контроль за качеством воды.

15.    Химический Форум <#"821518.files/image004.gif">

Фотоэлектоколориметр КФК-2

Приложение 2

Весы лабораторные электронные Adventurer AR 2140 №13123

Приложение 3

Фотоэлектроколориметр UNUCO ЮНИКО 1201


Колбонагреватель трехместный ЛАБ-КН-500-3

Приложение 5


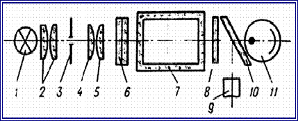
Принципиальная оптическая схема фотоколориметра КФК-2

-источник света; 2- теплозащитный светофильтр; 3-нейтральный светофильтр; 4,5 - цветной светофильтр; 7-кювета с исследуемым раствором;

,8 - пластика, которая делит световой поток на два потока; 9- фотодиод; 11-фотоэлемен.

Приложение 6


Принципиальная оптическая схема фотоколориметра UNICO 1201

-нить лампы; 2-конденсор; 3-световой фильтр; 4,6 - дифракционная решетка; 5-вогнутое зеркало; 7,8- объектив; 9-кюветы; 10- линзы; 11- приёмник.

Похожие работы на - Исследование качества питьевой воды методом турбидиметрического фотометрирования

 

Не нашли материал для своей работы?
Поможем написать уникальную работу
Без плагиата!
Без нейросетей!