Геополимерные вяжущие материалы

  • Вид работы:
    Реферат
  • Предмет:
    Химия
  • Язык:
    Русский
    ,
    Формат файла:
    MS Word
    824,33 Кб
  • Опубликовано:
    2015-07-08
Вы можете узнать стоимость помощи в написании студенческой работы.
Помощь в написании работы, которую точно примут!

Геополимерные вяжущие материалы

Министерство образования республики Беларусь

Белорусский национальный технический университет

КАФЕДРА ХИМИИ









Реферат на тему:

«Геополимерные вяжущие материалы»












Минск 2014

Введение

Создание предприятий, производящих строительные материалы, изделия и конструкции по энерго- и ресурсосберегающим технологиям, -ключевая задача модернизации строительной отрасли. С учетом того, что строительная индустрия является одной из наиболее ресурсоемких отраслей, разработка технологий, позволяющих использовать промышленные отходы в качестве сырья для производства строительных материалов, - одна из наиболее важных задач развития инновационной экономики.

Бо́льшая часть современных технологий была создана в тот период формирования промышленности, когда человечество не испытывало острого дефицита природных ресурсов, а главной проблемой было наращивание объема производства. В истории развития промышленности можно найти много примеров, когда интенсивный рост производства наносил катастрофический вред не только природе, но и человеку, так как разрушал среду его обитания, отравляя воздух и воду.

Постоянно возрастающие требованиями к повышению экологической чистоты и энергоэффективности промышленности строительных материалов, а также усиление ее утилизационной роли предопределяют интенсивность исследований в области создания бесцементных вяжущих и материалов на их основе с использованием отходов топливной промышленности[1].

Создание новых ресурсосберегающих технологий - сложная задача, для решения которой требуются значительные интеллектуальные и финансовые затраты. Наибольших успехов на этом пути добились промышленно развитые страны. Это связано со значительным научно-техническим потенциалом, имеющимся в этих государствах, истощением природных сырьевых ресурсов, колоссальными объемами различных отходов, а также тщательно продуманной государственной политикой в этой области. Для многих государств Западной Европы развитие ресурсосберегающих технологий является одной из приоритетных задач[2].

Наша страна пока отстает в области разработки и использования энерго- и ресурсосберегающих технологий. Не многие предприятия могут вкладывать средства в проведение дорогостоящих научно-исследовательских и опытно-конструкторских работ, направленных на создание ресурсосберегающих технологий, особенно с учетом того, что не всегда эти работы заканчиваются успехом[1].

В этом реферате рассмотрены научно-технические основы разработки энерго- и ресурсосбережения технологий путем использования геополимерных вяжущих материалов.


1. Актуальность и история разработки геополимерных вяжущих материалов, виды, характеристики

Современный уровень развития цивилизации основан на промышленном производстве, которое использует колоссальные объемы минерально-сырьевых и энергетических ресурсов нашей планеты. Масштабы

воздействия хозяйственной деятельности человека на окружающую среду сопоставимы с геологическими процессами.

В мире добывается более 100 млрд тонн сырья в год, из которых менее десятой части используется в качестве полезного продукта, а остальное

накапливается в виде отходов на свалках, хранилищах, захоронениях,

полигонах.

Изменения в природной среде, которые особенно заметны в городах, местах добычи полезных ископаемых и около крупных предприятий, а также вдоль транспортных путей, значительно ухудшили качество среды обитания человека. Этот фактор, а также исчерпание традиционных источников сырья и накопление отходов ставят под сомнение дальнейшее развитие нашей цивилизации.

Цель этой работы - исследовать пути решения переработки отходов, узнать новые перспективные вяжущие вещества.

Ресурсосбережение в строительстве и промышленности строительных

материалов развивается в настоящее время по следующим направлениям:

замена природного сырья на промышленные отходы, в результате

чего снижается потребление природных минерально-сырьевых ресурсов, при этом реализуется дополнительный экологический эффект - ликвидируются промышленные свалки;

повышение технико-строительных характеристик продукции, например прочности строительных материалов или несущей способности конструкций, что позволяет снизить их материалоемкость;

увеличение долговечности материалов, что обеспечивает повышение

срока эксплуатации и затрат на ремонтно-восстановительные работы;

проектирование зданий, сооружений и отдельных строительных

конструкций с новыми возможностями для их модернизации, реконструкции и ремонта.

Решением разнообразных, но часто взаимосвязанных задач энергосбережения занимаются специалисты различных профилей, которые используют специфические методы. В промышленности строительных материалов наиболее перспективный путь снижения энергоемкости производства - это замена портландцемента на безобжиговые вяжущие щелочной активации. Развитие таких вяжущих началось еще в тридцатые годы двадцатого века, когда в условиях острого дефицита цемента велись поиски других, более дешевых вяжущих на основе промышленных отходов. Однако системные исследования безобжиговых вяжущих начались только в пятидесятые годы прошлого века, когда В.Д. Глуховский и его сотрудники создали сначала материалы под названием «грунтосиликат», а затем шлакощелочное вяжущее и бетоны.(шлак*-см. приложение)

Шлакощелочные вяжущие разрабатывались не как альтернатива портландцементу, а как дешевый материал, способный увеличить общий объем производства строительных вяжущих. Однако в процессе практического применения было установлено, что шлакощелочное вяжущее по ряду характеристик превосходит портландцемент; в частности, при производстве бетона допускалось использование менее качественных заполнителей. Кроме того, возможно получение более прочных и жаропрочных бетонов.

Исследование и опытно-промышленное производство шлакощелочного и других безобжиговых вяжущих активно велись вплоть до начала девяностых годов прошлого века. После уменьшения объемов строительства, которое наблюдалось в период экономического кризиса 1990-х годов, интерес к безобжиговым ресурсосберегающим вяжущим и бетонам на их основе заметно снизился.

Новый этап в развитии безобжиговых вяжущих - создание и исследование с начала девяностых годов двадцатого века учеными Пензенского ГУАС под руководством В.И. Калашникова глиношлаковых вяжущих. Ими было установлено, что замещение до 40 % шлака измельченной глиной практически не приводит к снижению прочности комплексного вяжущего. Исследования показали, что количество щелочного активатора может быть уменьшено при условии снижения водовяжущего отношения, что обеспечивает достаточную концентрацию щелочи в жидкой фазе.

Сокращение расхода воды приводило к ухудшению удобоукладываемости смеси, что ограничивало область применения малощелочных вяжущих приготовлением жестких смесей для производства мелкоштучных изделий методами прессования или вибропрессования.

В результате дальнейших исследований были получены минерально-

шлаковые вяжущие на основе карбонатных, гравелитовых и других осадочных горных пород, таких, как песчаник, глауконит, халцедон. В зависимости от содержания в вяжущем горных пород такие вяжущие классифицируются на минерально-шлаковые, геошлаковые и геосинтетические.

В Казанском ГАСУ под руководством Р.З. Рахимова начиная с середины двухтысячных годов ведутся разработка и исследование шлакощелочных строительных материалов на основе доменных шлаков и кремнеземистых и алюмосиликатных минеральных добавок природного и техногенного происхождения. В состав этих вяжущих, названных композиционными шлакощелочными вяжущими, вводится до 20 % молотого кварцевого песка, боя керамического кирпича, отработанной формовочной смеси, цеолита и других природных и техногенных материалов.

История развития геополимерных материалов связана с именами французского ученого J. Davidovits и японских исследователей Iwahiro, Y. Nakamura, R. Komatsu, K. Ikeda, заложивших основы технологии геополимеров. В трактовке Джозефа Давидовича под геополимером следует понимать материал, обладающий повышенным содержанием SiO2 и Al2O3, например, микрокремнезем или метокаолин, активированный сильнощелочным раствором. Murayama и другие доказали, что ион OH- в щелочном растворе влияет на степень растворения Si4+ и Al3+, содержащихся в алюмосиликатных материалах [3].

Работы зарубежных ученых направлены на замену самого распространенного современного гидравлического вяжущего - портландцемента геополимерными материалами. Создание водостойких материалов на основе тонкоизмельченных горных пород сопряжено с определенными проблемами, одной из которых является трудно поддающееся управлению образование геля кремниевой кислоты, выделение которого является причиной снижения прочности при воздействии на затвердевшее вяжущее воды.

Для создания водостойких вяжущих необходимо подобрать композицию геополимерного вяжущего таким образом, чтобы гель кремниевой кислоты можно было бы связать в труднорастворимые соединения. Возможными путями решения этой проблемы может стать применение химических модифицирующих добавок, минеральных добавок на основе алюмосиликатных соединений [4].

Строительные материалы на основе геополимеров имеют значительные преимущества в сравнении с традиционными материалами: они производятся на основе крупнотоннажных промышленных отходов по безобжиговой технологии, что позволяет значительно снизить себестоимость производства. Материалы на основе геополимерных вяжущих в ряде случаев имеют более высокую коррозионную стойкость и долговечность. Технология производства этих материалов во всем мире относится к перспективным ресурсо- и энергосберегающим технологиям в строительной индустрии[1].

В дальнейшем были разработаны технологии нескольких разновидностей геополимеров на основе различных термически обработанных алюмосиликатов природного и промышленного происхождения - полевошпатовых горных пород, шлака, золы и др. Эти вяжущие способны твердеть и набирать прочность как притепловлажностной обработке, так и в нормальных условиях.

В качестве сырья для получения геополимеров использовались алюмо-силикатные материалы, которые подвергались термической обработке при температуре 750…850 °С. Это позволило, в сравнении с портландцементом, снизить на 70…90 % расход энергии и выбросы углекислого газа при производстве вяжущего. Еще менее энергозатратны технологии геополимерных материалов на основе золы-уноса и доменного гранулированного шлака, так как эти промышленные отходы в процессе образования уже прошли термическую обработку[4].

.1 Обоснование использования геополимерных вяжущих в древности

Возможно, геополимеры применялись и в прошлом и даже для строительства таких впечатляющих объектов как пирамиды. Так тезис об использовании бетона при строительстве египетских пирамид выдвигается по меньшей мере с 1979 года, со времени Второго Международного конгресса египтологов в Гренобле, французским химиком, профессором Джозефом Давидовицем. Также он начал утверждать, что и некоторые древнеегипетские вазы были изготовлены не из природного камня, а произведены методом “каменного литья”.

Дж. Давидовиц отстаивает мнение, что некоторые египетские пирамиды и отдельные храмы были построены из одной из разновидностей природного или геополимерного бетона. В качестве природного бетона можно рассматривать различные окаменевшие отложения, например, типа известняка или песчаника. Так из потоков грязи вулканического или иного происхождения в результате высыхания и схватывания тоже возникает природный бетон. Всякий раз, когда в результате перемешивания песчаных и других минеральных наносов с органическими компонентами (морская органика, продукты жизнедеятельности микробов и т.п.) возникали слои окаменения, мы на самом деле имели дело с природным бетонированием с органическими добавками. В случае египетских пирамид речь идет о повторении человеком этих природных процессов с небольшими изменениями: за счет органических добавок к растворенным в воде природным минеральным материалам получается природный бетон с хорошими свойствами.

Давидовиц и его американские сотрудники выяснили, что похожая техника находила применение также и в древних южноамериканских культурах: при изготовлении ваз, скульптур и в строительной деятельности (см. также статью “Размягчение камней”)

Транспортировка миллионов блоков весом в несколько тонн всегда представляла слабое звено в мысленных построениях египтологов. Микроскопические исследования материала из каменоломен выявили наличие кальциевых структур с четкими кристаллическими решетками при постоянной плотности и, одновременно, известковые фрагменты раковин. Напротив, стройматериалы пирамиды Хеопса содержали наряду с фрагментами раковин примеси извести, соды и веществ органического происхождения. В них наблюдались колебания плотности и даже включения пузырьков воздуха. Объяснение Давидовица для этих различий таково: размягченные в воде каменные материалы ракушечника из расположенных вблизи вади смешивались с нильским илом и связывающими средствами (сода, известь, органические добавки), необходимыми для возникновения геополимерного бетона, и затем эта масса затвердевала.

Большая часть природного известняка (более 90%) образуется из известкового ила. Это не что иное, как заготовка для природного геополимерного карбонатного бетона. В иле содержатся мелкодисперсные частицы карбонатов, осколки раковин и кораллов, а также вода и полимеры - органические соединения. Следовательно, собственно известняк и есть природный геополимерный карбонатный бетон.

Кроме того, литье блоков из бетона объяснило бы плотную стыковку блоков. Надо при этом сказать, что отдельные внешние блоки, по крайней мере, видимые снаружи, вовсе не так уж плотно примыкают друг к другу, как блоки внутренних проходов и помещений. Внешние блоки пирамид подвержены разрушительному воздействию сил природы и “цивилизационных” сил. В отличие от блоков внутри пирамиды, внешние блоки сильно нагреваются в летние дни и сильно охлаждаются ночью. Сильные ветры уносят отломанные кусочки. Возникающие трещины используют туристы, чтобы раздобыть образцы камней пирамид как сувениры.

Миллиметровый зазор или слой строительного раствора (в действительности гипсовый слой) между блоками бетона служил отделению последних друг от друга. Если бы вся пирамида была вылита как монолит, термически обусловленные напряжения в теле пирамиды нельзя было бы нейтрализовать. А разделенные таким образом блоки могут взаимно передвигаться, что позволяет избегать трещин внутри блоков. При этом известковый слой сжимается, но блоки остаются целыми. В отдельных случаях зазор не содержит гипсового слоя, а возник просто потому, что на боковой на поверхности уже залитого блока строители оставляли при литье следующего блока плетеные растительные циновки (например, изготовленные из папируса), которыми оберегали деревянную или иную опалубку от ее схватывания бетоном. Со временем микробы уничтожили эти циновки и между соседними блоками остался миллиметровый зазор. Той же цели служат и слои песка, обнаруженные под блоками: они позволяли защищать один слой от термических напряжений, возникших в соседнем слое блоков. Не исключено, что и слой песка тоже устилался циновками для того, чтобы между блоками двух слоев оставался зазор. Построение пирамид из не сцементированных друг с другом блоков позволяло также снимать гигантские гравитационные напряжения, которые иначе могли бы привести к дроблению блоков и постепенному разрушению пирамиды.

Но есть и затруднительные моменты в этой теории.

Великая пирамида весит 6-7 миллионов тонн. При строительстве в течение 20 лет по методу Давидовица нужно ежедневно размалывать в порошок почти тысячу тонн известняка. Производительность современного горнорудного комбината! И это - примитивными инструментами типа каменной кирки, долота и кувалды! А далее - замешивать, поднимать, разливать в формы (которые тоже надо готовить). Так в чем состоит облегчение работ? Даже снимая проблему подъема громадных блоков на высоту (и то не полностью, так как вопрос с гранитными блоками так и не решен) теория геополимерных блоков известняка задает другую проблему - производство посредством ручного труда неимоверного количества исходных материалов для изготовления геополимеров. И еще спорный вопрос: какую из проблем разрешить труднее.

Сакуйи Йошимура из университета Васеда в Токио, приехавший по приглашению в Гизу, провел дополнительное сканирование тела пирамиды аппаратурой, действующей направленными электромагнитными импульсами, которые вырисовывали на экране контур предметов, скрытых несколькими метрами толщи. Разрешающая способность аппаратуры позволяла зафиксировать лишь сам факт наличия в открытых нишах инородных тел. Были более четко определены масштабы и формы пустот.Как показывают фотографии из книг Давидовица, порой встречаются стыки двух соседних блоков, которые имеют форму волнистой линии весьма нерегулярного свойства. Как можно было изготовить в каменоломне второй блок, грань которого в точности повторяла бы все выступы и впадины неровной поверхности первого блока?

Египтологи считают, что гигантская пирамида “Хеопса” была построена в период “четвертой” династии (из аккуратных больших точно пригнанных блоков), а уже следующая династия строила небольшие пирамиды. Некоторые из них - это примитивнейшие пирамиды из грубо вырубленных в каменоломнях блоков нерегулярного размера, которые никак не соединялись друг с другом и не пригонялись один к другому. Этот стиль строительства можно назвать примитивно-мегалитическим.

Еще один хронологический парадокс: египтяне Древнего Царства, в распоряжении которых были только примитивные, в основном каменные, орудия труда, строили пирамиды якобы из сравнительно твердого известняка, а в период Среднего Царства, когда уже широко применялись бронзовые инструменты, основным строительным материалом стал сравнительно мягкий песчаник.

Однако в случае применения технологии бетонирования объяснение обвальному уменьшению объемом пирамид легко найти: истощение месторождений цементирующих добавок. В качестве таковых использовались негашеная известь и сода (она же натр или углекислый натрий). Немецкий геохимик Д. Д. Клетт, проводивший подробные исследования залежей полезных ископаемых и древних построек в Египте в конце 80-х - начале 90-х годов ХХ в., пришел к выводу, что запасы негашеной извести были истощены в конце “пятой” династии, так что в Египте в это время практически исчез строительный раствор, содержащий известь. Дело в том, что сода встречается в Египте в виде минеральных отложений, а известью Египет крайне беден и для добычи оной использовалась зола из печей, в которых египтяне пекли хлеб. По всей стране проводился ее сбор с целью доставки к строительным площадкам пирамид и в образцах из блоков пирамид 3-5 династий (но не 6-й династии) найдены не только сода, но и негашеная известь. А без извести прочных бетонных блоков большого размера производить не удавалось. Природные запасы необожженной извести в Египте ничтожно малы, а использование обожженной, как считают, началось лишь в эпоху Птолемеев. Клетт считает, что исчезновение извести было связано с длительным голодом в Египте, очевидно, в результате засухи или неурожаев, вызванных экологической катастрофой из-за интенсивной эксплуатации полей и сжигания соломы. Не исключено, что именно строительство пирамид привело к экологической катастрофе и голоду в Египте, ибо необходимые полям в качестве удобрений солома и зола использовались для получения извести[5].

Анализируя данные факты, могу предположить, что при строительстве пирамид использовались каменные блоки в сочетании с геополимерным бетоном.

2. Геополимерные материалы из горных пород, активизированные малыми добавками шлака и щелочей

В последнее десятилетие разработаны минерально-шлаковые вяжущие, активируемые малыми добавками щелочей, содержание шлака в которых составляет 40-60%, а массовая доля щелочей не превышает 2-3% [6-9].

Результаты последних исследований позволили выявить ряд горных пород осадочного происхождения, которые под действием малых добавок шлака, не превышающих 20%, и низких количеств щелочей NaОН или КОН, способны к формированию контактно-метасоматических структур [9, 10].

На свойства силицитового геополимерного камня оказывают влияние химико-минералогический и фазовый состав песчаника, тонина его помола, вид и количество химических добавок - активаторов процесса твердения, а также вид, дисперсность*, активность и количественное содержание минеральных добавок-модификаторов.

К числу основных факторов, определяющих прочность получаемого материала, относится, в частности, прочность каркаса из кремнеземистого компонента, сцементированного гелем кремневой кислоты. На прочность каркаса оказывают влияние прочностные свойства нерастворимых гидросиликатных новообразований. -[11]

Прочность силицитового геополимерного камня также зависит от плотности и пористости, на величину которых влияет гранулометрический состав исходного компонента - песчаника, степень и способ уплотнения смеси, содержание в ней воды. Уменьшение пористости достигается ограниченным содержанием воды, а также оптимальными режимами прессования.

Определенную роль в формировании прочности силицитового геополимерного камня играет его морфология, зависящая от условий твердения. Оптимизация режимов тепловой обработки (ТО) является важным фактором формирования структуры силицитового вяжущего. Причиной снижения прочности может быть применение нерациональных режимов тепловой обработки, вызывающих возникновение дефектов структуры в процессе кристаллизации из-за действия значительных внутренних напряжений. Они возникают при значительных температурных и влажностных перепадах внутри материала. Кроме того, внутренние напряжения возникают в процессе температурного и влажностного деформирования на границе зон, коэффициент температурного расширения и модуль упругости которых различны. Поэтому особое внимание необходимо обратить на повышение степени однородности структуры силицитового геополимерного камня, что достигается качественным перемешиванием компонентов исходной смеси.

Принципиальная технологическая схема производства прессованного безобжигового материала включает подготовку сырьевых материалов, помол, перемешивание компонентов, прессование и тепловую обработку изделий. Помол песчаника может производиться как отдельно, так и совместно со специальными добавками-модификаторами[12].

Повышенные показатели -прочности имеют вибропрессованные образцы или образцы, отформованные при силовом прессовании под давлением 5-25 МПа. Особенностью новых вяжущих и композиционных материалов на их основе является способность многократного повышения прочности в условиях термической активации при температуре 150-350°С.

Номенклатура минеральношлаковых вяжущих расширилась за счет использования полевошпатовых, силицитовых, глауконитовых пород, самостоятельно не твердеющих при малых количествах щелочи. Вяжущие на их основе в большей степени подвержены упрочнению при низкотемпературной термической активации, нежели карбонатно-шлаковые.

Оценка степени термохимического упрочнения осуществлялась на образцах, изготовленных из гравелито-шлакового вяжущего. В качестве основного компонента вяжущего применялись гравий (полевошпатово-кварцевый гравелит), отсеянный от песчаной фракции и размолотый до удельной поверхности Sуд = 630 м2/кг, и гранулированный липецкий шлак, измельченный до Sуд = 340 м2/кг.


Прочность в 28-суточном возрасте, МПа..............21,8

Плотность в 28-суточном возрасте, кг/м3.............1987

Прочность после прогрева, МПа

при 150°С..........................................94,4

при 250°С........................................101,8

при 300°С........................................117,8

Плотность после прогрева, кг/м3

при 150°С ......................................1798

при 250°С........................................1796

при 350°С .....................................1770

Потеря массы образцов в пересчете на абсолютно сухое вещество составила, %: 0; 0,16; 1,5 после прогрева при 150, 250 и 350°С соответственно.

Как следует из данных, приведенных выше, гидратное твердение в течение 28 суток позволило получить невысокие прочностные показатели. Аналогичные значения прочности имели минерально-шлаковые вяжущие, в которых содержалось 10% шлака и 90% молотого глауконитового песчаника. Образование минеральных связок между частицами породы происходит в результате диффузионного перемещения продуктов гидратации шлака в ионной форме и взаимодействия их с продуктами гидроксилирования поверхности гравелитовых частиц щелочью NаОН. Этот процесс образования связки, по нашему мнению, аналогичен метасоматическому микроповерхностному замещению отдельных минеральных образований у горных пород. Наличие большого числа контактов между частицами горной породы, ионов шлакового вяжущего и щелочи способствует образованию щелочных контактно-метасоматических композитов.

Термическая обработка образцов с прочностью 21,8 МПа повышает их прочность в 4,3; 4,7 и в 5,4 раза при температурах изотермической выдержки 150, 250 и 350°С соответственно. Важно, что такие значения прочности получены у образцов с невысокой средней плотностью. Истинная плотность затвердевшего вяжущего, прогретого при температурах 250 и 350°С, оказалась соответственно 2520 и 2485 кг/м3, а его пористость 28,7 и 29%.

Важно выявить механизм микроповерхностного синтеза вяжущего вещества на частицах гравелитовых, глауконитовых и силицитовых пород в присутствии ионов шлака и щелочи с целью получения высокой прочности при достаточно мягком термическом воздействии. Как следует из приведенных данных, уже при температуре 150°С прочность возрастает четырехкратно. Если принять во внимание повышение концентрации щелочи при испарении воды, низкую температуру плавления NаОН (t пл = 320°С) и ее низшего гидрата NаОН*Н20 (t пл - 64,3°С), то становится понятным активирующее действие горячей щелочи и ее высокомолярных растворов. Можно полагать, что, начиная с температуры 105-110°С и до температуры 150°С (предельная растворимостьNaОН в воде 3370 г/л) высокомолярный кипящий раствор щелочи начинает растворять поверхностные реликты отдельных минералов полевошпатовой породы. Диффузия ионов шлакового вещества в контактные зоны частиц с наименьшей кривизной менисков жидкости способствует зарождению предшественников новой фазы из продуктов реакции ионов шлака и ионов породы, растворенных в щелочном раствореNaОН. С повышением температуры до 200-250°С могут образовываться эвтектические смеси с растворимыми веществами полевошпатовой породы и шлака, что понижает температуру плавления NaОН. Микрокапельки расплава инициируют процесс конденсации (спекания) продуктов реакции вследствие пересыщения раствора.

Такой механизм цементации частиц справедлив и для тех пород, которые в чистом виде не затвердевают в присутствии добавок щелочи NaОН ни в нормальных условиях, ни при последующем температурном воздействии (гравелиты, глаукониты, силициты и др.). Таким образом, шлак является необходимым и наиболее важным компонентом даже в таком минимальном количестве, которое не в состоянии выполнить функцию основного цементирующего вещества для получения высоких значений прочности материала. На основании топологических расчетов установлено, что шлаковые частицы не в состоянии образовать перколяционный каркас в структуре композиционного вяжущего, когда матрица формируется из частиц минеральной породы.

Показательным для обоснования высокой инициирующей функции шлака является сравнение минерально-шлаковых и минерально-цементных композиций. Гравелито-цементные композиции с соотношением цемент:гравелит = 1:9 после 28 сут нормального твердения имели прочность при сжатии 32 МПа. После прогрева при 250°С их прочность возросла до 53 МПа, что практически в 2 раза ниже гравелито-шлаковых.

Более высокие показатели прочности гравелито-шлаковых композиций получены при повышении содержания шлака до 20%. При этом прочность возрастает пропорционально плотности. Гравелито-шлаковые формовочные смеси с соотношением шлак.травий = 1:4, с формовочной влажностью 12% и добавкой щелочи ИаОН в количестве 2% прессовались при удельных давлениях: 5, 10, 15 и 25 МПа. Кинетика нарастания прочности в воздушно-влажностных условиях и после сухого прогрева образцов с 28-суточной прочностью при 250°С представлена в табл. 1.

Таблица 2.1

ДДавление прессования, МПа

ФФормовочная ппрочность, МПа

Прочность при сжатии, МПа, через сут

Водопоглощение, мас. %

Рсж, МПа, после прогрева при 250°С



11

33

77

114

228



55

00,33

00,4

33,3

115,6

119,6

224,9

22

86,1

110

00,9

11,1

33,9

117,6

226

330,9

19,4

113

115

11

22,2

44,8

119,2

333,3

335,8

18,5

131,7

225

10,22

55,3

117

331,3

447,5

448,9

17,8

153,9


Как следует из табл. 1, прирост прочности после термообработки не превышает во всех случаях четырехкратного значения (3,1-3,5). Однако абсолютные значения прочности образцов, прессованных при давлении 25 МПа, существенно увеличились. Для этих образцов объемное водопоглощение при средней плотности композита 1810 кг/м3 составило 32%. Если принять, что пористость равна объемному водопоглощению, то приведенная прочность в условно-плотном состоянии ориентировочно равна 203 МПа, что сопоставимо с прочностью высокопрочных горных пород. Для сравнения приведем значения прочности цементного камня, полученного при полусухом прессовании цемента М500 ДО при давлении 500 МПа и влажности 9,8%. Через 28 сут нормального твердения прочность при сжатии составила 267 МПа. Можно полагать, что при таком давлении и влажности гравелито-шлаковые композиты могут иметь прочностные показатели, близкие к цементному камню.

Приведенные результаты значительного повышения прочности гравелито-шлаковых композиций относятся к мягкому термическому воздействию на образцы после 28-суточного твердения. Естественно, что такой сложный технологический процесс получения геошлаковых полимеров не может быть реализован на практике. Для практической реализации технологии необходим предварительный ускоренный режим тепловлажностной обработки композиционных материалов при температуре 70-90°С. Экспериментальные результаты свидетельствуют, что гравелито-шлаковые образцы (шлак:гравий = 1:4) при всех аналогичных рецептурных и технологических параметрах изготовления после пропаривания при температуре 80°С по режиму 4+3+остывание имели прочность 20,5 МПа. После сушки при 105-110°С прочность повысилась до 89,9 МПа, а после прогрева при 250°С - до 108,8 МПа.

Таким образом, технология изготовления высокопрочных геошлаковых полимеров сводится к двухстадийной тепловой обработке: тепловая обработка в гидротермальных условиях для протекания гидратационного твердения, последующая сушка при 105-110°С или сухой прогрев при 150-250°С, что может быть реализовано в одном тепловом аппарате.

Высокие прочностные показатели достигаются не только на прессованных, но и на виброуплотненных композициях. Снижение прочности неизбежно, если в минерально-шлаковое вяжущее вводятся заполнители. В табл. 2 представлены результаты испытания песчаных бетонов на двух минерально-шлаковых вяжущих. Водовяжущее отношение во всех составах было 0,25, массовая доля щелочи 2%. Использовались молотые глауконитовый песчаник с Sуд = 1300 м2/кг, гравий с Sуд = 910 м2/кг, шлак с Sуд = 440 м2/кг. Мелким заполнителем служил сурский песок. Образцы формовались на виброплощадке.

Результаты испытаний (табл. 2) свидетельствуют, что с увеличением содержания шлака в смеси с 10-20 до 60% образцы из смешанного вяжущего имеют высокие показатели прочности через 28 сут нормального твердения, хотя пористость их ниже, чем прессованных.

Эффективность сухого прогрева при 105°С снижается, хотя прочность при сжатии превышает 100 МПа. В песчаных бетонах состава 1:1 и 1:2 нормального твердения прочность понижается не столь значительно по сравнению с понижением прочности высушенных образцов. Сильно наполненные, наиболее экономичные песчанистые бетоны состава 1:3 после прогрева обладают достаточно высокой прочностью, не уступающей прочности песчанистого бетона состава 1:3 на цементном вяжущем.

Исходные компоненты смеси, мас. ч

Средняя прочность при сжатии, МПа, в возрасте, сут

Водопогло-щение, мас. %

Рсж, МПа, после сушки при 105°С

Вяжущее

ППесок

55 сут

77 сут

114 сут

28 сут



1 мас. ч. гравелито-шлакового вяжущего (гравий:шлак = 40:60)

--

224,3

330,3

339,8

57,6

15

100,5


11

225,9

331,6

442

53,7

11,3

94,1


22

44,4

119,6

334

50

9,4

75,2


33

11,5

55

119,2

36,2

8,9

63

1 мас. ч. глауконито-шлакового вяжущего (глауконитовый песчаник:шлак = 40:60)

--

336,5

444,2

552,8

69

15,5

110,2


11

331,9

440,1

445,4

52,6

12,2

88


22

226,7

227,2

339,3

49,7

11,3

74


33

114,4

221,2

228,2

41,7

10

57,6


Представляет интерес проанализировать кинетику нарастания прочности минерально-шлаковых вяжущих, изготовленных на различных породах осадочного происхождения в зависимости от их дисперсности. Композиты изготовлялись методом прессования при давлении 15 МПа из следующих составов: порода:шлак = 40:60, массовая доля щелочи 2%; формовочная влажность смесей составляла 12%. Результаты (табл. 3) свидетельствуют о том, что для всех пород с увеличением их дисперсности прочностные показатели при воздушно-влажностном твердении увеличиваются. Более заметный прирост прочности характерен после прогрева образцов при 150°С. Из исследованных пород наиболее активны глауконитовый песчаник и полиморфная модификация кварца - халцедон.

Таким образом, показана возможность получения принципиально новых видов высокопрочных вяжущих из модифицированных дисперсных горных пород. Вследствие совместного каталитического воздействия малых добавок шлака и щелочи №ОН в количестве 2% при повышении температуры выше температуры кипения предельно-насыщенного в микрокапиллярах раствора щелочи (150°С) ускоренно протекает синтез высокопрочных цементирующих соединений. При этом проявляется радикальная активирующая роль шлака в отвердевании предельно-наполненных горными породами композиций. Поэтому отношение к шлаку как активирующему началу для создания геополимеров из горных пород должно быть пересмотрено. И чем быстрее произойдет такая позитивная переоценка, тем значительнее будет вклад в экономику строительной индустрии.

прогрессирующим накоплением минеральных отходов горно-добывающих и рудно-обогатительных производств;

достаточным количеством шлаков, которые оказывают в малом количестве инициирующее действие на процессы отвердевания горных пород в минерально-шлаковых композициях;

минимальным расходом щелочных активаторов;

улучшением отдельных физико-технических и функциональных свойств в сравнении со шлакоще-лочными вяжущими с большими дозировками щелочных активаторов;

возможностью замены щелочей путем проведения в объеме композиционных шлаковых вяжущих реакций каустификации соды известью;

возможностью снижения содержания шлака до 10-20% в минерально-шлаковом вяжущем при оптимальном химико-минералогическом соотношении шлака и горной породы;

малыми затратами тепла по сравнению с расходами его при производстве извести и цемента;

высокими физико-механическими свойствами. [11]

.1 Активация электромагнитным полем

В развитие известных разработок в области получения бесклинкерных вяжущих на основе вулканических шлаков была сформулирована гипотеза о возможности создания эффективных шлакосиликатных вяжущих (ШСВ), полученных путем электромагнитной активации вяжущих, состоящих из вулканических шлакюв и силикат-глыбы, в жидкой среде. Твердение вяжущих осуществлялось в условиях сушки при I = 80, 150 и 200°С, время термообработки 1,5+т+1,5 ч, где т - переменная продолжительность изотермической выдержки, равная 1; 1,5; 2 и 3 ч.

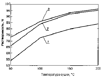
С увеличением степени дисперсности силикат-глыбы, активированной электромагнитным полем, постепенно увеличивается растворимость силикат-глыбы (рис. 1). При диспергировании* силикат-глыбы происходит не только ее интенсивное измельчение, но и изменение физико-химического состояния и структуры, то есть повышение реакционной способности. Эффект электромагнитной активации не пропорционален приросту удельной поверхности и связан с необратимыми деформациями, происходящими при разрушении материала.

При сравнении способа активации силикат-глыбы (рис. 1) очевидна эффективность электромагнитной активации: 95-98% растворимость твердых силикатов натрия наблюдается при измельчении в присутствии воды

при 8уд = 350-400 м2/кг, при температуре тепловой обработки 150°С. Повышение растворимости силикат-глыбы, а следовательно, физико-химической активности ШСВ за счет электромагнитной активации происходит в результате повышения физико-химической активности среды, приводящей к увеличению активной поверхности твердых компонентов вяжущих.

Рис. 2.1. Исследование растворимости силикат-глыбы, активированной различными способами (3 = 400 м2/кг): 1 - сухая механоактивация; 2 - гидромеханоактивация; 3 - электромагнитная активация

Диспергация частиц зерен вяжущих веществ происходит за счет взаимодействия активных форм молекул воды (радикалов ) образующихся при резонансном поглощении водой электромагнитных колебаний в области частот 13-20 кГц.

В условиях тепловой обработки повышенная температура и щелочная среда способствуют растворению. с поверхности вулканического шлака частиц аморфного кремнезема, находящегося в тонкодисперсном состоянии. В результате чего образуется раствор орто-кремниевой кислоты и частично жидкое стекло.

Наличие в составе шлака оксида кремния приводит к локальному изменению рН на границе раствор - зерно, вследствие чего жидкое стекло гидролизуется и на поверхности частиц стекла образуется гель кремниевой кислоты. В момент образования дисперсной фазы происходит реакция поликонденсации с образованием геля кремниевой кислоты, который склеивает в монолит отдельные нерастворившиеся частицы стекла и шлака. А использование некондиционного заполнителя* увеличивает прочность бетона в среднем на 10-20% в зависимости от расхода вяжущего (рис. 2.2, 2.3).

Рис. 2.2, 2.3

Результаты исследований подтверждают гипотезу о том, что гидроалюмосиликаты глинистых примесей в сочетании с щелочными компонентами вяжущего образуют дополнительно гидратные новообразования в виде гидроалюмосиликатов натрия типа натролита.

В результате исследований определены все основные свойства разработанных шлакосиликатных бетонов.

Таблица 2.3

I Свойства

Бетоны (маркировка)

 

ШСБ, электромагнитная активация

ШСБ, ГМА

БЦБ*

ЦШБ**

(Предел прочности при сжатии/изгибе, МПа

16/5,3

15/4,5

10/3,2

7,5/2,5

[Средняя плотность, кг/м3

1200

1200

1200

1200

[Модуль упругости, 104 МПа

1,31

1,29

1,12

1,12

Коэффициент Пуасссона

0,152

0,148

-


Предельная сжимаемость, мм/м

1,8

2

-


Усадка, мм/м

0,42

0,45

0,6

0,52

Массовое водопоглощение, %

16,1

15,8

17,2

17,3

Водостойкость (после 2 сут), К

0,87

0,85

0,76

0,77

Морозостойкость, циклы

50

25

25

Теплопроводность, Вт/(м.°С)

0,55

0,55

0,6

0,6

*БЦБ - бесцементный бетон; **ЦШБ - цеменгный шлакобетон.

Анализ основных физико-технических свойств разработанных шлакосиликатных бетонов показывает их преимущества перед известными бетонами по конструктивным свойствам и долговечности, что позволяет их рекомендовать для изготовления штучных стеновых материалов и изделий[13].

3. Оценка экологичности геополимерных вяжущихна основе низкокальциевой золы-уноса

Возрастающая утилизационная роль отрасли строительных материалов, вызванная интенсификацией использования техногенного минерального сырья, представляющего собой отходы металлургии (доменные и сталелитейные шлаки), энергетики (золы-уноса), горнодобывающей промышленности и других отраслей, способствует существенному снижению техногенного прессинга на экосферу среды обитания и жизнедеятельности в системе человек - материал - среда обитания [14].

Однако техногенные отходы, являющиеся продуктом глубокой переработки природного минерального сырья, особенно с высокотермальными этапами их технологической истории, способны концентрировать низкокларковые, как правило, тяжелые элементы в химически несвязанной форме. Строительные материалы, изготовленные на основе такого техногенного сырья, могут оказывать различные виды негативного воздействия (канцерогенное, аллергенное и др.) на биологические индивиды. В связи с этим актуализируется требование к биологической позитивности техногенного минерального сырья и материалов на его основе.

В особой степени это относится к новым видам вяжущих - геополимерам, получаемым при щелочной активации алюмосиликатного сырья. Эти вяжущие представляют собой перспективный класс наноструктурированных материалов, имеющих перспективы применения в композиционных материалах как альтернатива портландцементу. Одним из применяемых для получения геополимерных вяжущих техногенного алюмосиликатного сырья является низкокальциевая зола-уноса ТЭЦ, получаемая как отход при сжигании каменного угля [15].

Цель данного исследования - сравнительный анализ степени экологической безопасности геополимерного вяжущего на основе золы-уноса ТЭЦ и традиционного цементного вяжущего. Для проведения эксперимента применена методика фитотестирования вяжущих на основе техногенного сырья на семенах высших растений. Используемый, в настоящей работе фитотест является унифицированным методом, в соответствии с которым установление класса опасности и уровня безвредности отхода по фитотоксическому действию осуществляется по определенным параметрам фитотоксичности *[16].

Для проведения сравнительного анализа в качестве исследуемых материалов использовали цементное вяжущее, твердевшее в стандартных условиях (ЦВ), геополимерное вяжущее, подвергнутое в процессе твердения температурной обработке при 80°С (ГВ 80) и твердевшее при комнатной температуре (ГВ 25).

В качестве исходных материалов использовали портландцемент ЦЕМ1 42,5 и золу-уноса ТЭЦ. В качестве исходного экспериментального материала использовали образцы вяжущих в возрасте 28 сут[15].

Пробоподготовку исследуемых материалов проводили в соответствии с методическими рекомендациями [16]. Перед началом испытания образцы вяжущих были измельчены до грубодисперсного состояния. Для определения диапазона фитотоксического действия приготовлены рабочие растворы путем последовательного разбавления нативных экстрактов вяжущих дистиллированной водой в соотношениях 1:10, 1:100 и 1:1000.

В качестве контрольной среды для проращивания тест-культуры использовали дистиллированную воду.

Для полученных рабочих растворов были определены значения рН на различных стадиях их выдержки (см. таблицу).

Таблица 3.4

Воз- раст

ЦВ

ГВ 80

ГВ 25

Контроль


11:10

1:100

1:1000

11:10

11:100

11:1000

11:10

11:100

11:1000


 1 ч

10,69

99,58

88,72

10,73

99,52

88,63

10,9

99,74

88,78

66,7

77 сут

10

--

--

10,95

--

--

11,1

--

--

6 6,7

*Под контрольным замером в данном случае понимается измерение длины корней и проростков зерна тест-культуры, причем измерение должно осуществляться для максимально длинных порослей.

Рабочие растворы выдерживали в течение 2 сут, затем помещали в чашки Петри (по 5 мл каждого раствора) с фильтровальной бумагой по всей поверхности дна, совместно с тест-культурой. В качестве последней были использованы неповрежденные семена овса (по 25 зерен для каждой пробы) с предварительно определенной всхожестью, составляющей не менее 95%. После приготовления образцы помещались в термостат на 7 сут.

В течение всего эксперимента было осуществлено два контрольных замера* в возрасте 3 и 7 сут.

Проявление степени фитоэффекта на тест-культуре в зависимости от используемого экстракта вяжущего представлено на рис. 1.

На основании визуального оценивания можно предположить, что наиболее благоприятной средой для прорастания зерен тест-культуры является водный раствор ГВ 80.

Для расчетной оценки фитоэффекта исследуемых материалов использована методика, основанная на экспериментально установленной зависимости величины фитотоксического эффекта от степени разбавления водного экстракта. В качестве выходного параметра выступает величина Ет (эффект торможения), рассчитываемая по формуле:

Ет=(Lк+ Lоп)/ Lк •100%,

где Lк - средняя длина корней тест-культуры в рабочем растворе (мм), а Lоп - средняя длина корней тест-культуры в контрольном растворе (мм)

( рис. 3.4. Интенсивность прорастания тест-культуры в различных видах экстракта. Разбавление 1:100, 7 суток

рис. 3.5. Интенсивность прорастания зерен тест-культуры в зависимости от концентрации водного раствора ГВ 80)

На основании полученных результатов можно сделать вывод о снижении эффекта торможения развития семян тест-культуры с увеличением степени разбавления. Кроме этого, геополимерное вяжущее с температурной обработкой в процессе твердения, при прочих равных условиях с другими исследованными образцами вяжущих, имеет минимальную степень фитотоксичности. Немного хуже показатели для цементного вяжущего и далее - для геополимерного, твердевшего в естественных условиях.

Необходимо заметить, что значение фитотоксично-сти для образца геополимерного вяжущего ГВ 80 не превышает порогового показателя уже на втором разбавлении (1:100). При этом фитотоксическое действие всех исследованных образцов отсутствует на третьем разбавлении (1:1000). Последнее согласно [5] свидетельствует о минимальной степени токсикогенного воздействия на среду обитания биологических сообществ и человека.

Следует отметить, что расчетный способ оценки фитотоксичности дает усредненную характеристику влияния той или иной среды, учитывая лишь длину корня наиболее активного зерна тест-культуры. Поэтому независимо от расчетных данных целесообразно проводить визуальную оценку фитотоксичности исследуемых экстрактов.

Таким образом, из полученных данных следует, что геополимерные вяжущие на основе техногенного сырья - низкокальциевой золы-уноса ТЭЦ не обладают повышенными показателями токсичности. Сравнительная оценка степени фитоэффекта показала, что эффект торможения для цементного вяжущего выше в сравнении с аналогичным показателем для геополимерного вяжущего. При этом следует отметить экологическую целесообразность использования термообработки геополимерного вяжущего в процессе его твердения.

Полученные результаты позволяют рассматривать низкокальциевые золы-уноса ТЭЦ как техногенное сырье* с высокой степенью биопозитивности для производства строительных материалов на основе геополимерных вяжущих[15].

Заключение

Геополимеры хоть и являются новой разработкой, но возможно использовались и в прошлом для строительства пирамид, для изготовлении ваз, скульптур.

В настоящее время были разработаны технологии нескольких разновидностей геополимеров на основе различных термически обработанных алюмсиликатов природного и промышленного происхождения - полевошпатовых горных пород, шлака, золы и др. Эти вяжущие способны твердеть и набирать прочность как притепловлажностной обработке, так и в нормальных условиях.

В качестве сырья для получения геополимеров используются алюмо-силикатные материалы, которые подвергаются термической обработке при температуре 750…850 °С. Это позволило, в сравнении с портландцементом, снизить на 70…90 % расход энергии и выбросы углекислого газа при производстве вяжущего. Еще менее энергозатратны технологии геополимерных материалов на основе золы-уноса и доменного гранулированного шлака, так как эти промышленные отходы в процессе образования уже прошли термическую обработку.

Технология изготовления высокопрочных геошлаковых полимеров сводится к двухстадийной тепловой обработке: тепловая обработка в гидротермальных условиях для протекания гидратационного твердения, последующая сушка при 105-110°С или сухой прогрев при 150-250°С, что может быть реализовано в одном тепловом аппарате.

Высокие прочностные показатели достигаются не только на прессованных, но и на виброуплотненных композициях. Снижение прочности неизбежно, если в минерально-шлаковое вяжущее вводятся заполнители. В табл. 2 представлены результаты испытания песчаных бетонов на двух минерально-шлаковых вяжущих. Водовяжущее отношение во всех составах было 0,25, массовая доля щелочи 2%. Использовались молотые глауконитовый песчаник с Sуд = 1300 м2/кг, гравий с Sуд = 910 м2/кг, шлак с Sуд = 440 м2/кг. Мелким заполнителем служил сурский песок. Образцы формовались на виброплощадке.

Результаты испытаний (табл. 2) свидетельствуют, что с увеличением содержания шлака в смеси с 10-20 до 60% образцы из смешанного вяжущего имеют высокие показатели прочности через 28 сут нормального твердения, хотя пористость их ниже, чем прессованных. Поэтому отношение к шлаку как активирующему началу для создания геополимеров из горных пород должно быть пересмотрено. И чем быстрее произойдет такая позитивная переоценка, тем значительнее будет вклад в экономику строительной индустрии.

При сравнении способа активации силикат-глыбы (рис. 1) очевидна эффективность электромагнитной активации: 95-98% растворимость твердых силикатов натрия наблюдается при измельчении в присутствии воды при 8уд = 350-400 м2/кг, при температуре тепловой обработки 150°С. Повышение растворимости силикат-глыбы, а следовательно, физико-химической активности ШСВ за счет электромагнитной активации происходит в результате повышения физико-химической активности среды, приводящей к увеличению активной поверхности твердых компонентов вяжущих.

При оценке экологичности, геополимерное вяжущее с температурной обработкой в процессе твердения, при прочих равных условиях с другими исследованными образцами вяжущих, имеет минимальную степень фитотоксичности. Немного хуже показатели для цементного вяжущего и далее - для геополимерного, твердевшего в естественных условиях.

Таким образом, геополимеры представляют собой перспективный класс наноструктурированных материалов, имеющих перспективы применения в композиционных материалах как альтернатива портландцементу [1-16].

Список использованных источников

Для книг с одним автором

. [9] Калашников В.И. Использование дисперсных гравелитовых пород в качестве основного структурообразующего компонента минерально-шлаковых вяжущих // Композиционные строительные материалы. Теория и практика: Сб. научных трудов Международной научно-технической конференции. Пенза: 18-19 мая, 2004. С. 121-126.

. [14] Лесовик В. С. Геоника. Предмет и задачи. Белгород: Изд-во БГТУ,2012.213с.

Более трех авторов

3. [3] Калашников В. И. Силицитовые геополимеры - первые шаги к созданию материалов будущего / В. И. Калашников, В. Ю. Нестеров, Ю. С. Кузнецов, Ю. В. Гаврилова, Ерошкина Н. А. // Материалы МНТК «Актуальные вопросы строительства», МГУ, Саранск, 2004, с. 160-165.

. [6] Калашников В.И., Нестеров В.Ю., Хвастунов В.Л., Комохов П.Г., Соломатов В.И., Марусенцев В.Я., Тростянский В.М. Глиношлаковые строительные материалы. Пенза: ПГАСА. 2000. 206 с.

. [10] Сравнительная оценка прочностных и деформационных характеристик мелкозернистых бетонов на основе композиционных минерально-шлаковых вяжущих/ Калашников В.И., Хвастунов В.Л., КарташовА.А., Москвин Р.Н., Тростянский В.А. // Композиционные строительные материалы. Теория и практика: Сб. научных трудов Международной научно-технической конференции. Пенза. 18-19 мая, 2004. С. 114-117.

Для журнальных статей

6. [11] Новые геополимерные материалы из горных порд, активированные малыми добавками шлака и щелочей/ В. И. Калашников [и др.] //Строительные материалы.-2006.-N6-.-С.93-95

. [12] Теоретические и технологические основы получения высокопрочного силицитового геополимерного камня/ В. И. Калашников и др.// Строительные материалы.-2006.-N5-.- С.60-63

. [13] Вяжущие и бетоны на основе вулканических шлаков/ Л. А. Урханова и др.//Строительные материалы.-2006.-N7-.-С.22-24.

. [15] Оценка биопозитивности геополимерных вяжущих на основе низкокальциевой золы-уноса/ Н. И. Кожухова и др.// Строительные материалы, 2012-N9, С. 84-85

Для патентов и изобретений

10. [2] Геополимерное вяжущее на золах-уноса ТЭЦ и мелкозернистый бетон на его основе/ Кожухова Н. И. /автореферат диссертации на соискание ученой степени кандидата технических наук ,Белгород 2013

. [7] Калашников В.И., Хвастунов В.Л., Карташов А.А. Сравнительная оценка виброуплотненного и вибропрессованного глиношлакового и карбонатно-шлакового безобжигового кирпича различного назначения // Монография. Депонировано в ФГУП ВНИИНТП. 2003. 114 с.

. [8] Калашников В.И., Хвастунов В.Л., Москвин Р.Н. Формирование прочности карбонатно-шлаковых и каустифицированных вяжущих // Монография. Депонировано в ФГУП ВНИИНТПИ. 2003. 158 с.

. [16] Методические рекомендации. МР 2.1.7.2297-07. Обоснование класса опасности отходов производства и потребления по фитотоксичности.

Для интернет-статей

14. [5] http://my.mail.ru/community/catastrof/2A05C872041053A5.html

. [1] Водостойкость геополимерных вяжущих с комплексной добавкой /Е. А. Ерошкина, А. А. Мишанов, стр. 1-4

. [4] Ресурсно- и энергосберегающие технологии строительных материалов на основе минерально-щелочных и геополимерновяжущих -Н.А. Ерошкина, М.О. Коровкин, стр. 5-8

Приложение

Зола-унос - зола от сжигания угля

Техногенное сырье - отходы, образованные на стадиях получения и обработки металлов, которые могут служить источником воспроизводства сырья, а также отходы горно-металлургических производств (отвалы бедных руд, хвосты обогащения, шламы, пыли, лом, шлаки и др.), содержащие цветные, редкие и другие металлы.

Фитотоксичность - способность пестицидов или друхих веществ оказывать токсическое (отравляющее) воздействие на растения.

Дисперсность -величина, показывающая какое число частиц можно уложить вплотную в одном метре. Чем меньше размер частиц, тем больше дисперсность.

Диспергирование- раздробление крупных частиц на более мелкие; приводит к увеличению поверхности раздела, т. е. дисперсности.

Некондиционный заполнитель- не удовлетворяющий требуемым качествам, норме, стандарту. геополимерный вяжущий материал

Шлак- металлургический расплав (после затвердения - камневидное или стекловидное вещество), обычно покрывающий поверхность жидкого металла. Формируется из пустой породы рудных материалов, из флюсов, золы кокса и т.д.

Похожие работы на - Геополимерные вяжущие материалы

 

Не нашли материал для своей работы?
Поможем написать уникальную работу
Без плагиата!
Без нейросетей!