История ресторанного сервиса. Машины для резания плодов и овощей

  • Вид работы:
    Контрольная работа
  • Предмет:
    Маркетинг
  • Язык:
    Русский
    ,
    Формат файла:
    MS Word
    1,02 Мб
  • Опубликовано:
    2014-08-23
Вы можете узнать стоимость помощи в написании студенческой работы.
Помощь в написании работы, которую точно примут!

История ресторанного сервиса. Машины для резания плодов и овощей

СОДЕРЖАНИЕ

Введение

История развития ресторанного сервиса

Машины для резания плодов и овощей. Устройство, назначение, принцип работы, инструкция, техника безопасности

Заключение

Список использованной литературы

ВВЕДЕНИЕ

Рестораны - предприятия общественного питания <#"818652.files/image001.gif">

Рисунок 1. Форма нарезки овощей: а - ломтиками; б - брусочками, в -соломкой, г - кубиками, д -призмочками; е - дольками

Брусочки и соломка имеют, как правило, два заданных размера - толщину и ширину; длина определяется размером плода. Соломка по сравнению с брусочками имеет меньшее поперечное сечение.

Дольки имеют две плоские поверхности среза, расположенные под определенным углом. Все размеры долек зависят от размеров плода. Иногда дольки имеют еще и фиксированную длину.

При нарезке овощей к конечному продукту предъявляются следующие требования: частицы продукта должны иметь заданную форму и размеры при минимальном количестве неполноценных частиц; гладкую поверхность среза, без трещин и неровностей. Отрезанные частицы должны сохранять свою форму, не разрушаясь. При нарезке, из сочных продуктов не должен вытекать сок, а мягкие не должны деформироваться.

Качество продукта зависит от многих факторов: способа нарезки (рубящее и скользящее резание), формы, остроты и угла заточки ножей, способа удержания продукта в момент резания.

Согласно техническим характеристикам машины подразделяют на дисковые, роторные и комбинированные.

Дисковые овощерезательные машины имеют комплект ножей с лезвиями прямоугольной или криволинейной формы. Эти сменные ножи являются рабочими органами, укрепляются на опорном диске, который получает вращательное движение от индивидуального или универсального привода.

Срез продукта в дисковых овощерезательных машинах происходит за счет прижатия продукта к вращающему диску. Толщина срезанного слоя продукта определяется расстоянием между плоскостью ножа и диска. Это расстояние можно регулировать по заданной величине. Форма нарезанного продукта зависит конструкции установленного ножа на опорный диск.

В роторных овощерезательных машинах продукт, загруженный в камеру, заклинивается между пластинами вращающегося ротора и неподвижной цилиндрической стенкой рабочей камеры. При этом продукт под действием центробежной силы прижимается к внутренней стенке рабочей камеры и скользит по ней. Овощи нарезаются неподвижными ножами в зависимости от формы установленных ножей.

В комбинированных обощерезках нарезку продукта осуществляют с помощью вращающихся горизонтальных прямолинейных ножей и неподвижной решетки с вертикальными прямолинейными ножами.

Измельчение продукта в овощерезательных машинах происходит путем продавливания их поршнем через неподвижную ножевую решетку.

Приведем примеры широко используемых овощерезательных машин.

Рисунок 2. Машина для резки овощей МРО-200

- Толкатель; 2- Крышка; 3- Сменный рабочий орган; 4- Сбрасыватель; 5- Подшипник 180104;6- Механизм блокировки; 7- Облицовка; 8- Арматура светосигнальная "СЕТЬ"; 9- Кнопка "ПУСК"; 10- Кнопка "СТОП"; 11- Облицовка нижняя; 12- Амортизатор; 13- Блок зажимов; 14- Электродвигатель; 15- Редуктор; 16- Вал приводной; 17- Манжета 2.2-25х42-1 ГОСТ8752-79; 18- Фланец с фиксатором; 19- Вал рабочий; 20- Корпус; 21- Толкатель серповидный.

Дисковые овощерезки (рис. 2) предназначены для нарезки овощей ломтиками, брусочками, соломкой и стружкой. В настоящее время в общественном питании применяют машины (МРО - 50-200, МПР - 350, МНР - 350-02, МРО - 400-1000) и сменные механизмы (МО, МОП II - 1, MKJ - 250, УММ - 7-10) к приводам универсальных кухонных машин.

Принцип их действия прост. Включив машину, закладывают овощи вручную в одно из отверстий загрузочного устройства и прижимают толкателем к вращающемуся опорному диску. Ножи, вращающиеся вместе с опорным диском, отделяют от продукта последовательно слой за слоем в виде ломтиков, колец, полуколец, брусков, соломки. В момент отрезания продукт удерживается от перемещения стенками загрузочного отверстия толкателем. Отрезанные частицы продукта проходят через отверстия опорного диска, расположенные под ножами, захватываются вращающимися сбрасывателями и подаются в разгрузочный лоток. 

В более совершенных в техническом плане дисковых овощерезательных машинах на корпус крепится загрузочный бункер улиткообразной формы, имеющий, как правило, два отверстия для подачи овощей:

большое D-образное отверстие, предназначенное для крупных плодов: кабачков, цельных кочанов капусты, картофеля;

маленькое круглое отверстие, предусмотренное для плодов вытянутой формы (огурцов, моркови, бананов), а также для деликатной обработки нежных продуктов (например, для шинковки пучков салата, шпината, щавеля, болгарского перца, а также для точной нарезки ломтиков лимонов или киви.

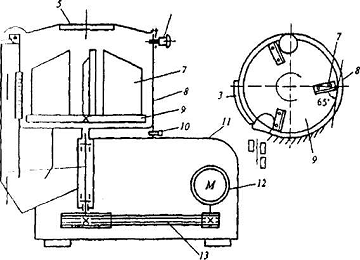
Роторная овощерезка (рис.3), как и дисковая, входит в комплект универсальной овощерезательной машины МРО-400-1000, которая предназначена для нарезки сырых овощей ломтиками, кубиками, квадратными пластинками и стружкой, а также для шинкования капусты. Особенность роторных машин состоит в том, что ножи машины в процессе резания остаются неподвижными, а продукт перемещается вращающимся ротором с лопастями. Вращение ротору передается от электродвигателя через клиноременную передачу. С внешней стороны рабочей камеры напротив режущих инструментов расположен разгрузочный канал, переходящий в разгрузочное устройство машины.

Рисунок 3. Принципиальная схема роторной овощерезательной машины МРО 400-1000:- выходной нал; 2 - разгрузочный канал; 3 - ножевой блок; 4 - ось;

- загрузочная воронка; 6 - фиксатор; 7 - лопасти; 8 - рабочая камера; 9 - диск;10 - защелка; 11 - корпус; 12 - электродвигатель; 13 - клиноременная передача.

К комбинированным овощерезкам относятся машина МРОВ - 160 (рис. 4) и механизмы МО и МОП II - 1. Механизмы МО и МОП II - 1 помимо нарезки вареных овощей применяют и для нарезки сырых овощей, а также для протирания.

Рисунок 4. Машина MPOВ-160 для нарезки вареных овощей:

- червячный редуктор; 2 - червяк; 3 - червячное колесо; 4 - вал; 5 - подшипник; 6 -разгрузочный лоток; 7 - ножевая решетка; 8 - загрузочный цилиндр; 9 - груз-толкатель; 10 -фасонная гайка; 11,12 - втулки; I3 - крышка; 14 - штифт; 15 - тарелка; 16 - лоток для удаления крошки; 17 - электродвигатель; 18 - вращающиеся ножи.

Принцип действия заключается в следующем. Включают электродвигатель, загружают вареные овощи в цилиндр и вставляют груз-толкатель, который своей тяжестью прижимает продукт к ножевой решетке. Вращающийся горизонтальный нож отрезает от продукта ломтики выбранной толщины и своей наклонной рабочей гранью продавливает их в ячейки ножевой решетки, которые разрезают ломтики в двух взаимно перпендикулярных плоскостях. При дальнейшем движении вращающегося ножа вновь отрезанные частицы продукта выталкивают из ячеек ножевой решетки нарезанные кусочки, которые через разгрузочный лоток поступают в подставленную тару. Частицы продукта, прилипшие к нижней части поверхности ножа, очищаются закрепленным на тарелке скребком и выходят через лоток для удаления крошки.

При работе с овощерезками необходимо строго соблюдать правила эксплуатации и техники безопасности:

Перед началом работы на овощерезках следует проверить их санитарно-техническое состояние, правильность сборки; надежность крепления машины (механизма) к производственному столу, надежность крепления ножей, ножевых блоков, рамок или решеток; прочность крепления бункера и воронки; исправность и надежность заземления, исправность электропроводки. Машину нужно проверить на холостом ходу.

При эксплуатации овощерезок категорически запрещается устанавливать или снимать рабочие органы при включенной машине или механизме, направлять и проталкивать застрявший продукт руками, опускать руки в рабочую камеру.

Овощи следует засыпать через загрузочный бункер. Они должны поступать равномерно и в достаточном количестве, в противном случае качество нарезки ухудшается. Запрещается проталкивать измельченные овощи к вращающемуся ножевому диску руками, для этой цели следует пользоваться толкачом.

В случае появления неполадок в работе машины её немедленно отключают.

После работы машину разбирают, промывают и просушивают. Санитарную обработку проводят после отключения и останова машины.

На техническое обслуживание овощерезательных машин составляется график обслуживания из расчета не реже одного раза в 10 дней. В этот день квалифицированный механик, который закреплен за данным предприятием, проводит смазывание, крепление, заточку или замену ножей и т.д.

ЗАКЛЮЧЕНИЕ

Индустрия ресторанного сервиса формировалась постепенно, начиная с древнейших времен, повторяя исторические этапы эволюции человеческого общества: 1) древний период (IV тысячелетие до н.э. - 476 г. н.э.); 2) средневековье (V - XV вв. н.э.); 3) новое время (XVI в. - начало XX в.) и 4) современный период.

Большинство историков относят появление первых гостевых предприятий - прообразов современных гостиниц и ресторанов - к древнему периоду. Уже тогда появились таверны, небольшие трактиры, харчевни, кабачки, постоялые дворы. Строгая классовая структура оказала сильное влияние на деятельность предприятий гостеприимства того времени. Т. е., с древнейших времен было положено начало классификации предприятий общественного питания по целевым группам потребителей услуги.

Развитие гостеприимства в средние века прошло большой путь: появились первые постоялые дворы и трактиры, где можно было отведать местные «фирменные» блюда; появились первые поваренные книги; были составлены первое меню и первые правила основ философии ресторанного сервиса. ресторанный сервис резание овощ

Наибольшее развитие индустрия ресторанного сервиса получила в Новое время. В Париже был открыт первый ресторан, а затем идея ресторанного бизнеса быстро распространилась по всему миру. Под «меню» стал подразумеваться перечень закусок и различных блюд, которые предназначались для всех слоев населения. Теперь клиент имел право выбирать блюдо из предложенного списка. В Новое время был издан первый справочник по кулинарии и внедрен бригадный подряд на кухне.

На рубеже XIX-XX веков индустрия гостеприимства превратилась в важную отрасль. Появились новые типы ресторанных заведений, а также другие сетевые структуры высшего класса. Ресторанные объединения, синдикаты, акционерные общества, корпорации стали заниматься специальной подготовкой кадров, вопросами ценообразования.

В результате инновационных процессов, происходящих в последние годы в сфере общественного питания, на предприятиях появились новые машины - различные в зависимости от назначения и вида обрабатываемых продуктов. Конструктивное совершенство новой аппаратуры характеризуют простота, металлоемкость, технологичность конструкции, высокий коэффициент полезного действия. Эксплуатационные достоинства определяются удобством обслуживания, простотой и низкими затратами на эксплуатацию.

В контрольной работе рассмотрены овощерезательные машины - аппараты для нарезки овощей, корнеплодов <http://www.znaytovar.ru/s/Korneplody.html>, фруктов и других продуктов на кусочки определенной формы.

Овощерезки можно классифицировать по следующим основным признакам:

по назначению: для нарезки сырых и вареных овощей, комбинированные;

по конструктивному исполнению: дисковые, роторные, дисковые с роторной подачей, комбинированные;

по расположению рабочих органов: с горизонтальным, наклонным или вертикальным расположением;

по способу удержания продукта в момент резания (клином, толкателем, клином и толкателем, клином и центробежной силой - в роторных овощерезках);

по структуре рабочего цикла: непрерывного и периодического действия;

по виду привода: с индивидуальным приводом или без такового.

Существует большое количество модификаций овощерезательных машин, главное - при работе с ними строго соблюдать правила эксплуатации и техники безопасности.

СПИСОК ИСПОЛЬЗОВАННЫХ ИСТОЧНИКОВ

Т.Т. Никуленкова, Г.М. Ястина «Проектирование предприятий общественного питания», М.изд. Колосс, 2007г

С.А. Чернавский, Г.А. Снесарев, К.Н. Боков «Проектирование

механических передач», М. Альянс,2008г

С.А. Чернавский, Г.А. Снесарев, К.Н. Боков «Проектирование механических передач»,М. Машиностроение 1984г.

«Курсовое проектирование деталей машин» учебное пособие, издание 3,М. Альянс 2005

Похожие работы на - История ресторанного сервиса. Машины для резания плодов и овощей

 

Не нашли материал для своей работы?
Поможем написать уникальную работу
Без плагиата!
Без нейросетей!