Канализационные очистные сооружения

  • Вид работы:
    Курсовая работа (т)
  • Предмет:
    Экология
  • Язык:
    Русский
    ,
    Формат файла:
    MS Word
    391,03 Кб
  • Опубликовано:
    2015-05-31
Вы можете узнать стоимость помощи в написании студенческой работы.
Помощь в написании работы, которую точно примут!

Канализационные очистные сооружения

Содержание

 

Аннотация.

Введение.

Исходные данные.

. Определение расчетных расходов

.1 Определение расчетных расходов бытовых СВ

.2 Определение расчетных расходов производственных СВ

.3 Определение суммарных расходов СВ

. Расчет концентрации смеси СВ, поступающих на ОС

.1 Определение концентраций бытовых СВ

.2 Концентрация производственных СВ (по заданию)

.3 Концентрация загрязнений в смеси СВ

. Расчет необходимой степени очистки

.1 Расчет коэффициента смешения

.2 Расчет необходимой степени очистки сточных вод по взвешенным веществам.

.3 Расчет необходимой степени очистки сточных вод по допустимой величине БПК.

.4 Определение необходимой степени очистки по O2

. Выбор технологической схемы очистки

.1. Сооружения механической очистки

.1.1 Приемные камеры.

.1.2 Решетки.

.1.3 Песколовки

.1.4. Определение количества песка, задерживаемого в песколовке.

.1.5 Песковые площадки

.1.6 Гидроэлеватор

.1.7.Расчет радиальных отстойников

.2. Сооружения биологической очистки

.2.1. Расчет аэротенков

.2.2. Расчет системы аэрации

.2.Расчет вторичного вертикального отстойника

.3 Расчет скорого фильтра

. Сооружения по обработке осадка

.1. Расчет радиального илоуплотнителя.

.2. Расчет метантенков

.3. Расчет газгольдера.

.4.Сооружения для механического обезвоживания осадка

.5 Расчет центрифуги.

. Обеззараживание сточных вод

Список используемой литературы

 

Аннотация


В данном курсовом проекте были запроектированы очистные сооружения для населенного пункта с числом жителей 250 000 человек. Найден расчетный расход сточной воды и произведено распределение поступлений стоков по часам суток. Произведен расчет концентраций загрязнений бытовых сточных вод и концентрации смеси стоков, расчет необходимой степени очистки городских сточных вод для сброса их в водоем, имеющий хозяйственно - питьевое предназначение.

В технологическую схему очистки сточных вод вошли:

Ø  3 решетки-дробилки РД-600;

Ø  2 песколовки горизонтальные аэрируемые;

Ø  2 первичных радиальных отстойника;

Ø  2 аэротенка с регенератором;

Ø  4 вторичных вертикальных отстойника.

Ø  Скорый фильтр доочистки

Ø  Ультрафиолетовые лампы

Введение


Водные ресурсы рек широко используются для коммунально-бытового и промышленного водоснабжения, теплоэнергетики, орошения, водного хозяйства, водного транспорта и ряда других отраслей народного хозяйства. В последние 10 лет меньше воды стало использоваться в промышленном и сельскохозяйственном производствах. Суммарные изъятия вод на хозяйственные нужды, а также на безвозвратные потери стока уменьшились. Огромное значение приобрели вопросы по охране водных ресурсов от загрязнения отходами промышленности.

В течение многих лет у нас не было достаточно объективной информации об экологических бедах нашей страны, о реальном состоянии природы, массовых заболеваниях людей в результате загрязнения среды обитания, об ущербе, наносимом окружающей природе, биосфере нашей планеты. А поводов для тревоги было более чем достаточно, так как предпосылки нынешнего кризисного состояния природы закладывались десятилетиями. Говоря об экологическом состоянии, следует помнить, что список ошибок не менее важен, чем летопись достижений. Учитывая данном курсовом проекте

Исходные данные


. Количество населения, проживающего на канализуемой территории города - 80 000чел.

. Норма водоотведения на одного жителя - 210л/сут.

. Количество производственных стоков - 4500м3 /сут.

. Промпредприятие работает в 3 смены.

. Концентрация загрязнений в промстоках

-       взвешенных веществ 200 мг/л;

-       БПКполн 420мгО2/л;

. Температура смеси сточных вод:

-        среднезимняя - 16°С;

-       среднелетняя - 21°С;

-       среднегодовая - 19°С.

. Коэффициент неравномерности поступления промстоков - 1,6.

. Тип водоема: водоемы для хозяйственно-питьевого водоснабжения.

. Расход воды в водоеме в гидрологический год 95%

обеспеченности- 3,2м3 /с.

. Средняя глубина водоема - 2,65м.

. Коэффициент извилистости - 1,1.

. Средняя скорость течения воды в водоеме - 0,45м/с.

. Концентрация взвешенных частиц в водоеме до спуска в него сточных вод -12мг/л.

. Концентрация органических загрязнений по БПК в воде водоема до спуска сточных вод - 4,6мгО2/л;

. Концентрация растворенного кислорода в водоеме в летний

период - 7,45мг/л.

. Среднемесячная температура воды водоема самого жаркого

месяца - 25°С.

. Расстояние от места выпуска сточных вод до пункта

водопользования - 4,0км.

1. Определение расчетных расходов

 

.1 Определение расчетных расходов бытовых СВ


Расчетный расход бытовых сточных вод Qбыт полученный от данного населенного пункта:

быт=N∙n/1000,м3/сут (1.1)

где n - количество жителей, 80 000чел.;

N - норма водопотребления от одного жителя, 210 л/(сут·чел).

Qбыт=210∙80 000/1000=16800м3/сут

ср.сек= Qбыт∙1000/86400, л/с                                               (1.2)

ср.сек =16800∙1000/86400=194,4л/с

Из таблицы СНиПа определяем коэффициент часовой неравномерности при данном расходе Qср.сек = 194,4 л/с.

Кmax=1,57 Кmin=0,61

Максимальный часовой расход сточных вод Qmax.ч :

.ч = ( Qбыт · Кmax.) / 24, м3/ч (1.3)

где Qбыт - расчетный расход бытовых сточных вод, 16800м3/сут.

Qmax.ч = (16800 · 1,57 ) / 24 = 1099м3/ч

Минимальный часовой расход сточных вод Qmin.ч :

Qmin.ч = ( Qбыт · Кmin) / 24, м3/ч (1.4)

min.ч = ( 16800 · 0,61 ) / 24 = 427м3/ч

Максимальный часовой расход сточных вод в процентном соотношении Пmax.ч,% :

Пср=100% /24=4,17%

Пmax.ч = Кmax ·Пср, % (1.5)

Пmax.ч = 1,57 · 4,17 = 6,54%

1.2 Определение расчетных расходов производственных СВ


Определяем расход производственных сточных вод в одну рабочую смену:

см = Qпр /n, м3/смену. (1.6)

где Qпр - расчетный расход производственных сточных вод, 4500м3/сут.

n - количество смен на предприятии, 3 смены.см = 4500 / 3=1500 м3/смену

Максимальный сменный расход производственных сточных вод:

.см = Qпр · К / t, м3/ч (1.7)

где К - коэффициент неравномерности поступления стоков.

где t - количество рабочих часов в одну смену, 8 часов.см = 1500 · 1,6 / 8 = 300м3/ч

Средний часовой расход в смену при равномерной подачи:ср. см= ( Qпр - Qmax.см ) / ( t - 1 ), м3/ч (1.8)

смен ср.ч = 4500- 300 / 7 = 600м3/ч.

1.3 Определение суммарных расходов СВ


При определении суммарных расходов СВ складываем бытовые и производственные СВ. Все расчеты сводим в таблицу 1.

сут= Qбыт + Qпр , м3/сут                                                 (1.9)

сут=16800 + 4500 = 12300м3/сут

Максимальный часовой расход Qмакс.ч=1099+294=1393м3/ч.

Максимальный секундный расход:

макс.сек= Qмакс.ч /3600, м3/с                         (1.10)

макс.сек= 1393 /3600 = 0,38м3/с

Средне секундный расход:

ср.сек= Qсут /86400, м3/с                                              (1.11)

ср.сек= 21300/86400=0,26 м3/с

Полученные данные занесем в таблицу 1 и произведем распределение расходов сточных вод по часам суток.

Таблица1 - Распределение суточных расходов сточных вод по часам суток.

часы

Распред. воды по часам суток, ℅

Распред. воды по часам суток, м3/ч

Расход пром. СВ, м3/ч

Расход смеси СВ, м3/ч






0-1

1,55

260,4

68,75

330,5

1-2

1,55

260,4

68,75

330,5

2-3

1,55

260,4

68,75

330,5

3-4

2,34

393,12

104,3

448,42

4-5

2,55

428,4

113,75

543,15

5-6

4,35

730,8

194,75

926,55

6-7

5,1

856,8

227,5

1086,3

7-8

5,6

940,8

245,5

1186,3

8-9

6,54

1098,72

294,3

1393,02

9-10

6,54

1098,72

294,3

1393,02

10-11

6,54

1098,72

294,3

1393,02

11-12

4,9

823,2

224,5

1043,7

12-13

3,95

663,6

174,15

841,35

13-14

5,4

907,2

241

1150,2

14-15

6,15

1033,2

275,75

1309,95

15-16

6,15

1033,2

275,75

1309,95

16-17

5,4

907,2

242

1150,2

17-18

5,80

974,4

258

1235,4

18-19

4,36

732,48

196,2

928,68

19-20

4,30

722,4

193,5

915,9

20-21

4,32

725,76

194,4

920,16

21-22

2,54

426,72

114,3

541,02

22-23

1,55

260,4

69,75

330,15

23-24

1,55

260,4

69,75

330,15


100,00

16800

4500

21300

 

Суточный расход: 21300

Максимально часовой 1393

Максимально секундный 0,38

Среднесекундный 0,26

2. Расчет концентрации смеси СВ, поступающих на ОС

 

.1 Определение концентраций бытовых СВ


Количество загрязняющих воду веществ на одного жителя для определения их концентрации в бытовых сточных водах необходимо принимать по табл.2. Концентрацию загрязняющих веществ определяют исходя из удельного водоотведения на одного жителя. ( СНиП 2.04.03-85 п. 6.4.)

Таблица2 - Количество загрязняющих воду веществ на одного жителя.

Показатель

Количество загрязняющих веществ на одного жителя, г/ч·сут

Взвешенные вещества

65

БПКполн неосветленной жидкости

75

БПКполн осветленной жидкости

40

Азот аммонийных солей N

8

Фосфаты Р2О5

3,3

Поверхностно-активные вещества (ПАВ)

2,5


Концентрации загрязнений бытовых сточных вод :

Сбыт = а·n / Qсут, мг/л (2.1)

очистка сточный вода кислород

где а - количество загрязняющих веществ на одного жителя, г/ч·сут;- норма водоотведения на одного жителя, 130 л/ч·сут.

n - количество жителей, 80 000чел.

Свзв.в = ( 65 · 1 ) / 210 = 309мг/л

СБПКполн = ( 40 · 1 ) / 210 = 190 мг/л

 

2.2 Концентрация производственных СВ (по заданию)


Свзв.в = 200мг/л

СБПКполн = 420мг/л

2.3 Концентрация загрязнений в смеси СВ


Так как на очистные сооружения сточная вода поступает как смесь бытовых и промышленных стоков необходимо рассчитать концентрацию смеси сточных вод :

С смеси = (Сбсв · Qбсв + Спсв · Qпсв) / Q смеси сут.., мг/л (2.2)

где Сбсв, Спсв - концентрации веществ, мг/л;бсв, Qпсв - расходы сточных вод, м3/сут;смеси сут. - суточный расход бытовых и производственных сточных вод, 21300м3/сут.

Концентрация взвешенных веществ смеси сточных вод:

С смеси взв.в = (Свзв.в · Qбсв + Свзв.в.псв · Qпсв) / Q смеси сут., мг/л (2.3)

С смеси взв.в = (309 · 16800 + 200 · 4500) / 21300 = 285,9мг/л

БПК н.о. смеси сточных вод:

С смеси БПК = (С БПК бсв · Qбсв + С БПК псв · Qпсв) / Q смеси сут., мг/л (2.4)

С смеси БПК = (190 · 16800 + 420 · 4500) / 80500 = 238мг/л

3. Расчет необходимой степени очистки


Городские сточные воды, сбрасываемые в водоем предназначенный для питьевого и хозяйственно-бытового водоснабжения, не должны после сброса изменять концентрацию веществ больше чем на:

Таблица 3

Показатель качества

значение

Взвешенные вещества, мг/дм3

0,25

БПК5, мгО2/дм3

2

Растворенный кислород О2 , мг/дм3

4

ХПК, мгО2/дм3

15


3.1 Расчет коэффициента смешения


Для проведения расчетов необходимой степени очистки прежде всего определяют степень смешения сточной воды с водой водоёма к расчетному створу. Степень смешения характеризуется коэффициентом смешения:

γ = (1 - е-αL⅓) / (1 - (QP/qст) е-αL⅓), (3.1)

где L - расстояние от места выпуска сточных вод до контрольного створа, 4000м;- расход воды в водоеме в гидрологический год 95% обеспеченности, 3,2м3/сек;ст - среднесекундный расход сточных вод 0,26 м3/сек, рассчитано по формуле (1.10);

α - коэффициент, учитывающий гидравлическое условие смешения;

е - основание натурального логарифма, 2,72;

Коэффициент, учитывающий гидравлическое условие смешения α находим по формуле:

α = ξ · φ · (Е / qст)⅓ , (3.2)

где φ - коэффициент извилистости реки, 1,1 (дано по заданию);

ξ - коэффициент, зависящий от типа выпуска;

Е - коэффициент турбулентной диффузии.

ξ = 1,5 - русловой тип выпуска.

Коэффициент турбулентной диффузии Е:

Е = (Vср · Нср) / 200, (3.3)

где Vср - средняя скорость течения воды в водоеме, 0,45 м/с (дано по заданию);

Нср - средняя глубина водоема, 2,65м (дано по заданию).

Е = (0,45 · 2,62) / 200 = 0,0058.

α1 = 1,5 · 1,1 · (0,0058 / 0,26)⅓ = 0,464.

Коэффициент смешения.

γ1 = (1 - 2,72-0,464· 4000⅓) / (1 + (3,2 / 0,26) ·2,72-0,464· 4000⅓)≈0,999.

Величина разбавления n:

=( γ QP + qст )/qст, (3.4)

=( 0,999 ·3,2 + 0,26 )/0,26=13,2

Зная γ и n, мы можем определить какие концентрации загрязнений сточной воды мы можем сбросить, т.е. до какой степени должны быть очищены сточные воды, какую технологическую схему очистки целесообразно принять.

 

3.2 Расчет необходимой степени очистки сточных вод по взвешенным веществам


Расчет необходимой степени очистки базируется на материальном балансе загрязняющих веществ к расчетному створу:

мг/л (3.5)

где р - ПДК, 0,25 мг/дм3, из таблицы №3;

Ср - концентрация взвешенных веществ в водоеме до спуска в него сточных вод, 12мг/л;- расход воды в водоеме в гидрологический год 95% обеспеченности, 3,2м3/сек;ст - среднесекундный расход сточных вод 0,26м3/сек;

γ - коэффициент смешения.

Сст ≤ ((0,999 · 3,2 + 0,26) · 0,25 - 0,999 · 3,2·12)/0,26

Сст ≤ 54,12 мг/л.

Требуемый эффект очистки сточных вод по взвешенным веществам рассчитываем по формуле:

Э = ((С смеси взв.в - Сст) / С смеси взв.в ) · 100% , % (3.6)

где С смеси взв.в - концентрация взвешенных веществ смеси сточных вод, 285,9 мг/л.

Э = ((285,9 - 54,12) / 285,9) · 100% = 81,07 %.

Т.к. концентрация взвешенных веществ в сточную воду допустимая к сбросу в водоём, то достаточно использовать полную биологическую очистку, которая позволяет получить концентрацию взвешенных веществ 12,5 - 15 мг/л.

3.3 Расчет необходимой степени очистки сточных вод по допустимой величине БПК


Расчет производим на основании составления материального баланса с учетом разложения органических веществ в водоёме:

ст ≤ ((γ·Qр) / (qст10-кt))· (Lnд - Lр ·10-кt) + Lnд/10-кt, мгО2/л (3.7)

где γ - коэффициент смешения;ст - среднесекундный расход сточных вод 0,26м3/с;- расход воды в водоеме в гидрологический год 95% обеспеченности, 3,2м3/сек;д - допустимая концентрация по БПК воды водоема в расчетном створе, 3 мгО2/дм3, по таблице 3;р - концентрация органических загрязнений по БПК20 в водоеме до спуска сточных вод, 4,6 мгО2/л, по заданию;

К - константа скорости потребления О2;- время добегания от места сброса до расчетного створа.

Константа скорости рассчитывается по уравнению Стриттера:

К = К20 · 1,047(Тр-Т20), (3.8)

где Тр - средняя температура воды водоема самого жаркого месяца, 25ºС, дано по заданию.

К = 0,1 · 1,047(25-20) = 0,1;

Время добегания:

= L / (Vср· 86400), сут (3.9)

где Vср - средняя скорость течения воды в водоеме 0,45 м/с, дано по заданию;- расстояние от места выпуска сточных вод до пункта водопользования 4000м, дано по заданию;

- переводной коэффициент.= 4000 / (0,45· 86400) = 0,102 сут.ст≤ (0,999·3,2/0,26 ·10-0,102*0,1)·(3 -4,6·10-0,102*0,1) + 3/10-0,102*0,1ст≤ 2,94мгО2/л

3.4 Определение необходимой степени очистки по O2


Т.к. минимальная концентрация кислорода после сброса сточных вод образуется в водоёме на расстоянии двух суточного добегания от места сброса, а расчетный створ находится на расстоянии 0,102 сут., то можно предположить, что коэффициент смешения на расстоянии двух суточного добегания будет равен 1, т.к. произойдет полное смешение.

ст ≤ (γ·Qр) / (0,4qст) · (Ор - 0,4Lр- Оn.д) - Оn.д/0,4, мгО2/л. (3.10)

где Ор - концентрация растворенного кислорода в водоеме в летний период, 7,45мг/л;

Оn.д - концентрация растворенного кислорода в расчетном створе, 4мг/л, по таблице 3.ст ≤ (1·3,2 / 0,4·0,26) · (7,45 - 0,4·4,6- 4) - 4 /0,4ст ≤39,4мгО2/л.

Из двух расчетных показателей Lст выбираем меньшее, которое и будет определять необходимую степень очистки по БПК.

На основании проведенного расчета получены величины концентраций сточной воды по взвешенным веществам, БПК, допустимые к сбросу в водоём, которые не изменяют нормативные концентрации данных загрязнений в водоёме.

В данном случае, взвешенные вещества 54,2мг/л, БПК 2,94мгО2/л, по растворенному кислороду 2,94, данные показатели могут быть получены при использовании полной биологической очистки. С учетом концентрации загрязнений, которые может принять река, следует разработать технологическую схему полной биологической очистки с доочисткой и доведения концентрации загрязнений в стоке до следующих величин, по БПКполн=3 мгО2/л, взв=3 - 5мг/л

4. Выбор технологической схемы очистки


Для выбора технологической схемы очистки сточных вод необходимо знать расчетные расходы и концентрации загрязнений на входе и выходе из очистных сооружений.

Расходы: qст - среднесекундный расход сточных вод 0,26 м3/с, рассчитано в пункте 1.3;

Концентрации на входе: Ссмеси в.в - концентрация взвешенных веществ смеси сточных вод, 285,9 мг/л; С смеси БПК ос. - концентрация БПКполн смеси сточных вод, 238мгО2/л; Концентрации на выходе: Сст - концентрация взвешенных веществ в расчетном створе, 15 мг/л; Lст - концентрация БПК в расчетном створе 12 мгО2/л.

В технологическую схему очистки сточных вод входят:

· Сооружения механической очистки СВ (решетки, песколовки, отстойники).

·        Сооружения биологической очистки СВ (аэротенки).

·        Обеззараживание и обработка осадков.

4.1. Сооружения механической очистки

 

.1.1 Приемные камеры


Рис. 1 - Приемная камера.

Т.к. Qср ч = 887,5 м3/ч, то принимаю три приёмные камеры.

Расход ст вод м3/ч

Размер, мм

Диаметр напорн Труб-да по 2-м ниткам


А

В

Н

Н1

h

h1

b

l

l1


887,5

2000

2300

2000

1600

750

750

600

1000

1200

250


4.1.2 Решетки

При установке решеток-дробилок число резервных решеток необходимо принимать по [1] табл.22. Производительность очистной станции q =0,26м3/сек, рассчитано в пункте 1.3.Для подбора решеток необходимо учитывать, что скорость прохода через решетку должна находиться в пределах: Vсамоощ=0,8 м/с до Vпродавл=1,2м/с.

Рис. 2 - Решетка - дробилка.

Определяем скорость протекания воды через решетку:


где q - производительность очистной станции, 0,26м3/сек,

S - площадь прозоров, м2=0,26/3·0.455=0,039 м2

Согласно расходу станции подбираем решетку РД 600 с площадью прозоров 0,455м2, шириной щелевых отверстий 10мм, диаметр барабана 635мм, длина 1340мм, ширина 810мм, высота 2130мм.

Принимаем 2 рабочих решётки РД 600 и 1 резервную.

4.1.3 Песколовки

Для улавливания из сточных вод песка и других минеральных нерастворимых загрязнений применяют песколовки. Принимаем горизонтальные песколовки.

Рис. 3 - Схема аэрируемой песколовки

- проточная (рабочая) часть; 2 - аэратор; 3 - песковой лоток; 4 - трубопровод для гидросмыва осадка; 5 - песковой бункер; 6 - колосники перекрытия пескового бункера.

Площадь живого сечения:

 = qmax / (Vs·n), м2 (4.2)

где n - количество песколовок, должно быть не менее двух, шт.;

qmax - максимальный часовой расход сточных вод, м3/с;

Vs - скорость движения сточных вод, м/с.

Принимаем 2 песколовки.

F = 0,38/ (0,1·2)=1,9 м2

Считается, что гидравлические условия будут оптимальны в том случае, если отношение ширины песколовки к глубине:

BsÓHs = 1,5 ÷ 1,

Задавшись данным отношением мы можем определить площадь живого сечения:

·Hs=F (4.3)

где Bs - ширина песколовки, м;

Hs - глубина песколовки, м.

=1,5 · Hs2, м2 (4.4)

= (F/1,5)1/2, м= (1,9/1,5)1/2=1,12 м.= 1,5· Hs, м (4.5) = 1,5· 1,12=1,68м

В соответствии со СНиП таб. 28 глубина аэрируемой песколовки должна лежать в пределах Hs = 0,7 ÷ 3,5м. [1]

Длина песколовки:

м (4.6)

где Ks - коэффициент учитывающий влияние турбулентности и т.д., 1,7, принимаемый по [1] табл. 27;- расчетная глубина песколовки, м;

Vs - скорость движения сточных вод,- гидравлическая крупность песка

Ls = (1000·0,56·0,1·2,39) / 18,7 = 7м.

4.1.4 Определение количества песка, задерживаемого в песколовке

Количество песка, задерживаемого в песколовках, для бытовых сточных вод надлежит принимать 0,02 л/(чел×сут), влажность песка 60 %, объемный вес 1,5 т/м3.

Приведенное число жителей:

првзв = Nкз + Nэкв+ 0,33N не кз ,чел. (4.7)

где Nкз - число жителей канализованных районов, 80000 чел, дано по заданию;экв -число жителей, которые внесут такое же количество взвешенных веществ которое вносит данное предприятие, чел;не кз - число жителей неканализованных районов, чел.

экв = Свзв.пр · Qпр / авзв, чел (4.8)

где а - количество загрязняющих веществ на одного жителя, г/сут (из таблицы № 2);пр - расчетный расход производственных сточных вод, 4500 м3/сут, дано по заданию;

Свзв.пр - концентрация взвешенных веществ промышленных сточных вод 200 мг/л.экв = 200 · 4500 / 65 = 13846 чел.првзв = 80000 + 13846= 93846чел.

Количества песка, задерживаемого в песколовке :s = Nприввзв · аs / 1000, м3/сут (4.9)

где Nприввзв - приведенное число жителей, чел;

аs - количество песка, задерживаемого в песколовках, для бытовых сточных вод надлежит принимать 0,03 л/(чел×сут), по [1] пункт 6.s = 93846 · 0,03 / 1000 = 2,81м3/сут.

4.1.5 Песковые площадки

Для задержания песка используем песковые площадки. Площадь песковых площадок определяем по нагрузке песка на дно песковых площадок, которое равно 3 м3/м2 год. Глубину песковой площадки принимаем равную 3 м.

= Qпесок · 365 / g, м2 (4.10)

где Qпесок - количество песка задерживаемого в песколовке, 2,81 м3/сут, рассчитано по формуле (4.9);

- количество дней в году;- нагрузка песка на дно песковых площадок, 3 м3/м2 год.= 2,81 · 365 / 3 = 341,88 м2.

Количество карт песковых площадок не менее двух, карты работают переменно. Принимаем 2 карты песковых площадок, площадь которых равна:

= Fss / 2 = 341,88/ 2 = 170,9м2 (4.11)

При полученной площади песковой площадки принимаем размеры одной карты 18х9м.

 

.1.6 Гидроэлеватор

Для откачки песка из песколовок наиболее часто используют гидроэлеваторы, которые устанавливают в песковом бункере. Для нормальной работы необходимо подавать воду после первичных отстойников по отношению 20 частей воды к 1-ой части песка. В типовой схеме забор воды осуществляется насосами, расположенными в насосной станции первичных отстойников. Песок из песколовок откачивают 1 раз в сутки.

воды = Qs · 20, м3/сут (4.12)

где 20 - отношение частей воды к частям песка;s - количество песка задерживаемого в песколовке, 2,81м3/сут,

рассчитано по формуле (4.9).воды = 2,81 · 20= 56,2м3/сут

Количество пескопульпы, которое должен забрать гидроэлеватор равно:

п п = Qs + Qводы, м3/сут (4.13)

п п = 2,81 + 56,2 = 60м3/сут;

Определение производительности гидроэлеваторов:

 = Qп п/ t·60·n, л/с (4.14)

где n - количество откачек в течение суток, 3 раза (раз в смену),- время качки песка, 5 - 15 мин.

Qq = 60 · 1000 / 10·60·3 = 33,3 л/с Т.к. типовой гидроэлеватор пропускает расход 40 л/с, время качки песка составит 10 мин. Принимаем гидроэлеватор: Типоразмер ΙΙ, диаметр сопла 40 мм, диаметр горловины 80мм, расход 40 л/с.

При диаметре 40 мм, примем время откачки 8,3 мин.

4.1.7  Расчет первичных отстойников

Расчет отстойников надлежит производить по кинетике выпадения взвешенных веществ с учетом необходимого эффекта осветления.

Первичные отстойники рассчитывают на пропуск максимального расхода. Максимальный часовой расход Qmax.ч =1393,02 м3/ч; концентрация взвешенных веществ смеси сточных вод Ссмеси взв= 285,9мг/л; среднезимняя температура 160С.

Принимаем горизонтальный отстойник.

Эффект осветления находим по формуле:

Э = ((Сen - Сех) / Сen) · 100% , % (4.15)

Сen - концентрация взвешенных веществ исходная, мг/л;

Сех - концентрация взвешенных веществ по истечению времени, мг/л.

Э = ((285,9 - 150) / 285,9) · 100% = 47,58%.

Расчетное значение гидравлической крупности u0, рассчитывается по формуле:

U0 = мм/с, (4.16)

где Hset - глубина проточной части в отстойнике, м, принимаем равной:

Hset =2,8м;

Kset - коэффициент использования объема проточной части отстойника, 0,5.- продолжительность отстаивания, с, соответствующая заданному эффекту очистки и полученная в лабораторном цилиндре в слое h1, 593с;- глубина воды в цилиндре, 0,5м;

n - показатель степени, зависящий от агломерации взвеси в процессе осаждения; для городских сточных вод, равный 0,21;

α- коэффициент, учитывающий вязкость сточных вод при температуре 16оС равна 1,103

u0 = (1000·2,8·0,5) / (593·1,103· (2,8·0,5/0,5)0,21 = 1,72 мм/с.

Производительность одного отстойника qset, м3/ч, следует определять исходя из заданных геометрических размеров сооружения и требуемого эффекта осветления сточных вод по формуле: для радиальных отстойников

=3,6 · Kset · Lset ·Bset· (U0 - Vтруб) ;м3/ч (4.17)

qset=3,6 · 0,5 ·30 ·9 · (1,72 - 1,1) =301,3м3/ч

где Кset - коэффициент использования объема, 0,5, принимаемый по [1] табл.31;

Vтруб - скорость прохождения воды в трубопроводе, 1,1м/с;

Lset - длина горизонтального отстойника, 30м;

Bset- ширина горизонтального отстойника, 9м;

U0 - гидравлическая крупность задерживаемых частиц, 1,72мм/с, определяемая по формуле (4.16);

Количество отстойников рассчитываем по формуле:

= Qмакс.ч / qset , шт (4.18)

= 1393 / 301,3 = 5шт

Использование такого количества отстойников не рационально.

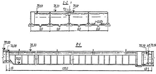
Принимаем радиальный отстойник:

Рис. 4 - первичный радиальный отстойник.

Эффект осветления находим по формуле:

Э = ((285,9 - 150) / 285,9) · 100% = 47,58%.

Расчетное значение гидравлической крупности u0, рассчитывается по формуле:

U0 = мм/с, (4.16)

где Hset - глубина проточной части в отстойнике, м, принимаем равной:

Hset =3м;

Kset - коэффициент использования объема проточной части отстойника, 0,45.- продолжительность отстаивания, с, соответствующая заданному эффекту очистки и полученная в лабораторном цилиндре в слое h1, 593с;- глубина воды в цилиндре, 0,5м;

n - показатель степени, зависящий от агломерации взвеси в процессе осаждения; для городских сточных вод, равный 0,21;

α- коэффициент, учитывающий вязкость сточных вод при температуре 16оС равна 1,103

u0 = (1000·3·0,45) / (593·1,103· (3·0,5/0,5)0,21 = 1,66 мм/с.

Производительность одного отстойника qset, м3/ч, следует определять исходя из заданных геометрических размеров сооружения и требуемого эффекта осветления сточных вод по формуле: для радиальных отстойников

=2,8 · Kset· (D2 - d2) · U0 ;м3/ч (4.17)

=2,8 · 0,45 · (242 - 12) · 1,72=1202м3/ч

где Кset - коэффициент использования объема, 0,5, принимаемый по [1] табл.31;

D - диаметр радиального отстойника, 24м;

d- диаметр трубопровода, 1м;

U0 - гидравлическая крупность задерживаемых частиц, 1,72мм/с, определяемая по формуле (4.16);

Количество отстойников рассчитываем по формуле:

= Qмакс.ч / qset , шт (4.18)

= 1393 / 1202 = 1,2 ≈2шт

Принимаем 2 отстойника D=24м.

Объем осадка образовавшегося в первичном отстойнике:

= qmud ·100/(100 - Вmud), м3/сут (4.19)

где Вmud - влажность осадка, 95% при использовании центробежных насосов.

Количество осадка по сухому веществу оприделяется по формуле:

= (Сеn·Э·К·qсут)/106, т/сут (4.20)

где Сеn - концентрация взвеси смеси СВ, 285,9мг/л;

Э - эффективность работы отстойника, 47,58%;

К - коэффициент неравномерности, 1,6;сут - среднесуточный расход сточных вод 21300м3/сут;=(285,9 · 0,47 · 1,6 · 21300)/106 =4,57т/сут;= 4,57·100/(100- 95) = 91,58м3/сут.

4.2 Сооружения биологической очистки

 

.2.1 Расчет аэротенков


Рис. 5 - Аэротенк - смеситель.

Согласно, СНиП 2.04.03-85, п. 6.140.141, аэротенки различных типов следует применять для биологической очистки городских и производственных сточных вод. Регенерацию активного ила необходимо предусматривать при БПКполн поступающей в аэротенки воды свыше 150 мг/л, а также при наличии в воде вредных производственных примесей.

Так как С см БПК ос - концентрация БПК смеси сточных вод, 203мг/л, предусматриваем регенерацию ила.

Период аэрации tat, ч, в аэротенках, определим по формуле

 (4.21)

где Len - БПК ос смеси сточных вод, поступающей в аэротенк, 238мгО2/л;

Lex - БПКполн очищенной воды, 15мгО2/л;

ai - доза ила, принимаем 2,3г/л;

tat = (2,5 / 2,30,5) · lg(238 / 15) = 1,98≈2 ч.

Концентрация активного ила в регенераторе:

 г/л (4.22)

где Ri - коэффициент рециркуляции, зависит от типа вторичных отстойников, для отстойника радиального Ri не менее 0,3.= 2,3(1 / (2·0,3) + 1) = 6,13г/л.

При проектировании аэротенков с регенераторами продолжительность окисления органических загрязняющих веществ tO, рассчитываем по формуле:

 ч (4.23)

где S - зольность, при очистке городских сточных вод равна 0,3

r - удельная скорость окисления, мг БПКполн на 1 г беззольного вещества ила в 1 ч, определяемая по формуле:

 мг·БПК/(г×ч), (4.24)

где rmax - максимальная скорость окисления, 85 мгБПК/(г×ч);- концентрация растворенного кислорода, 2 мг/л;- константа, характеризующая свойства органических загрязняющих веществ, 33 мг БПКполн/л;

КО - константа, характеризующая влияние кислорода, 0,625 мг О2/л;

j - коэффициент ингибирования продуктами распада активного ила,0,07 л/г.

ρ = ((85·15·2)/(15·2+33·2·0,625·15))·(1/(1+0,07·6,13)) =16,9мгБПК/(г×ч).

Скорость окисления определяется при температуре сточной воды 150С, т.к среднегодовая температура равна 19°С скорость окисления будет выше.

Ρ(19)= ρ·t / 15=16,9·19 / 15 = 21,4 мгБПК/(г×ч).

= (238- 15) / (0,3·6,13·(1- 0,3) ·21,4) = 8,1ч.

Продолжительность регенерации tr, определяем по формуле:

 ч (4.25)

= 8,1- 2 = 6,1ч.

Время прибывания ила в системе ts, определяем по формуле:

= tr · Ri + tat (1+Ri), ч (4.26)

 = 6,1 · 0,3 + 2 (1+0,3) =4,43ч ≈ 4,5ч.

Вместимость аэротенка Wat, м3, определяем по формуле:

м3 (4.27)

где qw - расчетный расход сточных вод, так как время прибытия в системе 4 ч из таблицы №1 выбираем 4 максимальных значения и считаем среднее,

qw = 1372,25м3/ч.= 2 (1+0,3) 1372,25 = 3567,85м3

Вместимость регенераторов Wr, определяем по формуле:

 м3 (4.28)

 = 6,1 · 0,3 · 1372,25 = 1276,19м3

Общий объем аэротенка Wo, м3, определяем по формуле:

= Wat + Wr, м3

= 3567,85 + 1276,19 = 4844м3

Средняя концентрация ила в системе равна:

=( aat + ar )/nk, г/л (4.29)

 =( 2,5 + 6,13)/2=4,3 г/л

Нагрузку на ил qi, мг БПКполн на 1 г беззольного вещества ила в сутки, надлежит рассчитывать по формуле

= 24 · (Lеn - Lех) / (аs · ts ·(1- s)), мгБПК/(г сут) (4.30)

 = 24 · (238 - 15) / (4,3 · 4,5 ·(1- 0,3)) = 396,44 мгБПК/(г сут)

Процент Wr от общего объема:

Размеры аэротенка.

Длина аэротенка:

= Wо / (nк · nс · b · Н), м (4.31)

где Н - глубина коридора, равная 4,4м.

b - ширина коридора, равная 4,5 м.

nк - число коридоров, равное 2.

nс- число секций, равное 2.

Lat = 4844 / ( 2 · 2 · 4,5 · 4,4 ) =60м

Ширина аэротенка:

Вat = nк · nс · b, м (4.32)

Вat = 2 · 2 · 4,5 = 18м

Находим иловый индекс при нагрузке 396,44 мгБПК/(г сут), J=79,6см3/г.

Пересчитываем Ri:

 (4.33)

где ai - доза ила в аэротенке, 1,8 г/л;

Ji - иловый индекс, см3/г.= 2,3 / (1000/79,6 - 2,3) = 0,22, полученное число меньше 0,3, значит аэротенк пересчитывать не надо.

4.2.2 Расчет системы аэрации

Согласно, СНиП 2.04.03-85, п. 6.157. Удельный расход воздуха qair, м3/м3 очищаемой воды, при пневматической системе аэрации надлежит определять по формуле

, (4.34)

где qO - удельный расход кислорода воздуха, мг на 1 мг снятой БПКполн, принимаемый при очистке до БПКполн 15-20 мг/л - 1,1;

K1 - коэффициент, учитывающий тип аэратора и принимаемый для мелкопузырчатой аэрации в зависимости от соотношения площадей аэрируемой зоны и аэротенка faz /fat,принимаем две нитки- коэффициент, зависимый от глубины погружения аэраторов- коэффициент, учитывающий температуру сточных вод. который определяем по формуле

 (4.35)

= 1+ 0,002 (21-20) = 1,002

где Tw - среднемесячная температура воды за летний период, 21°С;- коэффициент качества воды, принимаемый для городских сточных вод 0,85;- растворимость кислорода воздуха в воде, мг/л, определяем по формуле

= (1+4,4/20,6)·8,8=11,2 мг/л

где CT - растворимость кислорода в воде в зависимости от температуры и атмосферного давления, равная 8,8 при температуре 210С;

ha - глубина погружения аэратора, 4,4м;- средняя концентрация кислорода в аэротенке, 2 мг/л.

Таблица 4

faz/fat

0,05

0,1

0,2

0,3

0,4

0,5

0,75

1

K1

1,34

1,47

1,68

1,89

1,94

2

2,13

2,3

Ja max, м3/(м2×ч)

5

10

20

30

40

50

75

100


Таблица 5

ha, м

0,5

0,6

0,7

0,8

0,9

1

3

4

5

6

K2

0,4

0,46

0,6

0,8

0,9

1

2,08

2,52

2,92

3,3

Ja,min, м3/(м2×ч)

48

42

38

32

28

24

4

3,5

3

2,5

= (1,1(238-15)) / (1,68·2,7·1,002·0,85(11,2 - 2) =6,9м3/м3

Интенсивность аэрации Ja, м3/(м2×ч), надлежит определять по формуле

=qair*Hat/tas (4.36)

где Hat - рабочая глубина аэротенка, 4 м;s - период аэрации, 4,5 ч.а = 6,9 · 4 / 4,5 = 6,1м3/м2 ·ч

Jmin >Ja >Jmax,так как условие выполняется, то расчет окончен.

Подбираем воздуходувки. Для этого по формуле находим общий расход воздуха:

песквозд=J ·Sпеск=6 · 3,8=23,18м3/ ч

 - интенсивность аэрации в песколовке;песк - площадь песколовки.

аэрвозд=Jat · Qмакс.ч=6,1 · 1393,02=8497,4м3/ ч

at- интенсивность аэрации аэротенка.

пр.камвозд= Jпр.кам · V=0,5 · 91,58/24=75,53м3/ ч

пр.кам- интенсивность аэрации промывной камеры;

V- объем воды и осадка.о=(23,8+8497,4+75,53) · 0,1+ 23,18+8497,4+75,53=9455,783м3/ ч

воздуходувка

объем засасываемого воздуха

размеры здания в плане

ТВ-175-1,6

1000,00

10х10


4.3 Расчет вторичного отстойника


Рис. 6 - Вторичный радиальный отстойник.

Согласно, СНиП 2.04.03-85, п. 6.161. Вторичные отстойники всех типов после аэротенков надлежит рассчитывать по гидравлической нагрузке qssa, м3/(м2×ч), с учетом концентрации активного ила в аэротенке ai, г/л, его индекса Ji, см3/г, и концентрации ила в осветленной воде at, мг/л. Нагрузка на зеркало отстойника:

 м3/(м2×ч) (4.37)

где Kss -    коэффициент использования объема зоны отстаивания, принимаемый для радиальных отстойников - 0,4;- следует принимать не менее 10 мг/л,; ai - не более 15 г/л.= (4,5·0,4·3,650,8) / (0,1·79,6·2,3)0,5-0,0015 = 1,78 м3/(м2×ч).

Площадь секций:

= qmax/ qss · n, м2

= 1393,02/3 · 1,78 = 260,86м2.

где n - количество отстойников, шт.

Диаметр одной секции:

= (4·F/3,14) 1/2, м

= (4·260,86·1,2/3·3,14)1/2 =11,5 м.

Так как радиальный отстойник имеет минимальный диаметр 18 м, к установке примем вертикальные отстойники.

Площадь секций:

F = 1393,02/4 · 1,78 = 261м2.

где n - количество отстойников, шт.

Диаметр одной секции:= (4·F/3,14·4) 1/2, м

D = (4·261·1,2/3·3,14)1/2 =9,11 м

Принимаем 4 вертикальных отстойника диаметром 9 м.

.3 Расчет скорого фильтра

Фильтр представляет собой резервуар, в нижней части расположено дренажное устройство для отвода профильтрованной воды. На дренаж укладывается слой фильтрующего материала. В обычных фильтрах вода подается сверху и отводится снизу - через дренажное устройство.(рис 7)

Рис. 7. Скорый фильтр с боковым карманом и трубчатым дренажом: 1 - подача воды на очистку; 2 - отвод фильтрованной воды; 3 - подача воды на промывку; 4 - сброс промывной воды; 5 - корпус фильтра; 6 - боковой карман; 7 - желоба; 8 - коллектор дренажа; 9 - трубы дренажа (ответвления); 10 - фильтрующая загрузка; 11 - поддерживающие слои.

Устанавливаем скорые фильтры с двухслойной загрузкой, имеющие следующие параметры:

слой: кварцевый песок. Диаметр зерен dmin= 0,5 мм, dmax=1,2 мм, dэкв= 0,7-0,8 мм, коэффициент неоднородности загрузки: К=1,8-2; высота слоя hсл= 0,75 м.

слой: дробленные керамзиты. Диаметры равны: dmin= 0,8 мм, dmax=1,8 мм, dэкв= 0,9-1,1 мм, коэффициент неоднородности загрузки: К=1,6-1,3; высота слоя hсл= 0,45м.

Общая площадь скорых фильтров определяется по формуле:

ф= Qп/(Tст∙Vн-nпр∙qпр-nпр∙τпр∙Vн), (4.38)

где Qп - полезная производительность станции, м3/сут;

Tст - продолжительность работы станции в течении суток, ч;

Vн - расчетная скорость фильтрования при нормальном режиме эксплуатации, Vн= 9 м/ч;

nпр - число промывок одного фильтра в сутки при нормальном режиме эксплуатации, nпр=2-3;

qпр- удельный расход воды на одну промывку одного фильтра,

пр= 0,06∙ω∙tn, (4.39)

где ω и tn - соответственно интенсивность и время промывки;

τпр - время простоя фильтров, в связи с промывкой, равно 0,33ч.

qпр= 0,06∙15∙6,5= 5,85 м3/м2,

Fф= 21300/(24∙9-2∙5,85-2∙0,33∙9)= 107,3 м2,

Количество фильтров на станции определяем по формуле:

ф= √ Fф/2, шт. (4.40)

ф= √ 107,3/2= 5,1.

Принимаю 5 фильтров.

Площадь одного фильтра:

1ф= Fф/ Nф (4.41)

1ф=107,3/5= 21,46 м2.

Находим длину и ширину:ф= x∙1,5x; 21,46=х∙1,5х;

,3=х2; х=3,8; l= 3,8 м; в=5,64 м;

Дренаж принимаем без поддерживающих гравийных слоев, так называемый щелевой дренаж.

Расчет дрен

Расстояние между дренами Ш= 250-300мм.

Число дренажных труб: nдр= в/0,3=5,64/0,3=19 шт.

Расход воды на одно ответвление:

1д= Qпр/nдр= 472,7/13= 36,3 л/с, (4.42)

где Qпр=м3/с → 472,7 л/с; (4.43)

При q1др= 36,3 л/с, V= 2,63 м/с. По таблицам Шевелева подбираем диаметр: dотв= 150 мм.

Принимаем расстояния между осями желобов для сбора и отвода промывной воды равным 2,2м. Количество желобов при этом:

nж= в/2,2= 5,6/2,2= 2,54 - принимаем конструктивно 3 желоба, по обеим сторонам фильтра и в центре.

Расход воды через 1 желоб при промывке:

жел=ω∙fф/1000∙nж (4.44)

жел=15∙31,51/1000∙3= 0,16 м/с.

Ширина желоба определяется по формуле:

Вжел= Кжел∙5√q2жел/(1,57+ажел)3, (4.45)

где Кжел - коэффициент для желобов с полукруглым лотком, равный 2;

ажел - отношение высоты прямоугольной части желоба к половине его ширины, принимаемое от 1 до 1,5.

Вжел= 2∙5√0,0256/(1,57+1,3)3 = 0,255 м.

Расстояние от поверхности фильтрующей загрузки до кромки желобов определяем по формуле:

Нж= Нз∙аз/100+0,3, (4.46)

где Нз- высота фильтрующего слоя, м;

Нз=0,75+0,45=1,2 м;

аз - относительное расширение фильтрующей загрузки, принимаемая 50%.

Нж = (1,2∙50)/100+0,3=0,9 м.

Нф= Нз+ Нв+ Нстр+ Ндоп =1,2+2+0,5+0,39 =4,09 м - высота фильтра

Ндоп- дополнительная высота, определяется по формуле, с учетом требований:

Ндоп= W0 / =36,6/107,3=0,34 м, (4.47)

0 - оббьем воды накопивщийся за время простоя одновременно промываемых фильтров , м3

- суммарная площадь фильтров, м2

=5·21,46=220,57 м2

Промывной расход равен:

н=ω·fф=15·31,51=472,65 л/с (4.48)

Необходимый напор равен:

Н= 19-22 м.

Для промывки принимаем насосы типа Д 3200-33 (1 рабочий и 1 резервный).

5. Сооружения по обработке осадка


Осадок, образующийся в процессе очистки сточных вод (сырой, избыточный активный ил и др.), должен подвергаться обработке, обеспечивающей возможность его утилизации или складирования. При этом необходимо учитывать народнохозяйственную эффективность утилизации осадка и газа метана, организацию складирования неутилизируемых осадков и очистку сточных вод, образующихся при обработке осадка.

Выбор методов стабилизации, обезвоживания и обезвреживания осадка должен определяться местными условиями (климатическими, гидрогеологическими, градостроительными, агротехническими и пр.), его физико-химическими и теплофизическими характеристиками, способностью к водоотдаче.

5.1 Расчет радиального илоуплотнителя


Радиальный илоуплотнитель. Полезная площадь поперечного сечения радиального илоуплотнителя, м2

 <#"818046.files/image028.gif"> <#"818046.files/image029.gif"> <#"818046.files/image030.gif"> <#"818046.files/image031.gif"> <#"818046.files/image032.gif"> <#"818046.files/image033.gif"> <#"818046.files/image034.gif"> <#"818046.files/image035.gif"> <#"818046.files/image036.jpg">

Рис. Метантенк с плавающим перекрытием

1 - железобетонный резервуар; 2 - ограничитель; 3 - металлическая решетчатая ферма; 4 - теплоизоляция перекрытия; 11- газовый колпак; 12 - «фартук» перекрытия; 13 - газосборная труба; 14 - газопровод; 15 - трубопровод сброженного осадка; 16 - трубопровод для подачи свежего осадка; 17 - трубопровод для отвода иловой воды; 18 - паропровод; 19 - трубопровод для термометра сопротивления; 20 - трубопровод для перемешивания осадка.

Метантенки следует применять для анаэробного сбраживания осадков городских сточных вод с целью стабилизации и получения метансодержащего газа брожения, при этом необходимо учитывать состав осадка, наличие веществ, тормозящих процесс сбраживания и влияющих на выход газа. Для сбраживания осадков в метантенках допускается принимать мезофильный (Т = 33 °С) либо термофильный (Т = 55 °С) режим.

 

Количество осадка по беззольному веществу:


Где: S=30% - зольность осадка; Вг=5%гигроскоическая влажность осадка


Влажность смеси:


При термофильном режиме и влажности загружаемого осадка 96,84% Д=18,6%.

Объем метантенка определяем по формуле:


Количество метантенков:


Проверяем полученную дозу загрузки с учетом наличия поверхностно активных веществ в сточной воде.


где Сdt - содержание поверхностно-активных веществ (ПАВ) в осадке, мг/г, принимаемое по экспериментальным данным или по табл. 60 (1);

Всм - влажность загружаемого осадка, %;

Дlim - предельно допустимая загрузка рабочего объема метантенка в сутки, 65г/м3


Для дальнейших расчетов выбираем наименьшую из 2 расчетных доз.

Распад беззольного вещества загружаемого осадка R, %, в зависимости от дозы загрузки определяют по формуле:

=(Qmudwa · Rmud+ Qiwa · Ri)/ Qmixwa=(2,3 · 0,53 + 0,44 · 2,06)/4,36=0,48r= Rlim -Kr · Dmt=0,486-0,21 ·0,181=0,44=44%

где - Rlim максимально возможное сбраживание беззольного вещества загружаемого осадка, %,

Rr - реальный распад беззольного вещества

Kr - коэффициент, зависящий от влажности осадка.

Dmt - доза загружаемого осадка, %.

В метантенк подается 6,6т/сут осадка.

Содержание беззольного вещества 4,36 т.

В поцессе сбродилось 2,24т.

Qmixwan=4,36-2,24=2,12т/сут

Qmixос=(6,6-4,36)+2,12=4,36т/сут - сухого вещества осталось

Вmix1=100-(4,36/906,28)·100=97,57%

Кроме влажности в процессе сбраживания увеличивается зольность:

Зmix=100-2,12 ·100 /4,36 ·(100-5)=23,6%

 

.3 Расчет газгольдера


Количество газа:

Г= Rr · Qmixwa ·1000=0,44·2,12·1000=932,8 м3/сут

Для выравнивания давления газа в газовой сети предусматриваем мокрые газгольдеры, вместимость которых Vг рассчитывается на 3 часа выхода газа:

Vг=932,8·3/24 =116,6м3

Принимаем один типовой газгольдер обьемом 100м3.

В этом случае время пребывания в нем будет равно:

t=100·24/933=2,5ч.

5.4 Сооружения для механического обезвоживания осадка


Перед обезвоживанием сброженного осадка следует предусматривать его промывку очищенной сточной водой. Количество промывной воды следует принимать для сброженной в термофильных условиях смеси сырого осадка и избыточного активного ила -3-4м. Продолжительность промывки следует принимать 15-20 мин, число резервуаров для промывки осадка - не менее двух. В промывной резервуар подается воздух количество которого 0,5м3/ м3

Vmix=185м³/сут

Vmix1=185+3 ·185=740 м³/сут

При перемешивании воздухом количество его определяется из расчета 0,5м смеси промываемого осадка и воды.

Qair=0,5·740=370м³/сут.

Влажность смеси осадка:

Всмос=(97,86 · 185 + 3 · 185 · 100)/740=99,46%

В процессе уплотнения в илоуплотнителе влажность осадка будет доведена до 96%. Количество жидкости отделенной от осадка в процессе уплотнения:

Vос=740 - 710,4=29,6 м³

Время пребывания в смесителе 3 -5 мин.

Vсмесителя =Vос ·3/24 ·60=29,6·3/24 ·60=0,6 м³

Принимаем 1 рабочий 1 резервный смеситель V=0,6 м³

После метантенка осадок направляется в промывную камеру. Время пребывания в которой 20 мин.

кам= Vmix1·20/24·60=740·20/24·60=10,2 м³

Камера состоит из 2 отделений. V1=5,1 м³

После промывки осадок направляется в илоуплотнители. Объем илоуплотнителя:

илоупл= Vmix1 ·t/24=740 · 24/24=740 м³

илоупл=740 · 20/24=616,6 м³

t - время пребывания в илоуплотнителе (для термофильного режима 20-24ч)

Принимаем 2 илоуплотнителя Д=12м.

Для интенсификации процесса обезвоживания в смеситель добавляют флокулянты, количество которых определяется свойствами осадка и как правило лежит в пределах 3,5-4 т/т сухого вещества осадка. В некоторых случаях предлагают добавлять флокулянт в количестве 2% к объему осадка.

mф=2·Vос/100=2·29,6/100=0,59кг.

5.5 Расчет центрифуги


Схема устройства центрифуги типа ОГШ

- труба для подачи осадка; 2 - отверстия для выгрузки фугата; 3 - бункер для выгрузки фугата; 4 - отверстие для поступления осадка в ротор; 5 - бункер для выгрузки кека; 6 - ротор; 7 - полый шнек; 8 - отверстия для выгрузки кека.

Vос=29,6м³/сут=1,23 м³/ч.

Принимаем центрифугу:

Марка центрифуги

Максим. частота вращения об/мин

Фактор разделения

Габаритные размеры (с виброизоляцией), мм

Масса, кг




Длина

Ширина

Высота

Цен-ги

Цен-ги с комплектом

ОГШ-202К-03

6000

4000

1490

860

590

440

490


Производительность:

ср=20·Lрот · Дрот=20·1,49·0,46=13,708

Влажность кека 65-75%

qж=29,6(97,6-70)/(100-70)=27,23 м³/сут

qmud=29,6-27,23=2,37 м³/сут

Эффект задержания 92%.

Принимаем 1 рабочую и 1 резервную центрифуги.

 

6. Обеззараживание сточных вод


Предлагаемый способ не требует введения в воду химических реагентов, не влияет на вкус и запах воды и действует не только на бактериальную флору, но и бактериальные споры. Бактерицидное облучение действует почти мгновенно и, следовательно, вода; прошедшая через установку, может сразу же поступать непосредственно в водоем. Из числа возможных альтернатив хлорирования в технологической схеме очистки сточных вод предпочтение можно отдать применению ультрафиолетовых лучей, так как дезинфекция с их помощью не оказывает токсического влияния на водные организмы и не приводит к образованию вредных для здоровья химических соединений.

Эффект обеззараживания основан на воздействии ультрафиолетовых лучей с длиной волны 200-300 нм на белковые коллоиды и ферменты протоплазмы микробных клеток. Бактерицидный эффект зависит от прямого воздействия ультрафиолетовых лучей на каждую бактерию. Обработанная ультрафиолетовым излучением вода должна иметь достаточную прозрачность, поскольку в загрязненных водах интенсивность проникновения УФ-лучей быстро затухает, что ограничивает использование УФ установок для обеззараживания сточных вод. Обеззараживание воды происходит вследствие фотохимического воздействия на бактерии ультрафиолетовой бактерицидной энергией, излучаемой специальными лампами.

Установки УФ-обеззараживания комплектуются ртутными лампами двух типов: высокого и низкого давления. Достоинство аргон-ртутных ламп низкого давления состоит в том, что основное излучение их совпадает с энергией максимального бактерицидного действия. В ртутном разряде низкого давления (3-4мм рт ст.) около 70% всей излучаемой мощности приходится на область ультрафиолетовых лучей.

Однако относительно небольшая потребляемая электрическая мощность (15-60 Вт) ограничивает их применение в установках небольшой производительности для обеззараживания воды (до 20-30м /ч).

Лампы высокого давления (по сравнению с лампами низкого давления) обладают более высокой мощностью УФ-излучения, но и более низким энергетическим коэффициентом полезного использования излучения. Негативным последствием "размытого" спектра является процесс интенсивного потемнения кварцевых чехлов под действием излучения, что снижает КПД и срок использования ламп.

Ртутно-кварцевые лампы высокого давления (400-800 мм рт. ст.) имеют потребляемую мощность 1000-2500 Вт и излучают большое количество концентрированной бактерицидной энергии, поэтому они вполне применимы для обезвреживания больших масс воды, имеющей небольшое бактериальное загрязнением и хорошие санитарно-химические показатели. Максимально допустимый срок службы ламп установлен 4500-5000 часов фактической продолжительности горения.

Номенклатура оборудования для обеззараживания

Наименование

Производительность, не более

Энергопотребление, не более

Для очищенной сточной воды

УДВ-6/6

6 м3/ч

0,5 кВт

УДВ-250/144

250 м3/ч

12,8кВт

УДВ-5007288

500 м3/ч

26,0 кВт

УДВ-1000/432

1000 м3/ч

38,0 кВт



где q - расчетный расход обеззараживаемой воды м3/ч; а - коэффициент поглощения облучаемой воды; к - коэффициент сопротивляемости облучению, принимается равным 2500 мквт-с/м2; Р° - коли-индекс воды до облучения, максимальное расчетное бактериальное загрязнение неочищенной сточной воды принимается равным коли-индексу Р° = 1000 (то есть коли-титр равен 1); Р - коли-индекс воды после облучения; принимается не более 3 (т. е. коли-титр не менее 330). Таким образом, Р°/Р - степень обеззараживания должна быть в пределах 1/1000-3/1000; ηn- коэффициент использования бактерицидного потока, для установки с погруженным источником излучения принимается равным 0,9; для установки с непогруженным источником излучения - 0,75; ηо - коэффициент использования бактерцидного излучения, зависящий от толщины слоя воды, ее санитарно-химических показателей и конструктивного типа установки, ηо следует принимать 0,9.

Т.к нам не известны бактериологические показатели воды, то подбираем ультрафиолетовые установки по производительности.

Принимаем 6 рабочих установок УДВ - 1000/432 и 2 резервные.

Список используемой литературы


1.      СНиП 2.04.03-85 ˝ КАНАЛИЗАЦИЯ. НАРУЖНЫЕ СЕТИ И СООРУЖЕНИЯ ˝

2.      Яковлев С.В. Канализация .Учебник для вузов.Изд. 5-е перераб.и доп. М.,стройиздат,1975.-632с.

.        Ласков Ю.М. Примеры расчета канализационных сооружений:учеб. Пособие для вузов. Изд. 2-е перераб.и доп. М.,стройиздат,1987.-255с.

.        СанПиН 4630-88 «Охрана поверхностных вод от загрязнения»

Похожие работы на - Канализационные очистные сооружения

 

Не нашли материал для своей работы?
Поможем написать уникальную работу
Без плагиата!
Без нейросетей!