Создание бизнес-плана производства корпусов двухтопливных форсунок

  • Вид работы:
    Курсовая работа (т)
  • Предмет:
    Маркетинг
  • Язык:
    Русский
    ,
    Формат файла:
    MS Word
    1001,18 Кб
  • Опубликовано:
    2014-12-28
Вы можете узнать стоимость помощи в написании студенческой работы.
Помощь в написании работы, которую точно примут!

Создание бизнес-плана производства корпусов двухтопливных форсунок

МОСКОВСКИЙ АВТОМОБИЛЬНО-ДОРОЖНЫЙ ГОСУДАРСТВЕННЫЙ ТЕХНИЧЕСКИЙ УНИВЕРСИТЕТ (МАДИ)

КАФЕДРА ЭКОНОМИКИ АВТОМОБИЛЬНОГО ТРАНСПОРТА













Курсовая работа на тему:

«Создание бизнес-плана производства корпусов двухтопливных форсунок»

Выполнил:

студент гр. 5ДВС Ронжин Д.И.

Проверил:

преподаватель кафедры экономики Дороднова Г.М.





МОСКВА 2013

Введение

В настоящее время более 20 стран мира производят жидкое биотопливо из различного растительного сырья. При прочих равных условиях производство сырья для спиртовых топлив, требует меньше пахотных земель, чем производство топлив на основе растительных масел. Но при этом физико-химические свойства топлив, получаемых на основе растительных масел, ближе к свойствам стандартного дизельного топлива. Поэтому дизельные двигатели в большей степени приспособлены к работе на растительных маслах и продуктах их переработки.

Характерным представителем растительных масел является рапсовое масло (РМ), получаемое из семян рапса.

Получаемое при переработке рапсовое масло может быть использовано как самостоятельное топливо для дизелей, в смесях различного состава со стандартным дизельным топливом.

Использование растительных масел в чистом виде в качестве топлива для дизелей, сдерживается повышенным нагарообразованием - отложением кокса на распылителях форсунок и других деталях, образующих камеру сгорания.

В работах МГТУ им. Баумана наглядно показан эффект от применения смесей рапсового масла и дизельного топлива. Дизель работал на смеси с объемным содержанием масла 20% и углом опережения впрыскивания 13оПКВ до ВМТ. Оказалось, что мощностные и экономические показатели дизеля изменились незначительно. С одной стороны, высокая плотность смеси дала небольшое увеличение цикловой подачи, с другой - это компенсировалось меньшей теплотой сгорания смеси. Наибольший эффект от применения такого топлива получился в отношении выбросов сажи - дымность сократилась с 25 до 16% по шкале Хартриджа при 1500 мин-1, и с 11 до 8% при 2400 мин-1.

Выбросы СО при переводе двигателя на биотопливо растут на режимах малых и средних нагрузок и несколько снижаются на больших при 1500 мин-1, на высоких частотах вращения значимое увеличение выбросов СО наблюдались на больших нагрузках.

Выбросы оксидов азота незначительно снижаются в области малых нагрузок и демонстрируют значительный рост в зоне средних и высоких нагрузок (примерно на 12%).

Анализ положения дел в отрасли

Ранее проведенные в МАДИ исследования доказали невозможность во всем поле режимов на одном массовом составе смеси дизельного топлива и рапсового масла решить задачу эффективного комплексного снижения токсичных компонентов отработавших газов (ОГ) при обеспечении рационального использования каждого компонента, входящего в смесь топлив.

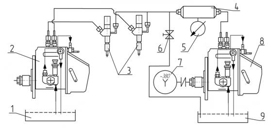
Решение такой задачи возможно за счет дополнения штатной топливной системы (ТС) разделенного типа системой подачи присадки и заменой обычных форсунок на форсунки с двумя каналами согласно схеме, представленной на рис.1

Рис. 2.2. Схема двухтопливной системы конструкции МАДИ:

- емкость для топлива №1; 2 - штатный топливный насос высокого давления; 3 - двухтопливные форсунки; 4 - аккумулятор; 5 - манометр; 6 - регулирующий кран; 7 - электродвигатель; 8 - топливный насос высокого давления вспомогательной системы; 9 - емкость для топлива №2

Продукция

Планируется производство корпусов распылителей для двухтопливных форсунок.

Товар будет предназначен для поставок на заводы, в технические центры, а так же для розничной продажи в интернет-магазинах.

Разработка производственного плана

Технологический процесс изготовления корпусов для двухтопливных форсунок

·        приемка заготовок;

) Шлифование бесцентровое поверхностей

) Сверление внутренних полостей, подрезка торца и протачивание фаски

) Промывка

) Протачивание конуса сферы и снятие фаски на торце

) Промывка

) Сверление топливоподающего отверстия

) Промывка

) Сверление 2х штифтовых отверстий

) Промывка

) Расточка кармана

) Промывка

) Сверление 2го топливоподающего отверстия

)Промывка

) Шлифование конуса и сферы

) Промывка

) Контроль, доводка.

Полное время изготовления 2,5 н-ч



Таблица №1.

Оборудование

к-во

Мощность кВт

Площадь м2

Цена единицы оборудования, Руб/шт

Сумма, руб

Амортизация

Спец. агрегатный станок «САС»

1

8

6,5

700 000

700 000

70 000

Настольно сверлильный станок

1

6

5,65

2 200 000

2 200 000

220 000

Моечная машина

1

6

6

350 000

350 000

35 000

Кругло-шлифовальный станок

1

5,2

5,8

1 200 000

1 200 000

120 000

Автомат токарно-револьверный

1

2

1,5

500 000

500 000

50 000

Итого

5

27,5

25,45

4 950 000

4 950 000

495 000




Расчет переменных затрат ( СПЕРЕМ ).

Расчет затрат на материалы и комплектующие, СМ

Необходимые материалы, комплектующие и их стоимость приведены в таблице №2.

Таблица №2.

Наименование материала

Количество на единицу продукции, кг

Стоимость, (руб./кг)

Сумма, всего руб.

Заготовка

1

150

150

Итого:

1

150

150


СМ = ЦМ * НМ, руб./изд., где

СМ - затраты на комплектующие, руб./изделие;

ЦМ - цена единицы комплектующих, руб./шт.

НМ - норма расхода комплектующих на одно изделие.

Произведём расчёт требуемых расходов на комплектующие для всго объёма производимой продукции:

N = 7 000 шт./год

СМ = 150 * 7000 = 1 050 000 руб./ год

Определяем численность основных производственных рабочих:

РОСН =(N* tР) / (FЭФ* kВ), (чел.), где

N =7000 - годовая производственная программа, шт./год;

TР =2,5 - трудоемкость изготовления изделия, нормо-час;

FЭФ =1900- эффективный годовой фонд рабочего времени на 1 рабочего, часов;

KВ =1,1 - планируемый коэффициент выполнения норм выработки;

РОСН =(7000* 2,5 ) / (1900* 1,1)=8 человек

Расчет основной заработной платы основных производственных рабочих

ЗОСН = ∑СЧАСi * tРi (руб./изд.), где

СЧАСi =110 ─ средняя часовая тарифная ставка i-го производственного рабочего, руб./час;

tРi - суммарная трудоемкость изготовления изделия, нормо-час/изд.

Весь процесс изготовления корпуса распылителя занимает 2,5 нормо-часа .

Операция

н-ч

Токарные операции

0,575

Сверлильные операции

1

Операции на шлиф станках

0,575

Промывка

0,35

Итого

2,5


Расчеты сводят в таблицу №3.

Счас.ток.=110 руб/час

Счас.сверл.=110 руб/час

Счас.шлиф.=110 руб/час

Счас.мойщик.=110 руб/час

РОСН.ТОК. = (7000* 0,575) / (1900 * 1,1) = 1,93 ≈ 2 человека

РОСН.СВЕРЛ. = (7000* 1) / (1900 * 1,1) = 3,35≈ 3 человека

РОСН.ШЛИФ. = (7000* 0,575) / (1900 * 1,1) = 1,93≈ 2 человека

РОСН.МОЙЩИК. = (7000* 0,35) / (1900 * 1,1) = 1,17≈ 2 человека

Зток. = 0,575*110 = 63 руб./изд.

Зсвер. = 1*110 = 110 руб./изд.

Зшлиф. = 0,575*110 = 63 руб./изд.

Змойщик. = 0,35*110 = 39 руб./изд.

Зток.год = 0,575*110*7000 = 442 750 руб./год.

Зсвер.год. = 1*110*7000= 770 000 руб./год.

Зшлиф.год = 0,575*110*7000 = 442 750 руб./год.

Змойщик.год = 0,35*110*7000 = 269 500 руб./год.

Зосн. = 442 750+770 000+442 750+269 500 = 1 925 000 руб/год

Таблица №3.

Категории производственных рабочих

Ко-во производственных рабочих,  чел.

Осн.З/п рабочего руб/изд

Осн.З/п рабочих руб/год

Токарь

2

63

442 750

Шлифовальщик

2

63

442 750

Сверлильщик

3

110

770 000

Мойщик

1

39

269 500

Итого

8

275

1 925 000


Для того, чтобы проверить, соответствует ли рассчитанная заработная плата основных производственных рабочих (пункт 3) расчетному их количеству (пункт 2) по категориям, заполняем таблицу №3-а.

Таблица №3-а.

Категории производственных рабочих

Ко-во производственных рабочих, чел.

Осн.З/п рабочих руб/месяц

Осн.З/п рабочих руб/год

Токарь

2

36 896

442 750

Шлифовальщик

2

36 896

442 750

Сверлильщик

3

64 167

770 000

Мойщик

1

22 458

269 500

Итого

8

160 417

1 925 000


Расчет дополнительной заработной платы производственных рабочих

Дополнительная заработная плата - это доплата за нерабочее время, совмещение профессий, доплата за работу в ночную смену, кормящим матерям и т.д. Она принимается в размере 10 % от основной заработной платы.

ЗДОП =0,1 * ЗОСН= 1 925 000*0,1=192 500 руб./год

Зосн =1 925 000руб./год

Зосн + Здоп =1 925 000+192 500 = 2 117 500 руб./год.

Итого зарплата основная и дополнительная всех производственных рабочих

·  на изделие 303 руб./изделие

·        на годовой выпуск 2 117 500 руб./год

Расчет страховых взносов (СВ)

СВ начисляется на весь фонд заработной платы.

С 2012 г. установлен размер страховых взносов 30 %.

ЗСВ = 0,30* (ЗОСН + ЗДОП), руб./год.

ЗСВ = 0,30* (2 117 500)= 635 250 руб./год.

ЗСВ = 635 250/7000 = 91 руб./изд.

Расчет затрат на содержание и эксплуатацию оборудования

Величина затрат зависит от того, на сколько интенсивно эксплуатируется оборудование. Считаются они комплексно. В них включаются затраты на технологическую энергию СЭ и затраты, связанные с эксплуатацией и ремонтом оборудования.

Затраты на энергоресурсы технологические СЭ рассчитываются по следующей формуле:

СЭ = NY* КВР * КН* КОД * КW* КМ * tР * ЦЭ / JМ, руб./изд., где

Y =27 - суммарная установленная мощность электродвигателей производственного оборудования, кВт;(табл. 1);

КВР =0,4- коэффициент загрузки оборудования по времени, принимается 0,3-0,7, причем, чем выше степень автоматизации оборудования, тем выше значение КВР;

КН =0,5 - коэффициент загрузки оборудования по мощности, принимается 0,5-0,8;

КОД =1- коэффициент одновременности работы, принимается 1;

КW =1,06 - коэффициент, учитывающий потери электроэнергии в сети завода, принимается 1,05- 1,08;

КМ =0,7 - удельный вес машинных операций, в долях единицы. На нашем производстве основная часть - это машинные операции: токарные, сверлильные и операции на шлифовальных станках. Трудоемкость этих операций занимает 2,15 н.ч., общее время изготовления детали 2,5 н.ч. следовательно принимаем Км = 0,7;

TР =2,5 - трудоемкость изготовления изделия, нормо-час;

ЦЭ =2,85 - тариф на электроэнергию, руб./кВт-час;

JМ =0,70- средний коэффициент полезного действия, принимается 0,6-0,9.

СЭ = 27* 0,4 * 0,5* 1 * 1,06* 0,7 * 2,5 * 2,85 / 0,70 =41 руб./изд

- затраты, связанные с эксплуатацией и ремонтом оборудования СЭКС.ОБ.,

Условно принимаются в размере 20 % от цены оборудования. Суммарная цена оборудования равна 4 950 000 руб. (табл. 1)

СЭКС.ОБ =0,2* 4 950 000 =990 000 руб

Эта статья затрат определяется на всю годовую программу. Для того, чтобы определить затраты на 1 изделие нужно:

СЭКС.ОБ. / N=990 000 /7 000= 141 руб./изд.

Тогда итого затрат на содержание и эксплуатацию оборудования:

ССОД.ОБ. Э + СЭКС.ОБ. /N = 41 + 141 = 182 руб./изд.

Итого переменных затрат

СМ + ЗОСН + ЗДОП + ЗСВСОД.ОБ. =115+303+91+182 = 725 руб./изд.

Это и является производственной себестоимостью изделия.

Расчет постоянных затрат (накладные расходы) СПОСТ

Эти затраты определяются в целом по предприятию в расчёте на год, руб./год.

Расчет заработной платы прочих работающих, ЗГОД

Расчеты сводим в таблицу №4.

Таблица №4.

Категории работающих

Количество, чел

Зарплата, чел/мес

Всего зарплата, руб/год

1

2

3

5

Генеральный Директор

1

55 000

780 000

Главный Бухгалтер

1

40 000

360 000

Главный инженер

1

50 000

600 000

Кладовщик

1

18 000

216 000

Менеджер по снабжению

1

30 000

360 000

Менеджер по сбыту

1

30 000

360 000

Уборщик

1

15 000

180 000

Итого

7

238 000

2 856 000


Затем начисляются СВ (30%) на годовой фонд заработной платы в размере 30%, ЗСВ.

ЗЕСН = 0,30 * З ГОД, руб./год;

ЗЕСН = 0,30 * 2 856 000 = 856 800, руб./год;

Расчет годовой суммы амортизации, САМ

См. табл.1

САМ = 495 000 руб./год

Аренда помещений и оборудования, САР

Стоимость аренды помещений подсчитывают исходя из заданной площади и стоимости 1 кв. м в год.

Норма площади офиса на 1 человека составляет 6 кв.м.

SР Оф.=6 * 7=42 кв.м. - размер помещения под офис

Стоимость аренды 1 кв.м составляет 4000 руб./год.

САР ОФ = 42 * 4000 = 168 000 руб./год

Размер производственных площадей рассчитывается по данным табл.1, увеличенным на 60% для учета проходов и проездов цеха Офис будет располагаться на территории производства

Стоимость аренды 1 кв.м производственной площади составляет 2500 руб./год, площадь помещения составляет 60 м2

САР ПР.=42* 1,6* 2500= 206 800 руб./год .

Затем все рассчитанные величины складываются.

САР.= 168 000+206 800+0 = 374800 руб/год.

Затраты на рекламу, СРЕКЛ

Определяются, исходя из стоимости самой рекламы. Вид рекламы определяется в плане маркетинга

СРЕКЛ. = 500 000 руб./год.

Страхование, ССТР.

Имущество страхуется на год по ставке 6% от стоимости всего имеющегося в распоряжении фирмы имущества.

ССТР.=0,06* 4950000=297000 руб./год

Налог на имущество, НИМУЩ

Составляет 2,2 % от стоимости находящегося в собственности (амортизируемого) оборудования.

НИМУЩ. = 0,022*4 950 000 = 108 900 руб./год.

Прочие расходы, СПР

Эти расходы можно принять в размере 5% от суммы статей постоянных расходов.

СПР. = 0,05* (ЗГОД + ЗСВ + САМ + САР + СРЕКЛ + СТР + НИМУЩ )

СПР. =0,05*(2 856 000+856 800+495 000+374800+500 000+297000+108 900)= =274 425 руб/год.

Итого постоянных затрат, СПОСТ.

СПОСТ = ЗГОД + ЗСВ + САМ + САР + СРЕКЛ + СТР + НИМУЩ + СПР.

СПОСТ =2 856 000+856 800+495 000+374800+500 000+297000+108900+274425=5 762 925 руб/год.

Полная себестоимость изготовления годового выпуска изделий, руб./год, СПОЛН

СПОЛН = СПЕР * АГОД + СПОСТ = 725*7 000 + 5 762 925= 10 841 160 руб/год.

Себестоимость изготовления единицы изделия, руб./изд., СЕД

СЕД = СПОЛН / АГОД = 10 841 160 / 7 000 = 1549 руб/изд

Данные расчета себестоимости сводят в таблицу № 5.

Таблица № 5

Статьи расходов

Величина расходов на 1 изд., руб./изд.

Величина расходов на годовой выпуск, руб./год.

Себестоимость изготовления, в т. ч.:

1549

10 843 000

1. Переменные издержки

725

5 075 000

1.1.Заработная плата основных производственных рабочих

138

968 917

1.2.Заработная плата дополнительная

28

192 500

91

635 250

1.4.Основные материалы

150

1 050 000

1.5. Затраты на содержание оборудования

182

1 274 000

2. Постоянные издержки

823

5 762 925

2.1.Заработная плата прочих работающих

408

2 856 000

2.2.СВ от заработной платы прочих работающих

122

856 800

2.3.Амортизация оборудования

71

495 000

2.4.Аренда помещений

30

206 800

2.6.Страхование

42

297 000

2.8.Налог на имущество

16

108 900

2.8.Прочие расходы

39

274 425


Далее производят расчет цены изделия (РИЗД), исходя из рассчитанной себестоимости единицы изделия (СЕД) и нормы прибыли (ПН).

РИЗД = СЕД + ПН = 1549 + (1549*0,12) =1735 руб.

Расчет точки самоокупаемости и коэффициента надежности проекта

Точка самоокупаемости - это тот объем производства, при котором доходы предприятия равны его издержкам.

             TFCБУ = ---------------- (штук), где

         P ─ AVC

корпус форсунка производственный себестоимость

NБУ ─ объем производства, изделий;

P ─ цена изделия, руб.;

TFC─ постоянные издержки за вычетом амортизации, руб;

AVC─ средние переменные издержки, руб.

 

Расчет коэффициента надежности проекта

Коэффициент надежности - это отношение точки безубыточности (штук) к фактическому количеству изделий (из плана денежных поступлений и выплат).

 

. Следовательно у проекта достаточный запас надежности.

Рис. 1. Расчет точки безубыточности

Денежные потоки и показатели коммерческой эффективности проекта

Прогноз развития малого предприятия на 3 года.

Таблица 6

год

0-й

1-й

2-й

Цена изделия, руб./шт.

1800

1735

1700

Годовая программа, шт./год

6000

7000

8000



Таблица 7

Денежные потоки и показатели коммерческой эффективности проекта

Наименование показателей, тыс.руб.

Годы расчётного периода


0-ой год

1-ый год

2-ой год

1. Инвестиции

-1 500 000

0

0

2. Денежный поток от инвестиционной деятельности

-1 500 000

0

0

Денежные потоки от операционной деятельности

3. Выручка от продаж

10 800 000

12 145 000

13 600 000

4. Чистые текущие издержки (без амортизации)

- 9 617 925

-10 342 925

-11 067 925

5. Амортизация

- 495 000

-495 000

-495 000

6 Проценты за кредит из себестоимости (ставка ЦБ%х1,5)

-123 750

-99 000

-74 250

7. Налогооблагаемая прибыль

563 325

1 208 075

1 962 825

8. Налог на прибыль

-112 665

-241 615

-392 565

9. Денежный поток от операционной деятельности

1 047 240

1 845 690

2 776 140

10. То же накопленным итогом

1 047 240

2 892 930

5 669 070

Денежные потоки от финансовой деятельности

11. Акционерный капитал

500 000

0

0

12. Кредит

-1 000 000

0

0

13. Возврат кредита

- 200 000

- 400 000

- 400 000

14. Уплата всех процентов по кредиту

-210 000

- 126 000

- 42 000

15.Всего расходы по погашению кредита

- 410 000

- 526 000

- 442 000

16. В том числе, из прибыли

- 86 250

-27 000

32 250

17. Денежный поток по финансовой деятельности

1 090 000

- 526 000

- 442 000

18. Суммарное сальдо по трём денежным потокам

637 240

1 319 690

2 334 140

19. То же накопленное

637 240

1 956 930

4 291 070


П.6.

-ой год =(8,25*1,5)*1000000=124 750

-ый год = (8,25*1,5)*(1 000 000-200 000)=12,375*800 000 =9 900 000/100= =99000

-ой год =(8,25*1,5)*(1 000 000-400 000)=74 250

Эффективность инвестирования

Чистый дисконтированный доход


Таблица 8

Чистый дисконтированный доход

Инвестиции

год

Ставка дисконта

Общий доход, руб.

Суммарные Издержки( с аммортизацией) руб.

Налог на прибыль

Амортизация, руб.

ЧДД, руб.

1

2

3

4

5

6

7

8

1 500 00

0

0,2

10 800 000

10 112 925

0,2

495 000

-851 340


1


12 145 000

10 837 925


495 000

1 089 229


2


13 600 000

11 562 925


495 000

1 414 635

Итого: 1 652 525


Рис. 2. Значения чистого дисконтированного дохода от расчетного периода

Внутренняя норма доходности

Внутренняя норма доходности оценивает способность проекта генерировать доход с единицы средств, вложенных в него. Для этого определяется чистый дисконтированный доход методом последовательных итераций - путем задания различных значений ставки дисконта «i». Условие для определения внутренней нормы доходности:

 

В расчете используется суммарное значение чистого дисконтированного дохода за три года.

Расчеты представлены в таблице 9. Зависимость внутренней нормы доходности от ставки дисконта представлена на рисунке 3.

Таблица 9

i

ЧДД

1

260 990

1,1

177 133

1,2

100 900

1,3

31 296

1,4

-32 508

1,5

-91 208

1,6

-145 392

1,7

-195 563

1,8

-242 150

1,9

-285 524

2,0

-326 007


Рис. 3. Внутренняя норма доходности


Дисконтированный срок окупаемости

Результаты расчета представлены на рис.4 и в табл.10.

Таблица 10

Год

0-ой

0-ой+1-ый

0-ой+1-ый+2-ой

Доходы, руб.

10 800 000

22 945 000

36 545 000

Расходы, руб.

10 112 925

20 950 850

32 513 775

Инвестиции, руб.

1 500 000

0

0

Амортизация, руб.

495 000

990 000

1 485 000

ЧДД, руб.

-851 340

237 889

1 652 525



Рис.4. Дисконтированный срок окупаемости

По графику видно, что дисконтированный срок окупаемости составляет 21 месяц.

Рентабельность инвестиций

Рентабельность инвестиций (RИНВ) - это отношение всей суммы дисконтированных доходов по проекту (ЧДД) к сумме дисконтированных инвестиционных затрат (К):

Величина RИНВ показывает общую сумму поступлений, доходов, приходящуюся на 1 единицу инвестиционных затрат.ИНВ >100% - инвестиции в проект окупятся в течение срока его жизни.



План маркетинга

.  Предлагается производить корпуса для двухтопливных форсунок. Данный товар предназначен для использования на двигателях на которых установлена двухтопливная система питания.

2.      Товар предназначен исключительно для владельцев автомобилей с двигателями оснащенными системой подачи присадки. .

.        Плюсы нового товара:

-более низкая цена, чем у конкурентов при одинаковом качестве товара;

меньшие сроки доставки.

Основные минусы:

товар не достаточно широко представлен;

боязнь людей покупать товары неоригинального производства.

.  Основная цель на ближайшие 3 года - увеличение объема продаж и прибыли на 10% ежегодно.

Задачи:

увеличение количества потенциальных покупателей;

   поиск оптовых точек сбыта;

-        налаживание контактов с техническими центрами и сервисами;

         открытие собственных точек сбыта;

         реклама продукции

.        Основная сложность продажи данного товара заключается в том, что двухтопливные системы питания на дизельных двигателях не так широко распространены.

В целях борьбы с этим явлением необходимо проводить рекламу, в особенности в интернете, о целесообразности установки двухтопливной систем, благодаря которым существенно увеличивается экономия топлива и снижаются выбросы отработавших газов. Для этого необходимо создание собственной интернет-страницы, где будут публиковаться статьи и данные испытаний.

6. За реализацию основных маркетинговых задач будет отвечать генеральный директор и менеджеры по сбыту и снабжению. Ответственным за техническую сторону маркетинга - публикация статей на сайте, проведение сравнительных испытаний двигателей с системой подачи присадки и без- главный инженер.

7.      Для первоначальной реализации маркетинговых задач выделяется 500 000 руб.

.        Контроль будет осуществляться по тенденции роста продаж, а так же будут проводиться опросы на сайте, дискуссии в интернет-форумах.

Организационный план

Предприятие ООО “ОКБ RapsOil” является Обществом с Ограниченной Ответственностью, следовательно предприятие является коммерческим. Данная форма собственности имеет определенные плюсы перед ИП, и З(О)АО и наиболее предпочтительная для малого бизнеса

.  В отличие от ИП форма собственности ООО дает возможность:

осуществление более широкого спектра возможных видов предпринимательской деятельности;

регистрация в любом субъекте РФ;

более предпочтительная собственность для работы с другими крупными компаниями, т.е. более “солидная” форма собственности.

.  В отличии от З(О)АО при ООО нет необходимости в выпуске акций, более простая система управления (двухуровневая - общее собрание и исполнительное), что затрудняет несанкционированный выход участника из ООО.

Рис.5 Организационная схема предприятия

Генеральный директор:

)        Стратегическое и оперативное управление деятельностью компании

)        Проведение реорганизации компании

)        Разработка и усовершенствование бизнес-процессов

)        Разработка годового бюджета Компании и ответственность за его выполнение

)        Ведение кадровой политики Компании

)        Обеспечение выполнения договорных обязательств Компании

Главный инженер:

)        Организация бесперебойной работы цехов, контроль качества выполняемых работ.

)        Обеспечивать необходимый уровень технической подготовки производства и его постоянный рост.

)        Обеспечивать безопасность производства, текущего содержания основного и вспомогательного производственного оборудования и обновление станочного парка.

)        Осуществлять контроль за соблюдением проектной и технологической дисциплины, правил и норм по охране труда, технике безопасности, производственной санитарии и пожарной безопасности, требований природоохранных, санитарных органов, а также органов, осуществляющих технический надзор

Главный бухгалтер:

)        Правление бухгалтерией компании в полном объеме;

)        Взаимодействие с подразделениями компании (производство,сбыт);

)        Составление сдача финансовой и налоговой отчетности.

)        Формирование финансовой политики предприятия.

Менеджер по сбыту:

)        Ведение полного документооборота, связанного с заказами,

)        Осуществление поставок.

)        Обеспечение сроков поставки и заданных параметров экономики.

)        Доставка, логистика.

)        Оформление, сопровождение договоров.

)        исследования рынка, сбор информации.

)       

Похожие работы на - Создание бизнес-плана производства корпусов двухтопливных форсунок

 

Не нашли материал для своей работы?
Поможем написать уникальную работу
Без плагиата!
Без нейросетей!