Загрязнение почвы отходами машиностроительных предприятий
Контрольная
работа
Загрязнение
почвы отходами машиностроительных предприятий
Отходы - остатки сырья, материалов,
полуфабрикатов и иных продуктов или изделий, которые были получены в процессе
потребления или производства, а также продукция (товары), утратившие свои
потребительские свойства.
Чаще всего используют три следующих способа
классификации отходов:
· по агрегатному состоянию;
· по происхождению;
· по видам воздействия на природную
человека и среду.
По агрегатному состоянию также отходы делятся на:
· твердые;
· жидкие;
· газообразные.
По происхождению их можно различить:
· промышленные отходы;
· сельскохозяйственные отходы;
· бытовые отходы.
По видам воздействия на природную человека и
среду выделяют:
1. токсичные отходы
2. радиоактивные отходы
. пожароопасные отходы
. взрывоопасные отходы
. самовозгорающиеся отходы
. коррозионные отходы
. реакционно-способные отходы
. отходы, вызывающие инфекционные
заболевания
. опасные отходы
К опасным относятся отходы, которые содержат
вредные вещества, обладающие опасными свойствами (токсичностью,
взрывоопасности, пожароопасность, высокой реакционной способностью) или
содержащие возбудителей инфекционных болезней, либо которые могут представлять
непосредственную или потенциальную опасность для здоровья человека и окружающей
природной среды, самостоятельно или при вступлении в контакт с другими
веществами.
Класс опасности отходов устанавливается с
применением экспериментальных или расчетных методов по степени возможного
вредного воздействия на окружающую природную среду при непосредственном или
опосредованном воздействии опасного отхода на нее.
Для оценки опасности отходов для окружающей
природной среды установлены следующие классы опасности:класс - чрезвычайно
опасные отходы;класс - высоко опасные отходы;класс - умеренно опасные
отходы;класс - мало опасные отходы;класс - практически неопасные отходы.
Под обращением с отходами следует понимать
деятельность, в процессе которой образуются отходы, а также деятельность по
сбору, утилизации (использованию), обезвреживанию и уничтожению,
транспортирование, размещению (хранению и захоронению) отходов.
Под обезвреживанием отходов следует понимать
деятельность, связанную с обработкой (в том числе со сжиганием и
обеззараживанием) отходов на специализированных установках в целях
предотвращения их вредного воздействия на здоровье человека и окружающую среду.
Под хранением отходов следует понимать временное
содержание отходов в объектах размещения в целях их последующего захоронения,
обезвреживания или использования.
Под захоронением отходов понимается изоляция
отходов, не подлежащих дальнейшему использованию, в специальных хранилищах в
целях предотвращения попадания вредных веществ в окружающую природную среду.
Предприятия, участвующие в обращении с отходами,
делятся на три категории (группы) с учетом класса опасности отходов, объемов их
образования на предприятии и порядка обращения с ними.
К I категории (группе) природопользователей по
обращению с отходами относят предприятия (организации):
· Имеющие технологические циклы
образования (обращения) отходов производства I и I I классов опасности и/или
· Применяющие в своей деятельности
технологические операции по приему, сортировке, захоронению, обезвреживанию,
рекуперации отходов, и прочие способы их утилизации.
В рассматриваемую группу не входят предприятия,
где единственными образующимися отходами I класса опасности являются
отработанные люминесцентные лампы, и объекты, на которых образующиеся отходы II
класса опасности представлены только отходами от обслуживания балансового
автотранспорта.
Ко II категории (группе) природопользователей по
обращению с отходами относят:
· Предприятия (организации), имеющие
технологические циклы (участки), где образуются производственные отходы III и
IV классов опасности;
· Природопользователей, не отнесенных
к I и III группе.
К III категории (группе) природопользователей по
обращению с отходами относят организации непроизводственной сферы, отвечающие
следующим критериям:
· Суммарное количество образующихся
отходов не превышает 30 тонн в год;
· Основную массу отходов составляют
отходы V и IV классов опасности;
· Масса отходов III класса опасности
не превышает 1% от общей массы образующихся отходов;
· Обустроенность мест размещения
отходов исключает их вредное воздействие на окружающую среду;
· У организации имеются в наличии
договора на передачу отходов сторонним организациям, занимающимся (по
оформленной лицензии) их размещением, обезвреживанием, утилизацией;
· Отдельно предусмотрен порядок сбора
и экологически безопасного размещения люминесцентных ламп.
Соответствие предприятия (организации) той или
иной группе природопользователей по обращению с отходами подтверждается
экспертом Белтехнадзора г. Минска по результатам рассмотрения ПНООЛР.
Твердые отходы машиностроительного производства
содержат:
1) амортизационный
лом (образуется при модернизация оборудования, оснастки, инструмента)
2) стружки
и опилки металлов, древесины, пластмасс и т.п.
3) шлаки
4) золы,
шламы, осадки и пыли (отходы систем очистки воздуха, сточных вод и др.)
Количество амортизационного лома зависит от
намеченного списания в лом изношенного оборудования и имущества, а так же от
замены отдельных деталей в планово-предупредительном ремонте. На
машиностроительных предприятиях 55% амортизации лома образуется от замены
технологической оснастки и инструмента. Безвозвратные потери металла в
результате истирания и коррозии составляет - 25% от общего количества
амортизирующего лома.
Размеры отходов металла в производстве зависят
от количества металла и сплавов подлежащие переработке, и установленного
коэффициента отходов. Отходы, машиностроительных предприятий:
1) от
производства проката(обрезки, обдирочная стружка, опилки, окалина и др.);
2) от
производства литья (литники, шлаки и д.р.);
3) от
механической обработки (высечки, обрезки, стружки, опилки и д.р.)
На предприятиях машиностроения отходы составляют
до 260 кг на 1 тону металла, иногда 50% массы обрабатываемой заготовки (при
листовой штамповке потери 60%). Источником образование отходов легированных
сталей являются металлообработка (84%) и амортизационный лом - 16%).
В машиностроении на 1 млн т. потребляемых черных
металлов безвозвратные потери металла, исчисляемые в тыс. т. составляют: 5,4
тыс. т. при обдирке, шлифовке и других видах обработки; 2,1 тыс. т - при ковке,
горячей штамповке и термической обработке (потери от окалины); 14 тыс. т. при
травлении металла; 15,2 - за счет неполного сбора отходов.
Окончательными отходами считают - такие,
переработка которых нерентабельна из-за низкого содержания металла. Отнесение к
нерентабельным и перевод отходов в отвальные шлаки и окончательные отходы
решаются руководством министерства или ведомства.
Шламы из остатков очистных сооружений и
прокатных цехов содержат большое количество твердых материалов, концентрация
которых составляет от 20 до 300 г/л. После обезвреживания и сушки шламы
используют в качестве добавки к агломерационной шихте или удаляют в отвалы.
Шламы термических, литейных и др. цехов содержат токсичные соединения свинца,
хрома, меди, Zn.
В небольших количествах промышленные отходы
могут содержать ртуть, удаленную из вышедших из строя приборов и установок.
Отходы производства, технология переработки
которая еще не разработана, складируют и хранят до появления новой
(рациональной) технологии переработке отходов.
Твердые отходы литейного производства включают
отработанные формовочные и стержневые смеси, включая брак форм и стержней,
просыпи и шлаки из отстойников пылеочистной аппаратуры и установок регенерации
песков (80-85 %); литейные шлаки (10-15 %); абразивную и галтовочную пыль,
огнеупорные материалы, керамику (2 - 3 %); древесные и бумажные отходы (1-2 %).
Твердые отходы литейного производства относятся к четвертой категории
опасности.
При условии соответствующего складирования и
последующей рекультивации они не нанесут серьезного ущерба окружающей среде.
По своему составу отходы подразделяются на три
категории опасности:
I - практически
инертные; это смеси, содержащие в качестве связующего глину, бетонит, цемент;
отсутствуют добавки и катали загары, содержащие соединения хрома. Количество
микроэлементов в них находится на уровне содержания в почвах. Эта категория
отходов безвредна для окружающей среды и может быть использована для проведения
планировочных работ, устройства насыпей;
II - отходы,
содержащие биохимически окисляемые вещества. Это смеси после заливки, связующим
в которых являются синтетические и природные композиции; отработанные
формовочные и стержневые смеси на основе карбамидных, фенольных, фурановых,
древесных, каменноугольных смол, лигносульфонатов, растительных масел и смеси,
отверждаемые органическими катализаторами, фосфорной кисло той или хлорным
железом. Присутствующие в отходах органические вещества имеют пониженную
растворимость в воде и способны разлагаться пол действием внешних факторов
(кислорода, озона, солнечного света), а также микроорганизмов, содержащихся в
почве. Основным требованием при захоронении отходов второй категории опасности
является отсутствие контакта с грунтовыми и поверхностными водами, имеющими
выход к открытые водоемы. Атмосферные осадки не играют роли переносчика вредных
органических компонентов из отходов в почву из-за низкой растворимости и
быстрого биологического разложения;
III - отходы,
содержащие слаботоксичные, малорастворимые в воде вещества. Это жидкостекольные
смеси, песчаносмоляные смеси, смеси, отверждаемые соединениями цветных и
тяжелых металлов. Эго отходы, содержащие соединения меди, хрома, цинка и
свинца, которые могут переноситься даже атмосферными осадками в почву и
накапливаются в растениях, отрицательно влияя на экологию окружающей среды.
Захоронение таких отходов целесообразно
проводить либо на грунт с низким коэффициентом фильтрации, либо на
предварительно складированные отходы первой и второй категорий. Согласно ГОСТ
17.5.103-78 отходы литейного производства можно отнести к малопригодным для
биологической рекультивации субстратам.
Таблица 1 -Токсичные вещества в отработанных
смесях
|
Связующие
|
|
-
|
|
Класс
|
Марка
|
Катализатор
|
Токсичные
вещества
|
|
Карбамид
офор-
|
У
КС, М-19-62,
|
Щавелевая
и ор-
|
Формальдегид,
метанол.
|
|
мальдегидные
|
м-з,
ак-1
|
тофосфорная
кислоты
|
аммиак,
метиламины, цианиды, ацетонитрил, уротропин, фосфаты
|
|
Фенолсфор-
|
ОФ-1,
|
бензосульфокис-
|
Формальдегид,
метанол.
|
|
мальдегидные
|
СФ-3042,
СФЖ-305, СФ-015
|
лота,
уротропин
|
толуол,
ксилол, фенол, крезалм, ксенолы, сульфаты, цианиды
|
|
Карбамидофу-
|
КФ^90,
БС-40,
|
Орто
фосфорная
|
Формальдегид,
метанол,
|
|
рановые
|
'Фуритол-107”
|
и
бенюлсульфр - кнелотьт, хлорная медь
|
фуран,
аммиак, метиламины фенол, фурфурол, фосфаты. цианиды
|
|
Жидкостекольные
|
Жидкое
стекло
|
Двуокись
углероду амины, фер - рохргшлным шлак, винилацетаты
|
Силикаты*
карбонаты и j ацетат
натрия, соединения хрома
|
|
Продукты
пере-
|
ЛСГ,
ОСТ-11,
|
Хромовый
ЗИ'ИЦ-
|
Альдегиды,
сульфонаты,
|
|
работки
растительного сырья
|
и
др.
|
рид
персульфаты, окислители
|
соединения
хрома
|
ОЧИСТКА ВОЗДУХА ОТ ПЫЛИ
Установки очистки газа (ГОСТ 17.2.1.04-77) -
комплекс сооружений, оборудования и аппаратуры, предназначенный для отделения
от поступающего из промышленного источника газа или превращение в безвредное
состояние веществ, загрязняющих атмосферу.
Установки подразделяются на газоочистные и
пылеулавливающие. В зависимости от метода очистки, аппараты разделяют на семь
групп:
I - (С) - сухие
механические пылеуловители (гравитационные, инерционные, ротационные);
II - (М) -
мокрые пылеуловители (инерционные, конденсационные), скрубберы (механические,
ударно-инерционные, полые, насадочные, центробежные), скрубберы Вентури;
III - (Ф) -
промышленные фильтры (рукавные, волокнистые, карманные, зернистые);
IV - (Э) -
электрические пылеуловители (сухие, мокрые электрофильтры);
V - (Х) - аппараты
сорбционной (химической) очистки газа от газообразных примесей;
VI - аппараты
термической и термокаталитической очистки газа от газообразных примесей;
VII - (Д) -
аппараты других методов очистки.
При рассмотрении пылегазовых выбросов, основными
характеристиками являются: количество отходящих газов, их температура,
химический состав, концентрация газообразных составляющих и пыли, дисперсный
состав пыли. Но для оптимального выбора систем очистки, для обеспечения их
надежной эксплуатации составляются опросные карты или анкеты, в которых должны
быть отражены необходимые исходные данные, более точные характеристики
агрегатов и выбросов из них. К ним относятся:
1. Конструкция
и технические характеристики агрегата:
– мощность;
– высота
полезная и общая;
– диаметры
шахты, трубы, газоходов, размеры завалочного окна;
– способ
загрузки;
– применяемые
очистные сооружения и параметры их работы.
2. Количественные
параметры газовых выбросов:
– расход
и температура отходящих газов;
– запыленность
мгновенная и общая, разбавление газов;
– атмосферное
давление, температура окружающей среды и влажность.
3. Физико-химические
параметры газового потока:
– состав
и температура газов на выходе из печи и по тракту;
– влажность,
скорость и равномерность распределения потока по тракту;
– давление
или разряжение;
– наличие
масел в виде паров или аэрозолей в отходящих газах;
– выбивание
или подсос воздуха.
– дисперсность
пыли, минералогический и химический состав по фракциям и общий, плотность;
– удельное
электрическое сопротивление и заряженность частиц аэрозоля;
– геометрические
параметры (форма частиц);
– адгезионные
свойства, смачиваемость, слипаемость;
– взрывобезопасность.
Важным является определение концентрации пыли в
воздухе. Существует ряд известных методов.
. Методы, основанные на предварительном
осаждении частиц.
Основное преимущество этих методов - возможность
измерения массовой концентрации пыли; недостатки - циклический характер
измерения, трудоемкость, низкую чувствительность, обусловливающую длительный
отбор проб при измерении малых концентраций
Прямой весовой метод. Основан на принципе
определения привеса фильтра после протягивания через него определенного объема
исследуемого воздуха. Оценивают количество пыли, находящейся в единице объема
воздуха, мг.
К достоинствам весового метода относится то, что
он измеряет массовую концентрацию пыли, и на его показания не влияют изменения
химического и дисперсного состава пыли, формы частиц, их оптических,
электрических и других свойств. Метод позволяет измерять большие концентрации
пыли. Техника измерения сравнительно проста, но сам процесс измерения довольно
длителен и трудоемок. С точки зрения непрерывного промышленного пылевого
контроля весовой метод не удовлетворяет основному требованию - непрерывности
измерения. Однако в последнее время найден способ получения непрерывной
информации о мгновенном значении концентрации пыли в выбросах, который состоит
в следующем. Поскольку накопление пыли на фильтре является процессом
интегрирования, то, имея непрерывный сигнал о нарастании массы осевшей пыли,
можно автоматически дифференцировать его, чтобы получить выходной сигнал,
соответствующий мгновенному значению концентрации пыли. Осуществление метода
требует полной автоматизации всех измерительных операций, что обусловливает
сложность и высокую стоимость аппаратуры.
Несмотря на указанные недостатки, весовой метод
нашел самое широкое применение при осуществлении пылевого контроля выбросов
промышленных предприятий; в настоящее время он является общепринятым методом
измерения концентрации пыли. Все существующие и вновь разрабатываемые пылемеры,
основанные на других методах измерения, градуируют, используя весовой метод в
качестве контрольного. Однако это не всегда метрологически правильно, поскольку
разрабатываемые методы, как правило, превосходят по точности весовой метод.
Денситометрический метод основан на
предварительном осаждении частиц пыли на фильтре и определении оптической плотности
пылевого осадка. Он включает все операции весового метода, исключая взвешивание
пробы, которое заменено фотометрированием. Оптическую плотность осадка
определяют путем измерения поглощения или рассеяния им света.
Пьезоэлектрической метод основан на изменении
собственной частоты колебаний пьезокристалла во время осаждения на его
поверхности частиц пыли. При малых амплитудах колебаний кристалла уменьшение
частоты колебаний последнего прямо пропорционально массе осевшей на нем пыли.
Метод, основанный на измерении перепада давления
на фильтре. Он включает прокачивание порции пылегазового потока через фильтр и
измерение разности давлений на входе и выходе фильтра. Результаты измерения
пропорциональны массовой концентрации пыли. Достоинством метода является
сравнительная простота его реализации. Однако требует строгой стабилизации
основных параметров пылегазового потока (скорости, температуры и др.).
Существенным недостатком методов первой группы
является влияние на полученный результат изменения дисперсного состава и других
свойств пыли.
. Методы измерения концентрации пыли без
предварительного ее осаждения.
Преимуществами методов второй группы являются
возможность непосредственных измерений в самом пылегазовом потоке без
использования пробоотборного устройства, непрерывность измерений, высокая
чувствительность, практическая безинерционность, возможность полной
автоматизации процесса измерений. Во время измерений поток не подвергается
аэродинамическому искажению.
Электрические методы. К группе пылемеров, разработанных
на базе этого метода, относится контактно-электрический. Он основан на
способности пылевых частиц электризоваться при контактировании с преградой,
выполненной из контактно-активного материала, и отдавать приобретенный
поверхностный заряд токопроводящим элементам преграды. Основными элементами
контактно-электрического измерительного преобразователя являются электризатор,
в котором происходит зарядка частиц, и токосъемный электрод. Зависимость
массовой концентрации частиц от силы зарядного тока в цепи токосъемного
электрода имеет линейный характер при концентрации пыли до 2 г/м3, когда
большая часть частиц пыли контактирует с внутренней поверхностью электризатора
и токосъемного электрода и суммарная величина регистрируемого заряда
пропорциональна количеству частиц.
Акустический метод основан на измерении
параметров акустического поля при наличии частиц пыли в рабочем зазоре между
источником и приемником звука.
Фотометрический метод. Этот метод основан на
изменении светового импульса при прохождении через узкий пучок света частиц.
Световые импульсы регистрируются фотоэлектронным умножителем, связанным с
катодным осциллографом или счетным устройством.
. Процесс очистки газов от твердых и капельных
выбросов в различных аппаратах характеризуется общей эффективностью очистки
η = (Свх - Свых ) /
Свх
где Свх, Свых - массовые концентрации примесей
до и после аппарата очистки.
Эффективность пылеулавливающей системы,
включающей не - сколько последовательно установленных аппаратов, эффективность
каждого из которых соответственно равна η1,
η2…,
ηn,
определяется по формуле
η = [1 - (1 - η1)
(1 - η2)…
(1 - ηn)]
Работа пылеуловителей характеризуется другим
важным показателем - энергозатратами. Для сравнения величин энергозатрат
различных типов пылеуловителей, рассчитанных на разную производительность,
энергозатраты пересчитывают на 1000 м3/ч очищенного газа и называют удельными
энергозатратами. Энерго затраты пылеулавливания ΔW
включают энергию, которая тратится на преодоление гидравлического сопротивления
аппарата ΔWр, и прочие виды
дополнительной энергии ΔWп,
расходуемой, например, на поддержание тока короны в электрофильтрах, на подачу
и диспергирование жидкости в мокром аппарате и т. д.:
ΔW = ΔWp
+ ΔWп
Удельные энергозатраты (кВтч/ 1000 м3),
связанные с преодолением гидравлического сопротивления аппарата ΔWр,
определяются по формуле
ΔWР = 
где Q - объемный расход газа, проходящего через
аппарат, тыс. м3/ч; Δp -
гидравлическое сопротивление пылеуловителя, Па;
ηв - коэффициент
полезного действия воздуходувной машины.
Величина Δр
(Па) определяется по формуле
где ξ
- приведенный коэффициент сопротивления аппарата к его характерному сечению,
например площади поперечного сечения цилиндрической части циклона;
ρ и υ
- плотность и усредненная скорость газового потока в характерном сечении, кг/м3
и м/c соответственно.
. В сухих инерционных пылеулавливающих
устройствах очистка газового потока от пыли осуществляется за счет
гравитационных, инерционных и центробежных сил. Под действием гравитационных
сил пыль осаждается в пылеосадительных камерах
Рисунок 1 - Схема пылеосадительной камеры
Принцип действия аппарата. Запыленный газ,
движущийся с высокой скоростью по газоходу, входит в камеру, имеющую
значительно большую площадь поперечного сечения, чем сам газоход. Вследствие
этого скорость газового потока резко снижается. Содержащаяся в газовом потоке
пыль выпадает из него под действием гравитационных сил или сил тяжести. Условия
осаждения пыли в инерционных камерах должны быть такими, чтобы частицы осели на
дно камеры раньше, чем из нее выйдет газовый поток. Для сбора уловленной пыли
дно камеры выполняют в виде бункеров, в которых происходит накопление пыли. Чем
меньше плотность газового потока, тем меньшее сопротивление он оказывает
пылевым частицам при их осаждении. Плотность газа уменьшается при понижении
температуры, т. е. при более низкой температуре эффективность действия этих
камер возрастает. Такие пылеосаждающие камеры строили обычно из кирпича, бетона
или металла. В них происходит удовлетворительная очистка газопылевого потока от
частиц пыли размером более 40 мкм. Так как пылеосадочные камеры имеют довольно
значительные размеры, а эффективность не велика, то применение их
ограничивается в качестве очистителей первой ступени перед аппаратами,
предназначенными для очистки газового потока от мелкодисперсной пыли.
Широкое применение для сухой очистки газов
получили циклоны различных типов (рис. 2). В зависимости от дисперсного состава
пыли и требований, предъявляемых к очистке газа, циклоны могут использоваться
как самостоятельно, так и в качестве аппаратов для предварительной грубой
очистки газопылевого потока в комплексе с аппаратами для тонкой очистки.
Рисунок 2 - Циклон: 1 - выхлопная труба; 2 -
входной патрубок; 3 - кольцевое пространство; 4 - коническая часть корпуса; 5 -
пылевыпускное устройство; 6 - бункер; 7 - пылевой затвор; 8 - винтообразная
лопасть
Запыленный газовый поток поступает в циклон
через входной патрубок 2, который расположен в верхней части аппарата по
касательной к цилиндрической части корпуса. Газовый поток при входе в циклон
приобретает вращательное движение. Он поступает сверху вниз в кольцевом
пространстве 3 между внешней поверхностью выхлопной трубы 1 и внутренней
поверхностью цилиндрической части корпуса циклона. Для усиления эффективности
вращения сразу за входным патрубком устроена винтообразная лопасть 8. При
вращении вместе с газовым потоком частицы пыли подвергаются действию
центробежных сил, которые отбрасывают их к внутренней поверхности цик лона.
Поток газа вместе с пылью образует в циклоне нисходящий кольцевой вихрь. Для
увеличения скорости газопылевого потока перед попаданием его в бункер 6 за
цилиндрической частью корпуса изготовлена коническая 4. Данное конструкторское
решение необходимо для того, чтобы пылевидные частицы газопылевого потока
приобретали более высокую скорость. За счет этого из него удаляются оставшиеся
частицы пыли через пылевыпускное устройство 5 в бункер 6. В самом бункере
газопылевой поток резко теряет скорость. Вследствие этого из него удаляются
оставшиеся частицы пыли. Поток газа, освободившись от пыли, разворачивается на
180о и за счет разряжения, возникающего в центральной части циклона,
всасывается через пылевыпускное отверстие в выхлопную трубу 1, создавая
внутренний вихрь (сплошная линия). Внизу, в бункере, установлен пылевой затвор
7, через который пыль удаляется из аппарата. Такие центробежные циклоны
способны улавливать частицы пыли с размером менее 10 мкм. Аппараты рассчитаны
на работу при давлении или разряжении 2500 Па, способны производительно
работать при температуре газопылевого потока до 400 С. Для очистки больших
количеств запыленного газа устанавливают батареи из таких циклонов (рис. 3)
Батареи состоят из большого числа параллельно
установленных циклонных элементов 1. Конструктивно они объединяются в один
корпус и имеют общий подвод и отвод газа. Опыт эксплуатации батарейных циклонов
показал, что эффективность очистки таких циклонов несколько ниже эффективности
отдельных элементов из-за перетока газов между циклонными элементами.
Ротационные пылеуловители относятся к аппаратам
центробежного действия и представляют собой машину, которая одновременно с
перемещением воздуха очищает его от относительно крупных фракций пыли (>5-8
мкм). Обладают большой компактностью, так как вентилятор и пылеуловитель обычно
совмещены в одном агрегате. В результате этого при монтаже и эксплуатации таких
машин не требуется дополнительных площадей, которые необходимы для размещения
специальных пылеулавливающих устройств при перемещении запыленного потока
обыкновенным вентилятором.
Рисунок 3 - Батарейный циклон: 1- циклонный
элемент
Конструктивная схема простейшего пылеуловителя
ротационного типа представлена на рис.4. При работе вентиляторного колеса 1
частицы пыли за счет центробежных сил отбрасываются к стенке спиралеобразного
кожуха 2 и движутся по ней в направлении выхлопного отверстия 4. Газ,
обогащенный пылью, через специальное пылеприемное отверстие 3 отводится в
пылевой бункер, а очищенный газ поступает в выхлопную трубу 4.
фильтр газ твердый капельный
Рисунок 4 - Пылеуловитель ротационного типа: 1 -
вентиляторное колесо; 2 - спиралеобрзный кожух; 3 - пылеприемное отверстие; 4 -
выходной патрубок
Для повышения эффективности пылеуловителей такой
конструкции необходимо увеличивать переносную скорость очищаемого потока в
спиральном кожухе (это ведет к резкому повышению гидравлического сопротивления
аппарата) или уменьшать радиус кривизны спирали кожуха (это снижает его
производительность). Такие машины обеспечивают достаточно высокую эффективность
очистки воздуха при улавливании сравнительно крупных частиц пыли (свыше 20-40
мкм).
Фильтрация запыленного газа через ткань -
надежный способ улавливания очень тонких фракций пыли. Фильтры обеспечивают
улавливание частиц разных размеров. Эффективность фильтров 99%. Фильтры,
используемые в технике: волокнистые, тканевые, пористые, зернистые.
Наибольшее распространение в промышленности для
сухой очистки газовых выбросов от примесей имеют тканевые рукавные фильтры
(рис. 5). В корпусе фильтра 2 устанавливается необходимое число рукавов 1, во
внутреннюю полость которых подается запыленный газ от входного патрубка 5.
Частицы загрязнений за счет ситового и других эффектов оседают в ворсе и
образуют пылевой слой на внутренней поверхности рукавов. Очищенный воздух
выходит из фильтра через патрубок 3. При достижении определенного перепада
давления на фильтре его отключают от системы и производят регенерацию встряхиванием
рукавов с обратной их продувкой сжатым газом. Регенерация осуществляется
специальным устройством 4. При очистке ткани удаляется значительная часть
пылевого слоя, но внутри ткани между волокнами остается достаточное количество
пыли, что обеспечивает высокую эффективность очистки газов в фильтре после его
регенерации.
Для изготовления рукавов применяют различные
ткани и войлоки. Рукавные тканевые фильтры используются при входных
концентрациях примесей до 60 г/м3 и обеспечивают эффективность очистки выше
0,99. Гидравлическое сопротивление фильтров обычно не превышает 500-2000 Па.
Производительность по газу зависит от числа рукавов, объединенных в общий
корпус. В крупногабаритных фильтрах большой производительности число рукавов
может достигать нескольких сотен штук.
Одним из условий нормальной работы рукавных
фильтров является поддержание температуры очищаемых газов по газовому тракту
фильтра в определенных пределах. Температура газа на входе в фильтр, с одной
стороны, не должна превышать максимально допустимую для ткани и, с другой
стороны, быть выше температуры точки росы на 15-30° С.
Рисунок 5 - Рукавный фильтр: 1 - фильтрующая
ткань; 2- корпус; 3 - выходной патрубок; 4 -устройство регенерации; 5 - входной
патрубок
. Мокрые пылеуловители обладают рядом
преимуществ перед другими типами пылеуловителей: являются высокоэффективными
пылеуловителями, способными конкурировать с фильтрационными пылеуловителями и
электрофильтрами; успешно применяются для обеспыливания высокотемпературных
газов, взрыво- и пожароопасных сред, когда применение эффективных
пылеуловителей другого типа невозможно или нецелесообразно. С помощью аппаратов
мокрого действия можно одновременно решать задачи пылеулавливания и чистки
газового потока от газообразных компонентов, охлаждения и увлажнения газов.
Многие типы мокрых пылеуловителей работают при высоких скоростях газа в
проточной части аппарата, и данный фактор делает их малогабаритными, менее
металлоемкими по сравнению с аппаратами других типов. Иногда, такие аппараты,
обладающие высокими адгезионными свойствами, являются единственным типом
пылеуловителей.
Недостатки, которые ограничивают область
применения мокрых пылеуловителей: необходимость наличия систем шламоудаления и
оборотного водоснабжения, что приводит к удорожанию процесса пылеулавливания.
Работа аппаратов сопряжена с неизбежными потерями дефицитной в настоящее время
воды. Процессы утилизации уловленной пыли в виде шлама в большинстве случаев
значительно дороже процессов вторичного использования пыли в сухом виде. Мокрые
аппараты и отводящие газоходы подвержены коррозии, особенно при очистке
агрессивных газов. Поэтому такие аппараты требуют дополнительных мероприятий по
антикоррозионной защите.
Можно считать, что экономическая целесообразность
применения мокрых пылеуловителей ограничивается следующими условиями их
применимости.
1. Мокрые пылеуловители можно устанавливать
тогда, когда сухие аппараты оказываются неработоспособным и если требуемая
эффективность пылеулавливания может быть достигнута только с применением
аппарата мокрой очисти.
. Применение мокрых пылеуловителей целесообразно
в том случае, когда наряду с пылеулавливанием ставятся задачи улавливания
газообразных компонентов и охлаждения газов.
. Применение мокрых аппаратов на любом
промышленном предприятии будет экономически целесообразно, если на данном
предприятии имеется система оборотного водоснабжения и шламопереработки.
Эффективность пылеулавливания в мокрых
пылеуловителях зависит от поверхности контакта газообразной и жидкой фаз, а
также от вида поверхности контакта, способа ввода одной фазы в другую, способа
диспергирования жидкости. По виду контактной поверхности фаз различают
поверхности капель, пленки и пузырьков. В ряде аппаратов могут иметь место
одновременно два вида поверхности фаз.
Одним из аппаратов «мокрой» очистки является
полый скруббер (рис. 6).
Рисунок 6 - Схема полого жидкостного скруббера:
1а-1г - ярусы орошения; 2 - подводы воды; 3 - гидрозатвор с высотой H запирающего
столба воды; 4 - клапан; 5 - задвижка; 6 - канал шлаковой воды; 7 - задвижки; 8
- промывка; 9 - люк; 10 - свеча
Конструктивно полый скруббер представляет собой
башню цилиндрического или прямоугольного типа. В верхней ее части располагаются
форсунки таким образом, чтобы все поперечное сечение аппарата перекрывалось
жидкостной завесой. Таким образом, пылегазовый поток движется в скруббере снизу
вверх, встречаясь с разбрызгиваемой жидкостью, движущейся навстречу потоку.
Такие скрубберы называются противоточными. В случае расположения орошающих
форсунок в несколько ярусов, верхний ряд должен быть направлен факелами вниз. В
остальных рядах форсунок факелы выброса жидкости направлены вверх, т. е. по
ходу движения газового потока. Очищенный газ выводится из скруббера в верхней
части. Выделившаяся из потока жидкость вместе с водой образует шлам, который
скапливается в бункере-накопителе, откуда через гидравлический затвор выводится
в шламовую канализацию. В данном противоточном полом скруббере осуществляется
очистка газопылевого потока от пылевых частиц с крупностью 10 мкм и
одновременно происходит увлажнение и охлаждение газа. Эти аппараты применяются
для грубой очистки. Они устанавливаются перед аппаратами тонкой очистки
газопылевого потока. Для улучшения контакта газопылевого потока с жидкостью
применяют дополнительную смачивающую насадку, которая в большинстве случаев
состоит из керамических колец, втулок или других керамических элементов.
Насадку засыпают на специальную решетку, состоящую из керамических элементов.
При прохождении газопылевого потока через такую насадку газы меняют направление
своего движения, и за счет этого очистка газопылевого потока происходит более
эффективно. Недостатком такого способа очистки является трудоемкость
регенерации самой осадки. За мокрыми скрубберами необходимо предусмотреть
установку каплеуловителей.
В барботажных аппаратах газовый поток,
содержащий во взвешенном состоянии частицы пыли или капли жидкости, проходит в
виде пузырьков через слой жидкости. При этом происходит образование поверхности
соприкосновения газа с жидкостью и за счет этого охлаждение газа и улучшение
условий очистки газопылевого потока от взвешенных частиц. В ротоклонах
газопылевой поток проходит через щелевые каналы (импеллеры), образованные
изогнутыми лопатками, нижняя часть которых опущена в жидкость (рис. 7).
Важную роль для нормальной эксплуатации
ротоклона играет поддержание постоянного уровня жидкости в аппарате. Даже
незначительное изменение уровня жидкости может привести к резкому снижению
эффективности или значительному увеличению гидравлического сопротивления.
Удельный расход воды в данном ротоклоне не
превышает 0,03 л/м3.
Рисунок 7 - Схема ротоклона: 1 - устройство для
подвода газопылевого потока; 2 - направляющие лопатки; 3 - зона промывки; 4 -
каплеотбойники; 5 - вентилятор для вывода газа; 6 - транспортер для удаления
шлама
При прохождении газового потока через импеллеры
за счет турбулентности создается завеса из разбрызгиваемой жидкости. В данной
завесе и происходит очистка газа от содержащейся в нем пыли и его охлаждение.
Осаждающийся при таком процессе и накапливающийся шлам по мере его сбора
удаляется из аппарата с помощью специального транспортера. В аппаратах данного
типа производится улавливание пыли с размером 5 мкм и более. Большим
эксплуатационным достоинством ротоклонов является возможность изменения их
производительности в пределах 25 % от номинальной без заметного снижения
эффективности. Гидравлическое сопротивление аппаратов составляет 1000-1500 Па.
Для эффективной очистки газопылевого потока
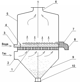
можно использовать пенные аппараты (рис. 8).
Принцип действия: вода или другая жидкость
поступает на перфорированную поверхность решетки, вступая во взаимодействие с
газопылевым потоком, идущим снизу вверх. При этом основным условием является
превышение скорости газового потока над скоростью свободного всплывания
пузырьков при барботаже. В этом случае над слоем воды будет образовываться
пена, состоящая из пузырьков газа и капелек воды. В этой пене газопылевой поток
будет интенсивно перемешиваться с частицами жидкости. Аппараты, в которых
используется данный принцип, называются пенными. При прохождении газопылевого
потока через отверстия решетки слой жидкости, образующийся на решетке, делится
на три части:
– сплошной
слой жидкости непосредственно на решетке;
– слой
пены;
– слой
брызг, расположенный выше.
Рисунок 8 - Схема пенного аппарата: 1 - решетка
с отверстиями диаметром 2-8 мм; 2 - входной патрубок; 3 - приемная коробка; 4 -
пороги; 5 - корпус; 6 - выходное отверстие; 7 - сливная коробка;8 - патрубок
для выхода газа; 9 - бункер; 10 - затвор для удаления шлама
В основном очистка и охлаждение газопылевого
потока происходят в слое пены. Частицы пыли оседают вначале на решетку, а затем
вместе с водой удаляются в виде шлама через порог в сливную коробку. При работе
такого пенного аппарата около 50 % жидкости сливается в бункер, а остальное
количество удаляется через патрубки, которые снабжены гидрозатворами. Аппарат
позволяет удерживать частицы пыли от 2 мкм и более.
К недостаткам пенных аппаратов относится
недопустимость колебаний расхода очищаемого газа и трудности качественной
очистки газов в аппаратах большой производительности из-за неодинаковой толщины
слоя пены по всей площади решетки.
Скоростные пылеуловители с трубами Вентури (СПУ)
(рис. 9)
Рисунок 9 - Схема пылеуловителя СПУ: 1 -
конфузор; 2 - горловина; 3 диффузор; 4 - циклон;5 - инерционный пылеуловитель;
6 -гидрозатвор для удаления шлама
Если в газе содержатся частицы пыли с размером
менее 5 мкм, то очистка его в инерционных и центробежных аппаратах будет
недостаточно эффективной. В этом случае применяется система аппаратов (например
типа СПУ), в которых в качестве коагуляторов мелкой пыли устанавливается труба
Вентури. Для очистки газопылевого потока от крупных частиц пыли и капель
жидкости обычно после трубы Вентури устанавливаются инерционные аппараты. В
качестве последних используются циклоны или скрубберы.
Турбулентный промыватель, основу которого
составляет труба Вентури, состоящая из трех частей, работает следующим образом.
В горловину аппарата подается вода. Поступающий газопылевой поток вводится в
отверстие конфузора, где происходит увеличение его скорости. В данных аппаратах
осуществляется диспергирование жидкости потоком газа в горловине трубы при
скоростях 40-150 м/c. Тонкость диспергирования жидкости - 10 мкм. При этом
получается развитая поверхность контакта между жидкой и газовой фазой, что в
сочетании с интенсивной турбулизацией потока создает условия для эффективного
захвата даже субмикронных частиц пыли каплями жидкости, которые укрупняясь в
диффузоре трубы Вентури, отделяются от газа в каплеуловителе. Кроме высокой
эффективности очистки газов, соизмеримой с эффективностью пылеулавливания в
тонковолокнистых фильтрах и электрофильтрах, скоростные газопромыватели просты
по устройству и эксплуатации, компактны. За счет турбулентности, происходит
дробление водного потока на мельчайшие частицы, которые способствуют разрушению
газовой оболочки вокруг пылевидных частиц. Чем выше скорость движения
газопылевого потока, тем меньший размер имеют образующиеся капельки воды. Эти
капельки интенсивно перемешиваются в потоке с частицами пыли, укрупняя их.
Вследствие этого происходит процесс коагуляции пыли. Скоагулировавшая пыль
через пыле- и брызгоуловитель поступает в бункер для накопления шлама, а
параллельно с этим более крупные частицы пыли вытягиваются в циклон, где
происходит отделение частиц от газового потока. Затем увлажненная пыль в виде
шлама поступает в шламосборник циклона. Давление газа в промышленных трубах
Вентури составляет 200-300 Кн/м2.
Данные аппараты позволяют удалять пыль с
размером частиц до 1 мкм и более. Однако такие недостатки, как высокие
энергозатраты на очистку, обусловленные сопротивлением аппаратов до 20 кПа,
повышенные удельные расходы жидкости (0,7-0,8 л/м3) ограничивают область их
применения.
Электрофильтры.
Принцип действия электрических фильтров
заключается в зарядке частиц пыли, находящейся в газопылевом потоке под
воздействием электрического поля. Данные процессы могут протекать в
электрических фильтрах как без пространственного разделения (т. е. в одной
зоне), так и в двух зонах. При двухзонной системе первая обычно служит для
зарядки частиц и называется ионизатор. Вторая, которая служит для выделения
пылевидных частиц - осадитель. Необходимый для придания частицам пыли заряд
создается потоком ионов за счет коронирующего электрода в неоднородном
электрическом поле.
Принципиальная схема аппарата для очистки
газопылевого потока с применением электрофильтра представлена на рис. 10.
Рисунок 10 - Схема установки
электрофильтрования: 1 - груз; 2 - коронирующий электрод; 3 - осадительный
электрод; 4 - изолятор; 5 - выпрямитель; 6 - повышающий трансформатор; 7 -
регулятор напряжения; 8 сеть; 9 - заземление
Принцип действия фильтра. После подачи
напряжения на коронирующий электрод в фильтр подается запыленный газовый поток.
Находящаяся в потоке пыль при соприкосновении с
коронирующим электродом ионизируется и затем выделяется из газопылевого потока
на стенках сосуда, которые одновременно служат осадительными электродами.
Очищенный газ поднимается и выходит из аппарата
через выходное отверстие. Выпавшая из газопылевого потока пыль накапливается
внизу аппарата в бункере и затем удаляется из него через специальный затвор.
Литература
1.
Акимова Т.А., Хаскин В.В.. Экология. Человек-экономика-биота-среда., М.,
«ЮНИТИ», 2007.
.
Шилов И.А. Экология. М.: Высшая школа, 2001.
.
Ильин В.И.. Экология, М., «Перспектива», 2007.
.
Новиков Ю.В. Экология, окружающая среда и человек. М., «ФАИР-ПРЕСС»,2003.
.
Никаноров А.М., Хорунжая Т.А.. «Глобальная экология», М., ЗАО, «Книга сервис»,
2003.
.
Марфенин Н.Н. Концепция «устойчивого развития» в развитии / Россия в окружающем
мире: 2002 (Аналитический ежегодник) // Под общей редакцией: Данилова-Данильяна
В.И., Степанов С.А. - М.:Изд-во МНЭПУ, 2002.
.
Бигалиев А.Б., Халилов М.Ф., Шарипова М.А. Основы общей экологии Алматы, «Қазақ
университеті», 2007.
.
Колумбаева С.Ж., Бильдебаева Р.М. Общая экология. Алматы, «Қазақ
университеті», 2006.
Дополнительная:
.
Хандогина Е.К, Герасимова Н.А., Хандогина А.В.. Экологические основы
природопользования, М., «Форум», 2007.
.
Вернадский В.И. «Философские мысли натуралиста», М., «Наука», 1988.
.
Вернадский В.И. «Живое вещество», М., «Наука», 1969 г.
.
Доклады Министерства охраны окружающей среды РК «О состоянии природой среды РК»
2000-2007 гг.
.
Гутенев В.В., Денисов В.В., Камышев А.П., Москаленко А.П., Нагибеда Б.А.,
Осадчий С.Ю., Хорунжий Б.И. Промышленная экология, М., «МарТ», 2007.
.
Маркович Д. Социальная экология. Москва «РУДН», 1998.
.
Медоуз Д.Х., Медоуз Д.Л., Рандерс Й., Беренс В.В. Ш. Пределы роста. Москва:
МГУ, 1991.
.
Концепция экологического образования Республики Казахстан. Астана, 2002.
.
Концепция экологической безопасности Республики Казахстан. Астана, 2002.
.
Доклад конференции ООН по окружающей среде и устойчивому развитию,
Рио-де-Жанейро, 1992. Том 1, Нью-Йорк, 1993.
.
Экологический кодекс РК, Астана 2007 г.
.
Экология. Под ред. Денисова В.В. Ростов-на-Дону: МарТ, 2002.
.
Арустамов Э.А., Левакова И.В., Баркалова Н.В. Экологические основы
природопользования. М.: 2001.
.
Ермолаев Б.В. Основные положения о ноосфере. Единство биосферы и человека. -
М., 1999.