Воздействие на окружающую среду предприятий деревообрабатывающей отрасли

  • Вид работы:
    Дипломная (ВКР)
  • Предмет:
    Экология
  • Язык:
    Русский
    ,
    Формат файла:
    MS Word
    157,69 Кб
  • Опубликовано:
    2014-08-09
Вы можете узнать стоимость помощи в написании студенческой работы.
Помощь в написании работы, которую точно примут!

Воздействие на окружающую среду предприятий деревообрабатывающей отрасли

МИНИСТЕРСТВО ОБРАЗОВАНИЯ РЕСПУБЛИКИ БЕЛАРУСЬ

Учреждение образования

«Гомельский государственный университет

имени Франциска Скорины»

Геолого-географический факультет

Кафедра экологии






Дипломная работа

Воздействие на окружающую среду предприятий деревообрабатывающей отрасли

Исполнитель студент

группы ГЭ-52

Н.И. Жордочкина

Научный руководитель

ассистент А.С. Соколов

Рецензент

преподаватель кафедры географии

к.с-х.н. Г.З. Гуцева

Гомель 2013г.

Реферат

Ключевые слова: лесная, деревообрабатывающая и целлюлозно-бумажная промышленность; деревообработка; производство бумаги; пиломатериалы; плитные материалы из древесины; древесная биомасса; окружающая среда; биологические загрязнения; экологические проблемы; атмосфера

Объект исследования: деревообрабатывающая промышленность

Цель дипломной работы: оценка загрязнения атмосферы предприятиями лесной, деревообрабатывающей и целлюлозно-бумажной промышленности.

Методы исследования: описательный, сравнительный, обобщающий

Полученные результаты: были проведены газопылевые испытания вентиляционной системы АС-51, которая находится на ЧПУП «Гомельобои» на столярном участке ремонтно-механического цеха. В результате на входе в ГОУ была получена средняя концентрация равная 438,999 мг/м3, а на выходе 39,823 мг/м3. Концентрация твердых частиц на выходе из ГОУ не превышает 50 мг/м3, что соответствует требованиям СНБ 4.02.01-03. По результатам замеров была рассчитана эффективность очистки, которая составила 91,2 %. Параметры работы газоочистной установки соответствуют проектным значениям. Работу ГОУ следует считать эффективной.

По данным проекта нормативов допустимых выбросов загрязняющих веществ в атмосферный воздух ЧПУП «Гомельобои» относится ко второй категории воздействия. По результатам инвентаризации суммарные выбросы загрязняющих веществ составили - 26,051834 г/с и 163,630848 т/год.

Очень остро стоит в настоящее время проблема отходности целлюлозно-бумажных комбинатов. Многотонные отходы этих предприятий складируются, занимая большие площади и отрицательно воздействуя на окружающую среду. Основными методами борьбы с отходами являются их сжигание либо переработка с целью получения полезных продуктов.

Введение

В состав отрасли входят следующие подотрасли: лесозаготовительная - заготовка и транспорт древесины; лесная - выпускает деловую древесину, пиломатериалы; деревообрабатывающая - производство строительных деталей из дерева и плит на древесной основе, мебели, спичек, фанеры, производство и ремонт деревянной тары; целлюлозно-бумажная - производство целлюлозы, бумаги, картона; лесохимическая и гидролиз дерева. Лесная, деревообрабатывающая и целлюлозно-бумажная промышленность - одна из старейших отраслей Беларуси.

С каждым годом растут потребности в ресурсах, всё больше выпускается продукции, а следовательно в разы увеличивается вырубка деревьев. Не стоит забывать о том, что помимо вырубки леса деревообработка является загрязнителем окружающей среды. А именно, выбросы в атмосферу, сбросы в гидросферу и педосферу. Актуальность данной дипломной работы и заключается в освещении вопросов экологического загрязнения окружающей среды деревообрабатывающей отраслью и методов, использующихся на производстве для уменьшения вредоносного воздействия.

Также здесь описывается проблема утилизации отходов и переработки макулатуры в целлюлозно-бумажной промышленности, которая остаётся актуальной и сейчас [6].

Лесной фонд Беларуси насчитывает более 9,4 млн. га, лесистость территории 39 %. Запас древесины на корню оценивается в 1,6 млрд. м3. Ежегодный прирост составляет 31,4 млн. м3 древесины. На оного жителя республики приходится 0,86 га покрытых лесом земель и более 170 м3 древесного запаса. В Беларуси одновременно с увеличением общей площади лесного фонда наблюдается и устойчивый рост площадей приспевающих, спелых и перестойных насаждений. За двадцатилетний период площадь спелых древостоев увеличилась более чем в два раза. За последние 60 лет лесистость республики увеличилась почти вдвое и достигла максимального значения за более чем столетний период (1901 год - 37,6 %). В результате планового регулирования объемов рубок леса, в первую очередь, рубок главного пользования, общий запас насаждений увеличился в 1,6 раза, запасы спелой древесины составили 202 млн. м3. Если в 1989 году доля спелых лесов составляла всего 2,3 %, то сегодня уже 11 %.

Ежегодно увеличивается расчетная лесосека по рубкам главного пользования лесом (научно обоснованная норма изъятия ресурсов спелой древесины). На 2010 год она была утверждена в размере 7,6 млн. м3, на 2011 год - 8,3 млн. м3, на 2012 год - 8,7 млн. м3, на 2013 год - 9,3 млн. м3 [3].

Экспорт лесной продукции является для Беларуси источником поступления валюты. Беларусь экспортирует в страны СНГ мебель, обои, тару, фанеру, древесноволокнистые плиты. Потенциальные потребности в древесине Украины огромны − 26 млн. м3 в год. Потребности Молдовы, Армении, Азербайджана, Грузии равны 18 млрд. м3 в год [6].

Целью данной дипломной работы является оценка загрязнения атмосферы предприятиями лесной, деревообрабатывающей и целлюлозно-бумажной промышленности

В дипломной работе были поставлены следующие задачи:

) Рассмотреть производственно-технологические основы лесной, деревообрабатывающей и целлюлозно-бумажной промышленности;

) Дать комплексную характеристику деревообрабатывающей отрасли Гомельской области;

) Изучить воздействие отрасли на природную среду (на примере ЧПУП «Гомельобои»);

) Охарактеризовать мероприятия по защите окружающей среды на предприятии и дать оценку их эффективности.

1. Технологические основы деревообрабатывающей промышленности и влияние предприятий деревообработки на природную среду

Группа лесной промышленности имеет дело с пиломатериалами и другими древесными материалами. Список изделий из дерева весьма обширен. Основные отрасли данной промышленности включают в себя:

лесозаготовку

лесопилки

измельчение и изготовление фанерного шпона

изготовление деревянной тары

строительство деревянных зданий

другие продукты из дерева.

Для того чтобы использоваться в дальнейшем дерево должно быть переработано в некоторые основные виды материала. На это направлены первые три упомянутые отрасли лесной промышленности.

В данных отраслях используется примерно 20 технологических процессов, среди которых: распиливание, измельчение, компрессионная формовка, формовка, обработка абразивными материалами, сверление, химическая обработка и т.п. [6].

1.1 Деревообработка

Деревообработка - одна из быстроразвивающихся и перспективных отраслей промышленности. И не менее значимый фактор это то, что древесина - сырье, запасы которого могут непрерывно восстанавливаться в отличие от невозобновляемых (газа, угля, руды, нефти, торфа и др.). Из этого следует вывод - для того чтобы деревообработка динамично развивалась, не нужно стоять на месте, нужно внедрять новые технологии деревообработки, вводить в эксплуатацию новое оборудование, повышать квалификацию персонала.

Перспективным планом развития деревообрабатывающей отрасли предусмотрено увеличение объемов производства продукции, повышение производительности труда, более полное использование лесосырьевых ресурсов.

Один из путей повышения эффективности лесопиления - концентрация и специализация лесопильного производства, ввод в эксплуатацию новых технологий деревообработки. Технический уровень лесопильного производства будет повышаться за счет создания и внедрения нового оборудования, ввода оптимальных методов раскроя пиломатериалов. В этом направлении намечаются следующие мероприятия:

- механизация выгрузки и сортировки сырья перед распиловкой по диаметрам и качеству;

-       замена лесопильных рам и обрезных станков устаревших моделей новыми;

-       внедрение линии агрегатной переработки бревен диаметром до 24 см;

-       применение пакетоформирующих линий, высокопроизводительных сушильных камер, линий браковки и сортировки пиломатериалов;

-       дальнейшее развитие пакетного метода перевозки материалов;

-       переработка отходов на технологическое сырье и короткомерных пиломатериалов на клееную слоистую древесину и бурно развивающуюся в последнее время биотопливо.

В фанерной промышленности основные усилия направлены на повышение производительности труда, расширение ассортимента и улучшение качества продукции. Для этого следует шире применять термическую обработку сырья в открытых бассейнах; технологию склеивания фанеры с предварительной холодной подпрессовкой пакетов; увеличение этажности горячих прессов с 15 до 25; линии окорки и разделки сырья; линии сборки и склеивания фанеры; роликовые газовые сушильные камеры с сопловым дутьем; механизацию складских работ [6].

Дальнейшее развитие производства ДСП пойдет по пути повышения технологического уровня и увеличения мощности действующих заводов; модернизации горячих прессов и увеличения их этажности; интенсификации технологического процесса за счет повышения температуры плит пресса; внедрения технологии облагораживания поверхности плит слоем тонкоразмолотой древесноволокнистой массы и окрасочными композициями; совершенствования технологии сухого и мокрого способов производства плит, отвечающих требованиям деревянного панельного домостроения [1].

В домостроении предстоит разработать новые конструкции элементов домов, отличающиеся технологичностью изготовления и отделки, создать и внедрить технологию и оборудование для индустриального изготовления и отделки элементов панельных деревянных домов. Кроме того, необходимо создать атмосферо- , био- и огнестойкие конструкционные и облицовочные материалы на основе измельченной древесины, а также теплоизоляционные материалы.

Техническое перевооружение мебельного производства будет осуществляться за счет совершенствования системы проектирования и повышения технологичности мебели; дальнейшей концентрации производства, углубления технологической специализации и межотраслевой кооперации; совершенствования технологии и внедрения перспективных технологических процессов на базе новых видов материалов; комплексной механизации и автоматизации производственных процессов. Технологическая специализация будет развиваться в направлении создания и расширения комбинатов мебельных деталей, специализирующихся на выпуске как щитовых, брусковых и клееных деталей, так и стекольно-зеркальных изделий, мягких и декоративных элементов, раскрое тканей и т.п.

Внедрение химических материалов повысит уровень химизации мебельной промышленности, что приведет к сокращению расхода массивной древесины, строганого шпона, фанеры. Повышение уровня комплексного использования сырья, связанного с применением древесных отходов в промышленных целях, также позволит сохранить эти ценные материалы для других нужд народного хозяйства.

Из вышесказанного можно сделать вывод, что решающее условие дальнейшего развития лесной и деревообрабатывающей промышленности - увеличение производительности труда, основанное на ускорении научно-технического прогресса. Мы должны стремиться к возрастанию производительности труда, к снижению себестоимости продукции. Технический прогресс должен идти в направлении создания и применения новых, более производительных и безотходных методов технологии деревообработки, создания новых видов конструкций выпускаемых машин, механизмов и приборов, применения более современного производительного оборудования, в том числе роботов и станков с программным управлением, механизации производственных процессов, внедрения научной организации труда и производства [1].

.2 Основные этапы производства бумаги

этап. В первую очередь следует начальная подготовка готового древесного сырья. Подготовленная древесина (ель, сосна) пилится на специальных слесарных станках с дисковой пилой на брус длиной 1,2 м, затем снимается кора (окаривание) на окорочном станке сухим методом. С помощью рубительной машины окоренные заготовки измельчаются в технологическую щепу.

этап. Второй этап - это изготовление полуфабриката из термомеханической и древесной массы. В специализированных цехах (древесно-массных) производят древесную массу, которая получается методом механического истирания в дефибрерах мерного баланса. Балансы загружают в дефибреры, затем, их прижимают на протяжении всей длины к керамическому вращательному камню. За счет вращения камня прижатая к нему древесина разделяется на отдельные волокна. После этого древесную массу сортируют, очищают, сгущают, отбеливают.

Цеха термомеханической массы предназначены для изготовления из щепы технологической термомеханической массы. Для ее получения пропаренную щепу под давлением подвергают двухступенчатому размолу. Масса термомеханическая также проходит этапы сортировки, сгущения, отбеливания.

этап. Изготовление бумаги. Бумагу, из которой в будущем делают буклеты, получают путем смешения, полученных в ходе первого и второго этапов, полуфабрикатов (массы древесной и массы термомеханической), а также товарной беленной сульфатной целлюлозы привозной.

Масса бумажная подается на бумагоделательную машину только после прохождения подготовительных этапов: сортировки, очистки, тонкого сортирования и деаэрации. В сеточной части бумагоделательной установки формируется бумажное полотно, которое обезвоживаются за счет давления валов пресса. Затем, бумажное полотно сушат в специальных сушильных цилиндрах, работающих на пару, придают ему дополнительную гладкость за счет пропускания бумаги через валы каландровые. Завершающий этап - эта намотка гладкой бумаги на валы наката. Продольно-резательный станок разрезает готовое бумажное полотно на рулоны необходимых форматов. После этого разрезанную бумагу упаковывают и складируют. Готовые бумажные рулоны поставляются заказчикам в железнодорожных вагонах, водным и автомобильным транспортом.

Процессы изготовления бумаги

При изготовлении бумаги, на которой в будущем будет производиться печать листовок, материалы его составляющие, проходят несколько этапов: аккумулирование массы бумажной, доведение ее до требуемой концентрации путем разбавления водой; очистка бумажной массы от сторонних включений, узелков; нанесение массы на сетку и формирование на сетке из бумажной массы бумажного полотна; высушивание бумажного полотна и прохождение его через пресс; механическая отделка бумаги и намотка её (картона) в рулоны. Бумагоделательная машина в технологическом процессе изготовления бумаги представляет самостоятельный агрегат, отдельные узлы которого устанавливаются в определенной последовательности у монтажной оси.

Аккумулирование. Бумажную массу изготавливают в размольно-приготовительных цехах. Необходимые волокнистые материалы, наполнители, а также материалы, проклеивающие и окрашивающие, с учетом вида будущей бумаги, добавляются в определенном соотношении в составитель композиции или дозатор. После этого они направляются в мешальный бассейн. В мешальном бассейне бумажная масса тщательным образом перемешивается, затем, аккумулируется, то есть накапливаются.

Аккумулирование бумажной массы необходимо для поддержания бесперебойной работы машины в какой-то определенный промежуток времени. Бумажная масса в бассейне поддерживается в определенной концентрации. Обычно на уровне 3,5 %.

Рафинирование. Перед подачей бумажной массы на бумагоделательную машину она проходит процесс рафинирования в агрегатах непрерывного действия (конических и дисковых мельницах). За счет рафинирования в бумажной массе выравнивается степень помола массы, устраняются пучки волокон, подмол массы. Рафинирование производится до попадания бумажной массы в мешальный бассейн, непосредственно перед загрузкой ее в бумагоделательную машину [2].

.3 Плитные материалы из древесных отходов

Древесина является натуральным и экологическим материалом. Спектр ее использования обширен, и первую позицию занимает строительство.

В стране ее заготавливают в огромных количествах. Но вместе с тем, встает «больной» вопрос об утилизации отходов, остающихся на лесозаготовках и местах переработки древесины. Древесные отходы - это остатки продукции, которые частично или полностью утратили потребительскую стоимость исходного материала. Востребованы в народном хозяйстве как дополняющие основной материал другого производства или же как самостоятельное сырье.

Кусковой древесный мусор идет на создание клееных панелей, щитов и плит, щитового паркета, дверных коробок, кровельной и штукатурной драни, для заготовок для столярного производства, на арболит и стеновых блоков из него, древесноволокнистых плит. Довольно успешно заменяет древесину. Древесноволокнистые плиты являются активно используемым материалом для отделки. Арболит также известен своим частым использованием в роли стенового материала.

Как компонент для создания древесно-стружечных плит, берется технологическая и дровяная древесина, кусковые отходы с лесопильни и фанерных производств, стружка.

Материал для термопластиков получается как результат подготовки измельченной древесины при высоких давлениях и температуре. При этом связующие вещества отсутствуют. Существует два способа: способ, не требующий предварительной обработки отходов, и способ, включающий гидрообработку перед прессованием.

Итак, опилки с естественной влажностью попадают в бункер, затем на электромагнитный сепаратор, на инерционном сортировочном конвейере отсеиваются габаритные куски и примеси. В таком виде она попадает в топку сжигания, следующий шаг - это сушка опилок во взвешенном состоянии, под струями горячего газа, поступающими из топки. В конце все это фильтруется и опилки оседают в бункер. Остается только расфасовка по формовочным пакетам на конвейере и отправка на время формовки под гидравлический пресс, у которого дополнительно может быть установлен цифровой видеорегистратор для полного контроля процесса прессования. Возможен способ производства пьезотермоплиток как плиток для пола [1].

1.4 Особенности сжигания древесной биомассы

Технологические свойства древесной биомассы оказывают существенное влияние на конструкцию топочных устройств, в которых осуществляется ее сжигание, и в значительной мере определяют при этом показатели работы паровых и водогрейных котлоагрегатов котельных лесозаготовительных и деревообрабатывающих предприятий.

Получение экономии топлива в котельных, работающих на древесных отходах, зависит от того, насколько обслуживающий персонал обеспечивает своевременную квалифицированную разработку и проведение мероприятий для эффективной и экономичной работы котлоагрегатов на основе знания специфических особенностей древесной биомассы, рассматриваемой как топливо.

Специфические особенности древесной биомассы как топлива. Важной особенностью древесной биомассы как топлива является отсутствие в ней серы и фосфора. Как известно, основной потерей тепла в любом котлоагрегате является потеря тепловой энергии с уходящими газами. Величина этой потери определяется температурой отходящих газов. Эта температура при сжигании топлив, содержащих серу, во избежание сернокислотной коррозии хвостовых поверхностей нагрева поддерживается не ниже 250 °С. При сжигании же древесных отходов, не содержащих серу, эта температура может быть понижена до 120 °С, что позволит существенно повысить КПД котлоагрегатов. Таким образом, одним из реальных мероприятий по экономии топлива в котельных лесопромышленных предприятий является установка дополнительных хвостовых поверхностей нагрева к котлоагрегатам, работающим на древесных отходах.

Влажность древесного топлива может изменяться в очень широких пределах. В мебельном и деревообрабатывающем производствах влажность некоторых видов отходов составляет 10 %. В лесозаготовительных предприятиях влажность основной части отходов составляет 45 %-55 %.

Влажность коры при окорке отходов после сплава или сортировки в водных бассейнах достигает 80 %. В дальнейшем будет показано, что повышение влажности древесного топлива снижает производительность и КПД котлоагрегатов. В целях экономии энергии необходимо в котельных лесопромышленных предприятий предусмотреть проведение мероприятий по снижению влажности древесного топлива, поступающего в топочные устройства [1].

Выход летучих при сжигании древесного топлива очень высок он достигает 85 %. Это является также одной из особенностей древесной биомассы как топлива и при полугазовых топках позволяет иметь большую протяженность факела, в котором осуществляется сгорание выходящих из слоя горючих компонентов, создающее условия для эффективной работы радиационных поверхностей нагрева котлоагрегата.

Продукт коксования древесной биомассы - древесный уголь отличается высокой реакционной способностью по сравнению с ископаемыми углями. Высокая реакционная способность древесного угля обеспечивает возможность работы топочных устройств при низких значениях коэффициента избытка воздуха, что положительно влияет на эффективность работы котельных установок при сжигании в них древесной биомассы.

Однако наряду с этими положительными свойствами древесина имеет особенности, отрицательно влияющие на работу котлоагрегатов. К таким особенностям, в частности, относится способность поглощения влаги, т. е. увеличение влажности в водной среде. При сплаве древесины, сортировке ее в водных бассейнах, хранении под открытым небом влажность древесины повышается. Предельное количество воды, которое может поглотить древесина, складывается из максимального количества связанной и свободной влаги. Наибольшее количество связанной влаги определяется пределом насыщения стенок клеток, а количество свободной влаги зависит от объема пустот между клетками и внутри них. В первом приближении максимальное количество влаги может быть подсчитано по определенной формуле.

Кроме того, при выводе формулы сделано предположение, что все пустоты древесины заполняются влагой. В действительности в некоторую часть пустот вода проникнуть не может, поэтому результаты, полученные по формуле, будут превышать опытные данные. Однако для целей теплотехнических расчетов это имеет даже положительное значение - полученные результаты являются как бы предельными с точки зрения определения наихудших условий.

Характерной особенностью древесины как топлива является незначительное содержание внутренней золы (не превышает 1 %). В то же время внешние минеральные включения у отходов лесозаготовок иногда достигают 20 %. Зола, образующаяся при сгорании чистой древесины тугоплавка, и удаление ее из зоны горения топки не представляет особой технической сложности. Минеральные включения в древесной биомассе легкоплавки. При сгорании древесины со значительным их содержанием образуется спекшийся шлак, удаление которого из высокотемпературной зоны топочного устройства затруднено и требует для обеспечения эффективной работы топки особых технических решений. Спекшийся шлак, образующийся при сжигании высокозольной древесной биомассы, имеет химическое сродство с кирпичом, и при высоких температурах в топочном устройстве спекается с поверхностью кирпичной кладки стенок топки, что затрудняет шлакоудаление [8].

.5 Производство технологической щепы

В процессе изготовления пилопродукции получается большое количество отходов: горбыльный обапол, рейки, вырезки. Для комплексного использования древесины налаживают производство технологической щепы из всех кусковых отходов, которая является сырьем для целлюлозно-бумажной промышленности, древесно-стружечных, древесноволокнистых плит и биотопливной промышленности.

Технологическая щепа - это размельченная древесина, имеющая определенные размеры частиц. Для производства технологической щепы высокого качества нужно учитывать один из важных факторов, такое как качество технологической щепы, - ее однородность по длине и толщине. Для различных производств размеры щепы различны. Оптимальные размеры щепы составляют, мм: для целлюлозно-бумажного производства 18 × 5; древесноволокнистых плит 25 × 5; древесно-стружечных плит плоского прессования 40 × 30; гидролизного производства 20 × 5. Фракционный состав щепы нормируется. Количество разных примесей ограничивается в зависимости от назначения щепы: коры − до 17 %, гнили − до 6 %, минеральных примесей − до 1,5 %. Обугленные частицы и металлические включения не допускаются для всех видов производства.

Кусковые отходы целесообразно перерабатывать на технологическую щепу на предприятиях, где они имеются. Процесс производства технологической щепы состоит из следующих операций: транспортирования кусковых отходов и удаления металлических включений; измельчения древесины на рубительных машинах; сортирование щепы по фракциям; удаления мелочи; повторного измельчения отсортированной крупной щепы и сортирования; отгрузки щепы.

Отходы производства ленточным конвейером подаются к рубительной машине. Перед ней установлен электронный металлоискатель. Между концом конвейера и рубительной машиной предусмотрен зазор, а под ним люк, куда ссыпаются мелкие отходы, опилки и мусор. Щепа из рубильной машины попадает на конвейер и далее через дозатор на щепосортировочное устройство. Крупная щепа с верхнего сита ссыпается на конвейер и направляется на вторичное измельчение в дезинтегратор, далее в циклон и снова на конвейер и на сортировку. Кондиционная щепа из щепосортировочной установки конвейером (или пневмосистемой) подается в бункерную галерею и далее в автощеповоз. Отсортированная мелочь удаляется конвейером в сборный бункер или в котельную завода.

Рубка щепы. Щепу рубят на рубительных машинах. Тип рубительных машин характеризуется механизмом резания и загрузочным устройством. Механизм резания состоит из ротора с режущими ножами и двигателя привода ротора. Загрузочное устройство состоит из загрузочного патрона с одним или несколькими опорными ножами (контрножами) и механизма подачи сырья. Роторы рубильных машин делятся на дисковые и барабанные. Поверхность ротора (между ножами) делают плоской или винтовой - геликоидальной. Геликоидальная форма ротора и задних граней рубительных ножей создает условия для получения щепы одинаковой длины, что повышает качество технологической щепы. При геликоидальной форме поверхности и достаточно большом числе ножей обеспечивается самоподача сырья в машину, отпадает необходимость в подающих механизмах. Сырье, поступающее в машину, опирается при резании на кромку загрузочного патрона. Кромка быстро изнашивается, и поэтому у большинства машин ее делают в виде сменной пластины - опорного ножа (контрножа). Зазор между кромкой ножа и контрножа должен быть минимальным 0,5 - 1,0 мм. В зависимости от направления подачи (горизонтальной или наклонной) загрузочные патроны устанавливают к диску под углом 90 0 или 35 0 - 53 0.

Для рубки отходов лесопиления чаще всего используют рубильные машины с геликоидальным диском МРН-25 и МРГ-18, что позволяет получить около 92 % кондиционной технологической щепы. Производительность МРГ-18 составляет 12 м3 плотной древесины в час; МРН-25 - 25 м3 щепы в час.

Сортирование щепы. Сортированием отделяются от массы щепы крупные частицы и мелочь. Для выработки технологической щепы применяют сортировочные машины СЩ-1М и СЩ-120 вибрационного типа. У СЩ-1М ситовая коробка расположена на раме, расположенной на станине. Рама при помощи эксцентрикового привода совершает колебательные движения. Щепа подается в загрузочный лоток. Крупная щепа, не прошедшая через верхнее сито, ссыпается через край лотка и направляется конвейером в дезинтегратор. От щепы, прошедшей сквозь верхнее сито, отделяются мелкие частицы и опилки, прошедшие через два нижних сита и направляются на конвейер для мелочи. Кондиционная щепа ссыпается на конвейер и далее подается в бункерную галерею.

Складирование щепы. Для накопления технологической щепы и кратковременного ее хранения служит бункерная галерея, представляющая собой емкость, в верхней части которой установлен ленточный или скребковый конвейер, подающий щепу в бункер. В нижней части емкости предусмотрено устройство для загрузки щепы в щеповоз. Бункерную галерею располагают на высоте, достаточной, чтобы под нее въехал щеповоз. Вместимость бункерной галереи 50 - 100 м3. Для длительного хранения больших объемов щепы используют открытые склады сезонного хранения щепы. К потребителю щепу транспортируют автощеповозами, железнодорожным транспортом в специальных вагонах, баржами по воде [9].

.6 Технология производства топливных брикетов из древесных отходов

Идея производства биотоплива из древесных отходов за последние годы захватило умы чуть ли не всех, кто связан с переработкой древесины в России, Беларуси, на Украине. Ресурсы полезных ископаемых планеты по различным оценкам ограничены, их запасов на нужды теплоэнергетики хватит максимум на 100 лет. Поэтому развитие альтернативной или возобновляемой энергетики является актуальным, прибыльным и своевременным направлением работ.

Получение готовой продукции из древесины сопряжено с огромными потерями, которые принято называть отходами. Типичная лесопилка перерабатывает около 60 % древесины в доски, при этом 12 % уходит в отпил, 6 % − концевые обрезки и 22 % − горбыль и обрезки кромок. Объем интересующего нас сырья (отпила и стружки) на этапе деревообработки достигает 12 % от исходного сырья. Одним из основных направлений утилизации древесных отходов является их использование для получения тепловой и электрической энергии. В последние годы энергетическое использование древесных отходов рассматривается как альтернатива традиционным видам топлива. Это связано с тем, что древесные отходы являются CO2-нейтральными, имеют низкое содержание серы, относятся к возобновляемым источникам энергии. Все это привело к тому, что технологии получения энергии из древесных отходов в последние годы развиваются и совершенствуются. Технологии переработки опилок и древесных отходов способны сделать деревообрабатывающее производство безотходным и экологически чистым. Переработка древесных отходов в топливные брикеты решает многие проблемы, связанные со вторичной переработкой отходов древесины в процессе производства.

Брикеты - спрессованные изделия цилиндрической, прямоугольной или любой другой формы, их длина обычно до 300 мм.

В основе технологии производства древесных топливных брикетов лежит процесс прессования мелко измельченных отходов древесины (опилок) под высоким давлением при нагревании, связующим элементом является легнин, который содержится в клетках растений. Брикеты получаться прямым прессованием на гидравлическом или механическом прессе. Кроме того, можно использовать метод шнекового прессования, когда продукция выходит непрерывно [1].

Спрос на топливные брикеты в странах Европы постоянно высокий и нет предпосылок к насыщению. Существует мнение, что за рубежом спросом пользуются больше гранулы. Однако, спрос на топливные брикеты в Европе также постоянно высокий и цены на него непрерывно растут и они не меньше, чем за брикеты [3].

1.7 Сбросы в гидросферу и педосферу в сульфат-целлюлозном производстве

Основными источниками загрязнения гидросферы и педосферы в сульфат-целлюлозном производстве являются отбельный, варочный и кислотный цеха.

Варочный и кислотный цеха. В сток попадают органические соединения, образующиеся при варке, и остаточные химикаты. Так при выпуске 3 млн. т. в год целлюлозы образуется 3,5 млн. т. в год отработанных щёлоков в пересчёте на сухое вещество или примерно 7 млн. т. в год в пересчёте на 50 % концентрат. Из них около 2 млн. т. в год можно утилизировать в виде спирта, кормовых дрожжей. Остальные 75 % сухих веществ отработанных щёлоков сбрасывается в очистные сооружения или непосредственно в водоёмы.

Отбельный цех. В процессе отбеливания целлюлозы традиционно используют либо сам хлор, либо его производные (оксид хлора, хлораты и гипохлориты), а при делигнификации древесины содержащей фенольные фрагменты лигнин (содержание которого в древесине лиственных пород около 30 %, в хвойных породах - до 50 %) взаимодействует с хлорными реагентами, образуя диоксины и фураны (или их предшественников), которые являются высокотоксичными экотоксикантами.

Сбросы в реки и почву с ЦБК увеличивают содержание взвешенных веществ, сульфатов, хлоридов, нефтепродуктов, органических соединений, ряда металлов, веществ метоксильных, карбоксильных и фенольных групп. По этим параметрам ПДК превышены в несколько раз.

Самыми опасными и заслуживающими дальнейшего рассмотрения токсинами, безусловно, являются диоксины и фураны.

Диоксины - группа высокотоксичных экотоксикантов - полихлорированных дибензодиоксинов и дибензофуранов.

                                                    O

                             Cln                                      Cln                        (1)

                                                   O

                                           ПХДД (I)

                           Cln                                           Cln                     (2)

                                                  O

                                            ПХДФ (II)

Здесь n = 2…4. Диоксины и фураны могут иметь в своём составе чётное (обычно 4, 6 и 8) или нечётное (как правило, 5 или 7) число атомов хлора. Для обозначения положения атомов хлора в бензольных кольцах диоксинов и фуранов используют цифры в соответствии с правилами «Женевской номенклатуры органических соединений» [4].

Таблица 1 - Сбросы в водоёмы и почву в сульфат-целлюлозном производстве

Ингредиент

Источник сбросов

Взвешенные вещества

Сульфат-целлюлозное производство (нерастворимые частицы)

Сульфаты (К2SO4, KHSO4, диорганилсульфаты и органилсульфаты)

Сульфат-целлюлозное производство

Хлориды (KCl, NaCl) и хлораты (KClO3, NaClO3)

Отбельный цех

Нефтепродукты

ИРП (мазут)

Фенолы

Лигнин (Сульфат-целлюлозное производство)

Органические соединения (жирные кислоты, сульфатное мыло, ароматические соединения, клейкие вещества и др.)

Производство побочных продуктов, варочно-промывной цех, РП

Диоксины и фураны

(фенолы и хлорные реагенты). Сульфат-целлюлозное производство, отбельный цех

Металлы (Mg, Zn)

Сульфат-целлюлозное производство

Тёплая вода

Газоконтактный испаритель, варочно-промывной цех, выпарной цех, РП СРК, ИРП

Необходимо заметить, что предельно допустимая концентрация (ПДК) диоксинов и фуранов для взрослого человека составляет 320 триллионных частей грамма в день и что такая ежедневная доза приводит к риску возникновения рака и других онкологических заболеваний. Если сопоставить два вида смертельных доз диоксинов и фуранов: минимальную летальную дозу MLD (характеризующую общую токсичность) и половину полной летальной дозы LD50 (при которой погибнет 50 % исследуемых живых организмов). Оказалось, что по общей токсичности (MLD, моль/кг) диоксины и фураны (3,1 ∙ 10-9) превосходят самые сильные химические яды: стрихнин (1,5 · 10-6), цианистый натрий (3,1 · 10-4) и боевое отравляющее вещество диизопропилфторфосфат (1,6 · 10-5). Что касается значений LD50 (мг/кг), то они для диоксинов и фуранов изменяются следующим образом: 0,5 (куры), 0,3 (собаки), 0,1 (кошки и мыши), 0,05 (крысы) и 0,001 (морские свинки).

Допустимая суточная доза диоксинов и фуранов. В США эта доза равна 0,006 пкг на килограмм веса человека, тогда как в России она существенно выше - 10 пкг/кг. Норма загрязнения питьевой воды в нашей стране - 20 пкг/л, а ПДК для атмосферы - 0,5 пкг/м3. Поэтому человек весом в 60 кг при условии, что он потребляет три литра воды в день, может получить с водой лишь 10 % диоксинов и фуранов от суточной нормы. В тоже время расчёты показывают, что при потреблении даже нежирной рыбы (с количеством жира до 5 %), в которой количество диоксинов и фуранов может быть около 50 пкг/г жира, 500 граммов рыбы даст уже 1250 пкг токсикантов, что в 2 раза превышает допустимую суточную дозу, а если речь идёт о рыбе с количеством жира 50 %, которая легко биоаккумулирует хлорорганические экотоксиканты, в этом случае имеют место существенно более высокие уровни накопления диоксинов и фуранов, а, следовательно, более серьёзные экотоксилогические эффекты.

Кроме химического загрязнения водоёмов происходит тепловое загрязнение воды. Это происходит вследствие использования больших объёмов воды в течение технологического процесса, а также использования воды в теплообменниках и конденсаторах для охлаждения, после чего нагретая вода попадает со стоком предприятия в гидросферу [4].

.8 Проблема утилизации отходов целлюлозно-бумажной промышленности и переработки макулатуры

Очень остро стоит в настоящее время проблема отходности целлюлозно-бумажных комбинатов. Многотонные отходы этих предприятий складируются, занимая большие площади и отрицательно воздействуя на окружающую среду.

Наиболее остро в настоящее время стоит проблема утилизации лигнина и шламов. Основными методами борьбы с отходами являются их сжигание либо переработка с целью получения полезных продуктов. Факторами ограничивающими возможность термической утилизации отходов являются высокая загрязнённость, низкая температура плавления некоторых отходов, наличие крупногабаритных включений и значительных колебаний насыпной плотности сжигаемых отходов. К приемлемым технологиям сжигания относят колосниковое сжигание и сжигание в кипящем слое. Основным достоинством же термических методов является их относительно низкая стоимость. Переработка отходов бумажных фабрик эффективна сточки зрения экологии, но убыточна по экономическим показателям. С другой стороны из отходов отрасли можно получить много ценных и полезных продуктов[5].

Таблица 2 - Содержание компонентов в растительном сырье

В процентах


Общая зола

Лигнин

Гемицеллюлоза

Целлюлоза

Мягкая древесина

0,4

27,8

24,0

41,0

Твёрдая древесина

0,3

19,5

35,0

39,0

Солома злаков

6,6

16,7

28,2

39,9

Физические характеристики лигнина:

·   Удельная масса - от 0,2 до 0,3 г/см3;

·   Влагоёмкость - от 300 % до 450 %;

·   Кислотность - от 1,9 до 2,2.

Таблица 3 - Химический состав 100 г сухого вещества лигнина

В мг

Вещество

Вес

Нитратный азот

5,40

Подвижный фосфор

7,00

Калий

167,50

Кальций

106,00

Магний

66,00

Цинк

>4,00

Марганец

1,80

Медь

0,33

Железо

2,50


Кроме того, лигнин содержит редуцирующие вещества, полисахариды метоксильных, карбоксильных и фенольных групп, золы и кислоты. Лигнин содержит 78 % − 97 % органического сырья [4].

Лигнин - аморфное, полифункциональное высокомолекулярное ароматическое соединение, состоящее из фенилпропановых структурных единиц, и не является веществом постоянного состава. Лигнин - конечный продукт растительного метаболизма.

Лигносульфониты образуют комплексы с ионами ряда металлов и, следовательно, их применяют для удаления из почвы элементов, препятствующих нормальному росту растений. Гидролизный лигнин - универсальный сорбент, увеличивающий воздухопроницаемость и пористость, улучшающий структуру и другие физико-химические свойства почв. Лигнин используют при выращивании съедобных грибов, используют в качестве сорбента азот-фиксирующих бактерий, а также используется в качестве компоста в сельском хозяйстве [6].

В утилизации лигнин используется в составе органо-минеральных удобрений (наличие в шламовых отходах ростовых факторов, а также макро- и микроэлементов позволило рекомендовать их в качестве составных частей органо-минеральных удобрений). Органо-минеральные удобрения способны адсорбировать хлор и сульфат ионов, содержащихся в почве. Повышать накопление почвой азота, фосфора и калия.

Различные виды лигнинов в почве под воздействием почвенных бактерий постепенно превращаются в гумусовые вещества, которые способствуют плодородию почвы. Применяют также аммонизированный лигнин, где часть азота (25 %) находится в виде сульфат аммония, а 75 % азота химически связано с лигнином, поэтому он обладает пролонгированным характером действия. При внесении в почву он быстро не вымывается, а усваивается растениями постепенно, по мере разложения лигнина микроорганизмами до низкомолекулярных соединений. Почва обогащается микро- и макроэлементами. Активируются микробиологические процессы, за счёт чего повышается плодородие почвы [7].

Применение ресурсосберегающих технологий, каковыми являются и переработка отходов ЦБК и переработка макулатуры, кроме положительных моментов связанных с уменьшением потребления лесных ресурсов, имеет и свои отрицательные стороны. Прежде всего, это связано с включением новых технологических циклов на предприятии, применением необходимых по технологии вредных химических веществ, а также отходы появляющиеся в процессе переработки макулатуры [1].

Процесс переработки макулатуры в бумагу включает в себя следующие стадии обработки: роспуск, очистка при высокой концентрации, предварительное сортирование, флотация, очистка от тяжёлых включений, тонкое сортирование с удалением лёгких инородных включений, сгущения на дисковом фильтре и винтовом прессе, диспергирования, окончательной флотации и последующего сгущения товарной массы на двухсеточном прессе, с последующей сушкой массы для внутреннего пользования на винтовом прессе с последующей передачей на хранение. Белизна 60 %, зольность 4 %. Из-за присутствия в макулатурной массе смоляных веществ необходимо применять шлицевые сортировки и центриклиперы.

Макулатуру распускают гидроразбавителем высокой концентрации с добавками химикатов Н2О2 - 1 %, NaOH − 0,75 %, NaSiO3 − 1,25 %, ДТПА − 0,25 %, жирные кислоты − 0,08 %, также присутствуют NH и OH. Причём данные приведены для лучшей на данный момент технологии. При переработке на формовочных тканях и прессовых частях выпадает осадок полимерные компоненты («клейкие осадки»), но также много химикатов образуется при смывке типографской краски - 30 % минеральных веществ (глина, тальк, диоксид титана); 20 % − канифоли, жирные кислоты и их производные; 20 % − полимерные материалы; 7 % − углеводородных масел; остальное − волокна и неидентифицированные материалы. В осадках обнаружено значительное количество мыл. Возникла проблема механических (накипь) и биологических (смолы и слизь) отложений на оборудовании и трубопроводах. Отходы при переработке макулатуры составляют 16 % (сухие вещества) из них 50 % горючие вещества. Зола и отходы процесса смывки типографской краски содержат тяжёлые металлы. А при сжигании отходов переработки макулатуры выделяются хлорорганические вещества, также оказывающих неблагоприятное воздействие на окружающую среду [4].

Все отходы от переработки макулатуры можно разделить на:

-   отходы сортировок;

-   шламы;

-   остатки от сжигания;

-   отходы бумаги;

-   сточные воды

Один из методов уменьшения вредного воздействия − метод магнитной обработки для обесцвечивания макулатурной массы [8].

Состав концентрированной макулатурной массы 0,3 % − 2 %, с температурой 25 0С - 65 0С, рН от 7 до 11, подвергают десятиминутной магнитной обработке. Степень обесцвечивания 99,2 % и эффективная чистка от частиц краски диаметром более 200 мкм при минимальных потерях волокон [9].

.9 Выбросы в атмосферу в сульфат-целлюлозном производстве

Основными источниками загрязнения атмосферы в сульфат-целлюлозном производстве являются: содорегенерационный, варочно-промывной, известерегенерационный и отбельный цеха, окислительная установка, цех приготовления отбельных растворов.

В зависимости от принятой схемы производства могут возникнуть дополнительные источники загрязнения из отделений цеха переработки побочных продуктов (очистки и дезодорации скипидара, получение одоранта сульфана; ректификации скипидара; разложения сульфатного мыла; ректификации таллового масла и др.) [10].

Варочно-промывной цех. В этом цехе имеется несколько источников выбросов. При периодическом методе варки с терпентинной сдувкой, вместе с паром удаляются; остаточный воздух из щепы, скипидар, сероводород, метилмеркаптан (ММ), диметилсульфид (ДМС), диметилдисульфид (ДМДС). Парогазовая смесь терпентинной сдувки, от которой в щёлокоуловителях отделяются захваченные капельки щёлока, конденсируется в теплообменниках. Отсюда непрерывно удаляются несконденсировавшиеся газы, количество и состав которых зависит от вида вырабатываемой целлюлозы и связанного с этим расхода щёлочи на варку, а также от температуры воды, подаваемой на теплообменник.

При непрерывной варке целлюлозы, выдувочные пары направляются в систему пропаривания щепы, откуда избыток паров поступает в холодильник, аналогичный терпентинному конденсатору. Кроме этих источников загрязнения, есть ещё вентиляционные выбросы из-под колпаков вакуум-фильтров, вытяжки из выдувного резервуара (при холодной выдувке), бака слабых щёлоков, бака-пеносборника.

Выпарной цех. Главным источником выбросов в этом цехе является парогазовая смесь, которая удаляется вакуум-насосом из межтрубного пространства корпусов. Основной компонент, загрязняющий воздух, - сероводород. Кроме того, в выбросах содержится также метилмеркаптан и, в незначительных дозах, диметилсульфид, диметилдисульфид и метанол. Появление сероводорода и метилмеркаптана обусловлено изменением pH при упаривании и воздействием температуры и разрежения. Это приводит к разложению сульфида и меркаптида натрия и выделению этих кислых газов в паровое пространство.

Окислительная установка. Общее количество выбрасываемой ею газовоздушной смеси зависит от расхода воздуха на окисление, количества газов, подаваемых на установку, и типа окислительной установки.

Содорегенерационный цех. Дурнопахнущие компоненты в дымовых газах появляются в тех местах, где чёрный щёлок соприкасается с газами: в топке и в газоконтактном испарителе. Перегрузки содорегенерационных котлоагрегатов (СРК), также способствую повышению количества выбросов дурнопахнущих компонентов с дымовыми газами. В дымовых газах СРК содержатся не только газообразные соединения, но и твёрдые частицы, составляющие пылевой унос. Содержание пылевого уноса в дымовых газах СРК перед газоочистным аппаратом изменяется в зависимости от количества сульфата натрия, добавляемого к щёлоку перед сжиганием, от схемы СРК и аэродинамического режима его работы, а также от соотношения органической и минеральной частей сухого вещества чёрного щёлока и выхода целлюлозы из древесины.

Газоконтактный испаритель. Он предназначен для уплотнения чёрного щёлока 50 % - 65 % сухих веществ. Щёлок, находясь в газоконтактном испарителе, поглощает из дымовых газов углекислый газ, сернистый и серный ангидриды, обуславливающие выделение сероводорода и метилмеркаптана вследствие понижения pH; выделению сероводорода при газоконтактной выпарке способствует также повышение концентрации остаточного сульфида натрия в чёрном щёлоке. Чем выше сульфидность белого щёлока, тем большее количество остаточного сульфида натрия и сероорганических соединений оказывается в чёрном щёлоке и тем загрязнённее дымовые газы.

Растворитель плава (РП). Плав, образующийся при сжигании чёрных щёлоков в СРК и состоящий из карбоната и сульфида натрия с небольшой примесью невосстановленного сульфата натрия, поступает в растворитель. Здесь плав растворяется в щёлоке. При контакте щёлока с плавом выделяется значительное количество парогазовой смеси, которая удаляется из растворителя плава через вытяжные трубы и выбрасывается в атмосферу. Пылевой унос из растворителя плава на 90 % состоит из соды. В зелёном щёлоке содержится значительное количество сульфида и меркаптида натрия, что предопределяет содержание сероводорода в газовой фазе.

Известерегенерационные печи (ИРП). В печах при обжиге каустизационного шлама и природного известняка образуются дымовые газы. Основными компонентами дымовых газов являются пыль кальциевых солей (12 г/нм3), образующаяся в результате механического уноса газовым потоком, и сернистый ангидрид (0,86 г/нм3 сухого газа), образующегося при сжигании высокосернистого мазута, а также сероводород и другие серосодержащие газы.

Отбельный цех. В процессе отбеливания целлюлозы традиционно используют либо сам хлор, либо его производные (оксид хлора, хлораты и гипохлориты) [11].

Одним из наиболее опасных с точки зрения охраны окружающей среды объектов сульфат-целлюлозного производства является содорегенерационный котлоагрегат и его технологический узел - бак-растворитель плава (РП СРК).

Из результатов обследования количества и состава парогазовых выбросов РП СРК ведущих предприятий сульфат-целлюлозного производства следует, что расходы выбросов зависят от мощности котлоагрегата, высоты и диаметра вытяжной трубы, по которой они выводятся из бака растворителя в атмосферу, угла раскрытия шиберных устройств на этих трубах, состава слабого белого щёлока и уровня его в баке-растворителе, времени года и региона расположения производства.

Таблица 4 - Вредные вещества, попадающие в атмосферу на сульфат-целлюлозном производстве

Ингредиент

Источник выбросов

ПДК, мг/м3

Пыль нетоксичная

Зола (сульфат и карбонат натрия) СРК, соли натрия из РП, пыль (соли кальция) ИРП

0,5

Диоксид серы

СРК, ИРП

0,5

Сероводород

Дымовые газы СРК, ИРП, парогазы РП

0,008

Метилмеркаптан

Сульфат-целлюлозное производство

0,9 × 10-9

Диметилсульфид


0,08

Диметилдисульфид


0,7

Метанол


1,0

Скипидар

Сульфат-целлюлозное производство, производство побочных продуктов

2,0

Оксид углерода

Утилизационные котлы, СРК, ИРП

5,0

Хлор

Цех отбелки сульфат-целлюлозного производства

0,1

Диоксид хлора




Кроме того, режим работы, состав и количество выбросов из РП СРК зависят от:

·   мгновенного выделения значительного количества парогазовой смеси, особенно при больших стоках плава;

·   непрерывности и неравномерности подачи плава и белого щёлока в РП и отведения зелёного щёлока, что приводит к изменению свободного объёма над растворяющей жидкостью и влияет на количество подсосов воздуха.

Парогазовые выбросы из РП СРК согласно удельным отраслевым нормам состоят из:

·   водяных паров 70 % - 90 % (1,87 кг/нм3 сухого газа (с.г.));

·   подсосов воздуха 5 % - 25 %;

·   пылевых частиц плава - до 1,9 % (19 г/нм3 с.г., 4500 г/т целлюлозы);

·   сероводорода - 0,006 % (0,25 г/нм3 с.г., 56,5 г/т целлюлозы);

·   сернистого ангидрида - 0,005 % (0,18 г/нм3 с.г., 40,3 г/т целлюлозы;

Пылевые частицы состоят в объёмных процентах из:

·   карбоната натрия - 70 %;

·   сульфида натрия - 23 %;

·   сульфата натрия - 5 %;

·   нерастворимых частиц (огарка) - 2 %.

Температура парогазовых выбросов может меняться от 85 0С до 125 0С. В среднем, количество парогазовых выбросов из РП на 1 т вырабатываемой целлюлозы составляет 226 нм3 с.г. [12].

макулатура утилизация целлюлозный загрязнение

2. Комплексная характеристика деревообрабатывающей отрасли Гомельской области

Республика Беларусь располагает развитой лесной, деревообрабатывающей и целлюлозно-бумажной промышленностью. Структура лесопромышленного комплекса представлена следующими отраслями: лесозаготовительная (13,5 % общего объема выпуска продукции), деревообрабатывающая (69,5 %), целлюлозно-бумажная (16,4 %) и лесохимическая промышленность (0,6 %). В ней создается 3,8 % стоимости произведенной промышленной продукции, занято 11,6 % обшей численности промышленно-производственного персонала страны. Управление отраслью осуществляет Министерство лесного хозяйства.

Лесозаготовительная промышленность производит примерно 13,5 % валовой продукции лесопромышленного комплекса. Ежегодно в республике заготовляется более 7,5 млн. м3 древесины. Основные районы заготовок древесины расположены в Витебской, Гомельской, Минской и Брестской областях [13].

2.1    Структура отрасли

Концерн «Беллесбумпром» объединяет 60 организаций, на которых сосредоточено 70 % переработки древесины в Республике Беларусь.

Брестская область: ОАО «Ивацевичдрев», ОАО «Лунинецлес», ЗАО «Пинскдрев».

Витебская область: ОАО «Бумажная фабрика «Красная Звезда», ОАО «Витебскдрев», ОАО «Витебсклес», ОАО «Витебскмебель», ОАО «Полоцклес».

Гомельская область: ОАО «Гомельдрев», ОАО «Гомельобои», ОАО «Гомельская мебельная фабрика «Прогресс», ОАО «Гомельстроитель», ОАО «Добрушская бумажная фабрика «Герой труда», ОАО «Житковичлес», ОАО «Жлобинмебель», ЗАО «Мозырский ЛПХ», ОАО «Мозырьдрев», ОАО «Речицадрев», ОАО «Светлогорский ЦБК», ОАО «Светлогорское ПКТБ», ОАО «Туровский ЛПХ».

Гродненская область: ОАО «Картонная фабрика «Ольховка», ОАО «Мостовдрев», СП «Самана Плюс», ОАО «Слониммебель».

Минская область: УП «Беллесбумпромэкспорт», ОАО «Белорусские обои», ОАО «Борисовдрев», ОАО «Борисовский ДОК», ОАО «Борисовский ЛПХ», ОАО «Борисовский РМЗ», ОАО «Борисовское СМУ», ОАО «Картонная фабрика «Раевка», ОАО «КОПиТ «Борисовлес», ОАО «Лесдревпром», ОАО «Лесохимик», ОАО «Минскмебель», ОАО «Минскпроектмебель», ОАО «Молодечнолес», ЗАО «Молодечномебель», ОАО «Плещеницлес», ОАО «Пуховичская картонная фабрика», ОАО «Синявская мебельная фабрика», ОАО «Слуцкая мебельная фабрика», ОАО «Стройдетали», ОАО «Червенский ЛПХ».

Могилевская область: «Бобруйская ЛТШ», ОАО «Бобруйская мебельная фабрика имени П. Осипенко», ОАО «Бобруйский ЛПХ», ОАО «Бобруйский РМЗ», ЗАО «Бобруйскмебель», ОАО «Бумажная фабрика «Спартак», РУПП «Корпус», ОАО «Костюковичский ЛПХ», ОАО «Могилевдрев», ОАО «Могилевлес», РУП «Учебный центр», ОАО «ФанДОК» [14].

Предприятия отрасли занимаются первичной переработкой и вывозом леса. Основными видами продукции предприятий лесопромышленного комплекса являются пиломатериалы, древесностружечные и древесноволокнистые плиты, фанера и мебель [13].

Начиная с 2008 года, предусматривается продажа леса на корню через биржевые торги. Механизм биржевых торгов позволит сбалансировать цену такого сырья для потребителей на основании спроса и предложения.

Эффективность освоения лесных ресурсов зависит от транспортной доступности лесосечного фонда и наличия лесохозяйственных дорог.

Основным показателем удовлетворения транспортных нужд в лесном хозяйстве является густота дорожной сети, выраженная линейной протяженностью дорог, отнесенной к 100 га лесной площади.

Лесное хозяйство республики функционирует в условиях исключительной государственной собственности на леса, централизованного лесоуправления и лесопользования.

В Беларуси основные принципы организации лесопользования определены следующими нормативными документами:

− Государственной программой развития лесного хозяйства Республики Беларусь на 2011 - 2015 годы;

− Национальной стратегией устойчивого развития Республики Беларусь;

− Лесным Кодексом Республики Беларусь.

Названными документами определены следующие цели при организации лесопользования:

− рациональное, неистощительное и непрерывное использование лесов.

− обеспечение относительно постоянного лесопользования в пределах лесного фонда для субъектов ведения лесного хозяйства.

− осуществление экологизированного (природосовместимого) лесопользования.

Для выполнения перечисленных целей решаются следующие задачи:

− организация лесопользования в соответствии с функциональным назначением лесов: учет принадлежности насаждений к определенным группам и категориям лесов;

− научно обоснованные методы определения размера лесопользования (расчетной лесосеки), обеспечивающие его неистощительность и относительное постоянство, что осуществляется при проведении базового лесоустройства при контроле со стороны директивных органов;

− соблюдение принципов многоцелевого лесопользования, т.е. рациональное потребление обществом не только древесины, но и пищевых и лекарственных ресурсов (грибы, ягоды, лекарственное сырье и т.д.), а также и других полезностей (связывание диоксида углерода, водоохранная, почвозащитная функции и т.д.) лесных насаждений;

− обеспечение надежного восстановления и дальнейшего воспроизводства лесов.

− соблюдение экологических требований при организации многоцелевого лесопользования: сохранение лесной среды, биологического разнообразия, минимизация повреждения напочвенного покрова и т.д;

− постепенная оптимизация породной структуры лесного фонда в соответствии с современными и перспективными потребностями народного хозяйства, особенностями условий местопроизрастания насаждений, экономическими и экологическими требованиями и возможностями выращивания древостоев;

− оптимизация сортиментной структуры лесосечного фонда в соответствии с потребностями народного хозяйства республики и запросами мирового рынка лесоматериалов;

− постепенная оптимизация возрастов и оборотов рубок как технического инструмента для обеспечения получения наиболее ценных сортиментов, достижения наивысших экономических показателей лесопользования и его экологизации;

− рациональное комплексное использование древесины и других продуктов, получаемых при лесопользовании (для этого осуществляется организация полной глубокой переработки древесины с целью получения продукции с наивысшей долей добавленной стоимости, полная утилизация отходов, в том числе для нужд энергетики);

− расширенное использование леса для выполнения им рекреационного потенциала.

Реализуя на практике принципы устойчивого лесоуправления и лесопользования, лесное хозяйство обеспечивает не только постоянное лесопользование в пределах ежегодного прироста древесины, но и экономическую безопасность государства, стабильность функционирования народного хозяйства.

Лесопользование составляет экономическую основу ведения лесного хозяйства и определяет уровень его интенсивности. Оно представлено различными видами пользования с преобладанием заготовки древесины.

Заготовка древесины осуществляется при рубках главного и промежуточного пользования - рубки ухода за лесом, выборочные санитарные рубки и рубки реконструкции. Проводятся также рубки обновления и формирования (переформирования) насаждений, санитарные рубки, уборка захламленности, расчистка лесных площадей для строительства трубопроводов, дорог, линий электропередачи и связи, других объектов.

В 2012 году в системе Министерства лесного хозяйства из всех видов рубок заготовлено более 10,1 млн. м3 ликвидной древесины, в том числе из рубок главного пользования - порядка 3 млн. м3, промежуточного - 4,9 млн. м3, из прочих - более 2,2 млн. м3.

Деревообрабатывающая промышленность делится на лесопильную, производство стандартных домов и строительных деталей из дерева, фанерную, мебельную, производство спичек. Доля ее в структуре комплекса составляет 65 %. Деревообрабатывающая промышленность занимается обработкой и переработкой древесины, преимущественно специализируется на выпуске материалов лесопиления, мебели, древесноволокнистых (ДВП) и древесностружечных плит (ДСП), спичек, дверных и оконных блоков, паркета, фанеры, спортивного инвентаря и т. п. [14].

Почти 70 % занимает в отрасли мебельная промышленность. В Беларуси работает 11 объединений по производству мебели. Крупнейшие - «Бобруйскдрев», «Минскмебель», «Гомельдрев», «Витебскдрев», «Мостовдрев», «Пинскдрев» - выпускают мебель разных конструкций. В структуре экспортных товаров отрасли доля мебельной промышленности составляет на сегодняшний день 45 % − 50 %.

Беларусь имеет и крупную фанерную промышленность, которая начала развиваться еще в начале XX века.

Важной частью лесопромышленного комплекса является фанерное производство. Сейчас в Беларуси имеется шесть фанерных производств общей мощностью 183,5 тыс. м3 фанеры в год. Они входят в состав деревообрабатывающих объединений и предприятий Борисова, Мостов, Пинска, Речицы, Гомеля и Бобруйска.

Производство древесностружечных и древесноволокнистых плит (ДСП и ДВП) сосредоточено на предприятиях, расположенных в Бобруйске, Витебске, Борисове, Пинске, Мостах, Речице, Ивацевичах. Около 55 % ДСП и 26 % ДВП используется на внутреннем рынке, остальное поступает на экспорт (в Россию, ФРГ, Польшу, Литву и др.).

Производство спичек осуществляется на трех предприятиях: ПО «Борисовдрев», ПО «Гомельдрев» и ПО «Пинскдрев».

Республика Беларусь имеет развитое тарное производство. Ежегодно изготовляется до 100 тыс. м3 ящичных комплектов, из которых до 60 % приходится на лесхозы.

Целлюлозно-бумажная промышленность производит примерно 20 % валовой продукции лесопромышленного комплекса. В Республике Беларусь функционирует 12 профильных предприятий, на которых производятся массовые и специальные виды бумаги и картона. К ведущим предприятиям отрасли в Республике Беларусь относятся: ОАО «Светлогорский целлюлозно-картонный комбинат», ОАО «Белорусские обои», ОАО «Гомельобои», ОАО «Добрушская бумажная фабрика «Герой труда», ОАО «Слонимский картонно-бумажный завод «Альбертин», ОАО «Бумажная фабрика «Красная Звезда», УП «Бумажная фабрика Гознака Республики Беларусь», ОАО «Бумажная фабрика «Спартак», ОАО «Молодеченская картонная фабрика «Раевка», ОАО «Картонная фабрика «Ольховка», ОАО «Кровля» и другие.

С учетом того, что в республике дисбаланс по выпуску бумаги и картона составляет 5 : 1, намечается строительство второй очереди объединения со специализацией на выпуске беленой целлюлозы. В качестве сырья может быть использована древесина от прореживания, отходы деревообработки и древесина лиственных пород.

Бумага и картон выпускаются на небольших фабриках в Добруше, Шклове, Чашниках, Слониме, Пуховичах, Борисове и других городах и поселках. Расширение производства бумаги и картона на отечественных предприятиях позволит в перспективе сократить объемы импорта. С этой целью проводится техническое перевооружение отрасли.

Лесохимическая промышленность выпускает около 1 % валовой продукции лесопромышленного комплекса. Она основана на химической переработке древесины. К ней относятся: сухая перегонка древесины, углежжение и различные виды канифольно-скипидарных производств.

Она представлена открытым акционерным обществом «Лесохимик» - производителем скипидара и канифоли.

В республике действуют два гидролизных завода в Бобруйске и Речице, которые вырабатывают из древесного сырья кормовые дрожжи, этиловый спирт, фурфурол и дубильный экстракт.

В Беларуси действует 12 смолзаводов, которые ориентированы на производство древесного угля [15].

Дальнейшее развитие лесной, деревообрабатывающей и целлюлозно-бумажной отрасли в Республике Беларусь будет осуществляться в соответствии с утвержденной правительством Программой рационального и комплексного использования древесных ресурсов на 2011 - 2015 годы [14].

.2 Продукция, услуги

Типы основной продукции отрасли: деловая древесина, продукты деревообработки, мебель, картонно-бумажная продукция, комплектующие изделия, узлы, детали и полуфабрикаты, мебельная фурнитура.

Сектор лесозаготовок включает: заготовку и вывозку древесины, ее раскряжевку, производство деловой древесины и лесоматериалов круглых, производство пиловочника, фанерного, спичечного и технологического сырья, добычу живицы.

Сектор целлюлозно-бумажной промышленности специализируется на выпуске картонно-бумажной продукции. Выпускается более двадцати видов бумаги и картона.

Сектор деревообработки и производства мебели разделяется на две крупные ветви, которые тесно переплетаются между собой: с одной стороны, это древесина и продукция из древесины, которая является результатом первичной переработки древесного сырья и выпуском элементов для мебельной и строительной промышленности (окна, двери, древесные плиты и т.д.); с другой стороны − это мебель, и, эта ветвь напрямую обращена к конечному рынку. Концерн − крупнейший изготовитель мебели в Республике Беларусь. Удельный вес выпуска мебели предприятиями концерна от общего объема производства мебели в Республике Беларусь составляет более 50 %.

Концерн производит и реализует:

-   лесоматериалы круглые;

-       живицу;

-       пиломатериалы;

-       фанеру;

-       детали гнутоклееные;

-       плиты древесностружечные, в том числе ламинированные и кашированные;

-       плиты древесноволокнистые;

-       шпон строганый;

-       паркет;

-       блоки оконные, дверные;

-       погонажные изделия (доска пола, плинтусы, наличники, вагонку);

-       тару деревянную и картонную;

-       спички;

-       пленки облицовочные на основе бумаг;

-       бумагу;

-       тетради школьные;

-       бумажно-беловые изделия;

-       обои;

-       канифоль, скипидар;

-       уголь древесный;

-       смолы синтетические;

-       деревообрабатывающее оборудование;

-       вентиляторы, циклоны, пылеулавливающие установки.

Мебель:

-   наборы корпусной мебели;

-       наборы мебели для спальни;

-       наборы мягкой мебели;

-       мебель для детских и жилых комнат;

-       наборы мебели для кухни;

-       мебель для прихожей;

-       мебель малых форм;

-       специальная мебель (офисная, школьно-лабораторная, торговая).

Концерн разрабатывает:

-   проекты строительства, расширения и реконструкции предприятий;

-       проекты на бытовую мебель и изделия деревообработки, оформления интерьеров;

-       экологические паспорта предприятий.

Концерн проводит:

-   сертификацию мебели;

-       физико-механические испытания материалов, узлов, изделий мебели;

-       экономические исследования, работу по ценообразованию, экспертизу инновационных проектов [16].

.3 Гомельская область

Лесопромышленный комплекс включает лесное хозяйство − специфическую самостоятельную отрасль экономики, а также производства лесной, деревообрабатывающей и целлюлозно-бумажной промышленности. На предприятиях, входящих в состав комплекса занято 32,3 тыс. человек, что составляет 5,5 % от общей численности занятого населения, в том числе на долю лесного хозяйства приходится 0,9 % всех занятых в экономике области. Увеличился удельный вес лесной индустрии в общем объеме произведенной в области продукции (по стоимости): с 8,8 % в 2003 году до 10,2 % в 2012 году. То есть значение лесного комплекса в экономике Гомельщины сохраняется и даже возрастает. Этому во многом способствуют сложившиеся профессиональные традиции населения и наличие ресурсов для развития, в том числе природно-ресурсная база.

На долю Гомельской области приходится наибольшая по стране площадь лесного фонда: 2,15 млн. га общей площади и 1,71 млн. га покрытой лесом. Лесистость составляет 42 % (по другим областям − 32 % − 36 %, в среднем по Беларуси − 35,5 %). Удельный вес Гомельщины в общереспубликанском лесном фонде − 22,1 % покрытой лесом площади. Общий запас лесонасаждений − 248,9 млн. м3 (22,8 % республиканского) − также больший, чем в других областях. Прирост запасов древесины превышает рубку, что также весьма позитивно [17].

Задачи лесовосстановления, лесоразведения, охраны лесов призвано решать лесное хозяйство. Предприятия этой отрасли − лесхозы (их в области 21), их структурно-производственные подразделения − лесничества, в которых осуществляются рубки ухода и санитарные рубки, лесопосадки, заготовки недревесной продукции леса. В лесах Гомельщины преобладают хвойные породы деревьев. Главная лесообразующая порода - сосна. Среди других пород распространены береза, осина, черная ольха, ель. Больше, чем в других регионах Беларуси, на Гомелыцине дубрав (8,0 % лесопокрытой площади). 1 га сорокалетних дубрав выделяет за сезон 14 тонн свободного кислорода. Встречаются в лесах Гомельщины многие редкие и реликтовые виды деревьев и недревесной растительности. Однако большая часть лесов области подвержена радиоактивному загрязнению в связи с чернобыльской катастрофой. В связи с этим возникает ряд проблем лесопользования и, поскольку леса способствуют сдерживанию распространения радионуклидов, требуется активизация работ по лесоразведению. Спелых лесов мало. Больше их на западе области (Житковичский и Лельчицкий районы). Многие леса отнесены к I группе, где осуществляются только рубки ухода и санитарные рубки. Часть лесных массивов включена в заповедники и охраняемые территории.

Ежегодно в области лесовосстановления (посадка и посев, содействие естественному возобновлению леса) проводится на площади 5 − 8 тыс. га. Так, только за последние пять лет лесовосстановительные работы проведены на площади 34 тыс. га. Лесоустроительные работы были проведены на площади 1,4 млн. га, что составляет 27,6 % общереспубликанского их объёма. В общей площади рубок ухода и санитарных рубок удельный вес Гомельской области − около 20 % республиканского. Такова же доля области в объёме вырубленной с этими целями древесины. Ежегодно в области заготавливается от 100 до 500 тонн грибов около 1,5 тыс. тонн дикорастущих плодов и ягод, 50 − 70 тонн семян древесных и кустарниковых пород. Кроме того, лесхозами области ведется заготовка живицы и осмола, берёзового сока, лекарственно-технического сырья (ландыш, дубовая кора и многое другое). На лесных площадях проводятся выпас скота, сенокошение, устанавливаются пасеки, разводятся животные ценных и охотничьих видов, Активно ведется борьба с вредителями леса, с лесными пожарами, незаконными видами промысла

В Гомельской области находятся десятки производств, осуществляющих лесозаготовки, лесопиление, деревообработку, производство деревянной тары и стройдеталей, фанеры, мебели. Имеются предприятия по производству целлюлозы и картона, бумаги, обоев, спичек и другой продукции на основе древесины. Все эти предприятия объединяются в лесную, деревообрабатывающую и целлюлозно-бумажную промышленность (лесная индустрия). В основном отрасль ориентируется на местную сырьевую базу. Основные центры лесной индустрии − Гомель, Мозырь, Речица, Светлогорск, Добруш [17].

Помимо предприятий, непосредственно входящих в состав лесной, деревообрабатывающей и целлюлозно-бумажной промышленности и лесхозов, являющихся частью лесопромышленного комплекса, лесозаготовка, обработка древесины и изделий из неё осуществляются некоторыми предприятиями местной промышленности (промкомбинаты и др.), колхозами и иными негосударственными организациями. Это необходимо иметь в виду для полноты экономической и географической характеристик системы лесопользования.

Лесозаготовки (основное пользование) ведутся подразделениями производственных объединений «Гомельлес» и «Житковичилес» В небольших объёмах рубки леса ведутся в лесхозах, колхозных лесах и на лесных площадях, пользователями которых являются организации других ведомств (например, Минобороны) и местные органы самоуправления (лесопарковые зоны городов и др.). Массовые лесозаготовки возможны только в лесах II группы на площадях, покрытых спелым лесом. Таких площадей в области немного (менее 5 % лесопокрытой площади).

Лесопиление и деревообработка ведутся в районах лесозаготовок и в центрах деревообрабатывающей промышленности.

Крупнейшие предприятия - «Гомельдрев»; «Речицадрев», «Мозырьдрев». Менее значительные предприятия имеются в Жлобине, Рогачеве, Житковичах, Ельске.

Лесохимические производства имеются в Гомеле, Мозыре и Речице, где осуществляется также гидролиз древесины (гидролизный завод). Центры целлюлозно-бумажной отрасли − Светлогорск (целлюлозно-картонный завод), Добруш (бумажная фабрика «Герой труда») и Гомель (предприятие «Гомельобои» и бумажно-полиграфическая фабрика «Полеспечать»).

Гомель, Мозырь и Речица − основные производители мебели, фанеры и спичек (Гомель). Развиваются также производство мебели и стройдеталей на предприятиях негосударственного сектора. Сохранились народные промыслы (бондарский, лозоплетение, резьба по дереву и др.) [13].

Перспективы развития производств лесного комплекса ограничиваются недостаточной собственной ресурсной базой, последствиями чернобыльской катастрофы, низким уровнем технологической оснащенности. Недостаток инвестиций сдерживает обновление основных фондов. В силу общих для всего хозяйства области и страны экономических проблем переходного периода всё ещё недостаточно используются имеющиеся производственные мощности. В 2010 г. использование мощностей по производству пиломатериалов составляло 50,1 %, фанеры − 73,8 %, бумаги − 12,9 % . Другие задачи, стоящие перед предприятиями лесного комплекса, в первую очередь − лесной индустрии, − рост производительности труда, повышение коэффициента полезного использования древесины, улучшение качества выпускаемой продукции, рациональное использование отходов. Экологические проблемы возникают при химической обработке древесины (фанерно-спичечное производство и др.), при производстве целлюлозы, в гидролизном производстве (где образуются значительные по массе отходы лигнина). Требуют внимания те виды продукции, которые пользуются спросом на мировом рынке. Так, корпусная мебель ПО «Гомельдрев» (из дуба, чёрной ольхи) экспортируется во многие страны мира. Хорошей репутацией пользуются гомельские обои, художественные деревянные изделия.

Осуществляемая реструктуризация лесной индустрии (изменение форы собственности, расширение маркетинговых исследований, восстановление экономических связей со странами СНГ и поиск новых партнеров) также могут способствовать сохранению лесного комплекса как традиционной отрасли хозяйственной специализации Гомельщины [17].

3 Воздействие отрасли на природную среду (на примере ЧПУП «Гомельобои»)

.1 Общие сведения о предприятии и его реквизиты

ЧПУП «Гомельобои» расположено на ул. Севастопольской, 45 г.Гомеля.

Основная производственная деятельность − печатание обоев способом высокой и глубокой печати, текстурных материалов для мебельной промышленности.

Общее количество работающих − 1392 человека, ИТР − 256 человек.

Количество смен работы − 2.

Количество рабочих дней − 250.

Приведенные далее по тексту расчеты выбросов в атмосферу, использование вод на хозяйственно-питьевые нужды, объекты сбрасываемых вод взяты с учетом каждого конкретного оборудования и продолжительности его работы в сутки, месяц, год [20].

.2 Цеха и производственные объекты

Цех № 1 (глубокой печати)

Печатание обоев способом глубокой печати осуществляется пологими металлическими цилиндрами, на которых после нанесения медного слоя выгравирован рисунок, на обоепечатных машинах.

В состав печатных материалов входят водноспиртовая смесь в соотношении 1 : 3 или 1 : 2 и воднорастворимые краски, для закрепления красочного слоя на бумаге в исходный состав добавляется шлихтующий препарат.

Для декоративной отделки обоев используются перламутровые краски импортного производства, в состав которых входят вода, перламутр.

Для склеивания обоев «Дуплекс» используется клей «Мовеол» импортного производства.

Вредности: спирт этиловый, формальдегид, пыль бумажная, взвешенные вещества.

Примечание: линия по производству обоев ПВХ способом горячего тиснения находится в стадии проектирования.

Цех № 2 (высокой печати)

Производство обоев осуществляется способом глубокой печати на обоепечатных машинах.

Размотка обоев производится на размоточных станках с последующей упаковкой в полиэтиленовую пленку в термопечах.

На участке краскоподготовки готовятся окрасочные суспензии в составе водорастворимых красок, водноспиртовой смеси.

Для декоративной отделки обоев используются перламутровые краски импортного производства.

Для придания влагостойких качеств обоям используется покрытие из смеси латексов.

Вредности: пыль бумажная, спирт этиловый, формальдегид, стирол, взвешенные вещества [21].

Цех № 3. (декоративной бумаги, обоев)

Участок производства декоративной бумаги. Осуществляется печать высокодекоративных текстурных материалов для мебельной промышленности.

Печать осуществляется воднорастворимыми красками импортного производства.

Вредности: спирт этиловый.

Участок производства влагостойких обоев. Осуществляется производство влагостойких обоев способом глубокой печати. Влагостойкое покрытие наносится латексом.

Размотка обоев осуществляется на размоточном станке с последующей упаковкой в полиэтиленовую пленку в термопечи.

Вредности: спирт этиловый, формальдегид, стирол, взвешенные вещества.

Цех печатных форм. Производится изготовление печатных форм заданного рисунка для печатания обоев.

Вредности: хрома оксид, натрия гидроокись, никель металлический, меди оксид, кислота серная, азотная кислота, спирт этиловый.

Ремонтно-механический цех (РМЦ). Производится обработка металлических заготовок, сварочные работы, обработка резиновых, полиуретановых, бумажных валов.

Вредности: взвешенные вещества, железа оксид, марганца диоксид, пыль неорганическая с содержанием SiO2 10 % − 20 %, водород фтористый, азота диоксид, углерода оксид.

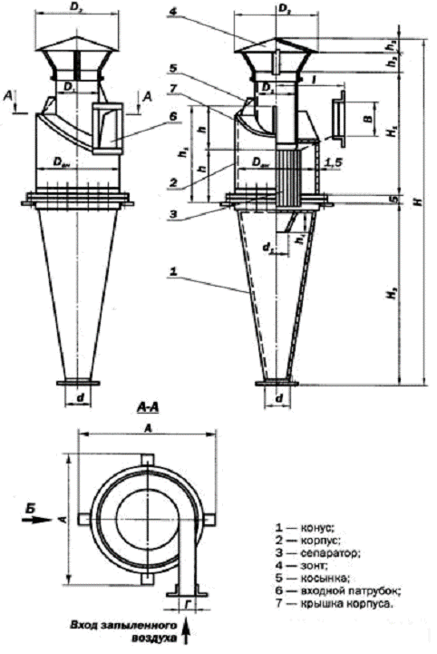
Столярный участок. Производится обработка древесины на деревообрабатывающих станках.

Вредность: пыль древесная.

Паросиловой цех. Осуществляется обеспечение производства технологическим паром и горячей водой котлоагрегатами, работающими на природном газе.

Вредности: азота диоксид, углерода оксид.

Электроцех. Включает аккумуляторный участок, где производится подзарядка аккумуляторов электропогрузчиков серной кислотой, и ремонтный участок, где производится обжиг и сушка электродвигателей.

Вредности: серная кислота, формальдегид, ксилол, спирт бутиловый, уайт-спирит.

АЗС. Производится прием, хранение и отпуск бензина А-76, А-92, дизтоплива.

Вредности: бензол, ксилолу толуол, этилбензол, углеводороды непредельные С2-С5, углеводороды предельные С1-С10, углеводороды предельные С12-С19.

Спиртохранилище. Производится хранение и отпуск спирта этилового на технологические нужды.

Вредности: спирт этиловый.

На предприятии выявлено 82 организованных источников и 1 неорганизованный.

Характеристика источников выделения и выбросов вредных веществ в атмосферу приведена в таблице ниже, которая заполнена на основании санитарно-технического обследования вентвыбросов вредных веществ в атмосферу.

ЧПУП «Гомельобои» является предприятием 3 класса опасности [21].

3.3 Перечень загрязняющих веществ, выбрасываемых в атмосферу предприятием

На промплощадке предприятия обследовано 112 источников, выбрасывающих в атмосферу загрязняющие вещества 48 наименований.

Таблица 5 - Перечень загрязняющих веществ, выбрасываемых в атмосферу предприятием

Код

Наименование вещества

ПДКм.р. г/мЗ

ПДБс.с, кг/мЗ

ОБУВ, мг/мЗ

Класс опасности

Валовой выброс







г/с

т/год

1

2

3

4

5

6

7

8

0110

Диванадий пентоксид (пыль ванадия пятио-кись)

0,008

0,002

-

1

0,00006

0,000004

0123

Железо оксид (II) (в пересчете на железо)

0,200

0,100

-

3

0,12014

0,108400

0143

Марганец н его соединения (в пересчете на марганец диоксид)

0,010

0,005

-

2

0,00370

0,006000

0146

Медь (II) оксид (в пересчете на медь)

0,020

0,008

-

2

0,00131

0,000340

0164

Никель оксид (в пересчете на никель)

0,010

0,004

-

2

0,00002

0,000060

0184

Свинец и его неорга-нич. соедин. (в пересчете на свинец)

0,001

0,0003

-

1

0,00001

0,000004

0203

Хром (VI) (в пересчете на хром)

0,002

0,0015

-

2

0,00072

0,002040

0301

Азота (II) оксид (азота диоксид)

0,250

0,100

-

2

1,33950

8,678640

0302

Азотная кислота

0,400

0,300

-

2

0,00028

0,000410

0304

Азота оксид

0,400

0,240

-

3

0,20480

1,399500

0316

Гидрохлорид (водород хлористый)

0,200

0,100

-

2

0,06400

0,226800

0322

Серная кислота

0,300

0,100

-

2

0,00230

0,011800

0330

Серы диоксид

0,500

0,200

-

3

0,00444

0,007400

0337

Углерода оксид

5,000

3,00

-

4

2,14800

22,171630

0342

Фтористые газообразные соединения (в пересчете на Фтор)

0,020

0,005

-

2

0,00260

0,004800

0602

Бензол

0,100

0,040

-

2

0,07220

0,002200

0616

Ксилол

0,200

0,100

-

3

0,01240

0,017700

0620

Винилбензол (стирол)

0,040

0,008

-

2

0,02950

0,292000

0621

Толуол

0,600

0,300

-

3

0,07206

0,172830

0627

Этилбензол

0,020

-

-

3

0,00200

0,000700

0703

Бензапирен

-

5 × 10-6

-

1

4,8 × 10-7

4,29 × 10-6

0827

Хролэтилен (винилхлорид)

0,015

0,010

-

1

0,17600

1,401600

1042

Бутан-1-ол

0,100

-

-

3

0,00510

0,055100

1051

Пропан-2-ол (изопропанол)

0,600

0,200

-

3

0,32580

2,562300

1052

Метанол

1,000

0,500

-

3

0,09220

0,870800

1061

Этанол

5,000

2,000

-

4

26,83680

289,53190

1206

Бутилакрилат

0,007

-

-

2

0,07150

0,970800

1210

Бутилацетат

0,100

-

-

4

0,02220

0,034200

1213

Этенилацетат (винил-ацетат)

0,150

0,060

-

3

0,12964

1,937400

1317

Ацетальдегид

0,010

-

-

3

0,02610

0,342000

1325

Формальдегид

0,030

0,012

2

0,08360

1,025100

1232

Метил-2-метилпроп-2-еноат (метилметакри лат)

0,100

0,040

-

3

0,03610

0,470100

1401

Пропан-2-он (ацетон)

0,350

0,150

-

4

0,08020

0,219300

1512

Акриловая кислота

0,100

0,060

-

3

0,31360

4,409300

1555

Уксусная кислота

0,200

0,060

-

3

0,01030

0,143000

1611

Оксиран (этилена оксид)

0,300

0,150

-

3

0,00550

0,072100

1852

2-аниноэтанол (моноэтаноламин)

0,100

0,040

-

2

0,01180

0,147500

2754

Углеводороды предельные С12-С19

1,000

0,400

-

4

0,00520

0,005300

2902

Твердые частицы (суммарно)

0,300

0,150

-

3

0,04450

0,076900

2908

Пыль неорганическая содержанием SiO2<70%

0,300

0,100

-

3

0,00870

0,021800

2962

Пыль бумаги

0,100

-

-

-

0,23840

2,758000

0150

Натрий гидрооксид

-

-

0,01

-

0,00100

0,003300

0401

Углеводороды предельные алифатические С1- С10 (алканы)

-

-

25,00

4

3,73910

6,369200

0501

Углеводороды непредельные (алкены)

-

-

3,00

4

0,08400

0,002600

1081

Поливиниловый спирт

-

-

0,10

-

0,00250

0,011900

1119

2-этоксиэтанол



0,70

-

0,00180

0,027200

2936

Пыль древесная

-

-

0,40

3

0,08190

0,490400

2976

Пыль слюды

-

-

0,04

-

0,00990

0,038700


Итого по предприятию:





36,52344

347,10210


.4 Особенности загрязнения атмосферы выбросами предприятия «Гомельобои»

Воздух, удаляемый местными вентиляционными установками, запыленный или загрязненный должен очищаться перед выпуском в атмосферу.

Основным требованием санитарных норм является весовое содержание пыли (концентрация) в одном куб. метре, то есть мг/м3.

В зависимости от начального пылесодержания (в мг/м3) в очищаемом воздухе и дисперсности пыли, подбирается пылеочистной аппарат, который в данных частных условиях может обеспечить требуемую санитарным нормам эффективность пылезадержания.

На ЧПУП «Гомельобои» установлен Циклон УЦ-38 №13.

Сухие циклоны типа «Ц» применяются для очистки вентиляционного воздуха от сухой не слипающейся пыли.

Циклоны УЦ, предназначены для очистки технологических выбросов деревообрабатывающих производств от неслипающихся, неволокнистых пылей, а также смесей пыли с сухими опилками и стружкой.

Все типоразмеры циклонов типа УЦ имеют по четыре модификации в зависимости от диаметра выхлопного патрубка. С увеличением номера модификации у циклонов каждого калибра (диаметра) изменяются их технико-экономические характеристики; уменьшается коэффициент очистки выбросов, но уменьшается и аэродинамическое сопротивление.

Модификация циклонов связана с соотношением диаметров выхлопного патрубка к диаметру корпуса. Циклоны УЦ изготавливаются правого и левого исполнения.

Циклоны могут комплектоваться улиткой на выхлопной трубе или зонтом, что зависит от расположения вентилятора. При работе циклона под давлением на нем устанавливается зонт, под разряжением - улитка.

Пример условного обозначения циклона

УЦ-1800-3П

Где У - универсальный;

Ц - циклон В;

- калибр (диаметр корпуса в мм);

- модификация циклона.

При небольших капитальных затратах и эксплуатационных расходах циклоны обеспечивают очистку газов с эффективностью порядка 91 − 99 % от частиц пыли размером более 10 мкм. В основном, рекомендуется их использовать для предварительной очистки газов и устанавливать перед высокоэффективными аппаратами (например, фильтрами или электрофильтрами). В ряде случаев достигаемая эффективность циклонов оказывается достаточной для выброса газов или воздуха в атмосферный воздух.

Основными элементами циклонов являются корпус, выхлопная труба и бункер. Газ поступает в верхнюю часть корпуса через входной патрубок, приваренный к корпусу тангенциально. Улавливание пыли происходит под действием центробежной силы, возникающей при движении газа между корпусом и выхлопной трубой. Уловленная пыль ссыпается в бункер, а очищенный газ выбрасывается через выхлопную трубу.

Конструктивная особенность батарейных циклонов состоит в том, что закручивание газового потока и улавливание пыли в них обеспечивается размещенными в корпусе аппарата циклонными элементами.

В зависимости от производительности циклоны можно устанавливать по одному (одиночное исполнение) или объединять в группы из двух, четырех, шести или восьми циклонов (групповое исполнение).

Одиночные циклоны изготовляют с «левым» и «правым» вращением газового потока. Обычно «правым» принято называть вращение потока в циклоне по часовой стрелке (если смотреть со стороны выхлопной трубы), «левым» - вращение потока против часовой стрелки. Направление вращения выбирают, исходя из условий компоновки циклона в схеме, а также расположения циклонов в группе [23].

Расчетная степень очистки может быть достигнута лишь при условии соответствия между типом, размером циклона и его производительностью, а также при соблюдении правил эксплуатации циклона. Степень очистки резко снижается при подсосе атмосферного воздуха внутрь циклона, особенно через бункер; поэтому подсос должен быть минимальным (до 5 %).

Рисунок - Устройство циклона

В результате того, что в столярном цеху на ЧПУП «Гомельобои» в виде фильтрующего агрегата установлен Циклон УЦ-38 №13, пыль, выделяемая этим цехом в окружающую среду, уменьшается на 91,2 %, что подтверждается расчетами.

Таблица 6 - Расчёт концентрации пыли в промышленных выбросах

№ источника

№ фильтра

Вес чистого фильтра, г

Вес фильтра с навеской, г

Контрольный фильтр до замеров, г

Контрольный фильтр после замеров, г

Масса навески, г

Время отбора, мин

Объемный расход, л/мин

Температура газа в газоходе, °С

Давление атмосферное, кПа

Избыточное давление газа в газоходе, Па

Объем отобранной пробы

Температура в системе, 0С

Избыточное давление газа в системе, Па

Объем отобранной пробы при Н.У., л

Концентрация, мг/м³

Концентрация средняя, мг/м³

Диаметр в точке отбора, м

Скорость в точке отбора, м/с

Объемный расход газа, приведенный к Н.У., м³/ч

Средняя концентрация, г/с

Степень очистки, %

№51 вход

1

0,11130

0,17845

0,11130

0,11130

0,06715

10,0

16,0

16

99,50

795,6

160,0

16

1944,0

152,506

440,3103

438,999

0,50

9,13

5988,00

0,730



2

0,11125

0,17770



0,06645










435,7203








3

0,11115

0,17795



0,06680










438,0153








4

0,11105

0,17870



0,06765










443,5888








5

0,11145

0,17815



0,06670










437,3596







№51 выход

1

0,11130

0,11725



0,00595

10,0

16,0

16


81,5

160,0

16

1931,0

151,422

39,2943

39,823

0,82

3,29

5803,56

0,064

91,2%


2

0,11125

0,11715



0,00590










38,9641








3

0,11125

0,11710



0,00585










38,6339








4

0,11130

0,11755



0,00625










41,2755








5

0,11110

0,11730



0,00620










40,9453









. Мероприятия по защите окружающей среды на предприятии и оценка их эффективности

.1 Цели мероприятий по защите окружающей среды

Целью мероприятий по защите окружающей среды является расчетливое и высокоэффективное использование, сохранение, воссоздание разных видов ресурсов; поддержка динамического экологического равновесия и благоприятных с точки зрения здоровья человека условий и качественных характеристик окружающей среды. Цели охраны природы должны ставиться равнозначно с другими целями использования (производством продуктов питания, промышленным производством и созданием инфраструктуры). Охрана природной среды рассматривается как самостоятельно политическая задача. Политика по природной среды - это совокупность всех действий, направленных на избежание вмешательства в природную среду, на его уменьшение и на устранение повреждений окружающей среды, что уже произошли. Конкретные цели и программы касаются прежде всего:

− определение предельно значений вредных для окружающей среды выбросов;

− экономии энергии;

− содействие использованию отходов тепла;

− утилизация старых материалов, а также отходов;

− поддержание здоровья лесов и природной силы самоочищения водоемов;

− внедрение автомобилей с минимальным количеством отработанных газов и бензинов, не содержащего свинец.

− поощрение бережного отношения потребителей к окружающей среде. Мероприятия по улучшению окружающей среды, а именно:

− технологические − разработка и внедрение новых технологий, очистных сооружений, видов топлива;

− архитектурно-планировочные − озеленение населенных пунктов, организация санитарно-защитных зон, рациональное планирование предприятий и жилых массивов;

− инженерно-организационные − снижение интенсивности движения транспорта на перегруженных автомагистралях, организация экологически патрульного контроля;

− экономические − вложение средств в развитие новых, ресурсосберегающих технологий;

− правовые − принятие и соблюдение законодательных актов по поддержанию качества атмосферы, водоемов, почвы;

− просветительско-воспитательные − формирование экологической культуры, прежде всего у молодежи [25].

Действие человека на природную среду приняла угрожающие масштабы. Чтобы в корне улучшить положение, понадобятся целеустремленные и продуманные действия. Ответственная и действенная политика по отношению к естественной среде будет возможна лишь в том случае, если мы накопим статистические и экономические данные о современном состоянии среды, обоснованные знания о взаимодействии важных экологических факторов, если разработает новые методы, средства и мероприятия уменьшения и предотвращение вреда, которые будут создавать общую государственную концепцию охраны естественной среды [29].

4.2 Мероприятия по защите окружающей среды на ЧПУП «Гомельобои»

На предприятии образуются следующие виды отходов: опилки натуральные чистой древесины; опилки, загрязнённые минеральным маслом; сучья, ветви, вершины; отходы бумаги и картона с пропиткой и покрытием; отходы рубероида; отходы печатной продукции; стеклобой; отходы бетона; грунты, загрязнённые химическими веществами; шлам станции нейтрализации при очистке; аккумуляторы свинцовые; отходы линолеума; ПЭТ-бутылки; прочие отходы пластмасс; ветошь, загрязненная ЛКМ.

Таблица 7 − План природоохранных мероприятий на 2012 год ЧПУП «Гомельобои»

Наименование мероприятий

Срок выполнения (год начала и окончания)

Мощность т.м3/сут. т. м3/час, объем снижения образования (переработка), отходов, тн

Общая сметная стоимость, тыс. руб.

Освоено на 01.01.2012

Объемы затрат на 2012 г, тыс. руб.

Эффект от выполнения

Исполнитель

1

3

4

5

6

7

8

9

1. Охрана атмосферного воздуха

Мониторинг атмосферного воздуха санитарно-защитной зоны предприятия

Согласно схеме


9000,0


9 000,0

Контроль качества атмосферного воздуха в СЗЗ предприятия

Начальник БООС

Разработка проекта санитарно-защитной зоны предприятия

Октябрь 2011г. - май 2012г.


40 000,0


20 000,0

Соблюдение природоохранного законодательства

Начальник БООС

Мониторинг выбросов загрязняющих веществ в атмосферный воздух (2 источника)

Согласно схеме


Собственными силами


Собственными силами

Контроль выбросов загрязняющих веществ в атмосферный воздух

Начальник БООС

Контроль эффективности ГОУ

3 -4 квартал


Собственными силами


Собственными силами

Соблюдение природоохранного законодательства

Главный механик

2. Охрана водного бассейна

Мониторинг сбросов сточных вод ливневой канализации в о. Шапор

Согласно схеме


Собственными силами


Собственными силами

Контроль качества сбрасываемых сточных вод в водные объекты

Начальник БООС

Контроль качества производственных стоков

Согласно графику контроля


Собственными силами


Собственными силами

Контроль сбросов сточных вод в городскую канализацию

Начальник БООС

Модернизация системы охлаждения валов ОПМ 1-3 цеха №1

4 квартал 2012г.

Снижение расхода технической воды на 6,3 тыс. м3

21,0


21,0

Главный инженер Главный механик Главный энергетик Начальник цеха №1

Замена фильтрующего материала на очистных сооружениях ливневой канализации

2 квартал 2012 г.

Снижение загрязнения поверхностного стока

Средства предприятия 15 млн. руб.

-

Средства предприятия 15 млн. руб.

Снижение загрязнения поверхностного стока

Главный энергетик Начальник ПСЦ

3. Обращение с отходами

Оптимизация рецептуры и наноса покровной композиции в производстве водостойких обоев по цеху №2

2 квартал 2012г.

Снижение норм расхода смеси латексов на 1 кг/т.у.к.

-


Собственными силами

Снижение образования отходов производства

Главный инженер Начальник БТ Начальник цеха №2

Приобрести и заменить на КТП №3 конденсаторную установку, на экологически безопасную

4 квартал 2012 года

Предотвращение загрязнения территории ПХБ

Средства предприятия 50 млн.руб.

-

Средства предприятия 50 млн.руб.

Предотвращение загрязнения территории ПХБ

Главный инженер Главный энергетик Начальник ЭРЦ

4. Защита растительного мира

Приобрести и высадить 40 шт. зеленых насаждений, обустроить два газона

2 квартал 2012г.


5,0


5,0

Соблюдение природоохранного законодательства

Начальник АХО Начальник БООС


Таблица 8 − Отчет о выполнении плана природоохранных мероприятий на 2012 год частного предприятия «Гомельобои»

Наименование мероприятий

Срок исполнения

Ответственный исполнитель

Примечания

1

2

3

4

Инвентаризация источников выбросов с разработкой норматива ПДВ

Декабрь 2012

Начальник БООС

Инвентаризация источников выбросов и разработка нормативов ПДВ выполнена в полном объеме

Мониторинг атмосферного воздуха санитарно-защитной зоны предприятия

Согласно схемы

Начальник БООС

Выполнено в полном объеме

Разработка проекта санитарно-защитной зоны предприятия

Декабрь 2012г.

Начальник БООС

Выполнено в полном объеме

Мониторинг выбросов загрязняющих веществ в атмосферный воздух (2 источника)

Согласно схемы

Начальник ПСЛ

Выполнено в полном объеме

Контроль эффективности ГОУ

3-4 квартал

Главный механик ПСЛ

Выполнено в полном объеме

Замена станции нейтрализации ЦПФ

Перенос сроков на 2013-2014 г.

Главный инженер Начальник ЦПФ

Перенесено из-за отсутствия финансирования.

Мониторинг сбросов сточных вод ливневой канализации в о. Шапор

Согласно схемы

Начальник БООС

Выполнено в полном объеме

Контроль качества производственных стоков

Согласно графику контроля

Начальник БООС

Выполнено в полном объеме

Замена фильтрующего материала на очистных сооружениях ливневой канализации

2 квартал 2012 г.

Начальник ПСЦ

Выполнено в полном объеме

Оптимизация рецептуры и наноса покровной композиции в производстве водостойких обоев в Цеху №2

Перенос сроков на 2013-2014 г.

Главный инженер Начальник цеха №2 Главный механик

Перенесено из-за отсутствия финансирования.

Приобрести и заменить на КТП № 3 конденсаторную установку, содержащую ПХБ, на экологически безопасную

Перенос сроков на 2013-2014 г.

Главный энергетик Начальник ЭРЦ

Перенесено из-за отсутствия финансирования.

Приобрести и высадить 40 шт. зеленых насаждений, обустроить два газона

1-3 квартал 2012 г.

Начальник АХО

Выполнено в полном объеме


Таблица 9 − План природоохранных мероприятий на 2013 год частного предприятия «Гомельобои»

Наименование мероприятий

Срок выполнения (год начала и окончания)

Мощность т.м3/сут. т. м3/час, объем снижения образования (переработка), отходов, тн

Общая сметная стоимость, тыс. руб.

Освоено на 01.01.2013

Объемы затрат на 2013 г, тыс. руб.

Эффект от выполнения

Исполнитель

1. Охрана атмосферного воздуха

Мониторинг атмосферного воздуха санитарно-защитной зоны предприятия

Согласно схеме


16 000,0


16 000,0

Контроль качества атмосферного воздуха в СЗЗ предприятия

Начальник БООС

Контроль воздуха рабочей зоны предприятия

Согласно схеме ведомственного лабораторного контроля


Собственными силами


Собственными силами

Контроль качества воздуха рабочей зоны

Начальник ПСЛ

Мониторинг выбросов загрязняющих веществ в атмосферный воздух (2 источника)

Согласно схеме


Собственными силами


Собственными силами

Контроль выбросов загрязняющих веществ в атмосферный воздух

Начальник БООС Начальник ПСЛ

Контроль эффективности ГОУ

3 -4 квартал


Собственными силами


Собственными силами

Соблюдение природоохранного законодательства

Главный механик Начальник ПСЛ

2. Охрана водного бассейна

Замена станции нейтрализации ЦПФ 1-этап проработка предложений и тендер

Январь - декабрь 2013г.

Улучшение качества очистки стоков, снижение образования отходов на 10,0т/год.

400 000,0


400 000,0

Улучшение качества очистки стоков, снижение образования отходов на 10,0т/год

Главный инженер Начальник ЦПФ

Мониторинг сбросов сточных вод ливневой канализации в о. Шапор

Согласно схеме


Собственными силами


Собственными силами

Контроль качества сбрасываемых сточных вод в водные объекты

Начальник БООС Начальник ПСЛ

Контроль качества производственных стоков

Согласно графику контроля


Собственными силами


Собственными силами

Контроль сбросов сточных вод в городскую канализацию

Начальник БООС Начальник ПСЛ

Модернизация системы охлаждения валов ОПМ 1-3 цеха №1

4 квартал 2013г.

Снижение расхода технической воды на 6,3 тыс. м3

31 000,0


31 000,0

Снижение расхода технической воды на 6,3 тыс. м3 Снижение сброса технической воды на 6,3 тыс. м3

Главный инженер Главный механик Главный энергетик Начальник цеха №1

Замена фильтрующего материала на очистных сооружениях ливневой канализации

По мере необходимости

Снижение загрязнения поверхностного стока

Средства предприятия 15 млн. руб.

-

Средства предприятия 15 млн. руб.

Снижение загрязнения поверхностного стока

Главный энергетик Начальник ПСЦ

3. Обращение с отходами

Оптимизация рецептуры и наноса покровной композиции в производстве водостойких обоев по цеху №2

3 квартал 2013г.

Снижение норм расхода смеси латексов на 1 кг/т.у.к.

-


Собственными силами

Снижение образования отходов производства

Главный инженер Начальник БТ Начальник цеха №2

Приобрести и заменить на КТП №3 конденсаторную установку, содержащую ПХБ, на экологически безопасную

4 квартал 2013 года

Предотвращение загрязнения территории ПХБ

Средства предприятия 50 млн.руб.

-

Средства предприятия 50 млн.руб.

Предотвращение загрязнения территории ПХБ

Главный инженер Главный энергетик Начальник ЭРЦ

4. Защита растительного мира

Приобрести и высадить 20 шт. зеленых насаждений, обустроить два газона

2 квартал 2013г.


5,0


5,0

Соблюдение природоохранного законодательства

Начальник АХО Начальник БООС


Заключение

Республика Беларусь располагает развитой лесной, деревообрабатывающей и целлюлозно-бумажной промышленностью. Структура лесопромышленного комплекса представлена следующими отраслями: лесозаготовительная, деревообрабатывающая, целлюлозно-бумажная и лесохимическая промышленность.

Проблема более эффективного, полного, комплексного использования и воспроизводства лесных ресурсов, являющихся возобновляемым национальным богатством и основой эффективного функционирования лесопромышленного комплекса, была и остается актуальной. Основные направления ее решения в современных условиях изложены в разработанных белорусскими учеными и одобренных правительством документах - «Концепция устойчивого развития лесного хозяйства до 2015 года» и «Республиканская программа рационального и комплексного использования древесных ресурсов на 2011− 2015 годы» [3].

Очень остро стоит в настоящее время проблема отходности целлюлозно-бумажных комбинатов. Многотонные отходы этих предприятий складируются, занимая большие площади и отрицательно воздействуя на окружающую среду.

Основными методами борьбы с отходами являются их сжигание либо переработка с целью получения полезных продуктов [18].

В производственной деятельности ЧПУП «Гомельобои» используются технологические процессы, осуществление которых приводит к необходимости эксплуатации организованных и неорганизованных источников выбросов загрязняющих веществ в атмосферу.

На промплощадке предприятия обследовано 112 источников, выбрасывающих в атмосферу загрязняющие вещества 48 наименований.

Наибольший вклад в загрязнение окружающей среды вносят следующие производственные участки: цех высокой печати, участок производства декоративной бумаги, участок производства влагостойких обоев, цех печатных форм, столярный участок, ремонтно-механический цех, электроцех, АЗС.

На границе нормативной санитарно-защитной зоны имеются превышения значений предельно допустимых концентраций по ксилолу, бензолу. Для снижения выбросов в атмосферу необходимы разработка и выполнение мероприятий по снижению выбросов загрязняющих веществ в атмосферный воздух. Нужно провести реконструкцию АЗС с целью уменьшения концентрации выбросов бензола и ксилола.

По данным проекта нормативов допустимых выбросов загрязняющих веществ в атмосферный воздух ЧПУП «Гомельобои» относится ко второй категории воздействия. По результатам инвентаризации суммарные выбросы загрязняющих веществ составили - 26,051834 г/с и 163,630848 т/год [25].

Из результатов обследования количества и состава парогазовых выбросов ведущих предприятий сульфат-целлюлозного производства следует, что расходы выбросов зависят от мощности котлоагрегата, высоты и диаметра вытяжной трубы, по которой они выводятся из бака растворителя в атмосферу, угла раскрытия шиберных устройств на этих трубах, состава слабого белого щёлока и уровня его в баке-растворителе, времени года и региона расположения производства [8].

Список использованных источников

1      Коммонер Б. Замыкающий круг: природа, человек, технология. - Л.: Гидрометеоиздат, 1994. - 397 с.

2       Комягин В. М. Экология и промышленность. - М.: Наука, 2004. - 252 с.

         Национальная стратегия устойчивого развития Республики Беларусь. - Минск, 1997. - 210 с.

4       Лозановская И. Н. Экология и охрана биосферы при химическом загрязнении / И. Н. Лозановская. - М.: Высшая школа, 1998. - 286 с.

5       Радзевич Н. Н. Охрана и преобразование природы / Н. Н. Радзевич, К. В. Пашканг. - М.: «Просвещение», 1979. - 240 с.

6      Романова Э. П., Природные ресурсы мира / Э. П. Романова. - М.: МГУ, 1993. - 304 с.

7       Логинов В.Ф. Основы экологии и природопользования. - Полоцк: ПГУ,1998. - 395 с.

         Романов В.С., Харитонова Н.З. Охрана природы. - Минск.: Навука i тэхнiка, 1986. - 214 с.

9      Миланова Е.В., Рябчиков А.М. Использование природных ресурсов и охрана природы. М.: Высш.шк., 1986. - 226 с.

10     Реймерс Н.Ф. Природопользование.- М.: Мысль, 1990. - 320 с.

         Небел Б. Наука об окружающей среде: Как устроен мир: в 2-х т. - М.: Мир, 1993-1994. − 245 с.

         Реймерс Н.Ф. Экология. - М.: Журнал «Россия Молодая», 1994. − № 13. с. 12-14.

         Козловская Л.В. Социально-экономическая география Беларуси: Курс лекций: В 3 ч. ч.2.: Экономико-географическая характеристика межотраслевых комплексов. - Минск.: БГУ, 2003. - 100 с.

         Комплексный прогноз социально-экономического развития Республики Беларусь на период до 2010 года. - Мн., 1993. - 92 с.

         Киреенко Е.Г. Социально-экономическая география Республики Беларусь: учеб. пособие. - Минск.: Аверсэв, 2003. - 400 с.

         Лучков А.И. Природа Беларуси: Современность и будущее. - Минск: Навука i тэхнiка, 1993. - 144 с.

         География Гомельской области/ Под ред. Каропа Г.Н., Пашук В.Е. - Гомель, ГГУ, 2000. - 286 с.

         Миллер Т. Жизнь в окружающей среде. В 2-х томах - М.: Прогресс- Пангея, 1993-94. − 420 с.

         Савенок А.Ф., Савенок Е.И. Основы экологии и рационального природопользования. − Мн.: Сэи-Вит, 2004. − 432 с.

         Акт инвентаризации выбросов загрязняющих веществ в атмосферный воздух источниками ЧПУП «Гомельобои». - Гомель: БелГУТ, 2010. - 56 с.

Инвентаризация выбросов загрязняющих веществ в атмосферу источниками Филиала «Центральная база производственного обслуживания» ОАО «Гомельтранснефть Дружба». - Гомель: БелГУТ, 2010. - 48 с.

22 Проект санитарно-защитной зоны ЧПУП «Гомельобои». - Гомель: БелГУТ, 2012. - 97 с.

23 Байтелова А.И., Шабанова С.В. Источники загрязнения объектов окружающей среды: Методические указания к лабораторным и практическим занятиям. . - Оренбург: ГОУ ОГУ, 2003. - 47 с.

Инструкция о порядке отнесения объектов воздействия на атмосферный воздух к определенным категориям: утв. М-вом природных ресурсов и охраны окружающей среды Респ. Беларусь 29.05.2009. - Минск: Дикта, 2009. 7 с.

Проект нормативов допустимых выбросов загрязняющих веществ в атмосферный воздух для ЧПУП «Гомельобои» ». - Гомель: БелГУТ, 2012. - 132 с.

 ГОСТ 12.3.018-79. Система стандартов безопасности труда. Системы вентиляционные. Методы аэродинамических испытаний. - Введ. 01.01.81. - Мн., Госстандарт, 2001. - 39 с.

ГОСТ 17.2.4.06-90. Охрана природы. Атмосфера. Методы определения скорости и расхода газопылевых потоков, отходящих от стационарных источников загрязнения. − Введ. 01.01.91. − Мн., Госстандарт, 2001. - 42 с.

ГОСТ 17.2.4.07-90. Охрана природы. Атмосфера. Методы определения давления и температуры газопылевых потоков, отходящих от стационарных источников загрязнения. − Введ. 01.01.91. − Мн., Госстандарт, 2001. - 37 с.

Шимова О.С.; Соколовский Н.К. Экономика природопользования: учеб. пособие. − М.: ИНФРА-М, 2005. − 377 с.

Донская С.А. Основы экологии и экономика природопользования: учеб. / С.А. Донская. − Мн.: МИТСО, 2006. − 80 с.

Шимова О.С.; Соколовский Н.К. Основы экологии и экономика природопользования: учебник. − Мн.: БГЭУ, 2001. − 368 с.

Похожие работы на - Воздействие на окружающую среду предприятий деревообрабатывающей отрасли

 

Не нашли материал для своей работы?
Поможем написать уникальную работу
Без плагиата!
Без нейросетей!