Влияние экологических факторов на здоровье человека

  • Вид работы:
    Курсовая работа (т)
  • Предмет:
    Экология
  • Язык:
    Русский
    ,
    Формат файла:
    MS Word
    2,82 Мб
  • Опубликовано:
    2014-06-24
Вы можете узнать стоимость помощи в написании студенческой работы.
Помощь в написании работы, которую точно примут!

Влияние экологических факторов на здоровье человека

МИНИСТЕРСТВО ЗДРАВООХРАНЕНИЯ ИРКУТСКОЙ ОБЛАСТИ

Областное государственное образовательное бюджетное учреждение

среднего профессионального образования

«Государственный медицинский колледж г. Братска»







Тема

ВЛИЯНИЕ ЭКОЛОГИЧЕСКИХ ФАКТОРОВ НА ЗДОРОВЬЕ ЧЕЛОВЕКА

Исполнитель: ст. гр. Ф-137

Мошковская Е.Д.

Руководитель

Морозова Т.В.






Братск, 2014г.

ВВЕДЕНИЕ

Все процессы в биосфере взаимосвязаны. Человечество - лишь незначительная часть биосферы, а человек является лишь одним из видов органической жизни - Homo sapiens (человек разумный). Разум выделил человека из животного мира и дал ему огромное могущество. Человек на протяжении веков стремился не приспособиться к природной среде, а сделать ее удобной для своего существования. Теперь мы осознали, что любая деятельность человека оказывает влияние на окружающую среду, а ухудшение состояния биосферы опасно для всех живых существ, в том числе и для человека. Всестороннее изучение человека, его взаимоотношений с окружающим миром привели к пониманию, что здоровье - это не только отсутствие болезней, но и физическое, психическое и социальное благополучие человека. Здоровье - это капитал, данный нам не только природой от рождения, но и теми условиями, в которых мы живем.

Актуальность темы: Тема актуальна, поскольку автотранспорт и промышленные предприятия оказывают существенное химическое, шумовое, световое и тепловое влияние на загрязнение окружающей среды, что негативно сказывается на здоровье человека. Кроме того, города имеют свои особые социальные условия и уровень медицинского обеспечения, которые тоже влияют на здоровье человека.

Цель исследования: определение зависимости состояния здоровья человека от экологических факторов.

Задачи исследования:.

•        Определить факторы, влияющие на здоровье человека

•        Влияние этих факторов на организм

1  ЭКОЛОГИЧЕСКИЕ ФАКТОРЫ

Экологические факторы - свойства среды обитания, оказывающие какое-либо воздействие на организм. Индифферентные элементы среды, например, инертные газы, экологическими факторами не являются.

Экологические факторы отличаются значительной изменчивостью во времени и пространстве. Например, температура сильно варьирует на поверхности суши, но почти постоянна на дне океана или в глубине пещер.

Один и тот же фактор среды имеет разное значение в жизни совместно обитающих организмов. Например, солевой режим почвы играет первостепенную роль при минеральном питании растений, но безразличен для большинства наземных животных. Интенсивность освещения и спектральный состав света исключительно важны в жизни фототрофных организмов (большинство растений и фотосинтезирующие бактерии), а в жизни гетеротрофных организмов (грибы, животные, значительная часть микроорганизмов) свет не оказывает заметного влияния на жизнедеятельность.

Экологические факторы могут выступать как раздражители, вызывающие приспособительные изменения физиологических функций; как ограничители, обусловливающие невозможность существования тех или иных организмов в данных условиях; как модификаторы, определяющие морфо-анатомические и физиологические изменения организмов.

Организмы испытывают воздействие не статичных неизменных факторов, а их режимов - последовательности изменений за определённое время.

1.1    Классификации экологических факторов

По характеру воздействия:

⦁        Прямо действующие - непосредственно влияющие на организм, главным образом на обмен веществ;

⦁        Косвенно действующие - влияющие опосредованно, через изменение прямо действующих факторов (рельеф, экспозиция, высота над уровнем моря и др.).

По происхождению:

Абиотические - факторы неживой природы:

⦁        климатические: годовая сумма температур, среднегодовая температура, влажность, давление воздуха;

⦁        эдафические (эдафогенные): механический состав почвы, воздухопроницаемость почвы, кислотность почвы, химический состав почвы;

⦁        орографические: рельеф, высота над уровнем моря, крутизна и экспозиция склона;

⦁        химические: газовый состав воздуха, солевой состав воды, концентрация, кислотность;

⦁        физические: шум, магнитные поля, теплопроводность и теплоёмкость, радиоактивность, интенсивность солнечного излучения.

Биотические - связанные с деятельностью живых организмов:

⦁        фитогенные - влияние растений;

⦁        микогенные - влияние грибов;

⦁        зоогенные - влияние животных;

⦁        микробиогенные - влияние микроорганизмов.

Антропогенные (антропические):

⦁        физические: использование атомной энергии, перемещение в поездах и самолётах, влияние шума и вибрации;

⦁        химические: использование минеральных удобрений и ядохимикатов, загрязнение оболочек Земли отходами промышленности и транспорта;

⦁        биологические: продукты питания; организмы, для которых человек может быть средой обитания или источником питания;

⦁        социальные - связанные с отношениями людей и жизнью в обществе.

По расходованию:

⦁        Ресурсы - элементы среды, которые организм потребляет, уменьшая их запас в среде (вода, CO2, O2, свет);

⦁        Условия - не расходуемые организмом элементы среды (температура, движение воздуха, кислотность почвы).

По направленности:

⦁        Векторизованные - направленно изменяющиеся факторы: заболачивание, засоление почвы;

⦁        Многолетние-циклические - с чередованием многолетних периодов усиления и ослабления фактора, например изменение климата в связи с 11-летним солнечным циклом;

⦁        Осцилляторные (импульсные, флуктуационные) - колебания в обе стороны от некоего среднего значения (суточные колебания температуры воздуха, изменение среднемесячной суммы осадков в течение года).

1.2    Действие экологических факторов на организм

Факторы среды воздействуют на организм не по отдельности, а в комплексе, соответственно, любая реакция организма является многофакторно обусловленной. При этом интегральное влияние факторов не равно сумме влияний отдельных факторов, так как между ними происходят различного рода взаимодействия, которые можно подразделить на четыре основных типа:

⦁        Монодоминантность - один из факторов подавляет действие остальных и его величина имеет определяющее значение для организма. Так, полное отсутствие, либо нахождение в почве элементов минерального питания в резком недостатке или избытке препятствуют нормальному усвоению растениями прочих элементов.

⦁        Синергизм - взаимное усиление нескольких факторов, обусловленное положительной обратной связью. Например, влажность почвы, содержание в ней нитратов и освещённость при улучшении обеспечения любым из них повышают эффект воздействия двух других.

⦁        Антагонизм - взаимное гашение нескольких факторов, обусловленное обратной отрицательной связью: увеличение популяции саранчи способствует уменьшению пищевых ресурсов и её популяция сокращается.

⦁        Провокационность - сочетание положительных и отрицательных для организма воздействий, при этом влияние вторых усилено влиянием первых. Так, чем раньше наступает оттепель, тем сильнее растения страдают от последующих заморозков.

Влияние факторов также зависит от природы и текущего состояния организма, поэтому они оказывают неодинаковое воздействие как на разные виды, так и на один организм на разных этапах онтогенеза: низкая влажность губительна для гидрофитов, но безвредна для ксерофитов; низкие температуры без вреда переносятся взрослыми хвойными умеренного пояса, но опасны для молодых растений.

Факторы могут частично замещать друг друга: при ослаблении освещённости интенсивность фотосинтеза не изменится, если увеличить концентрацию углекислого газа в воздухе, что обычно и происходит в теплицах.

Результат воздействия факторов зависит от продолжительности и повторяемости действия их экстремальных значений на протяжении всей жизни организма и его потомков: непродолжительные воздействия могут и не иметь никаких последствий, тогда как продолжительные через механизм естественного отбора ведут к качественным изменениям.


1.3    Реакция организма на изменение экологических факторов

Организмам, особенно ведущим прикреплённый, как растения, или малоподвижный образ жизни, свойственна пластичность - способность существовать в более или менее широких диапазонах значений экологических факторов. Однако при различных значениях фактора организм ведёт себя неодинаково.

Соответственно выделяют такое его значение, при котором организм будет находиться в наиболее комфортном состоянии - быстро расти, размножаться, проявлять конкурентные способности. По мере увеличения или уменьшения значения фактора относительно наиболее благоприятного, организм начинает испытывать угнетение, что проявляется в ослаблении его жизненных функций и при экстремальных значениях фактора может привести к гибели.

Графически подобная реакция организма на изменение значений фактора изображается в виде кривой жизнедеятельности (экологической кривой), при анализе которой можно выделить некоторые точки и зоны:

Кардинальные точки:

⦁        точки минимума и максимума - крайние значения фактора, при которых возможна жизнедеятельность организма;

⦁        точка оптимума - наиболее благоприятное значение фактора.

Зоны:

⦁        зона оптимума - ограничивает диапазон наиболее благоприятных значений фактора;

⦁        зона жизнедеятельности - диапазон значений фактора, в котором он активно проявляет свои жизненные функции;

⦁        зоны покоя (верхнего и нижнего) - крайне неблагоприятные значения фактора, при которых организм остаётся живым, но переходит в состояние покоя;

⦁        зона жизни - диапазон значений фактора, в котором организм остаётся живым.

За границами зоны жизни располагаются летальные значения фактора, при которых организм не способен существовать.

Изменения, происходящие с организмом в пределах диапазона пластичности, всегда являются фенотипическими, при этом в генотипе кодируется лишь мера возможных изменений - норма реакции, которая и определяет степень пластичности организма.

На основе индивидуальной кривой жизнедеятельности можно прогнозировать и видовую. Однако, так как вид представляет собой сложную надорганизменную систему, состоящую из множества популяций, расселённых по различным местообитаниям с неодинаковыми условиями среды, при оценке его экологии пользуются обобщёнными данными не по отдельным особям, а по целым популяциям. На градиенте фактора откладываются обобщённые классы его значений, представляющие определённые типы местообитаний, а в качестве экологических реакций чаще всего рассматриваются обилие или частота встречаемости вида. При этом следует говорить уже не о кривой жизнедеятельности, а о кривой распределения обилий или частот.

ландшафт вибрация организм загрязнение

2       ФАКТОРЫ, ВЛИЯЮЩИЕ НА ЗДОРОВЬЕ И ПРОДОЛЖИТЕЛЬНОСТЬ ЖИЗНИ ЧЕЛОВЕКА

Ориентировочный вклад различных факторов влияющих на здоровье населения оценивается по четырем позициям: образ жизни, генетика (биология) человека, внешняя среда и здравоохранение Данные показывают, что наибольшее влияние на состояние здоровья оказывает образ жизни. От него зависит почти половина всех случаев заболеваний. Второе место по влиянию на здоровье занимает состояние среды жизнедеятельности человека (не менее одной трети заболеваний определяется неблагоприятными воздействиями окружающей среды). Наследственность обусловливает около 20% болезней.

Здоровый организм постоянно обеспечивает оптимальное функционирование всех своих систем в ответ на любые изменения окружающей среды, например, перепады температуры, атмосферного давления, изменение содержания кислорода в воздухе, влажности и т.д. Сохранение оптимальной жизнедеятельности человека при взаимодействии с окружающей средой определяется тем, что для его организма существует определенный физиологический предел выносливости по отношению к любому фактору среды и за границей предела этот фактор неизбежно будет оказывать угнетающее влияние на здоровье человека. Например, как показали испытания, в городских условиях факторы влияющие на здоровье деляться на пять основных групп: жилая среда, производственные факторы, социальные, биологические и индивидуальный образ жизни.

При оценке здоровья населения учитывается и такой немаловажный фактор региональной особенности, который складывается из целого ряда элементов: климата, рельефа, степени антропогенных нагрузок, развития социально-экономических условий, плотности населения, промышленных аварий, катастроф и стихийных бедствий и т.п. Вызывает большую озабоченность тот факт, что в настоящее время Российская Федерация по уровню смертности и средней продолжительности жизни устойчиво занимает одно из последних мест среди индустриально развитых стран.

2.1    Техногенные факторы, влияющие на здоровье

Основными факторами техногенного характера, оказывающими негативное влияние на здоровье, является химическое и физическое загрязнение окружающей среды.

2.1.1 Химические загрязнения среды и здоровье человека

В настоящее время хозяйственная деятельность человека все чаще становится основным источником загрязнения биосферы. В природную среду во все больших количествах попадают газообразные, жидкие и твердые отходы производств. Различные химические вещества, находящиеся в отходах, попадая в почву, воздух или воду, переходят по экологическим звеньям из одной цепи в другую, попадая в конце концов в организм человека.

На земном шаре практически невозможно найти место, где бы не присутствовали в той или иной концентрации загрязняющие вещества. Даже во льдах Антарктиды, где нет никаких промышленных производств, а люди живут только на небольших научных станциях, ученые обнаружили различные токсичные (ядовитые) вещества современных производств. Они заносятся сюда потоками атмосферы с других континентов.

Вещества, загрязняющие природную среду, очень разнообразны. В зависимости от своей природы, концентрации, времени действия на организм человека они могут вызвать различные неблагоприятные последствия. Кратковременное воздействие небольших концентраций таких веществ может вызвать головокружение, тошноту, першение в горле, кашель. Попадание в организм человека больших концентраций токсических веществ может привести к потере сознания, острому отравлению и даже смерти. Примером подобного действия могут являться смоги, образующиеся в крупных городах в безветренную погоду, или аварийные выбросы токсичных веществ промышленными предприятиями в атмосферу.

Реакции организма на загрязнения зависят от индивидуальных особенностей: возраста, пола, состояния здоровья. Как правило, более уязвимы дети, пожилые и престарелые, больные люди.

При систематическом или периодическом поступлении организм сравнительно небольших количеств токсичных веществ происходит хроническое отравление.

Признаками хронического отравления являются нарушение нормального поведения, привычек, а также нейропсихического отклонения: быстрое утомление или чувство постоянной усталости, сонливость или, наоборот, бессонница, апатия, ослабление внимания, рассеянность, забывчивость, сильные колебания настроения.

При хроническом отравлении одни и те же вещества у разных людей могут вызывать различные поражения почек, кроветворных органов, нервной системы, печени.

Сходные признаки наблюдаются и при радиоактивном загрязнении окружающей среды.

Так, в районах, подвергшихся радиоактивному загрязнению в результате Чернобыльской катастрофы, заболеваемость среди населения особенно детей, увеличилась во много раз.

Высокоактивные в биологическом отношении химические соединения могут вызвать эффект отдаленного влияния на здоровье человека: хронические воспалительные заболевания различных органов, изменение нервной системы, действие на внутриутробное развитие плода, приводящее к различным отклонениям у новорожденных.

Медики установили прямую связь между ростом числа людей, болеющих аллергией, бронхиальной астмой, раком, и ухудшением экологической обстановки в данном регионе. Достоверно установлено, что такие отходы производства, как хром, никель, бериллий, асбест, многие ядохимикаты, являются канцерогенами, то есть вызывающие раковые заболевания. Еще в прошлом веке рак у детей был почти неизвестен, а сейчас он встречается все чаще и чаще. В результате загрязнения появляются новые, неизвестные ранее болезни. Причины их бывает очень трудно установить.

Огромный вред здоровью человека наносит курение. Курильщик не только сам вдыхает вредные вещества, но и загрязняет атмосферу, подвергает опасности других людей. Установлено, что люди, находящиеся в одном помещении с курильщиком, вдыхают даже больше вредных веществ, чем он сам.

2.2    Физическое загрязнение окружающей среды и факторы влияющие на здоровье человека

К основным физическим факторам окружающей среды, оказывающим негативное воздействие на здоровье человека относятся шум, вибрация, электромагнитные излучения, электрический ток.

2.2.1 Влияние звуков на человека

Человек всегда жил в мире звуков и шума. Звуком называют такие механические колебания внешней среды, которые воспринимаются слуховым аппаратом человека (от 16 до 20 000 колебаний в секунду). Колебания большей частоты называют ультразвуком, меньшей - инфразвуком. Шум - громкие звуки, слившиеся в нестройное звучание.

Для всех живых организмов, в том числе и человека, звук является одним из воздействий окружающей среды.

В природе громкие звуки редки, шум относительно слаб и непродолжителен. Сочетание звуковых раздражителей дает время животным и человеку, необходимое для оценки их характера и формирования ответной реакции. Звуки и шумы большой мощности поражают слуховой аппарат, нервные центры, могут вызвать болевые ощущения и шок. Так действует шумовой загрязнение.

Тихий шелест листвы, журчание ручья, птичьи голоса, легкий плеск воды и шум прибоя всегда приятны человеку. Они успокаивают его, снимают стрессы. Но естественные звучания голосов Природы становятся все более редкими, исчезают совсем или заглушаются промышленными транспортными и другими шумами.

Длительный шум неблагоприятно влияет на орган слуха, понижая чувствительность к звуку.

Он приводит к расстройству деятельности сердца, печени, к истощению и перенапряжению нервных клеток. Ослабленные клетки нервной системы не могут достаточно четко координировать работу различных систем организма. Отсюда возникают нарушения их деятельности.

Уровень шума измеряется в единицах, выражающих степень звукового давления, - децибелах. Это давление воспринимается не беспредельно. Уровень шума в 20-30 децибелов (дБ) практически безвреден для человека, это естественный шумовой фон. Что же касается громких звуков, то здесь допустимая граница составляет примерно 80 децибелов. Звук в 130 децибелов уже вызывает у человека болевое ощущение, а 150 становится для него непереносимым. Недаром в средние века существовала казнь “под колокол”. Гул колокольного звона мучил и медленно убивал осужденного.

Очень высок уровень и промышленных шумов. На многих работах и шумных производствах он достигает 90-110 децибелов и более. Не намного тише и у нас дома, где появляются все новые источники шума - так называемая бытовая техника.

Долгое время влияние шума на организм человека специально не изучалось, хотя уже в древности знали о его вреде и, например, в античных городах вводились правила ограничения шума.

В настоящее время ученые во многих странах мира ведут различные исследования с целью выяснения влияния шума на здоровье человека. Их исследования показали, что шум наносит ощутимый вред здоровью человека, но и абсолютная тишина пугает и угнетает его. Так, сотрудники одного конструкторского бюро, имевшего прекрасную звукоизоляцию, уже через неделю стали жаловаться на невозможность работы в условиях гнетущей тишины. Они нервничали, теряли работоспособность. И, наоборот, ученые установили, что звуки определенной силы стимулируют процесс мышления, в особенности процесс счета.

Каждый человек воспринимает шум по-разному. Многое зависит от возраста, темперамента, состояния здоровья, окружающих условий.

Некоторые люди теряют слух даже после короткого воздействия шума сравнительно уменьшенной интенсивности.

Постоянное воздействие сильного шума может не только отрицательно повлиять на слух, но и вызвать другие вредные последствия - звон в ушах, головокружение, головную боль, повышение усталости.

Очень шумная современная музыка также притупляет слух, вызывает нервные заболевания.

Шум обладает аккумулятивным эффектом, то есть акустические раздражение, накапливаясь в организме, все сильнее угнетают нервную систему.

Поэтому перед потерей слуха от воздействия шумов возникает функциональное расстройство центральной нервной системы. Особенно вредной влияние шум оказывает на нервно-психическую деятельность организма.

Процесс нервно-психических заболеваний выше среди лиц, работающих в шумных условиях, нежели у лиц, работающих в нормальных звуковых условиях.

Шумы вызывают функциональные расстройства сердечно-сосудистой системы; оказывают вредное влияние на зрительный и вестибулярный анализаторы, снижает рефлекторную деятельность, что часто становится причиной несчастных случаев и травм.

Как показали исследования, неслышимые звуки также могут оказать вредной воздействие на здоровье человека. Так, инфразвуки особое влияние оказывают на психическую сферу человека: поражаются все виды интеллектуальной деятельности, ухудшаются настроение, иногда появляется ощущение растерянности, тревоги, испуга, страха, а при высокой интенсивности чувство слабости, как после сильного нервного потрясения.

Даже слабые звуки инфразвуки могут оказывать на человека существенное воздействие, в особенности если они носят длительный характер. По мнению ученых, именно инфразвуками, неслышно проникающими сквозь самые толстые стены, вызываются многие нервные болезни жителей крупных городов.

Ультразвуки, занимающие заметное место в гамме производственных шумов, также опасны. Механизмы их действия на живые организмы крайне многообразны. Особенно сильно их отрицательному воздействию подвержены клетки нервной системы.

Шум коварен, его вредное воздействие на организм совершается незримо, незаметно. Нарушения в организме человека против шума практически беззащитен.

В настоящее время врачи говорят о шумовой болезни, развивающейся в результате воздействия шума с преимущественным поражением слуха и нервной системы.

.2.2 Влияние вибрации

Вибрация представляет собой сложный колебательный процесс с широким диапазоном частот, возникающий в результате передачи колебательной энергии от какого-то механического источника. В городах источниками вибрации служат в первую очередь транспорт, а также некоторые производства. На последних длительное воздействие вибрации может вызвать возникновение профзаболевания - вибрационной болезни, выражающейся в изменении сосудов конечностей, нервно-мышечного и костно-суставного аппарата.

2.2.3 Влияние электромагнитного излучения

Источниками электромагнитного излучения служат радиолокационные, радио- и телевизионные станции, различные промышленные установки, приборы, в том числе бытового назначения.

Систематическое воздействие электромагнитного поля радиоволн с уровнями, превышающими допустимые, может вызвать изменения в центральной нервной системе, сердечно-сосудистой, эндокринной и других системах организма человека. Так, в квартирах пос. Коноша Архангельской области, расположенного в 600 м от комплекса ПВО, плотность потока энергии превышала предельно допустимый уровень (ПДУ) в 17,5 раза, что способствовало возникновению у местных жителей функциональных расстройств центральной нервной системы и системы крови, изменению функционального состояния щитовидной железы и иммунного статуса.

2.2.4 Влияние электрического поля

Электрическое поле в значительной степени оказывает вредное воздействие на человека. По характеру воздействия различают три уровня:

⦁        непосредственное воздействие, проявляющееся при пребывании в электрическом поле; эффект этого воздействия усиливается с увеличением напряженности поля и времени пребывания в нем;

⦁        воздействие импульсных разрядов (импульсного тока), возникающих при прикосновении человека к изолированным от земли конструкциям, корпусам машин и механизмов на пневматическом ходу и протяженным проводникам или при прикосновении человека, изолированного от земли, к растениям, заземленным конструкциям и другим заземленным объектам;

⦁        воздействие тока, проходящего через человека, находящегося в контакте с изолированными от земли объектами - крупногабаритными предметами, машинами и механизмами, протяженными проводниками - тока стекания.

3.   ЭКОЛОГИЧЕСКАЯ ОБСТАНОВКА И ЗДОРОВЬЕ ЧЕЛОВЕКА

3.1    Биологические загрязнения и болезни человека

Кроме химических загрязнителей, в природной среде встречаются и биологические, вызывающие у человека различные заболевания. Это болезнетворные микроорганизмы, вирусы, гельминты, простейшие. Они могут находиться в атмосфере, воде, почве, в теле других живых организмов, в том числе и в самом человеке.

Наиболее опасны возбудители инфекционных заболеваний. Они имеют различную устойчивость в окружающей среде. Одни способны жить вне организма человека всего несколько часов; находясь в воздухе, в воде, на разных предметах, они быстро погибают. Другие могут жить в окружающей среде от нескольких дней до нескольких лет. Для третьих окружающая среда является естественным местом обитания. Для четвертых - другие организмы, например дикие животные, являются местом сохранения и размножения.

Часто источником инфекции является почва, в которой постоянно обитают возбудители столбняка, ботулизма, газовой гангрены, некоторых грибковых заболеваний. В организм человека они могут попасть при повреждении кожных покровов, с немытыми продуктами питания, при нарушении правил гигиены.

Болезнетворные микроорганизмы могут проникнуть в грунтовые воды и стать причиной инфекционных болезней человека. Поэтому воду из артезианских скважин, колодцев, родников необходимо перед питьем кипятить.

Особенно загрязненными бывают открытые источники воды: реки, озера, пруды. Известны многочисленные случаи, когда загрязненные источники воды стали причиной эпидемий холеры, брюшного тифа, дизентерии.

В жарких странах широко распространены такие болезни, как амебиаз, шистоматоз, эхинококкоз и другие, которые вызываются различными паразитами, попадающими в организм человека с водой.

К таким болезням относится грипп, коклюш, свинка, дифтерия, корь и другие. Возбудители этих болезней попадаю в воздух при кашле, чихании и даже при разговоре больных людей.

Особую группу составляют инфекционные болезни, передающиеся при тесном контакте с больным или при пользовании его вещами, например, полотенцем, носовым платком, предметами личной гигиены и другими, бывшими в употреблении больного. К ним относятся венерические болезни (СПИД, сифилис, гонорея), трахома, сибирская язва, парша. Человек, вторгаясь в природу, нередко нарушает естественные условия существования болезнетворных организмов и становится сам жертвой природно-очаковых болезней.

Люди и домашние животные могут заражаться природно-очаковыми болезнями, попадая на территорию природного очага. К таким болезням относят чуму, туляремию, сыпной тиф, клещевой энцефалит, малярию, сонную болезнь.

Особенностью природно-очаковых заболеваний является то, что их возбудители существуют в природе в пределах определенной территории вне связи с людьми или домашними животными. Одни паразитируют в организме диких животных-хозяев. Передача возбудителей от животных к животному и от животного к человеку происходит преимущественно через переносчиков, чаще всего насекомых и клещей.

Возможны и другие пути заражения. Так, в некоторых жарких странах, а также в ряде районов нашей страны встречается инфекционное заболевание лептоспироз, или водяная лихорадка. В нашей стране возбудитель этой болезни обитает в организмах полевок обыкновенных, широко распространенных в лугах около рек. Заболевание лептоспирозом носит сезонный характер, чаще встречаются в период сильных дождей и в жаркие месяцы (июль - август). Человек может заразиться при попадании в его организм воды, загрязненной выделениями грызунов.

Такие болезни, как чума, орнитоз, передаются воздушно-капельным путем. Находясь в районах природно-очаковых заболеваний, необходимо соблюдать специальные меры предосторожности.

3.2    Погода и самочувствие человека

Несколько десятков лет назад практически никому и в голову не приходило связывать свою работоспособность, свое эмоциональное состояние и самочувствие с активностью Солнца, с фазами Луны, с магнитными бурями и другими космическими явлениями.

В любом явлении окружающей нас природы существует строгая повторяемость процессов: день и ночь, прилив и отлив, зима и лето. Ритмичность наблюдается не только в движении Земли, Солнца, Луны и звезд, но и является неотъемлемым и универсальным свойством живой материи, свойством, проникающим во все жизненные явления - от молекулярного уровня до уровня целого организма.

В ходе исторического развития человек приспособился к определенному ритму жизни, обусловленному ритмическими изменениями в природной среде и энергетической динамикой обменных процессов.

В настоящее время известно множество ритмических процессов в организме, называемых биоритмами. К ним относятся ритмы работы сердца, дыхания, биоэлектрической активности мозга. Вся наша жизнь представляет собой постоянную смену покоя и активной деятельности, сна и бодрствования, утомления от напряженного труда и отдыха.

В организме каждого человека, подобно морским приливам и отливам, вечно царит великий ритм, вытекающий из связи жизненных явлений с ритмом Вселенной и символизирующий единство мира.

Центральное место среди всех ритмических процессов занимают суточные ритмы, имеющие наибольшее значение для организма. Реакция организма на любое воздействие зависит от фазы суточного ритма (то есть от времени суток).

Эти знания вызвали развитие новых направлений в медицине - хронодиагностики, хронотерапии, хронофармакологии. Основу их составляет положение о том, что одно и то же средство в различные часы суток оказывает на организм различное, иногда прямо противоположное воздействие. Поэтому для получение большего эффекта важно указывать не только дозу, но и точное время приема лекарств.

Оказалось, что изучение изменений в суточных ритмах позволяет выявить возникновение некоторых заболеваний на самых ранних стадиях.

Климат также оказывает серьезное воздействие на самочувствие человека, воздействуя на него через погодные факторы. Погодные условия включают в себя комплекс физических условий: атмосферное давление, влажность, движение воздуха, концентрацию кислорода, степень возмущенности магнитного поля Земли, уровень загрязнения атмосферы.

До сих пор еще не удалось до конца установить механизмы реакций организма человека на изменение погодных условий. А она часто дает себя знать нарушениями сердечной деятельности, нервными расстройствами. При резкой смене погоды снижается физическая и умственная работоспособность, обостряются болезни, увеличивается число ошибок, несчастных и даже смертных случаев.

Большинство физических факторов внешней среды, во взаимодействии с которыми эволюционировал человеческий организм, имеют электромагнитную природу.

Хорошо известно, что возле быстро текущей воды воздух освежает и бодрит. В нем много отрицательных ионов. По этой же причине нам представляется чистым и освежающим воздух после грозы.

Наоборот, воздух в тесных помещениях с обилием разного рода электромагнитных приборов насыщен положительными ионами. Даже сравнительно непродолжительное нахождение в таком помещении приводит к заторможенности, сонливости, головокружениям и головным болям. Аналогичная картина наблюдается в ветреную погоду, в пыльные и влажные дни. Специалисты в области экологической медицины считают, что отрицательные ионы положительно влияют на здоровье, а положительные - негативно.

Изменения погоды не одинаково сказываются на самочувствии разных людей. У здорового человека при изменении погоды происходит своевременное подстраивание физиологических процессов в организме к изменившимся условиям внешней среды. В результате усиливается защитная реакция и здоровые люди практически не ощущают отрицательного влияния погоды.

У больного человека приспособительные реакции ослаблены, поэтому организм теряет способность быстро подстраиваться. Влияние погодных условий на самочувствие человека связано также с возрастом и индивидуальной восприимчивостью организма.

3.3    Питание и здоровье человека

Каждый из нас знает, что пища необходима для нормальной жизнедеятельности организма.

В течение всей жизни в организме человека непрерывно совершается обмен веществ и энергии. Источником необходимых организму строительных материалов и энергии являются питательные вещества, поступающие из внешней среды в основном с пищей. Если пища не поступает в организм, человек чувствует голод. Но голод, к сожалению, не подскажет, какие питательные вещества и в каком количестве необходимы человеку. Мы часто употребляем в пищу то, что вкусно, что можно быстро приготовить, и не очень задумываемся о полезности и доброкачественности употребляемых продуктов.

Врачи утверждают, что полноценное рациональное питание - важное условие сохранения здоровья и высокой работоспособности взрослых, а для детей еще и необходимое условие роста и развития.

Для нормального роста, развития и поддержания жизнедеятельности организму необходимы белки, жиры, углеводы, витамины и минеральные соли в нужном ему количестве.

Нерациональное питание является одной из главных причин возникновения сердечно-сосудистых заболеваний, заболеваний органов пищеварения, болезней, связанных с нарушением обмена веществ.

Регулярное переедание, потребление избыточного количества углеводов и жиров - причина развития таких болезней обмена веществ, как ожирение и сахарный диабет.

Они вызывают поражение сердечно-сосудистой, дыхательной, пищеварительной и других систем, резко понижают трудоспособность и устойчивость к заболеваниям, сокращающая продолжительность жизни в среднем на 8-10 лет.

Рациональное питание - важнейшее непременное условие профилактики не только болезней обмена веществ, но и многих других.

Пищевой фактор играет важную роль не только в профилактике, но и в лечении многих заболеваний. Специальным образом организованное питание, так называемое лечебное питание - обязательное условие лечения многих заболеваний, в том числе обменных и желудочно-кишечных.

Лекарственные вещества синтетического происхождения в отличие от пищевых веществ являются для организма чужеродными. Многие из них могут вызвать побочные реакции, например, аллергию, поэтому при лечении больных следует отдавать предпочтение пищевому фактору.

В продуктах многие биологически активные вещества обнаруживаются в равных, а иногда и в более высоких концентрациях, чем в применяемых лекарственных средствах. Вот почему с древнейших времен многие продукты, в первую очередь овощи, фрукты, семена, зелень, применяют при лечении различных болезней.

Многие продукты питания оказывают бактерицидные действия, подавляя рост и развитие различных микроорганизмов. Так, яблочный сок задерживает развитие стафилококка, сок граната подавляет рост сальмонелл, сок клюквы активен в отношении различных кишечных, гнилостных и других микроорганизмов. Всем известны антимикробные свойства лука, чеснока и других продуктов. К сожалению, весь этот богатый лечебный арсенал не часто используется на практике.

Рациональное питание предусматривает необходимость при составлении суточного рациона учитывать, с одной стороны, потребности организма в основных питательных веществах и энергии, с другой - содержание этих веществ и их энергетическую ценность. Необходимо строго соблюдать санитарно-гигиенические правила приготовления пищи. Тщательно мыть, подвергать термической обработке продукты питания. Все это делается для того, чтобы в организм человека не попали биологические загрязнители - болезнетворные и паразитические организма.

Но теперь появилась новая опасность - химическое загрязнение продуктов питания. Появилось и новое понятие - экологически чистые продукты.

Очевидно, каждому из нас приходилась покупать в магазинах крупные, красивые овощи и фрукты, но, к сожалению, в большинстве случаев, попробовав их мы выясняли, что они водянистые и не отвечают нашим требованиям относительно вкуса. Такая ситуация происходит, если сельскохозяйственные культуры выращиваются с применением большого количества удобрений и ядохимикатов. Такая сельскохозяйственная продукция способна иметь не только плохие вкусовые качества, но и быть опасной для здоровья.

Азот - составная часть жизненно важных для растений, а также для животных организмов соединений, например белков.

В растениях азот поступает из почвы, а затем через продовольственные и кормовые культуры попадает в организмы животных и человека. Ныне сельскохозяйственные культуры чуть ли не полностью получают минеральный азот из химических удобрений, так как некоторых органических удобрений не хватает для обедненных азотом почв. Однако в отличие от органических удобрений в химических удобрениях не происходит свободного выделения в природных условиях питательных веществ.

Значит, не получается и “гармонического” питания сельскохозяйственных культур, удовлетворяющего требования их роста. В результате происходит избыточное азотное питание растений и вследствие этого накопление в нем нитратов.

Излишек азотных удобрений ведет к снижению качества растительной продукции, ухудшению ее вкусовых свойств, снижению выносливости растений к болезням и вредителям, что, в свою очередь, вынуждает земледельца увеличивать применение ядохимикатов. Они также накапливаются в растениях. Повышенное содержание нитратов приводит к образованию нитритов, вредных для здоровья человека. Употребление такой продукции может вызвать у человека серьезные отравления и даже смерть.

Особенно резко проявляется отрицательное действие удобрений и ядохимикатов при выращивании овощей в закрытом грунте. Это происходит потому, что в теплицах вредные вещества не могут беспрепятственно испаряться и уноситься потоками воздуха. После испарения они оседают на растения.

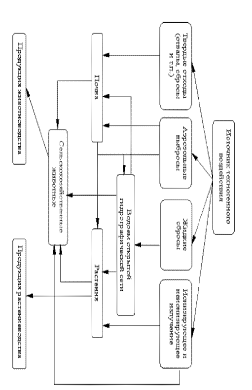
Растения способны накапливать в себе практически все вредные вещества. Вот почему особенно опасна сельскохозяйственная продукция, выращиваемая вблизи промышленных предприятий и крупных автодорог.


3.4    Ландшафт как фактор здоровья

Человек всегда стремится в лес, в горы, на берег моря, реки или озера.

Здесь он чувствует прилив сил, бодрости. Недаром говорят, что лучше всего отдыхать на лоне природы. Санатории, дома отдыха строятся в самых красивых уголках. Это не случайность. Оказывается, что окружающий ландшафт может оказывать различное воздействие на психоэмоциональное состояние. Созерцание красот природы стимулирует жизненный тонус и успокаивает нервную систему. Растительные биоценозы, особенно леса, оказывают сильный оздоровительный эффект.

Тяга к природным ландшафтам особенно сильна у жителей города. Еще в средние века было замечено, что продолжительность жизни горожан меньше, чем у сельских жителей. Отсутствие зелени, узкие улочки, маленькие дворы-колодцы, куда практически не проникал солнечный свет, создавали неблагоприятные условия для жизни человека. С развитием промышленного производства в городе и его окрестностях появилось огромное количество отходов, загрязняющих окружающую среду.

Разнообразные факторы, связанные с ростом городов, в той или иной мере сказываются на формировании человека, на его здоровье. Это заставляет ученых все серьезнее изучать влияние среды обитания на жителей городов. Оказывается, от того, в каких условиях живет человек, какая высота потолков в его квартире и настолько звукопроницаемы ее стены, как человек добирается до места работы, с кем он повседневно обращается, как окружающие люди относятся друг к другу, зависит настроение человека, его трудоспособность, активность - вся его жизнь.

В городах человек придумывает тысячи ухищрений для удобства своей жизни - горячую воду, телефон, различные виды транспорта, автодороги, сферу обслуживания и развлечений. Однако в больших городах особенно сильно проявляются и недостатки жизни - жилищная и транспортная проблемы, повышение уровня заболеваемости. В определенной степени это объясняется одновременным воздействием на организм двух, трех и более вредных факторов, каждый из которых обладает незначительным действием, но в совокупности приводит к серьезным бедам людей.

Так, например, насыщение среды и производства скоростными и быстродействующими машинами повышает напряжение, требует дополнительных усилий от человека, что приводит к переутомлению. Хорошо известно, что переутомленный человек больше страдает от последствий загрязнения воздуха, инфекций.

Загрязненный воздух в городе, отравляя кровь окисью углерода, наносит некурящему человеку такой же вред, как и выкуривание курильщиком пачки сигарет в день. Серьезным отрицательным фактором в современных городах является так называемое шумовое загрязнение.

Учитывая способность зеленых насаждений благоприятно влиять на состояние окружающей среды, их необходимо максимально приближать к месту жизни, работы, учебы и отдыха людей.

Очень важно, чтобы город был биогеоценозом, пусть не абсолютно благоприятным, но хотя бы не вредящим здоровью людей. Пусть здесь будет зона жизни. Для этого необходимо решить массу городских проблем. Все предприятия, неблагоприятные в санитарном отношении, должны быть выведены за пределы городов.

Зеленые насаждения являются неотъемлемой частью комплекса мероприятий по защите и преобразованию окружающей среды. Они не только создают благоприятные микроклиматические и санирно-гигенические условия, но и повышают художественную выразительность архитектурных ансамблей.

Особое место вокруг промышленных предприятий и автострад должны занимать защитные зеленые зоны, в которых рекомендуется высаживать деревья и кустарники, устойчивые к загрязнению.

В размещении зеленых насаждений необходимо соблюдать принцип равномерности и непрерывности для обеспечение поступления свежего загородного воздуха во все жилые зоны города. Важнейшими компонентами системы озеленения города являются насаждения в жилых микрорайонах, на участках детских учреждений, школ, спортивных комплексов и пр.

Городской ландшафт не должен быть однообразной каменной пустыней. В архитектуре города следует стремиться к гармоничному сочетанию аспектов социальных (здания, дороги, транспорт, коммуникации) и биологических (зеленые массивы, парки, скверы).

Современный город следует рассматривать как экосистему, в которой созданы наиболее благоприятные условия для жизни человека. Следовательно, это не только удобные жилища, транспорт, разнообразная сфера услуг. Это благоприятная для жизни и здоровья среда обитания; чистый воздух и зеленый городской ландшафт.

Не случайно, экологи считают, что в современном городе человек должен быть не оторван от природы, а как бы растворен в ней. Поэтому общая площадь зеленых насаждений в городах должна занимать больше половины его территории.

3.5    Проблемы адаптации человека к окружающей среде

В истории нашей планеты (со дня ее формирования и до настоящего времени) непрерывно происходили и происходят грандиозные процессы планетарного масштаба, преобразующие лик Земли. С появлением могущественного фактора - человеческого разума - начался качественно новый этап в эволюции органического мира. Благодаря глобальному характеру взаимодействия человека с окружающей средой он становится крупнейшей геологической силой.

Производственная деятельность человека оказывает влияние не только на направление эволюции биосферы, но определяет и собственную биологическую эволюцию.

Специфика среды обитания человека заключается в сложнейшем переплетении социальных и природных факторов. На заре человеческой истории природные факторы играли решающую роль в эволюции человека. На современного человека воздействие природных факторов в значительной степени нейтрализуется социальными факторами. В новых природных и производственных условиях человек в настоящее время нередко испытывает влияние весьма необычных, а иногда чрезмерных и жестких факторов среды, к которым эволюционно он еще не готов.

Человек, как и другие виды живых организмов, способен адаптироваться, то есть приспосабливаться к условиям окружающей среды. Адаптацию человека к новым природным и производственным условиям можно охарактеризовать как совокупность социально-биологических свойств и особенностей, необходимых для устойчивого существования организма в конкретной экологической среде.

Жизнь каждого человека можно рассматривать как постоянную адаптацию, но наши способности к этому имеют определенные границы. Также и способность восстанавливать свои физические и душевные силы для человека не бесконечна.

В настоящее время значительная часть болезней человека связаны с ухудшением экологической обстановки в нашей среде обитания: загрязнениями атмосферы, воды и почвы, недоброкачественными продуктами питания, возрастанием шума.

Приспосабливаясь к неблагоприятным экологическим условиям, организм человека испытывает состояние напряжение, утомления. Напряжение - мобилизация всех механизмов, обеспечивающих определенную деятельность организма человека. В зависимости от величины нагрузки, степени подготовки организма, его функционально-структурных и энергетических ресурсов снижается возможность функционирования организма на заданном уровне, то есть наступает утомление.

При утомлении здорового человека может происходить перераспределение возможных резервных функций организма, и после отдыха вновь появятся силы. Люди способны переносить самые суровые природные условия в течение относительного продолжительного времени. Однако человек, не привыкший к этим условиям, попадающий в них впервые, оказывается в значительно меньшей степени приспособленным к жизни в незнакомой среде, чем ее постоянные обитатели.

Способность адаптироваться к новым условиям у разных людей не одинакова. Так, у многих людей при дальних авиаперелетах с быстрым пересечением нескольких часовых поясов, а также при сменной работе возникают такие неблагоприятные симптомы, как нарушение сна, падает работоспособность. Другие же адаптируются быстро.

Интересно, что в северных регионах страны среди населения преобладают люди типа “стайер”, что явилось, по-видимому, результатом длительных процессов формирования популяции, адаптированной к местным условиям.

Изучение адаптивных возможностей человека и разработка соответствующих рекомендаций имеет в настоящее время важное практической значение.

ЗАКЛЮЧЕНИЕ

Тема показалась мне очень интересной, поскольку проблема экологии очень меня волнует, и хочется верить, что наше потомство не будет так подвержено негативным факторам окружающей среды, как в настоящее время. Однако, мы до сих пор не осознаем важности и глобальности той проблемы, которая стоит перед человечеством относительно защиты экологии. Во всем мире люди стремятся к максимальному уменьшению загрязнения окружающей среды, также и Российской Федерации принят, к примеру, уголовный кодекс, одна из глав которого посвящена установлению наказания за экологические преступления. Но, конечно, не все пути к преодолению данной проблемы решены и нам стоит самостоятельно заботиться об окружающей среде и поддерживать тот природный баланс, в котором человек способен нормально существовать.

ПРИЛОЖЕНИЕ А



ПРИЛОЖЕНИЕ Б



ПРИЛОЖЕНИЕ В

Рисунок 1 - Факторы, влияющие на здоровье и продолжительность жизни человека

ПРИЛОЖЕНИЕ Г



ПРИЛОЖЕНИЕ Д

Похожие работы на - Влияние экологических факторов на здоровье человека

 

Не нашли материал для своей работы?
Поможем написать уникальную работу
Без плагиата!
Без нейросетей!