Проект поточной линии по сбору и производству технического жира. Отстойники и жироловки, сепараторы

  • Вид работы:
    Курсовая работа (т)
  • Предмет:
    Сельское хозяйство
  • Язык:
    Русский
    ,
    Формат файла:
    MS Word
    567,96 Кб
  • Опубликовано:
    2015-02-07
Вы можете узнать стоимость помощи в написании студенческой работы.
Помощь в написании работы, которую точно примут!

Проект поточной линии по сбору и производству технического жира. Отстойники и жироловки, сепараторы

Министерство сельского хозяйства и продовольствия

Республики Беларусь

Учреждение образования

"Гродненский государственный аграрный университет"

Кафедра технического обеспечения производства и переработки продукции животноводства







Курсовой проект

Проект поточной линии по сбору и производству технического жира. Отстойники и жироловки, сепараторы


Выполнил

студент 4 курса 4 группы

А.В. Шумель

Руководитель проекта

ассистент И.С. Леонович


Гродно 2014

Содержание

Введение

. Описание технологического процесса

2. Выбор технологического оборудования для обеспечения технологического процесса

2.1 Оборудование для транспортирования сырья

.2 Оборудование для измельчения сырья

.3 Оборудование для варки, стерилизации и сушки

.4 Оборудование для прессования

.5 Оборудование для очистки сырья

.6 Оборудование для охлаждения жира

. Машинно-аппаратная схема поточной линии

4. Детальная разработка технологических показателей основного оборудования

Заключение

Список используемой литературы

Введение

Цель курсовой работы - это создание проекта поточной линии переработки технических фабрикатов, а именно создание поточной линии сбора и производства технического жира.

Можно выделить следующие задачи курсового проекта:

1.      Изучение технологического процесса сбора и производства технического жира.

2.      Изучение технологического оборудования для сбора и производства технического жира.

.        Подбор технологического оборудования для сбора и производства технического жира.

Переработка вторичных ресурсов мясной промышленности имеет несколько важных аспектов как экономических, так и социальных не только для предприятий отрасли, но и страны в целом. Во-первых, это углубление переработки сельскохозяйственного сырья, обеспечение безотходного производства, а отсюда - и прибыли предприятий. Во-вторых, это улучшение экологической обстановки регионов за счет уменьшения вредных сбросов предприятий. И, в-третьих, увеличение производства ценных кормов биологического происхождения для животноводства, птицеводства, звероводства, служебного собаководства и домашних животных.

. Описание технологического процесса

В зависимости от качества и производственного назначения технический животный жир подразделяют на жир первого, второго, третьего сортов и специальный.

Технический животный жир вырабатывается в соответствии с требованиями настоящего стандарта по технологической инструкции, утвержденной в установленном порядке.

Специальный жир вырабатывают из мездрового жира, получаемого при мездрении свиных шкур на кожсырьевых заводах.

Жир третьего сорта, предназначенный для легкой промышленности, изготовляют с кислотным числом не более 50 мг КОН.

Технический животный жир поставляют партиями.

Определение партии, объем выборки - по ГОСТ 8285-74.

Массовая доля неомыляемых веществ в жире и температуру застывания (титр) жирных кислот изготовитель определяет по требованию потребителя.

Нейтрализация жиров

Для понижения кислотного числа жира его нейтрализуют. С этой целью применяют раствор каустической соды плотностью 1,09. Необходимое для нейтрализации количество соды X (кг) определяют по формуле

Х = (0,71 ЗАМ х 100 х 1,1)/В

(1)


где: А - разность кислотных чисел, на которую необходимо снизить кислотное число обрабатываемого жира;

М - масса жира, т;

,713 - коэффициент, равный отношению эквивалентных весов NaOH и КОН;

,1 - коэффициент избытка щелочи;

В - содержание NaOH в каустической соде, % (обычно 92%).

Жир нейтрализуют после очистки. Обрабатываемый жир загружают в котел с паровым обогревом и нагревают до температуры 70-80°С, затем постепенно в течение 10-15 мин вливают раствор каустической соды, перемешивая смесь мешалкой или с помощью воздуха.

После введения всей щелочи перемешивание продолжают еще 10-15 мин до тех пор, пока в отобранной пробе не будут быстро оседать крупные хлопья образовавшегося мыла. После нейтрализации жир оставляют в котле на 2-3 ч для отстаивания, после чего осадок спускают в приемник. Для ускорения отстаивания жир промывают 5%-ным раствором поваренной соли при температуре смеси 70-75°С.

Через 30 мин нижний слой раствора сливают через жироуловитель, а жир 3-4 раза промывают горячей водой (20% к массе жира) до исчезновения реакции на щелочь по фенолфталеину. После каждой промывки жир отстаивают 30-40 мин, а промывные воды сливают через жироуловитель в канализацию. Жир сепарируют при температуре 80-85°С или оставляют на 5-6 ч при температуре 65-70°С для окончательного отстаивания.

Вместо каустической соды допускается применять кальцинированную соду. В этом случае в приведенной формуле вместо коэффициента 0,713 используют коэффициент 0,946.

При нейтрализации жира следует учитывать, что этот процесс сопровождается его потерями в количестве 2% на каждую снижаемую единицу кислотного числа. Следовательно, нейтрализовать жиры целесообразно только в том случае, когда стоимость потерь жира в процессе обработки компенсируется повышением его сортности.

Адсорбционная рафинация (отбелка) - это осветление жира, т.е. удаление красящих веществ адсорбцией. Осветляют жиры для улучшения их цвета, если по остальным показателям качества они отвечают требованиям действующих стандартов на жиры I сорта.

Перед осветлением жиры должны быть очищены на сепараторах или в отстойниках, а при необходимости подвергнуты нейтрализации.

Обработка кормового и технического жиров перекисью водорода. Технические жиры обрабатывают с помощью перекиси водорода, если они не предназначены в качестве добавок для комбикормов. Для осветления жира используют технический пергидроль марок А, Б и В.

Для осветления жир нагревают в котле до температуры 60-65°С. Затем в течение 5-7 мин при постоянном перемешивании вливают 33%-ный раствор перекиси водорода (пергидроля), постепенно увеличивая ее количество от 0,5 до 3% массы жира (каждый раз на 0,5% массы жира) и проверяя степень осветления жира после добавления очередной порции перекиси. Смесь перемешивают 1,0-1,5 ч. Цвет жира проверяют в охлажденных пробах. Получив нужный эффект, прекращают добавлять перекись водорода.

После осветления жир охлаждают до температуры 40°С, подавая в рубашку котла холодную воду. Для удаления перекиси водорода в охлажденный до 40°С жир при перемешивании равномерно в течение 2-3 мин вводят раствор фермента каталазы из расчета 2 мл раствора фермента активностью 10 тыс. ед. на 1 кг жира.

Затем жир перемешивают в течение 1 ч, нагревают до температуры 80-85°С, сепарируют и сливают в тару или в приемные емкости. При отсутствии сепараторов нагретый жир отстаивают в течение 1 ч, после чего сливают воду, а жир подсушивают при температуре 80-90°С 3-4 ч.

Раствор фермента каталазы готовят перед употреблением, растворяя порошок культуры Pinicillium Vitale в водопроводной воде из расчета на 1 кг обрабатываемого жира 2 мл раствора фермента, содержащего 10 тыс. ед. действия. Например, для обработки 600 кг жира нужно взять 1200 мл воды и в этом количестве растворить порошок фермента каталазы активностью 6 млн. ед.

Срок хранения порошка фермента каталазы при температуре 3-8°С - не более года.

При работе с перекисью водорода необходимо соблюдать максимальную осторожность, работать только в защитных очках, резиновых перчатках и резиновом фартуке, а также строго руководствоваться правилами техники безопасности для отбельщиков технического жира.

Обработка технического жира отбельными землями. В качестве адсорбентов для отбелки жиров используют природные и активированные земли, а также активированные угли. Действие адсорбентов основано на способности их как порошка, состоящего из мелких частиц, адсорбировать и удерживать на своей поверхности некоторые вещества, содержащиеся в жире (красящие, белковые и мыло).

Отбелку производят отбельными землями (асканит, гумбрикили др.) в количестве 3-5% массы жира. Предназначенный для отбелки жир, содержащий не более 0,25% влаги, нагревают до температуры 75-80°С, а затем при перемешивании вводят небольшими порциями отбельные земли в порошкообразном виде или в смеси с небольшим количеством жира и перемешивают 15-20 мин. После этого жир фильтруют на камерных или рамных фильтрах через фильтровальную ткань Бельтинг или Диагональ.

Потери жира при обработке отбельными землями составляют 1% на каждый процент добавляемых земель.

При отсутствии фильтр-прессов для удаления отбельной земли жиры нейтрализуют после отбелки. Осадки на фильтр-прессе обезжиривают варкой в горячей воде в открытых котлах или в автоклавах под давлением в течение 2-3 ч.

Обработка технического жира гипохлоритом кальция. При осветлении технических жиров гипохлоритом кальция жиром заполняют половину котла и нагревают его до температуры 75-80°С. Затем в течение 3 ч через распылительное кольцо равномерно вводят 10%-ный раствор гипохлорита кальция в соотношении 1:1 к количеству жира.

Раствор гипохлорита кальция готовят следующим образом. Сначала готовят 20%-ный раствор гипохлорита кальция, растворяя порошок соли Са(ОС1)2-2Са(ОН)2 в холодной воде при перемешивании в течение 2,5 ч. После отстаивания в течение 12 ч раствор гипохлорита кальция перекачивают в сборник, из которого его расходуют по мере надобности. Перед употреблением раствор гипохлорита кальция доводят до 10%-ной концентрации, добавляя горячую воду (90-95°С), вследствие чего температура раствора повышается до 50-55°С. [3]

Рисунок 1 - Блок-схема технологического процесса производства технического жира.

Технический животный жир упаковывают в деревянные бочки по ГОСТ 8777-80 вместимостью не более 2Си дм3, в стальные бочки по ГОСТ 6247-79 или в чистые без постороннего запаха железнодорожные цистерны и автоцистерны для пищевых продуктов по ГОСТ 9218-86. Деревянные бочки перед наливом в них жира должны быть выложены с внутренней стороны полиэтилен-целлофаном в виде мешка или покрыты защитным слоем жидкого стекла или подвергнуты общей поправке и промывке.

При повторном использовании вся тара должна быть очищена и продезинфицирована.

Тару заполняют расплавленным или охлажденным до мазеобразной консистенции жиром по всей емкости, а полиэтилен-целлофановые мешки прочно закрывают специальным зажимом.

Транспортная маркировка - по ГОСТ 14192-77 с нанесением дополнительно наименования и сорта жира, даты выработки, обозначения настоящего стандарта.

Технический животный жир транспортируют всеми видами транспорта в соответствии с правилами перевозок, действующими на данном виде транспорта.

При перевозке технического жира в таре в открытых автомашинах его покрывают брезентом. [5]

2. Выбор технологического оборудования для обеспечения технологического процесса

На основании блок-схемы технологического процесса последовательно по каждой операции рассмотрим и сравним оборудование предназначенное для выполнения работы, предусмотренной операции.

.1 Оборудование для транспортирования сырья

Для транспортировки сырья используют передувочные баки и спуски.

Передувочный бак К7-ФП2-Е (рисунок 2) предназначен для пневмотранспортирования мясных, жировых и нежировых мягких конфискатов. Устанавливают его в цехах непосредственно на месте получения сырья. Передувочный бак включает собственно бак 1 и пульт управления 3, состоящий из пневмошкафа 8 и электрошкафа 7. Бак вертикального типа, имеет цилиндрическую обечайку с эллиптическим днищем и плоской верхней крышкой, снабженной конической загрузочной горловиной с затвором. К центру днища приварена напорная труба 2.

- бак, 2 - напорная труба, 3 - пульт управления, 4,9 - рукоядка передувки и закрытия горловины, 5 - манометр, 6 - сирена, 7 - электрошкаф, 8 - пневмошкаф, 10 - трубопровод к пневмоцилиндру, 11 - трубопровод подачи воздуха на передувку

Рисунок 2 - Передувочный бак К7-ФП2-Е

В электрошкафу 7 установлены понижающий трансформатор, сигнальные лампы и сирена 6 звуковой сигнализации. В пневмошкафу 6 (рисунок 3) смонтированы трехходовой кран 4 для подачи сжатого воздуха в бак и пневмораспределитель 3 для управления затвором. Заслонка 9 затвора закреплена на оси 8, а на другом конце оси, выходящем за пределы бака, укреплен рычаг 7, соединенный со штоком пневмоцилиндра 14. На трубопроводе сжатого воздуха 13 установлены манометр 2 и предохранительный клапан 1, а на обечайке бака - датчик уровня 12. Для санитарной обработки бака через проходной кран 5 подается острый пар. Загружается бак при открытом затворе. Когда сырье касается контактов датчика уровня, включается световая и звуковая сигнализация. Далее передувкой управляют вручную с пульта - рукоятками 4 и 9, включающими трехходовой кран и пневмораспределитель. Рукоятки механически сблокированы так, что исключены подача сжатого воздуха в бак при открытом затворе и открытие затвора при наличии давления в баке.

- предохранительный клапан, 2 - манометр, 3 - пневморастределитель, 4 - трёхходовой кран, 5 - проходные краны, 6 - пневмошкаф, 7 - рычаг, 8 - ось, 9 - заслонка, 10 - нагнетательная труба, 11 - бак, 12 - датчик уровня, 13 - трубопровод сжатого воздуха, 14 - пневмоцилиндр

Рисунок 3 - Пневатическая схема бака К7-ФП2-Е

Геометрический объем бака 0,1 м3, рабочий - 0,7 м3, рабочее давление воздуха 0,3 МПа. Наибольший размер транспортируемых кусков 100 х 100 х 100 мм. Масса бака 235 кг.

Спуски относятся к гравитационным транспортным средствам. Их назначение - межоперационное транспортирование мясопродуктов в наклонном или вертикальном направлении.

Наиболее часто применяют спуски круглого сечения (рисунок 4), изготовленные из стали толщиной 1,5-2,5 мм марки Х18Н10Т. Длина спуска зависит от минимального угла наклона и расстояния транспортирования продуктов.

- головка, 2 - фланцы, 3 - подвеска, 4 - колено, 5 - затвор

Рисунок 4 - Спуск

Для обеспечения безопасной работы обслуживающего персонала головки спусков снабжают перекладиной и оборудуют открывающейся крышкой.

.2 Оборудование для измельчения сырья

Дробилка К7-ФКЕ-10 (рисунок 5), также как и К7-ФКЕ-5, входит в состав линии К7-ФКЕ и служит для измельчения шквары.

Эти дробилки имеют диаметры отверстий в сите соответственно 25 и 4 мм. В остальном конструкции дробилок идентичны.

Производительность дробилок до 500 кг/ч, масса 243 кг.

- корпус, 2 - дека, 3 - молотки, 4 - распорные втулки, 5 - палец, 6 - сито, 7 - вал, 8 - диск

Рисунок 5 - Общий вид дробилки К7-ФКЕ-10

Измельчитель Г7-ФИР (рисунок 6) предназначен для измельчения мясокостного сырья (говяжьи головы, путовые суставы, мороженая рыба). Он состоит из следующих основных частей: корпуса, рамы, барабана, шнека мясорубки с режущим инструментом, привода, загрузочного бункера и натяжного ролика.

Технические характеристики пресса представлены в таблице 1.

Корпус измельчителя 1 сварной конструкции. Его торцевые стенки являются опорами подшипников барабана дробилки. К задней съемной крышке корпуса крепится контрнож. Зазор между контрножом и ножом барабана дробилки должен быть не менее 5-6 мм. Нижняя наклонная часть корпуса и выступающая часть трубы мясорубки имеют двойные стенки. При переработке мороженого сырья в эти полости следует подавать горячую воду.

Рама 2 цельносварной конструкции выполнена из швеллерного проката, снизу которой крепятся четыре амортизатора.

Барабан 3 дробилки состоит из шести дисков с ножами, вала, двух радиально-сферических двухрядных роликоподшипников, муфты и шкива.

Диски запрессованы на вал со шпонкой и застопорены разрезной гайкой с резьбой. Ножи в диске закреплены стальными прижимами.

Вылет ножа регулируется болтами и должен быть не менее 12 мм. Барабан в сборе статически отбалансирован. Допустимый дисбаланс 1,5 кгхсм; торцевые плоскости барабана закрыты стальными дисками.

Шнек с режущим инструментом 4 состоит из следующих частей: шнека сварной конструкции с переменным шагом, приемной решеткой 14, которая крепится к корпусу двумя винтами, двух решеток 10 и 11 с отверстиями диаметром 20 и 36 мм и двух ножей 9.

Режущий инструмент изготавливается из стали 40Х с последующей термообработкой. Барабан измельчителя приводится во вращение электродвигателем 5. Ведомая полумуфта барабана 12 одновременно служит шкивом для привода шнека через клиноременную передачу. Натяжение ремней осуществляется натяжным роликом 7. Кронштейн ролика шарнирно соединен с рамой и подпружинен.

Одноступенчатый привод 13 шнека передает вращение от ведомого шнека к режущему инструменту. Крепление его осуществляется болтами к стенке корпуса. Привод шнека 13 представляет собой вертикальный одноступенчатый цилиндрический редуктор с передаточным числом 4,77. Его корпус выполнен из серого чугуна и имеет две пробки: через нижнюю сливается отработанное масло, через верхнюю - проверяется уровень масла в редукторе. В корпусе имеется отверстие для смазки упорного подшипника.

Зубчатые колеса выполнены взаимозаменяемыми соответственно шестерней и колесом бортовой передачи трактора ДТ-54.

Вал привода опирается на два шарикоподшипника. Осевое усилие от шнека воспринимается упорным шарикоподшипником. Регулировка шарикоподшипников проводится прокладками под крышки.

Загрузочный бункер 6 представляет цельносварную конструкцию из листового проката, снабжен заградительной шторой и откидным столом. В верхней части бункера установлен коллектор для его промывки.

В измельчитель Г 7-ФИР мясокостные продукты подаются через бункер 6 на барабан, где предварительно измельчаются и передаются на шнек, затем к режущему механизму для окончательного измельчения.

Перед пуском измельчителя рекомендуется:

для безопасной работы измельчитель должен быть установлен на бетонном основании с фундаментными болтами;

загружать измельчитель следует со стола, установленного по высоте на 80-100 мм выше ножевого барабана (желательные размеры стола 1200x1200 мм);

под горловиной режущего механизма необходимо сделать приямок, куда устанавливают транспортирующее устройство для удаления измельченного продукта;

при работе измельчителя (особенно в зимний период) следует подогревать горловину режущего механизма и корпус паром, для чего предусмотрена камера подогрева со штуцерами ввода пара и вывода конденсата;

после окончания работы измельчителя приемный бункер, ножевой барабан, шнек с режущим механизмом необходимо промывать горячей водой. Конденсат и воду после мойки следует сливать в общую канализацию.

- корпус; 2 - рама; 3 - барабан; 4 - шнек; 5 - электродвигатель; 6 - загрузочный бункер; 7 - натяжной ролик; 8 - прижимная гайка; 9 - ножи; 10, 11 - решетки с отверстиями диаметром 36 мм; 12 - ведомая полумуфта; 13 - редуктор; 14 - приемная решетка

Рисунок 6 - Измельчитель Г7-ФИР

Таблица 1 - Техническая характеристика измельчителя Г 7-ФИР

Производительность, т/ч

14

Частота вращения ножевого барабана,с

970

Частота вращения шнека мясорубки, с

100

Мощность электродвигателя, кВт

75

Длина, мм

2860

Ширина, мм

Высота, мм

1450

Масса, кг, не более

3800


.3 Оборудование для варки, стерилизации и сушки

Котел ОПК-1,25 (рисунок 7) состоит из внутреннего 2 и наружного 1 цилиндрических корпусов с коническими днищами, образующими паровую рубашку.

Пар в рубашку подводится в верхней части наружного корпуса, а конденсат отводится из конусного дна через сливной патрубок с вентилем. Внутри котла на валу 6 установлена мешалка 4, имеющая вертикальные и горизонтальные лопасти.

Нижний конец вала закреплен в радиально-упорном подшипнике 14, а верхний соединен муфтой с червячным редуктором 9. На валу сделан паз, по которому скользит шпонка, установленная в верхней втулке мешалки.

Мешалку можно поднимать; для облегчения подъема служат противовесы 7. Приводится во вращение мешалка электродвигателем 10 через клиноременную передачу и червячный редуктор 9. Жир сливается через шарнирно закрепленную поворотную трубу 12 и патрубок с вентилем 13. Через патрубок в центре конического днища и вентиль 15 сливается остаток (фуза).

1 - наружный корпус, 2 - внутренний корпус; 3 - опорные лапы; 4 - мешалка; 5 - ограждение; 6 - вал; 7 - противовес; 8 - блок; 9 - червячный редуктор; 10 - электродвигатель; 11 - манометр; 12 - поворотная труба; 13 - вентиль для слива жира; 14 - радиально-упорный подшипник; 15 - вентиль для слива фузы

Рисунок 7 - котел ОПК-1,25

Котлы типа ОПК изготовляют внутренним объемом 0,85; 1,25 и 2,3 м3. Мощность привода всех котлов 2,8 кВт, частота вращения мешалки 0,21 с-1. Рабочее давление пара в рубашке 0,3 МПа. Масса котлов в зависимости от объема составляет от 994 до 1773 кг.

Центробежный измельчитель-плавитель АВЖ-400 (рисунок 8) предназначен для начальной обработки сырья. Он имеет горизонтально расположенный фланцевый электродвигатель 10 барабан 6 наружным диаметром 310 мм. В барабане просверлено шесть отверстий диаметром 30 мм. Между барабаном и стенками корпуса 7 образуется зазор 45 мм. Частота вращения барабана 24,3 с-1. Сырье подается в бункер 5, куда одновременно поступает горячая вода температурой 85-90°С в количестве 20% массы сырья, измельчается подвижными 4 и неподвижными 3 ножами, продавливается центробежными силами в кольцевой зазор между ротором и корпусом 7, где нагревается острым паром. Затем лопастью на барабане нагретая жиромасса выталкивается в патрубок 11. Зазор между внутренней стенкой барабана и неподвижными ножами регулируется винтовым регулировочным устройством 2. Производительность агрегата АВЖ-400 достигает 1000 кг/ч при мощности двигателя 15 кВт. Масса машины 360 кг.

Технологическая схема измельчителя-плавителя АВЖ-400 представлена на рисунке 9.

- станина, 2 - регулировачное устройство, 3 - неподвижный нож, 4 - подвижный нож, 5 - загрузочный бункер, 6 - барабан, 7 - корпус, 8 - сальник, 9 - накидная гайка, 10 - электродвигатель, 11 - патрубок для отвода жиромассы, 12 - патрубок для подачи пара

Рисунок 8 - Центробежный измельчитель-плавитель АВЖ-400

- жиросырье, 2 - барабан, 3 - корпус, 4 - подвижной нож, 5 - неподвижный нож, 6 - патрубок для отвода жиромассы, 7 - лопасть, 8 - патрубок для подачи пара

Рисунок 9 - технологическая схема измельчителя-плавуителя АВЖ-400

.4 Оборудование для прессования

При термической обработке мясокостного сырья получается двухфазная система жир-шквара. Разделить ее возможно несколькими путями: с использованием естественных гравитационных сил (по этому принципу построены отстойные статические отцеживатели); методом прессования, вытеснения жидкой фазы (по этому принципу построены гидравлические, винтовые и шнековые прессы); увеличением гравитационных сил за счет обработки в центробежных аппаратах (центрифуги).

Статические отцеживатели применяют в схемах с использованием шнековых прессов для отжима шквары. По окончании сушки массы в горизонтальном вакуумном котле вытопленный жир сливают через отцеживатель в приемник, после чего выгружают шквару в тот же отцеживатель для отекания жира. Жир из шквары в статических отцеживателях стекает за 2-3 ч при температуре 75-80°С.

Содержание жира в шкваре после ее отцеживания в зависимости от состава сырья колеблется в широких пределах и для шквары, полученной из 70% конфискатов, 10% кишок и 20% головной кости, составляет 22,8-40,0%; из 80% конфискатов и 20% головной кости - 26,0-44,6%; из 80% конфискатов и 20% вареной кости- 27,0%.

- двойное дно; 2 - труба для отвода жира; 3 - труба для отвода конденсата из рубашки; 4 - угольники; 5 - стенки бака; 6 - перфорированный лист; 7 - труба для подачи пара; 8 - анкерные связи

Рисунок 10 - Отцеживатель для шквары

Отцеживатель для шквары (рисунок 10) представляет собой прямоугольный бак с двойным дном 1. Стенки 5 бака изготовлены из листовой стали толщиной 5 мм, а дно из листовой стали толщиной 7 мм. Оба дна соединяются между собой анкерными связями 8 и образуют паровую рубашку, в которую по трубе 7 подается пар давлением до 0,3 МПа. Конденсат из рубашки спускают по трубе 3. Выше наклонного дна к стенкам отцеживателя приварены угольники 4, на которых уложены перфорированные стальные листы 6, служащие ложным дном, на которое выгружается шквара из горизонтального вакуумного котла.

Через отверстия в дне диаметром 5 мм жир стекает по трубе 2 и удаляется из отцеживателя. Шквару выгружают через люк в одной из боковых стенок отцеживателя. Отцеживателями вместимостью 0,83 м3 комплектуется горизонтальный вакуумный котел Ж4-ФПА.

На подогрев 1 т шквары в отцеживателе при стекании жира расходуется 120 кг пара. Расход горячей воды на промывку отцеживателя составляет 1300 л на 1 т шквары.

В зависимости от мощности цеха технических фабрикатов, оснащенности его оборудованием и комплексной механизации применяют следующие технологические схемы переработки мякотного сырья с костью (костным остатком) в вакуумных котлах: переработка мякотного жиросодержащего сырья без обезжиривания; переработка жирового, жиросодержащего сырья с обезжириванием водой или бульоном; переработка жирового и жиросодержащего сырья, предварительно обезжиренного в автоклавах, диффузорах, в машине АВЖ.

В зависимости от вида и вместимости вакуумных котлов загрузку их осуществляют по ориентировочным нормам, приведенным в таблице 3.

Таблица 3 - Ориентировочные нормы загрузки котлов

Сырье

Норма загрузки, кг, при вместимости котла, м3


4,6

2,8

Мякотное жировое и кость

2800

1800

Мякотное жиросодержащее и кость

2400

1500

Мякотное жировое, жиросодержащее и кость

2600

1600



Шнековый пресс Б6-ФОА (рисунок 11) состоит из следующих основных узлов: станины и главного привода; зеерного цилиндра; механизма регулировки конуса; подпрессователя; горизонтального питателя; трубопроводов для пара и воды; электрооборудования.

Технические характеристики пресса Б6-ФОА представлены в таблице 8.

Таблица 8. Технические характеристики пресса Б6-ФОА

Производительность пресса, кг/ч

800-1000

Мощность электродвигателей, кВт

35,4

Температура подаваемой воды, °С

15

Габаритные размеры пресса, мм

374x2012x2380

Масса пресса, кг

7100


- станина и главный привод; 2 - питающий шнек; 3 - подпрессователь; 4 - магнитный сепаратор; 5 - горизонтальный питатель; 6 - зеерный цилиндр; 7 - механизм регулировки конуса; 8 - корыто для приемки жира; 9 - ножи; 10 - трехходовой кран; 11 - шнек; 12 - корпус питающего шнека; 13 - вал; 14 - удлинитель; 15 - решетка; 16 - электродвигатель; 17 - привод подпрессователя

Рисунок 11 - шнековый пресс Б6-ФОА

.5 Оборудование для очистки сырья

Жиры, полученные в результате переработки непищевого сырья, прессования и центрифугирования шквары, содержат незначительное количество примесей (белковая ткань, кость, вода). Многие примеси, находящиеся в свежевытопленном жире в эмульгированном состоянии, придают ему мутность. Вытопленные жиры очищают отстаиванием, фильтрованием, центрифугированием и сепарированием.

Жиры различаются по количеству и составу примесей, придающих ему нежелательную темную окраску и неприятный запах. Эти вещества могут быть удалены только рафинацией жиров (нейтрализация, отбелка, дезодорация).

Отстаивание - простейший способ удаления из жира взвешенных примесей и влаги -отстаивание. Этот процесс основан на разности плотности примесей жира. Для сокращения продолжительности отстаивания в жиры вводят электролиты (поваренную соль), способствующие разрушению эмульсии и увеличению плотности взвешенных частиц. Для отстаивания жиров применяют двустенные отстойники и приемники разной вместимости.

Жир различных сортов, получаемый в горизонтальных вакуумных котлах и после прессования, сливают в отдельные отстойники, которые изготавливают трех типоразмеров - вместимостью 0,16; 0,85 и 1,6 м3.

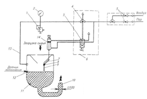
Отстойник жира (рисунок 12) - это вертикальная цилиндрическая емкость с водяной тепловой рубашкой2и коническим днищем 3. К корпусу отстойника 1 и к тепловой рубашке через соединительные патрубки подводятся трубопроводы для подачи воды в тепловую рубашку, подачи пара в нижнюю часть конического днища для нагревания воды втепловой рубашке, перелива вод, слива фузы (осадка) и воды из тепловой рубашки.

Трубопроводы перелива воды должны быть соединены с атмосферой, что исключает возможность образования избыточного давления в тепловой рубашке.

Жиросодержащая масса через решетку подается в отстойник, где жир отстаивается при температуре не ниже 65°С. Эта температура поддерживается благодаря тепловой рубашке, в которой вода нагревается паром давлением не более 0,07 МПа. После отстаивания жира в течение 5-6 ч (в зависимости от чистоты жира) его сливают через шарнирную трубу и сливной патрубок в специальную тару. В процессе отстаивания шарнирная труба в отстойнике должна быть в вертикальном положении, таким образом, чтобы открытый конец ее был выше уровня жира. Фиксируют шарнирную трубу с помощью цепочки.

Слив жира производят опусканием (придерживают за цепочку) открытого конца шарнирной трубы. Технические характеристики отстойников жира приведены в таблице 9.

Жир из перетопочных котлов (в основном из горизонтальных вакуумных) перед дальнейшим направлением на переработку (фильтрация, сепарирование, отстаивание) поступает в приемники.

Таблица 9 - Технические характеристики отстойников жира

Показатель

Отстойник


ОЖ-16

ОЖ-0,55

ОЖ-1,6

Геометрическая емкость, м3

0,16

0,85

1,60

Расход пара, кг/ч

3,5

3,5

16.6

Масса, кг

98

262

455


- корпус отстойника; 2 - водяная тепловая рубашка; 3 - коническое днище; 4 - решетка; 5 - опорные лапы; 6 - термометр

Рисунок 12 - Отстойник жира

Приемник для жира (рисунок 13) представляет открытый прямоугольный чан, стенки 5 которого изготовлены из листового железа толщиной 3 мм. Приемник оборудован двумя днищами со стенками толщиной 7 мм. Между днищами образуется пространство, куда по трубе подается пар. Жир сливают по шарнирной трубе.

Приемники такого рода используют для отстаивания и хранения жира. Чтобы при сливе жира в приемник или отстойник не попадали частицы шквары, на конец сливной трубы надевают марлевый мешочек.

Режим отстаивания следующий. Отстойник нагревают до 60-70°С в течение 5-6 ч. Для ускорения осаждения взвешенных белковых частиц и разрушения эмульсии жир отсаливают сухой солью помола №1 и 2 (2-3% массы жира). Через 1 ч после первой отсолки из отстойника сливают воду и фузу, а жир вторично отсаливают поваренной солью. Процесс отсаливания считают законченным, когда прекращается отделение воды и фузы и жир становится прозрачным.

- сливная труба для спуска фузы; 2 - опорные плиты; 3 - стойки; 4 - шарнирная труба; 5 - стенки приемника жира; 6 - труба отвода кондесата; 7 - труба подачи пара; 8 - анкерные связи; 9 - днища приемника

Рисунок 13 - Прямоугольный приемник для жира

Для удаления влаги жир выдерживают в котле при температуре 80-90°С в течение 3-4 ч, пока он не станет прозрачным. Очищенный жир сливают в тару.

Жир, полученный при прессовании шквары, очищают многократно. Сначала его промывают горячей водой и обрабатывают поваренной солью (0,5% массы жира), затем промывают горячим 20%-ным раствором поваренной соли, а потом горячей водой без соли.

После каждой промывки жир отстаивают 1-1,5 ч, затем рассол сливают через жироуловитель в канализацию, а фузу - в бочки. Очищенный жир сливают в тару. Полученный при отстаивании осадок (фуза, вода, белки, жир, соль) составляет 3% массы жира. Состав осадка колеблется: он содержит примерно 30% жира, 15 сухих веществ и 55% воды.

Сепарирование - интенсифицированный метод очистки жиров от влаги и содержащихся в них механических примесей. Процесс очистки жира сепарированием основан также на разности между плотностями разделяемых фаз, во много раз увеличенной благодаря обработке в центробежном поле. В результате процесс очистки можно осуществить кратковременно, качественно и в непрерывном потоке.

С повышением частоты вращения барабана сепаратора и увеличением его радиуса значительно ускоряется процесс разделения. На скорость разделения также влияет температура обрабатываемого жира, с увеличением которой вязкость жира снижается, что способствует ускорению очистки.

По назначению сепараторы для обработки жира делят на сепараторы-разделители, применяемые для разделения эмульсий и для концентрирования суспензий и эмульсий, и сепараторы-осветлители, предназначенные для выделения твердых веществ из жидкости. В случае обработки непрозрачных жидкостей, к которым относятся технический и кормовой жиры, сепараторы-осветлители называются очистителями.

При производстве технического и кормового жиров, получаемых из непищевых отходов, в основном используют сепараторы РТОМ-4,6 открытого типа с центробежной пульсирующей выгрузкой осадка. Их применяют в установках непрерывного действия для вытопки пищевых животных жиров. Перед пуском сепаратор прогревают горячей водой (температура 80-85°С), а затем в него подают жир, нагретый в приемнике до 80-85°С, добавляя при этом 10-15% горячей воды. Отделившуюся при сепарировании воду сливают в канализацию через жироуловитель.

Для грубой очистки жиро-водной суспензии устанавливают сепараторы с межтарелочным зазором 2 мм, а для окончательной очистки и обезвоживания - с межтарелочным зазором 0,75 мм. В первом случае пакет включает 57 тарелок, во втором - 112 тарелок.

Сепаратор РТОМ-4,6 (рисунок 14) приводится в действие от фланцевого электродвигателя через фрикционно-центробежную муфту и винтовую пару. Верхней опорой вертикального вала является двухрядный радиально-сферический шарикоподшипник, заключенный в корпус, центрируемый шестью винтовыми пружинами. Нижний конец вертикального вала установлен в радиально-упорном шарикоподшипнике, работающем в комплексе с пружинным амортизатором.

1 - фильтр; 2 - верхний приемник; 3 - нижний приемник; 4 - патрубок для отвода воды; 5, 15 - зажимы; 6 - тормоз; 7 - отводный патрубок буферной жидкости; 8 - горизонтальный вал; 9 - винтовая шестерня; 10 - труба для разгрузки осадка; 11 - пружинный амортизатор; 12 - радиально-упорный подшипник; 13 - вертикальный вал; 14 - станина; 16 - барабан; 17 - приемно-выводное устройство

Рисунок 14 - сепаратор РТОМ-4,6

На корпусе горловой опоры смонтированы три форсунки, предназначенные для управления разгрузочным механизмом барабана. Каналы, по которым подается вода к форсункам от трехходового крана, выполнены непосредственно на станине.

Верхняя часть вертикального вала, на котором установлен барабан, выполнена конической. В шлиц помещается поводок барабана. Барабан имеет основание с клапанной системой, поршень, направляющий конус, тарелкодержатель с пакетом тарелок, разделительную тарелку и крышку с регулировочными шайбами. Внутренние поверхности крышки, направляющие конуса и основания барабана снабжены съемной защитной плакировкой из нержавеющей стали. В шламовом пространстве помещена крыльчатка для равномерного распределения осадка. [3]

Жироловки предназначены для вытопки жира, уносимого сточными водами или промывными водами. Жироловки включают в систему трубопроводов.

Малая жироловка (рисунок 15) состоит призматического резервуара с перегородками. Вода поступает в неё через патрубок 1 и, ударяясь о перегородку 2, меняет направление и скорость движения; здесь задерживаются самые крупные частицы сточной воды. Более мелкие частицы, уносимые потоком воды, через отверстие в перегородке 2 поступают в среднюю секцию, отличающуюся от первой большими сечением и длинной; здесь скорость движения жидкости невелика, что способствует лучшему выделению жира.

жир сепаратор фабрикат стерилизация

, 4 - патрубки; 2, 3 - перегородки; 5 - резервуар

Рисунок 15 - Малая жироловка

Ил, имеющийся в сточной воде, оседает на наклонное дно жироловки, а осветлённая вода через отверстие в нижней части перегородки 3 заполняет последнюю секцию, откуда патрубком 4 отводится в канализацию. Отвод жира, отделяемого в основном в средней секции, может быть переодическим или полунепрерывным.

Малые жироловки используют также в качестве резервуаров, принимающих тёплую воду из барометрических конденсаторов и обеспечивающих постоянство уровня воды в последних.

Большая жироловка (рисунок 16) имеет три перегородки; сточная вода по трубе 1 поступает в первую секцию 2, объём которой больше объёма каждой из остальных секций. Отстаивание в большой жироловке происходит так же, как и в малой. [1]

- труба; 2 - секция

Рисунок 16 - Большая жироловка

.6 Оборудование для охлаждения жира

Охлаждают жидкие продукты (жир после вытопки и очистки, меланж). Для охлаждения жидких продуктов используют котлы, цилиндровые и пластинчатые аппараты.

В цилиндровых аппаратах непрерывного действия применяют метод тонкослойного охлаждения при противотоке хладоносителя или хладагента и продукта. Охладитель жира Д5-ФОЖ (рисунок 17), предназначенный для охлаждения свиного и говяжьего жира, относится к таким аппаратам. Он состоит из трех рабочих цилиндров 1, 6 и 10, к торцам которых приварены фланцы. На внешней поверхности цилиндров крепят металлическую U-образную спираль 15, в которую вставляют и обжимают резиновую ленту 16. К торцам цилиндров болтами привинчены передняя 8 и задняя 18 стенки. Снаружи цилиндры закрыты кожухами 17, которые болтами прикреплены к передней и задней стенкам. Кожухи и стенки герметизируют резиновыми прокладками. Резиновые ленты, соприкасаясь с кожухами, образуют спиральные каналы, по которым течет охлаждающая вода. Вода поступает через вентиль 12 в рубашку верхнего цилиндра и далее по переходным резиновым патрубкам перетекает в средний и нижний, а затем выводится из аппарата.

Внутри цилиндров установлены барабаны-вытеснители 3, на поверхности которых на осях продольно закреплены лопасти мешалок. Лопасти центробежными силами прижимаются к внутренней поверхности рабочих цилиндров, счищая прилипший охлажденный жир. Вытеснитель имеет в передней части цапфу подшипника, а в задней - втулку. Цапфа вращается во втулке крышки 4, которая прикреплена к передней стенке цилиндра и уплотнена резиновой кольцевой прокладкой 2. Втулку вытеснителя надевают на приводной вал 20, который вращается в трех подшипниках качения 19.

Рабочие цилиндры крепят на станине 28, на которой в нижней части устанавливают электродвигатель 29 и шестеренный насос 30 для подачи охлаждаемого жира. Насос приводится во вращение через клиноременную передачу 26 и промежуточный валик 25, который соединен с валом ременной передачи. Жир поступает по всасывающей трубе 31 в насос, из него нагнетается по трубе 27 в нижний цилиндр и далее по переходным патрубкам 5, 21 в средний и верхний. Таким образом, охлаждение происходит в режиме противотока.

Вытеснители цилиндров 4, 6, 8 (рисунок 18) приводятся во вращение от ведомого вала клиноременной передачи 11 последовательно через цепные передачи 9, 7 и 5, обеспечивая частоту вращения вытеснителей: верхнего 6,02 с-1, среднего 8,01 с-1 и нижнего 10,51 с-1. Мощность электродвигателя 1,5 кВт.

Общая площадь теплопередачи аппарата 1,2 м2, температура охлаждающей воды 10°С, расход 1,5 м3/ч, что позволяет охлаждать говяжий жир до 42°С, свиной до 35 'С от начальной температуры 76°С. Производительность охладителя 1350 кг/ч по свиному жиру и 1500 кг/ч по говяжьему. Масса аппарата 326 кг. [2]

, 6, 10 - рабочие цилиндры; 2 - прокладка; 3 - барабан-вытеснитель; 4 - крышка; 5. 21 - переходные патрубки; 7 - выходной патрубок; 8, 18 - передняя и задняя стенки цилиндра; 9 - патрубок для возврата жира; 11 - термометр; 12, 14 - вентили для холодной и горячей воды; 13 - тройник; 15 - металлическая спираль; 16 - резиновая лента; 17 - кожух; 19 - подшипник качения; 20 - приводной вал; 22, 23, 24 - цепные передачи; 25 - промежуточный валик; 26 - клиноременная передача; 27, 31 - нагнетательная и всасывающая трубы; 28 - станина; 29 - электродвигатель; 30 - насос

Рисунок 17 - охладитель жира Д5-ФОЖ

- резиновая лента; 2 - цилиндр; 3 - лопасть; 4,6,8 - вытеснители; 5, 7, 9 - цепные передачи; 10 - шестерёнчатый насос; 11 - клиноременная передача; 12 - электродвигатель

Рисунок 18 - кинематическая схема охладителя жира Д5-ФОЖ

Охладитель жира Д5-ФОП (рисунок 19) цилиндровый. Он имеет два рабочих цилиндра 9, установленные параллельно в горизонтальной плоскости на станине 1.

Жир по всасывающему патрубку 5 попадает в шестеренный насос 2 и далее по патрубку 16 нагнетается в первый цилиндр, проходит через переходной патрубок 7 во второй цилиндр и далее в трубопровод для розлива 13 через трехходовой пробковый кран 12. Температуру жира на выходе контролируют с помощью датчика 11 и термометра 10.

Охлаждающая вода подается в рубашку противотоком через трубопровод 14 во второй цилиндр и через переходной патрубок 8 в первый.

Насос приводится во вращение от электродвигателя 3 мощностью 3 кВт через клиноременную передачу 4, а вытеснители - от ведомого вала клиноременной передачи через цепные передачи 6.

Общая площадь поверхности теплопередачи аппарата 1,96 м2, производительность его составляет от 1700 до 2700 кг при изменении температуры хладоносителя (воды или рассола) от 10 до -10 С. Конечная температура говяжьего жира 40°С, свиного - 35°С. Масса аппарата 650 кг.

- станина; 2 - насос; 3 - электродвигатель; 4 - клиноременная передача; 5 - всасывающий патрубок; 6 - цепные передачи; 7 - переходной патрубок для жира; 8 - переходной патрубок для воды; 9 - рабочие цилиндры; 10, 15 - термометры; 11 - датчик температуры; 12 - трехходовой пробковый кран; 13 - трубопровод для розлива жира; 14 - трубопровод для подачи холодной воды; 16 - нагнетательный патрубок

Рисунок 19 - охладитель жира Д5-ФОП

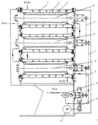
3. Машинно-аппаратная схема поточной линии

Рисунок 20 - Машинно-аппаратная схема поточной линии по сбору и производству технического жира

Продолжение рисунка 20 - Машинно-аппаратная схема поточной линии по сбору и производству технического жира

4. Детальная разработка технологических показателей основного оборудования

Передувочный бак К7-ФП2-Е (рисунок 2) предназначен для пневмотранспортирования мясных, жировых и нежировых мягких конфискатов. Устанавливают его в цехах непосредственно на месте получения сырья. Передувочный бак включает собственно бак 1 и пульт управления 3, состоящий из пневмошкафа 8 и электрошкафа 7. Бак вертикального типа, имеет цилиндрическую обечайку с эллиптическим днищем и плоской верхней крышкой, снабженной конической загрузочной горловиной с затвором. К центру днища приварена напорная труба 2.

В электрошкафу 7 установлены понижающий трансформатор, сигнальные лампы и сирена 6 звуковой сигнализации. В пневмошкафу 6 (рисунок 3) смонтированы трехходовой кран 4 для подачи сжатого воздуха в бак и пневмораспределитель 3 для управления затвором. Заслонка 9 затвора закреплена на оси 8, а на другом конце оси, выходящем за пределы бака, укреплен рычаг 7, соединенный со штоком пневмоцилиндра 14. На трубопроводе сжатого воздуха 13 установлены манометр 2 и предохранительный клапан 1, а на обечайке бака - датчик уровня 12. Для санитарной обработки бака через проходной кран 5 подается острый пар. Загружается бак при открытом затворе. Когда сырье касается контактов датчика уровня, включается световая и звуковая сигнализация. Далее передувкой управляют вручную с пульта - рукоятками 4 и 9, включающими трехходовой кран и пневмораспределитель. Рукоятки механически сблокированы так, что исключены подача сжатого воздуха в бак при открытом затворе и открытие затвора при наличии давления в баке.

Геометрический объем бака 0,1 м3, рабочий - 0,7 м3, рабочее давление воздуха 0,3 МПа. Наибольший размер транспортируемых кусков 100 х 100 х 100 мм. Масса бака 235 кг.

Измельчитель Г7-ФИР (рисунок 6) предназначен для измельчения мясокостного сырья (говяжьи головы, путовые суставы, мороженая рыба). Он состоит из следующих основных частей: корпуса, рамы, барабана, шнека мясорубки с режущим инструментом, привода, загрузочного бункера и натяжного ролика.

Технические характеристики пресса представлены в таблице 1.

Корпус измельчителя 1 сварной конструкции. Его торцевые стенки являются опорами подшипников барабана дробилки. К задней съемной крышке корпуса крепится контрнож. Зазор между контрножом и ножом барабана дробилки должен быть не менее 5-6 мм. Нижняя наклонная часть корпуса и выступающая часть трубы мясорубки имеют двойные стенки. При переработке мороженого сырья в эти полости следует подавать горячую воду.

Рама 2 цельносварной конструкции выполнена из швеллерного проката, снизу которой крепятся четыре амортизатора.

Барабан 3 дробилки состоит из шести дисков с ножами, вала, двух радиально-сферических двухрядных роликоподшипников, муфты и шкива.

Диски запрессованы на вал со шпонкой и застопорены разрезной гайкой с резьбой. Ножи в диске закреплены стальными прижимами.

Вылет ножа регулируется болтами и должен быть не менее 12 мм. Барабан в сборе статически отбалансирован. Допустимый дисбаланс 1,5 кгхсм; торцевые плоскости барабана закрыты стальными дисками.

Шнек с режущим инструментом 4 состоит из следующих частей: шнека сварной конструкции с переменным шагом, приемной решеткой 14, которая крепится к корпусу двумя винтами, двух решеток 10 и 11 с отверстиями диаметром 20 и 36 мм и двух ножей 9.

Режущий инструмент изготавливается из стали 40Х с последующей термообработкой. Барабан измельчителя приводится во вращение электродвигателем 5. Ведомая полумуфта барабана 12 одновременно служит шкивом для привода шнека через клиноременную передачу. Натяжение ремней осуществляется натяжным роликом 7. Кронштейн ролика шарнирно соединен с рамой и подпружинен.

Одноступенчатый привод 13 шнека передает вращение от ведомого шнека к режущему инструменту. Крепление его осуществляется болтами к стенке корпуса. Привод шнека 13 представляет собой вертикальный одноступенчатый цилиндрический редуктор с передаточным числом 4,77. Его корпус выполнен из серого чугуна и имеет две пробки: через нижнюю сливается отработанное масло, через верхнюю - проверяется уровень масла в редукторе. В корпусе имеется отверстие для смазки упорного подшипника.

Зубчатые колеса выполнены взаимозаменяемыми соответственно шестерней и колесом бортовой передачи трактора ДТ-54.

Вал привода опирается на два шарикоподшипника. Осевое усилие от шнека воспринимается упорным шарикоподшипником. Регулировка шарикоподшипников проводится прокладками под крышки.

Загрузочный бункер 6 представляет цельносварную конструкцию из листового проката, снабжен заградительной шторой и откидным столом. В верхней части бункера установлен коллектор для его промывки.

В измельчитель Г 7-ФИР мясокостные продукты подаются через бункер 6 на барабан, где предварительно измельчаются и передаются на шнек, затем к режущему механизму для окончательного измельчения.

Перед пуском измельчителя рекомендуется:

для безопасной работы измельчитель должен быть установлен на бетонном основании с фундаментными болтами;

загружать измельчитель следует со стола, установленного по высоте на 80-100 мм выше ножевого барабана (желательные размеры стола 1200x1200 мм);

под горловиной режущего механизма необходимо сделать приямок, куда устанавливают транспортирующее устройство для удаления измельченного продукта;

при работе измельчителя (особенно в зимний период) следует подогревать горловину режущего механизма и корпус паром, для чего предусмотрена камера подогрева со штуцерами ввода пара и вывода конденсата;

после окончания работы измельчителя приемный бункер, ножевой барабан, шнек с режущим механизмом необходимо промывать горячей водой. Конденсат и воду после мойки следует сливать в общую канализацию.

Котел ОПК-1,25 (рисунок 7) состоит из внутреннего 2 и наружного 1 цилиндрических корпусов с коническими днищами, образующими паровую рубашку. Пар в рубашку подводится в верхней части наружного корпуса, а конденсат отводится из конусного дна через сливной патрубок с вентилем. Внутри котла на валу 6 установлена мешалка 4, имеющая вертикальные и горизонтальные лопасти. Нижний конец вала закреплен в радиально-упорном подшипнике 14, а верхний соединен муфтой с червячным редуктором 9. На валу сделан паз, по которому скользит шпонка, установленная в верхней втулке мешалки. Мешалку можно поднимать; для облегчения подъема служат противовесы 7. Приводится во вращение мешалка электродвигателем 10 через клиноременную передачу и червячный редуктор 9. Жир сливается через шарнирно закрепленную поворотную трубу 12 и патрубок с вентилем 13. Через патрубок в центре конического днища и вентиль 15 сливается остаток (фуза).

Котлы типа ОПК изготовляют внутренним объемом 0,85; 1,25 и 2,3 м3. Мощность привода всех котлов 2,8 кВт, частота вращения мешалки 0,21 с-1. Рабочее давление пара в рубашке 0,3 МПа. Масса котлов в зависимости от объема составляет от 994 до 1773 кг.

Шнековый пресс Б6-ФОА (рисунок 11) состоит из следующих основных узлов: станины и главного привода; зеерного цилиндра; механизма регулировки конуса; подпрессователя; горизонтального питателя; трубопроводов для пара и воды; электрооборудования.

На станине крепятся все узлы и механизмы пресса. Она состоит из корпуса 1 редуктора привода прессующего шнекового вала, задней стенки и корыта 8, закрепленных на общей раме. К корпусу редуктора крепится корпус 12 питающего шнека 6. Задняя стенка служит для подсоединения механизма регулировки конуса и упорного кольца, к которому присоединяется зеерный цилиндр 6.

Привод прессующего шнекового вала и питающего шнека осуществляется от электродвигателя мощностью 30 кВт через трехступенчатый редуктор. Электродвигатель А02-72-4 мощностью 30 кВт и частотой вращения 24,3 с-1 фланцевого исполнения крепится к крышке редуктора и имеет удлиненный вал, на конце которого на шлицах установлена шевронная шестерня редуктора.

На валу 13 на подшипниках скольжения устанавливается питающий шнек 2 и на шпонках четыре последовательных звена прессующего шнека. Между звеньями устанавливаются цилиндрические промежуточные кольца. Внешний диаметр шнеков питающего 0,176 м, прессующего 0,175 м, а частота вращения соответственно 0,98 с-1и 0,33 с-1. Оба шнека имеют переменный шаг. Для охлаждения вал шнека имеет отверстие, в котором циркулирует вода, подаваемая через удлинитель 14 с грундбуксой.

Корпус подающего шнека имеет зеер из планок с прокладками, образующими зазор 0,9 мм, через которые отводится жир и фуза.

Зеерный цилиндр 6 состоит из двух половин, соединяемых болтами. Полуцилиндры литые, имеют внутренние полости, образующие паровую рубашку. Подвод пара и удаление конденсата осуществляются через штуцеры. На паровую рубашку укладываются 3 секции зеерных планок. Зазоры между планками в первой секции 0,9 мм, во второй 0,6 мм, в третьей 0,36 мм. Между секциями установлены ножи 9, предотвращающие вращение шквары и сообщающие ей продольное движение. Внутренний диаметр зеерного цилиндра 0,15 м.

Жир и фуза из зеерного цилиндра через решетку 15 поступают в корыто 8 и шнеком 11 выводятся из пресса. Выходной кран 10 служит для спуска жира и воды при мойке.

Регулировка производительности пресса и степени отжатия шквары проводится изменением зазора между конусной втулкой, установленной на валу при выходе его из зеерного цилиндра и подвижным конусом 7, вращающимся в подшипнике от червячного венца червяка и фланцевого электродвигателя. Зазор изменяется в пределах 2,5-11,0 мм.

Шквара поступает в пресс через магнитный сепаратор 4 в горизонтальный питатель 5. Они приводятся во вращение от одного электродвигателя через вариатор и цепные передачи. Диаметр шнека 0,182 м, шаг 0,116 м, частота вращения от 0,29 до 0,58 с-1. Далее шквара попадает в вертикальный шнек-подпрессовыватель, привод которого 17 состоит из фланцевого электродвигателя и червячно-цилиндрического редуктора.

Диаметр шнека подпрессовывателя 0,168 м, шаг 0,128 м, частота вращения 0,96 с-1.

Шквара, подаваемая в пресс, содержит 25-39% жира, 5-6% влаги, до 30% кости и имеет температуру 70-85°С. Размер кусков не должен превышать 25x25x6 мм. После отжатия шквара содержит 12% жира, 6-7% влаги, ее температура на выходе 70-85°С.

Контроль нагрузки в процессе прессования должен обеспечить постоянную, устойчивую, надежную и достаточную подачу шквары на шнек пресса. Ее непрерывность и равномерность без перегрузки главного электродвигателя наблюдают по амперметру. С целью создания условий для максимального отжатия жира в питательном горизонтальном шнеке имеется форсунка для распыления воды в шкваре.

Технические характеристики пресса Б6-ФОА представлены в таблице 14.

Габаритные и установочные размеры пресса показаны на рисунке 21. Пресс устанавливают горизонтально на бетонном фундаменте, глубина которого должна быть не менее 0,5 м [3, c. 60-62].

- электродвигатель шнекового прессующего вала; 2 - подпрессоаатель; 3 - магнитный сепаратор; 4 - конусный механизм; 5 - электродвигатель конусного механизма; 6 - электродвигатель магнитного сепаратора и питающего шнека; 7 - электродвигатель подпрессователя

Рисунок 21 - Габаритные и установочные размеры пресса Б6-ФОА

Отстойник жира (рисунок 12) - это вертикальная цилиндрическая емкость с водяной тепловой рубашкой2и коническим днищем 3. К корпусу отстойника 1 и к тепловой рубашке через соединительные патрубки подводятся трубопроводы для подачи воды в тепловую рубашку, подачи пара в нижнюю часть конического днища для нагревания воды втепловой рубашке, перелива вод, слива фузы (осадка) и воды из тепловой рубашки.

Трубопроводы перелива воды должны быть соединены с атмосферой, что исключает возможность образования избыточного давления в тепловой рубашке.

Для контроля за температурой воды на обечайке тепловой рубашки смонтирован термометрб. Внутри отстойника смонтирована шарнирная труба для улавливания и слива отстоявшегося жира. К цилиндрической поверхности корпуса приварены для установки отстойника четыре опорные лапы 5. Сверху отстойник накрывается решеткой 4.

Жиросодержащая масса через решетку подается в отстойник, где жир отстаивается при температуре не ниже 65°С. Эта температура поддерживается благодаря тепловой рубашке, в которой вода нагревается паром давлением не более 0,07 МПа. После отстаивания жира в течение 5-6 ч (в зависимости от чистоты жира) его сливают через шарнирную трубу и сливной патрубок в специальную тару. В процессе отстаивания шарнирная труба в отстойнике должна быть в вертикальном положении, таким образом, чтобы открытый конец ее был выше уровня жира. Фиксируют шарйирную трубу с помощью цепочки.

Слив жира производят опусканием (придерживают за цепочку) открытого конца шарнирной трубы. Технические характеристики отстойников жира приведены в таблице 9.

Жир из перетопочных котлов (в основном из горизонтальных вакуумных) перед дальнейшим направлением на переработку (фильтрация, сепарирование, отстаивание) поступает в приемники. [3]

Сепаратор жировой РТ-ОМ-4,6 - разделитель тарельчатого типа с с центробежной пульсирующей выгрузкой осадка предназначен для очистки и обезвоживания животных жиров.

Применяется на мясокомбинатах в составе комплекта оборудования поточно-механизированной линии для вытопки жиров.

В линии работают последовательно два или три сепаратора.

При производстве технического и кормового жиров, получаемых из непищевых отходов, в основном используют сепараторы РТОМ-4,6 открытого типа с центробежной пульсирующей выгрузкой осадка. Их применяют в установках непрерывного действия для вытопки пищевых животных жиров. Перед пуском сепаратор прогревают горячей водой (температура 80-85°С), а затем в него подают жир, нагретый в приемнике до 80-85°С, добавляя при этом 10-15% горячей воды. Отделившуюся при сепарировании воду сливают в канализацию через жироуловитель.

Для грубой очистки жиро-водной суспензии устанавливают сепараторы с межтарелочным зазором 2 мм, а для окончательной очистки и обезвоживания - с межтарелочным зазором 0,75 мм. В первом случае пакет включает 57 тарелок, во втором - 112 тарелок.

Сепаратор РТОМ-4,6 (рисунок 14) приводится в действие от фланцевого электродвигателя через фрикционно-центробежную муфту и винтовую пару. Верхней опорой вертикального вала является двухрядный радиально-сферический шарикоподшипник, заключенный в корпус, центрируемый шестью винтовыми пружинами. Нижний конец вертикального вала установлен в радиально-упорном шарикоподшипнике, работающем в комплексе с пружинным амортизатором.

На корпусе горловой опоры смонтированы три форсунки, предназначенные для управления разгрузочным механизмом барабана. Каналы, по которым подается вода к форсункам от трехходового крана, выполнены непосредственно на станине.

Верхняя часть вертикального вала, на котором установлен барабан, выполнена конической. В шлиц помещается поводок барабана. Барабан имеет основание с клапанной системой, поршень, направляющий конус, тарелкодержатель с пакетом тарелок, разделительную тарелку и крышку с регулировочными шайбами. Внутренние поверхности крышки, направляющие конуса и основания барабана снабжены съемной защитной плакировкой из нержавеющей стали. В шламовом пространстве помещена крыльчатка для равномерного распределения осадка. [2]

Малая жироловка (рисунок 15) состоит призматического резервуара с перегородками. Вода поступает в неё через патрубок 1 и, ударяясь о перегородку 2, меняет направление и скорость движения; здесь задерживаются самые крупные частицы сточной воды. Более мелкие частицы, уносимые потоком воды, через отверстие в перегородке 2 поступают в среднюю секцию, отличающуюся от первой большими сечением и длинной; здесь скорость движения жидкости невелика, что способствует лучшему выделению жира.

Малые жироловки используют также в качестве резервуаров, принимающих тёплую воду из барометрических конденсаторов и обеспечивающих постоянство уровня воды в последних. [4]

Охладитель жира Д5-ФОЖ (рисунок 17), предназначенный для охлаждения свиного и говяжьего жира, относится к таким аппаратам. Он состоит из трех рабочих цилиндров 1, 6 и 10, к торцам которых приварены фланцы. На внешней поверхности цилиндров крепят металлическую U-образную спираль 15, в которую вставляют и обжимают резиновую ленту 16. К торцам цилиндров болтами привинчены передняя 8 и задняя 18 стенки. Снаружи цилиндры закрыты кожухами 17, которые болтами прикреплены к передней и задней стенкам. Кожухи и стенки герметизируют резиновыми прокладками. Резиновые ленты, соприкасаясь с кожухами, образуют спиральные каналы, по которым течет охлаждающая вода. Вода поступает через вентиль 12 в рубашку верхнего цилиндра и далее по переходным резиновым патрубкам перетекает в средний и нижний, а затем выводится из аппарата.

Внутри цилиндров установлены барабаны-вытеснители 3, на поверхности которых на осях продольно закреплены лопасти мешалок. Лопасти центробежными силами прижимаются к внутренней поверхности рабочих цилиндров, счищая прилипший охлажденный жир. Вытеснитель имеет в передней части цапфу подшипника, а в задней - втулку. Цапфа вращается во втулке крышки 4, которая прикреплена к передней стенке цилиндра и уплотнена резиновой кольцевой прокладкой 2. Втулку вытеснителя надевают на приводной вал 20, который вращается в трех подшипниках качения 19.

Рабочие цилиндры крепят на станине 28, на которой в нижней части устанавливают электродвигатель 29 и шестеренный насос 30 для подачи охлаждаемого жира. Насос приводится во вращение через клиноременную передачу 26 и промежуточный валик 25, который соединен с валом ременной передачи. Жир поступает по всасывающей трубе 31 в насос, из него нагнетается по трубе 27 в нижний цилиндр и далее по переходным патрубкам 5, 21 в средний и верхний. Таким образом, охлаждение происходит в режиме противотока.

Вытеснители цилиндров 4, 6, 8 (рисунок 18) приводятся во вращение от ведомого вала клиноременной передачи 11 последовательно через цепные передачи 9, 7 и 5, обеспечивая частоту вращения вытеснителей: верхнего 6,02 с-1, среднего 8,01 с-1 и нижнего 10,51 с-1. Мощность электродвигателя 1,5 кВт.

Общая площадь теплопередачи аппарата 1,2 м2, температура охлаждающей воды 10°С, расход 1,5 м3/ч, что позволяет охлаждать говяжий жир до 42°С, свиной до 35°С от начальной температуры 76°С. Производительность охладителя 1350 кг/ч по свиному жиру и 1500 кг/ч по говяжьему. Масса аппарата 326 кг.

Инженерно-технологические расчёты

Производительность отстойника (кг/с) по осветлённой фазе

(2)


где  - массовый расход исходной суспензии, кг/с;

 - массовая доля твёрдой фазы в исходной суспензии, кг/кг;

 - массовая доля твёрдой фазы в осадке, кг/кг.

Общая площадь (м2) поверхности осаждения

(3)


где  - плотность осветлённой суспензии, кг/м3;

 - объёмная подача суспензии, м3/с;

 - скорость стеснённого осаждения, м/с.

Скорость (м/с) свободного осаждения частиц, которые не создают взаимных помех

(4)


где  - коэффициент динамической вязкости осветлённой суспензии, Па*с;

 - критерий Рейнольдса;

 - диаметр частицы, м.

Критерий Рейнольдса определяют через критерий Архимеда в зависимости от режима осаждения. При ламинарном режиме (Re < 2) Re = 0,06Ar, при переходном (2 ≤ Re ≤ 500) Re = 0,152Ar0,715, при турбулентном (Re ≥ 500) Re = 1,72.

Критерий Архимеда

(5)


где  - ускорение свободного падения, м/с2;

 - кинематическая вязкость м2/с.

Предельные значения критерия Архимеда: для ламинарного режима Ar < 36, переходного 36 ≤ Ar ≤ 83000, турбулентного Ar > 83000.

Вычислив критерий Ar, определяют в каком режиме происходит осаждение, затем по соответствующей формуле вычисляют критерий Рейнольдса Ar и по формуле (4) - скорость свободного осаждения . Если форма частиц отлична от круглой, то в формуле (4) вводят эквивалентный диаметр частицы

(6)


где  - коэффициент формы, для округлых частиц , угловатых , продолговатых , пластинчатых.

Скорость стеснённого осаждения определяют по эмпирическим формулам в зависимости от  - объёмной доли жидкой фазы в суспензии.

При

(7)


При

(8)


Объёмная доля жидкой фазы

(9)


Где  - плотность исходной суспензии, кг/м3.

Для определения площади поверхности осаждения в отстойниках непрерывного действия используют видоизменённую формулу (3)

(10)


После определения площади осаждения определяют объём и размеры аппарата в зависимости от его конструкции: периодический, одно- или многоярусный, непрерывный и т.д. Расчёт сепараторов. При расчёте сепараторов - распределителей и сепараторов - осветлителей производительность (м3/с) определяют по формуле Бремера.

(11)


где Σ - индекс производительности, м3;

 - разделяемость смеси, с;

 - число тарелок;

 - угол наклона образующей тарелки к плоскости основания;

 - наибольший и наименьший радиусы тарелки, м;

 - разность плотностей дисперсионной фазы и дисперсной среды, кг/м3;

 - диаметр частицы, м;

 - динамическая вязкость дисперсной среды, Па∙с.

С учётом экспериментальных данных формула Бремера для тонко дисперсных сред скорректирована Муркесом, и производительность (м3/с)

(12)


Предельный размер частиц назначают по требуемому остаточному содержанию дисперсной фазы в фугате. Связь между этими параметрами для ряда продуктов проставлена в виде таблиц и графиков, или её устанавливают экспериментально.

Если известна характеристика сепаратора, то в зависимости от его производительности  определяют наименьший размер частиц, которые могут быть выделены в данных условиях

(13)


Мощность привода рассчитывают раздельно по пусковому и рабочему режимам (соответственно формулы (14), (15)).


где  - мощность привода в период пуска, кВт;

 - мощность трения ротора о воздух, кВт;

 - мощность разгона поршневого ротора, кВт.

(15)


где  - мощность привода в рабочем режиме, кВт;

Мощность кинетической энергии разделяемой суспензии, кВт.

Мощность и тап двигателя подбирают по Nрб с учётом пусковых перегрузок. При этом следует учитывать большую длительность разгона в следствие значительной инерционности ротора и высокой рабочей частоты вращения.

В сепараторах часто используют встроенные насосы и сопла для выгрузки жидких разделённых фракций и сгущённых осадков. Затраты мощности при выходе отсепарированной жидкой фракции через неподвижный напорный диск, размещённый во вращающейся напорной камере сепаратора, можно определить по следующей формуле

(16)


где  = 0,30…0,42 - коэффициент потерь (гидравлический КПД насоса);

 - давление в отводном патрубке, Мпа.

Значение  влияет на размеры диска

(17)


где  - наибольший радиус окружности напорного диска, м;

 - радиус свободной внутренней поверхности жидкости в сепараторе, м.

Затраты мощности при выводе отсепарированной фракции через сопла или сливные отверстия определяют по формуле

(18)


Весьма существенны потери мощности (Вт) на трение ротора о воздух в сепараторах, которое можно рассчитывать по формуле

(19)




где  - плотность воздуха, кг/м3;

 - экспериментальный коэффициент;

 - частота вращения ротора, с-1;

 - наружный радиус и высота цилиндрической части ротора соответственно, м;

 - угол подъёма образующей крышки. [2]

Заключение

Производство технического жира в пищевой промышленности является одним из источников сырья для других видов промышленностей.

Партия готового продукта должна иметь густую массу от светло-коричневого до темно-коричневого цвета со специфическим запахом.

Жир животный технический используется в производстве моющих и чистящих средств, биодизельного топлива, биогаза, технических смазок и другой продукции технического назначения.

Срок хранения технического жира не ограничен.

В результате работы над данным курсовым проектом была подобрана оптимальная технологическая линия по производству и сбору технического жира позволяющей переработать около 1500 кг/ч исходного сырья, подобрано и оценено различное оборудование, применяемое для данного технологического процесса.

Список используемой литературы

1.      Бредихин А.С. технологическое оборудование мясокомбинатов. - М.: Колос, 2000, 392 с.

.        Ивашов В.И. Технологическое оборудование предприятий мясной промышленности. Часть 1. - М.: Колос, 2001, 552 с.

.        Сницарь А.И. Справочник мастера цеха технических фабрикатов. - М.: Мясная индустрия, 1996, 96 с.

.        Шаршунов В.А. Технологическое оборудование мясоперерабатывающих предприятий. - Минск: Мисанта, 2012, 983 с.

.        ГОСТ 1045-73 Жир животный технический. Технические условия.

Похожие работы на - Проект поточной линии по сбору и производству технического жира. Отстойники и жироловки, сепараторы

 

Не нашли материал для своей работы?
Поможем написать уникальную работу
Без плагиата!
Без нейросетей!