|
Елементи мережі
|
Відхилення і втрати напруги в елементах мережі
|
|
Віддалена ТП
|
Ближня ТП
|
|
100%
|
25%
|
100%
|
25%
|
|
Шини 10 кВ п/ст. 35/10 Лінія 10 кВ Трансформатор
10/0,4 - постійна надбавка - змінна надбавка - втрати в трансформаторі Лінія
0,38 кВ
|
+2 -4 +5 0 -4 -4
|
0 -1 +5 0 -1 0
|
+2 0 +5 0 -4 -8
|
0 0 +5 0 -1 0
|
|
Відхилення напруги на затискачах споживачів
|
+5
|
+3
|
-5
|
+4
|
Розглянемо віддалену трансформаторну
підстанцію 10/0,4 кВ.
Приймаємо для неї регульовану
надбавку Vзм = +0% (на трансформаторах 10/0,4 кВ є такі регульовані
надбавки: -5%; -2,5%; 0%; +2,5%; +5%). Визначаємо сумарні втрати напруги в
лініях 10 і 0,38 кВ:
,
що,
(сумарна
втрата напруги в лініях 10 і 0,38 кВ не повинна перевищувати 18%).
Розподіляємо сумарну втрату
напруги між лініями 10 і 0,38 кВ. (розподіляємо довільно, приблизно порівну).
Лінія 10 кВ - ДUдоп
= 4%
Лінія 0,38 кВ - ДUдоп
= 4%
Перевіряємо баланс напруг за
формулою:
Умова рівності виконується
Розглянемо режим мінімального
навантаження:
Втрата напруги в лінії 0,38
кВ при мінімальному навантаженні приймається рівною нулю.
Дані розрахунків заносимо до
таблиці.
Визначаємо відхилення напруги
біля ближнього споживача при мінімальному навантаженні:
,
що не перевищує +5 %.
Аналогічно заповнюємо графи
таблиці для ближньої ТП 10/0,4 кВ.
Втратами напруги в лініях 10
кВ для ближньої ТП 10/0,4 кВ нехтуємо.
Для ближньої ТП 10/0,4 кВ
приймаємо регульовану надбавку 0%.
Визначаємо допустиму втрату
напруги в лінії 0,38 кВ:
Визначаємо відхилення напруги
біля ближнього споживача при мінімальному навантаженні:
, що
8%
Таким чином допустима втрата
напруги в лініях 0,38 кВ складає
.
.3 Перевірка лінії 0,38 кВ на втрату
напруги після приєднання проектованого об’єкта (додаткового навантаження)
Рис. 3.2 Розрахункова схема.
Визначаємо допустиму втрату напруги
в зовнішніх лініях:
(втрата напруги у внутрішніх
проводках складає 1,5…2%)
Визначаємо допустиму втрату
напруги для зовнішніх ліній у вольтах:
Коефіцієнт потужності cosц =
0,75 для якого tgц = 0,88, х0=0,347 Ом/км, r0 = 1,165
Ом/км.
Визначаємо навантаження на
дільницях лінії:
кВт
кВт
кВт
кВт
кВт
- коефіцієнт одночасності
Визначаємо дійсну втрату
напруги в магістралі:
В
Так як
= 37,66 В
>
= 24,7 В -
умова не виконується.
.4 Визначення необхідного
перерізу проводів
Необхідний переріз проводу
визначаємо методом сталого перерізу проводу магістралі.
Задаємось індуктивним опором
Х0 = 0,35 Ом/км.
Визначаємо втрату напруги в
індуктивних опорах лінії:
В
Визначаємо втрату напруги в
активних опорах лінії:
В
Визначаємо необхідний переріз
проводу магістралі:
Де г = 32 м/Ом*мм2
- питома провідність алюмінію
Приймаємо стандартний провід
3А50+А50 для якого:0 = 0,588 Ом/км
х0 = 0,322 Ом/км
Визначаємо дійсну в трату
напруги в лінії після заміни проводу:
В
Так як
= 22,27 <
= 24,7 В -
умова виконується.
3.5 Перевірка лінії на
коливання напруги під час запуску електродвигунів
Електродвигун потужністю 3
кВт встановлено в запроектованому приміщенні.
Рисунок 3.3
Визначаємо номінальний струм
електродвигуна:
А
Визначаємо повний опір
короткого замикання асинхронного електродвигуна:
Ом
Визначаємо опори лінії:
л = r0l1
=
= 0,018 Ом,
хл = х0l1
=
= 0,001 Ом,
Ом
Повний опір силового трансформатора
приймаємо Zт = 0,029 Ом
м
= Zл + Zт = 0,018+0,029 = 0,047 Ом
Визначаємо відхилення напруги на
затискачах електродвигуна під час його запуску:
Так як V = 0,85% < 30%
умова запуску виконується.
.6 Розрахунок струмів
короткого замикання
Розрахункова схема
Рисунок 3.4
Визначаємо струми короткого
замикання на шинах 0,4 кВ підстанції
Ом
к% -
напруга к.з.
Трифазний струм короткого
замикання:
кА =8020 А
Ударний струм короткого
замикання:
кА = 11340 А
Визначаємо струм однофазного
короткого замикання в кінці лінії відгалуження. 1/3Zт = 0,104 Ом
Опір петлі фаза-нуль:
Ом
Ом
Ом
А
.7 Розрахунок захисту лінії та вибір
захисних апаратів
.7.1 Якщо лінія захищається
автоматичним вимикачем
Рисунок 3.5
Визначаємо робочий струм на дільниці
ТП-1
А
Номінальний струм
автоматичного вимикача вибираємо за умовою
А
Приймаємо автоматичний
вимикач ВА51Г-33 з Ін = 160 А
Приймаємо струм теплового
розчіплювала
А
Кн - коефіцієнт
надійності.
Кн = 1, якщо до
лінії не підключені електродвигуни з тяжкими умовами запуску, або число пусків
не перевищує 15, в протилежному Кн=1,25.
Перевіряємо автоматичний
вимикач на вимикаючу здатність:
Івим - вимикаюча
здатність автоматичного вимикача.
Перевіряємо чутливість
захисту при однофазному короткому
замиканні в кінці лінії.
що > 3
Умова чутливості виконується.
3.7.2 Якщо лінія захищається
запобіжником
Рисунок 3.6
Струм плавкої вставки
запобіжника вибираємо за умовою:
Ів≥2,5Ір.макс.=2,5*
109,36=273,4 А
Приймаємо запобіжник ПН2-400
з номінальним струмом плавкої вставки Ів=300 А
Перевіряємо запобіжник на
вимикаючу здатність
Перевіряємо чутливість
захисту
що > 3
Умова чутливості захисту
виконується.
4. Автоматизація
технологічних процесів об’єкта проетування
.1 Розрахунок і вибір
обладнання, що підлягає автоматизації, коротка характеристика
Об′єктом автоматизації
даного проекту є насосна установка водопостачання баштового типу.
втоматизована установка
водопостачання баштового типу являє собою комплекс обладнання, до якого
входять:
– водонапірна башта;
– заглибний електронасос, який
складається з вертикального багатоступінчастого відцентрового насоса і
заглибного трифазного асинхронного електродвигуна з короткозамкненим ротором;
– трубопровід, що з’єднує
вихідний патрубок насоса з баштою;
– станція або комплектний
пристрій керування.
Установка працює наступним чином.
Вода із свердловини за допомогою заглибного насосу подається трубопроводом до
водонапірної башти, звідки під тиском, який залежить від висоти стовпа води,
надходить до споживачів по водопровідній мережі.
Для надійного забезпечення
споживачів водою необхідно підтримувати постійним рівень води в башті, що в
свою чергу, забезпечує стабільні кількість і тиск води у водопровідній мережі.
Обґєм і висота башти розраховуються виходячи з потрібного обґєму води, яка
споживається. Згідно завдання обґєм башти становить 80 м3, висота - 45
м.
Оскільки конструкція заглибного
насоса передбачає роботу у водному середовищі, і при відсутності води насос
може вийти з ладу, необхідно забезпечити умови, які виключають роботу насоса
при відсутності води.
Для цього у трубопровід, що з’єднує
насос з баштою, встановлюють зворотній клапан, який запобігає повернення води
до свердловини при вимкненому насосі, а також контроль наявності води навколо
всмоктуючого патрубка насоса. При відсутності води необхідно вимкнути насос.
При початковому вмиканні установки
або після тривалої зупинки необхідно забезпечити початковий забір води в башту
без відбору води.
Свердловинні насоси призначені для
підіймання води з глибини до 50м і встановлюються в свердловинах і колодязях з
піщаним чи глиняним дном. Насос на потрібній глибині встановлюють у трубі, тому
необхідно підібрати необхідний діаметр труби до діаметра насоса. При невеликій
різниці діаметрів можуть виникнути труднощі з опусканням насосу, а при
завеликій різниці не буде забезпечуватись належне його охолодження.
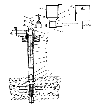
Рис. 4.1. - технологічна схема
насосної установки водопостачання:
- відстійник; 2- фільтр; 3- башмак
обсадної колони; 4- набивний сальник; 5- надфільтрова труба; 6- електродвигун;
7- насос; 8- обсадна труба; 9- пояс для закріплення кабеля живлення; 10- датчик
«сухого ходу»; 11- гирловий патрубок; 12- ребро; 13- опорна плита; 14- кабель
живлення електродвигуна та кабель до датчика «сухого ходу»; 15- водонапірний
трубопровід; 16- триходовий кран; 17- манометр; 18- водонапірний бак; 19-
датчик рівнів води; 20- провід, що з′єднує датчик рівнів з ящиком
(пристроєм) керування; 21- ящик (пристрій) керування заглибленим
електронасосним агрегатом; 22- розбірний трубопровід; 23- засувка.
Електронасосний агрегат (рис. 4.1)
складається із відцентрового насоса ЭЦВ6-10-50, заглибного електродвигуна,
кабеля живлення 14, водонапірного трубопроводу 15, обладнання гирла свердловини
(опорного пристрою) 13, манометра 17, засувки 23, пристрою керування 21.
При монтажі електронасосного агрегату
датчик «сухого ходу» встановлюють на рівні не нижче підпору. Значення підпору
наводиться на технічній характеристиці насоса. Насоси також оснащенні
зворотними клапанами тарілкоподібного типу, які утримують стовп води у
трубопроводі при зупинках насоса і полегшують запуск електронасосного агрегату,
та спеціальними напірними патрубками, що призначені для приєднання агрегату до
водонапірного трубопроводу.
До складу насосної установки
входять: насос, заглибний електродвигун, з’єднувальні гільзи, полівенилхлоридна
ізоляційна стрічка.
Насос типу ЄЦВ6-10-50 з
електродвигуном типу ПЄДВ-2,8-140.
Електронасосний агрегат з
водонапірною трубою й іншими складовими кріпиться до опорної плити. Попаданню
піску до електронасосного агрегату перешкоджає фільтр, який розміщений
безпосередньо у водоносному прошарку. Конструктивно електронасосний агрегат
виконаний так, що електродвигун знаходиться нижче насосу. Це забезпечує
перебування двигуна у воді навіть при зниженні рівня підпору. Кабель живлення
заглибного опусканням агрегату до свердловини, попередньо перевіривши величину
опору ізоляції пайки місць з’єднань кабелю живлення з виводами електродвигуна.
На рівні підпору насоса встановлюється датчик «сухого ходу», який забезпечує
унеможливлення вмикання і роботи насоса при зниженні рівня води у свердловині.
Електронасосний агрегат працюватиме доти, доки вода у водонапірному баку не
досягне встановленого датчиком рівня. Манометр на коліні водонапірного
трубопроводу призначений для контролю правильного пуску агрегату.
.2 Дослідження і обґрунтування
параметрів автоматизації насосної установки водопостачання
При автоматизації насосних станцій
водопостачання можна виділити наступні локальні системи автоматичного
керування:
˗ автоматичне
регулювання тиску в магістральному трубопроводі або автоматичне регулювання
рівня води в башті;
˗ автоматичний
захист електроприводу від «сухого ходу»;
˗ автоматичний
захист від повторного короткочасного вмикання;
˗ автоматичний
захист від електропривода від перекосу або відсутності фаз;
˗ автоматичний
захист від електропривода від збільшення або зменшення напруги живлення.
- вхідні величини (керуючі дії)
˗ Х1-
подача заглибного насосу, м3/год.;
˗ Х2-
час вмикання електродвигуна;
- вихідні параметри відносно об’єкта
керування
˗ У1
- наявність (відсутність) води в свердловині, датчик «сухого ходу»;
˗ У2
- рівень води в башті, датчики рівня;
- параметри збурення
˗ Z1
- рівень води, що надійшов.
Частота вмикань електронасоса не
повинна перевищувати 3 разів за годину, оскільки збільшення цієї величини може
призвести до пошкодження ізоляції обмоток електродвигуна і його швидкого виходу
з ладу. Це пояснюється позакласовою ізоляцією обмоток електродвигуна і
особливістю конструкції його статора. Забезпечення потрібної частоти вмикання
електронасоса залежить від об’єму бака, що визначається виходячи з величини
щоденного водоспоживання.
Рис. 4.3. - Модель насосної
установки водопостачання, як об’єкта автоматизації.- зміна рівнів води в башті;
Х1 - продуктивність насосу;
Х2 - час роботи електродвигуна;
У1 - напруга живлення електродвигуна
насосу;
У2 - рівень води в башті.
Двопозиційне регулювання рівня води
у башті відбувається за рахунок датчиків верхнього і нижнього рівнів.
Технологічний захист установки
забезпечується розміщенням датчика «сухого ходу» на висоті підпору насосного
агрегату (приблизно 1 м).
Для контролю нормальної роботи
електродвигуна насоса використовується перевантажувальний амперметр, який
встановлюється в розрив однієї з фаз силового кола двигуна. Амперметр вибираємо
орієнтуючись на номінальний струм електродвигуна Ін, який становить 6,9 А.
Для контролю правильного пуску і
роботи насоса на коліні напірного трубопроводу встановлюємо манометр, котрий
вибираємо виходячи з напору насоса, котрий становить 50 м.
Контроль тиску можна спостерігати за
манометром, який встановлений на напорному трубопроводі, а також для визначення
правильності обертання двигуна.
Локальна система автоматичного
регулювання.
В установці водопостачання з
керуванням за рівнем регульованою величиною є рівень води в водонапірній башті.
При відхиленні рівня води від заданого, компенсацією відхилення є відповідно
вмикання і вимикання двигуна насоса подачі води. Тобто здійснюється
двопозиційне регулювання подачі води. При зниженні рівня води до нижнього рівня
- вмикається насосний агрегат і насос подає воду у башту з повною
продуктивністю. Рівень води в башті зростає. При досягненні верхнього рівня -
насосний агрегат вимикається.
Локальна система захисту від сухого
ходу.
Для забезпечення цієї функції над
насосом у свердловині на висоті не менше ніж 1 м встановлюється датчик сухого
ходу. При зниженні рівня води у свердловині нижче датчика сухого ходу система
автоматичного керування відключатиме насос від мережі живлення. Цим
забезпечується захист насосу від «сухого ходу», а двигун від перегріву.
Локальна система захисту від
неповнофазних режимів роботи і перевантажень.
Для забезпечення цієї функції у САК
двигуном передбачено датчики струму, що контролюють робочий струм двигуна
насоса. При збільшенні струму двигуна більше допустимого значення - САК вимикає
насос.
.3 Розробка функціональної схеми
автоматизації. Вибір комплексу технічних засобів
Функціональну схему автоматизації
розробляємо на підставі технологічної схеми установки, аналізу характеристик об′єкта
автоматизації та сучасних технологічних рішень з автоматизації аналогічних об′єктів
з врахуванням вимог ГОСТ 21.404-85.
Опис локальних систем автоматичного
керування, автоматичного захисту, сигналізації та значення відповідних
параметрів приведено в таблиці 2.3
Функціональну схему зображено на
аркуші Е2. Датчики встановлені у відповідних точках технологічної схеми.
Прилади розміщені по місцю та на щиті. Під відповідними лініями зв′язку
елементи окремих локальних систем та проставлено на лініях зв′язку
значення відповідних параметрів.
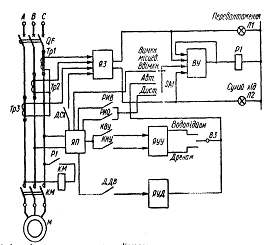
Рис. 4.3. - функціональна схема
пристрою “Каскад”.
- автоматичний вимикач; ТА1-ТА3 -
трансформатори струму із швидким насиченням; КМ - електромагнітний пускач; М -
електродвигун насосного агрегату; ДСХ- датчик «сухого ходу»; ЯЗ - чарунка
захисту; ЯП - чарунка живлення; РИВ, РИО - відповідно контакти виконавчих реле
вмикання і вимикання електронасосного агрегату в режимі дистанційного
керування; КВУ,КНУ- відповідно контакти датчика верхнього і нижнього рівнів
води; ДВВ - датчик тиску води у напірному трубопроводі; SА1 - перемикач режимів
роботи; ВУ - вихідний вузол; ЯУУ - чарунка керування за рівнем води; ЯУД-
чарунка керування за тиском води; К1- вихідне реле блока логіки; NL1,NL2-
сигнальні лампи.
Пристрій «Каскад» забезпечує
автоматичне, місцеве і дистанційне керування насосом агрегатом в режимі
водопідйому. Ящик керування ЯГ5102 комплектується для керування серії
БОН9201-197ВУ2, який призначений для керування і захисту від аварійних режимів
електронасосів.
На функціональній схемі пристрою
«Каскад» показані всі можливі чарунки і елементи, які пояснюють всі принципи
автоматичного керування і захисту.
При автоматичному керуванні за
рівнем води в водонапірній башті, перемикач S1 ставиться в положення АУ. Якщо у
башті немає води, або вона нижче контактів нижнього рівня (КНУ)-ЯУУ видає
сигнал на вимикання насоса. Цей сигнал поступає у вихідний вузол ВУ. Через
визначений час, який задається вимикається реле К, яке своїм замикаючим контактом
вмикає магнітний пускач КМ. При досягненні водою контактів верхнього рівня
(КВУ) - ЯУУ виробляє сигнал на вимикання насоса. Сигнал поступає в ВУ, реле К
знеструмлюється. Насос вимикається з мереж. Цикл повторюється.
Захист від перевантажень і сухого
ходу здійснюється чарункою захисту (ЯЗ). При перевантаженні і обриві фази
підвищується струс споживаний двигуном, ЯЗ видає сигнал ВУ, який
запам’ятовуєть. На виході ВУ зникає сигнал, реле К і двигун насоса вимикається.
При цьому загорається лампа «перевантаження».
При наявності води в свердловині
контакт ДСХ замикається. При зниженні рівня води в свердловині контакт ДСХ
розмикається, чарунка ЯЗ виробляє сигнал аварійного вимикання, який надходить
на вхід ВУ.
Реле К вимикається, двигун
зупиняється. Засвічується лампа «сухий хід». Повторний запуск насоса після
аварійного вимикання не можливий. Запуск можливий після знімання напруги з
ящика керування за допомогою автоматичного вимикача QF і повторного вмикання.
Насос вмикається якщо ліквідована причина аварійного вмикання.
4.4 Розробка принципової електричної
схеми. Аналіз схеми
Принципову електричну схему
розробляємо з врахуванням забезпечення функціонування локальних систем
автоматичного керування, захисту, контролю. Принципову електричну схему
зображаємо у відповідності з вимогами ГОСТ 2.702.-95 «ЕСКД».
Додатково враховуємо наступні
вимоги:
силової мережі 380В, 50Гц.
Для кола керування передбачаємо 220В, 50Гц.
захист електродвигуна від
перевантажень забезпечується швидкодіючою схемою (див. п.р.2.4);
захист елементів силового
кола від коротких замикань передбачено автоматичним вимикачем QF;
для вибору режиму
перемикання передбачаємо тумблер SA.
Умовні графічні позначення елементів
на принциповій схемі (електричній) зображаємо згідно:
· контакти
і контактні з’єднання ГОСТ 2.755-87;
· сприймаючі
частини електромеханічних пристроїв (котушки, реле, пускачів, електромагніти,
нагрівні елементи теплових реле) ГОСТ 2.755-76;
· електричні
зв’язки, проводи, кабелі і інші - ГОСТ 2.751-73;
· напівпровідникові
прилади - ГОСТ 2.730-73;
· буквені
позначення елементів схеми - ГОСТ 2.710-81;
Всі апарати (реле, кнопки, ключі
керування, пускачі, автоматичні вимикачі) на схемі зображаємо у вимкненому
положенні.
Контактні реле, магнітних пускачів
зображаємо так, щоб сила необхідна для спрацювання діяла на рухомий контакт
зверху-вниз при горизонтальному зображенні кіл схеми і зліва направо при
вертикальному.
Схема принципова електрична
складається рядковим рознесеним методом, умовні літерно-цифрові позначення
виконуються згідно ГОСТ-2.710-81 і пишуться справа і зверху.
Графічні позначення контактів і
контактних з’єднань виконуються згідно ГОСТ2.755-87.
Принципова електрична схема пристрою
“Каскад” зображена на аркушу 2 (Е3) графічної частини. Схема складається з
силової частини та кіл керування.- автоматичний вимикач; РА1 - амперметр; КМ -
електромагнітний пускач; M - електродвигун насосного агрегату; Е2Р - блок
трансформато-
рів струму; Е1FQ - блок керування
БОН9200; K1 - вихідне реле блоку керування; ДСХ - датчик сухого ходу»; КВУ і
КНУ - відповідно контакти датчика верхнього і нижнього рівнів води; А1 -
перемикач режимів роботи; УДУ - пристрій дистанційного керування
електронасосним агрегатом.
Автоматичне керування електронасосом
за рівнем води в баку водонапірної башти здійснюється так:
) Для керування в режимі водопідйому
перемикач, розташований в чарунці ЯУУ блока керування Е1FQ (на схемі
непоказаний), ставлять в положення «Водоподъем», а перемикач S1-в положення АУ
(«Автоматическое управление») і вмикають автоматичний вимикач QF. Якщо при
цьому води в баку водонапірної башти немає, то контакти SL3 і SL2 датчика рівня
води в баку не обмиваються водою і вмикається електронасос. Вода подається в
бак. Коли рівень її досягне контакта SL3, електронасос вимкнеться, подача води
припиниться. При витраті води і опусканні її рівня нижче контакта SL2
електронасос вмикається.
) Для керування в режимі дренажу
перемикач, розташований в чарунці ЯУУ, ставлять в положення «Дренаж», а
перемикач S1 - в положення ДУ і вмикають автоматичний вимикач QF. Якщо при
цьому рівень дренажних вод у свердловині піднімиться вище контакта SL3, то
електронасос ввімкнеться, а при зниженні рівня дренажних вод нижче контакта SL2
- вимкнеться.
4.5 Розрахунок і вибір елементів
електричної схеми
Живлення схеми керування
відбувається напругою 220В, 50Гц. Всі прилади, котушки реле, магнітних пускачів
розраховані на напругу 220В частотою 50Гц. Схема принципова електрична
приведена на 2-х аркушах Е3 графічної частини курсового проекту.
Вибираємо магнітний пускач КМ для дистанційного
керування двигуна М типу ПЄДВ-2,8-140 Рн=2,8 кВт, Ін=6,9
А, n=2870 об/хв заглибного насоса за такими умовами :
. За номінальною напругою
. За номінальним струмом - Ін.пускача
=10А ≥ Ін.двигуна=6,9А
. За ступенем захисту - ІР54
Вибираємо магнітний пускач
ПМЛ-110004
Вибираємо автоматичний вимикач для
захисту двигуна М1 від короткого замикання за такими умовами :
. За номінальною напругою - не менше
380В
. За номінальною силою струму
автоматичного вимикача ≥ Ін.двигуна=6,9А
. За наявністю вільних контактів
. За ступенем захисту - ІР00
. За кліматичним виконанням - УХЛ4
Вибираємо автоматичний вимикач типу
АЕ2020 з номінальною силою струму - 16 А.
Теплового розчіплювача в
автоматичному вимикачі не передбачаємо, оскільки функцію захисту від перевантажень
забезпечую схема пристрою.
Теплові реле призначені для захисту
електродвигунів від симетричних перевантажень недопустимої тривалості та роботи
на двох фазах. При виборі теплових реле необхідно щоб номінальний струм двигуна
знаходився в межах діапазону регулювання номінальної сили струму теплового
реле.
Для перемикання різних режимів
роботи схеми вибираємо пакетно-кулачковий перемикач SA1 типу: ПКУ 3-56С 3014 У3
Б, що дозволяє вико-нувати перемикання на 5 положення: -900;-45˚;
0˚; +45˚;+900; виконання за захищеністю ІР54.
Амперметр вибираємо виходячи з
номінального струму електродвигуна, тому нам підійде перевантажувальний
амперметр типу Э8030 в якого межі вимірювання становлять 0…30А.
В схемі пристрою для зв’язку
виконавчих механізмів установки з схемою використовується проміжне реле. Його
вибираємо виходячи з напруги живлення котушки Uж.к. та наявності необхідної
кількості контактів.
Вибираємо сигнальну лампу HL1, яка
призначена для індикації наявності напруги на схемі керування, типу TL02Х1
зеленого кольору на напругу 240В змінного струму.
Отже, всі вибрані елементи керування
і захисту заносимо в таблицю перелік елементів схеми на аркуші1 Е3 графічної
частини.
Розраховуємо проводку до двигунів і
ввід в ящик.
Проводку від пускача до двигуна М
будемо виконувати проводом. Розрахунок проводимо виходячи з номінальної сили
струму електродвигуна, яка становить 6,9А. Основна умова:
Ідоп. ≥ Ін.дв.*1,35,
де Ідоп - допустимий струм проводу
(кабеля);
,35Ін.д - струм спрацювання захисту
пристрою.
А ≥ 1,35*6,9А=9,315А., Умова
виконується.
Умова аналогічно виконується для
кабеля ВПП з перерізом жили
,5мм2 і допустимим
струмом 19А., прокладаємо по стіні на скобах.
Отже, для нормальної роботи
установки приймаємо провід ППВ з перерізом жили 1,5мм2, його
допустимий струм 19А.
Провід до датчиків рівня та сухого
ходу вибираємо АПВ3(1 Х 2,5) прокладеним в трубі.
Умовне позначення блока керування
розшифровується так:
- блок;
- одностороннього
обслуговування; 3 - керування насосними установками;
4 і 5 - відповідно
клас і група НКУ, призначеного для автоматичного регулювання;
6 - номер розробки
з межах однієї групи;
- умовне позначення
за струмом кола керування (0,8 А);
- умовне позначення
номінальної напруги мережі живлення: Г - 440 В, 60 Гц; 7 - 380 В, 50 Гц; Д -
380 В, 50 і 60 Гц; Е - 400 В, 60 Гц; Й - 415 В, 60 Гц;
9 - умовне
позначення номінальної напруги кола керування: - напруга постійного струму 24
В;
і 11 - відповідно
кліматичне виконання (У, Т) та категорія розміщення згідно з ГОСТ 15150-69,
Блоки керування допускають роботу
при температурі навколишнього середовища від -40 до +40 °С в умовах
експлуатації за групою МІ (ГОСТ 17516-72). Середній наробіток на відмову - не
менше 10 000 год.
Переважним чином пристрої «Каскад»
випускаються з ящиками керування для водопідйому з датчиками рівня води у
водонапірній башті.
Передбачені такі режими роботи
блока: керування за рівнем води; керування за тиском води. Переважна більшість
блоків керування, що входять до складу пристроїв «Каскад» у с/г виконані для
роботи з електродними датчиками рівня води.
Таблиця 4.1. - технічні
характеристики електронасосних агрегатів для свердловин.
|
Насос
|
Електродвигун
|
|
Тип
|
Подача, м3/год
|
Напір, м
|
Кількість ступенів
|
Тип
|
Потужність, кВт
|
Частота обертання, об/хв
|
Напруга, В
|
Номінальна сила струму, А
|
|
ЭЦВ6-10-50
|
10
|
59
|
6
|
ПЄДВ-2,8-140
|
2,8
|
2850
|
380
|
6,9
|
.6 Розробка конструкції і схеми
з’єднань пристрою керування, схеми зовнішніх під’єднань. Вибір монтажних
виробів
Ящик керування вибираємо з такими
характеристиками:
Ступінь захисту
ящика ІР54, що забезпечується металевим корпусом ящика, гумовим ущільненням по
периметру дверної панелі і сальниками в місцях вводу струмоведучих жил.
Додатково до ящика приймаються замок, кронштейн для кріплення ящика до стіни,
шина нулів, табличка електробезпеки та табличка з паспортними даними ящика. В
ящику передбачається монтаж приладів на каркасі, до якого монтуються плати
схеми пристрою, автоматичний вимикач, датчики струму. Набори затискачів для
забезпечення електричного
зв’язку між
окремими вузлами принципової електричної схеми пристрою монтуємо на DIN- рейці.
Амперметр змонтований на дверній панелі ящика разом з світлосигнальною
арматурою і тумблером перемикання режимів керування установкою. Провід живлення
ящика керування вводимо через сальникові ущільнення, те ж стосується і виводу
кабеля живлення електродвигуна з ящика. Електричні апарати, які розміщені на
дверній панелі ящика під’єднуються гнучким проводом ПВЗ. Дверна поворотна
панель занулюється окремим провідником, оскільки контакт через завіс не
надійний.
Схему внутрішніх і
зовнішніх (аркуш Е4 графічної частини) з’єднань виконуємо змішаним способом:
силову частину графічним способом, а схему керування - адресним.
При виконанні
монтажних робіт додатково використовувались такі прилади і матеріали:
кронштейн, ізоляційна стрічка, щипці, ключі для закручування гвинтів і гайок,
викрутка, ПВХ ізоляція проводу для виготовлення бірок з номерами провідників,
мегометр, індикатор напруги, цифровий тестер, плоскогубці, ніж, мідний ізольований
провід для виконання внутрішніх електричних з’єднань, DIN- рейка для монтажу
набору затискачів.
4.7 Налагодження
засобів автоматизації
Для безпечної і довготривалої роботи
електрообладнання установки необхідно забезпечити йому відповідні умови експлуатації.
Виходячи з цих вимог ящик пристрою керування розміщуємо в спеціально
відведеному для нього приміщення для убезпечення його від зовнішніх чинників.
Приміщення розташовується поблизу свердловини, щоб забезпечити мінімальне
використання кабелю живлення електродвигуна насоса. До самого пристрою
керування електроенергія підводиться повітряною лінією від ТП напругою 380В.
Порядок проведення передпускових
вимірювань та випробувань.
Безпосередньо перед опусканням
електронасосного агрегату у свердловину перевіряють плавність обертання його
валу, а також проводять двократне заповнення і злиття води з метою його
промивання. Після цього електродвигун доверху заповнюють чистою водою і
встановлюють пробки. Перед монтажем агрегату живильний кабель з’єднується мідними
гільзами та шляхом паяння припоєм ПОС-30 із виводами обмотки статора заглибного
електродвигуна. Місця з’єднання ізолюються липкою ПВХ стрічкою впівнапуск.
Після ізолювання місця з’єднань усіх трьох фаз занурюють у металеву посудину,
заповнену водою температурою 20-30 єС на 1,5-2 год., після чого вимірюють опір
мегомметром опір ізоляції, накладеної на місця з’єднання. посудину з водою
розміщують на ізоляційній прокладці таким чином, аби вона повністю була
ізольована від корпусу електродвигуна. через 1,5 години опісля перевіряється
опір ізоляції обмотки електродвигуна і кабеля у воді, який має бути не менше
0,5 МОм. Пуск електродвигуна можна здійснювати не раніше чим через 1,5 години
після занурення агрегату у воду свердловини, якщо опір ізоляції кола обмотка-кабель
буде не нижче 0,5 МОм. Категорично забороняється вмикати електродвигун, навіть
короткочасно без пристрою керування. Після монтажу агрегату визначають
правильність напрямку обертання електродвигуна по величині тиску в напірному
трубопроводі за показами манометра, який встановлений на коліні напірного
трубопроводу. Тиск при правильному обертанні насоса повинен бути порядку 0,22
МПа. Востаннє виконують налагодження пристрою керування.
Після монтажу агрегату визначають
правильність напрямку обертання електродвигуна. При цьому агрегат вмикають
короткочасно в ручному режимі роботи і за манометром, встановленому у
герметичному оголовку свердловини, визначають тиск. Змінюючи шляхом перемикання
фаз напрямок обертання двигуна повторно визначають тиск води. Більше із
виміряних значень тиску відповідає правильному напрямку обертання агрегату.
Після монтажу заглибного
електронасосного агрегату виконують налагодження пристрою, використовуючи
відповідні гнізда та регулювальні резистори на верхній панелі блока керування.
Оскільки динамічний
рівень води у свердловинах неоднаковий, робочий струм заглибного електродвигуна
теж може бути різним. За цим струмом і налагоджують пристрій керування.
Переналагодження допускається в межах діапазону робочої зони насоса, в якій
робочий струм електродвигуна може відрізнятися від номінального струму пристрою
керування до -25%.
5. Організація експлуатації
електрообладнання і засобів автоматизації
.1 Розрахунок обсягу робіт з
експлуатації електрогосподарства с.г. підприємства в умовних одиницях. Вибір
електротехнічного персоналу
Кількість умовних одиниць
підприємства і об'єкта визначається як добуток кількості даного виду
електрообладнання, що знаходиться на балансі підприємства на перевідний
коефіцієнт.
Таблиця 5.1 - Визначення кількості
умовних одиниць по підприємству
|
№ п/п
|
Назва електрообладнання
|
Одиниці виміру
|
Кількість
|
Перевід, коефіц.
|
|
1.
|
Повітряна лінія електропередач напругою до
1кВ.
|
1км
|
3
|
3,93
|
11,79
|
|
2.
|
Кабельні лінії до 1кВ
|
1км
|
1,2
|
1,29
|
1,54
|
|
3.
|
Розетка ДЕС Руст, до 100кВт
|
1агр
|
1
|
1,5
|
1,5
|
|
4.
|
Розетка ДЕС Руст. 100... 300кВт
|
1агр
|
1
|
3
|
3
|
|
5.
|
Трансформаторна підстанція, КТП
|
ТП
|
2
|
2,2
|
4,4
|
|
6.
|
Те ж закрита з двома тр-рами.
|
ТП
|
1
|
3,5
|
3,5
|
|
7.
|
Те ж закрита з одним тр-ром.
|
ТП
|
1
|
2,5
|
2,5
|
|
8.
|
Електропривод з а.д. в сух. і вол. до 1кВт
|
1 дв
|
92
|
0,44
|
|
|
9.
|
Те ж 1,1 - 10 кВт
|
-//-
|
72
|
0,61
|
43,92
|
|
10.
|
Те ж 10,1-40 кВт
|
-//-
|
14
|
0,72
|
10,08
|
|
11.
|
Те ж більше 40 кВт
|
-//-
|
5
|
0,92
|
4,6
|
|
12.
|
Електропривод з а.д. в волог, і запилен,
привід до 1кВт
|
-//-
|
92
|
0,67
|
|
|
13.
|
Те ж 1,1-10 кВт
|
-//-
|
159
|
0,92
|
146,28
|
|
14.
|
Те ж 10,1-40 кВт
|
-//-
|
25
|
1,13
|
28,25
|
|
15.
|
Те ж більше 40 кВт
|
-//-
|
6
|
1,38
|
8,28
|
|
16.
|
Електропривод в особл. волог, з хім. актив,
середовищем Руст.-ІкВт
|
1 дв
|
122
|
0,88
|
|
|
17.
|
Те ж 1,1-5-10 кВт
|
-//-
|
142
|
1,28
|
181,76
|
|
18.
|
Теж 10,1-40 кВт
|
-//-
|
18
|
1,52
|
27,36
|
|
19.
|
Те ж більше 40 кВт
|
-//-
|
6
|
1,8
|
10,8
|
|
20.
|
Електропривод з а.д. відкритої установки до 1
кВт
|
-//-
|
27
|
1,07
|
|
|
21.
|
Те ж 1,1+10кВт
|
-//-
|
62
|
1,52
|
94,24
|
|
22.
|
Те ж 10,1-40 кВт
|
-//-
|
14
|
1,84
|
25,76
|
|
24.
|
Електротермічні установки,
електроводонагрівачі Ел.дро. - 100 кВт.
|
1 уст.
|
2
|
3,22
|
6,44
|
|
25.
|
Те ж 101-160 кВт
|
-//-
|
1
|
4,12
|
4,12
|
|
26.
|
Електродні парові котли Руст-до 160 кВт.
|
шт.
|
1
|
5,54
|
5,54
|
|
27.
|
Електроводонагрівачі трубчасті до 200л.
|
-//-
|
12
|
1,09
|
13,08
|
|
28.
|
Тежвід201-400л
|
-//-
|
4
|
1,66
|
6,64
|
|
29.
|
Електроводонагрівачі побутові 6…….100л.
|
-//-
|
12
|
0,98
|
11,76
|
|
30.
|
Електроплити стаціонарні типу „Томь"
|
-//-
|
40
|
0,25
|
10
|
|
31.
|
Електроплити інших типів Рвет. - до 1кВт
|
кВт
|
200
|
0,05
|
10
|
|
32.
|
Електрокалорифери Рвст.до 40 кВт.
|
-//-
|
14
|
3,16
|
44,24
|
|
33.
|
Електрокалорифери Рвст.до 40 - 60 кВт
|
-//-
|
2
|
3,38
|
6,76
|
|
34.
|
Електровулканізатори
|
-//-
|
5
|
0,29
|
1,45
|
|
35.
|
Електродисцілятори
|
-//-
|
3
|
0,9
|
2,7
|
|
36.
|
Сушильні електрошафи
|
-//-
|
10
|
0,53
|
5,3
|
|
37.
|
Електрообігрівачі
|
1 уст.
|
40
|
0,15
|
6
|
|
38.
|
Пристрої електрообігріву підлоги в
тваринницьких приміщеннях
|
100м2
|
20
|
0,73
|
17,6
|
|
39.
|
Пристрої для обігріву грунту в теплиці
|
100м2
|
50
|
0,8
|
40
|
|
40.
|
Зварювальний генератор І>300А
|
1 уст.
|
2
|
3,26
|
6,52
|
|
41.
|
Зварювальний трансформатор І>300А
|
-//-
|
4
|
1,24
|
4,96
|
|
42.
|
Перетворювач І > 300А
|
-//-
|
1
|
2,41,
|
2,41
|
|
43.
|
Зарядні випрямлячі без автом. регул, режим.
|
-//-
|
4
|
0,53
|
2,12
|
|
44.
|
Те ж з автоматичною стабілізацією режим.
|
-//-
|
2
|
1,8
|
3,6
|
|
45.
|
Конденсаторні батареї для компенсації
реактивної складової навантаження
|
-//-
|
2
|
1,84
|
3,68
|
|
46.
|
Освітлювальні установки в сухих і вологих
приміщеннях
|
10 св.
|
22
|
0,65
|
14,3
|
|
47.
|
Те ж з люмінесцентними лампами
|
-//-
|
7
|
0,86
|
6,02
|
|
48.
|
Те ж у сирих і запил, приміщеннях ЛР
|
-//-
|
16
|
0,91
|
14,56
|
|
49.
|
Те ж з ЛЛ
|
-//-
|
8
|
0,74
|
13,92
|
|
50.
|
Те ж в особливо сирих з хімічно активним
середовищем приміщеннях, ЛР
|
-//-
|
29
|
1,4
|
40,6
|
|
51.
|
Те ж з ЛЛ
|
-//-
|
18
|
2,07
|
37,26
|
|
52.
|
Зовнішнє освітлення: лампи розжар.
|
-//-
|
30
|
1,35
|
40,5
|
|
53.
|
Те ж з дуговими лампами
|
-//-
|
5
|
1,56
|
7,8
|
|
54.
|
Опроміню вальні інфрачервоні установки
|
1 уст.
|
20
|
0,97
|
19,4
|
|
55.
|
Те ж з ультрафіолетовим опроміненням
|
-//-
|
20
|
1,65
|
33
|
|
56.
|
Те ж комбіновані
|
-//-
|
10
|
2,43
|
24,3
|
|
57.
|
Шафи автоматики з кількістю реле >5
|
шт.
|
60
|
0,04
|
2,4
|
|
58.
|
Те ж: транзистори, тиристори
|
-//-
|
60
|
0,01
|
0,6
|
|
59.
|
Електроогорожі
|
-//-
|
2
|
0,5
|
1
|
|
60.
|
Щити обліку електроенергії
|
1 ящ.
|
ЗО
|
0,3
|
9
|
Електропроводки житлових багатоквартирних
будинків
|
1 буд.
|
24
|
0,1
|
2,4
|
|
62.
|
Те ж з садибного типу
|
-//-
|
40
|
0,15
|
6
|
|
63.
|
Роботи по монтажу нових електроустановок на 10
тис.
|
10 тис.
|
1
|
170
|
170
|
|
64.
|
Те ж по капремонту
|
5 тис.
|
1
|
100
|
100
|
|
65.
|
Дрібно монтажні роботи
|
100 ум.
|
15
|
15
|
225
|
|
Всього по підприємству:
|
1601,5
|
Таблиця 5.2 -
Визначення кількості умовних одиниць по об’єкту проектування.
|
№ п/п
|
Назва електрообладнання
|
Одиниці виміру
|
Кількість
|
Перевід, коефіц.
|
Кільк. ум.од.
|
|
1.
|
Електродвигун з потужністю до 1,1 кВт.
|
Шт.
|
2
|
0,88
|
1,76
|
|
2.
|
Електропривід з потужністю 1,1 до 10,1 кВт.
|
Шт.
|
7
|
1,28
|
8,96
|
|
3.
|
Електропривід з потужністю 10,1 до40 кВ
|
Шт.
|
-
|
1,52
|
-
|
|
4.
|
Шафи керування розподільчих пунктів, силові
щити, щити освітлення
|
Шт.
|
12
|
0,3
|
12,3
|
|
5.
|
Світильники з лампами накалювання
|
10 Шт.
|
6,5
|
1,4
|
9,1
|
|
6.
|
Світильники з люмінесцентними лампами
|
10 Шт.
|
-
|
2,7
|
-
|
|
7.
|
Електричний клімат
|
1уст.
|
1
|
1,66
|
1,66
|
|
8.
|
Електропроводка кабелем на скобах
|
1 км.
|
0,479
|
1,29
|
0,641
|
|
Всього:
|
34,42
|
Для визначення
вмісту годин в одній умовній одиниці проведемо розрахунок корисного фонду
робочого часу одного робітника при п’ятиденному робочому тижні, таблиця 5.3.
Таблиця 5.3 -
Баланс робочого часу одного робітника при п'ятиденному робочому тижні.
|
Показники
|
Одиниця виміру
|
Звітний рік
|
Плановий рік
|
|
Календарний фонд часу
|
дні
|
366
|
366
|
|
Кількість неробочих днів, у тому числі:
|
»
|
113
|
115
|
|
святкових
|
»
|
10
|
10
|
|
вихідних
|
»
|
105
|
105
|
|
»
|
253
|
251
|
|
Невиходу на роботу, у тому числі:
|
»
|
39
|
36,77
|
|
чергові та додаткові відпустки
|
»
|
24,1
|
24,1+0,016
|
|
навчальні відпустки
|
»
|
0,5
|
0,5-0,016
|
|
тимчасова непрацездатність
|
»
|
10,1
|
10,1-0,016
|
|
інші невиходи, дозволені законодавством
(виконання державних обов'язків тощо)
|
»
|
1,9
|
1,9-0,016
|
|
невиходи з дозволу адміністрації (за звітом)
|
»
|
0,7
|
-
|
|
прогули (за звітом)
|
»
|
0,5
|
-
|
|
цілоденні простої (за звітом)
|
»
|
0,1
|
-
|
|
Кількість робочих днів у році
|
»
|
214
|
214,43
|
|
Середня тривалість робочого дня
|
год
|
8
|
8-0,016
|
|
Корисний фонд робочого часу одного робітника
|
»
|
1669,4
|
1711,88
|
Отже одна умовна
одиниця містить в собі годин:
, (5.1.1)
де КФРЧ - Корисний фонд
робочого часу одного середньооблікового робітник, який приймаємо з таблиці 2.3
і він становить 1711,88 години.
Розрахунок річних затрат
праці на технічне обслуговування і поточний ремонт.
Загальні витрати праці по
підприємству
, (5.2)
де Nуо - загальна кількість
умовних одиниць.
, (5.1.3)
де Nп - кількість умовних
одиниць по підприємству, яку приймаємо із таблиці 2.1 і їхня кількість
становить 1601,5 у.о.;оп - кількість умовних одиниць по об’єкту проектування,
яку приймаємо із таблиці 2.2 і їхня кількість становить 34,42 у.о.
Затрати праці на технічне
обслуговування (Тто) складають 60% від загальних затрат праці, а на поточний
ремонт (Тпр) 40% відповідно
28004,9873*0,6=16802,992
28004,9873*0,4=11201,995
Визначення штатної чисельності ЕТС.
Для визначення кількості
інженерно-технічних працівників використовують штатні нормативи
інженерно-технічних працівників енергетичної служби в с.г. підприємствах.
Виходячи з того,що згідно норм,що у
нашому підприємству (20)умовних одиниць,що перевищує 1200у.о. приймаємо на
посаду керівника енерго служби головного електрика і інженера електрика.
Загальну кількість
електромонтерів,електротехнологічної служби визначається виходячи із середньо
річного завантаження в 100у.о. на одну особу.
ел.монтер.= Nу.о./100 у.о., (5.1.4)
де Nу.о.-загальний обсяг робіт по
обслуговуванню електрообладнання.ел.монтер.=1635,92/100=17 електромонтерів
Із загальної кількості
електромонтерів віділяємо групу експлуатації(чергові електромонтери 4 чол.) та
групу ремонту (це електромонтери,які виконують планові технологічні обслуговування
то поточні ремонти 4 чол.).
Одного з електромонтерів закріпляємо
за об’єктом проектування і він виконує обов’язки бригадира.
Із загальної кількості
електромонтерів кожен шостий є старший електромонтер.
Чисельність старших електромонтерів
визначаємо, виходячи з того, що кожен шостий є старшим:
,
(5.1.5)
см=17/6=3с.м.
Тому згідно
розрахунків приймаємо 3 старших електромонтерів.
До виробничих працівників
відносяться робітники зон і дільниць, які безпосередньо виконують роботи по ТО
і ПР електрообладнання підприємства.
Згідно вищенаведених розрахунків
проведемо розподіл робітників за кваліфікаційними розрядами (не менше трьох),
при цьому, старші електромонтери будуть мати VI розряд: розряду -4
ІV розряду -5розряду - 5розряду - 3
.2 Організація системи
обслуговування і ремонту ЕО і ЗА с.г. підприємства
На господарстві застосована
господарська форма ремонту та обслуговування електричного обладнання. Форма
організації плати орендна.
Організація орендного колективу ґрунтується
на добровільній основі. Електрогосподарство має повну господарську і оперативну
самостійність.
Колектив сам
регулює чисельність працівників додержуючись при цьому ПТЕ і ПТБ.
В бухгалтерії
підприємства орендний колектив має свій розрахунковий рахунок (р/р). На
відпустку електроенергії енергонагляд укладає договір з орендним колективом і
несе повну відповідальність перед своїми споживачами. Своєчасна оплата за
електроенергію входить в обов’язки орендного колективу.
Орендний колектив в
свою чергу заключає договір на електропостачання, ТО і ремонт с/г обладнання. В
цих договорах вказано права та обов’язки орендного колективу та споживачів на
виконання монтажно-будівельних та пусконалагоджувальних робіт.
Орендний колектив
заключає орендний договір з іншими підприємствами та організаціями на виконання
робіт та ТО. З адміністрацією свого підприємства орендний колектив заключає
орендний договір, при цьому складається акт про закріплення засобів виробництва
за орендним колективом.
Передача
устаткування ведеться по місцю встановлення, оцінка переданих засобів
перевіряється на відповідність їх фактичній вартості на підприємстві.
Вартість оборотних
засобів орендний колектив сплачую зі свого прибутку, при цьому вводяться
розрахункові та облікові ціни. По них орендний колектив купує матеріальні
ресурси в господарствах. В інших організаціях колектив купує по оптових цінах.
Розрахунки за виконані роботи і ресурси ведеться за допомогою розрахункових
чеків через бухгалтерію підприємства.
Прибуток орендного
колективу створюється за рахунок виручки від реалізації електроенергії та
виконаних робіт.
5.3 Розробка річного графіку ТО і ПР
ЕО і ЗА об’єкта проектування
Графік планово -
попереджувального ремонту електроустаткування об’єкту.
Річний графік
технологічного обслуговування та ремонту енергетичного обладнання складають на
об’єкт пташника.
Для кожного об’єкта
підраховують затрати праці на ТО і ПР. складаючи графік необхідно врахувати
такі вимоги:
1) Кількість обслуговувань і
ремонтів на рік повинно відповідати нормам ППРЕ с.г. Nто.=12 Пто-1міс,
Nпр=12/Ппр (при роботі круглий рік).
) Трудомісткість запланованих робіт
на тиждень повинна бути не більше 32,0 люд.год.
) Графік складають на 52 тижні.
Профілактичні операції розташовують рівномірно протягом всього року через відповідні
відрізки часу(тижні технічного обслуговування і поточного ремонту обладнання).
) Поточний ремонт основного
обладнання потрібно завершити до настання осінньо-зимового періоду.
) При роботі об’єкта круглий рік
серйозних ТО не планують.
Виходячи із встановленого об’єму
проектування маємо:
) Електродвигуни 4АМ, АНР: 2;7шт.
Пто=3міс., Ппр.=24міс. Тто=0,3;0,4;0,5; Тпр=3,9;4,3;4,8;(люд.год)
) Силові збірки,шафи керування
10,щитки освітлення: 2; Пто=1,5міс. Ппр=12міс.
Тто=0,48(0,36), Тпр=7,2(5,4)люд.год.
) Магнітні пускачі-21шт,автоматичні
вимикачі-28 шт. Пто=12міс., Ппр=12міс., Тто=0,28(0,25); Тпр=1,58(1,75)люд.год.
) Світильники: ЛР-65шт.; з ЛЛ-0шт.,
Пто=3міс,; Ппр=12міс.;Тто=0,15(0,2) люд.год. Тпр=0,4(0,5люд.год.)на світильник
) Електропроводка силова,освітлювальна:кабелем,на
тросу,в тубах,кріплення накладним способом 0,497 км. Пто=3міс,;
Ппр=12міс,;Тто=4,6люд., Тпр=69люд.год. на км.
)Електронагрівач «Клімат 45»-1шт,
Пто=міс, Ппр=12міс.,
Тто=0,35люд.год. Тпр=7,5 люд.
Річний графік планово-попереджувальних
робіт будується за формою N1 системи ППРЕ с/г господарства. При побудові
графіку необхідно враховувати:
- ремонт основного устаткування
слід закінчити до настання осінньо-зимового періоду;
- ТО слід виконувати не
порушуючи процес виробництва;
ТО і ПР пуско-захисної і
комутаційної апаратури планують одночасно з електричними двигунами.
обсяг робіт в
людино-годинах не тиждень не повинен перевищувати 32 годин.
Профілактичні операції плануються
рівномірно по тижнях (52).
5.4 Розробка заходів з енергозбереження
в с.г. підприємстві
Організаційні заходи:
Планування витрат та економічний
облік електроенергії на всіх об’єктах і установках.
Високий рівень технічної
експлуатації електроустаткування у відповідності з системою ПЗРЕ, ПТЕ і ПТБ
споживачів.
Впровадження оцінки роботи
виробничих підрозділів з економії електроенергії і електроносіїв.
Організація наглядної агітації з
економії електроенергії.
Організація громадського бюро з
енергетичного використання.
Технічні засоби:
Впровадження систем автоматичного
керування вентиляційними установками і теплотехнічними процесами,що
автоматизовані.
Правильний підбір електричних
двигунів до робочих машин, заміна мало завантажених машин на двигуни меншої
потужності, а також двигунами серії АИР.
Застосування на освітлення ламп
нового типу, правильний вибір світильників, заміна ламп розжарювання
люмінесцентними, або економічними, своєчасна чистка світильників від бруду та
пилу.
Компенсація реактивного струму,
безпосередньо у струмоприймачів.
Впровадження автоматичного вимикання
установки, що працюють на холостому ході.
Застосування двох тарифних
лічильників.
Зменшення втрат теплоти в
приміщенні.
Зменшення втрат енергоносію(газу),
введення зворотного водопостачання.
Застосування фотореле і
фото-елементних вимикачів вуличного і чергового освітлення.
6. Енергозбереження
.1 Нормативно-правове регулювання
енергозбереження
Державна політика в
електроенергетиці (стаття 5).
Державна політика в
електроенергетиці базується на таких принципах:
державне регулювання діяльності в
електроенергетиці;
створення умов безпечної
експлуатації об'єктів електроенергетики;
забезпечення раціонального
споживання палива і енергії;
додержання єдиних державних норм,
правил і стандартів усіма суб'єктами відносин, пов'язаних з виробництвом,
передачею, постачанням і використанням енергії;
створення умов для розвитку і
підвищення технічного рівня електроенергетики;
підвищення екологічної безпеки
об'єктів електроенергетики;
забезпечення захисту прав та
інтересів споживачів енергії;
збереження цілісності та забезпечення
надійного і ефективного функціонування об'єднаної енергетичної системи України,
єдиного диспетчерського (оперативно-технологічного) управління нею;
сприяння розвитку конкурентних
відносин на ринку електричної енергії;
забезпечення підготовки кадрів
високої кваліфікації для електроенергетики;
створення умов для перспективних
наукових досліджень;
забезпечення стабільного фінансового
стану електроенергетики;
забезпечення відповідальності
енергопостачальників та споживачів;
сприяння розвитку вітроенергетики,
як екологічно чистої і безпаливної підгалузі енергетики, шляхом оплати вітровим
електростанціям всієї виробленої ними електричної енергії повному обсязі у
грошовій формі, без застосування будь-яких видів заліків погашення
заборгованості по розрахунках за електроенергію.
(Статтю 5 доповнено абзацом згідно
із Законом N 1812-III від 08.06.2000)
Електропривод здійснює кероване
електромеханічне перетворення енергії,використовується в усіх галузях
сільського господарства,де необхідні рух і механічна робота,споживаючи при
цьому більше 65% електроенергії.
Найбільш перспективнішими зонами
впровадження регульованих електроприводів і сільськогосподарському виробництві
є системи мікроклімату тваринницьких і птахівничих ферм,установки тепло і
холодопостачання, водопостачання, пновмопостачання, системи водопостачання,
теплопостачання, кондяціонування повітря, вентиляції будівель.
Найбільш масовий асинхронний
електропривод у сільському господарстві за кількістю електроенергії,яка
споживається,перебуває в діапазоні потужностей 1-10кВт.За статистичними даними
приблизне розподілення асинхронних двигунів за механізмами оцінюватися такими
показниками: приводи вентиляторів-37%,транспортерів-19%, помп-17%,
оброблювальні станки-7%, змішувачі-6%, механізми пересування-4%, затвори,
засувки-4%.
Енергозбереження поділяється на:
організаційні;
технічні.
До організаційних заходів належать:
планування витрат і старанний облік
електричної енергії. Організація приладового обліку теплової енергії й витрат
теплоносія дозволяє виявити фактичне споживання теплової енергії, що може
відрізнятися від проектного теплового навантаження будівель і споруд. Ця
відмінність за даними,
отриманими в результаті експлуатації
систем теплопостачання, обладнаних вузлами обліку тепло споживання, може становити
до 30% від планових (проектних) показників. Перевищення планового тепло
споживання, як правило, пов'язане з погіршеними характеристиками
огороджувальних конструкцій. За відсутності приладового обліку теплопостачальні
організації часто використовують систему тарифів і питомих нормативів опалення
й ГВП із понижуючими коефіцієнтами, що призводить до перевищення обсягів
теплової енергії, за яку платить споживач. Організація обліку й контролю
повинна стимулювати впровадження енергозберігаючих заходів, об'єднаних у групи
3-4.
високий рівень технологічної
експлуатації і відповідності з ПЗРЕ с.г. та вимогами ПТЕ і ПТБ
споживачів. Потрібно виконувати всі вимоги згідно з ГОСТ-ом.
впровадження оцінки роботи
виробництва підрозділів з економії електричної енергії і енергоресурсів.
Провадження вмикання освітленості з двох керуючих точок.
організація наглядної агітації з
економії електричної енергії. Встановити застережні і запобіжні знаки.
До технічних заходів належать:
впровадження системи автоматичного
керування вентиляційної установки і технологічними процесами.
правильний підбір електродвигунів до
робочих машин. Вони повинні відповідати ПУЕ, ГОСТ.
застосування ламп нового типу.
Заміняти лампи розжарювання на економ лампи та енергозберігаючі.
правильний вибір світильників по
світловіддачі. Потрібно вибирати світильники які відповідають освітленості
приміщення.
заміна ламп розжарення на
люмінесцентні;
компенсація реактивного струму;
впровадження автоматичних
вимикачів,установок що працюють на холостому ході.
застосування багато тарифних
лічильників;
зменшення витрат теплоти в
виробничих приміщеннях. Ці заходи містять:
пасивне й активне використання
сонячної енергії;
використання природної теплоти й
холоду (води, зовнішнього повітря, ґрунту);
використання внутрішніх джерел
теплоти й холоду (теплоти й холоду повітря, теплоти джерел освітлення,
нагрівальних приладів, стічних вод тощо);
використання теплонасосних установок
з метою підвищення потенціалу природних джерел теплоти.
Для правового забезпечення
розв'язання проблем енергозбереження 1 липня 1994 р. прийнято Закон України
«Про енергозбереження». У ньому визначені правові, економічні та соціальні
основи раціонального використання паливно-енергетичних ресурсів підприємствами,
об'єднаннями і організаціями, розташованими на території України, незалежно від
їх підпорядкованості і форм власності, а також громадянами України.
Наукова концепція Закону відображає
загальноприйняті у світовій практиці погляди на природу і зміст державної
політики в галузі енергозбереження, яка активно проводиться у промислово
розвинених країнах Західної Європи й Америки.
Виходячи з узагальнення світового
досвіду і з врахуванням економічних умов, що склалися в Україні, в основу
Закону покладені наступні принципи керування процесами енергозбереження.
Принцип державного керування
енергозбереженням заснований на створенні державою економічних і правових умов,
що сприяють зацікавленості в енергозбереженні юридичних і фізичних осіб. При
цьому державне регулювання здійснюється не шляхом прямого втручання в
економічну діяльність підприємств, а шляхом індикативного (непрямого) керування
на основі застосування економічних і адміністративних заходів дії на процеси
енергозбереження.
Принцип здійснення державної
політики енергозбереження на практиці зводиться до виділення механізму
керування енергозбереженням у самостійну структуру, діяльність якої повинна
перебувати під контролем державних виконавчих органів. Це повинно сприяти
зосередженню зусиль на розв'язанні економічних, правових і організаційних задач
енергозбереження. Передбачається створення позавідомчого органу, що реалізує
державну політику на практиці і здійснює комплексне управління у сфері
енергозбереження.
Принцип позавідомчого державного
контролю і нагляду за використанням ПЕР реалізується за допомогою Єдиної
енергетичної інспекції, підвідомчої державному органу управління
енергозбереженням. Вона створюється на основі існуючих відомчих структур
(Держенергонагляду, Держгазнагляду), які займаються питаннями раціонального
використання палива, теплової та електричної енергії і зменшенням їх втрат.
Принцип обов'язковості державної
експертизи енергозбереження, завданнями якої є визначення відповідності
управлінської, інвестиційної та іншої діяльності меті енергозбереження;
встановлення відповідності передпланових, передпроектних, проектних та інших
рішень вимогам законодавства про збереження тощо. Основна мета експертизи -
попередити виробництво і випуск енергетично неефективного обладнання,
технологій, приладів, побутової техніки тощо.
Принцип стандартизації і нормування
в галузі енергозбереження проводиться з метою встановлення комплексу
обов'язкових норм, правил, вимог раціонального використання і заощадження ПЕР.
Застосування норм і нормативів в галузі використання ПЕР є не засобом їх
лімітування, а основою для застосування економічних санкцій за нераціональне
використання палива і енергії. При цьому «ступінь жорсткості» встановлення норм
і нормативів використання палива та енергії і «ступеню їх наближення» до
світових стандартів будуть повністю залежати від того, наскільки жорсткою буде
державна політика в галузі енергозбереження.
Принцип економічного заохочення
заощадження палива та енергії, економічного покарання за нераціональне та
марнотратне використання ПЕР реалізується в Законі завдяки розгалуженому
економічному механізмові, який має впливати на процеси енергозбереження шляхом
проведення пільгової податкової і кредитної політики при раціональному
використанні палива і енергії та виробництві енергетично ефективного
обладнання, а також шляхом застосування економічних санкцій при нераціональному
і марнотратному використанні ПЕР. Важливо підкреслити, що для ефективного
управління енергозбереженням усі економічні заходи, що передбачені в Законі,
повинні застосовуватися в комплексі (одночасно), тобто повинна проводитися
збалансована політика як в галузі фінансового заохочення заощадження палива та
енергії, так і в галузі фінансового примушування до економії ПЕР.
Принцип концентрації позабюджетних
фінансових засобів для реалізації на практиці політики енергозбереження. Ця
концентрація здійснюється державним позабюджетним Фондом енергозбереження, який
створюється за рахунок платежів за використання ПЕР, оплати нераціонального і
марнотратного їх витрачання, надбавок до цін і тарифів на енергоносії,
відрахувань міністерств і відомств тощо.
Фонд енергозбереження формується як
сукупність двох частин: загальнодержавного і місцевих фондів. Місцеві фонди
використовуються місцевими органами управління з метою регулювання обсягів
споживання та стимулювання раціонального використання енергоресурсів на
території регіонів, розширення застосування місцевих джерел енергії, а також
розв'язання економічних проблем. Загальнодержавний фонд використовується для
проведення ефективної енергозберігаючої політики на всій території України.
Принцип рівноправності
постачальників і споживачів ПЕР. Енергосистеми, як і паливопостачальні
організації, законодавчо зобов'язані задовольняти заявки споживачів на
постачання електричної енергії та палива у межах території, яку вони
обслуговують. Тим самим виробники енергії повинні бути позбавлені можливості
розв'язання своїх проблем за рахунок споживача. Сполучення вимог
самофінансування і зобов'язань підключення споживачів спонукає зацікавленість
виробників енергії в її збереженні у споживачів.
Принцип розв'язання проблем
енергозбереження па основі широкого міждержавного співробітництва передбачає
можливості широкої кооперації з країнами зарубіжжя.
Для реалізації Закону «Про
енергозбереження» Указом Президента України № 666 від 26.07.95 року був утворений
Державний комітет України з енергозбереження.
Сьогодні в нашій країні створюється
державний механізм ефективного використання енергії. Практично з'являється
новий вид продукції - енергія, заощаджена в результаті її ефективного
використання; енергія, отримана завдяки впровадженню енергозберігаючих заходів;
і просто зекономлена енергія. Така екоенергія є економічно вигідною: кожна
гривня, вкладена в енергозбереження, дає 3-4 гривні прибутку. Крім того, вона
екологічно безпечна.
Генеральним штабом цієї екоенергетичної
галузі є Держкоменергозбереження України. За роки своєї діяльності Комітетом
виконана значна робота в галузі енергозбереження в Україні.
Організація енергозбереження.
Завдання та функції державного управління енергозбереженням визначаються Законом
України «Про енергозбереження» і є сукупністю загальнодержавних та регіональних
органів управління, а також підприємств та організацій, які здійснюють державну
енергозберігаючу політику.
Система державного управління
енергозбереження очолюється Кабінетом Міністрів України, який визначає основні
напрямки проведення державної енергозберігаючої політики і керує діяльністю
Державного Комітету України з енергозбереження. Відповідно до завдань,
покладених на Держкоменергозбереження Законом «Про енергозбереження»
Постановами Кабінету Міністрів і розпорядженнями Президента, Комітет займається
формуванням та проведенням загальнодержавної політики з енергозбереження, мета
якої - виведення народного господарства України на світовий рівень ефективності
використання паливно-енергетичних ресурсів. При Державному Комітеті з
енергозбереження згідно з Постановою Кабінету Міністрів за № 575 від 25.05.1996
року створено обласні державні інспекції з енергозбереження.
Основними, завданнями обласних
державних інспекцій з енергозбереження є:
˗ сприяння
підвищенню ефективності роботи з раціонального використання та економного
витрачання паливно-енергетичних ресурсів на підприємствах та установах;
˗ організація
проведення державної експертизи з енергозбереження;
˗ аналіз
діяльності підприємств та здійснення контролю за дотриманням норм законодавства
у сфері енергозбереження;
Галузеві підрозділи з
енергозбереження міністерств та відомств виконують накази міністерств
(відомств) та Держкоменергозбереження і розв'язують завдання:
˗ проведення
в галузі енергозберігаючої політики;
˗ розробки
відомчих, міжгалузевих, організаційно-розпорядчих і нормативних документів у
сфері енергозбереження;
˗ контролю
за дотриманням законодавства з енергозбереження та нормативів витрат
паливно-енергетичних ресурсів на підприємствах і в організаціях;
˗ інформаційно-методичне
забезпечення впровадження енергозберігаючої техніки та технологій, організація
навчання та перепідготовки кадрів.
Ці органи повинні спиратись у своїй
роботі на спеціально створені структури: обласний акціонерний центр
енергоефективності, науково-технічну раду з енергозбереження та обласний центр
із проблем енергозбереження.
Функція обласного центру
енергоефективності полягає в експертному обстеженні енергетичного господарства
підприємств, наданні допомоги підприємствам, організаціям та установам у
підвищенні ефективності використання ними паливно-енергетичних ресурсів шляхом
технічних обстежень та розробки рекомендацій щодо впровадження організаційних,
правових, технічних і технологічних заходів з енергозбереження, а також наданні
допомоги в розробці науково обґрунтованих норм та нормативів питомих витрат
паливно-енергетичних ресурсів, формуванні замовлень на
виготовлення, закупівлю та оренду
енергоефективного обладнання, здійсненні іншої виробничо - впроваджувальної
діяльності.
Науково-технічна рада є
безприбутковим громадським об'єднанням для виконання дорадчих функцій при
узгодженні інтересів постачальників та споживачів енергоресурсів, експертному
відборі енергоефективних проектів для їх фінансування обласним фондом
енергозбереження, а також у прийнятті участі в роботі ревізійної комісії цього
фонду.
Основним завданням центру з проблем
енергозбереження є:
˗ проведення
системних комплексних досліджень у сфері енергозбереження;
˗ підготовка
проектів регіональних проблем енергозбереження;
˗ розробка
наукових основ створення новітніх енергозберігаючих процесів і технологій з
урахуванням екологічних аспектів
˗ енергозбереження
та раціонального використання паливно-енергетичних ресурсів;
˗ підготовка
спеціалістів з енергозбереження для роботи в різних галузях народного
господарства;
˗ популяризація
та пропаганда економічних, екологічних та соціальних переваг енергозбереження.
У 1998 році запроваджено державну
експертизу з енергозбереження, яка поступово вводиться в Україні і яка стане
реальною перепоною для марнотратного споживання ПЕР ще на стадії проектування
нового будівництва, виконання розробок енергоємного обладнання тощо.
Програми з енергозбереження.
Ієрархія програм з енергозбереження показана на рис. 1.8. На першому етапі
діяльність Комітету була зосереджена на розробці Комплексної державної програми
з енергозбереження (КДПЕ), яка була затверджена постановою Кабінету Міністрів
України № 148 від 5.02.1997 р.
У цій програмі питання енергозбереження
визначаються як одні з вирішальних чинників енергетичної безпеки України, а
також як приоритетні напрямки державної політики в галузі паливно-енергетичних
ресурсів. Програма визначає потенціал енергозбереження, який складає понад 40%
існуючого нині енергоспоживання, що приблизно становить 102 млрд. грн.
У Програмі розроблена структура
державного управління енергозбереженням, основні принципи та положення
нормативно-правової бази, що забезпечує відповідні правові умови діяльності в
галузі енергоефективності та енергозбереження.
Відповідно до Комплексної державної
програми необхідно створити постійно діючу систему інформаційно-аналітичної
підтримки (СІАП), яка повинна забезпечувати:
> уточнення умов розвитку
економіки та енергопостачання регіону; > оцінку ефективності та доцільності
реалізації конкретних проектів і дослідно-конструкторських робіт з
енергозбереження та підвищення ефективності використання енергоресурсів
регіонального рівня;
> підготовку інформації,
необхідної для оперативної корекції діяльності органів державної влади.
Нормативно-правова і
нормативно-технічна база. Одна з основних функцій Держкоменергозбереження
полягає в розробці таких «правил гри» для всіх юридичних та фізичних осіб, які
б стали справжньою мотивацією до їх енергозберігаючої діяльності.
У цьому контексті найважливішими
поміж останніх є такі постанови Кабінету Міністрів України:
«Про порядок нормування питомих
витрат паливно-енергетичних ресурсів у суспільному виробництві», а також низка
нормативно-методичних документів, що випливають з цієї постанови (№ 786 від 15
липня 1997 р.);
«Про створення Української
енергозберігаючої сервісної компанії» (№ 1422 від 20 грудня 1997 р.);
«Про внесення змін до Положення про
порядок прийняття в експлуатацію закінчених будівництвом об'єктів державного
замовлення (№ 326 від 17 березня 1998 р.);
«Про державну експертизу з
енергозбереження» (№ 1094 від 15 липня 1998 р.).
Нормативно-технічна база
енергозбереження відповідно до Закону базується на стандартах, які є також
основою для застосування економічних заходів управління енергозбереженням. На
сьогодні чинними у сфері енергозбереження є 11 стандартів; крім того, до цієї
сфери можна віднести ще 74 стандарти в суміжних областях. На стадії розробки
перебуває ще ряд стандартів. Стратегічним напрямком розвитку стандартизації на
даному етапі є формалізація методик визначення втрат ПЕР при їх транспортуванні
в мережах, оскільки саме ці показники втрат суттєво зросли з початку 90-х
років. Активну роботу щодо стандартизації у сфері енергозбереження в
будівельній галузі проводить Держбуд.
Нормування витрат ПЕР дозволяє
оперативно впливати на енергоспоживання діючих виробництв; воно введене
постановою Кабінету Міністрів України № 672 від 26.06.96 р. За результатами її
виконання більшість галузевих підприємств з початку 1997 р. охоплена
нормуванням. Для усунення недоліків колишніх методик нормування, розроблених ще
Держпланом СРСР, та наближення нормування до реалізації економічного механізму
стимулювання енергозбереження за поданням Комітету прийнята постанова Кабінету
Міністрів України «Про порядок нормування паливно-енергетичних ресурсів в
суспільному виробництві» № 786 від 15.07.97 р.
Економічний механізм
енергозбереження. Розроблено ряд Законів і Положень про стимулювання трудових
колективів та окремих працівників підприємств, організацій та установ за
економію паливно-енергетичних ресурсів у суспільному виробництві»; пільгове
оподаткування прибутку, що отриманий за реалізацію енергозберігаючої продукції,
та інвестицій в енергозбереження; відповідальність підприємств за нераціональне
використання паливно-енергетичних ресурсів. Запропоновані Комітетом заходи
економічного характеру вигідні, у першу чергу, державі, оскільки, стимулюючи
через Енергоефективність зниження валових витрат виробництва підприємствами,
передбачається нарощування її прибутків, які є джерелом наповнення бюджету
через його оподатковану частину.
Підвищення освітнього рівня
споживачів та популяризація енергозбереження. Спільним наказом Міносвіти та
Держкоменергозбереження від 07.05.97 р. затверджені першочергові заходи щодо
підвищення громадського освітнього рівня у сфері енергозбереження, а в системі
Міносвіти введена нова спеціальність «Енергетичний менеджмент». Комітетом та
рядом галузевих міністерств організовані серії телепередач та соціальна реклама
з питань енергозбереження.
Як наслідок цих заходів, у цілому по
Україні, починаючи з 1977 р., спостерігається стійка тенденція до зменшення
енергоємності продукції у сфері промислового виробництва. Це є результатом
поступового розуміння гостроти проблеми енергоефективності на рівні суспільної
свідомості та проникнення політики енергозбереження у виробничу сферу, зокрема
впровадження нормування питомого споживання паливно-енергетичних ресурсів у
всіх галузях народного господарства та діяльності Державної інспекції з
енергозбереження.
6.2 Ефективне використання
електроенергії
Основний потенціал енергозбереження
в освітлювальних установках лежить підвищенні ефективності перетворення
електричної енергію в світову. Основні фактори, що впливають на споживання
енергії освітлювальної установки, при заданих нормах освітлення включають
наступні:
- проект схеми освітлення,
спільне використання природного та штучного освітлення, забезпечення гнучкості
керування освітлювальними мережами;
- зовнішній вигляд та
облицювання (збільшення коефіцієнтів відбиття поверхонь приміщень);
світлова віддача лампи
(світловий вихід на один ватт електроенергії, що споживається лампою даного
типу;
ефективність світильника
(коефіцієнт корисної дії освітлювальної апаратури);
правильне використання
вимикачів та регуляторів;
використання стартерних
пускорегулювальних пристроїв при освітленні люмінесцентними лампами;
зниження коефіцієнту запасу
при виборі освітлювальних установок;
автоматичне регулювання
освітлення, централізація керування базовими освітлювальними установками;
запиленість повітря
приміщень;
чистота вікон для повного
використання природного освітлення.
Впровадження нових прогресивних
джерел світла, використання світильників з високим ККД, використання
конструкцій відбиваючої арматури і раціональних схем освітлення дозволяють в
багатьох випадках різко підвищити ефективність електроосвітлювальних установок,
збільшити освітленість робочих місць, досягнути реальної економії
електроенергії.
Необхідно використовувати той тип
лампи, який забезпечує максимальний світловий потік на один ватт встановленого
електричного навантаження та має характеристики, узгоджені з іншими потребами
освітлювальної установки. Світлова віддача кожного типу лампи може бути
визначена на основі доступних даних про лампу і схему її включення. При
проектуванні нової установки має порівнюватись світлові віддачі придатних ламп
і мають використовуватись ті з них, які мають найвищу ефективність.
Для використання світлової віддачі
ламп необхідно враховувати: ефективність світильника (освітлювальної арматури);
проект схеми освітлення - природне освітлення; правильне використання вимикання
та регулювання. Основні функції світильників заключаються у тому, щоб
підтримувати і захищати лампи, забезпечувати електричні підключення до джерела
живлення, а також регулювання та направлення світла, що випускається лампою.
Високоефективні рефлектори.
Використовують поверхню покриту сріблом, що має виключно високе дзеркальне
відображення та забезпечує максимальне відбиття світлового потоку лампи.
Високоефективні рефлектори забезпечують збільшення коефіцієнта використання
освітлювальної установки, в результаті чого більша частина світлового потоку,
досягає поверхні. Практично це дає змогу зменшити вдвоє кількість ламп.
Вплив дизайну та облицювання.
Поверхні покрашені в світлий тон відбиває світла більше і є більш ефективними,
проте їх необхідно регулярно красити, мити, або заново оклеювати з тим щоб
забезпечувати економічне використання освітлення. Збільшення коефіцієнтів
відбиття поверхонь приміщень на 20% дозволяє економити 5-15% електроенергії,
внаслідок збільшення рівня освітленості.
Регулятори освітлення. Мета подібних
регуляторів забезпечити ефективне освітлення в потрібному місті і протягом
необхідного часу. Ручними регуляторами забезпечується керування освітленням для
окремих рядів систем освітлення, керування індивідуальними світильниками.
Автоматичні регулятори бувають: фотоелектричні, безконтактні, регулятори з
таймером.
Фотоелектричні регулятори.
Фотоелектричні регулятори можуть забезпечити відключення освітлення тоді, коли
природного (денного) освітлення достатньо для створення необхідного світлового
потоку. Наприклад, фотоелектричний датчик може реагувати на зовнішню
освітленість і може бути налаштований так, що спрацьовувати при зовнішній
освітленості, що забезпечує необхідну освітленість на робочому місці. Включення
електронного економного світлотехнічного пристрою в робочий режим відбувається
фотодіодом в момент настання темноти, а безпосереднє включення виключення
освітлення створює детектор руху в момент попадання об’єкту в поле його дії.
Для систем освітлення ліфтових площадок, момент включення та виключення
регулюється також на запрограмований період часу для посадки в ліфт або пішого
підйому на визначений поверх. Вартість такого пристрою становить біля 200 грн.
(ОАО “ЕРА”).
Безконтактні регулятори. Це локальні
регулятори, які реагують на присутність (ефект близькості) людей в приміщені.
Визначення присутності може базуватися на використанні інфрачервоних чи
високочастотних датчиків, які включають освітлення при визначені присутності
людини в приміщені та знову відключають освітлення коли людина залишає
приміщення.
Регулятори з таймером. Часові
регулятори використовуються в приміщення із чітким графіком роботи. Наприклад
при фіксованій зміні освітлення може вимикатись при деякому запізненні після
закінчення зміни. Проте в цьому випадку необхідно передбачити аварійне та
охоронне освітлення.
Автоматичне управління рядами
світильників. При освітлені великих приміщень де використовуються кілька рядів
світильників, розміщених паралельно стіни можна відмикати окремі ряди в
залежності від зміни природного освітлення, часу доби, роботи в окремих
частинах приміщення.
Енергозбереження в системи передачі
і розподілу електричної енергії.
Щорічно втрати електроенергії в
мережах споживачів і енергосистеми складають 12-16% від усієї електроенергії,
що виробляється в Україні [96]. За останній час змінилась структура електроспоживання:
якщо в 90-х роках втрати в лініях і трансформаторах були приблизно рівні між
собою, то сьогодні внаслідок збільшення навантаження в лініях 0,4 кВ, через
інтенсивне зростання кількості садово-городніх кооперативів, масове будівництво
котеджів із збільшеним електронавантаженням, використанням закордонних
побутових приладів, потужність яких значно вища потужності вітчизняних, втрати
в проводах ліній різко зросли.
Стратегія економії енергії
визначається забезпеченням оптимального значення коефіцієнта технологічної
передачі Ктп електроенергії
де Евт - втрати
електроенергії;
Ес - енергія, що передана
споживачам.
Втрати електроенергії
поділяються на комерційні і технічні.
До комерційних належать
втрати внаслідок помилкового включення електролічильника (наприклад, без
нульової точки, коли неможливо враховувати однофазне навантаження),
недовантаження кіл живлення електролічильника (якщо ця величина буде меншою 20%
від номінальної, то лічильник не буде працювати, тому що через його магнітну
систему буде проходити «недостатній» для його роботи магнітний потік),
перевантаження кола струму лічильника (частина енергії, що проходить через
лічильник, буде неповністю враховуватися), невірного визначення коефіцієнта
трансформації трансформатора струму (ТС), до якого включений лічильник або
установка ТС із збільшеним номінальним струмом, що у декілька разів перевищує
струм лінії тощо.
Сюди можна віднести
споживання електроенергії при пошкодженні кіл живлення лічильника, при цьому споживання
ведеться без обліку, крадіжки електроенергії.
Технічні втрати енергії
складаються із втрат, обумовлених струмами навантаження в лініях і
трансформаторах, і втрат холостого ходу в трансформаторах в години мінімуму
навантаження в мережі.
Втрати електроенергії у
трансформаторі, кВтгод:
де Тп- тривалість роботи
трансформатора, год;
Троб - тривалість роботи
трансформатора з номінальним навантаженням, год;
- втрати активної енергії при роботі
трансформатора без навантаження при номінальній напрузі, кВт;
- втрати активної енергії при
роботі трансформатора в режимі короткого замикання при номінальному
навантаженні, кВт;
-
коефіцієнт завантаження трансформатора.
де Sн - номінальна потужність
трансформатора, кВА;
Еа - кількість
електроенергії, взятої на облік за розрахунковий період за лічильниками;
- середньозважений коефіцієнт
потужності.
Економічний режим роботи
визначає кількість одночасно ввімкнутих трансформаторів, що забезпечує мінімум
втрат електроенергії.
Кількість одночасно
ввімкнутих трансформаторів визначають за поданою нижче методикою. При
збільшенні навантаження вмикання (n + 1)-го трансформатора економічно доцільне,
коли коефіцієнт навантаження працюючих трансформаторів досягне значення:
При зменшенні навантаження
доцільно вимкнути один трансформатор, коли коефіцієнт навантаження працюючих
трансформаторів досягне значення:
де n - кількість працюючих
трансформаторів;
- втрати реактивної енергії при
роботі трансформатора без навантаження, кВАр;
- втрати реактивної енергії при
роботі трансформатора в режимі короткого замикання, кВАр;
Іх - сила струму при роботі
трансформатора без навантаження, % (за паспортом); к - напруга короткого
замикання трансформатора, % (за паспортом); ке - коефіцієнт втрат, кВт/кВАр.
Компенсація реактивної потужності як
ефективний засіб енергозбереження.
Синхронні компенсатори (полегшений
синхронний двигун). Можуть працювати в режимі генерування реактивної потужності
(режим збудження компенсатора) і в режимі споживання реактивної потужності
(недозбудження). Вони дорогі як при виробництві, так і при експлуатації.
Синхронні двигуни у режимі
перезбудження здатні генерувати реактивну потужність у електричну мережу. Але
це призводить до додаткових втрат активної потужності в обмотках двигуна. Крім
того, синхронні двигуни значно дорожчі, ніж асинхронні.
Конденсатори (конденсаторні установки).
Конденсаторні установки мають ряд переваг перед іншими компенсуючими
пристроями:
˗ малі
питомі втрати активної потужності 0,005 кВт на 1 кВАр;
˗ відсутні
обертові частини;
˗ простий
монтаж і експлуатація (не треба фундаменту);
˗ невисокі,
порівняно з іншими компенсаторами, капіталовкладення;
˗ можливість
підбирання будь-якої необхідної потужності;
˗ можливість
встановлення і підключення в будь-якій точці мережі;
˗ відсутність
шуму під час роботи;
˗ невеликі
затрати на експлуатацію.
Способи компенсації реактивної
потужності :
- Індивідуальна компенсація
реактивної потужності безпосередньо біля навантаження - це найкращий спосіб
компенсації, який дає високі результати, але потребує значних капіталовкладень.
- Групова компенсація (цех, лінія
тощо).
- Централізована компенсація
вимагає менших витрат, але не розвантажує цехові кабелі і кабелі індивідуальних
споживачів.
- Фільтрокомпенсаційні установки
- забезпечує захист від гармонік.
- Поздовжня
компенсація - забезпечує вирівнювання напруги по фазах.
Переваги конденсаторних установок
Крім компенсації реактивної енергії,
конденсаторні установки виконують багато інших корисних функцій :
I. Компенсація дозволяє
підключити додаткове активне навантаження, не збільшуючи загальної установленої
потужності силових трансформаторів.
II. Компенсація дозволяє, не
збільшуючи переріз кабелю, живити через нього додаткове навантаження. . Компенсація
дозволяє споживачу підняти напругу в тих випадках, коли це необхідно для
виробничих процесів.
IV. Компенсація знижує споживання
активної енергії на 3-4 %. Але це можливо тільки при встановленні
індивідуальної компенсації автономних генераторних агрегатів.
7. Економічна частина
.1 Визначення вартості
обслуговування і ремонту ЕО і ЗА об’єкта проектування
Витрати на оплату праці працівників
на енергослужби складаються з фонду оплати праці спеціалістів електромонтерів
та електромонтерів. Годинні тарифні ставки електромонтерів та посадові оклади
спеціалістів електриків приймаємо згідно з законом України «Про оплату праці»
та державним бюджетом на 2014 рік. Отже виходячи з мінімальної заробітної плати
знайдемо годинну тарифну ставку для робітника І-го розряду.
(7.1)
Де: ЗПмін - з 01.01.14 -
1218 грн.
ЕРФс.р. - з 1.01.14 -
166,75 грн.
грн./год.
Погодинні тарифні ставки
знаходимо по формулі
(7.2)
грн./год.
Годинну тарифну ставку для
робітників інших розрядів знаходимо аналогічно і результати зносимо до таблиці
6.1
Таблиця 7.1 - Розрахунок
годинної тарифної ставки
|
Розряд електромонтера
|
І
|
ІІ
|
ІІІ
|
IV
|
V
|
VI
|
|
Тарифна ставка Перевідний коефіцієнт
|
1,0
|
1,1
|
1,2
|
1,3
|
1,45
|
1,7
|
|
Годинна тарифна ставка
|
7,3
|
8,03
|
8,76
|
9,49
|
10,58
|
12,41
|
Загальна вартість обслуговування і
ремонту (ТО і ПР) в підприємствах визначається за формулою:
(7.3)
де: Вто, Впр -
вартість однієї умовної одиниці ТО, ПР
Тто, Тпр -
загальні затрати праці на ТО і ПР.
Вартість однієї умовної одиниці ТО,
ПР (Вто, Впр) визначається як сума окремих витрат
(7.4)
де: Зі - зарплата з нарахуванням 39%
на виконання ТО, ПР;
Мі - вартість матеріалів (25% - ТО,
75% - ПР (на виконання ТО, ПР));
Аі, Рпі - амортизація (5% - будівля,
20% - обладнання і відрахування на ПР (1,5% - будівлі, 3% - обладнання (за
виконання ТО, ПР)));
Зві, Згі - загально виробничі (20%),
загальногосподарські (13%) витрати від середньої ставки електромонтерів.
Вартість ПТОРЕ і постів
електромонтерів прийнята з розділу 6
Вартість ПТОРЕ:
˗ Будівлі
- 450 тис. грн.
˗ Обладнання
- 190 тис. грн.
˗ Вартість
поста електрика:
˗ Будівлі
- 6000 грн.
˗ Обладнання
- 6100 грн.
Кількість умовних одиниці по
підприємству приймаємо за розділу 2 і становить суму значень таблиць 5.1 і 5.2
- 2072
Затрати праці на ТО:
Використано електроенергії:
W = 1510000 кВт/год, тариф = 0,98
грн.
. Розрахунок вартості однієї умовної
одиниці ТО і ПР ведеться на 1 люд.год. Мінімальна за робітня плата 1094
грн/міс.
.1 Розрахунок заробітної плати.
Розряди електромонтерів при
виконання ТО: 2,3,4; При виконанні ПР - 3,4,5.
Середня тарифна ставка
грн.
грн.
Заробітна плата з урахуванням
40% преміальних, 5,85% додаткової оплати і 36,95% нарахувань на зарплату
складає:
грн.
грн.
1.2 Вартість матеріалів визначається
в відсотках від середньої ставки електромонтерів:
грн.
грн.
1.3 Розрахунок капіталовкладень на 1
люд.год.:
(7.5)
грн.
(7.6)
грн.
Капіталовкладення на ПР
грн.
грн.
.4 Розрахунок амортизації і
відрахувань на ПР.
(7.7)
грн.
грн.
(7.8)
грн.
грн.
.5 Загальновиробничі витрати:
грн.
грн.
.6 Загальногосподарські
витрати:
грн.
грн.
.7 Загальна вартість однієї
умовної одиниці (Вто, Впр) ТО, ПР.
грн.
грн.
.8 Загальна вартість ТО і
ремонту в підприємстві
грн.
. Вартість обслуговування
умовної одиниці:
(7.9)
грн.
. Собівартість застосування
електроенергії:
(7.10)
грн.
.2 Розробка кошторисів на
придбання і монтаж силового, освітлювального електрообладнання та засобів
автоматизації об’єкта проектування
Для складання кошторисів
використовуємо специфікації силового, та освітлювального електрообладнання, які
розміщенні на кресленнях ЕМ та ЕО графічної частини.
Кошторис на придбання і монтаж
силового електрообладнання і засобів автоматизації об’єкта.
Таблица 7.1
|
№ п.п
|
Шрифт і № позиції нормат-иву
|
Назва робіт і витрат, одиниці виміру
|
Кількість
|
Вартість одиниці
|
Загальна вартість
|
Витрати праці монт.
|
|
|
|
|
|
Всього
|
Екс. Маш.
|
Всього
|
Осн з-ти
|
Екс. Маш.
|
Обсл. Маш.
|
|
|
|
|
|
Осн з-ти
|
В т.ч. з-ти
|
|
|
В т.ч. з-ти
|
На один.
|
Всього
|
|
|
1. Монтажні роботи, обладнання.
|
|
|
1
|
М8-401-1
|
Прокладка магістралі вводу кабелем AsXSn 4X16
100 м.
|
0,4
|
 529254 
|
|
|
|
|
|
|
|
|
2
|
М8-524-2
|
Монтаж ящика ввідного-іруб ЯУРП-250-2143 шт.
|
1
|
 15044 
|
|
|
|
|
|
|
|
|
3
|
03.04.08
|
Вартість обладнання ЯУРП-250-2143 шт
|
1
|
1606
|
-
|
1606
|
-
|
-
|
-
|
-
|
|
|
4
|
М8-572-4
|
Пунк розподільчий ПР 11-1060 шт.
|
1
|
 10512 
|
|
|
|
|
|
|
|
|
5
|
3.04.08
|
Вартість обладнання ПР 11-1060 шт.
|
1
|
1344
|
-
|
1344
|
-
|
-
|
-
|
-
|
|
|
6
|
М8-571-3
|
НКП ЦБК-20В-04.000шт.
|
1
|
 10512 
|
|
|
|
|
|
|
|
|
7
|
3.04.08
|
Вартість НКП ЦБК-20В-04.000
|
1
|
2081
|
-
|
2081
|
-
|
-
|
-
|
-
|
|
8
|
М8-571-3
|
НКП МПС-4М-05.000шт.
|
1
|
 18091 
|
|
|
|
|
|
|
|
9
|
3.04.08
|
Вартість НКП МПС-4М-05.000
|
1
|
439
|
-
|
439
|
-
|
-
|
-
|
-
|
|
10
|
М8-401-1
|
Кабель кріплення накл. Скобами АВВГ 4 Х 16
АВВГ 4Х4
|
0,46 1,4
|
 1036248 
|
|
|
|
|
|
|
|
11
|
М8-409-1
|
Труба вініл пластова кріпл. накл. скоб. до
Ш50мм. 100м
|
1,82
|
 689119 
|
|
|
|
|
|
|
|
12
|
М8-412-3
|
Затягув. першого провода в труби перерізом
16мм2 100м
|
1,85
|
 4031 
|
|
|
|
|
|
|
|
13
|
М8-412-1
|
Затягув. послідуючого в труби перерізом 2,5мм2
100м
|
|
 7865 
|
|
|
|
|
|
|
|
14
|
М8-407-2
|
Труба вініл пластова П30
|
10
|
 15017 
|
|
|
|
|
|
|
|
Всього:
|
8532
|
893
|

|
|
|
|
2. Матеріали що не ввійшли до збірника
|
|
15
|
3.04.08
|
Кабель силовий з алюмінієвими жилами АВВГ
4Х16, м
|
6
|
2041122
|
|
|
|
|
|
|
|
16
|
3.04.08
|
Кабель силовий з алюмінієвими жилами АВВГ 4Х4,
м
|
140
|
1735
|
|
2430
|
|
|
|
|
|
17
|
3.04.08
|
Провід з алюмінієвою жилою АПВ 1Х4, м
|
40
|
352,11
|
|
141
|
|
|
|
|
|
19
|
Пр
|
Труба вініл пластова П30
|
10
|
20000
|
|
200
|
|
|
|
|
|
20
|
М8-407-1
|
Труба вініл пластова П20
|
20
|
|
|
225
|
|
|
|
|
|
21
|
Пр
|
Труба вініл пластова П20
|
20
|
18000
|
|
360
|
|
|
|
|
|
22
|
3.04.08
|
Скоби, 1000шт.
|
0,35
|
40,2
|
|
14
|
|
|
|
|
|
Всього:
|
3492
|
|
|
Прямі витрати
|
12024
|
893
|

|
|
|
|
Вартість обладнання
|
5465
|
|
|
|
|
|
Нарахування складські витрати 12,8% від
вартості обладнання
|
700
|
|
|
|
|
|
Матеріали і обладнання
|
9657
|
|
|
|
|
|
Заробітна плата
|
893
|
|
|
|
|
|
Експлуатація машин
|
1861
|
|
|
|
|
|
Загально виробничі витрати (ЗВВ)
|
1184
|
|
|
|
|
|
Трудомісткість в ЗВВ
|
|
|
|
|
25
|
|
Зарплата в ЗВВ
|
|
106
|
|
|
|
|
Кошторисна вартість
|
|
|
|
|
|
Кошторисна трудомісткість
|
|
|
|
|
356
|
|
Кошторисна заробітна плата
|
|
1221
|
|
|
|
|
|
|
|
|
|
|
|
|
|
|
|
|
|
|
|
|
|
|
|
|
|
|
|
|
|
|
Кошторис на придбання і монтаж
освітлювального обладнання об’єкта
|
№ п.п
|
Шрифт і № позиції нормативу
|
Нава робіт і витрат, одиниці виміру
|
Кількість
|
Вартість одиниці
|
Загальна вартість
|
Витрати праці монт.
|
|
|
|
|
Всього
|
Екс. Маш.
|
Всього
|
Осн з-ти
|
Екс. Маш.
|
Обсл. Маш.
|
|
|
|
|
Осн з-ти
|
В т.ч. з-ти
|
|
|
В т.ч. з-ти
|
На один.
|
Всього
|
|
1. Монтажні роботи, обладнання.
|
|
1
|
|
Щиток освітлювальний ЩО 611(16А)
|
1
|
  308 
|
|
|
|
|
|
|
|
2
|
|
Вартість обладнання ЩО 611
|
1
|
567
|
|
567
|
|
|
|
|
|
3
|
|
Монтаж ПРУС
|
1
|
 10512 
|
|
|
|
|
|
|
|
4
|
|
Вартість ПРУС
|
1
|
2081
|
|
2081
|
|
|
|
|
|
5
|
|
Світильник для Л.Р. 100 шт.
|
0,72
|
1,5
|
|
175
|
|
|
|
|
|
6
|
8-591-3
|
Вимикач однополюсний 0-201, 100 шт
|
0,13
|
 5236 
|
|
|
|
|
|
|
|
Пл
|
Вимикач однополюсний 0-201, 100шт
|
13
|
2,3
|
|
30
|
|
|
|
|
|
7
|
8-401-1
|
Проводка тросова кабелем АВВГ, 100м
|
1,95
|
 2257180 
|
|
|
|
|
|
|
|
Разом:
|
5297
|
236
|

|
|
|
|
2. Матеріали що не ввійшли до збірника
|
|
8
|
|
Світильник НСП 09
|
72
|
35
|
|
2520
|
|
|
|
|
|
9
|
|
Лампа розжарення 150 Вт
|
65
|
6,8
|
|
442
|
|
|
|
|
|
10
|
|
Лампа розжарення 60Вт
|
7
|
2,95
|
|
21
|
|
|
|
|
|
11
|
3.04.08
|
Кабель з алюмінієвими жилами АВВГ 4Х4, м.
|
25
|
2460
|
|
62
|
|
|
|
|
|
12
|
3.04.08
|
Кабель з алюмінієвими жилами АВВГ 2Х2,5, м
|
150
|
1470
|
|
221
|
|
|
|
|
|
13
|
3.04.08
|
Кабель з алюмінієвими жилами АВВГ 4Х2,5, м
|
195
|
1735
|
|
338
|
|
|
|
|
|
14
|
3.04.08
|
Зажим тросовий, шт.
|
6
|
21,04
|
|
126
|
|
|
|
|
|
15
|
3.04.08
|
Анкер тросовий, шт
|
6
|
15,6
|
|
94
|
|
|
|
|
|
16
|
3.04.08
|
Муфта натяжна, шт
|
3
|
23,1
|
|
69
|
|
|
|
|
|
17
|
3.04.08
|
Трос
|
210
|
2400
|
|
504
|
|
|
|
|
|
Всього:
|
4397
|
|
|
|
|
|
|
|
|
|
|
|
|
|
|
|
|
|
.3 Розрахунок показників економічної
ефективності електрифікації та автоматизації об’єкта проектування
Економічна ефективність
електрифікації і автоматизації виробничих процесів визначається шляхом
порівняння показників існуючого і проектного об'єкта таблиця 7.2.
Таблиця 7.2
Показники існуючого і проектного свинарника
|
п/п
|
Показники
|
Базовий
|
Проектний
|
|
1
|
Кошторисна вартість всього пташника, тис. грн.
|
530
|
500
|
|
в тому числі вартість будівлі обладнання
тис.грн.
|
423/107
|
393/107
|
|
2
|
Валове виробництво продукції (приріст живої
ваги),
|
380
|
410
|
|
3
|
Кількість обслуговуючого персоналу (280 днів*
7 год.) денна ставка. = 63,91
|
5 чол.
|
3 чол.
|
|
4
|
Витрати корму на 1 ц приросту живої ваги
(1ц.к.од = 150 грн.)
|
1,4
|
1,1
|
|
5
|
Витрати підстилки на 1 місце зарік (1ц.підст.=
50 грн.)
|
0,01 ц
|
,01 ц
|
|
6
|
Витрати ПММ на 1 голову за рік (1т ПММ = 250
грн.)
|
0,005 т
|
0,005 т
|
|
7
|
Транспортні витрати на перевезення кормів на 2
км
|
2,5 грн/т.км
|
2,5 грн/т.км
|
|
8
|
Витрати електроенергії на 1 голову (1 кВт*год
= 98 коп.)
|
120 кВт*год.
|
95 кВт*год.
|
|
9
|
Норми амортизації і відрахувань на ПР:
будівлі/обладнання
|
(5+1,5)%
|
(20 + 3)%
|
|
10
|
Інші прямі витрати на 1 середньорічну голову
|
7 грн/гол
|
7 грн/гол
|
|
11
|
Початкова вартість однієї голови молодняку
|
30 грн.
|
30 грн.
|
|
12
|
Загальновиробничі витрати
|
28%
|
28%
|
|
13
|
Вихід другорядної продукції (1 т помету =
500грн. з 1 місця)
|
0,4 ц
|
0,4 ц
|
|
14
|
Вихід другорядної продукції (10 шт. яєць = 20
грн.)
|
7 дес.
|
7 дес.
|
|
14
|
Реалізаційна ціна
|
1000 грн.
|
1000 грн.
|
|
15
|
Витрати води на 1 голову за добу (1м3
= 3,87 грн.)
|
0,2
|
0,2
|
|
16
|
Витрати на ветеринарне обслуговування
|
10 грн.
|
10 грн.
|
В проектному
пташнику застосована нова технологія утримання тварин і нова система машин.
Розрахунок
виробничих витрат:
У виробничі витрати
при відгодівлі індиків входять: витрати на оплату праці, вартість річної
потреби кормів і підстилки, води, твердого палива, ПММ, електроенергії,
транспортні витрати для перевезення кормів, амортизаційні відрахування і
відрахування на ГТР, інші прямі і загально-виробничі витрати, початкова
вартість поголів'я, вартість другорядної продукції (віднімається).
.1 Витрати на
оплату праці визначаються як добуток денної тарифної ставки на кількість відпрацьованих
днів, на доплату за класність -10%, за якісну кінцеву продукцію - 25%,
нарахування на заробітну плату 36,95%
(7.11)
де: Дт.ст - денні
тарифні ставки
Дроб - кількість
робочих днів
,1 - коефіцієнт на
доплату за класність -10%
,25 - коефіцієнт за
якісну кінцеву продукцію - 25%
,3695 - коефіцієнт
на нарахування на заробітну плату 36,95%праці - норма праці, відповідно
приймаємо з таблиці 5 і 3 чоловіка
грн.
грн.
1.2 Вартість річної
потреби кормів визначається як добуток кількості голів на норму годування і
вартість однієї кормової одиниці.
(7.12)
де: Nголів - кількість голів птиці -
1400.
Нвитр - норми
витрат, приймаємо з таблиці 6.2 і вони становлять 0,1ц
Цп - вартість 1ц
підстілки, 50 грн. (приймаємо з таблиці 6.2)
Овир - Валове
виробництво продукції, відповідно становлять 380 - існуючий, 410 - проектний
(таблиця 7.2)
Нв.к - Витрати
корму на 1 ц приросту живої ваги, відповідно становлять 1,4 існуючий та 1,1
проектний (таблиця 7.2)
Цк.од - вартість 1ц
корму, 150 грн.(таблиця 7.2)
грн.
грн.
1.3 Вартість річної
потреби води визначається як добуток денної потреби води від вартості 1м3 на
365 днів
(7.13)
де: Nголів
- кількість голів птиці, у нашому випадку 1400
Нвитрат
- норми витрат води, 0,2 м3 (таблиця 7.2)
Цв -
вартість води, 1м3 = 3,87 грн. (таблиця 7.2)
грн.
1.4 Вартість річної
потреби ПММ (паливо-мастильні матеріали) на 1 голову за рік
(7.14)
де: Нмпп -
норми потреби ПММ на 1 голову за рік (таблиця 7.2)
Цмпп - вартість
МПП 250грн за 1ц МПП (таблиця 7.2)
грн.
.5 Вартість електроенергії
визначається добутком кількості голів на норму витрат і на ціну (тариф)
електроенергії.
(7.15)
де:Нвен
- норма витрат електроенергії на 1 голову, відповідно 120 кВт*год та 100
кВт*год (таблиця 7.2)
Цен -
вартість 1 кВт*год 98 коп. (таблиця 7.2)
грн.
грн.
1.6 Вартість
транспортних витрат.
(7.16)
де: L - відстань
перевезення 2 км (таблиця 7.2)
Цт.км -
витрати за перевезення за 1 км 2,50 грн/км (таблиця 7.2)
(7.17)
де: Овир
- валове виробництво продукції, становить 380 існуючий, 410 проектний (таблиця
7.2)
Нвитр -
норми витрат на 1т, приймаємо з таблиці (рядок 5), і вони становлять відповідно
1,4 існуючий та 1,1 проектний

грн.
грн.
.7 Інші прямі витрати
визначаються, як добуток кількості голів на норму витрат
(7.18)
де: Nголів
- кількість голів птиці, в нашому випадку 1400
Нвитр -
норматив на інші річні витрати на 1 голову=7 грн/гол (таблиця 7.2)
грн.
1.8 Амортизаційні
відрахування на ПР будівлі і обладнання визначають за нормами у відсотках від
балансової вартості будівлі і обладнання
(7.19)
де: На% + Нрn% -
відповідно нома амортизації та відрахування на ПР, 5% і 1,5% та 20% і 3%
(таблиця 7.2)
Кбуд, Коблвартість
будівлі і обладнання, відповідно для існуючого - 423 тис.грн, 107 тис.грн
(таблиця 7.2)
грн.
1.9 Витрати на
ветеринарне обслуговування.
де: Нв.о
- витрати на ветеринарне обслуговування (Таблиця 7.2)
грн.
1.10 Початкова
вартість поголів'я для комплектування стада визначають як добуток кількості
голів на вартість однієї голови
(7.21)
Де: Цгол -
початкова вартість птиці 30грн (таблиця 7.2)
грн.
.11 Загальновиробничі виграти
(7.22)
Де: Нзаг.в -
загально виробничі витрати 28% (таблиця 7.2)
грн.
грн.
1.12 Вартість
другорядної продукції визначається як добуток від кількості голів на норму
виходу помету з 1місця і ціни 1 тони
(7.23)
Де: Нвих - норма
виходу другорядної продукції, 0,4 ц (таблиця 7.2)
Цдр.пр - ціна
другорядної продукції, 500 грн (рядок 14)
грн.
Вартість
другорядної продукції визначається як добуток від кількості голів на кількость
десятків знесених яєць за рік і їх ціну
грн.
1.13 Загальні
виробничі витрати.
(7.24)

2. Розрахунок показників
економічної ефективності.
2.1 Собівартість
одиниці продукції.
(7.25)
де: Овир1,2
- валове виробництво продукції, відповідно становить 380 існуючий, 410 -
проектний (таблиця 7.2)
Взаг -
загальні виробничі витрати, відповідно становлять 334662,08грн. та 215943,71
грн. (розділ 6.3 пункт 1.14)
грн.
грн.
2.2 Зниження
собівартості одиниці продукції
(7.26)
Де: С1,С2 -
собівартість одиниці продукції, приймаємо з розділу 6.3, пункт 2.1
2.3 Продуктивність
праці
(7.27)
Де: Овир - Валове
виробництво продукції, відповідно становлять 380 - існуючий та 410 проектний
(таблиця 7.2)
Тзаг - ефективний
робочий час обслуговуючого персоналу
(7.28)
Де: Тдн - кількість
робочих днів, 280 днів (таблиця 7.2)
Тгодини - кількість
робочих годин за 1 день, 7 годин (таблиця 7.2)
К - кількість працівників (таблиця
7.2)
год.
год.
2.4 Підвищення
продуктивності праці, %
(7.29)
2.5 Прибуток від реалізації
продукції із проектного пташника
(7.30)
Де: Ц -
реалізаційна ціна 1ц живої ваги, 1000 грн.
С2 - собівартість
одиниці продукції, 597,16 грн. Приймаємо з розділу 7.3 пункт 2.1
Овир2 - валове
виробництво продукції, відповідно становлять 410 проектний (таблиця 7.2)
грн.
.6 Рентабельність виробництва
проектного пташника
(7.31)
Де: Д2 - прибуток
від реалізації продукції із проектного пташника
Взаг2 - загальні
виробничі витрати, відповідно становлять 493968,66 грн. (розділ 6.3, пункт
1.14)
.7 Строк окупності загальних
капіталовкладень на проектний пташник
(7.32)
Де: Кзаг -
кошторисна вартість пташника 530000 грн. (таблиця 7.2)
Д2 - прибуток від
реалізації продукції із проектного пташника 194057,1грн.
роки
2.8 Річні приведені
витрати на одиницю продукції
(7.33)
Де: С1,2 -
собівартість одиниці продукції приймаємо з розділу 7.3, пункт 2.1
Ен - коефіцієнт
ефективності, приймаємо 0,15
Кзаг1,2 -
кошторисна вартість існуючого та проектного пташника, відповідно 530000 грн. та
500000 грн. (таблиця 7.2)
Овир1,2 - Валове
виробництво продукції, відповідно становлять 380 - існуючий та 410 проектний
(таблиця 7.2)
грн.
грн.
.9 Річний економічний ефект
по приведеним витратам
(6.34)
Де: Вприв1,2 -
річні приведеш витрати на одиницю продукції
Овир2 - Валове
виробництво продукції, відповідно становлять 380 проектний (таблиця 7.2)
грн.
2.10 Коефіцієнт
економічної ефективності
(7.35)
Де: Токуп - Строк
окупності загальних капіталовкладень на проектний пташник, 2,73 року.
Дана умова виконується, а
відповідно ми можемо зробити висновок, що проектуємий об’єкт економічно
вигідний.
.11 Показник фондовіддачі
(7.36)
Де: Ц -
реалізаційна ціна 1 ц живої ваги, 1000 грн.
Кзаг1,2 -
кошторисна вартість існуючого та проектного пташника - 5 30000 грн. (таблиця
7.2)
Підвищення фондовіддачі
(7.37)
З розрахунку
показників економічної ефективності видно, що проектований варіант пташника
економічно вигідний. В ньому початкові капіталовкладення дорівнюють остаточним
530000-500000 = 500000
Продуктивність праці в проектному
пташнику дорівнює 67,21%
В проектному пташнику строк
окупності загальних капіталовкладень 3,2 роки, річний економічний ефект
817285,8 грн., фондовіддача дорівнює 12,2%.
8. Охорона праці та навколишнього
середовища
.1 Розробка захисних заходів від
ураження електричним струмом на об’єкті проектування
Проектом передбачаємо, що схему
електропостачання запроектованого пташника стосовно заходів електробезпеки
будуємо за чотирьох провідною системою ТN-С. Це електроустановки напругою до 1
кВ, в якій мережа живлення має глухе заземлення нейтралі трансформатора
живлення з боку напруги 0,4 кВ і окремою прокладкою РEN - провідника, який
об'єднує функції нульового робочого N і нульового захисного РЕ провідників.
До потенційно небезпечних частин
електроустановок відносяться відкриті провідні частини доступні для дотику і на
яких може з'явитися напруга в разі пошкодження ізоляції:
- металеві корпуси
електродвигунів, трансформаторів;
- каркаси і оболонки розподільчого
пункту, ящика обліку, ящика з понижаючим трансформатором;
· стальні
труби для електропроводки;
· троси
у тросових електропроводках;
· металоконструкції,
зв'язані з установкою електрообладнання.
Заходи захисту від прямого дотику
Для запобігання ураження електричним
струмом у нормальному режимі, тобто від прямого дотику проектом передбачаємо
такі заходи захисту:
· розміщення
струмовідних частин поза зоною досяжності;
· використання
основної ізоляції струмовідних частин;
- використання огорож та
оболонок, які мають ступінь захисту не менше ІР2Х.
Електричні мережі по території
господарського двору виконуються повітряними лініями, тобто поза зоною
досяжності.
В приміщенні живлення
електроприймачів здійснюється за допомогою кабеля АВВГ, який має основну
полівінілхлоридну ізоляцію жил і загальну полівінілхлоридну оболонку,
рекомендованого для прокладання в приміщеннях сирих з хімічно активним
середовищем.
Заходи захисту у разі непрямого
дотику.
Проектом передбачаємо такі заходи
захисту на випадок пошкодження ізоляції та переходу, напруги на відкриті
провідні частини:
- автоматичне вимикання
живлення (занулення), що є основною мірою захисту;
· захисне
зрівнювання потенціалів;
· захисне
розділення мереж;
· використання
наднизької (малої) напруги за системою БННН;
· вирівнювання
потенціалів.
Для реалізації автоматичного
вимикання живлення (занулення) всі доступні дотику відкриті провідні частини
(корпуси, металеві каркаси і оболонки електрообладнання) приєднуються до PEN
провідника і влаштовується основна система зрівнювання потенціалів. Приєднання
здійснюється PEN провідниками, які входять до складу кабеля (проводів)
живлення.
Основна система зрівнювання
потенціалів забезпечується приєднанням до головної заземлювальної шини (ГЗШ)
таких провідних частин:
- РЕ-провідники
електроустановки;
· заземлювальні
провідники повторного заземлення на вводі в приміщення і системи
блискавкозахисту;
· металеві
частини (труби) комунікацій, систем вентиляції і будівельних конструкцій.
На вводі в приміщення виконується
повторне заземлення РЕ провідника, опір якого не перевищує 30 Ом.
Для захисного автоматичного
вимикання живлення на вводі в приміщення встановлюється ПЗВ, який реагує на
диференційний струм.
Для безпеки тварин на стадії
будівництва виконати захисне вирівнювання електричних потенціалів. Для цього
всі металоконструкції і арматура залізобетонних стояків зв'язують між собою і
захисним нульовим проводом мережі. З'єднання здійснюється тільки зварюванням.
Глибина закладання залізобетонних стояків в бетонну підлогу не менше 20 см.
Запуск протяжних механізмів -
транспортерів, потокових ліній здійснюється з витримкою часу після подачі
звукового сигналу.
Передбачається захист від помилкових
дій персоналу, системою механічних, електричних і електронних блокувань
технологічного устаткування.
Забезпечення електрозахисними
засобами.
У відповідності до норм
комплектування для електротехнічного персоналу запроектованого об'єкта
приймаємо такі електрозахисні заходи:
· покажчики
напруги до 1 кВ - 2 шт.
· покажчики
напруги понад 1 кВ - 1 шт.
· ізолювальні
кліщі на напругу до 1 кВ - 1 шт.
· ізолювальні
кліщі на напругу понад 1 кВ - 1 шт.
· електровимірювальні
кліщі на напругу до 1 кВ - 1 шт.
· діелектричні
рукавички, на одного працівника - 1 пара
· діелектричне
взуття - 2 пари
· інструмент
з ізолювальними рукоятками, на кожного
працівника - 1 компл.
· переносні
заземлення на напругу до 1 кВ - 2 шт.
· переносні
заземлення на напругу понад 1 кВ - 1 шт.
· діелектричні
килими - 2 шт.
· плакати
і знаки безпеки (переносні) - 2 компл.
· захисні
каски, на кожного працівника - 1 шт.
· распіратори,
на кожного працівника - 1 шт.
· захисні
окуляри, на кожного працівника - 1 шт.
8.2 Розрахунок заземлюючого пристрою
трансформаторної підстанції 10/0,4 кВ
Вихідні дані для розрахунку
заземлюючого пристрою ТП 10/0.4 кВ:
˗ питомий
опір грунту q, Ом*м - 120
˗ діаметр
вертикального електрода d, мм - 16
˗ глибина
верхнього заземлення у грунті t, м - 0,7
Розрахунок:
) Визначаємо розрахунковий
опір грунту:
роз =
q * Kc, Ом*м (7.2.1)
роз.в. =
120 * 1,2 = 144 Ом*м роз.г. = 120 * 2 = 240 Ом*м
2) Кількість вертикальних
заземлювачів визначаємо із співвідношення:
Приймаємо 
Відстань між вертикальними
стержнями приймаємо у відповідності до співвідношення: а ≥ 
, а = 5
Тоді 
=0,66
Результуючий опір
вертикальних стержнів з урахуванням екранування:

, Ом
3) Визначаємо опір
горизонтальної з’єднувальної полоси довжиною 
00 м :
Опір штучного заземлення відповідає
нормі
) План трансформаторної
підстанції на відмітці 0,000 з внутрішнім і зовнішнім контурами заземлення
приведено на рис. 8.1
а)
б)
Рис. 8.1. План ТП 10/0,4 кВ з
зовнішнім контуром заземлення (а), схема розміщення заземлювачів у грунті (б)
.3 Розробка протипожежних заходів
Загальні протипожежні заходи
За вибухопожежною небезпекою
приміщення свинарника належить до категорії Д, в якому знаходяться негорючі
речовини і матеріали (підстилка для утримання тварин не використовується).
Будівельні конструкції стін,
перекриття виконані із збірного залізобетону, які мають високу межу
вогнестійкості. Запобігання поширенню вогню по будівлі забезпечується поділом
приміщення на секції і відсіки. Крім основного виходу, з приміщення влаштовано
два евакуаційних виходи в бокових стінах будівлі.
Для димовидалення передбачено
вентиляційні люки та влаштування штучної вентиляції. Протипожежне
водопостачання забезпечується поєднанням з господарською системою водогону від
насосної установки.
Електрообладнання вибрано з
врахуванням агресивності навколишнього середовища будівлі. Прийняті
електродвигуни спеціалізованого виконання для сільського господарства з
індексом СУ1 мають ступінь захисту ІР55, призначені для експлуатації як на
відкритому повітрі, так і в приміщеннях дуже сирих, з хімічно активним
середовищем. Світильники вибираємо конструкції НСП01, які придатні для приміщень
з хімічно активним середовищем.
Проектом передбачено організація і
проведення профілактичних оглядів та планово-попереджувальних ремонтів
електрообладнання, а також своєчасне усунення порушень, які можуть призвести до
пожежі.
Заходи запобігання коротких замикань
і перевантажень.
Запобігання коротких замикань і
перевантажень забезпечується правильним вибором захисних апаратів. Розглянемо
відповідність перерізів вибраних провідників та параметрів захисних апаратів
струмовим навантаженням для електропривода тепло вентилятора ТВ-9.
Живлення електропривода потужністю
2,3/3,7 кВт з розрахунковим струмом Іроз = 6,5/8,1 А здійснюється за
допомогою кабеля АВВГ 4x4, який має тривало допустимий струм 27 А. Тобто умова
Іроз < Ітр.доп витримана, що вказує на відповідність вибраного перерізу
кабелю.
Для захисту електропривода
тепловентилятора від коротких замикань і перевантажень вибрано автоматичний
вимикач ВА47-100 з комбінованим розчіплювачем. Номінальний струм вимикача 100
А, номінальний струм розчіплювача Ін.т.р = 25 А.
Струм спрацювання електромагнітного
або комбінованого розчіплювача перевіряється за максимально короткочасним
струмом лінії із співвідношення.
Ін.роз > 1,25Іроз
Ін.роз= 25А>
= 10,13А;
що підтверджує правильність вибору.
Також проводиться перевірка
відповідності вибраних параметрів автоматичного вимикача вибраному перерізу жил
кабеля за умовою
Ін.роз < Ітр.доп
25А<27А
Тобто автоматичний вимикач
надійно захищає кабель даної лінії.
Нерухомі контактні з'єднання
виконані зварюванням, опресуванням або за допомогою затискачів (гвинтових,
болтових). Відгалуження виконані в з'єднувальних та відгалужу-вальних коробках,
клемних вузлах апаратів, спеціальних нішах будівельних конструкцій.
В місцях, де можливі
механічні пошкодження електропроводки, відкрито прокладені проводи і кабелі
захищаються трубами, коробами, або прокладаються заховано.
Для живлення пересувних
електроприймачів використовуються шнури та гнучкі кабелі з мідними жилами. Для
зарядки світильників використані кабелі з алюмінієвими жилами.
В місцях проходу проводів,
кабелів через стіни і перекриття отвори для проходу закладаються негорючою
речовиною.
Захист від грозових
перенапруг
Згідно інструкції
РД34.21-122-87 на території більшості областей України, де середня інтенсивність
грозової діяльності 60-80 год/рік, для тваринницьких приміщень і пташників
виконується блискавкозахист ІІІ категорії.
Враховуючи, що перекриття
даху свинарника - це залізобетонні конструкції, то не має потреби виконувати
спеціальні блискавкоприймачі. Достатньо приєднати арматуру перекриття до
залізобетонних конструкцій фундаментів.
Для струмовідводу використали
арматуру залізобетонних колон, а в якості заземлювачів - залізобетонний
фундамент приміщення. Струмовідводи прокладаються не рідше 25 м по периметру
приміщення. Всі з'єднання арматури і закладних виконати зварюванням, чим
створюється суцільний електричний зв'язок від даху до фундаменту.
Для захисту від занесення
високого потенціалу з повітряної ЛЕП 0,4 кВ на вводі в приміщення встановити комплект
вентильних розрядників низької напруги РВН-1 (по одному на фазу).
Оснащення первинними засобами
пожежегасіння.
Враховуючи категорію
приміщення за вибухопожежною небезпекою і можливого класу пожежі, приймаємо для
оснащення приміщення такі первинні засоби пожежогасіння:
- переносні вогнегасники
порошкові ВП-5 місткістю 5л - 2 шт. та переносний вуглекислотний вогнегасник
ВВ-3 місткістю Зл;
пожежний щит, в комплект
якого входять: ящик з піском місткістю 0,5м3, лопати - 2 шт., гаки -
3 шт., ломи - 2 шт., сокири - 2 шт.
.4 Охорона навколишнього середовища,
безпека життєдіяльності
Заходи з безпеки життєдіяльності для
персоналу
Проектом передбачено створення
нормальних санітарно-гігієнічних умов для обслуговуючого персоналу. В пташнику
обладнані побутові кімнати, гардеробна для переодягання і зберігання спецодягу.
Автоматичне підтримання заданих
параметрів мікроклімату - температури і вологи в пташнику здійснюється двома
тепловентиляторами ТВ-9. Збереження тепла в зимовий період досягається
наявністю тамбурів і подвійних дверей зовнішніх виходів.
Створення нормованих значень
освітленості, оптимальних умов зорової роботи для персоналу досягається
влаштуванням освітлювальної установки з світильниками НСП09. Для підтримання
нормованого освітлення скло вікон необхідно очищати від забруднень два рази на
рік, а освітлювальну арматуру - двічі на місяць.
Природоохоронні заходи
Для зменшення шуму і вібрації від
стаціонарних машин і механізмів -транспортерів, кормороздавачів,
тепловентиляторів передбачаємо ретельне зрівноважування елементів приводів
(балансування), застосування змащення деталей, використання гумових
віброізоляторів з ребристої та дірчастої гуми. Послаблення передачі вібрації та
шуму по трубопроводах досягається приєднанням їх до вентиляторів і насосів за
допомогою гнучкої вставки з прогумованої тканини або прогумованого патрубка.
Усі передачі, сполучні муфти машин і
устаткування повинні бути надійно огороджені. Жолоби транспортера в проходах і
біля воріт необхідно накривати перехідними щитами.
На робочих місцях операторів повинні
бути вивішені інструкції з техніки безпеки.
Пташник розміщений на відстані 2 км
від житлової зони - села, що відповідає санітарним нормам.
Природоохоронною проблемою для
даного пташника є спосіб утилізації і нейтралізації помету, знешкодження
відходів. Пометовидалення з приміщення здійснюється транспортером ТСН-160 и
комплектом НЖН-300, перевантажується на причеп і трактором відвозиться на поля,
як добрива.
Проводиться підготовча робота на
об'єкті проектування до реалізації ефективних методів утилізації відходів
тварин - виробництво біогазу, отримання білкових речовин і біоперегною.
Використані та непригодні
люмінесцентні лампи зберігаються в спеціально відведеному місці, а потім
відвозиться на утилізацію.
У пташнику можливі такі надзвичайні
ситуації:
· технологічного
характеру - пожежа;
· природного
характеру - інфекційні захворювання тварин.
Для запобігання виникнення пожежі,
проектом передбачено комплекс заходів, які викладені в п.7.3. розділу.
Попередження інфекційних захворювань
досягається проведенням ветеринарно-санітарних заходів. Для зниження мікробної
забрудненості повітря в приміщенні необхідно здійснювати опромінення
бактерицидними лампами, з екранами, які запобігають прямому потраплянню
променів на людину.
Список використаної літератури
1. Жилинский Ю.М., Кумин
В.Д. Электрическое освещение и облучение. - М.: «Колос», 1982. - 271 с.
2. Белянчиков Н.Н.,
Смирнов А.И. Механизация животноводства. - М.: «Колос», 1983. - 359 с.
. Марченко О.С.
Механізація та автоматизація у тваринництві і птахівництві. - К.: «Урожай»,
1990. - 351 с.
. Марченко А.С.
Справочник по механизации и автоматизации в животноводстве и птицеводстве. -
К.: «Урожай», 1990 - 277 с.
. Гончар В.Ф.
Електрообладнання і автоматизація сільськогосподарських агрегатів і установок.
Курсове і дипломне проектування. - К.: «Вища школа», 1985. - 423 с.
. Олійник В.С. Довідник
сільського електрика. - К.: «Урожай», 1989. - 261 с.
. Марченко О.С. Довідник
по монтажу і налагодженню електрообладнання в сільському господарстві. - К.:
«Урожай», 1984. - 284 с.
. Зайцев А.М.,
Расстригин П.А. Электронагрев на фермах. - М.: «Росагропромиздат», 1989. - 70
с.
. Каганов И.Л. Курсовое
и дипломное проектирование. - М.: «Агропромиздат», 1990. - 183 с.
. Мартыненко И.И.,
Тищенко Л.П. Курсовое и дипломное проектирование по комплексной электрификации
и автоматизации. - М.: «Колос», 1978. - 235 с.
. Притика І.П.
Електропостачання сільського господарства. - К.: «Вища школа», 1983. - 365 с.
. Бородин И.Ф., Недилько
Н.Н. Автоматизация технологических процессов. - М.: «Агропромиздат», 1986. -
423 с.
. Гайдук В.М.
Електронагрівні сільськогосподарські установки. - К.: «Урожай», 1986. - 127 с.
. Усатенко С.Т., Каченюк
Т.К., Терехова М.В. Выполнение электрических схем по ЕСКД. - М.: «Издательство
стандартов», 1989. - 284 с.
. Коротков Е.Н.
Специализированное отопительно-вентиляционное оборудование животноводческих
комплексов. - М.: «Агропромиздат», 1987. - 362 с.
. Методичні вказівки з
виконання курсових робіт. Організація і планування робіт з електрифікації і
автоматизації сільського господарства. - Черкаси: ЧПТ, 2000. - 108 с.
. ДБН. Кошторисні норми
на монтаж устаткування. Електротехнічні установки. Міністерство України у
справах будівництва і архітектури. - К.: «Стройиздат», 2007. - 304 с.
. Прайс. - Черкаси:
«Элетон», 2007. - 600 с.
. Декалін Н.А. Охорона
праці в електрогосподарствах промислових підприємств. - М.: «Енергоатомвидав»,
1990. - 186 с.
. ПТЕ і ПТБ при
експлуатації електроустановок споживачів. М.: «Енергоатомвидав», 1986, - 265 с.
. Правила улаштування
електроустановок. - К.: «ЕОП», 2006. - 70 с.
. Шкапін В.А. Основні
вимоги до оформлення текстових технічних документів. Методичні вказівки. -
Черкаси: політехнічний технікум, 2001.