Разработка технологического процесса механической обработки детали

  • Вид работы:
    Курсовая работа (т)
  • Предмет:
    Другое
  • Язык:
    Русский
    ,
    Формат файла:
    MS Word
    523,33 Кб
  • Опубликовано:
    2014-11-22
Вы можете узнать стоимость помощи в написании студенческой работы.
Помощь в написании работы, которую точно примут!

Разработка технологического процесса механической обработки детали














Пояснительная записка

по курсовому проекту

Разработка технологического процесса механической обработки детали



Введение

Ведущее место в росте экономики любой страны принадлежит отраслям машиностроения. Одной из главной является станкостроение, потому, что от уровня его развития зависит развитие всей машиностроительной промышленности.

Под технологией машиностроения следует понимать научную дисциплину, изучающую преимущественно процессы механической обработки деталей и сборки машин, попутно затрагивающую вопросы выбора заготовок и методы их изготовления.

Проектирование технологических процессов изготовления деталей машин имеет цель установить наиболее рациональный и экономный способ обработки, при этом обработка деталей на металлорежущих станках должна обеспечивать выполнение требований, предъявляемых к точности и чистоте обрабатываемых поверхностей, правильности контуров, форм и т.д.

Таким образом, спроектированный технологический процесс механической обработки деталей должен, при его осуществлении обеспечивает выполнение требований, обуславливающих нормальную работу собранной машины.

Для металлорежущего оборудования, выпускаемого в настоящее время, характерно быстрое расширение сферы применения ЧПУ с использованием микро процессорной техники. Особое значение приобретает создание гибких производственных модулей, благодаря которым, без участия оператора, можно управлять технологическими процессами.

На данном этапе развития машиностроения при проектировании технологических процессов стремятся к возможно полной механизации и автоматизации, применению малоотходных способов получения заготовок механической обработки без снятия слоя металла, уменьшению трудоемкости изготовления деталей.

Вал, является распространенной и достаточно ответственной деталью машин и механизмов. Высокие требования, предъявляемые по изготовлению валов: по точности, по прочности и по эксплуатационным данным требует серьезной комплексной проработки на всех стадиях процесса производства.

Экономия материала достигается применением эффективного метода получения заготовки, такого как: штамповка на ГКМ.

На основании этого принципа был разработан данный технологический процесс.

1. Описание служебного назначения конструкции узла, детали

деталь зубчатый венец технический

Деталь “Первичный вал” - является составной частью коробки передач.

Деталь представляет собой вал со шлицевыми, зубчатыми и резьбовыми поверхностями, помимо этого с одного из торцов детали имеются глухие отверстия. Первичный вал служит для переключения скоростей в коробке передач и передачи вращения непосредственно на другие исполнительные органы узла (в данном случае через шестерни которые находится в зацеплении с вторичным валом). Наружными посадочными поверхностями вал устанавливается в корпус коробки передач через подшипники качения, которые в свою очередь запрессовываются непосредственно в посадочные гнезда данного узла.

Для изготовления данной детали выбираем углеродистую качественную конструкционную сталь марки Сталь 45 ГОСТ 1050-88.

Назначение коробки передач - изменять силу тяги, скорость и направление движения. У двигателей с уменьшением частоты вращения коленчатого вала крутящий момент незначительно возрастает, достигает максимального значения и при дальнейшем снижении частоты вращения также уменьшается. Однако при движении на подъемах, по плохим дорогам, при трогании с места и быстром разгоне необходимо увеличение крутящего момента, передаваемого от двигателя к ведущим колесам. Для этой цели и служит коробка передач, в которую входит также передача, позволяющая двигаться задним ходом. Кроме того, коробка передач обеспечивает разъединение двигателя с трансмиссией.

Ступенчатая коробка передач состоит из набора зубчатых колес, которые входят в зацепление в различных сочетаниях, образуя несколько передач или ступеней с различными передаточными числами. Коробка передач должна работать бесшумно, с минимальным износом.

Чтобы привести вал во вращательное движение, на поверхность насаживается шкив, который должен быть соединен с электродвигателем. Он фиксируется контрольной шайбой со стороны паза, чтобы не было самооткручивания.

«Вал первичный» предназначен для передачи крутящего момента на блок зубчатых колес. Эта деталь может применяться в механических передачах, различных узлах машин для поддерживания вращающихся элементов передач - шкивов, звездочек, зубчатых и червячных передачах.

2. Технический раздел

.1 Определение типа производства

Определяем тип производства, в зависимости от габаритов, массы (веса) и размера годовой программы выпуска изделий, из этих данных необходимо установить тип производства:

Единичное - определяется выпуском деталей (продукции) в малом количестве.

Серийное - производство характеризуется ограниченным выпуском продукции, но большими сериями. Серийное производство подразделяется на крупносерийное и мелкосерийное.

Крупносерийное - относительно постоянный выпуск продукции большими сериями, либо изготовлением изделий, производство которых часто повторяется. По характеру ближе остальных к массовому. При выборе технологического оборудования специального и специализированного, дорогостоящего приспособления или вспомогательного приспособления и инструмента необходимо производить расчёт затрат и сроков окупаемости, а также ожидаемый экономический эффект от использования оборудования и технологического оснащения.

Мелкосерийное - широкая номенклатура, большой размер серии, редкая периодичность выпуска. По характеру близко к единичному.

Массовое - характеризуется выпуском одной и той же продукции, как правило, длительное время (годами).

Определяем массу детали:

m=v*с;

v=рh; v=+();

=р**0.175=0.00022 ;

=р**0.07=0.00032 ;

=р**0.052=0.00012 ;

v=0.00042 ;

Материал: Сталь 45, с=7800 кг/ ;

m=0.00042*7800=3,3 кг.

Таблица 1 - Определение типа производства

Максимальная масса обрабатываемой заготовки, кг.

Тип производства при программе выпуска


Единичное

Мелко-серийное

Серийное

Крупно-серийное

Массовое

До 1,0

До 10

Св.10 До2000

Св.1500 до 100000

Св.75000 до 200000

 Св.200000

Св.1,0 до 2,5

До 10

Св.10 До 1000

Св.1000 до 50000

Св.50000 до 100000

 Св.100000

Св.2,5 до 5,0

До 10

Св.10 до 500

Св.500 до 35000

Св.35000 до 75000

 Св.75000

Св.5,0 до 10

До 10

Св.10 до 300

Св.300 до 25000

Св.25000 до 50000

 Св.50000

Св.10,0

До 10

Св.10 до 200

Св.200 до 10000

Св.10000 до 25000

 Св.25000


Согласно массе детали 3,3 (кг), и годовой программе 5000 шт. в год, тип производства - серийное.

2.2. Выбор метода получения заготовки и его техническое обоснование

В серийном и массовом производстве заготовки изготовляют на штамповочных молотах и прессах в открытых и закрытых штампах, В первом случае образуется облой, т.е. отход лишнего металла в результате истечения; облой компенсирует неточность в массе исходной заготовки. Во втором случае облой отсутствует, следовательно, расход металла на заготовку меньше.

Для получения заготовок из пруткового материала высадкой используют горизонтально-ковочные машины. Этот способ производителен и экономичен. Фасонные, а также пустотелые заготовки цилиндрической формы штампуют на гидравлических прессах.

Штамповка на кривошипных прессах в 2…3 раза производительнее по сравнению с штамповкой на молотах, припуски и допуски уменьшаются на 20-35% расход материала снижается на 10-15%. Заготовки для деталей типа стержня с утолщением, колец, втулок, деталей со сквозными· и глухими отверстиями, целесообразно получать на горизонтально-ковочных машинах (ГКМ).

Себестоимость заготовки из штамповки:

, где

- масса заготовки;

Q - стоимость 1 тонны материала;

N - программа выпуска.

=0.000629*7800=5 кг;

V==0.000629 ;

с=7800 кг /;

Q=6000 грн/тонна;

N=5000 шт./год;

5*6*10000=300000 грн;

КИМ=;


=3.3 кг;

=5 кг;

КИМ=3.3/5*100%=66%

Прокат может применяться в качестве заготовки для непосредственного изготовления деталей либо в качестве исходной заготовки при пластическом формообразовании.

Специальный прокат применяется в условиях массового или крупно серийного производства, что в значительной степени снижает припуски и объём механической обработки.

Себестоимость заготовки из проката:

,

=р**0.292*7800=14,5 кг;

14,5*6*10000=870000 грн;

КИМ=3,3/14,5*100%=22,8%

=- =870000-300000=570000 грн

- Экономический эффект для сопоставления способов получения заготовок, при которых технологический процесс механической обработки не меняется.

При сравнении себестоимости изготовления заготовки было выявлено два вида получения заготовок: 1) штамповка; 2) прокат.

В связи с проведёнными расчётами видно, что целесообразней и значительно дешевле принять получения заготовки на ГКМ.

2.3 Последовательность обработки поверхностей и разработка маршрутного технологического процесса

Маршрут обработки выбирают исходя из требований рабочего чертежа в принятой заготовки. Приступая к составлению технологического маршрута, необходимо в первую очередь наметить план обработки - структуру операций.

Структура операций характеризуется ее построением, обеспечивающим сочетание и определенную связь основных и вспомогательных переходов и потоков. Возможны структуры операции двух типов: простая, состоящая из одного-двух переходов, и сложная. Для структуры обоих типов обработка может быть однопоточной и многопоточной; при многопоточной обработке несколько деталей изготовляют по одинаковым переходам. Кроме того, технологический процесс осуществляется по одно - и многодетальной схеме, т.е. на каждой рабочей позиции может обрабатываться одна или несколько деталей сразу.

При составлении технологического маршрута руководствуются следующими общими правилами.

. Операции должны быть одинаковыми или кратными по трудоемкости.

. Каждая последующая операция должна уменьшать погрешности и улучшать качество поверхности.

. В первую очередь следует обрабатывать поверхность, которая будет служить технологической базой для последующих операций.

. В целях своевременного выявления брака по раковинам и другим дефектам необходимо предусматривать первоначальную обработку поверхностей, на которых не допускаются дефекты. Так как на них обычно снимают наибольшие слои металла, то тем самым достигается и перераспределение внутренних напряжений заготовки, и она коробится более интенсивно.

. Обработку сложных поверхностей, нуждающихся в особой наладке станка, следует выделять в самостоятельные операции. Например, нарезание резьбы резцами, обработка фасонных поверхностей по копиру и т.п.

. Черновую и чистовую обработки заготовок со значительными припускам» необходимо выделять в отдельные операции.

. Отделочные операции производить в самом конце технологического процесса, так как при этом уменьшается опасность повреждения чисто обработанных поверхностей.

. Отверстия нужно сверлить в конце технологического процесса, за исключением тех случаев, когда они служат базами для установки.

. При окончательной обработке точных поверхностей не включать переходы, нуждающиеся в поворотах резцедержателя (головки), так как это снижает вероятность погрешности режущего инструмента по лимбу.

. Обработку поверхностей с точным взаимным расположением следует по возможности включать в одну операцию и выполнять за одно закрепление заготовки.

. Обработку ступенчатых поверхностей выполнять в такой последовательности, при которой общая длина рабочих движений режущего инструмента будет наименьшей.

Таблица 2. ─ Выбор методов обработки поверхностей.

N поверхности

Шероховатость Ra

Технические требования чертежа

Виды обработки

Технические решения по виду обеспечения

2, 18

Rz40

L=299 мм

Точение черновое, чистовое

Резец подрезной

3, 6, 13, 16,29

Rz40

Точение чистовое

Резец проходной отогнутый

5, 12, 14

Rz40


Точение черновое

Резец канавочный

8 9 10 15

Rz40  Rа2,5 Rа0,8

L=69 мм  L=10 мм L=25 мм

Точение черновое, чистовое, шлифование

Резец проходной

23  28

Rz40

L=32 мм L=5 мм

Точение черновое

Резец подрезной

21,22

Rz40


Сверление черновое

Резец подрезной

19, 20, 23, 24, 25

Rz 20


Растачивание получистовое, чистовое

Резец растачной

7

Rа0,8

L=96 мм D-8x30x38h7x6h8

Точение, Нарезание шлицов

Резец проходной Фреза фасонная

1, 11, 16

Rz 20

O4, O3, O33

Сверление

Центровочное сверло, Спиральное сверло

26  27

Rz 40

L=7 мм L=12 мм

Строгание чистовое

Резец фасонный


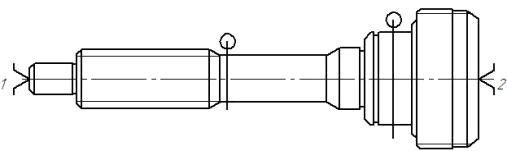
Рисунок.1 обозначение поверхностей детали

Заготовительная Штамп

Токарная с ЧПУ Токарный станок 16К20Ф3

015 Сверлильная Вертикально-сверлильный станок 2Н150

Токарная              Горизонтально-расточной станок 2М615

025 Шлицефрезерная           Горизонтально-фрезерный станок 5А30

030 Слесарная зубострогальная Зубострогальный полуавтомат 5236П

035 Зубофрезерная              Зубофрезерный полуавтомат 5К301П

Термическая (закалка+высокий отпуск) Печь

Круглошлифовальная          Круглошлифовальный станок 3М150

Внутришлифовальная          Внутришлифовальный станок 3К227В

Моечная                                Ванна

Контрольная                        Приспособление контрольное, калибр-

скоба, калибр-пробка.

.4 Разработка схем базирования детали на операциях

База - это поверхность заготовки или сборочной единицы, с помощью которой ее ориентируют при установке для обработки на станке.

Базирование - это придаваемое заготовке (сборочной единице) положение, определяемое базами, относительно выбранной системы координат (ГОСТ 21495-76).

Известно, что всякое твердое тело имеет в пространстве 6 степеней свободы относительно выбранной системы координат: поступательные движения по координатным осям и вращательные движения около каждой из них. Для обеспечения неподвижности заготовки в выбранной системе координат на нее необходимо наложить 6 двусторонних геометрических связей, для создания которых нужен комплект баз. Если заготовка должна иметь определенное количество степеней свободы, то соответствующее число связей снимается. Например, при обточке вала на станке его необходимо закрепить и в то же время обеспечивать вращение. Следовательно, при базировании вал будет лишен только 5 степеней свободы, а шестая степень свободы - вращение вокруг собственной оси - у него остается.

Базой может служить поверхность, сочетание поверхностей, ось, точка, принадлежащие заготовке.

В технологическом отношении детали, имеющие несколько основных и вспомогательных поверхностей обработки, должны быть изготовлены с минимальными затратами времени, с использованием прогрессивных методов изготовления заготовок, с правильным выбором баз, соблюдая принцип единства и совмещения баз.

При построении маршрута обработки следует соблюдать принцип постоянства баз; на всех основных технологических операциях использовать в качестве технологических баз одни и те же поверхности заготовки.

Токарная с ЧПУ


015 Сверлильная



020 Токарная


025 Шлицефрезерная


Слесарная зубострогальная

Зубофрезерная


Круглошлифовальная




050 Внутришлифовальная

.5 Расчёт межоперационных припусков, допусков и размеров заготовки

Припуск на обработку - это слой материала, удаляемый с поверхности заготовки в процессе ее обработки для обеспечения заданного качества детали. Различают припуски промежуточные и общие.

Промежуточным припуском называют слой, снимаемый при выполнении данного технологического перехода механической обработки. Промежуточный припуск определяют как разность размеров заготовки, получаемых на смежном предшествующем и выполняемом технологических переходах.

Общим припуском называется сумма промежуточных припусков по всему технологическому маршруту механической обработки данной поверхности. Общий припуск определяется как разность размеров заготовки и готовой детали.

На производстве широко применяется опытно-статистический метод установления припусков на обработку. При этом методе общие и промежуточные припуски берутся по таблицам, которые составлены на основе опыта передовых заводов.

При определении величины припуска для элементарной поверхности расчётно-аналитическим методом расчётным является минимальный промежуточный припуск.

Таблица 3. -Расчетная таблица припусков

Технологические операции и переходы обработки элементарной поверхности

Элементы припуска

Расчётный припуск

Расчётный размер  

Допуск д

Предельн. Размер

Предельные значения припусков


Rz

T

с

е




Заготовительная токарная -черновое-чистовое Шлифование

150 60 20 12.5

250 250 62 39

929.8 929.8 929.8 -

-  110110 -

- 2*1239.8 2*1011.8 2*41

45,582 43.104 41.082 40

3000 50 30 20

45.582 43.104 43.082 40

48.582 43.154 41.112 40.02

- 2478 2022 82

- 5428 2042 92



929.8 мкм;

=0.8*292=233.6 мкм;

=900 мкм;

Обработка наружных или внутренних поверхностей вращения:


Для шлифования: 2*41 мкм;

Обтачивание цилиндрической поверхности заготовки, установленной в центрах; безцентровое шлифование:


Токарная операция:

черновое: 2*1011.8 мкм;

чистовое: 2*1239.8 мкм;

;

=1,15;

Таблица 4 - Расчёт размеров заготовки

Размер детали, мм

Размер заготовки, мм

О20 )

O23

O38

O44

O30

O35

O58

O67

O88

102

O33

O29

28

33

96

111

69

80

25

29

31

36

.6 Проектирование технологической операции

По типу зубьев передачи подразделяются на прямозубые, косозубые, шевронные и криволинейные. Технологический процесс изготовления зубчатых колес можно разделить на две стадии: первая включает в себя комплекс операций, связанных с формообразованием заготовки зубчатого колеса до нарезания зубьев, вторая включает зубонарезание и последующие процессы, связанные с отделкой зубьев и чистовыми операциями базовых поверхностей после термической обработки.

В нашем случае деталь устанавливается в зажимной трехкулачковый патрон и с другой стороны подпирается грибковым центром. Обработка зубьев производится дисковой модульной фрезой ГОСТ 10331-81 на Горизонтально-фрезерном станке 53А20.

Техническая характеристика станка мод. 53А20

Наибольший диаметр обрабатываемой заготовки, мм          200

Наибольший размер нарезаемых колес:

модуль, мм                                                                                6

длина зуба, мм                                                                          180

угол наклона зубьев, °                                                             ±60°

Наибольший диаметр устанавливаемых червячных фрез, мм   125

Расстояние от торца стола до оси фрезы, мм                         160-410

От оси инструмента до оси заготовки, мм                              25-200

Наибольшее осевое пересечение фрезы, мм                           170

Частота вращения шпинделя инструмента, об/мин                75-500

Подача, мм/об, заготовки:

Вертикальная или продольная                                               0,45-120

Радиальная                                                                               0,1-1,6

Мощность электродвигателя привода главного движения, кВт 7,5

Габаритные размеры:

длина                            3150

ширина                         1815

высота                          2300

Масса, кг                      6800

.7 Расчёт режимов резания на заданной операции

Расчёт режимов резания является одним из ключевых звеньев при разработке технологических процессов формирования заданных конфигураций деталей, от этого во многом зависит качество изделия, трудовые и денежные затраты на его изготовление. На режимы резания оказывают влияние многие факторы, которые следует учитывать при расчётах. К ним, например, относятся микро и макро- структура материала заготовки, его физико-механические свойства; состояние обрабатываемой поверхности; материал и геометрические параметры режущего инструмента; механические характеристики оборудования и т.д.

При расчётах режимов резания, в общем случае рекомендуется придерживаться следующей последовательности:

- Выбрать и обосновать тип режущего инструмента, материал и геометрические параметры его режущей части. Привести эскиз инструмента с указанием основных размеров и углов заточки. Обосновать и принять период стойкости;

- Рассчитать режимы резания, для чего:

- определить глубину резания;

- выбрать подачу и откорректировать её в соответствии с паспортными данными выбранного станка;

· рассчитать скорость резания, а на её основе частоту вращения вала шпинделя. Скорректировать последнюю с паспортными сведениями станка и рассчитать фактическую скорость резания;

· определить силы резания, крутящий момент, осевую силу (в зависимости от вида обработки), сравнить их с паспортными значениями выбранного станка. В случае превышения расчётных величин над паспортными необходимо произвести корректировку проведённых ранее расчётов;

· определить эффективную и потребную мощность и сравнить последнюю с мощностью электродвигателя выбранного станка путём расчёта коэффициента использования.

При установлении режимов резания учитывается характер обработки, тип и материал инструмента, его геометрические параметры, материал и состояние заготовки, тип оборудования и другие факторы. Расчёт режимов чаще всего ведётся по следующей схеме  т.е.устанавливается глубина резания (t) подача(S), определяется скорость резания (V) и сила резания (Р), по которой рассчитывается потребная мощность станка (N).

Глубина резания при черновой обработке назначается по возможности максимальной (чаще всего равную всему припуску на обработку), а при чистовой - в зависимости от требований точности размеров и шероховатости обработанной поверхности.

Подача при черновой обработке выбирается максимально возможной, исходя из жёсткости и прочности системы: станок-приспособление-инструмент-деталь; мощности станка, прочности режущей части инструмента и других ограничивающих факторов. При чистовой обработке принимается во внимание требуемая степень точности и шероховатости обработанной поверхности.

Скорость и силы резания рассчитываются по эмпирическим формулам, устанавливаемым для каждого вида обработки. Значения коэффициентов и показателей степени, содержащихся в этих формулах даны в справочной литературе.

Фрезерование. Фрезерование является высокопроизводительным методом формообразования поверхностей деталей многолезвийным режущим инструментом - фрезой. Для этого метода характерно непрерывное главное вращательное движение инструмента и поступательное движение заготовки. Тип применяемой фрезы определяется конфигурацией обрабатываемой поверхности.

Глубина фрезерования t и ширина фрезерования В- величины связанные с размерами снимаемого слоя. Параметр t измеряется в направлении, перпендикулярном оси фрезы (за исключением торцового фрезерования). Ширина фрезерования измеряется перпендикулярно глубине.

Глубина резания при припуске на обработку до 5 мм, как правило, принимается равной последнему. В противном случае назначается несколько проходов. При чистовом фрезеровании, чаще всего t = 1…1,5 мм.

В данном случае глубина резания составляет t =4 мм.

Подача. При фрезеровании различаются подача на один зуб фрезы Sz, мм/зуб; подача на один оборот So=Sz z мм/об, z - число зубьев фрезы.

;

;

Скорость резания определяется по формуле:

;


Значения выбираем по таблице.

=30 м/мин;

=1;

=30 м/мин;

Частота вращения фрезы:

V=; n=;

где V=30 м/мин - скорость резания;

D=60 мм - диаметр фрезы;

n==151,57≈150 об/мин;

Сила резания. Главная составляющая силы резания при фрезеровании - окружная сила, Н:

 

где Кмр - поправочный коэффициент на качество обрабатываемого материала. Значения коэффициента Ср и показателей степени приведены в таблице.

=68.2;        t=4 мм;

х=0,86;         =1,3;

у=0,72;         В=6 мм;

u=0,1;           D=63 мм;

q=0,86;

;

Крутящий момент шпинделя:

;

= - сила резания;

D=63 мм - диаметр фрезы;

=4260 H*м;

Эффективная мощность резания:


=14200 - сила резания;

V=30 м/мин - скорость резания;

 кВт=6960 Вт;

.8 Техническое нормирование операции

Технологическая операция как составная часть технологического процесса в свою очередь состоит из большого числа элементов (переходов, позиций и др.). Все эти элементы связаны между собой как логическими, так и физическими (пространственными, временными, материальными) связями. Цель нормирования- установление технически обоснованной нормы времени на операцию, анализ уменьшения времени на операцию и, соответственно, повышения эффективности производства.

Под техническим нормированием понимают установление нормы времени на выполнение определенной работы или нормы выработки в штуках в единицу времени. Величина затрат времени на изготовление той или иной продукции при надлежащем качестве ее является одним из основных критериев для оценки совершенства технологического процесса, планирования в цехе и на предприятии, расчета с производственными рабочими. В машиностроении норма времени обычно устанавливается на технологическую операцию.

Техническая норма времени - регламентированное время выполнения данной операции при определенных организационно - технических условиях и наиболее эффективном использовании всех средств производства.

Существует три метода нормирования:

1.    Метод аналитического расчета норм времени с использованием нормативов. При этом методе технологическая операция разлагается на элементы; каждый из элементов подвергается анализу с целью исключения лишних непроизводственных действий, сокращение пути всех движений рук, ног и корпуса рабочего и т.д. Определяются элементы операции, перекрываемые другими элементами. Затем для неперекрываемых элементов производится расчет их длительности по формулам или точным нормативам. Данный метод применяется в массовом, крупносерийном и среднесерийном производстве.

2.      Опытно - статистический метод нормирования. При этом методе норма времени устанавливается на всю операцию в целом, путем сравнения с типовыми нормами и фактической трудоемкостью выполнения в прошлом аналогичной работы. Для данного метода разработаны укрупненные нормы времени на типовые операции. Данный метод применяется в единичном и мелкосерийном производстве.

.        Метод определения норм времени на основе изучения затрат рабочего времени наблюдения (хронометраж, фотография рабочего дня). Данный метод производится непосредственно на рабочем месте и предназначен для изучения и обобщения передовых приемов труда, а также для разработки нормативов, используемых при первом методе.

Метод аналитического расчета технической нормы времени.

Штучное время - это время изготовления одного изделия на данной технологической операции. Норма штучного времени при техническом нормировании определяется по формуле

,

Тшт=0.49+16,2+0,6+1≈18.3 сек

где - основное время на i-тый основной переход, мин;  - число перекрываемых основных переходов в операции, шт.; - вспомогательное время на j-тый переход, мин;  - число неперекрываемых переходов в операции, на которые затрачивается вспомогательное время, шт.;  - время облуживания рабочего места, мин;  - время на личные потребности рабочего, мин.

Основное (машинное, технологическое) время  - это часть штучного времени, затрачиваемая на изменение или последующее управление состояния предмета, определяется по формуле(для точения):


где  - длина обрабатываемой поверхности, с недобегом и перебегом, мм;  - частота вращения шпинделя, мин-1;  - подача инструмента, мм/об.

L=50 мм; n=150 мм/об; S=40 мм/об;

Вспомогательное время - часть штучного времени, затрачиваемая на выполнение приемов, необходимых для обеспечения изменения и последующего определения состояния предметов труда.

Твсп=19,8 сек;

Во вспомогательное время входит:

время на установку и снятие заготовки в приспособлении;

время управления станком (пуск, остановка, смена режимов обработки и т.п.);

время на перемещения инструмента;

время на приемы измерения детали.

Вспомогательное время может быть ручным, машинным или машинно-ручным.

Составляющие вспомогательного времени определяются по нормативам.

Сумма основного и вспомогательного времени на операцию называется оперативным временем:

.

Топ=0.49+16,69=17 сек;

Время обслуживания рабочего места  - часть штучного времени, затрачиваемая исполнителем на поддержание средств технического оснащения в работоспособном состоянии и уход за ними и рабочим местом. Время обслуживания рабочего места подразделяется на время технического обслуживания  и время организационного обслуживания .

Тобсл=3,5% Топ=3,5%*17=0,6 сек;

Время технического обслуживания рабочего места . затрачивается рабочим на уход за рабочим местом в течение смены и включает:

время на смену затупившегося инструмента;

время на правку инструмента в процессе работы;

время на удаление стружки в процессе работы.

Время технического обслуживания рабочего места определяется по специальным формулам; время организационного обслуживания рабочего места определяется по нормативам в процентах от оперативного времени.

В серийном производстве определяется суммарное время обслуживания рабочего места по нормативам в процентах от оперативного времени.

Время на личные потребности Тотд. - часть штучного времени, затрачиваемая человеком на личные потребности и, при утомительных работах, на дополнительный отдых. Оно определяется по нормативам в процентах от оперативного времени.

Тотд=4% Топ=4%*17=0.7 сек;

Тотд принимаем равной 1 сек.

Норма выработки - регламентированное количество изделий, которое должно быть обработано в заданную единицу времени. Например, норма выработки в час определяется по формуле

,

Nчас==196 шт.

3. Конструкторский раздел

.1 Описание работы приспособления

Измерительная станция включает в себя два основных узла:, измерительное устройство, подводящее устройство.

Измеряемая деталь, устанавливается между двумя призмами 3, которые закреплены на двух направляющих 1 болтами 12. Направляющие установлены на плите 12.

Измерительное устройство включает в себя два пружинных параллелограмма. Верхний параллелограмм состоит из неподвижной каретки 5 и подвижной каретки 6, которая подвешена на двух прямых плоских пружинах 13. Пружины крепятся к кареткам 6 и 5 с помощью четырёх накладок 10 винтами 21.

К подвижной каретке 5 крепится губка 5 и наконечник 11. На каретке 6 крепится второй параллелограмм, состоящий из неподвижной каретки 6, подвижной каретки 6, которая крепится на прямых плоских пружинах 13. Накладки 10 служат для угловой жёсткости параллелограмма.

Упругие направляющие (пружинные параллелограммы) широко используются в измерительных приборах, так как обеспечивают высокую точность перемещения.

Преимущества. В них отсутствуют пары внешнего трения: люфты, зазоры, перекосы.

Недостатки. Малая величина перемещения (5-10 мм).

К подвижной каретке 6 крепится губка 5 с измерительным наконечником 11. Усилия прижима измерительных наконечников 11 к поверхности детали обеспечиваются цилиндрическими винтовыми пружинами растяжения. В подвижной каретке 6 установлен также настроечный винт 21, с помощью которого осуществляется настройка на 0 измерительного преобразователя 2. Преобразователь, с помощью кронштейна, крепится к каретке 5. Измерительное устройство 2, установленное на шариковой направляющей 1 с помощью кронштейна 9, имеет возможность перемещаться в вертикальном направлении для вывода измерительного наконечника из детали при её замене.

Для ограничения нижнего положения каретки и установки измерительных наконечников 11 в нужном сечении детали служит регулируемый упор 16. Вертикальные перемещения каретки осуществляются от электродвигателя посредством винтовой передачи.

Описание преобразователя

Электроконтактный преобразователь - это устройство, преобразующее линейное перемещение в электрический дискретный сигнал-команду путем замыкания или размыкания электрических контактов. Команда от преобразователя в станках или контрольных автоматах обычно реализуется путем коммутации достаточно мощных электрических цепей станка или автомата, которые приводят в действие его исполнительные органы. Поэтому электрический сигнал-команду преобразователя усиливают специальным усилителем, а коммутация внешних выходных электрических цепей осуществляется обычно с помощью электромагнитных реле. Все это вместе образует блок усилителя командных сигналов. Светофорное устройство служит для информации о командах. Блок питания предназначен для поддержания параметров питания на заданном уровне.

По назначению преобразователи разделяются на предельные, предназначенные для контроля размеров детали, и амплитудные, предназначенные для контроля отклонений от правильной геометрической формы.

В предельных преобразователях (рисунок 5.19) каждому значению размера детали 1 соответствует определенное положение подвижного контакта 7 относительно неподвижных (настраиваемых) контактов 6 и 8. Когда деталь больше максимально допускаемого размера, замкнуты контакты 7 и 6, когда меньше - замыкаются контакты 7 и 8, и, наконец, когда деталь годна, все контакты разомкнуты.

Рисунок 2 - Принципиальная схема предельного электроконтактного преобразователя

В конструкции преобразователя используется двуплечий рычаг 2 с передаточным отношением i=l2/l1 и измерительный шток 3, контактирующий с поверхность контролируемой детали 1. Силовое замыкание измерительного штока и рычага и рычага осуществляется пружинами 4 и 5.

В амплитудных преобразователях, где надо исключить влияние самого размера на результаты контроля отклонений детали от правильной геометрической формы, контакт выполнен «плавающим», т.е. он под действием некоторого усилия может перемещаться в направляющей рычага.

Наибольшее распространение получили рычажные преобразователи, точность которых выше точности безрычажных.

Технические характеристики предельных электроконтактных преобразователей приведены в таблице 5.

Таблица 5 - Технические характеристики предельных электроконтактных преобразователей

Параметры

Модель


233

228

229

КДМ-13

Число контактов

2

2

3

1

Пределы измерения, мм

0 - 0,4

0 - 1

0 - 1

0 - 3

Свободный ход измерительного стержня, мм

2

3

3

7

Передаточное отношение

5

5

5

1

Цена деления настроечного винта, мм

0,001

0,002

0,002

0,005

Измерительное усилие, сН

30-60

300

500

300

Колебание усилия, сН

10

150

300

100

Погрешность срабатывания, мм

+0,0005

+0,001

+0,001

+0,002

Смещение настройки за 25 тыс.  срабатываний, мм

+0,0005

+0,001

+0,001

+0,004

Предельная скорость арретирования, мм/с

до 60

до 60

до 60

до 60

Габаритные размеры, мм

83*48*16

136*66*21

136*66*21

96*45*17

Масса, г

200

420

420

115


На рисунке 3 показана конструкция предельного электроконтактного преобразователя модели 233.

Измеряемое перемещение воспринимается измерительным стержнем 2, который перемещается в бронзовых втулках 1 гильзы 3. Гильза запрессована в жесткий корпус 5 преобразователя, ее наружный размер Ø 8 h6 предназначен для крепления преобразователя. Чтобы измерительный стержень не поворачивался, установлен штифт-шпонка 14. Перемещение измерительного стержня через корундовую шаровую опору 17 передается на рычаг 9, установленный на агатовой ножевой опоре 8. Кинематическая цепь стержня и рычага с подвижными контактами 7 замыкается пружиной 4 с усилием которое должно быть несколько большим, чем необходимое усилие замыкания электрических контактов. Передаточное отношение двуплечего рычага 9 преобразователя равно i=5.

Следует обратить внимание на то, как предохранены рычаг и его высокоточная ножевая опора от случайных ударов по измерительному стержню. Измерительный стержень так контактирует с рычагом, что при ударе он может оторваться от рычага, но не передаст удара на него. В технической литературе такое конструктивное решение называют: «рычаг разгружен от удара».

Рисунок 3 - Предельный электроконтактный преобразователь модели 233

Измерительное усилие создается пружиной 12, его можно регулировать гайкой 11. Положение настроечных контактов 13 регулируют с помощью микровинтов (М4x0,35), барабаны 10 которых имеют цену деления 0,001 мм, а интервал делений 0,63 мм. Тугое вращение микровинтов обеспечивается осевым натягом с помощью разрезной пружинной шайбы 16 и специальной гайки 15.

Контакты 7 запрессованы во втулках 6 из изоляционного материала, а настроечные контакты 13 не изолированы от корпуса. На электрический разъем преобразователя выведено три провода: от корпуса преобразователя и от двух контактов 7. Наличие неизолированных контактов уменьшает область применения данного преобразователя, так как некоторые электрические схемы требуют изоляции всех контактов.

Лицевая сторона корпуса закрыта прозрачной крышкой 18.


Заключение

В дипломном проекте разработаны технологические процессы на механическую обработку детали «Вал первичный коробки передач» в условиях серийного производства.

Подробно описаны назначение детали, и конструкторские и технологические особенности.

Оценка технологичности конструкции детали. Проанализирован и выбран метод получения заготовки, произведен аналитический расчет минимальных припусков.

Классифицированы технологические базы с учетом анализа их соответствию единства баз. Произведен расчет размерных цепей.

На основании расчета предложены технологические маршруты обработки детали.

Произведены расчеты режимов резания, с использованием аналитических зависимостей и норм времени.

В проекте произведен подбор режущего инструмента и проектируемого приспособления, а также обоснование и выбор.


Библиографический список

1. Горбацевич А.Ф. Курсовое проектирование по технологии машиностроения / А.Ф. Горбацевич, В.А. Шкред.. - М.: ООО ИД «Альянс», 2010. - 256 с.

2. Обработка металлов резанием: Справочник технолога /А.А. Панов, В.В. Аникин, Н.Г. Бойм и др. Под общ. ред. А.А. Панова.- М.: Машиностроение, 1988.- 736 с.

3. Орлов П.И. Основы конструирования. Справочно-методическое пособие. В 2-х кн. Кн.1. /Под ред. П.Н. Учаева. - 3-е изд. испр. - М.: Машиностроение, 2008..- 544 с.

4. Справочник технолога-машиностроителя. В 2-х т.Т1 / Под ред. А.Г. Косиловой и Р.К. Мещерякова - 4-е изд., перераб. и доп. - М.: Машиностроение, 1985..- 656 с.

5.      Справочник технолога-машиностроителя. В 2-х т.Т2 / Под ред. А.Г. Косиловой и Р.К. Мещерякова - 4-е изд., перераб. и доп. - М.: Машиностроение, 2010..- 496 с.

Похожие работы на - Разработка технологического процесса механической обработки детали

 

Не нашли материал для своей работы?
Поможем написать уникальную работу
Без плагиата!
Без нейросетей!