Разработка технологического процесса производства задней части нервюры
Министерство образования и науки
Российской Федерации
Федеральное государственное бюджетное
образовательное учреждение высшего профессионального образования
ИРКУТСКИЙ ГОСУДАРСТВЕННЫЙ ТЕХНИЧЕСКИЙ
УНИВЕРСИТЕТ
Кафедра самолетостроения и
эксплуатация авиационной техники
Разработка технологического процесса
производства задней части нервюры
ПОЯСНИТЕЛЬНАЯ ЗАПИСКА
к курсовому проекту
по дисциплине: Технология
производства самолета
.000.00.00ПЗ
Иркутск, 2014
СОДЕРЖАНИЕ
ВВЕДЕНИЕ
. Технологический процесс сборки узла
.1 Конструктивно-технологическое описание узла
.2 Конструктивно-технологическая характеристика соединений
узла
.3 Состав баз для сборки узла
.4 Укрупненный технологический процесс сборки узла
.5 Технические условия поставки деталей на сборку
.6 Техническое задание на проектирование сборочного
приспособления
. Разработка технологического процесса изготовления деталей
узла «Задняя часть нервюры»
.1 Технологический процесс изготовления детали «Стенка 1»
.1.1 Конструктивно-технологическое описание детали
.2.1 Конструктивно-технологическое описание детали
.2 Технологический процесс изготовления детали «Пояс 2»
.2.1 Конструктивно-технологическое описание детали
.2.2 Укрупненный технологический процесс изготовления детали
.3 Технологический процесс изготовления детали «Профиль4»
.3.1 Конструктивно-технологическое описание детали
.3.2 Укрупненный технологический процесс изготовления детали
.3 Технологический процесс изготовления детали «Стойка 6»
.3.1 Конструктивно-технологическое описание детали
.4.2 Укрупненный технологический процесс изготовления детали
. Схема увязки заготовительной и сборочной оснастки
.1 Перечень технологической и сборочной оснастки
.2 Шаблоны
. Определение типа производства
ЗАКЛЮЧЕНИЕ
СПИСОК ИСПОЛЬЗОВАННЫХ ИСТОЧНИКОВ
ВВЕДЕНИЕ
Целью курсового проекта является выработка у студентов практических
навыков самостоятельного решения частных инженерных задач в области разработки
технологических процессов сборки. Изучение методики разработки технологических
процессов является важным этапом в освоении технологии сборки самолетных
конструкций.
Сборка в приспособлениях имеет широкое распространение в практике
самолетостроения. Сборочные приспособления обеспечивают требуемое взаимное
положение собираемых деталей и определенное положение обрабатывающего
инструмента относительно деталей, придают заданную форму недостаточно жестким
деталям и узлам в процессе сборки, позволяют широко использовать при сборке
принцип компенсации погрешностей изготовления деталей.
В качестве задания на курсовой проект был выдан чертеж узла «Задняя часть
нервюры».
Для данного узла необходимо:
разработать технологический процесс сборки узла;
схему сборочного приспособления для сборки заданного узла;
разработать технологический процесс изготовления всех входящих в
узел деталей;
разработать схему технологической оснастки для выполнения одной
из деталей узла;
разработать схему увязки заготовительной и сборочной оснастки.
. ТЕХНОЛОГИЧЕСКИЙ ПРОЦЕСС СБОРКИ УЗЛА
1.1 Конструктивно-технологичекое описание
конструкции узла
Номер и название узла. № 1.013.00.00.: «Задняя часть нервюры».
Назначение узла. Задняя часть нервюры является поперечной частью набора
крыла. Она воспринимает нагрузки от закрепленных к центроплану частей самолета,
аэродинамические нагрузки от обшивки и стрингеров и передают ее на лонжероны.
Обеспечивает жесткость и придает форму профилю крыла.
Общая форма узла. Узел плоский с наружным аэродинамическим профилем в
плане.
Габаритные размеры узла. 350×1200×36 мм
Состав узла. В узел входят 1 стенка нервюры, пояса 2,3, профиль 4, стойки
5,6.
Компоновка узла. По периметру стенки с одной стороны ее нервюры крепятся
пояса, с другой стороны стойки и профиль, располагаемые перпендикулярно хорде и
параллельно стенке лонжерона.
Требования точности. Допуск на аэродинамические обводы определяется
скоростью полета самолета и расположением узла в конструкции самолета. Так как
самолет дозвуковой и узел входит в состав крыла, то допуск на обвод ±1…2мм.
Допуск на габаритные размеры в соответствии с ОСТ 1 00022-80
±1.4×1200±2.3×36±0.62
Допуск на шаги заклепок: 20±0.20, 24±0.20
Требования по взаимозаменяемости. Для обеспечения взаимозаменяемости
необходимо изготавливать детали по данным геометрической увязки.
Однотипность деталей. В узле есть однотипные детали: стойка 5,6, пояса
2,3.
Членение. Членение узла на подсборки не реализуется. Членение узла на
детали приведено на рисунке 1.1.
Материал деталей. Алюминиевые сплавы в различных полуфабрикатах
Типы соединений. Применяются заклепочные соединения - неразъемные
внахлест (подробнее конструктивно-технологическая характеристика соединений
приведена в таблице 1).
На основании описания узла можно сделать вывод о том, что узел имеет
несложную конструкцию с криволинейными обводами, выходящими на аэродинамический
обвод, что требует обеспечения высокой точности узла при сборки. Для соединения
узла применяются только заклепочные соединения с однотипными но с разными по
размеру заклепками. Узел можно считать не технологичным, так как требуется
большой объем ручных работ.
- стенка; 2,3 - пояс; 4 - профиль; 5,6 - стойка
Рисунок 1.1 - Схема членения узла
1.2 Конструктивно-технологическая характеристика
соединений узла
Конструктивно-технологическая характеристика соединений узла приведена в
таблице 1.1.
Таблица1.2 - Конструктивно-технологическая характеристика соединений
|
Пакет
|
Вид соединения
|
Характеристика соединения
|
Характеристика швов
|
Доступ к шву
|
Применяемый метод
|
|
1
|
2
|
3
|
4
|
5
|
6
|
|
Стенка1 + Пояс 2
|
Заклепочное
|
Заклепки 3-7-1 ОСТ 1
34076-85 54 шт.
|
Криволинейные
|
Хороший
|
Клепка вручную
|
|
Стенка 1 + Пояс 3
|
Заклепочное
|
Заклепки 3-7-1 ОСТ 1
34076-85 То же 45 шт.
|
Криволинейный
|
Хороший
|
Клепка вручную
|
|
Стенка 1 + профиль4
|
Заклепочное
|
Заклепки 3-7-1 ОСТ 1
34076-85 10шт
|
Прямолинейный
|
Хороший
|
Клепка вручную
|
|
Стенка 1 +стойка 5
|
Заклепочное
|
Заклепки 3-7-1 ОСТ 1
34076-85 13 шт.
|
Прямолинейный
|
Хороший
|
Клепка вручную
|
|
Стенка 1 +стойка 6
|
Заклепочное
|
Заклепки 3-7-1 ОСТ 1
34076-85 12шт.
|
Криволинейный
|
Хороший
|
Клепка вручную
|
|
Стенка 1 + профиль4 +
пояса2, 3
|
Заклепочное
|
Заклепки 4-10-1 ОСТ 1
34076-85 2шт.
|
Точечный
|
Хороший
|
Клепка вручную
|
|
Стенка 1 + стойка5 +
пояса2, 3
|
Заклепочное
|
Заклепки 4-10-1 ОСТ 1
34076-85 2шт.
|
Точечный
|
Хороший
|
Клепка вручную
|
|
Стенка 1 + стойка 6 +
пояса2, 3
|
Заклепочное
|
Заклепки 4-10-1 ОСТ 1
34076-85 2шт.
|
Точечный
|
Хороший
|
Клепка вручную
|
Пример
инструмента используемого при ручной клепки показан на рисунке 1.2.
Рисунок 1.2 - Молоток клепальный пневматический
1.3 Состав баз для сборки узла
Возможные методы базирования для каждой детали приведены в таблице 1.3.
нервюра узел сборка деталь
Таблица 1.3 - Состав баз для установки деталей узла задняя часть нервюры.
|
Деталь (позиция)
|
Эскиз
|
Метод базирования
|
Метод фиксации
|
Обоснование выбора метода
|
Примечание
|
|
1
|
2
|
3
|
4
|
5
|
6
|
|
Стенка (1)
|
|
По оси Ох - по базовым
отверстиям (БО); По оси Оу - по БО; По оси Оz - По
поверхности опорной плиты.
|
Нормализованный фиксатор
штыревого типа
|
Данный метода позволяет
расположить стенку в удобном для сборки положении горизонтально
|
Метод базирования в
сборочном приспособлении
|
|
Пояс (2)
|
|
По оси ОХ - по упорам По
оси ОY - по рубильникам. По оси ОZ - по поверхности детали
|
Прижим
|
Базирование стенки в
сборочном приспособлении необходимо для обеспечения точности наружных обводов
и придания ей повышенной жесткости при сборки
|
Основной метод базирования
по рубильникам
|
|
Пояс (3)
|
Аналогично поясу 2
|
То же
|
То же
|
То же
|
То же
|
|
Профиль (4)
|

|
По оси ОХ - по поверхности
сопрягаемой детали; По оси ОY - по поверхности сопрягаемой детали; По оси ОZ -
по упорам
|
Прижим
|
Профиль находится на
определенном расстоянии от оси лонжерона, а значит, требует точность при
сборке.
|
Метод базирования по
поверхности опор
|
|
Стойка (5)
|

|
По оси ОХ - по сборочным
отверстиям (СО) По оси ОY - по СО По оси ОZ - по
поверхности сопрягаемой детали
|
Технологические болты
|
Профиль не оказывает
влияние на точность обводов и допуск на положение стоек не назначен, а
базирование по СО наиболее простой метод.
|
Метод базирования по СО
|
|
Стойка (6)
|
Аналогично стойке 5
|
То же
|
То же
|
То же
|
То же
|
Схема состава баз показана на рисунке 1.3
На основе разработанной схемы базирования будет разрабатываться проект
технологического процесса и схема сборочного приспособления.
Рисунок 1.3 - Схема базирования узла задняя часть нервюры
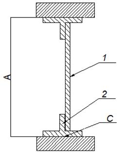
Оценим предполагаемую точность сборочной единицы при базировании в
сборочном приспособлении по внешней поверхности в сечении А-А (рисунок 1.4)
-стенка; 2 - пояс; С - пружинение
Рисунок 1.4 - Сечения для расчета погрешности сборки
Используем формулу:
(1.1)
где
- погрешность монтажа сборочного приспособления;
- погрешность вследствие деформации и пружинения;
- погрешность изготовления рубильников.
Погрешность монтажа сборочного приспособления зависит от выбранного
метода монтажа. Выберем монтаж с использованием инструментального стенда, тогда
погрешность составляет ±0.2 мм. Погрешность вследствие деформации и пружинения
составляет ±0,3 мм. Погрешность изготовления оснастки равна ±0,02 мм.
Тогда:
Рассчитанная погрешность входит в допустимый интервал погрешности сборки.
Следовательно, данный метод подходит для обеспечения заданной точности узла.
1.4 Укрупненный технологический процесс сборки узла
Детали устанавливаются в следующей последовательности: стенка 1 пояс 2
пояс 3 профиль 4 стойка 5 стойка 6.
Укрупненный технологический процесс сборки задней части нервюры приведен
в таблице 1.4
Таблица 1.4 - Укрупненный технологический процесс сборки задней части
нервюры
|
Операция
|
Типовой процесс
|
Инструменты, оснастка,
оборудование
|
Примечания
|
|
1
|
2
|
3
|
4
|
|
1.Входной контроль
поступивших не сборку деталей
|
Визуально, вручную
|
Стол БТК, калибр,
штангенциркуль, линейка
|
Проверить геометрические
параметры, количество деталей
|
|
2.Установить в сборочное
приспособление стенку 1
|
Вручную по БО
|
Гаечный ключ, сборочное
приспособление
|
Технологические нормали
(болты, гайки)
|
|
3.Установить пояс 2 на стенку 1
|
Вручную по рубильникам,
упору и поверхности детали 1
|
Сборочное приспособление,
упоры, прижимы
|
Прижимаем прижимами с
внутренней стороны согласно схеме (стр.11, рис. 1.3.1)
|
|
4.Установить пояс 3 на
стенку 1
|
Вручную по рубильникам,
упору и поверхности детали 1
|
Сборочное приспособление,
упоры, прижимы
|
Прижимаем прижимами с
внутренней стороны согласно схеме (стр.11, рис. 1.3.1)
|
|
5. Установить профиль 4 по
упорам
|
Вручную по упорам и
поверхности стенки 1
|
Сборочное приспособление
упоры, прижимы
|
Прижимаем прижимами к
упорам согласно схеме (стр.11, рис. 1.3.1)
|
|
6. Установить по СО на
стенку 1 стойку 5
|
Вручную по СО в стенке 1
|
Гаечный ключ, сборочное
приспособление
|
Технологические нормали
(болты, гайки)
|
|
7. Установить по СО на
стенку 1 стойку 6
|
Вручную по СО в стенке 1
|
Гаечный ключ, сборочное
приспособление
|
Технологические нормали
(болты, гайки)
|
|
8. В соединении стенка 1 с
поясом 2 сверлить 54 отверстия диаметром 3мм
|
Сверление
|
Сверло 3 мм 2300-081 ГОСТ
19543-74, сверлильная машина СМ21-6-12000
|
Сверлить согласно чертежу
|
|
9. В соединении стенка 1 с
поясом 3 сверлить 45 отверстия диаметром 3мм
|
Сверление
|
Сверло 3 мм 2300-081 ГОСТ
19543-74, сверлильная машина СМ21-6-12000
|
Сверлить согласно чертежу
|
|
10. В соединении стенка 1 с
профилем 4 сверлить 10 отверстия диаметром 3мм
|
Сверление
|
Сверло 3 мм 2300-081 ГОСТ
19543-74, сверлильная
|
Сверлить согласно чертежу
|
|
|
машина СМ21-6-12000
|
|
|
11. В соединении стенка 1
со стойкой 5 сверлить 13 отверстия диаметром 3мм
|
Сверление
|
Сверло 3 мм 2300-081 ГОСТ
19543-74, сверлильная машина СМ21-6-12000
|
Сверлить согласно чертежу
|
|
12. В соединении стенка 1
со стойкой 6 сверлить 12 отверстия диаметром 3мм
|
Сверление
|
Сверло 3 мм 2300-081 ГОСТ
19543-74, сверлильная машина СМ21-6-12000
|
Сверлить согласно чертежу
|
|
13. В соединение деталей 1,
2, 3, 4 сверлить 2 точечных отверстия диаметром 4мм
|
Сверление
|
Сверло 4 мм 2300-081 ГОСТ
19543-74, машина сверлильная СМ21-6-12000
|
Сверлить согласно чертежу
|
|
14. В соединение деталей 1,
2, 3, 5 сверлить 2 точечных отверстия диаметром 4мм
|
Сверление
|
Сверло 4 мм 2300-081 ГОСТ
19543-74, машина сверлильная СМ21-6-12000
|
Сверлить согласно чертежу
|
|
15. В соединение деталей 1,
2, 3, 6 сверлить 2 точечных отверстия диаметром 4мм
|
Сверление
|
Сверло 4 мм 2300-081 ГОСТ
19543-74, машина сверлильная СМ21-6-12000
|
Сверлить согласно чертежу
|
|
16. Зачистка отверстий в
соединении стенка 1 с поясом 2
|
Зенкерование
|
Зенкер 3,3 мм 2320-2702
ГОСТ 12489-71, сверлильная машина СМ21-6-12000
|
Зенкеровать согласно
чертежу
|
|
17. Зачистка отверстий в
соединении стенка 1 с поясом 3
|
Зенкерование
|
Зенкер 3,3 мм 2320-2702
ГОСТ 12489-71, сверлильная
|
Зенкеровать согласно
чертежу
|
|
|
машина СМ21-6-12000
|
|
|
18. Зачистка отверстий в
соединении стенка 1 с профилем 4
|
Зенкерование
|
Зенкер 3,3 мм 2320-2702
ГОСТ 12489-71, сверлильная машина СМ21-6-12000
|
Зенкеровать согласно
чертежу
|
|
19. Зачистка отверстий в
соединении стенка 1 со стойкой 5
|
Зенкерование
|
Зенкер 3,3 мм 2320-2702
ГОСТ 12489-71, сверлильная машина СМ21-6-12000
|
Зенкеровать согласно
чертежу
|
|
20. Зачистка отверстий в
соединении стенка 1 со стойкой 6
|
Зенкерование
|
Зенкер 3,3 мм 2320-2702
ГОСТ 12489-71, сверлильная машина СМ21-6-12000
|
Зенкеровать согласно
чертежу
|
|
21. Зачистка отверстий в
соединение деталей 1, 2, 3, 4
|
Зенкерование
|
Зенкер 4,3 мм 2320-2706
ГОСТ 12489-71, сверлильная машина СМ21-6-12000
|
Зенкеровать согласно
чертежу
|
|
22. Зачистка отверстий в
соединение деталей 1, 2, 3, 5
|
Зенкерование
|
Зенкер 4,3 мм 2320-2706
ГОСТ 12489-71, сверлильная машина СМ21-6-12000
|
Зенкеровать согласно
чертежу
|
|
23. Зачистка отверстий в
соединение деталей 1, 2, 3, 6
|
Зенкерование
|
Зенкер 4,3 мм 2320-2706
ГОСТ 12489-71, сверлильная машина СМ21-6-12000
|
Зенкеровать согласно
чертежу
|
|
24. Контроль отверстий
|
Визуальный контроль,
измерение
|
Штангенциркуль ГОСТ 166-89;
линейка ГОСТ
|
Проверить на наличие
задиров, соответствие
|
|
|
427-75.
|
диаметров
|
|
25. Установить заклепки в
соединение стенка 1 с поясом 2 , клепать
|
Клепка
|
Молоток клепальный КМП -
24МЦ, поддержка, грунт ЭП-0215
|
54 заклепок 3-7-1 ОСТ 1
34076-85, заклепки ставить на грунт ЭП-0215
|
|
26. Установить заклепки в
соединение стенка 1 с поясом 3, клепать
|
Клепка
|
Молоток клепальный КМП -
24МЦ, поддержка, грунт ЭП-0215
|
45 заклепок 3-7-1 ОСТ 1
34076-85, заклепки ставить на грунт ЭП-0215
|
|
27. Установить заклепки в
соединение стенка 1 с профилем 4, клепать
|
Клепка
|
Клепальный молоток,
поддержка, грунт ЭП-0215
|
10 заклепок 3-7-1 ОСТ 1
34076-85, заклепки ставить на грунт ЭП-0215
|
|
28. Установить заклепки в
соединение стенка 1 со стойкой 5, клепать
|
Клепка
|
Клепальный молоток,
поддержка, грунт ЭП-0215
|
13 заклепок 3-7-1 ОСТ 1
34076-85, заклепки ставить на грунт ЭП-0215
|
|
29. Установить заклепки в
соединение стенка 1 со стойкой 6, клепать
|
Клепка
|
Клепальный молоток,
поддержка, грунт ЭП-0215
|
12 заклепок 3-7-1 ОСТ 1
34076-85, заклепки ставить на грунт ЭП-0215
|
|
30. Установить заклепки в
соединение деталей 1, 2, 3, 4, клепать
|
Клепка
|
Клепальный молоток,
поддержка, грунт ЭП-0215
|
2 заклепки 4-10-1 ОСТ 1
34076-85, заклепки ставит на грунт ЭП-0215
|
|
31-32. Повторить переход 29
для соединения деталей 1, 2, 3, 5 и 1, 2, 3, 6.
|
-
|
-
|
-
|
|
33.Контроль заклепочных
швов
|
Визуальное измерение
|
Шаблон для контроля
замыкающей головки, индикатор на опоре
|
|
|
34. Контроль сборки узла
|
Вручную
|
Стол БТК, калибр,
штангенциркуль, линейка
|
Проверить геометрические
параметры, установку деталей
|
|
34. Маркировка
|
Кисть, тушь
|
-
|
1.5 Технические условия поставки деталей на
сборку
Технические условия поставки деталей на сборки представлены в виде
таблице 1.5
Таблица 1.5 - Технические условия поставки деталей на сборки
|
Наименование детали
|
Технические условия
|
|
Стенка нервюры 1
|
Поставляется с полностью
готовыми геометрическими параметрами с выполненными СО для стоек 5 и 6 и БО
диаметром 2,7мм (Лист 1.0 ГОСТ 21631-76 из материала Д16АМ ГОСТ4784-74)
|
|
Пояс 2
|
Поставляется с полностью
готовыми геометрическими параметрами, выполненными направляющими отверстиями
(Профиль 420069 ГОСТ 13622-91 из материала Д16Т ГОСТ 4784-74)
|
|
Пояс 3
|
Поставляется с полностью
готовыми геометрическими параметрами, выполненными направляющими отверстиями
(Профиль 420069 ГОСТ 13622-91 из материала Д16Т ГОСТ 4784-74)
|
|
Профиль 4
|
Поставляется обрезанный по
длине, с выполненными направляющими отверстиями (Профиль 410596 ГОСТ 13738-80
из материала Д16Т ГОСТ 4784-74)
|
|
Стойка 5
|
Поставляется обрезанный по
длине с выполненными направляющими отверстиями (Профиль 410040 ГОСТ 13738-80
из материала Д16Т ГОСТ 4784-74)
|
|
Стойка 6
|
Поставляется обрезанный по
длине с выполненными направляющими отверстиями (Профиль 410040 ГОСТ 13738-80
из материала Д16Т ГОСТ 4784-74)
|
1.6 Техническое задание на проектирование
сборочного приспособления
Приспособление стационарное, рамного типа, расположено горизонтально,
хорда параллельно полу.
Приспособление включает в себя:
- несущие элементы - вертикальные стойки, горизонтальное
основание;
- фиксирующие элементы - упоры, установленные на стойках;
- зажимные элементы - прижимы винтового типа с крючковым
болтом.
Рубильники выполнить по внешней поверхности пояса 2 и 3. Установить упоры
для задания правильного положения поясов 2,3 и профиля 4. Установить прижимы
для фиксирования поясов и профиля 4.
На раме установить дополнительное местное освещение, разводку сжатого
воздуха и силовой электроэнергии.
Схема сборочного приспособления представлена в приложении 1 на чертеже
1.013.03.00.СБ в приложении А.
. РАЗРАБОТКА ТЕХНОЛОГИЧЕСКОГО ПРОЦЕССА ИЗГОТОВЛЕНИЯ ДЕТАЛЕЙ УЗЛА «ЗАДНЯЯ
ЧАСТЬ НЕРВЮРЫ
2.1 Технологический процесс изготовления детали
«Стенка 1»
.1.1Конструктивно-технологическое описание
детали «Стенка 1»
Конструктивно-технологическое описание детали представлено в таблице 2.1.
Таблица 2.1 - Конструктивно - технологическое описание детали №1 «Стенка»
|
Свойства детали
|
Содержание свойства
|
Примечание
|
|
|
1
|
2
|
3
|
|
|
1 Общие свойства детали
|
|
|
1.1 Номер детали
|
1.013.00.01
|
|
|
|
1.2 Наименование
|
Стенка
|
|
|
|
1.3 Назначение
|
Деталь внутреннего набора
самолета (каркаса)
|
|
|
1.4 Общий вид детали
|
|
|
2 Характеристика
полуфабриката
|
|
|
2.1 Марка материала
полуфабриката
|
Д16АМ, сплав системы Al-Cu-Mg.
А - лист с нормальной плакировкой, М - в отожженной мягком состоянии.
|
ГОСТ 4784-74 «Алюминий и
алюминиевые сплавы деформируемые»; термически упрочняемый.
|
|
|
2.2 Вид полуфабриката
|
Лист Д16АМ ГОСТ 21631 - 76
|
|
|
2.3 Размеры и допуски
|
1,0±0,02 ´1200±0,15 ´2000-0,18
|
|
|
2.4 Физико-механические
характеристики материала полуфабриката
|
|
|
а) относительное удлинение δ
|
12%
|
В отожженном состоянии
|
|
|
б) предел прочности σB
|
145-225 МПа
|
В отожженном состоянии
|
|
|
в) предел текучести σ0.2
|
-
|
Материал без выраженного
предела текучести
|
|
|
г) обрабатываемость
давлением
|
Высокая
|
Обладает высокой
пластичностью в отожженном состоянии
|
|
|
д) обрабатываемость
резанием
|
Удовлетворительная
|
|
|
|
2.5 Состояние поверхности
|
|
|
Шероховатость
|
Ra = 1,25
|
|
|
|
3 Конструкция детали
|
|
|
3.1 Основная форма
|
Плоская
|
|
|
|
3.2 Состав элементов, их
компоновка
|
Состоит из стенки с двумя
криволинейными и одной прямолинейной кромками. Имеется 3 отбортовки разных по
направления и размерам и рифт
|
|
|
|
4 Габаритные размеры, мм
|
|
|
|
|
5 Механические свойства
материала готовой детали
|
|
|
а) предел прочности б)
относительное удлинение
|
225МПа 10%
|
|
|
|
6 Схема покрытий
|
Ан.Окс. НХР.
(анодно-окисное окрашивание наполнением в растворе хромпика) Грунт ФЛ-086
(фенолформальдегидная)
|
Распространённые покрытия с
хорошо освоенными технологиями
|
|
Характеристика элементов приведена в таблице 2.2
Таблица 2.2 - Характеристика элементов
|
Элемент
|
Основная форма
|
Основной размер
|
Допуск на основной размер
|
Шероховатость поверхностей
|
|
|
|
|
Поверхность элемента
|
Значение
|
|
Стенка
|
Плоская, криволинейная
|
1200 247 мм
|
±1мм
|
Торцы
|
Ra 3,2
|
|
|
|
|
Поверхность
|
В состоянии поставки
|
|
Отверстие
|
Круглая форма
|
24мм
|
±0,3мм
|
Торцы
|
Ra 3,2
|
|
Отбортовка 1 -3-43Б
|
Круглая тарельчатая
отбортовка 3 типа, направленная вниз
|
D1=51мм; D=43мм; d1=37мм.
|
±2,5мм
|
Торцы
|
Ra 3,2
|
|
Отбортовка 1-3-48А
|
Круглая тарельчатая
отбортовка 3 типа, направленная вверх
|
D1=56мм; D=48мм; d1=42мм.
|
±2,5мм
|
Торцы
|
Ra 3,2
|
|
Отбортовка 1-3-60А
|
Круглая тарельчатая
отбортовка 3 типа, направленная вверх
|
D1=70мм; D=60мм; d1=53мм.
|
±2,5мм
|
Торцы
|
Ra 3,2
|
|
Рифт
|
1 типа, номер 4,
направленный вверх
|
Длина 240мм, ширина 20мм
|
±1,15мм
|
Поверхность
|
В состоянии поставки
|
2.1.2 Укрупненный технологический процесс
изготовления детали «Стенка 1»
Исходный полуфабрикат представляет собой лист с габаритными размерами 2000
× 1200 мм;
. Изготовление из полуфабриката заготовки: поскольку заготовка имеет
сложный криволинейный контур, целесообразнее получить контур заготовки раскроем
на фрезерном станке из пакета листов;
2. Термическая обработка: так как лист поставляется в отожженном
состоянии, то не подлежит промежуточной термообработки;
. Формирование элементов жесткости (отбортовок, рифта): для
образования стандартных отбортовок и рифта используем жесткий штамп;
. Упрочняющая термообработка: после завершения всех формообразующих
операций, деталь подвергается закалке и искусственному старению, для придания
ей максимальной прочности;
. Получение оксидной плёнки: для получения оксидной пленки
применим метод анодного оксидирования с наполнением раствором хромпика;
. Получение плёнки грунта: нанесение грунтовки краскораспылителем;
. Нанесение маркировки: маркировка наносится вручную, написанием
номера детали перьевой ручкой
Таким образом, для изготовления детали может быть применена схема
технологического процесса, содержащая операции:
. изготовить из полуфабриката заготовку;
2. придание заготовки предварительной геометрии;
. штамповать отбортовки и рифт;
. выполнить окончательную термическую обработку;
. образование БО и СО;
. покрытие;
. окончательный контроль;
. нанести маркировку на поверхности детали;
В соответствии с принятой в самолетостроении системой контроль
выполняется после каждой операции.
Операция 1. Изготовление заготовки.
Поскольку габаритные размеры заготовки достаточно велики, чтобы вырубать
ее в штампе, поэтому для получения заготовки будем использовать фрезерование.
Фрезерование - это наиболее производительный процесс обработки плоских и
фасонных поверхностей. Заготовки будем фрезеровать из пакета листов на
копировально-фрезерном станке, используя шаблон группового раскроя
Для оценки экономичности раскроя, определим коэффициент использования
материала (КИМ) по формуле:
(2.1)
где
- площадь заготовки, мм2;
- количество заготовок из одного листа полуфабриката, шт.;
- площадь листа полуфабриката, мм2;
= 2000
1200 = 240
.
Для более рационального использования материала, необходимо разработать
карту раскроя заготовок. Карта раскроя представлена на рисунке 2.1
Рисунок 2.1 - Карта раскроя полуфабриката
Заготовки будем фрезеровать из пакета листов на копировально-фрезерном
станке LH-2200.
Станок копировально-фрезерный LH-2200 предназначен для раскроя фрезерованием листовых заготовок из
цветных металлов пакетом толщиной до 25 мм с любым криволинейным наружным и
внутренним контуром, а также для сверления отверстий до 15 мм в
крупногабаритных заготовках. Его технические характеристики приведены в таблице
2.3.
Рисунок 2.2 - Копировально-фрезерный станок
Таблица 2.3 - Технические характеристики копировально-фрезерного станка
|
Характеристика
|
Технические параметры
|
|
1
|
2
|
|
Размеры рабочей поверхности
Д ×
Ш, (мм)
|
2200х1400
|
|
Расстояние от торца шпинделя
до поверхности стола, (мм)
|
наибольшее: 295 наименьшее:
80
|
|
Частота вращения
электрошпинделя, (об/мин):
|
номинальная: 9000
максимальная: 16000
|
|
Мощность приводы фрезы,
(кВт):
|
7,5
|
|
Номинальный крутящий момент
на шпинделе, (Нм)
|
13,5
|
|
Конус шпинделя
|
HSK-F63
|
|
Наибольший диаметр
инструмента, (мм)
|
30
|
|
Дискретность задания
перемещения, (мм)
|
0,01
|
|
Стабильность
позиционирования(по координатам Х, Y, Z), (мм)
|
0,04
|
|
Габаритные размеры станка
ДхШхВ, (мм)
|
4500×16000×1500
|
|
Масса станка, (кг)
|
2520
|
Операция 2. Придание заготовке предварительной геометрии.
После разделения полуфабриката на заготовки, необходимо зачистить
поверхность кромок, удалить заусеницы.
Операция 3. Формообразование.
Деформирование заготовки будет осуществляться жесткими штампами.
Преимущество этого метода в том, что штампы унифицированы для стандартных
отбортовок и рифтов.
Определим усилие необходимое для пробивки отбортовки по формуле:
, (2.2)
где L - периметр контура пробивки, мм;
S -
толщина штампуемого материала, мм;
- сопротивление срезу, МПа.
Посчитаем усилие, необходимое для пробивки самой большой отбортовки.
Тогда получим, что:
При пробивки заготовку удерживаем в нужном положении прижимным
устройством, для которого требуется усилие:
, (2.3)
Тогда получим, что требуемое усилие равно:
.
В результате общее усилие вырубки получится равное:
, (2.4)
.
По общему усилию подбирается кривошипный пресс КВ2132 (рисунок 2.3) для
пробивки отбортовок в заготовке. Характеристики пресса приведены в таблице 2.4.
Таблица 2.4 - Техническая характеристика кривошипного пресса КВ2132
|
Характеристика
|
Технические параметры
|
|
1
|
2
|
|
Номинальное усилие пресса,
(кН)
|
1600
|
|
Ход ползуна (штока), (мм)
|
наибольшее: 25 наименьшее:
160
|
|
Частота ходов ползуна
одиночных, (1/мин):
|
28
|
|
Частота ходов ползуна
непрерывных, (1/мин):
|
71
|
|
Размеры стола, (мм)
|
1200×670
|
|
Размеры отверстия в столе,
(мм)
|
480×320
|
|
Расстояние от оси штока до
станины (вылет), (мм)
|
360
|
|
Толщина подштамповой плиты,
(мм)
|
120
|
|
Электродвигатель главного
привода, (кВТ)
|
19
|
|
Габаритные размеры станка
ДхШхВ, (мм)
|
2340×2100×3700
|
|
Масса станка, (кг)
|
14000
|
Рисунок 2.3 - Пресс кривошипный КВ2132
Операция 4. Термообработка
Окончательную термообработку проводим после завершения всех
формообразующих операций. Нагреваем деталь до 470°С, выдерживаем 2
часа при температуре 170-190°С с последующим охлаждением в воде.
(деталь подвергается закалке и последующему искусственному старению).
Операция 5. Сверление отверстий
Необходимо просверлить два базовых отверстия Ø
4 мм по ШОК для
базирования детали в сборочном приспособлении, 6 сборочных отверстий диаметром Ø
3 мм, используя
сверлильную машину СМ21-6-12000
Операция 6. Покрытие.
После окончательной термообработки на деталь наносится покрытие, перед
нанесением покрытия деталь обезжиривают специальным раствором при температуре
50-60°С в течении 5 минут, после чего промывают водой. Далее
проводится анодная оксидирование с наполнением раствором хромпика. Затем
наносится слой грунтовки ФЛ-086 желтого цвета, распылителем из
краскораспылителя. После всего деталь сушат при температуре 80°С в
течении 2 часов.
Операция 7. Контроль.
После выполнения всех вышеперечисленных операций, деталь подвергается
окончательному контролю. В ходе данной операции будет произведен контроль
размеров, контроль шероховатости поверхности при помощи образцов шероховатости
и правильность формовки бортов с помощью шаблона внутреннего контура (ШВК).
Операция 8. Маркировка.
Последней операцией является маркировка детали, проводится вручную
перьевой ручкой.
2.2 Технологический процесс изготовления детали
«Пояс 2»
.2.1 Конструктивно-технологическое описание
детали «Пояс 2»
Конструктивно-технологическое описание детали представлено в таблице 2.5.
Таблица 2.5 - Конструктивно - технологическое описание детали «Пояс 2»
|
Свойства детали
|
Содержание свойства
|
Примечание
|
|
1
|
2
|
3
|
|
1 Общие свойства детали
|
|
1.1 Номер детали
|
1.013.00.03
|
|
|
1.2 Наименование
|
Пояс
|
|
|
1.3 Назначение
|
Деталь внутреннего набора
самолета (каркаса)
|
|
1.4 Общий вид детали
|
|
|
2 Характеристика
полуфабриката
|
|
2.1 Марка материала
полуфабриката
|
Д16Т, сплав системы Al-Cu-Mg.
Т- закаленный, естественное состаренный.
|
ГОСТ 4784-74 «Алюминий и
алюминиевые сплавы деформируемые»; термически упрочняемый.
|
|
2.2 Вид полуфабриката
|
Профиль 420069 ГОСТ
13622-91 Д16Т ГОСТ 4784-74
|
|
2.3 Размеры и допуски
|
H=20±0,2мм; L=3000±2мм
В=30±0,2мм; S=S1=1,5±0,15мм;R=2±0,15мм; r=0,7±0,15мм;
|
|
2.4 Физико-механические
характеристики материала полуфабриката
|
|
а) относительное удлинение δ
|
10%
|
После закалки и старения,
ГОСТ 8617-81
|
|
б) предел прочности σB
|
440 МПа
|
|
|
в) предел текучести σ0.2
|
320МПа
|
|
|
г) обрабатываемость
давлением
|
Удовлетворительная
|
Обладает очень высокой
пластичностью в отожженном состоянии
|
|
д) обрабатываемость
резанием
|
Хорошая
|
|
|
2.5 Состояние поверхности
|
|
Шероховатость
|
необрабатываемые
поверхности в состоянии поставки, обрабатываемые Ra = 6,3
|
ГОСТ 2789-73
|
|
3 Конструкция детали
|
|
3.1 Основная форма
|
Криволинейная, в сечение
прямоугольный равнополочный тавр
|
ГОСТ 13622-91
|
|
3.2 Состав элементов, их
компоновка
|
Профиль, состоящий из
стенки и полки с выполненными направляющими отверстиями
|
|
|
4 Механические свойства
материала готовой детали
|
|
а) предел прочности б)
предел текучести
|
440МПа 320МПа
|
После закалки и
естественного
|
|
в) относительное удлинение
|
10%
|
старения
|
|
6 Схема покрытий
|
Ан.Окс. НХР.
(анодно-окисное окрашивание наполнением в растворе хромпика) Грунт ФЛ-086
(фенолформальдегидная)
|
Распространённые покрытия с
хорошо освоенными технологиями
|
2.2.2 Укрупненный технологический процесс
изготовления детали «Пояс»
Исходный полуфабрикат представляет собой профиль с прямоугольным
равнополочным тавром в сечении длиной 3000мм;
Для изготовления детали может быть применена схема технологического
процесса, содержащая операции:
. изготовить из полуфабриката заготовку;
. придание заготовки предварительной геометрии;
. провести отжиг;
. придать заготовки основную форму детали;
. провести упрочняющую термообработку;
. выполнить отверстия;
. выполнить доводку;
. получить покрытие детали;
. нанести маркировку.
В соответствии с принятой в самолетостроении системой контроль
выполняется после каждой операции.
Операция 1. Получение заготовки.
Так как готовая детали имеет обводную кривизну, то необходимо при нарезке
полуфабриката на дисковой пиле, учитывать припуск на гибку и припуск на толщину
диска пилы и доработку.
Общая длина развертки складывается из 3 радиусных переходов и 1
прямолинейного участка (рисунок 2.4).
Рисунок 2.4 - Схема расчета длины заготовки
Длина заготовки радиусного перехода рассчитывается
(2.5)
где β -
угол изгиба, рад;- внутренний радиус детали,мм;
К- коэффициент, зависящий от соотношения толщины детали ивнутреннего
радиуса;
S -
толщина детали, мм.
В данном примере будет 4 разных радиусных перехода:
β1 = 0,4189;1 =689,6мм;
К1=0,5;=1,5мм
β2 = 0,153;2 =786,08мм;
К2=0,5;
β3 = 0,289;3 =2423,68мм;
К3=0,5;
Общую длну заготовки рассчитываем по формуле:
(2.6)
где
-
длины прямолинейных участков, мм;
- длины радиусных переходов,мм;
а = 1,5 - припуск на резку дисковой пилой,мм;
Таким образом общая длина заготовки будет равна:
Для оценки экономичности раскроя, определим коэффициент использования
материала (КИМ) по формуле:
(2.7)
где
- длина заготовки, мм;
- количество заготовок из одного полуфабриката, шт.;
- длина полуфабриката полуфабриката, мм;
= 3000мм
Следовательно полуфабрикат профиль
распиливается на заготовки длиной
1323 мм. Отрезку будем производить на дисковой пиле диаметром 300 мм со
скоростью резания 2000 об/мин типа В62.
Операция 2. Придание заготовке предварительной геометрии.
После разделения полуфабриката на заготовки, необходимо зачистить
поверхность кромок, удалить заусеницы.
Операция 3. Промежуточная термообработка.
Для предания заготовке пластичности перед гибкой применим полный отжиг,
так как при полном отжиге полностью снимается упрочнение, полученное в
результате закалки и старения и в значительной мере снимаются внутренние
остаточные напряжения.
Отжиг будем проводить при температуре 3800-4200 С в
течении 30 минут с последующим охлаждении в печи около 60 минут.
Операция 4. Придать общую форму.
Для того чтобы предать заготовке нужную кривизну, будем обтягивать ее по
оправке на станке профилегибочном обтяжно-растяжном.
Определим усилие гибки по формуле:
, (2.8)
где
- площадь поперечного сечении заготовки, мм2;
напряжение, соответствующее заданной степени растяжения при
заданной температуре нагрева, МПа;
площадь поперечного сечения растяжного цилиндра, мм2
.
Возьмем самый маленький радиус из имеющихся, получим, что:
Необходимо рассчитать угол пружинения:
(2.9)
где
угол пружинения, рад;
- угол гиба, рад;
- модуль упругости;
радиус нейтрального слоя;
толщина детали.
-радиус нейтрального слоя закругления детали определяется по
формуле
(2.11)
где
радиус гибки, мм;
величина, зависящая от отношения
Тогда:
Для гибки заготовки выберем станок профилегибочный обтяжно-растяжной
модели ПГР-7М (рисунок 2.5). Технические характеристики станка приведены в
таблице 2.6
Рисунок 2.5 - Обтяжно-растяжной станок ПГР - 7М
Таблица 2.6 - Технические характеристики станка ПГР-7М
|
Характеристика
|
Технические параметры
|
|
1
|
2
|
|
Усилие растяжного цилиндра,
мм
|
наименьшее : 50 наибольшее:
250
|
|
Высота оси зажимов над
столом, мм
|
340
|
|
Длина обрабатываемой
заготовки, мм
|
наименьшее : 1000
наибольшее: 7000
|
|
Наибольший угол гибки, град
При диаметре оправки 2800мм При диаметре оправки 800мм
|
200 180
|
|
Общая мощность
электродвигателей, кВт
|
70
|
|
Габариты станка, мм
|
10624×2255×6740
|
|
Масса станка, кг
|
22000
|
После гибки необходимо проверить отсутствие трещин (визуально),
отсутствие утонения (допускается не больше 20% от исходной толщины,
тощиномером), отклонение обводов деталей (ШГ), плоскость детали (контрольная
плита).
Операция 5. Упрочняющая термообработка.
В качестве упрочняющей термообработки примем закалку с нагревом до 4850-5030
С в течении 20 минут и естественное старение в течении 4 суток при температуре
200 С.
Операция 6. Доводка формы стенок и полок.
На этом этапе необходимо получить общий контур детали. Для этого
полученную заготовку размечают по ШГ и проводят обработку.
Операция 7. Получение отверстий.
Далее в детали сверлятся 54 направляющих отверстия (НО) диаметром 3 мм,
используя сверлильную машину СМ21-6-12000
Операция 8. Получение покрытия
На деталь наносится покрытие, перед нанесением покрытия деталь
обезжиривают специальным раствором при температуре 50-60°С в течении
5 минут, после чего промывают водой. Далее проводится анодное оксидирование с
наполнением раствором хромпика. Затем наносится слой грунтовки ФЛ-086 желтого
цвета, распылителем из краскораспылителя. После всего деталь сушат при
температуре 80°С в течении 2 часов.
Операция 9. Окончательный контроль.
На этом этапе проводят контроль правильности гибки профиля по ШГ, формовки
подсечки и расположения отверстий по ШОК.
Операция 10. Нанесение маркировки.
Маркировка будет наносится вручную написанием номера детали перьевой
ручкой.
Так как деталь «Пояс 3» имеет такие же технологические и конструктивные
признаки что и «Пояс 2», то для ее изготовления воспользуемся типовым
технологическим процессом. Отличие только в габаритных размерах и количестве
направляющих отверстий.
2.3 Технологический процесс изготовления детали
«Профиль 4»
.3.1 Конструктивно-технологическое описание
детали «Профиль4»
Конструктивно-технологическое описание детали представлено в таблице 2.7.
Таблица 2.7 - Конструктивно - технологическое описание детали «Профиль4»
|
Свойства детали
|
Содержание свойства
|
Примечание
|
|
1
|
2
|
3
|
|
1 Общие свойства детали
|
|
1.1 Номер детали
|
1.013.00.04
|
|
|
1.2 Наименование
|
Профиль
|
|
|
1.3 Назначение
|
Деталь внутреннего набора
самолета (каркаса)
|
|
1.4 Общий вид детали
|
|
|
2 Характеристика
полуфабриката
|
|
2.1 Марка материала
полуфабриката
|
Д16Т, сплав системы Al-Cu-Mg.
Т- закаленный, естественное состаренный.
|
2.1 Марка материала
полуфабриката
|
|
2.2 Вид полуфабриката
|
Профиль 410596 ГОСТ
13738-80 Д16Т ГОСТ 4784-74
|
|
2.3 Размеры и допуски
|
H=25±0,2мм; L=1000±1,5мм
В=18±0,2мм;S=2,5±0,15мм;S1=2±0,15мм;R=2,5±0,15мм
R1=1±0,15мм; R2=1,5±0,15мм;
r=0,7±0,15мм;
|
|
2.4 Физико-механические
характеристики материала полуфабриката
|
|
а) относительное удлинение δ
|
10%
|
После закалки и старения,
ГОСТ 8617-81
|
|
б) предел прочности σB
|
440 МПа
|
|
|
в) предел текучести σ0.2
|
320МПа
|
|
|
г) обрабатываемость
давлением
|
Удовлетворительная
|
Обладает очень высокой
пластичностью в отожженном состоянии
|
|
д) обрабатываемость
резанием
|
Хорошая
|
|
|
2.5 Состояние поверхности
|
|
Шероховатость
|
необрабатываемые
поверхности в состоянии поставки, обрабатываемые Ra = 6,3
|
ГОСТ 2789-73
|
|
3 Конструкция детали
|
|
3.1 Основная форма
|
Прямолинейная, в сечение
прямоугольный неравнополочный уголок
|
ГОСТ 13738-80
|
|
3.2 Состав элементов, их
компоновка
|
Профиль, обрезанный по
длине с выполненными направляющими отверстиями
|
|
|
4 Механические свойства
материала готовой детали
|
|
а) предел прочности б)
предел текучести в) относительное удлинение
|
440МПа 320МПа 10%
|
После закалки и естественного
старения
|
|
6 Схема покрытий
|
Ан.Окс. НХР.
(анодно-окисное окрашивание наполнением в растворе хромпика) Грунт ФЛ-086
(фенолформальдегидная)
|
Распространённые покрытия с
хорошо освоенными технологиями
|
|
|
|
|
|
2.3.2 Укрупненный технологический процесс
изготовления детали «Профиль 4»
Для изготовления детали может быть применена схема технологического
процесса, содержащая операции:
. изготовить из полуфабриката заготовку;
2. придать заготовки предварительную геометрию;
. выполнение отверстий;
. покрытие;
. окончательный контроль;
. нанести маркировку на поверхности детали;
В соответствии с принятой в самолетостроении системой контроль
выполняется после каждой операции.
Операция 1. Изготовление первичной заготовки.
Определим длину заготовки
(2.12)
где
LД - длина детали, мм;- припуск на доработку,мм;
b- припуск на дисковойрезку пилой, мм.
Примем
в качестве полуфабриката для детали профиль
длиной
1000мм. Из начального профиля возможно нарезать 9 заготовок длиной 104мм. Тогда
КИМ
(2.13)
где
- длина заготовки, мм;
- количество заготовок из одного полуфабриката, шт.;
- длина полуфабриката полуфабриката, мм;
= 1000мм
Отрезку будем производить на дисковой пиле диаметром 300 мм со скоростью
резания 2000 об/мин типа В62.
Операция 2. Придание заготовке предварительной геометрии.
После разделения полуфабриката на заготовки, необходимо зачистить
поверхность кромок, удалить заусеницы.
Операция 3. Образование отверстий
Сверлим направляющие отверстия Ø 3 мм для этого применим сверлильная
машина СМ21-6-12000.
Операция 4. Покрытие
На деталь наносится покрытие, перед нанесением покрытия деталь
обезжиривают специальным раствором при температуре 50-60°С в течении
5 минут, после чего промывают водой. Далее проводится анодное оксидирование с
наполнением раствором хромпика. Затем наносится слой грунтовки ФЛ-086 желтого
цвета, распылителем из краскораспылителя. После всего деталь сушат при
температуре 80°С в течении 2 часов.
Операция 5. Контроль.
После выполнения всех вышеперечисленных операций, деталь подвергается
окончательному контролю. В ходе данной операции будет произведен контроль
размеров, контроль шероховатости поверхности при помощи образцов шероховатости и
правильность контура по ШК.
Операция 6. Нанесение маркировки.
Маркировка будет наносится вручную написанием номера детали перьевой
ручкой.
Так как деталь «Стойка 5» имеет такие же технологические и конструктивное
особенности, то при изготовлении детали будет использован типовой
технологический процесс. Отличаются они габаритными размерами.
2.4 Технологический процесс изготовления детали
«Стойка 6»
.4.1 Конструктивно-технологическое описание
детали «Стойка 6»
Конструктивно-технологическое описание детали представлено в таблице 2.8.
Таблица 2.8 - Конструктивно - технологическое описание детали «Стойка 6»
|
Свойства детали
|
Содержание свойства
|
Примечание
|
|
|
1
|
2
|
3
|
|
|
1 Общие свойства детали
|
|
|
1.1 Номер детали
|
1.013.00.06
|
|
|
|
1.2 Наименование
|
Стойка
|
|
|
|
1.3 Назначение
|
Деталь внутреннего набора
самолета (каркаса)
|
|
|
1.4 Общий вид детали
|
|
|
2 Характеристика
полуфабриката
|
|
|
2.1 Марка материала
полуфабриката
|
Д16Т, сплав системы Al-Cu-Mg.
Т- закаленный, естественное состаренный.
|
ГОСТ 4784-74 «Алюминий и
алюминиевые сплавы деформируемые»; термически упрочняемый.
|
|
|
2.2 Вид полуфабриката
|
Профиль 41040 ГОСТ 13737-80
Д16Т ГОСТ 4784-74
|
|
|
2.3 Размеры и допуски
|
H=20±0,2мм; L=1500±1,5мм
t=2,0±0,15мм;rвнут=2,0±0,15мм; rвнеш=1,0±0,15мм;
|
|
|
2.4 Физико-механические
характеристики материала полуфабриката
|
|
|
а) относительное удлинение δ
|
10%
|
После закалки и старения,
ГОСТ 8617-81
|
|
|
б) предел прочности σB
|
440 МПа
|
|
|
|
в) предел текучести σ0.2
|
320МПа
|
|
|
|
г) обрабатываемость
давлением
|
Удовлетворительная
|
Обладает очень высокой
пластичностью в отожженном состоянии
|
|
|
д) обрабатываемость
резанием
|
Хорошая
|
|
|
|
2.5 Состояние поверхности
|
|
|
Шероховатость
|
необрабатываемые
поверхности в состоянии поставки, обрабатываемые Ra = 6,3
|
ГОСТ 2789-73
|
|
|
3 Конструкция детали
|
|
|
3.1 Основная форма
|
Криволинейная, в сечение
прямоугольный равнополочный уголок
|
ГОСТ 13737-80
|
|
|
3.2 Состав элементов, их
компоновка
|
Профиль, обрезанный по
длине с выполненными направляющими отверстиями
|
|
|
|
4 Механические свойства
материала готовой детали
|
|
|
а) предел прочности
|
440МПа
|
После закалки и
|
|
|
б) предел текучести в)
относительное удлинение
|
320МПа 10%
|
естественного старения
|
|
|
6 Схема покрытий
|
Ан.Окс. НХР.
(анодно-окисное окрашивание наполнением в растворе хромпика) Грунт ФЛ-086
(фенолформальдегидная)
|
Распространённые покрытия с
хорошо освоенными технологиями
|
|
2.4.2 Укрупненный технологический процесс
изготовления детали «Стойка 6»
Исходный полуфабрикат представляет собой профиль с прямоугольным
равнополочным уголком в сечении длиной 1000мм;
Для изготовления детали может быть применена схема технологического
процесса, содержащая операции:
. изготовить из полуфабриката заготовку;
. придание заготовки предварительную геометрию;
. провести отжиг;
. придать заготовки основную форму детали;
. доводка;
. провести упрочняющую термообработку;
. выполнить отверстия;
. получить покрытие детали;
. нанести маркировку.
В соответствии с принятой в самолетостроении системой контроль
выполняется после каждой операции.
Операция 1. Получение заготовки.
Так как готовая детали имеет обводную кривизну, то необходимо при нарезке
полуфабриката на дисковой пиле, учитывать припуск на гибку и припуск на толщину
диска пилы и доработку.
Рисунок 2.6 - Схема расчета длины заготовки
Рассчитаем длину развертки по формуле:
(2.14)
где r - внутренний радиус детали,мм;
α- угол между концами дуги, град;
Тогда:
Определим длину заготовки
(2.15)
где
Lр - длина детали, мм;- припуск на доработку,мм;
b- припуск на дисковойрезку пилой, мм.
Для оценки экономичности раскроя, определим коэффициент использования
материала (КИМ) по формуле:
(2.16)
где
- длина заготовки, мм;
- количество заготовок из одного полуфабриката, шт.;
- длина полуфабриката полуфабриката, мм;
= 1500мм
Следовательно полуфабрикат профиль
распиливается на заготовки длиной
264 мм. Отрезку будем производить на дисковой пиле диаметром 300 мм со
скоростью резания 2000 об/мин типа В62.
После отрезки проводим правку заготовки. Контролируем соответствие марки
материала (визуально), геометрических параметров (штангенциркуль),
шероховатость (образцы шероховатости).
Операция 2. Придание заготовке предварительной геометрии.
После разделения полуфабриката на заготовки, необходимо зачистить
поверхность кромок, удалить заусеницы.
Операция 3. Промежуточная термообработка.
Для предания заготовке пластичности перед гибкой применим полный отжиг,
так как при полном отжиге полностью снимается упрочнение, полученное в
результате закалки и старения и в значительной мере снимаются внутренние
остаточные напряжения.
Отжиг будем проводить при температуре 3800-4200 С в
течении 20 минут с последующим охлаждении в печи.
Операция 4. Придать общую форму.
Для достижения стабильных размеров и уменьшения объемов доводки будет
выполнять гибку на профилегибочном станке
Определим усилие гибки по формуле:
, (2.17)
где
- коэффициент, учитывающий трение между матрицей и
заготовкой, мм2;
предел прочности, МПа;
длина заготовки, МПа;
толщина заготовки,мм;
радиус гиба.
Возьмем самый маленький радиус из имеющихся, получим, что:
Необходимо рассчитать угол пружинения:
(2.18)
где
угол пружинения, рад;
- угол гиба, рад;
- модуль упругости;
радиус нейтрального слоя;
толщина детали.
Радиус нейтрального слоя закругления детали определяется по формуле
(2.20)
где
радиус гибки, мм;
величина, зависящая от отношения
Тогда:
Производим операцию при помощи SAHINLER HPK-100. Параметры станка
приведены в таблице 2.9 (рисунок 2.7).
Таблица 2.9 - Техническая характеристика SAHINLER HPK-100.
|
Характеристика
|
Технические параметры
|
|
1
|
2
|
|
Диаметр вала, мм
|
100
|
|
Габаритные размеры
обрабатываемой заготовки, мм
|
минимальная : 250
максимальная: 5500
|
|
Наибольший угол изгиба,
град
|
180
|
|
Скорость вращения роликов,
м/мин
|
7
|
|
Суммарная мощность привода,
кВт
|
7,5
|
|
Габариты станка, мм
|
1465×3100×1700
|
|
Масса станка, кг
|
4300
|
Рисунок 2.7 - Станок ПРГ SAHINLER HPK-100.
После гибки необходимо проверить отсутствие трещин (визуально),
отсутствие утонения (допускается не больше 20% от исходной толщины, тощиномером),
отклонение обводов деталей (ШГ), плоскость детали (контрольная плита).
Операция 5. Доводка формы стенок и полок.
На этом этапе необходимо получить общий контур детали. Для этого
полученную заготовку размечают по ШГ и проводят обработку.
Операция 6. Упрочняющая термообработка.
В качестве упрочняющей термообработки примем закалку с нагревом до 4850-5030
С в течении 20 минут и естественное старение в течении 4 суток при температуре
200 С.
Операция 7. Получение отверстий.
Далее в детали сверлятся 54 направляющих отверстия (НО) диаметром 3 мм,
используя сверлильную машину СМ21-6-12000
Операция 8. Получение покрытия
На деталь наносится покрытие, перед нанесением покрытия деталь
обезжиривают специальным раствором при температуре 50-60°С в течении
5 минут, после чего промывают водой. Далее проводится анодное оксидирование с
наполнением раствором хромпика. Затем наносится слой грунтовки ФЛ-086 желтого
цвета, распылителем из краскораспылителя. После всего деталь сушат при
температуре 80°С в течении 2 часов.
Операция 9. Окончательный контроль.
На этом этапе проводят контроль правильности гибки профиля по ШГ,
формовки подсечки и расположения отверстий по ШОК.
Операция 10. Нанесение маркировки.
Маркировка будет наносится вручную написанием номера детали перьевой
ручкой.
. СХЕМА УВЯЗКИ ЗАГОТОВИТЕЛЬНОЙ И СБОРОЧНОЙ ОСНАСТКИ
Для узла применим плазово-шаблонный метод увязки для обеспечения
взаимозаменяемости при его сборке.
3.1 Перечень технологической и контрольной
оснастки
Перечень оснастки, необходимый для изготовления и контроля деталей узла,
который необходимо включить в схему увязки, приведен в таблице 3.1
Таблица 3.1 - Перечень технологической оснастки
|
Деталь
|
Элемент детали
|
Метод обработки
|
Необходимые шаблоны,
эталоны или макеты
|
|
|
|
Источник информации о
геометрии элемента
|
Оснастка для образования
элемента
|
Средства контроля геометрии
|
|
1
|
2
|
3
|
4
|
6
|
|
Стенка 1
|
Теорети-ческий контур
|
Фрезерование
|
ШФ
|
ШГР
|
ШК, углометр, контрольная
плита
|
|
Отверстия
|
Сверление
|
ШОК
|
Тисы
|
Калибры
|
|
Отбортобки и рифт
|
Штамповка
|
ШКСВ
|
Жесткий штамп
|
ШВК
|
|
Торцевые поверхности
|
Обтачивание
|
ШК
|
-
|
ШК
|
|
Пояс 2,3
|
Теорети-ческий контур
|
Обтягива-ние по оправке
|
ШК
|
Пуансон
|
ШГ, углометр, контрольная
плита
|
|
Отверстия
|
Сверление
|
ШОК
|
Тисы
|
Калибры
|
|
Общий контур
|
Обтачива-ние
|
ШК
|
-
|
ШК
|
|
Профиль4, стойка 5
|
Теорети-ческий контур
|
Фрезерова-ние
|
ШФ
|
ШФ
|
ШК, углометр, контрольная
плита
|
|
Отверстия
|
Сверление
|
ШОК
|
Тисы
|
Калибры
|
|
Общий контур
|
Обтачива-ние
|
ШК
|
-
|
ШК
|
|
Стойка 6
|
Теорети-ческий контур
|
Гибка
|
ШГ
|
-
|
ШГ, углометр, контрольная
плита
|
|
Отверстия
|
Сверление
|
ШОК
|
Тисы
|
Калибры
|
|
Общий контур
|
Обтачива-ние
|
ШК
|
-
|
ШК
|
Схема увязки заготовительной и сборочной оснастки представлена на рисунке
3.1
Рисунок 3.1 - Схема увязки заготовительной и сборочной оснастки
3.2 Шаблоны
Для изготовления детали «Пояс 2» необходимо разработать 3 вида
производственных шаблонов ШК, ШГ и ШОК, которые показаны в приложении А.
. ОПРЕДЕЛЕНИЕ ТИПА ПРОИЗВОДСТВА
Тип производства количественно оценивается двумя показателями: средним
показателем массовости (gm) и коэффициентом закрепления операций (КЗО)
на стадии проектирования наиболее обоснованным является использование
показателя массовости. Следовательно, если при расчете этих показателей
получится разные типы производства, то необходимо его определить по среднему
показателю массовости.
Расчет показателей может быть произведен по следующим формулам:
(4.1)
, (4.2)
Где
- число операций в технологическом процессе сборки узла,32;
- число видов оборудования;
t-
штучное время обработки узла на всех операциях, мин;
средний коэффициент выполнения нормы времени, принятый в
подразделении (возьмем 1,5);
r-
такт выпуска узла (интервал времени между последовательным выпуском двух
одинаковых узлов), мин.
, (4.3)
Где
- действительный фонд времени работы оборудования, ч;
- планируемый объем производства, 2000;
D-
количество рабочих дней в планируемом периоде, 250 дней;
d -
продолжительность рабочего дня, 7ч;
f -
режим работы подразделения, 2 смены;
- средний процент времени на плановые ремонты (3-5% от
).
Для узла «задняя часть нервюры» следует:
.
Приблизительное время сборки узла
Тогда
.
По среднему показателю массовости получилось, что производство данного
узла относится к среднесерийному производству.
ЗАКЛЮЧЕНИЕ
В ходе выполнения курсового проекта были решены поставленные цели и
задачи по разработке технологического процесса изготовления деталей входящих в
состав сборки, технологического процесса сборки узла, был рассмотрен
укрупненный технологический процесс производства для всех деталей входящих в
состав узла «задняя часть нервюры». Определены методы базирования каждой детали
при сборке. В качестве сборочного приспособления, использовалась рамная
конструкция, состоящая из несущих и фиксирующих элементов. Разработаны
технические условия поставки деталей на сборку и составлена схема увязки
заготовительной и сборочной оснастки. Для узла «Задняя часть нервюры» был
применен плазово-шаблонный метод увязки и обеспечения взаимозаменяемости при
его сборке.
Курсовой
проект разрабатывался при помощи системы автоматизированного проектирования
<http://ru.wikipedia.org/wiki/%D0%A1%D0%90%D0%9F%D0%A0> и черчения -
Autodesk AutoCAD Mechanical 2013
<http://rutracker.org/forum/viewtopic.php?t=4028151>, а также при помощи
системы автоматизированного проектирования и нормирования технологических
процессов СПРУТ-ТП.
СПИСОК ИСПОЛЬЗОВАННЫХ ИСТОЧНИКОВ
1. А.Л.
Абибов, Н. М. Бирюков, В. В. Бойцов и др.. Технология самолетостроения: Учебник
для авиационных вузов. - 2-е изд., перераб. и доп. - М.: Машиностроение, 1982.
- 551 с.,ил.
. Пекарш
А.И., Тарасов Ю.М., Кривов Г.А. и др.. Современные технологии
агрегатно-сборочного производства самолетов. М.: Аграф-пресс, 2006. - 304с, ил.
. Шмаков
А.К., Чеславская А.А., Юшин В.А. Технология производства самолетов. Учебное
пособие - Иркутск. Изд-во Иркутского государственного технического
университета, 2004. - 46.
. СТО
ИрГТУ. 005-2009. Общие требования к оформлению текстовых и графических работ
студентов. - Иркутск.: Изд-во ИрГТУ, 2009. - 35 с.