Разработка технического предложения на модернизацию дробилки с простым движением щеки 1500х2100
СОДЕРЖАНИЕ
1. ИЗУЧЕНИЕ И АНАЛИЗ СВЕДЕНИЙ О КОНСТРУКЦИЯХ МАШИН ДЛЯ ИЗМЕЛЬЧЕНИЯ
И ПРОЦЕССАХ, ПРОИСХОДЯЩИХ В НИХ
.1
Назначение и область применения машин для измельчения
1.2 Классификация машин для дробления
1.3 Сущность и основные закономерности процесса дробления
1.4 Показатели оценки качества конечной продукции, производимой
дробилкой ЩДП 1,5х2,1м
1.5 Анализ технических и эксплуатационных показателей работы
щековых дробилок
1.6 Анализ конструкции и принципа действия щёковой дробилки ЩДП
1,5х2,1
2. ПРОВЕДЕНИЕ ПАТЕННТНЫХ ИССЛЕДОВАНИЙ И АНАЛИЗ ИХ РЕЗУЛЬТАТОВ С
ЦЕЛЬЮ ВЫЯВЛЕНИЯ ТЕНДЕНЦИИ РАЗВИТИЯ МАШИН (ДАННОГО ТИПА)
2.1 Область техники
2.2 Уровень техники
2.3 Разработка задания на проведение патентных исследований
.4
Разработка поиска информации
.5
Поиск и отбор патентной информации
3. ПРОВЕДЕНИЕ ЭКСПЕРИМЕНТАЛЬНОГО ИССЛЕДОВАНИЯ ВЛИЯНИЯ РАБОЧИХ
ПАРАМЕТРОВ МАШИНЫ И ПРОЦЕССОВ НА ОСНОВНЫЕ ТЕХНИКО-ЭКСПРЛУАТАЦИОННЫЕ ПОКАЗАТЕЛИ
МАШИНЫ И ЕГО ОПИСАНИЕ
4. ХУДОЖЕСТВЕННО-КОНСТРУКТОРСКИЙ АНАЛИЗ СОЗДАВАЕМОЙ МАШИНЫ
5. ТЕХНИЧЕСКОЕ ПРЕДЛОЖЕНИЕ
СПИСОК ЛИТЕРАТУРЫ
1.
ИЗУЧЕНИЕ И АНАЛИЗ СВЕДЕНИЙ О КОНСТРУКЦИЯХ МАШИН И ПРОЦЕССАХ, ПРОИСХОДЯЩИХ В НИХ
Модернизируемая машина - щековая дробилка с
простым движением щеки - «ЩДП 1,5х2,1».
Классификация данной машины:
а) класс - машина для измельчения;
б) группа - машина для дробления (дробилки);
в) тип - дробилки щековые;
г) типоразмер - ЩДП 1,5х2,1.
1.1 Назначение и область применения
машин для измельчения
Машины для измельчения широко используются в
промышленности строительных материалов. В некоторых случаях процесс измельчения
является подготовительным, и получаемый продукт отправляется на дальнейшую
переработку, как, например, при производстве цемента. В других случаях, как,
например, при производстве щебня, в результате измельчения получается конечный
продукт, то есть процесс измельчения имеет самостоятельное значение.
В зависимости от начальной и конечной крупности
кусков материала различаются два основных вида процесса измельчения: дробление
и помол, а в соответствии с данным разделением различают машины для
измельчения: дробилки и мельницы.
Дробилки применяются для дробления сравнительно
крупных кусков материала (начальный размер 100 - 1200 мм), при этом степень
измельчения находится в пределах 3 - 20.
По конструкции и принципу действия различают
следующие типы дробилок:
Щековые дробилки применяются для первичного
дробления материалов твердых и средней твердости;
Конусные дробилки применяют для крупного,
среднего и мелкого дробления каменных материалов твердых и средней твердости;
Валковые дробилки применяют для тонкого,
мелкого, среднего и крупного измельчения горных пород и других материалов
различной твердости, брикетирования материалов, удаления из глины каменистых
включений;
Молотковые дробилки применяют для измельчения
материалов средней твердости и мягких, небольшой влажности и вязкости;
Бегуны применяют для мелкого и тонкого дробления
материалов мягких и средней твердости.
Мельницы предназначаются для получения
тонкоизмельченного порошкообразного материала, при этом размер начальных кусков
равен 2 - 20 мм, а размер частиц конечного продукта составляет от 0,1 - 0,3 мм
до долей микрометра. Нецелесообразно подавать в помольный агрегат куски, как
это иногда имеет место быть, размером более 15 - 20 мм, так как в этом случае в
начале процесса измельчения мельница должна работать как дробилка, что снижает
эффективность процесса помола.
По конструкции и принципу действия различают
следующие типы мельниц:
Молотковые мельницы применяют для измельчения
материалов средней твердости и мягких, небольшой влажности и вязкости;
Струйные мельницы для тонкого и сверхтонкого
измельчения материалов нашли применение в керамической и огнеупорной
промышленности;
Шаровые мельницы применяют для грубого и тонкого
помола материала по мокрому и сухому способу производства;
Вибрационные мельницы предназначены для тонкого
и сверхтонкого помола обожженного и необожженного глинозема.
Дробление и помол - процессы являющиеся
необходимыми в производстве строительных материалов.
1.2 Классификация машин для дробления
По форме дробящего органа дробилки разделяют на
5 классов:
щёковые;
конусные;
валковые;
молотковые
роторные.
В щековых дробилках (рис. 1.1) материал
разрушается под действием раздавливания, раскалывания и частичного истирания в
пространстве между двумя щеками при их периодическом сближении.
Достоинства машин данного типа: простота
конструкции и надёжность в работе, возможность переработки материалов с большой
исходной крупностью (до 1300мм), выигрыш в силе в верхней части камеры
дробления (рычаг второго рода).
Недостатком щёковых дробилок являются большие
габариты и вес, малая степень измельчения, выход кусков не однороден по
гранулометрическому составу, наличие холостого хода щеки.
Рисунок 1.1 - Щековая дробилка
Рисунок 1.2 - Конусная дробилка
В конусных дробилках (рис.1.2) разрушение
материала происходит за счёт раздавливания, излома, частичного истирания между
двумя коническими поверхностями, одна из которых движется эксцентрично по
отношению к другой, осуществляя тем самым непрерывное дробление материала.
|
Рисунок
1.3 - Валковая дробилка
|
Рисунок
1.4 - Молотковая дробилка
|
В валковых дробилках (рис. 1.3) материал
раздавливается между двумя валками, вращающимися навстречу один другому.
Нередко валки вращаются с разной частотой и тогда раздавливание материала
сочетается с его истиранием. В валковых дробилках так называемого
камневыделительного, или дезинтеграторного типа при измельчении вязких и
влажных материалов происходит не только дробление, но и отделение посторонних
твердых включений. Валковые дробилки применяются также для вторичного дробления
твердых пород (известняка, угля, различных руд и т. д.).
Из достоинств машин данного типа выделяют:
простоту устройства, надёжность, небольшой расход энергии, возможность
измельчать влажные и вязкие материалы.
К недостаткам относят повышенный износ средней
части валков (для чего необходима непрерывная равномерная загрузка материала по
все длина валков), наличие вибраций, при использовании гладких валов крупность
загружаемого материала не велика.
В дробилках ударного действия (рис. 1.4),
которые, в свою очередь, разделяются на молотковые и роторные, материал
разрушается, в основном, за счёт удара. Причём в молотковых дробилках материал
измельчается в основном ударом по нему шарнирно подвешенных молотков, а также
истиранием. А в роторных дробилках дробление достигается в результате удара по
материалу жестко закрепленных к ротору бил, ударом материала об отражательные
плиты и ударов кусков материала один о другой.
К достоинствам машин данного типа относят низкий
расход энергии (в 1,5-2 раза меньше щёковых), высокую производительность, малую
удельную металлоёмкость и большую степень дробления (до 50).
Недостатки - большой износ бил, молотков и
футеровки, вероятность аварии при попадании в камеру недробимых материалов,
необходимость тщательной балансировки ротора, при влажности материала более 15%
происходит залипание рабочих органов.
1.3 Сущность и основные
закономерности процесса дробления
Под измельчением понимается последовательный ряд
операций, имеющих целью уменьшить размеры кусков твердого материала от
начальных до конечных, необходимых для промышленного использования продукта
измельчения.
Процесс разрушения материалов принято разделять
на две стадии - дробление и помол. В зависимости от крупности исходного куска
или крупности промежуточного продукта различают крупное, среднее и мелкое
дробление, а при помоле различают стадии грубого, тонкого и сверхтонкого
помола.
Дробление: Размер дроблёного мат-ла
Крупное 100 мм и более,
Мелкое 3 мм и более,
Тонкое 0,5 мм и более,
Помол Размер частиц,
Грубый 0,5 мм и менее,
Тонкий 0,1 мм и менее,
Сверхтонкий 0,05 мм и менее.
Методы измельчения материалов разнообразны (рис.
1.5). Измельчение может производится путем раздавливания (рис. 1.5а), удара
(рис. 1.5б), раскалывания (рис. 1.5в), излома (рис. 1.5г), истирания (рис.
1.5д).
Рисунок 1.5 - Способы измельчения
На практике эти методы могут применятся в
различном сочетании:
Раздавливание. При раздавливании кусок материала
зажимается между двумя поверхностями и раздавливается при сравнительно
медленном нарастании давления. При этом в куске материала создается усилие,
превышающие силы межмолекулярного сцепления. Наиболее полно такой принцип
измельчения используется в щековых дробилках.
Удар. Измельчение ударом осуществляется за счет
резкого цикличного возрастания и снятия нагрузки на кусок материала, который
превышает предельные внутренние напряжения, при этом разрушение породы
происходит по одному из следующих способов:
ударом по куску материала, лежащему на
какой-либо поверхности;
ударом куска материала, движущегося с
относительно большой скоростью, о неподвижную плиту;
ударом быстро движущейся детали (молотка, била)
по куску материала;
ударом кусков материала друг о друга.
Истирание. Материал измельчается путём трения
между движущимися поверхностями или мелющими телами различной формы, а также
при трении кусков материала друг о друга. Применяют для получения частиц
готового продукта мене 1 мм. Наиболее характерными машинами, в которых
используется принцип измельчения истиранием, являются шаровые барабанные
мельницы.
Раскалывание. Кусок материала измельчаются между
острыми гранями рабочих органов машины. Так работают валковые дробилки с
зубчатыми валками и щековые дробилки с рифлёными плитами.
Комбинированный способ измельчения наиболее
распространен, при этом действует как минимум два способа измельчения,
например, раздавливание и истирание, удар и истирание и т. д.
Удельный расход энергии на единицу получаемой
продукции является одним из основных технико-экономических показателей
дробильно-помольных машин.
Необходимость использования различных нагрузок,
а также различных по принципу действия и габаритным размерам машин связана с
многообразием свойств и размеров измельчаемых материалов, а также с различными
требованиями к крупности готового продукта.
Процесс измельчения сочетается с одновременным
перемещением материала к выходному отверстию. Материал перемещается под
действием сил тяжести. Внешние силы сначала деформируют кусок, а затем, когда
превзойден предел прочности, вызывают его разрушение на ряд более мелких
кусков. При измельчении кусков последние сначала разрушаются по наиболее слабым
сечениям. Полученные мелкие куски содержат значительно меньше слабых сечений,
следовательно, при дроблении больших кусков удельный расход энергии должен быть
ниже, чем при дроблении мелких кусков.
Для определения энергии, потребной для
измельчения, известны четыре основных и несколько частных законов.
Основные законы измельчения:
закон поверхностей, предложенный П. Риттингером
и сформулированный им в следующем виде: «работа, затраченная при измельчении,
пропорциональна вновь полученной поверхности»;
закон объемов, предложенный Кирпичевым и Киком,
основанный на том, что «энергия, необходимая для одинакового измельчения формы
геометрически подобных тел, пропорциональна объемам или массам этих же тел»;
закон Бонда, заключающийся в том, что работа
измельчения пропорциональна среднему геометрическому из объема и поверхности
куска;
обобщенный закон объёмов и поверхностей П.А.
Ребиндера.
1.4 Показатели оценки качества
конечной продукции, производимой дробилкой ЩДП 1,5х2,1м
Основным технико-экономическим показателем
работы дробильно-помольных машин является степень измельчения.
Степень измельчения определяется как отношение
размеров кусков (зерен) исходного продукта к размеру кусков (зерен) конечного
продукта. Степень измельчения показывает, во сколько раз уменьшился размер
куска материала при его измельчении:
(1.1)
Где Dср- средневзвешенный размер
кусков исходного продукта, (м);ср - средневзвешенный размер кусков конечного
продукта, (м).
Средневзвешенный размер куска
определяется следующим образом. Смесь материала конечного (или исходного)
продукта с помощью набора сит или решет разделяют на несколько фракций. В
каждой из фракций определяется средний размер куска как полусумма размеров
максимального и минимального кусков:
(1.2)
Где
d1 - средний размер максимального куска, (м);- средний размер минимального
куска, (м).
Затем
определяется средневзвешенный размер куска в конечном или исходном продукте:
(1.3)
где
dср1 dср2 dср3 …., dсрn - средние размеры кусков каждой фракции, определяемые
по формуле (1.2), (м);
с1
с2 с3 ..., сn - процентное содержание каждой фракции в продукте.
Средний
размер отдельного куска определяется по одной из формул:
(1.4)
(1.5)
где
a, b, с - геометрические размеры куска, (м).
Зерновой
состав конечного продукта по крупности не является постоянным для одной и той
же дробильной машины. Он зависит от вида и физико-механических свойств
исходного продукта, от процентного соотношения кусков по их размерам в исходном
продукте, а также и от конструкции машины, применяемой для измельчения.
В
исходном продукте необходимо знать величину максимального куска с целью определения
размеров загрузочных отверстий дробильных машин.
При
дроблении получить материал высокой степени измельчения невозможно, поэтому в
ряде случаев приходится процесс дробления производить в несколько стадий, в
двух-трех последовательно установленных машинах.
В
основу разделения на стадии дробления положены данные, характеризующие величину
разгрузочной щели при наибольшем отдалении щек друг от друга. Так, для щековых
дробилок крупного дробления наибольшая ширина разгрузочной щели в зависимости
от типоразмера дробилки колеблется от 125 до 250 мм. У конусных дробилок
мелкого дробления ширина разгрузочной щели в зависимости от типоразмера
дробилки колеблется в пределах от 3 до 20 мм.
Для
исследуемой дробилки с размером загрузочного отверстия 1,5х2,1м степень дробления
определим по наибольшему размеру куска загружаемого материала (500мм) и
номинальному размеру выходной щели (160мм):
1.5 Анализ технических и
эксплуатационных показателей работы щековых дробилок
Анализ показателей осуществляется по
двум показателям: удельной энергоёмкости (отношение мощности привода машины к
ее производительности.) и удельной металлоёмкости (отношение массы машины к ее
производительности).
Таблица 1.1 - Техническая
характеристика щековых дробилок
|
Показатель
|
Со
сложным движением
|
С
простым движением
|
|
ЩДС
0,16х0,25
|
ЩДС
0,24х0,4
|
ЩДС
0,25х0,9
|
ЩДС
0,4х0,9
|
ЩДС
0,6х0,9
|
ЩДП
0,9х1,2
|
ЩДП
1,2х1,5
|
ЩДП
1,5х2,1
|
|
Размеры
приемного отверстия, (мм)
|
160х250
|
240х400
|
250х900
|
400х900
|
600х900
|
1200х1500
|
1500х2100
|
|
Наибольшая
крупность исходного материала, (мм)
|
130
|
210
|
210
|
310
|
500
|
750
|
1000
|
1300
|
|
Номинальная
выходная щель, (мм)
|
30
|
40
|
40
|
60
|
100
|
130
|
150
|
180
|
|
Производит.
при номинальнй щели, (м3/ч)
|
3,0
|
7,8
|
18
|
30
|
62
|
180
|
310
|
600
|
|
Мощность
эл.двигателя (кВт)
|
7,5
|
17
|
40
|
40
|
75
|
100
|
160
|
250
|
|
Масса
дробилки без электро двигателя, (т)
|
1,37
|
2,56
|
8,0
|
12,0
|
20
|
75
|
145
|
260
|
|
Удельная
энергоемкость
|
2,500
|
2,180
|
2,222
|
1,333
|
1,210
|
0,556
|
0,516
|
0,417
|
|
Удельная
металлоемкость
|
0,457
|
0,328
|
0,44
|
0,4
|
0,323
|
0,416
|
0,468
|
0,433
|
Анализируя таблицу можно сделать вывод, что
дробилки с простым движением щеки имеют большую производительность,
используется более крупный исходный материал. Исследуемая щековая дробилка
1,5х2,1м является самой крупногабаритной из всех видов щековых дробилок и в тоже
время она обладает самой низкой энергоёмкостью.
машина дробление патентный
исследование
1.6 Анализ конструкции и принципа
действия щёковой дробилки ЩДП 1,5х2,1
Щековая дробилка ЩДП 1,5х2,1 в ПСМ чаще всего
применяется, для крупного дробления кусковых материалов. Она отличается
простотой и надежностью конструкции и несложностью в обслуживании.
В данной дробилке движение от кривошипа к
подвижной щеке передается определенной кинематической цепью. При этом
траектории движения подвижной щеки представляют собой части дуги окружности.
Рисунок 1.6 - Кинематическая схема щековой
дробилки
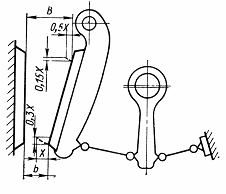
В дробилке с простым движением (рис. 1.6)
подвижная щека подвешена на неподвижную ось. Шатун дробилки верхней головкой
шарнирно соединен с. приводным эксцентриковым валом. В нижнюю часть шатуна
шарнирно упираются две распорные плиты, одна из которых противоположным концом
упирается в нижнюю часть подвижной щеки, другая - в регулировочное устройство.
При вращении эксцентрикового вала подвижная щека получает качательное движение
по дуге окружности, центром которой является центр оси подвеса. Наибольший
размах качания Х (ход сжатия) имеет нижняя точка подвижной щеки. Срок службы
дробящих плит находится в прямой зависимости от величины вертикальной
составляющей хода (при прочих равных условиях), что подтверждается практикой
эксплуатации щековых дробилок.
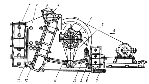
Конструкцию щёковой дробилки с простым движением
щеки, представленную на рис.1.7 можно считать типовой, так как отечественные и
зарубежные дробилки для крупного дробления (к которым относиться и ЩДП 1,5х2,1)
имеют аналогичную конструкцию и отличаются только размерами и некоторыми не
принципиальными изменениями отдельных узлов.
Станина дробилки 1 должна обеспечивать жёсткость
всей конструкции при больших (несколько сотен тонн) усилиях, возникающих при
дроблении прочных материалов. Поэтому станина крупных дробилок, как правило,
выполнена в виде цельной массивной стальной конструкции. В выемках боковых
стенок станины закреплены коренные подшипники эксцентрикового вала 5, на эксцентричной
части вала подвешен литой шатун 6, в нижней части которого имеются пазы для
передней 11 и задней 10 распорных плит. Для коренных шатунных подшипников
применены специальные подшипники качения, выдерживающие большие динамические
нагрузки.
Периодичность работы щёковой дробилки из-за
наличия холостого хода и хода сжатия вызывает неравномерную нагрузку на
приводной двигатель. Для выравнивания этой нагрузки эксцентриковый вал дробилки
снабжён массивными маховиками, которые аккумулируют энергию при холостом ходе и
отдают её при ходе сжатия.
Рисунок 1.7 - Щёковая дробилка для крупного
дробления с простым движением щеки
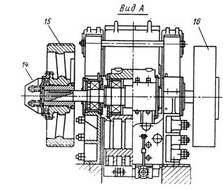
На один конец эксцентрикового вала насажен
шкив-маховик 15, на другой - маховик 16. Сцепление шкива-маховика с валом
обеспечивается фрикционной муфтой 14. Между ступицей шкива-маховика и валом
находятся бронзовые втулки, по которым шкив-маховик может свободно
проворачиваться, если крутящий момент превысит расчетный. Таким образом,
фрикционные муфты и свободная посадка шкива-маховика на вал предотвращают
поломки деталей дробилки при перегрузках, т. е. являются предохранительными
устройствами.
Подвижная щека 3, представляющая собой стальную
отливку коробчатого сечения, подвешена на оси 4, концы которой установлены в
подшипниках с бронзовыми вкладышами в верхней части боковых стенок станины. В
нижней части щеки имеется паз для установки сухаря, в который упирается
передняя распорная плита. Задняя распорная плита упирается в сухарь
регулировочного устройства 9. Опорные поверхности распорных плит изнашиваются
при работе машины и поэтому распорные плиты имеют сменные наконечники. Силовое
замыкание звеньев механизма привода подвижной щеки обеспечивается тягами 8 и
пружинами 7.
На неподвижную и подвижную щеки крепят
неподвижную 13 и подвижную 12 дробящие плиты, которые непосредственно
соприкасаются с дробимым материалом и являются основными сменными рабочими
элементами щековых дробилок. Рабочие поверхности дробящих плит и боковые стенки
станины образуют камеру дробления. Часть боковых стенок станины, выходящих в
камеру дробления, футеруется сменными плитами 2.
Рисунок 1.8 - Фрикционная муфта
Фрикционная муфта (рис. 1.8) состоит из дисков
1, которые могут свободно перемещаться вдоль оси вала по шлицам втулки 2.
Втулка 2 соединяется болтами с маховиком 3. На эксцентриковом валу 4 жестко
закреплена шпонкой втулка 5 со шлицами. По шлицам втулки 5 могут перемещаться
диски 6. Для увеличения трения между дисками 1 и 6 на них укреплены прокладки
из ленты ферродо.
Работа муфты происходит в следующей
последовательности. Перед пуском электродвигателя по трубопроводу 7 в
гидроцилиндр 8 подается масло. Поршень 9 начинает перемещаться (вправо по
чертежу), надавливая на крышку 10. При этом пружины 11 сжимаются, крышка
отходит вправо и ослабляет сцепление между дисками 1 и 6. Затем включается
электродвигатель дробилки. Шкив-маховик 3, а следовательно, соединенные с ним
втулка 5 с дисками 6, приводятся во вращение. Диски в это время проскальзывают.
Когда маховик достигает необходимого числа оборотов, прекращается подача масла
в гидроцилиндр, и пружины 11 надавливают на крышку. Крышка надавливает на диски
и вводит последние в зацепление. Эксцентриковый вал начинает вращаться, при
этом ввод дробилки в действие происходит не рывком, а плавно.
Дробящие плиты крупных щековых дробилок сборные,
состоят из отдельных частей и крепятся к щекам при помощи болтов с потайными
головками. Такое же крепление применяется для боковых футеровочных плит.
Ширина выходной щели при прочих равных условиях
определяет крупность продукта дробления, а также производительность дробилки.
Так как по мере изнашивания дробящих плит ширина выходной щели возрастает, ее
необходимо регулировать (поджимать). На щековых дробилках крупного дробления
это осуществляется установкой между упором 9 и задней стенкой станины различных
по толщине дополнительных прокладок. Для облегчения этой операции в дробилках
предусматривается гидравлический домкрат, при помощи которого упор вместе с
распорными плитами, нижним концом шатуна и подвижной щекой отжимается от
станины. Затем устанавливают необходимое число прокладок, после чего давление в
домкрате снижается и упор прижимается к прокладке.
Пуск щековых дробилок, особенно крупных,
затруднен из-за преодоления инерции больших масс. Поэтому для привода дробилок
применяли электродвигатель повышенной мощности, т. е. при нормальном рабочем
режиме мощность двигателя полностью не использовалась (потреблялось примерно 40
- 50% от установленной мощности). Это значительно ухудшало эксплуатационные
показатели дробилки. Кроме того, двигатель повышенной мощности не обеспечивал
пуска щековой дробилки, если камера дробления загружена материалом, т. е.
находилась под завалом. Случайная остановка дробилки с загруженной камерой
дробления вызывала длительные простои дробилки, так как перед пуском камеру
дробления приходилось очищать от материала.
Рисунок 1.9 - Схема вспомогательного привода для
щёковых дробилок
Пуск крупных щековых дробилок под завалом
обеспечивает вспомогательный привод (рис. 1.9), включающий электродвигатель
малой мощности 1, соединенный клиноременной передачей с ведущим валом зубчатого
редуктора 2. На ведомом валу редуктора установлена обгонная муфта 3,
соединенная со шкивом главного электродвигателя 4. Шкив главного двигателя
связан клиноременной передачей со шкивом-маховиком дробилки 5. Общее
передаточное отношение вспомогательного привода (клиноременной передачи и
редуктора) около 100, мощность электродвигателя (в зависимости от типа
дробилки) 7 - 14 кВт. Вспомогательным приводом механизм дробилки «трогается с
места». В этот момент включается главный электродвигатель. Когда частота
вращения вала главного электродвигателя превысит частоту вращения ведомого вала
редуктора, вспомогательный привод автоматически отключается.
Дробящие плиты - это сменные
быстроизнашивающиеся детали. Конструкция плит, износостойкость материала, из
которого они изготовлены, оказывают большое влияние на технико-экономические
показатели процесса дробления, а именно: производительность, удельный расход
энергии, зерновой состав и форму зерен готового продукта, т.е. на основные
показатели работы щековой дробилки.
Рисунок 1.10 - Дробящая плита.
Установлено, что стоимость дробящих плит
составляет около одной трети всех расходов на дробление.
В основном дробящие плиты щековых дробилок изготовляют
из высокомарганцовистой стали 110Г13Л, обладающей высокой износостойкостью, а
также способностью к упрочнению в холодном состоянии в результате наклепа.
Конструкция дробящей плиты определяется ее
продольным и поперечным профилями (рис. 1.10). Рабочую часть плиты делают
рифленой и в редких случаях для первичного (грубого) дробления гладкой.
Поперечный профиль плиты характеризуется размерами и конфигурацией рифлений. От
продольного профиля дробящих плит зависят угол захвата, наличие криволинейной или
параллельной зоны и другие параметры камеры дробления, влияющие на условия
процесса дробления.
Щековые дробилки в зависимости от области
применения должны комплектоваться дробящими плитами различной конфигурации и
размером рифлений (рис. 12).
Рисунок 1.11 - Дробящие плиты с рифлениями: а -
трапецеидальными, б - треугольными
В дробилках со сложным движением подвижной щеки
рифления трапецеидальной формы (рис. 1.11а) применяют для предварительного
дробления, рифления треугольной формы (рис. 1.11б) для окончательного
дробления. В крупных дробилках с простым движением подвижной щеки применяют
рифления треугольной формы (рис. 1.11б).
Шаг t и высоту h рифлений для обоих профилей в
зависимости от размера выходной щели b рекомендуется определять по выражению
t=2h=b.
Достоинства:
Повышение производительности;
Повышение производительности и надежности в
работе;
Повышение хода подвижной щеки для интенсивного
дробления по всей высоте камеры дробления;
Повышение качества дробления.
Недостатки:
наличие холостого хода;
невозможность пуска под завалам;
малый ход сжатия в верхней части камеры
дробления;
низкая однородность гранулометрического состава.
В сравнении с другими типами дробилок, щёковые
имеют следующие достоинства:
Упрощенность и надёжность конструкции;
удобство обслуживания;
повышенный срок службы дробящих полит.
Недостатки щёковых дробилок:
наличие холостого хода;
невозможность пуска под завалам;
малый ход сжатия в верхней части камеры
дробления;
низкая однородность гранулометрического состава.
На основании вышеприведенного анализа возможны
следующие варианты совершенствования ЩДП 1500х2100:
Повышение производительности;
Повышение производительности и надежности в
работе;
Повышение хода подвижной щеки для интенсивного
дробления по всей высоте камеры дробления;
Повышение качества дробления.
2. ПРОВЕДЕНИЕ ПАТЕННТНЫХ
ИССЛЕДОВАНИЙ И АНАЛИЗ ИХ РЕЗУЛЬТАТОВ С ЦЕЛЬЮ ВЫЯВЛЕНИЯ ТЕНДЕНЦИИ РАЗВИТИЯ МАШИН
(ДАННОГО ТИПА)
.1 Область техники
Щековые дробилки в промышленности строительных
материалов чаще всего применяются для крупного и среднего дробления кусков
материалов. В России ежегодно производится около 110 млн. т цемента, 600 млн. т
нерудных материалов, 100 млн. т сборных железобетонных изделий и конструкций,
40 млрд., штук строительного кирпича. Такие дробилки устанавливают в основном
на крупных горно-обогатительных комбинатах и фабриках.
Исходное сырье для производства основных
строительных материалов в процессе переработки подвергается неоднократному
измельчению, сортированию, перемешиванию и уплотнению. Эти процессы относятся к
наиболее энергоемким и трудоемким. Эффективность процессов переработки
планомерно повышается путем создания и внедрения прогрессивных машин и
технологий. Значение процесса дробления в экономике страны весьма большое, оно
является неотъемлемой частью почти всех производственных процессов и служит
целью предварительного измельчения материала для дальнейшего помола.
От качества дробления зависят дальнейшие
процессы при производстве строительных материалов.
2.2 Уровень техники
В современной промышленности помимо щековых
дробилок с простым движением подвижной щеки используются щёковые дробилки со
сложным движением щеки (отличающиеся меньшими размерами, но имеющие повышенный
износ бронеплит). Так же используются данные машины, имеющие гидропривод
рабочих органов и обеспечивающий предохранение механизма дробилки при попадании
в камеру не дробимого тела, возможность автоматического изменения хода
подвижной щеки и величины разгрузочной щели. Так же гидропривод позволяет
уменьшать скорость подвижной щеки во время рабочего хода и, как следствие,
увеличивать усилие дробления. Кроме того, в таких дробилках возможно увеличение
числа качаний (а следовательно, и производительности) щеки в единицу времени за
счет сокращения рабочего хода. Все эти дробилки используются при производстве
строительных материалов.
Помимо щёковых дробилок в ПСМ используют
аналогичные, по назначению, машины:
валковые дробилки, применяются при измельчении
вязких и влажных материалов, также для вторичного дробления твердых пород
(известняка, угля, различных руд и т.д.). Рабочим органом валковой дробилки
являются два цилиндра (валка), вращающиеся на встречу друг другу и раздвинутые
на расстояние, определяемое максимальным размером выходящего продукта. Материал,
подлежащий дроблению, вследствие трения затягивается между волками и при этом
постепенно измельчается. Различают гладкие, зубчатые, рифленые и ребристые
валковые дробилки;
конусные дробилки, дробление в них происходит
непрерывно при последовательном перемещении зоны дробления по окружности.
Работа конусной дробилки подобна работе щековой дробилки;
дробилки ударного действия, измельчение
происходит вследствие удара быстро вращающихся молотков непосредственно по
кускам материала и ударов кусков друг о друга, применяются для дробления пород
мягкой и средней твердости (известняка, мела, гипса, асбестовой руды, угля и
т.п.);
бегуны, применяются для мелкого и крупного
дробления таких материалов, как влажная и сухая глина, кварц, шамот, бой
продукции и т.п., не эффективны, т.к. расходуют больше энергии по сравнению с
изучаемой машиной.
2.3 Разработка задания на проведение
патентных исследований
Директор
ИТОМ
Богданов
В.С.
ЗАДАНИЕ №10
на проведение патентных исследований.
Наименование темы: Щековая дробилка простым
движением щеки ЩДП 1,5х2,1.
Шифр темы: КР ТОСМ - 13 082 00 00 00.
Этап (стадия): Разработка технического
предложения.
План патентных исследований на 2013 г., позиция
№2.
Задачи патентных исследований: на основании
патентного исследования выявить наиболее приемлемую модернизацию к щековой
дробилке ЩДП 1,5х2,1.
Исполнители работ.
|
Подразделения-исполнители
(соисполнители)
|
Краткое
содержание работ
|
Ответственные
исполнители
|
Срок
исполнения
|
Отчетный
документ
|
|
МОС-
32
|
Проведение
патентных исследований
|
Белов
В. А.
|
Декабрь
2013г.
|
Пояснительная
записка
|
Белов В.А.
Герасименко В.Б.
2.4 Разработка поиска информации
Регламент поиска № 10
Наименование темы: Щековая дробилка простым
движением щеки ЩДП 1,5х2,1.
Шифр темы: КРТОСМ 13 082 00 00 Дата и номер
задания на проведение патентных исследований.
Код этапа
Начало поиска: сентябрь 2013.
Окончание поиска: декабрь 2013.
|
Предмет
поиска
|
Цель
поиска информации
|
Страна
поиска
|
Классификационые
индексы
|
Ретроспективность
поиска
|
Наименование
источников информации, по которым проводился поиск
|
|
|
|
УДК
|
МПК
|
|
|
|
ЩДП
1,5х2,1
|
Повышение
надежности
|
Россия
|
-
|
В02С
1/02
|
10
лет
|
www1.FIPS.ru
|
|
ЩДП
1,5х2,1
|
Повышение
надежности
|
Россия
|
-
|
В02С
1/10
|
10
лет
|
www1.FIPS.ru
|
|
ЩДП
1,5х2,1
|
Повышение
надежности
|
Россия
|
-
|
В02С1/11
|
10
лет
|
www1.FIPS.ru
|
2.5 Поиск и отбор патентной
информации
Справка о поиске № 2
Задание на проведение патентных исследований:
Шифр темы: КРТОСМ 13 082 00 00 00.
Код темы:
Номер и дата регламента поиска:
Начало поиска: сентябрь 2013.
Окончание поиска: декабрь 2013.
Поиск проведен по следующим материалам:
|
Предмет
поиска
|
Страна
поиска
|
Классификационные
индексы
|
Источники
информации
|
|
|
|
|
Научно-техническая
документация
|
Патентная
документация
|
|
ЩДП
1,5х2,1
|
Россия
|
В02С
1/02
|
www1.FIPS.ru
|
-
|
Авторское
свидетельство
|
В результате проведенного патентного анализа
можно применить для модернизации ЩДП 1,5х2,1 отобранные изобретения.
В результате чего мы получаем модернизации
разгрузочной щели, что приведет к повышению надёжности дробилки и уменьшение
выхода кусков материала некондиционной формы. Путем изготовления плит сложной
формы с футеровкой неподвижной и подвижной щек выполненной с размещенными в
средней части камеры дробления криволинейных выступов, обращенных внутрь камеры
дробления. При этом плоские куски переламываются в изогнутой разгрузочной
полости благодаря кривизне плит (коаксиальных, с общим центром) за счет, в
основном, изгибающих нагрузок. Выход дроблёного продукта осуществляется через
разгрузочную щель Снижение выхода кусков некондиционной формы особенно
эффективно при систематической переработке хрупких плитчатых и листовых
материалов постоянной толщины.
3. ПРОВЕДЕНИЕ ЭКСПЕРИМЕНТАЛЬНОГО
ИССЛЕДОВАНИЯ ВЛИЯНИЯ РАБОЧИХ ПАРАМЕТРОВ МАШИНЫ И ПРОЦЕССОВ НА ОСНОВНЫЕ ТЕХНИКО-ЭКСПРЛУАТАЦИОННЫЕ
ПОКАЗАТЕЛИ МАШИНЫ И ЕГО ОПИСАНИЕ
Для расчета
можно
принять такую последовательность действия:
провести предварительный эксперимент
с количеством измерений n заданной величины, которое в зависимости от
трудоемкости опыта может быть принято от 20 до 50;
вычислить среднеквадратичное
отклонение σ2
и
коэффициент вариации Kb по формулам (3.2);
установить требуемую точность
измерений m в процентах (3.4), которая должна быть не менее точности прибора;
установить нормированное отклонение,
характеризуемое гарантийным коэффициентом t, значение которого обычно задают в
зависимости от точности метода проведения эксперимента: при большой точности
технически измерений можно принять t=3..3,5, при малой точности t=2..2,5;
найденные величины подставить в
формулу (3.5 или 3.6) и определить Nmin
(3.1)
(3.2)
(3.3)
(3.4)
(3.5)
(3.6)
Таблица 3.1 Результаты измерений и
расчетов.
|
Nизм
|
xi
|
     mtNmin
|
|
|
|
|
|
|
|
|
|
1
2 3 4 5 6 7 8 9 10 11 12 13 14 15 16
|
160
160,625 161,25 161,875 162,5 163,125 163,75 164,375 165 165,625 166,25
166,875 167,5 168,125 168,75 169,375
|
165,086
|
5,086
4,461 3,836 3,211 2,586 1,336 0,711 0,086 0,539 1,164 1,789 2,164 2,414 3,039
3,664 4,289
|
25,87
19,9 14,71 10,31 6,69 1,78 0,5 0,007 0,29 1,35 3,2 4,68 5,83 9,24 13,4 18,4
|
3,02
|
0,018
|
2,28
|
0,014
|
3
|
15
|

15
Следовательно, для расчета
минимальное необходимое количество измерений составляет 15 раз.
4. ХУДОЖЕСТВЕННО-КОНСТРУКТОРСКИЙ
АНАЛИЗ СОЗДАВАЕМОЙ МАШИНЫ
Анализируя процесс восприятия той или иной
машины (изделия), нельзя установить, почему одна форма нам нравится, а другая
нет. Однако представлению о полезных, целесообразных изделиях соответствуют
совершенные, целесообразные формы.
Формы во многом определяют эстетические качества
машины. Последовательность зрительного восприятия предметов осуществляется в
такой последовательности. Вначале воспринимается форма, затем цвет и потом
последовательно: элементы формы, детали, особенности окраски. В этом процессе
форма выступает как один из наиболее активных факторов, поэтому основной
задачей художественного конструирования является формообразование изделий.
Связь формы изделия с его конструкцией
разнообразна. В ряде случаев по форме предмета можно легко представить его
конструктивную основу. В других случаях эта связь гораздо сложнее и форма в
меньшей степени информирует о структурном строении изделия.
На форму изделий машиностроения в большей или
меньшей степени оказывают влияние назначение изделия, особенности эксплуатации,
ремонта, транспортировки, удобства обслуживания, степень использования
стандартных и унифицированных деталей и узлов, экономические факторы, а также
технологические возможности предприятия, на котором намечено производство
данной машины и др. Здесь также играют роль социально-экономические условия,
уровень развития техники, общественные вкусы.
Эстетические качества формируются с первых
стадий проектирования, и красота машины не может быть создана за счет каких-то
дополнительных элементов, вводимых специально для красоты. Она определяется
целесообразностью машин, рациональностью и соответствием ее формы
функциональному назначению и эстетическим требованиям. Под целесообразностью
машины подразумевается ее полезность на современном уровне развития общества;
соответствие формы функциональным и эстетическим требованиям - это максимальные
удобства, безопасность и положительные эмоциональные воздействия на человека в
процессе эксплуатации; рациональность формы машины - это логичность
конструкции, удачные конструктивные решения, прогрессивность технологии
изготовления и сборки деталей и узлов.
Серийно выпускаемое оборудование рекомендуется
окрашивать в зеленый, серо-голубой, кремовый, коричневый и серый цвета.
Перечисленные цвета окраски оборудования в сочетании с правильно выбранными
цветами окраски потолка и стен, но вызывают утомления зрительного аппарата
человека.
Учет психологического воздействия различных
цветов играет важную роль в технике безопасности. Использование цвета в
качестве кода - носителя информации об опасности, может явиться дополнительным
средством предупреждения несчастных случаев.
Многие специалисты рекомендуют окрашивать
оборудование в светло-серые, светло-зеленые, зелено-голубые тона, так как они
обладают высоким коэффициентом отражения (около 60%) и создают впечатление
прохлады. Кроме того, станки и машины должны быть окрашены таким образом, чтобы
создавался некоторый цветовой контраст между отдельными их частями. Такой метод
окрашивания в значительной мере способствует увеличению видимости и четкости
рабочих деталей и, следовательно, способствует повышению производительности
труда и качества работы. Необходимо, однако, избегать слишком резких цветовых
контрастов, так как они утомительны для глаз. Особенно важно не окрашивать
большие площади в яркие цвета.
5. ТЕХНИЧЕСКОЕ ПРЕДЛОЖЕНИЕ
На основании проведенных нами исследований
предлагаем в качестве модернизации для данной машины изменить профиль средней
части дробящей плиты, что приводит к повышению надежности дробилки и увеличению
качества готового продукта. Сущность модернизации заключается в том, что
футеровка неподвижной и подвижной щек выполнена с размещенными в средней части
камеры дробления криволинейными выступами. Криволинейные выступы выполнены
съемными и закреплены на плоской части футеровок с помощью утопленных болтов и
шипов на внутренней поверхности выступов с возможностью их взаимодействия с
гнездами в плоской части футеровок. Шипы и гнёзда могут быть выполнены круглого
и прямоугольного поперечного сечения.
СПИСОК ЛИТЕРАТУРЫ
1. Сапожников
М.Я. Механическое оборудование предприятий строительных материалов, изделий и
конструкций. - М.: Высшая школа, 1971. -382с.
2. Бауман
В.А. Механическое оборудование предприятий строительных материалов, изделий и
конструкций. - М.: Машиностроение, 1981. -324с.
. Сапожников
М.Я., Дроздов Н.Е. Справочник по оборудованию заводов строительных материалов.
- М.: Изд-во литературы по строительству, 1970. -356с.
. Герасименко
В.Б., Семикопенко И.А., Боровской А.Е. Технические основы создания машин:
учебное пособие для выполнения курсовых работ. - Белгород: БелГТАСМ, 2002.
-90с.
. Ильевич
А.П. Машины и оборудование для заводов по производству керамики и огнеупоров:
Учебник для вузов. - 2-ое изд. - М.: Высшая школа, 1979. -344с.
. Богданович
Л.Б., Бурьян В.А., Раутман Ф.И. Художественное конструирование в
машиностроении. Изд-во «Технiка», 1976. -184с.
. Клушанцев
Б.В., Косарев А.И., Муйземнек Ю.А. Дробилки. Конструкция, расчет, особенности
эксплуатации. - М.: Машиностроение, 1990. -320с.