Разработка структурных, кинематических схем взбивальной машины МВ-6

  • Вид работы:
    Курсовая работа (т)
  • Предмет:
    Другое
  • Язык:
    Русский
    ,
    Формат файла:
    MS Word
    148,33 Кб
  • Опубликовано:
    2015-01-12
Вы можете узнать стоимость помощи в написании студенческой работы.
Помощь в написании работы, которую точно примут!

Разработка структурных, кинематических схем взбивальной машины МВ-6

ОГЛАВЛЕНИЕ

Введение

. Общий раздел

.1 Общие сведения о машинах и механизмах

.2 Принцип работы взбивальной машины МВ-6

.3 Теоретические процессы, реализуемые взбивальным оборудованием

.4 Принцип работы взбивальной машины МВ-6

. Расчетный раздел

.1 Разработка структурных, кинематических схем

.2. Расчет электромеханического привода машины МВ-6

.3 Расчет движущих моментов и скоростей вращения валов

.4 Расчет зубчатых передач

.5 Проверочный расчет зубьев на контактную прочность

.6 Расчет геометрических размеров

Заключение

Библиографический список

Введение


Развитие предприятий общественного питания напрямую связано с уровнем развития пищевой промышленности, достижениями в области создания новых технологий и оборудования. В результате инновационных процессов происходящих в последний год в сфере общественного питания, техническое оснащение некоторых предприятий общепита достигло современного уровня, оборудование стало малогабаритным, удобным в обслуживании и эффективным. На современном этапе общественное питание будет занимать преобладающее место по сравнению с питанием в домашних условиях. В связи с этим возникает необходимость дальнейшей механизации и автоматизации производственных процессов, как основного фактора роста производительности труда. Ежегодно осваиваются и внедряются новые, более современные машины и оборудование, обеспечивающее механизацию и автоматизацию трудоемких процессов на производстве. Создаются и осваиваются новые машины, оборудования, которые будут работать в автоматическом режиме без участия человека. На предприятиях общественного питания до сих пор преобладает большинство производственных процессов, выполняемых вручную. Существует много видов работы, где занято большое количество работников малоквалифицированного труда. Поэтому коренная перестройка в этой сфере производства предполагает необходимость широкой индустриализации производственных процессов, массового внедрения промышленных методов приготовления и постановки продукции потребителям.

Подобная организация производства в общественном питании позволит не только применить новое высокопроизводительное оборудование, но и более эффективно его использовать. В выигрыше будут и потребители, - сокращаются затраты времени, повышается культура обслуживания, и работники общественного питания - за счет механизации и автоматизации производства резко снижают затраты ручного труда, увеличивают производительность производства продукции и улучшают санитарно-гигиенические условия.

Совершенствование техники должно обеспечивать не только рост производительности труда и его облегчение, но и снижение затрат труда на единицу продукции при использовании новых машин и механизмов. Иначе говоря, новая техника только в том случае будет эффективной, если затраты общественного труда на ее создание и использование требуют меньше труда, сберегаемого применением этой новой техники. В снижении затрат на единицу продукции, производимую с помощью новой техники, в конечном счете и заключается экономическая суть совершенствования машин и механизмов.

Целью курсового проекта является расчет электромеханического привода взбивальной машины МВ-6.

1. Общий раздел

 

.1 Общие сведения о машинах и механизмах


Машина - это совокупность механизмов, выполняющих определенную работу или преобразующих один вид энергии в другой. В зависимости от назначения различают машины - двигатели и рабочие машины.

В зависимости от назначения рабочие машины могут выполнять определенную работу по изменению формы, размеров, свойств и состояния объектов труда. Объектами труда в предприятиях общественного питания служат пищевые продукты, подвергающиеся различной технологической обработке - очистке, измельчению, взбиванию, перемешиванию, формированию и т.д.

По степени автоматизации и механизации выполняемых технологических процессов различают машины неавтоматические, полуавтоматические, автоматические. В машинах неавтоматического действия загрузка, выгрузка, контроль и вспомогательные технологические операции выполняются поваром, закрепленным за данной машиной. В машинах полуавтоматического действия основные технологические операции выполняются машиной, ручные остаются только транспортные, контрольные и некоторые вспомогательные процессы. В машинах автоматического действия вес технологические и вспомогательные процессы выполняются машиной. Они используются в составе поточных и поточно-механизированных линий и полностью заменяют труд человека [6].

Машины и механизмы должны удовлетворять требованиям прогрессивной технологии обработки сырья и продуктов.

Для этого необходимо, чтобы конструктивные, кинематические и гидравлические параметры оборудования обеспечивали оптимальные режимы технологических процессов и высокие технико-экономические показатели. Такими параметрами являются: удельная энергоемкость, удельная металлоемкость, удельная материалоемкость, удельный расход воды, занимаемая оборудованием площадь и др., т. е. параметры машины, отнесенные к единице производительности.

Конструкция должна обеспечивать высокую надежность и долговечность машины, быструю замену изношенных и неисправных рабочих органов, инструментов, узлов и деталей. Конструкция должна быть технологичной, т. е. в процессе изготовления и эксплуатации машины затрачиваются минимальные средства. Необходимо, чтобы машины и механизмы отвечали требованиям техники безопасности и производственной санитарии (машины заземляют; рабочие органы, инструменты и элементы передачи закрывают кожухами, крышками, предохранительными кольцами, облицовками или заключают в корпуса; в конструкцию многих машин включают различные блокировочные устройства и элементы, обеспечивающие отключение их при поднятых ограждениях).

При создании современных машин и механизмов стремятся к стандартизации и унификации узлов, деталей и комплектующих изделий, что позволяет сократить номенклатуру запасных частей и облегчить выполнение ремонтных работ.

Рабочие органы и инструменты машин и механизмов должны обладать высокой износоустойчивостью. Быстровращающиеся узлы и детали машин должны быть уравновешены, чтобы исключить износ подшипников, валов и корпусных деталей [3].

Детали, входящие в состав машин, испытывают различные нагрузки, что учитывается при выборе материалов. На детали корпусов (станины, стойки и др.) приходится до 75% массы всех деталей машины, и хотя они испытывают незначительные нагрузки, детали должны отвечать требованиям прочности и жесткости. Детали корпусов выполняют литыми из серого чугуна или алюминия и сварными из углеродистой стали марок СтЗ и Ст5. Использование сварных конструкций крышек и кожухов дает большую экономию металлов. Для уменьшения массы переносных машин и механизмов детали их корпусов изготовляют из сплавов алюминия методом литья или литья под давлением. В отдельных случаях детали корпусов могут быть изготовлены из армированных пластмасс или стеклопластиков.

Валы, шестерни, тяги, оси, пальцы испытывают наибольшие нагрузки. Материалами для их изготовления служат углеродистые и нержавеющие стали. Чаще всего применяют стали марок 45, 50, 40Х, 65Г, 15, 20Х и др.

Шестерни, шкивы, зубчатые колеса, маховики изготовляют из чугуна, стали, сплавов алюминия, а также из пластмасс, текстолита, пластиков, капрона и др.

Ножи и решетки мясорубок изготовляют из инструментальной стали, а также высокохромистого чугуна марки Х28. Материалы, которые используют для производства инструментов и рабочих камер, не должны подвергаться коррозии в результате соприкосновения с продуктами, кроме того, они должны легко очищаться от остатков продукта и не разрушаться под влиянием моющих средств.

Выбор марки и способа термообработки материала определяется расчетом его на прочность или жесткость с учетом технологических, эксплуатационных и экономических требований.

В настоящее время маркировку машин и механизмов производят по отраслевой инструкции, которая устанавливает единый порядок обозначений, обязательный для всех организаций и предприятий торговли и общественного питания.

В основу обозначений положена смешанная буквенно-цифровая система.

Левая часть обозначения - буквенная - состоит из трех-четырех букв. Первая буква соответствует наименованию изделия (П -привод, М -машина и др.), вторая -назначению изделия (У - универсальный, О - очистительный, К - комбинированный, В - взбивальный, Т - тестомесильный, М -моечный, И - измельчительный), третья буква соответствует наименованию вида энергии или основному технологическому процессу (Э - электрический, О - овощной, М - мясной, В - вибрационный) и т. д.

Правая часть обозначения - цифровая - служит показателем основного параметра изделия (производительность, вместимость рабочей камеры и др.) и отделяется от левой части при помощи дефиса. Основные параметры изделий указывают по верхнему (максимальному) пределу. Если машина выпускается в модернизированном варианте, после основного ее параметра проставляется шифр, обозначающий модернизацию (М, Ml, М2 и т. д.).

1.2 Принцип работы взбивальной машины МВ-6


Для взбивания продуктов применяют взбивальные машины, различающиеся расположением рабочего органа (взбивателя) и характером его движения .Положение рабочего органа в машинах может быть вертикальным, наклонным и реже горизонтальным. Вертикальное и наклонное расположение рабочего органа имеет ряд преимуществ по сравнению с горизонтальным. Взбивальные машины делятся на две большие группы: с вращением взбивателя вокруг неподвижной оси, с планетарным вращением взбивателя, т.е совершающие одновременное вращение вокруг оси бачка и вокруг собственной оси. При этом взбиватели, могут иметь две и более скорости вращения (машины с коробками скоростей) или бесступенчатую регулировку скорости в определенном диапазоне (машины с вариаторами скоростей). Применяют также регулирование скорости вращения взбивателя с помощью многоскоростных электродвигателей. Достаточная жесткость конструкции и характер движения взбивателей позволяют взбивать на этих машинах различные смеси. В зависимости от числа рабочих валов планетарные взбиватели могут быть одинарными, двойными и тройными

Рабочей емкостью машины с планетарным движением взбивателя чаще всего служит неподвижный объемный бачок, имеющий форму вертикального цилиндра с днищем в виде шарового сегмента. Такая форма днища способствует усилению осевых потоков, что особенно важно при взбивании высоковязких продуктов, так как обеспечивает перемешивание взбиваемых слоев по высоте. Встречаются и другие формы бачков. Наличие сменных бачков разной вместимости упрощает обстуживание, обеспечивает возможность их быстрой замены. Рабочими инструментами являются взбиватели различного вида, которые крепятся к рабочему валу планетарного редуктор. В зависимости от консистенции и физико-механических свойств продукта применяются следующие взбиватели (рисунок 1.1).

    а           б                в               г          д         е

Рисунок 1. 1 - Рабочие инструменты взбивальных машин: а, в - прутковые; б - плоскорешетчатый; г, е - плоскорешетчатые, д - крючкообразный.

Прутковые взбиватели используют для взбивания легкоподвижных масс (сливки, яичный белок, муссы, самбуки и пр.). Плоскорешетчатые - для кондитерских смесей. Крючкообразный и замкнутый с перемычкой - для замешивания теста. Сменные взбиватели крепятся к рабочему валу с помощью легкосъемного соединения. На предприятиях общественного питания применяют взбивальные машины МВ-6, МВ-10, МВ-35М, МВ-35/21, МВ-60, МТВ-60, МВУ-60 и механизмы МВ, МВП11-1, и ряд других машин и механизмов Чаще всего эти машины имеют многоцелевое назначение, т е помимо взбивания осуществляют перемешивание фаршей, разных видов теста и реже - салатов и винегретов.

 

.3 Теоретические процессы, реализуемые взбивальным оборудованием

взбивальный машина привод электромеханический

Взбивание преследует цель значительного насыщения продукта воздухом для получения пышной массы, также обладающей иными физико-химическими свойствами, чем исходные продукты.

Насыщение воздухом при взбивании обусловливается образованием пустот, полостей при движении рабочих органов в массе продукта. Образующиеся позади движущейся лопасти полости заполняются воздухом, которые затем закрываются массой продукта, образуя крупные пузыри. При последующем воздействии лопасти на пузырь воздуха происходит дробление его на мельчайшие пузырьки, насыщающие продукт. При этом объем продукта значительно увеличивается.

Эффект взбивания зависит от продолжительности процесса и от характера движения и частоты вращения рабочего элемента.

Объем продукта при взбивании при различных частотах вращения рабочего элемента с течением времени увеличивается до определенного значения, после чего прекращается. Этому моменту соответствует определенная продолжительность взбивания, оптимальная для данного продукта и выбранного режима. С увеличением частоты вращения рабочего органа время достижения максимального увеличения объема продукта tопт уменьшается.

Окончание взбивания характеризуется стойкостью взбитого продукта.

При хранении взбитой массы происходит постепенное разрушение пузырьков воздуха внутри продукта, вследствие чего ее объем постепенно уменьшается.

Для каждого вида взбитого продукта существует минимальный допустимый его объем, ниже которого он становится менее привлекательным и теряет товарный вид. Время, в течение которого объем взбитого продукта уменьшается до минимально допустимого значения, называется временем, стойкости tст (или стойкостью взбитого продукта).

1.4 Принцип работы взбивальной машины МВ-6


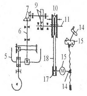
Взбивальная машина МВ-6. Настольная малогабаритная машина МВ-6 (Рисунок 1.2) имеет литой корпус (1), выполненный в виде колонны с основанием и кожухом (8), в котором установлены: электродвигатель (13) на ползуне (16), клиноременный вариатор, цилиндрический (9) и конический (7) редукторы и планетарная передача. На выходном валу электродвигателя на шпонке установлен шкив (17), который объединен клиновым ремнем (18) с раздвижным шкивом (10), расположенным на ведущем валу (11) привода взбивателя. Раздвижной шкив состоит из двух усеченных конусов - неподвижного и подвижного, поджимаемого пружиной (12). Для изменения частоты вращения взбивателя электродвигатель (13) перемещают с помощью рукоятки (14) и винтовых шестерен (15). При этом изменяется межцентровое расстояние шкивов, а ведо ведомый шкив, состоящий из двух половин, соответственно раздвигается или сближается и ремень замыкает другой диаметр его рабочей поверхности. Стрелка указателя отклоняется на определенный угол и указывает частоту вращения. От вариатора скоростей вращение передается через цилиндрический и конический редукторы вертикальному валу (6), а от вала через водило (5) - взбивателю (4). Сверху и с тыльной стороны корпус закрыт крышками. На передней его стенке укреплен кронштейн (3) для бачка (2). На внутренней боковой стенке - магнитный пускатель. Машина МВ-6 устанавливается на рабочем столе. Взбивальные машины, применяемые на предприятиях общественного питания наряду с конструктивными особенностями отличаются емкостью бачка, мощностью установленного электродвигателя, габаритными размерами и массой.


Рисунок 1.2 - Взбивальная машина МВ-6:

- корпус; 2 - бачок; 3 - кронштейн; 4 - взбиватель; 5 - водило; 6 - рабочий вал; 7 - конический редуктор; 8 - кожух; 9 - цилиндрический редуктор; 10 - раздвижной шкив; 11 - ведущий вал; 12 - пружина; 13 - электродвигатель; 14 - рукоятка; 15 - винтовая шестерня; 16 - ползун; 17 - шкив; 18 - клиновой ремень


2. Расчетный раздел

 

.1 Разработка структурных, кинематических схем


Структурная схема - схема, определяющая функциональные основные части изделия, их назначение и взаимосвязи.

Структурные схемы разрабатываются при проектировании изделий на стадиях, предшествующих разработке схем других типов и видов.

Условные обозначения, применяемые в структурных схемах, приведены на рисунке 2.1. Составление структурной схемы необходимо начинать с вычерчивания всех рабочих органов машины. Далее вычерчивается электродвигатель, затем передача движения на главный вал и распределительный.

Затем определяется: с помощью какого механизма (зубчатого, рычажного, кулачкового, комбинированного) передается движение рабочему органу и от какого вала [1].

                       рабочие органы машины;

                     основные функциональные части;

                     исполнительные механизмы;

                            главный вал швейной машины;

                                 распределительный вал, промежуточные валы;

                                    программное устройство;

                                    оператор;

                         ременная передача;

                       зубчатая реечная передача;

                       зубчатый механизм;

                       кулачковый механизм;

                       электродвигатель;

                        фрикционная муфта;

                     структурная связь.

Рисунок 2.1. Условные обозначения в структурных схемах

Между рабочими органами и валами вычерчиваются необходимые механизмы, участвующие в передаче движения, и выделяются исполнительные механизмы и функциональные основные части, проводятся структурные связи [1].

2.2 Расчет электромеханического привода машины МВ-6


Для нахождения мощности Nэ и числа оборотов валов электродвигателя и рабочего органа воспользуемся таблицей 1 [1], которая представлена ниже:

Таблица 1 - Технические характеристики взбивальных машин.

Показатели

МВП-11-1

МС-7-8-20

МВ-6

МВ-35 (2М)

МВ-60

Вместимость бачка, л

25

20

6

35

60

Род привода

Универсальный

Универсальный

Индивидуальный

Индивидуальный

Индивидуальный

Мощность электродвигателя, кВт

0,6

0,6

0,18

0,75

2,2

Частота вращения приводного вала(1я скорость) скорость

71

46

110

60

21

2-я скорость

138

85



63

3-я скорость



200

185

96

Частота вращения взбивального вала(1я скорость)

176

180

370

200

70

2-я скорость

344

334



209

3-я скорость

-

-

670

625

316

4-я скорость

-

-

-

-

-

Габариты, мм: длина

450

450

750

1105

ширина

610

435

300

530

650

высота

620

630

550

1180

1300

Масса, кг

16

26

35

175

400


Для машины МВ-6 имеем следующие технические характеристики [1]:

Nэ = 0,18 кВт = 1800 Вт; = 670мин-1 = 11,2 с-1

Тип двигателя - RA71A6; число оборотов вала в минуту nэ = 835 об/мин.

Исходя из этого, можем найти общее передаточное отношение Uо по следующей формуле [2]:

 ; (2.1)

где nэ - число оборотов вала в минуту (об/мин);

nр.о. - число оборотов рабочего органа в минуту = 226 об/мин [1].

 = 7,8;

Таким образом, общее передаточное число составляет:

* ; (2.2)

;

,8=2* 7,8/2

,8= 2*3,9

Значение передаточного отношения , исходя из схемы МВ-6. Значения остальных передаточных отношений определяются по номограмме в методических указаниях [1].

Для зубчатой цилиндрической передачи, передаточное отношение  составило:

;

,9/ 1,4 = 2,8

Для зубчатой конической передачи, передаточное отношение составило:

 

Для зубчатой передачи с внутренними зацепками, передаточное отношение  составило:

 

Таким образом, произведение передаточных отношений равно общему передаточному отношению:

2.3 Расчет движущих моментов и скоростей вращения валов


Найдем момент сил полезных сопротивлений на валу рабочего органа M (Н*м), используя формулу:

 ; (2.3)

 

Для этого найдем - угловую скорость вращения вала электродвигателя (рад/с), используя формулу [2]:

 (2.4)

 

nр.о. = ;

 

Рассчитаем значения моментов M и  на валах [2]:

Принимая во внимание, что с уменьшением скорости вращения значение  уменьшается в число раз равное U, а M - увеличивается в такое же число раз.

)       

2)       (рад/с);

 (Н*м).

3)       (рад/с);

 (Н*м).

4)       (рад/с);

 (Н*м).

2.4 Расчет зубчатых передач


В маломощных передачах, применяемых в периферийных системах ЭВМ, основной параметр зубчатой передачи - модуль зацепления (m), который определяют из расчета зубьев на изгиб. При этом расчете назначается число зубьев малого колеса Z1 , которое для эвольвентного зацепления находится в интервале :

≤ Z1 ≤28

Так как для прямозубых колес применяют меньшее значение Z1 для менее точных передач, то возьмем Z1 = 20. А количество зубьев большого колеса определяется из соотношения:

Z2 = u12 * Z1

 

Z2 =20 *1,4 = 28

Модуль зацепления m в мм определяют по формуле для цилиндрических прямозубых и косозубых колес:

 (2.5)m - коэффициент, равный 1,4 для прямозубых колес и 1,12 для косозубых колес; M(M2) - крутящий момент, действующий на рассчитываемое колесо Z2 (большее), Н∙мм; kβ - коэффициент неравномерности нагрузки по ширине колеса. kβ=1…1,5, причем меньшие значения для нешироких колес при симметричном расположении относительно опор; Z - число зубьев рассчитываемого колеса

(большего); Ψвm - коэффициент, равный отношению ширины зубчатого

венца к модулю, выбираемый из интервала: 3≤ψвm≤16, причем меньшее значение выбирают для малогабаритных колес невысокой точности; УF - коэффициент формы зуба, зависящий от числа зубьев рассчитываемого прямозубого колеса и от приведенного числа зубьев.

Цилиндрические и конические колеса

Z(Zv)

17

18

20

25

30

35

40

50

60

80

100

200

YF

4,8

4,2

4,15

3,98

3,88

3,80

3,77

3,73

3,73

3,73

3,75

3,77


Допустимый коэффициент определяется по формуле:

 (2.6)

- коэффициент диаметра червяка (число модулей в диаметре делительного цилиндра червяка). Принимается для маломощных передач, равным 14, 16, 18, 20; [σF] - допускаемое напряжение при расчете зубьев на изгиб, МПа.

При расчете на изгиб для колес из закаленных сталей (НВ>350):

где σв - предел прочности при растяжении, МПа; nв - 1,8…2; kσ - 1,2…2.

Используя все эти расчеты, определим значения некоторых величин для нашей машины:m = 1,4; kβ = 1,3; М = 57,68 (Н*м); Ψвm = 10; УF = 3,8

F] =  = 171 *106 Н/м2

При определении модуля выбираем сталь 35, в соответствии с ГОСТом 9563-75. Так для цилиндрических и конических колес, работающих со скоростью V≤3 м/с, применяют стали марок 20, 35, при повышенных скоростях - сталь 45,50.

Таблица 3 - Значения показателей в зависимости от материала.

Материал

Марки

Модуль упругости Е,МПа (Н/мм2)

Предел прочности при растяжении σв, МПа (Н/мм2)

Предел текучести στ, МПа (Н/мм2)

Предел выносливости σ-1, МПа (Н/мм2)

Сталь

20

2∙105…2,2∙105

450

25

480


35

2∙105…2,2∙105

520

32

480


45

2∙105…2,2∙105

800…900

58…60

340…380


50

2∙105…2,2∙105

550

550

400


 = 1,4 *  = 1,82мм

Стандартные значения модулей m зубьев зубчатых колес 1 ряд: 0,1; 0,15; 0,2; 0,3; 0,4; 0,5; 0,6; 0,8; 1; 1,25; 1,5; 2; 2,5; 3; 4; 5; 6; 8; 10.

Округлим m = 1,82 до стандартного значения m = 2мм.

2.5 Проверочный расчет зубьев на контактную прочность


В зубчатых передачах, зубья колеса рассчитывают на контактную прочность по формуле:

 (2.7)

где σ- 1 - предел выносливости материала, МПа.

В приведенной формуле:

σн - действительное контактное напряжение менее прочного материала, МПа;

Епр - приведенный модуль упругости, МПа (для стальных колес Епр=2,15*105 МПа);

М2 - крутящий момент на колесе, Н*м;

q - коэффициент диаметра червяка;

К - коэффициент, который зависит от числа заходов червяка (при одном заходе червяка, К=2);

z2 - количество зубьев большого колеса.

Отсюда, действительное напряжение σн находится по формуле:

 ( 2.8)

 

 

Сравним полученное значение предела выносливости материала (Таблица 3).

= 1,1 МПа<<[480].

По условиям прочности, выбранный модуль подходит, поэтому размеры зубчатой передачи остаются неизменными.

 

.6 Расчет геометрических размеров


Делительный диаметр d2 определяется по формуле:

d2 = z2*m (2.9)

d2 = 28*2 = 56

Для нахождения диаметра вершин da2 и диаметра впадин зубьев df2 следует воспользоваться формулами:

da2 = d2 + 2m (2.10)f2 = d2 - 2,5m (2.11)

a2 = 56+2*2 = 60f2 = 56-2,5*2 = 51

А для нахождения ширины венца колеса b2 воспользуемся таблицей [3], и примем b2=8мм.

Отсюда найдем диаметр малого dм и большого колеса dб :

dм = 2*20 = 40

dб = 2*28 = 56

По полученным размерам построим эскиз зубчатого колеса с валом.

 

Заключение


В настоящее время вопросам повышения эффективности производства и качества готовой продукции уделяется большое внимание.

Взбивальные машины с успехом используются во многих областях пищевой промышленности. Они находят применение в общественном питании, где служат для замешивания теста или смешивания гарниров, таких как картофельное пюре. В производстве полуфабрикатов, а именно для замеса блинного теста при производстве блинчиков с начинками и без начинок. Основное применение взбивальные машины находят в кондитерской и хлебопекарной промышленности, где служат для замешивания разных видов кондитерского теста, начинок для кондитерских изделий, глазурей, джемов, приготовления эмульсии при производстве печенья. Незаменимы взбивальные машины в производстве тортов, для замешивания бисквитного теста или песочного. Разнообразные по объему и производительности, все машины имеют похожую конструкцию. Сменные месильные органы, поднимающаяся и опускающаяся дежа, месильные органы вращаются планетарно, благодаря чему многие называют их планетарные взбивальные машины. В зависимости от объема, дежи могут иметь колесики для перекатывания по полу или ручки для переноски руками. Машины такого типа наиболее применима на небольших предприятиях общественного питания [3].

В курсовом проекте была представлена классификация взбивального оборудований предприятий питания. Была проделана работа по расчету электромеханического привода взбивальной машины. Был так же проведен анализ структурной схемы, подобран двигатель. Были проведены расчеты передаточного отношения, расчет передачи. Был построен алгоритм расчета

Библиографический список


1.      Ларина Л. В. Основы функционирования систем сервиса: Пособие / Л. В. Ларина. - Шахты: Изд-во ЮРГУЭС, 2004.- 25 с.

.        Новожилов О. П. Архитекрура ЭВМ и систем: учебное пособие для бакалавров М.:Юрайт, 2012.

.        Адигамов К.А. Детали машин и основы конструирования: Учебное пособие для вузов / К.А. Адигамов, О.В. Жданова. - Шахты: Изд-во ЮРГУЭС, 2003. - 176 с.

.        Проектирование оборудования предприятий сервиса: практикум для студентов всех форм обучения напр. 260901.65 "Технология швейных изделий", 260905.65 "Технология изделий из кожи", 100101.65 "Сервис" специализаций «Информационный сервис», «Сервис на предприятиях питания», «Сервис на предприятиях по пошиву и ремонту обуви»: электрон. образоват. Ресурс - Шахты: Изд-во ЮРГУЭС, 2013

.        Основы функционирования систем сервиса: метод. указания к выполнению курсового проекта для студентов факультета сервиса заочной и дистанционной форм обучения спец. 100101 "Сервис" специализации 230708 "Сервис бытовых машин и приборов". / С. Н. Алехин, Е. С. Алехина, Д. П. Махов. - Шахты: Изд-во ЮРГУЭС, 2009. - 16 с.

Похожие работы на - Разработка структурных, кинематических схем взбивальной машины МВ-6

 

Не нашли материал для своей работы?
Поможем написать уникальную работу
Без плагиата!
Без нейросетей!