Разработка сквозной технологии производства шатуна

  • Вид работы:
    Курсовая работа (т)
  • Предмет:
    Другое
  • Язык:
    Русский
    ,
    Формат файла:
    MS Word
    1,54 Мб
  • Опубликовано:
    2014-12-11
Вы можете узнать стоимость помощи в написании студенческой работы.
Помощь в написании работы, которую точно примут!

Разработка сквозной технологии производства шатуна

ВВЕДЕНИЕ


В данной работе, рассматривается, и анализируется процесс производства и изготовления шатуна.

Шатун двигателя внутреннего сгорания соединяет поршень двигателя с коленчатым валом и во время работы двигателя передаёт все усилия от поршня на коленчатый вал и, наоборот, от коленчатого вала к поршню.

При этом шатун совершает достаточно сложное движение. Верхняя головка шатуна совместно с поршнем совершает возвратно-поступательное движение.

А нижняя головка шатуна, совместно с шатунной шейкой коленчатого вала совершает круговое движение.

На шатун воздействуют большие знакопеременные и изменяющиеся по величине усилия, вызванные давлением расширяющихся в цилиндре газов и инерцией деталей поршневой группы.

Качество шатуна зависит от конструкции, технологии изготовления и применяемых материалов.

1.      АНАЛИЗ КОНСТРУКЦИИ ШАТУНА И УСЛОВИЯ ЕГО РАБОТЫ


1.1    Анализ шатуна

Шатун двигателя внутреннего сгорания соединяет поршень двигателя с коленчатым валом и во время работы двигателя передаёт все усилия от поршня на коленчатый вал и, наоборот, от коленчатого вала к поршню. Шатун состоит из двух головок и соединяющего их силового стержня. Верхняя головка шатуна (поршневая), меньшего размера, через поршневой палец соединяется с поршнем, а нижняя головка шатуна (кривошипная) соединяется с шатунной шейкой коленчатого вала.

Верхняя (поршневая) головка шатуна неразъёмная. Её конструкция зависит от способа крепления поршневого пальца. Если двигатель имеет фиксированный поршневой палец, верхняя головка шатуна имеет цилиндрическое отверстие, изготовленное с высокой точностью и обеспечивающее установленный натяг (0,015 ÷ 0,040 мм) в соединении с поршневым пальцем.Соединением с натягом называется такое соединение, при котором диаметр вала, вставляемого в отверстие несколько больше внутреннего диаметра отверстия. Существует несколько методов сборки таких соединений - запрессовка при помощи пресса, нагрев детали с отверстием или, наоборот, сильное охлаждение вала.

Если поршневой палец плавающего типа, в верхнюю головку шатуна запрессовываются бронзовые или биметаллические втулки, изготовленные из стали с залитым во втулку тонким слоем бронзы. Но существуют двигатели с плавающим пальцем в верхней головке шатуна, в которой отсутствует втулка. В этом случае поршневой палец вращается непосредственно в отверстии верхней головки шатуна. Плавающий поршневой палец устанавливается в верхней головке шатуна с установленным зазором (0,015 ÷ 0,020 мм). Для смазывания плавающего поршневого пальца в верхней головке шатуна может быть сделано отверстие, через которое масло из внутренней полости поршня подаётся к поршневому пальцу.

Поскольку нагрузки на нижнюю часть поршневой головки шатуна значительно ниже, чем на верхнюю часть верхняя головка шатуна форсированных двигателей делается в виде трапеции, что увеличивает опорную поверхность пальца во время рабочего хода поршня.

Нижняя (шатунная) головка шатуна разборная. Состоит из верхней части, изготовленной как одно целое с шатуном и крышки нижней головки. Отверстие нижней головки шатуна растачивается на заводе при установленной крышке. Поэтому крышка нижней головки может использоваться только со своим шатуном.

Рисунок 1-шатун

1.2    Анализ условия работы шатуна

Шатун совершает сложное движение: верхняя головка вместе с поршнем движется возвратно-поступательно, повертываясь на некоторый угол относительно пальца или вместе с пальцем относительно бобышек поршня; нижняя головка вращается вместе с шатунной шейкой коленчатого вала; стержень шатуна совершает колебательное движение. В большинстве случаев нижнюю головку делают разъемной в плоскости, перпендикулярной оси шатуна.

Необходимость в разъеме нижней головки шатуна под углом возникает тогда, когда шатунные шейки коленчатого вала имеют большой диаметр. В этом случае нижняя головка шатуна получается значительных размеров, что затрудняет или делает невозможным монтаж и демонтаж поршня вместе с шатуном через цилиндр.

Крышку нижней головки шатуна крепят к нему двумя болтами, изготовленными из высококачественной стали. Гайки болтов шатуна затягивают только динамометрическим ключом и тщательно шплинтуют или стопорят специальными стопорными шайбами

Нижнюю головку шатуна и крышку растачивают вместе для получения отверстия правильной цилиндрической формы. Поэтому крышку нельзя перевертывать или переставлять на другие шатуны, так как это может вызвать изменение внутреннего диаметра вкладыша, что повлечет за собой выход из строя коленчатого вала или двигателя. Поэтому шатун должен быть прочным и жестким при возможно малой массе.

Рисунок 2- шатун с деталями

1.3    Выбор материала для изготовления детали

Многие фирмы по двигателестроению занимаются поисками альтернативных материалов для движущихся деталей поршневого двигателя с целью снижения их массы, в особенности массы шатуна. Это связано с тем, что движущиеся массы поршень-шатун создают несбалансированные колебательные нагрузки. В то же время, чтобы повысить эффективность использования топлива и обеспечить большую единичную мощность необходимы более высокие скорости. В свою очередь, при высоких скоростях несбалансированные силы становятся препятствием, достигая разрушающего уровня. Уменьшение массы шатуна, при условии сохранения высокого модуля упругости, позволяет устранить это препятствие и дает возможность решать проблему высокоскоростного двигателя. Кроме того, снижение массы шатуна приводит к снижению нагрузок на коленчатый вал и подшипники, уменьшению вибраций, шума, массы противовесов коленчатого вала и снижению потерь на трение. К материалу шатуна предъявляются высокие требования по прочности, жесткости и в особенности по многоцикловой усталостной прочности при температурах 150…180°С. В большей мере этим требованиям отвечают алюминиевые композиционные материалы (АКМ), армированные упрочнителем на основе карбида кремния и оксидов алюминия. Для этих материалов характерны высокая прочность и усталостная характеристика, повышенный модуль упругости, размерная стабильность при нагреве, износостойкость и технологичность при штамповке. Во внимание проведен цикл научно-исследовательских работ по изысканию материалов и разработке промышленной технологии производства шатунов из АКМ. Наиболее подходящим материалом признан композиционный материал класса AlSiC на основе сплава 1205. Этот сплав обладает высоким модулем упругости, достаточно высокой прочностью и усталостной характеристикой, но из за относительной дороговизны этот сплав используется в основном на спортивных и форсированных автомобилях.В данной работе рассмотрено изготовление шатунов для автомобилей серии ВАЗв котором используется более дешевый материал сталь 40ХН2МА (ГОСТ 4543-71), она не сильно отличается своими характеристиками от АКМ, но масса значительно выше. Самым подходящим материалом для шатунов является TI6AL4V grade 5, это «титановые» шатуны, но они предназначены для автомобилей у которых обороты более 12000, но значительным недостатком является их цена.

Для выбора материала шатуна сравним материалы AlSiCна основе сплава 1205, Хромомарганцевоникелевоюсталь 40XH2MA(ГОСТ 4543-71), и TI6AL4V grade 5, это «титановые».

Характеристики материалов.

.        Сплав 1205-SiC

предел прочности (временное сопротивление) σв=49МПа

Е, Гпа = 105

Твердость =148 НВ

.        40ХН2МА (ГОСТ 4543-71)

предел прочности (временное сопротивление) σв=46МПа

Е, Гпа = 70

Твердость =140 НВ

.        TI6AL4V grade 5 (титановые шатуны)

предел прочности (временное сопротивление) σв=110МПа

Е, Гпа = 127

Твердость =318 НВ

Легированная сталь, имеет хорошую прокаливемость и закаливается даже при больших сечениях заготовок. Цементация деталей проводится при температуре 900-920 °С. У изотермического превращения аустенита стали 40ХН2МА (ГОСТ 4543-71) отсутствует зона перлито-троститного распада. Аустенит распадается или на игольчатый тростит, или на мартенсит. Смягчающей обработкой для этой стали является высокий отпуск при 650-670°. Структура после такой термической обработки -сорбит с карбидами.

Табл. 1Химический состав

C,%

Si, %

Mn, %

Cr, %

Ni, %

Mo, %

0,36-0,44

0.17-0.37

0.5-0.8

0,6-0,9

1,25-1,65

0,15-0,25



2.      РАЗРАБОТКА СКВОЗНОЙ ТЕХНОЛОГИИ ПРОИЗВОДСТВА ШАТУНА


2.1 Технологическая схема производства шатуна

Разведка месторождения

Добыча железной руды открытым способом

Дробление и сортировка железных руд

(Дробление и сепаратизация руды)

Обогащение железной руды

(Добавление железо содержащих минералов)

Агломерация (Окускование руды)

Производство стали в дуговых электропечах.

Машины непрерывного литья заготовок (Получение слябов)

Прокат стали (Прокат прутков)

Резка стали

(Прессножницы)длинной 40 см

Горячая объемная штамповка заготовки (Придание будущей формы)

Цементация деталей при температуре 900-920  в течение 2-2.5 часов

Отпуск при температуре 600°С

Расточка верхней и нижней отверстий

Хонингование верхней и нижней

В шатунных шейках протачивают полости для центробежной очистки масла и пазы для замковвкладышей.


Срезание крышки от шатуна

2.2. Разведка месторождения

Разведка месторождения полезных ископаемых, совокупность геологоразведочных работ и связанных с ними исследований, проводимых для выявления и экономической оценки запасов минерального сырья в недрах. По данным разведки выясняются: геологическое строение месторождения, закономерности пространственного размещения, условия залегания, формы, размеры и строение залежей полезных ископаемых, количество и качество минерального сырья в недрах, его технологические свойства и факторы, определяющие условия ведения последующих эксплуатационных работ.

При разведке рудных участков применяются чувствительные приборы, регистрирующие изменения гравитационного и магнитного полей, электропроводности и других физических свойств горных пород земной коры. Геофизическое оборудование (магнитометры для поиска магнитных руд и гравиметры для выявления различий в плотности горных пород) может быть портативным или устанавливаться на автомобилях и самолетах.

Применение авиационных бортовых геофизических устройств значительно ускорило процесс разведки и повысило ее эффективность.

2.3 Добыча железной руды открытым способом

Существует множество способов добыч и железной руды, например: бурение; добыча с применением вертикальных стволов (способ добычи руды из глубоко залегающих месторождений; отбитая руда доставляется на поверхность подъемниками по главному стволу; для поддержания циркуляции воздуха используется вентиляция); добыча с применением наклонных горных выработок; штольни (горизонтальные горные выработки, обычно расположенные на склоне горы в местах, где уголь или руда выходят на поверхность или близки к поверхности); открытая разработка.

Мы будем рассматривать открытый способ добычи железной руды. Открытая разработка (добыча) - наиболее дешевый способ, поскольку при этом используется мощное производственное оборудование, позволяющее за смену извлекать большое количество полезного ископаемого. Условия работы при открытой разработке менее опасны для здоровья работающих, причем требуется меньшая численность контролирующего персонала, чем при подземной добыче. В процессе открытой разработки первоначально проводят вскрышные работы, т.е. удаление пустых пород, покрывающих залежь. Во многих крупных открытых рудниках существует разветвленная сеть рельсовых путей, по которым на грузовых составах, ведомых электровозами или локомотивами на аккумуляторах, перевозятся сотни тонн руды. В настоящее время для погрузки породы и руды используются механические погрузочные машины и автоматические погрузчики. Механические погрузочные машины подбирают материал и грузят в вагонетку. Автоматические погрузчики на колесном или гусеничном ходу внедряют кромку погрузочного органа достаточно далеко в отбитый материал, загребные лапы непрерывно подают его на цепной или ленточный конвейер, который выгружает руду со скоростью от 4 до 10 т/мин. В выработках, не оборудованных рельсовыми путями, автоматические погрузочные машины загружают материал в автомобили с конвейерами в донной части. Эти доставочные машины перевозят материал от пункта погрузки к распределительной станции системы ленточных конвейеров, транспортирующих его непосредственно на поверхность или к стволу для последующего подъема. Крутонаклонные ленточные конвейеры могут перемещать породу под углом 30-40°.. Погрузка и транспортировка отбитого материала составляют один из наиболее дорогостоящих процессов добычи, особенно по мере увеличения глубины горных работ и их удаления от выработок, имеющих выход на поверхность.

В настоящее время открытым способом добывают основную массу полезных ископаемых, в том числе около 80 % железорудного сырья, примерно 60 % марганцевых руд и почти 70 % руд цветных металлов, что объясняется большей экономической эффективностью открытых разработок по сравнению с подземными.

2.4 Дробление и сортировка железных руд

Подготовка руд к плавке осуществляется для повышения производительности , снижения расхода кокса и улучшения качества . Цель этой подготовки - увеличение содержания железа в шихте и уменьшение в ней вредных примесей -серы, фосфора, повышение ее однородности по кусковатости и химическому составу. Метод подготовки добываемой руды зависит от ее качества. Дробление и сортировка руд по крупности служат для получения кусков оптимальной для плавки величины. Дробление руды осуществляется на щековых или конусных дробилках, а также в шаровых мельницах и других агрегатах. Размельченную руду сортируют по крупности грохочением, подобным просеиванию, на различных по конструкции классификаторах и гидроциклонах. Дробление и сортировка руд по крупности служат для получения кусков оптимальной для плавки величины.

Дробление осуществляется на специальных машинах - дробилках. При дроблении руды образуется некоторое количество мелочи, затрудняющей процесс плавки руды.

Самыми распространенными видами дробилок являются:

·    конусные;

·        щековые дробилки;

·        валковые;

·        молотковые.

2.5 Обогащение железной руды

Обогащением руды называется операция, увеличивающая содержание железа или снижающая содержание вредных примесей в руде.

Бедная железом и содержащая вредные примеси железная руда подвергается обогащению с целью увеличения в ней процентного содержания железа. В процессе обогащения из руды частично удаляется пустая порода.

Сначала проводим мокрый способ обогащения в отсадочных машинах. В них имеются по крайней мере два отделения. Тяжелые частицы, попавшие в приемное отделение, скапливаются на дне; более легкие частицы всплывают. Подаваемая болотная руда захватывается подаваемой по желобу текущей водой и поступает в поверхностный слой на нижней части уклона, который стремится выплеснуться через край. Вода отмывает и уносит с собой глинистые и песчанистые примеси. Так как железная руда и содержащаяся в ней пустая порода имеют различные удельные веса, то во время отсадки более тяжелые частицы руды быстрее оседают в воде, чем более легкие зерна пустой породы. Легкий материал смешивается с верхним слоем, и поперечный поток воды сносит его через перегородку в соседнее отделение, где происходит аналогичная сепарация. Потом желоб перекрывается и обогащенная руда удаляется.

Далее, полученные крупные куски железной руды размельчаем на дробилках до получения зерен определенной величины. Образующаяся при размельчении руды мелочь просеивается на ситах, либо отделяется дутьем. После этого руда сортируется.

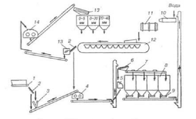
Из мелочи и рудной пыли получаем окатыши - полуфабрикат металлургического производства железа. Шихта, то есть смесь тонко измельчённых концентратов железосодержащих минералов, флюса (добавок, регулирующих состав продукта), и упрочняющих добавок (обычно это бентонитовая глина, будем экспериментировать), увлажняется и подвергается окатыванию во вращающихся чашах или барабанах.

В результате окатывания получают близкие к сферическим частицы диаметром 1-30 мм. Они высушиваются и обжигаются при температурах 1200-1300 C на специальных установках - обжиговых машинах. Обычно обжиговые машины представляют собой конвейер из обжиговых тележек (паллет), которые движутся по рельсам. В верхней части обжиговой машины над обжиговыми тележками располагают отопительный горн, в котором происходит сжигание газообразного, твердого или жидкого топлива и формирование теплоносителя для сушки, нагревания и обжига окатышей. Чаще же всего руду обжигают в кучах или в особых печах, например, вращательных, наподобие служащих для обжига цемента. Мы на первом этапе только подсушиваем окатыши.

Обожжённые окатыши приобретают высокую механическую прочность. При обжиге удаляется значительная часть сернистых загрязнений. При использовании окатышей исключается раздельная загрузка в печь руды и флюсов, значительно сокращается количество шлака при переработке руд с низким содержанием железа. Кроме того, повышается производительность плавки в печи.

Производится также термическая обработка руд, к которой относятся обжиг и агломерация. Благодаря обжигу в специальных печах при температуре 600-800RС из руды удаляются влага, углекислый газ, сера. В результате руда очищается и обогащается, становится более пористой и легче восстанавливается.

Агломерация заключается в спекании рудной мелочи в специальных машинах. Получающийся при этом агломерат состоит из пористых кусков руды с невысоким содержанием серы (сера частично выгорает в процессе спекания), что облегчает проникновение газов и тем повышает восстановимость руды.

2.6 Агломерация

Агломерация - метод для создания предметов из порошкового материала при нагревании ниже температуры плавления, при этом происходит слипание частиц между собой из-за затвердевания легкосплавных частей материала. Агломерация является процессом подготовки железорудного сырья.

Агломерат - окускованный рудный концентрат, полученный в процессе агломерации.

Окускование производят для переработки концентратов, полученных после обогащения, в кусковые материалы необходимых размеров.

При агломерации шихту, состоящую из железнойруды (40 - 50 %), известняка (15-20 %), возврата мелкого агломерата (29 - 39 %), коксовой мелочи (4 - 6 %), влаги (6-9 %), спекают на агломерационных машинах при температуре 1300 ... 1500 °С. При спекании из руды удаляются вредные примеси (сера, мышьяк), разлагаются карбонаты и получается кусковой пористый офлюсованный материал - агломерат.

Агломерация включает: подготовку шихты (дозировка отдельных компонентов, смешивание, увлажнение и окомкование), спекание подготовленной шихты на англомерационных машинах, обработку горячего спека (дробление, рассев с удалением кусков до 5-10 мм, охлаждение до 100°С, сортировка). Процесс спекания тесно связан с работой узлов и агрегатов, обеспечивающих подготовку сырых материалов для А. Поэтому первостепенное значение имеет стабилизация основных входных параметров процесса (усреднение и дозировка материалов, химический состав, влажность и т.д.), которые открывают пути к комплексной автоматизации агломерационного процесса. А. осуществляется на агломерационных фабриках, в состав которых входят склады для усреднения и хранения запасов шихтовых материалов, приёмные бункера, отделения для измельчения кокса и известняка (иногда и обжига известняка), шихтовое, спекательное и обарботки готового агломерата (рис.).

Рисунок 3- Процесс дробления и агломерации руды; пластинчатый питатель; 2- неподвижная решетка; 3- щековая дробилка; 4- валковая дробилка; 5- молотковая дробилка; 6,15- виброгрохоты; 7- реверсивный ленточный конвейер с ножами; 8- бункеры с шихтой; 9- ленточные питатели; 10- шихтосмеситель; 11- гранулятор; 12- агломерационная машина; 13- роторная дробилка; 14- зубчатая дробилка

.7 Производство стали в дуговых электропечах

Сталь, полученная в дуговых электропечах отличается низким содержанием серы, фосфора и неметаллических включений. Содержание легирующих элементов остается достаточно высоким.

Процесс электроплавки отличается возможностью регулирования температуры и состава металла. В дуговых электропечах производят, в основном, высоколегированные, инструментальные, нержавеющие, шарикоподшипниковые, жаропрочные и жаростойкие стали.

Технология плавки. Плавка в дуговой печи начинается с заправки печи. Жидкоподвижные нагретые шлаки сильно разъедают футеровку, которая может быть повреждена и при загрузке. Если подина печи во время не будет закрыта слоем жидкого металла и шлака, то она может быть повреждена дугами. Поэтому перед началом плавки производят ремонт - заправку подины. Перед заправкой с поверхности подины удаляют остатки шлака и металла. На поврежденные места подины и откосов - места перехода подины в стены печи - забрасывают сухой магнезитовый порошок, а в случае больших повреждений - порошок с добавкой пека или смолы.

Заправку производят заправочной машиной, выбрасывающей через насадку при помощи сжатого воздуха заправочные материалы, или, разбрасывающей материалы по окружности с быстро вращающегося диска, который опускается в открытую печь сверху. Основные преимущества способа получения стали в электрических печах - возможность создания высокой температуры в плавильномпространстве печи (более 2000 'С) и выплавки стали и сплавов любого состава; использование известкового шлака (до 50...60 % СаО), способствующего хорошему очищению металла от вредных примесей - серы и фосфора; возможность ведения плавки при всех режимах и условиях производства.

Рисунок 4- Схематичное изображение дуговой электропечи

Дуговая печь имеет сварной стальной цилиндрический корпус со сферическим днищем, который выложен внутри огнеупорным и теплоизоляционным кирпичом. Свод печи делается съемным и имеет отверстия для электродов (угольных или графитовых диаметром 400...500 мм и длиной 2 м). Число электродов соответствует числу фаз электрического тока. Крепятся они в электродержателях и при помощи специального механизма могут перемещаться вверх и вниз. Печь имеет рабочее окно и выпускное отверстие. Устанавливается печь на дугообразных полозьях и с помощью двигателя поворачивается в сторону выпускного отверстия со сливным желобом.

2.8 Машина непрерывного литья заготовок

МНЛЗ состоит из сталеразливочного и промежуточного ковшей, водоохлаждаемого кристаллизатора, системы вторичного охлаждения, устройства для вытягивания, оборудования для резки и перемещения слитка.

После выпуска металла из сталеплавильного агрегата, доводки по химическому составу и температуре на АКП, ковш поднимается литейным краном на поворотный стенд МНЛЗ. Поворотный стенд представляет собой вращающуюся конструкцию с двумя позициями для установки ковшей. После опустошения ковша в позиции разливки, стенд поворачивается на 180° и уже полный ковш находится в позиции разливки. После открытия шибера ковша, жидкий металл начинает поступать в промежуточный ковш. Промежуточный ковш является своего рода буфером между ковшом и кристаллизатором. После открытия стопора (стопорный механизм позволяет плавно регулировать поток металла в кристаллизатор, поддерживая в нем постоянный уровень) пром. ковша металл поступает в кристаллизатор. Кристаллизатор представляет собой водоохлаждаемую конструкцию, которая совершает вертикальные колебания, для предотвращения застывания металла на стенках кристаллизатора. В зависимости от конструкции МНЛЗ размеры кристаллизатора могут варьироваться. В кристаллизаторе происходит застывание стенок сляба. Далее, под воздействием тянущих роликов сляб попадает в зону вторичного охлаждения (дуговой участок ручья), где на металл через форсунки разбрызгивается вода. После выхода металла на прямолинейный участок ручья, происходит отрезание слябов.

Рисунок 5- Схематичное изображение машины непрерывного литья заготовок:: 1 - ковш, 2 - промежуточное разливочное устройство, 3 - кристаллизатор (изложница без дна), 4 - затвердевающий слиток, 5- тянущие валики, 6 - зона вторичного охлаждения, 7 - зона резки, 8 - газовый резак

В зависимости от сортамента холодного проката устанавливают необходимое число клетей с таким расчетом, чтобы за один пропуск через непрерывный стан получить заданную толщину проката. Трехклетевые непрерывные станы допускают прокатку полосы за одинпропуск через стан с суммарным обжатием 45-60% ;четырехклетевые непрерывные станы допускают за один пропуск через стан суммарное обжатие полосы 70-80% и пятиклетевые - суммарное обжатие полосы за пропуск до 90%.

.9 Прокат и резка стали

Прокатный стан - комплекс оборудования, в котором происходит пластическая деформация металла между вращающимися валками.

Прокатка металлов является таким видом пластической обработки, когда заготовка обжимается (сдавливается), проходя в зазор между вращающимися валками, при этом, она уменьшается в своём поперечном сечении и увеличивается в длину. Существует три вида прокатки:

·    продольная,

·        поперечная,

·        поперечно-винтовая (или косая).

Для дальнейшего производства прутка применяется продольная прокатка. При продольной прокатке деформирование заготовки осуществляется между вращающимися в разные стороны валками. Оси прокатных валков и обрабатываемой заготовки параллельны (или пересекаются под небольшим углом). Оба валка вращаются в одном направлении, а заготовка круглого сечения - в противоположном. В процессе поперечной прокатки обрабатываемая заготовка удерживается в валках с помощью специального приспособления. Обжатие заготовки по диаметру и придание ей требуемой формы сечения обеспечиваются соответствующей профилировкой валков и изменением расстояния между ними. Данным способом производят изделия, представляющие собой тела вращения (шары, оси, шестерни и пр.).

Металлургическая промышленность России выпускает разнообразные виды проката, отличающиеся по форме поперечного сечения и размерам. Все эти изделия перечень которых называется сортаментом, как правило, стандартизованы. Хотя сортамент прокатных изделий весьма обширен, все же представляется возможным весь прокат разбить на следующие основные четыре группы: сортовой, листовой, трубы, специальные виды проката (бандажи, колеса, периодические профили и пр.). Наиболее разнообразной является группа сортового проката, который подразделяется на простые и фасонные профили. Прокат в виде круга, квадрата, полос плоского сечения относится к простым профилям. Прокат сложного поперечного сечения относится к фасонным профилям. Таким образом заготовка для производства прутка относится к группе сортового проката простого профиля.

Весь сортовой прокат подразделяется на четыре группы: сталь крупносортная, среднесортная, мелкосортная и катанка диаметром от 5,5 до 9 мм. Заготовка для производства проволоки диаметром 3,6 мм относится к четвертой группе сортового проката.

Прокатка сортового металла включает следующие основные операции: нагрев до 1100-1250 °С; подачу нагретой заготовки к рабочим клетям и прокатку в несколько проходов в калибрах, постепенно приближающих сечение исходной заготовки к сечению готового профиля; резку проката на пилах или ножницах на части требуемой длины или сматывание в бунты; охлаждение на холодильниках; правку на роликовых правильных машинах; контроль и отправку на склад готовой продукции.

2.10 Получение заготовки путем горячей объемной штамповки

Горячая объёмная штамповка - это вид обработки металлов давлением, при которой формообразование поковки из нагретой заготовки осуществляют с помощью специального инструмента - штампа.

Изготовление заготовок шатунов горячей штамповкой отвечает требованиям поточно-массового производства, т.к. этот метод приближает форму и размеры заготовки к форме и размерам готовой детали за счёт применения специальной технологической оснастки и специального оборудования, что снижает отход металла в стружку при механической обработке. При этом обеспечивается выгодное расположение волокон в металле, что повышает прочностные показатели деталей.

Заготовка шатуна изготовляется из прутка длиной 400 мм. Отход на угар, заусенцы и клещевину составляет 40%. Поверхности шатуна, не подлежащие обработке, должны быть чистыми (без окалины, закатов, плён, расслоений и трещин). Шатуны, имеющие трещины любого размера и расположения, а также отклонение торцов верхней и нижней головок от положения в одной плоскости более чем на 1,0 мм, выбраковываются. Проверка на отсутствие трещин осуществляется на магнитном дефектоскопе в магнитном поле при силе тока 800 А.

2.11 Цементация детали

Последующую обработку детали производят цементированием. Оно необходимо для улучшения прочностных характеристик вала. Цементирование производится только наружной поверхности, обеспечивая внутреннему диаметру необходимую вязкость, что улучшает эксплуатационные характеристики.

Цементация стали - это процесс поверхностного насыщения машиностроительной малоуглеродистой стали углеродом, произведенный с целью поверхностного упрочнения деталей. Легированная сталь, имеет хорошую прокаливемость и закаливается на мартенсит даже при больших сечениях заготовок. Цементация деталей проводится при температуре 900-920 °С. На диаграмме изотермического превращения аустенита стали 40ХН2МА отсутствует зона перлито-троститного распада. Аустенит распадается или на игольчатый тростит, или на мартенсит.

Смягчающей обработкой для этой стали является высокий отпуск при 650-670°. Структура после такой термической обработки -сорбит с карбидами.

2.12 Расточка и хонингование отверстий

Предварительно растачивают отверстие до диаметра 92,4 мм резцом с пластинкой из твердого сплава Т5КЮ (частота вращения расточной головки 372 об/мин, подача головки - 0,23 мм/об). Окончательно растачивают отверстие до диаметра 92,96+0>034 мм резцом с пластинкой из твердого сплава Т30К4 (частота вращения расточной головки - 520 об/мир, подача - 0,1 мм/об). После этого вшатунныхшейкахпротачиваютсяполости для центробежной очистки масла, высверливаются отверстия под болты крышки, затем крышка срезается.

После расточки отверстие в нижней головке шатуна хонингуют в размер 93+0'021 мм.



Рисунок 6- Приспособление для расточки отверстий в головке шатуна: 1 - прижим; 2, 14 - съемные пальцы; 3 - накидная гайка; 4 - планка; 5, 15 - установочные втулки; 6, 10 - съемные приставки; 7 - палец срезанный; 8, 18 - направляющие втулки; 9, 12 - конусные шайбы; 11 - прихват; 13 - болт; 16 - установочный палец; 17 - упор; 19 - корпус

Рисунок 7- Хонинговальная головка: 1 - гидроцилиндр; 2 - опорная втулка: 3 - установочный палец; 4 - планка; 5 - колодка хонинго-вальной головки; 6 - алмазные бруски; 7 - поводок; в - чека; 9 - стержень; 10 - толкатель; 11 - корпус головки: 12 - разжимной конус; 13 - планка: 14 - прижимная втулка; 15 - шатун; 16 - корпус

Цель хонингования - сократить до минимума припуск на окончательную обработку алмазной разверткой до 5…8 мкм, повышение производительности.

Проведенные исследования показали, что хонингование и алмазное развертывание не нарушают координатное расположение осей отверстий и их взаимное расположение, параллельность и скрещивание окончательно формируются на операции расточки отверстий в малой головке.

Хонингование отверстия в нижней головке шатуна после расточки или наплавки производят на вертикально-хонинговальном станке, показанном на рис.5. Хонинговальную головку крепят в патроне, который устанавливают в шпиндель станка. Привод механизма разжима брусков встроен в шпиндельную бабку станка. Поступательное движение от привода передается толкателю 10 и через поводок 7 разжимному конусу 12. Последний, воздействуя на планки 13, разжимает колодки 5 с алмазными брусками 6. Хонингуют отверстие предварительно до диаметра 92,99+°>021 мм алмазными брусками марки 2768-0103-Г-АСР 100/8Q-50M-73 (ГОСТ 16606-71) при удельном давлении брусков 4-6 кгс/см2и окончательно до диаметра 93+0,021 мм алмазными брусками марки 2768-0103-1-АСМ 28/20-50М-73 (ГОСТ 16606-71) при удельном давлении брусков 3-5 кгс/см2. Хонинговальная головка должна делать 88 двойных ходов в минуту при 88 об/мин шпинделя станка. Расточку отверстия под втулку и во втулке под поршневой палец производят на алмазно-расточном станке.

С корпуса 19 приспособления снимают съемную приставку, 6, а на ее место устанавливают съемную приставку 10 и крепят болтами. На приставку устанавливают шатун, базируя отверстием в нижней головке на установочный палец 16 и упор 17, фиксируют отверстие верхней головки относительно оси шпинделя станка съемным пальцем 14, крепят шатун в приспособлении болтом 13 и вынимают съемный палец 14. Растачивают отверстие до диаметра 56 + 0'03 мм под втулку резцом с пластинкой из твердого сплава Т30К4 при 860 об/мин расточной головки и подаче 0,1 мм/об. Шероховатость поверхности после обработки Ra = 1,25 мкм.

Бронзовую втулку запрессовывают с натягом 0,05-0,12 мм заподлицо с торцом шатуна, совместив масляные отверстия во втулке и шатуне. Перед запрессовкой втулку охладить до температуры минус 50°С в специальном контейнере с сухим льдом.

Рисунок 8- Приспособление для контроля шатуна: 2, 6 - индикатор; 3 - основание; 4 - корпус; 5 - стойка; 7 - упор; 9 - базовый палец; 10 - установочный палец; U - скоба

Изгиб, скручивание шатуна, расстояние между осями отверстий верхней и нижней головок проверяют на контрольном приспособлении.

Настройку индикаторов, установленных на приспособлении, производят по эталону. В верхнюю головку шатуна вставляют установочный палец 10, надевают шатун отверстием нижней головки на базовый палец 9 и кладут выступающими поверхностями установочного пальца 10 на упор 7.

Непараллельность осей отверстий верхней и нижней головок не должна превышать 0,04 мм на длине 100 мм.

Оси отверстий должны лежать в одной плоскости, отклонение не более 0,03 мм на длине 100 мм.

Расстояние между осями должно быть 280±0,03 мм. Контроль отверстий (диаметр 50^0^° mm и диаметр 93+0'021 мм) производят индикаторным нутромером. Шероховатость поверхностей в отверстиях головок - Rа = 0,63 мкм торцов Rа=1,25 мкм. Проверяют совпадение отверстий во втулке и шатуне. После всех операций шатуны сортируются станком на «тяжелые» и «легкие».

ЗАКЛЮЧЕНИЕ

штамповка расточка дуговый заготовка

В результате анализа шатуна было установлено, что данная деталь имеет сравнительно средние размеры и сравнительно не сложную конструкцию, при этом работает в тяжелых условиях под воздействием ударных сил. Исходя из данных условий, возникает необходимость использования высококачественной Хромомарганцевоникелевой стали с молибденом, такой как 40ХН2МА (ГОСТ 4543-71). Изготовление деталей включает в себя этапы от стадии добычи железной руды до запрессовки втулки и проверки на отклонения, а также рассмотрены разные варианты материалов для шатунов.

Окатывание применяют для обработки тонко измельченных концентратов. Шихта, состоящая из измельченных концентратов, флюса, топлива, увлажняется и при обработке во вращающихся барабанах, тарельчатых чашах (грануляторах) приобретает форму шариков-окатышей диаметром до 30 мм. Окатыши высушивают и обжигают при 1200-1350 °С на специальных машинах (рис. 9).

Рис. 9. Схема образования окатышей в грануляторе; 1 -чаша; 2 - скребки; 3 - Механизм изменения угла наклона чаши

После обжига окатыши приобретают высокую прочность при достаточной пористости. Использование агломерата и окатышей исключает отдельную подачу флюса - известняка в доменную печь при плавке, так как флюс в необходимом количестве входит в их состав. Это улучшает работу доменной печи, повышает ее производительность, снижает расход кокса. Шихта состоит из тонкоизмельченного концентрата (меньше 0,5 мм), из известняка (флюса) и возврата (отбракованных окатышей).

Для лучшего окатывания шихту увлажняют (8…10 %) и в ее состав добавляют связующее - бентонитовую глину (до 1,5 %). Образование окатышей диаметром 25…30 мм происходит в грануляторе - вращающейся со скоростью 6…9 об/мин неглубокой чаше. Далее окатыши подвергают сушке при температуре 200…400 °С, а затем обжигу при 1300…1400 °С, после чего они приобретают высокую прочность.

Похожие работы на - Разработка сквозной технологии производства шатуна

 

Не нашли материал для своей работы?
Поможем написать уникальную работу
Без плагиата!
Без нейросетей!