Процесс обработки детали типа поперечина с использованием многоцелевого станка VERTIMASTER RPGTM 32-60
Введение
В настоящее время машиностроительное производство, выпускающее станки
сталкивается с рядом проблем, связанных с изготовлением высокотехнологичных
изделий, деталей и узлов, обеспечивающих высокую конкурентоспособность.
Конкурентоспособность также обеспечивает низкая цена изготавливаемых изделий. С
первого взгляда перед машиностроением стоит практически невыполнимая задача,
т.к. изготовление точных, надежных станков автоматически обозначает их высокую
цену. Но решение есть - применение высокотехнологичного многофункционального
оборудования. Это особенно эффективно в условиях серийного производства,
каковым и является в настоящее время производство станков.
Внедрение многофункциональных с ЧПУ станков в производство требует
вложения значительных средств, но при этом значительно экономятся
производственные площади, что уменьшает размеры цеха, а следовательно стоимость
аренды земли; значительно уменьшается количество рабочих мест, а также
понижается требуемая квалификация рабочих; упрощается технологический маршрут
изготовления детали что позволяет сэкономить время и деньги на вспомогательных
переходах. Несмотря на высокую цену многофункциональных станков с ЧПУ их
применение более выгодно с той стороны, что они заменяют большое количество
обычных станков, суммарная стоимость которых будет на много выше.
Повышение машинного времени станков путем устранения потери на
переналадку зависит от степени автоматизации комплекса и сложности
обрабатываемых заготовок. Объединение станков с ЧПУ в комплексы с автоматизированной
транспортной системой спутников позволяет поднять использование машинного
времени на 10 - 20 %, с автоматизированным обеспечением инструментом на 40 - 70
%, а комплексная автоматизация всех транспортных работ приводит к двукратному
(и более) повышению использования машинного времени станков при обработке
деталей малой партии.
Повышение коэффициента сменности при объединении станков с ЧПУ в
автоматизированные комплексы достигается путем расширения многостаночного
обслуживания, а также выполнения основных подготовительных работ в первую смену
и возможности работы в 2-3 смены с небольшим числом операторов.
Уменьшение вложений в оборотные средства при объединении станков в
автоматизированные комплексы вследствие сокращения производственного цикла,
приводящего к уменьшению не завершенного производства, будет тем значительнее ,
чем выше эффективность использования оборудования.
Уменьшение числа основных рабочих в производстве является тем источником
эффективности, который в настоящее время может служить основным побудителем
объединения станков с ЧПУ в автоматизированные комплексы. Комплексная
автоматизация всех транспортных работ и управления работой оборудования
позволяет перейти к самому широкому многостаночному обслуживанию и в
перспективе, по мере роста надежности, к работе «без человека» во второй и
третей сменах
1. Анализ
существующих технологических решений по повышению изготовления стойки
1.1 Технологические
решения
Во время прохождения преддипломной практики было получено
задание на дипломный проект для разработки технологического процесса
изготовления стойки для многоцелевого станка Vertimaster rpgtm 32-60.
Стойка обрабатывается на 6 станках на разных участках, что требует
дополнительных затрат на её транспортировку от станка к станку между операциями.
Базовый технологический процесс ООО «Седин Станко» по
изготовлению планшайбы для многоцелевого станка Vertimaster rpgtm 32-60 содержит 6 операций:
Продольно-фрезерная, горизонтально-расточная, продольно-строгальная,
радиально-сверлильная, продольно-шлифовальная, комплексная на станках с ЧПУ
1.2 Конструкторские
решения
По конструктивным решениям мы принимаем контрольное приспособление -
автоматического контроля точности отлива заготовки. Производится контроль будит
с помощью системы промышленного зрения Prersence PLUS pro.
Собирается металлическая конструкция состоящая из двух
опорных систем и двух ферм. Ферма состоит из направляющей, основания, раскосов
Выбранное приспособление повышает производительность труда
улучшает условия их работы, повышает качество и объективность работы.
Опишем принцип работы, система автоматического контроля
точности отлива(САКТО) устанавливается над заготовкой (стойка станка Vertimaster rpgtm 32-60). Запустив САКТО система автоматически сканирует
заготовку камерой PresencePLUS Pro с точностью ±1мм2 на 10 м2
, затем контроллер обрабатывает полученную информацию и передает её на
компьютер который в свою очередь сравнивает полученные данные с исходными и
выдаёт результат пригодности дальнейшего использования заготовки.
1.3 Организационные
вопросы
Организаторскими решениями являются принятые меры по повышению
квалификации рабочих, то есть, необходимо обучить рабочих пользованию вновь
разработанных приспособлений. Провести инструктаж по использованию заново
принятого станка и оборудования.
1.4 Постановка
задач разработки
Целью настоящей работы является разработка оптимального технологического
процесса механической обработки стойки на многоцелевом станке Vertimaster rpgtm 32-60.
Для оптимизации базового технологического процесса изготовления стойки мы
используем многоцелевой станок Vertimaster rpgtm 32-60. Этот станок заменяет
горизонтально-расточную, продольно-фрезерную и радиально-сверлильную операции.
За счёт использования многоцелевого станка Vertimaster rpgtm 32-60 и современного режущего инструмента
значительно уменьшается длительность технологического процесса изготовления
стойки.
2. Технологический
раздел
.1
Служебное назначение изделия
Рисунок 1 Стойка
2.2 Анализ
технологичности конструкции
Изделие - стойка (рисунок 1). Стойка - отливка из чугуна хорошего
качества коробчатого типа с поперечными стенками и ребрами жесткости. Спереди
две направляющие поверхности для поперечины. Деталь изготавливается из серого
чугуна СЧ25 литьем, по этому конфигурация наружного контура и внутренних
поверхностей не вызывает значительных трудностей при получении заготовки. Тем
не менее даже при этом формовка должна производится с применением стержней,
формирующее внутренние отверстия.
Сзади на стойке устанавливаются 2 пары гидравлических зажимных устройств
- по 4 пары на каждой поперечине. Ширина стойки по направляющим призмам
поперечины обеспечивает оптимальное распределение нагрузок от масс и усилий
резания.
2.3
Разработка технологического процесса механической обработки детали
.3.1
Назначение, конструкция детали
Изделие - стойка. изготавливается из серого чугуна СЧ25 литьем. Стойка -
отливка из чугуна хорошего качества коробчатого типа с поперечными стенками и
ребрами жесткости. Спереди две направляющие поверхности для поперечины. Сзади
на стойке устанавливаются 2 пары гидравлических зажимных устройств - по 4 пары
на каждой поперечине. Ширина стойки по направляющим призмам поперечины
обеспечивает оптимальное распределение нагрузок от масс и усилий резания.
2.3.2
Анализ технологичности детали
Стойка обеспечивает обработку во всем установленном для станка диапазоне
размеров и воспринимает нагрузки от массы поперечины, суппорта, магазина и от
усилий обработки. Стойка обеспечивает перемещение поперечины по
гидростатическим направляющим призмам в пределах рабочего хода с возможностью
бесступенчатого перемещения в пределах установленного хода.
2.3.3
Выбор заготовки
Метод получения заготовок определяется назначением и конструкцией детали,
материалом, техническими требованиями, масштабом и серийностью выпуска, а также
экономичностью изготовления.
Литые заготовки стоек должны обладать высокой износостойкостью и
твёрдостью монолитных направляющих, не допустим отбел чугуна в тонких стенах,
приводящей к большим напряжениям, короблениям, трещинам. Для получения
высококачественных отливок применяют нелегированный чугун оптимизированного
состава марок СЧ 20, СЧ 25, СЧ30. Серый
Так для единичного производства и требуемой формы детали целесообразнее
всего будет применить чугунные заготовки, получаемые литьём.
Данный метод получения заготовок является универсальным и позволяет
получить заготовки формой приближённой к форме детали.
2.3.4
Выбор технологических баз
Установка производится на стол станка поверхностью Б1 вниз.
Рисунок 2. Схема базирования на многооперационном станке VERTIMASTER
RPGTM 32-60.
В операциях 015, 020, 025, 030, 035, 040, 055, 075, 080, 085, 090 схема
базирования аналогична.
Установка производится на стол станка поверхностью В1 вверх.
Рис. 3. Схема базирования на многооперационном станке VERTIMASTER RPGTM
32-60.
2.3.5
Сравнительный анализ технологических маршрутов изготовления детали
В данной курсовом проекте рассматриваются два технологических маршрута
изготовления стойки. В первом используются следующие типы станков:
продольно-фрезерный, горизонтально-расточной, радиально-сверлильный,
продольно-шлифовальный и продольно-строгальный.
Во втором станки следующего типа: многооперационный VERTIMASTER RPGTM
32-60 и продольно-шлифовальный.
Из анализа технологических маршрутов видно, что второй маршрут
значительно выгоднее по ряду факторов: экономия времени на установку детали,
сокращение общего числа операций, сокращение энергозатрат, уменьшение числа
рабочих, сокращение времени обработки за счёт использования современного
режущего инструмента и т. д.
2.3.6
Выбор металлорежущих станков
Станок многооперационный VERTIMASTER RPGTM 32-60.
|
Наименование параметра
|
Величина
|
|
Наибольший размер
обрабатываемой заготовки, мм: - диаметр при токарной обработке - диаметр при
обработке осевым инструментом - длина х ширина при обработке в зоне
прямоугольного стола 2. Наибольшая высота обрабатываемой заготовки, мм:
Наибольшая масса заготовки при токарной обработке,
т. Наибольшая масса заготовки при продольном
фрезеровании Диаметр планшайбы, мм Величина
продольного перемещения портала, мм Пределы частоты вращения
планшайбы, об/мин: - при токарной обработке - при круговом фрезеровании и
позиционировании Наибольшая величина перемещения поперечины, мм Наибольшая
величина перемещения суппорта, мм: - по оси «X»р - по оси «Z»
|
3200 3000 6000х3000 2500 25
40 2800 9200 0,5... 160 0.0004...4 1900 4800 1400
|
|
Размеры поперечного сечения
ползуна, мм Мощность главного привода, кВт: - в режиме длительной работы ( S1
) Наибольший крутящий момент на планшайбе, кНм: - в режиме длительной работы
( S1 ) Наибольшее допустимое усилие резания, Кн: - при
токарной обработке - при фрезеровании Пределы частоты вращения шпинделя?
сверлильно-фрезерного привода в ползуне суппорта, об / мин Мощность
сверлильно-фрезерного привода, кВт Крутящий момент на шпинделе
сверлильно-фрезерного привода при редукции инструментальной головки 1:1, Н*м
Пределы рабочих подач подвижного портала, мм/мин
|
250 x
210 110 (55x2) 61.9 50 25 5÷1600 S1 - 28, S2 - 37 700 0.1...8000 0.1...8000
|
Продольно-фрезерный станок 6475.
|
Размеры рабочей
поверхности стола: длина ширина
|
5500 1600
|
|
Наибольшая
длина обрабатываемой заготовки
|
9500
|
|
Наибольшая
масса обрабатываемой заготовки
|
25000
|
|
Частота
вращения шпинделя, об/мин
|
25 - 1250
|
|
Число скоростей
шпинделя
|
18
|
|
Наибольшие
перемещения: стола продольное гильз шпинделей
|
5500 315
|
|
Подача ,
мм/мин: стола шпиндельной бабки
|
5 - 2000 10 -
2000
|
|
Расстояние до
поверхности стола: от оси горизонтального шпинделя от торца вертикального
шпинделя
|
0 - 1050 260 -
1330
|
|
Мощность
электродвигателя главного движения, кВт
|
22х2
|
|
Габаритные
размеры (без ЧПУ): длина ширина высота
|
13170 4535
5500
|
|
Число
шпиндельных бабок: горизонтальных вертикальных
|
1 1
|
|
Масса, кг.
|
57700
|
Горизонтально-расточной станок 217600.
|
Тип компоновки
станка
|
А
|
|
Диаметр
выдвижного шпинделя
|
90
|
|
Конус для
крепления инструментов в выдвижном шпинделе
|
Морзе 5
|
|
Размеры
поворотного стола
|
1120х1250
|
|
Наибольшая
масса обрабатываемой заготовки, кг
|
3000
|
|
Наибольшее
перемещение: вертикальное шпиндельной бабки продольное выдвижного шпинделя
радиального суппорта планшайбы стола: продольное поперечное
|
1000 710 160
1120 1000
|
|
Число
скоростей: шпинделя планшайбы
|
22 15
|
|
Частота
вращения, об/мин: шпинделя планшайбы
|
12,5-1600
8-200
|
|
Подача, мм/мин
шпинделя шпиндельной бабки стола радиального суппорта планшайбы
|
2,2-17600
1,4-11000 1,4-11000 0,88-700
|
|
Дискретность
задания размеров
|
0,01
|
|
Мощность
электродвигателя главного движения, кВт
|
8,3; 10,2
|
|
Габаритные размеры
(без ЧПУ): длина высота ширина
|
5700 3650 3100
|
|
Масса, кг.
|
12900
|
Радиально-сверлильный станок 2690000.
|
Наибольший
условный диаметр сверления в стали
|
50
|
|
Расстояние от
оси шпинделя до образующей колонны
|
375-1600
|
|
Расстояние от
нижнего торца шпинделя до рабочей поверхности плиты
|
450-1600
|
|
Наибольшее
перемещение: вертикальное, рукава на колонне горизонтальное, сверлильной
головки по рукаву
|
750 1225
|
|
Наибольшее
вертикальное перемещение шпинделя
|
-
|
|
Конус Морзе
отверстия шпинделя
|
5
|
|
Число скоростей
шпинделя
|
21
|
|
Частота
вращения шпинделя, об/мин:
|
20-2000
|
|
Число подач
шпинделя
|
12
|
|
Подача
шпинделя, мм/об
|
0,056-2,5
|
|
Наибольшая сила
подачи, МН
|
20
|
|
Мощность
электродвигателя привода главного движения, кВт
|
5,5
|
|
Габаритные
размеры: длина высота ширина
|
2665 1020 3430
|
|
Масса, кг.
|
4700
|
2.3.7
Определение припусков на механическую обработку
Расчет припусков на механическую обработку произведем
расчетно-аналитическим путем. На основании результатов определения припусков
расчетно-аналитическим путем для рассчитанной поверхности произведем построение
графической схемы расположения общих и межоперационных припусков и допусков.
Для удобства расчеты сведем в таблицу, данные которой используем для построения
графической схемы и проверки правильности произведенных расчетов.
Технологическая обработка поверхности состоит из четырех
переходов:
строгание черновое
фрезерование черновое
фрезерование чистовое
шлифование предварительное
шлифование окончательное
Произведем расчет припусков и предельных размеров на
технологические переходы при обработке поверхности, на остальные обрабатываемые
поверхности назначаем припуски и допуски по таблицам ГОСТ 9567-82.
В таблицу записываем соответствующие заготовке и каждому
технологическому переходу значения элементов припуска. Так как в данном случае
обработка ведется в центрах, погрешность установки в радиальном направлении
равна нулю, что имеет значение для рассчитываемого размера. В этом случае эта
величина исключается из основной формулы для расчета минимального припуска.
Суммарное значение пространственных отклонений при
обтачивании цилиндрических поверхностей заготовки
ρ =
,
где ρсм - отклонение от смещения относительно оси
закрепления заготовки, мкм
ρсм = 1 мм
ρкор - отклонение от коробления заготовки, мкм
Принимаем
ρкор = ∆к • 1 = 640•1= 0.64 мм
Подставляем значения в формулу
ρ =
мм
Величину остаточных пространственных отклонений на последующих
операциях ρост, мкм, определим по формуле
ρостi = Куi ∙ ρi-ı ,
|
Маршрут
обработки поверхности
|
Элементы
припуска
|
Различные
величины
|
Допуски на
выполняемые размеры ,мкм
|
Принятые
размеры заготовки по переходам
|
Наименьший и
наибольший припуски
|
|
Rz
|
T
|
ρ
|
ε
|
Припуска Zimax,мкм
|
Минимального h, мм
|
|
Наибольшей
|
Наименьший
|
Zimax
|
Zimin
|
|
1
|
2
|
3
|
4
|
5
|
6
|
7
|
8
|
9
|
10
|
11
|
12
|
|
Заготовка:
Литьё 16 квалитет
|
80
|
260
|
640
|
-
|
-
|
640,484
|
2200
|
646,7
|
640,5
|
-
|
-
|
|
Точение:
|
|
|
|
|
|
|
|
|
|
|
|
|
черновое 14 квалитет
|
50
|
50
|
38
|
90
|
980
|
600,583
|
300
|
600,9
|
600,6
|
5,800
|
3,900
|
|
Чистовое 11 квалитет
|
30
|
30
|
1.54
|
90
|
228
|
600,197
|
190
|
600,39
|
600,20
|
0,496
|
0,386
|
|
Фрезерование:
|
|
|
|
|
|
|
|
|
|
|
|
|
Чистовое 9
квалитет
|
10
|
15
|
0
|
50
|
151
|
|
|
|
|
|
|
|
Шлифование:
|
|
|
|
|
|
|
|
|
|
|
|
|
Окончательное 6
квалитет
|
5
|
15
|
0
|
6
|
75
|
600,003
|
19
|
600,021
|
600,002
|
0,120
|
0,060
|
где Куi - коэффициент уточнения
для различных методов обработки, принимаем согласно
черновое строгание Куч = 0,06
чистовое строгание Куч = 0,04
чистовое фрезерование Куч = 0,02
шлифование окончательное Куч = 0,01
Подставляем значения в формулу
ρост стр чер = 0,06 ∙ 640 = 38
ρост стр чис = 0,04 ∙ 38 = 1.54
ρост фрез чис = 0,02 ∙ 1.54 =
0,03
ρост шл пр = 0,01 ∙ 0,03= 0,0003
Расчет минимальных значений припусков произведем, пользуясь
основной формулой
zmin = Rzіı + hіı + ρіı+εi ,
где Rzіı - высота микронеровностей на предшествующем
переходе, мкм
Tіı - глубина дефектного слоя на предшествующем
переходе, мкм
ρіı - суммарные значения пространственных отклонений на
предшествующем переходе, мкм
εi - погрешность установки, мкм
при
черновом строгании = 140
чистовом строгании = 140
чистовом фрезеровании = 50
шлифовании окончательном = 6
Подставляем значения в формулу
под черновое строгание
zmin1 = 80 + 260 + 6000+140 =
6340
под чистовое строгание
zmin2 = 50 + 50 + 300+140 = 540
чистовое фрезерование
zmin3 = 30 + 30 + 12+50 =212
окончательное шлифование
zmin3 = 10 + 15+6=31
Определим наименьший предельный размер для каждого
технологического перехода путем прибавления допуска к округленному наименьшему
предельному размеру, округляя расчетные размеры увеличением их значений
dmin4 = 640,003+0,06 = 60,062 мм
dmin3 = 60,062 + 0,135 =
60,197 мм
dmin2 = 60,197 + 0,386 = 60,583
мм
dmin1 = 60,583 +3,9 = 64,483 мм
Предельные значения припусков zmax определяем как разность
наибольших предельных размеров и zmin - как разность
наименьших предельных размеров предшествующего и выполняемого переходов
zmax4 = 646,7 - 640,9 = 5,8 мм
= 5800 мкм
2zmax3 = 600,9 - 600,39 = 0,496
мм = 469 мкм
zmax2 = 600,39 - 600,141 =
0,246 мм = 246 мкм
2zmax1 = 600,141 - 600,021 =
0,12 мм = 120 мкм
2zmin4 = 604,5 - 600,6 = 3,9 мм
= 3900 мкм
2zmin3 = 600,6 - 600,2 = 0,386
мм = 386 мкм
zmin2 = 600,2 - 600,062 =
0,135 мм = 135 мкм
2zmin1 = 600,062 - 600,002 =
0,06 мм = 60 мкм
Определяем общий номинальный припуск zном, мкм,
zоном = zomin + Вд/2,
где Нз - нижнее отклонение заготовки, мкм
Нд - нижнее отклонение детали, мкм,
согласно ГОСТ 9567-82 Вд = 2200 мкм
Подставляем значения в формулу
zоном = 64500+2200/2= 65600
На все остальные обрабатываемые поверхности детали припуски и
допуски принимаем по ГОСТ 9567-82
2.3.8
Определение режимов резания
Черновое точение поверхности.
Глубина резания при черновом точении t = 3 мм;
Подача S = 0,8 мм/об.
Скорость
резания
при черновом точении рассчитаем
по
эмпирической формуле:
, (1)
где
- коэффициент для расчёта скорости резания [3, т.
17];
-
поправочный коэффициент;
- период
стойкости инструмента;
-
глубина резания;
-
подача;
-
показатель степени [3, т. 17];
-
показатель степени [3, т. 17];
-
показатель степени [3, т. 17].
Поправочный
коэффициент
найдём по формуле:
(2)
где
- коэффициент, учитывающий влияние материала
заготовки [3, т. 3];
-
коэффициент, учитывающий состояние поверхности [3, т. 5];
-
коэффициент, учитывающий влияние материала инструмента [3, т. 6].
Подставив
в формулу (2) численные значения, найдем поправочный коэффициент
:
Подставив
в формулу (1) численные значения, найдём скорость резания
при черновом точении:
.
Определение числа оборотов шпинделя производим по формуле:
(3)
где
- скорость резания, мм/мин;
-
обрабатываемый диаметр, мм.
Подставив в формулу (3) численные значения, найдём частота вращения
шпинделя мин-1:
Частота
вращения шпинделя n принимаем по станочному ряду равное 2400 мин-1.
Определение
силы резания. Силу резания, принято раскладывать на составляющие силы,
направленные по осям координат станка (тангенциальную Pz,
радиальную Рy и осевую Рx ). При точении эти
составляющие определяются по формуле:
(4)
где
- постоянная для расчёта силы резания [3, т. 22];
-
показатель степени [3, т. 22];
-
показатель степени [3, т. 22];
Поправочный
коэффициент
найдём по формуле:
(5)
где
- поправочный коэффициент [3, т. 9];
-
коэффициент, учитывающий угол в плане φ [3, т. 23];
-
коэффициент, учитывающий передний угол γ [3, т. 23];
-
коэффициент, учитывающий угол наклона главного лезвия λ [3, т. 23];
-
коэффициент, учитывающий радиус при вершине r [3, т.
23].
Подставив
в формулу (5) численные значения, найдем поправочный коэффициент
:
Подставив в формулу (4) численные значения, найдем тангенциальную Pz, радиальную Рy и осевую Рx составляющие силы резания:
Мощность
резания рассчитываем по формуле:
(6)
где
- тангенциальная составляющая силы резания, Н;
-
скорость резания, мм/мин
Подставив в формулу (6) численные значения, найдем мощность резания:
Данная операция выполнима т.к. мощность резания менее мощности привода
станка.
Чистовое точение поверхности.
Глубина резания при чистовом точении t = 1 мм;
Подача S = 0,6 мм/об.
Определение
скорости резания
при чистовом точении:
.
Определение числа оборотов шпинделя при чистовом точении:
Частота
вращения шпинделя n принимаем по станочному рду равное 450 мин-1.
Определение
составляющих силы резания при чистовом точении:
Определение мощности резания:
Данная операция выполнима т.к. мощность резания менее мощности привода
станка.
Фрезерование поверхности
Допустимое значение параметров фрезерной обработки подачи и
числу оборотов лежат в допустимых пределах [3]
,
,
. (3)
1. Выбираем подачу из диапазона S=0,28, мм/об
Подача на 1 зуб фрезы
Вычислим скорость резания и частота вращения [3]
, (4)
Таблица
1. Данные для расчета
|
Cv
|
q
|
x
|
y
|
u
|
p
|
m
|
|
445
|
0,2
|
0,15
|
0,35
|
0,2
|
0
|
0,32
|
|
D
|
B
|
t
|
T
|
Sz
|
z
|
|
|
200
|
200
|
3
|
240
|
0,014
|
20
|
|
,
Подставив численные значения в формулу [3], вычислим скорость
резания, м/мин
Частота
вращения фрезы вычислим по формуле, об/мин
3.
n=420 мин-1
По формуле [3] находим вертикальную составляющую Pz силы резания
,
Таблица
2. Коэффициенты
|
Cp
|
x
|
y
|
u
|
q
|
w
|
|
54,5
|
0,9
|
0,74
|
1
|
1
|
0
|
Подставив численные значения в формулу,
вычислим Pz, H
Проверим выполнение ограничения 1
Находим мощность резания N по формуле [3]
, (5)
Подставив численные значения в формулу, вычислим N, кВт
Данная операция выполнима т.к. мощность резания менее
мощности привода станка.
7. Вычисляем наименьшее время обработки
при соответствующих режимах резания
, (6)
где D - диаметр фрезы,
L - длина обрабатываемой поверхности,
S - подача,
V - скорость резания.
Подставив численные значения в формулу, вычислим t0, мин
Черновое точение поверхности.
Глубина резания при черновом точении t = 3 мм;
Подача S = 0,8 мм/об.
Скорость
резания
при черновом точении рассчитаем
по
эмпирической формуле:
, (1)
где
- коэффициент для расчёта скорости резания [3, т.
17];
-
поправочный коэффициент;
- период
стойкости инструмента;
-
глубина резания;
-
подача;
-
показатель степени [3, т. 17];
-
показатель степени [3, т. 17];
-
показатель степени [3, т. 17].
Поправочный
коэффициент
найдём по формуле:
(2)
где
- коэффициент, учитывающий влияние материала
заготовки [3, т. 3];
-
коэффициент, учитывающий состояние поверхности [3, т. 5];
-
коэффициент, учитывающий влияние материала инструмента [3, т. 6].
Подставив
в формулу (2) численные значения, найдем поправочный коэффициент
:
Подставив
в формулу (1) численные значения, найдём скорость резания
при черновом точении:
.
Определение числа оборотов шпинделя производим по формуле:
(3)
где
- скорость резания, мм/мин;
-
обрабатываемый диаметр, мм.
Подставив в формулу (3) численные значения, найдём частота вращения шпинделя
мин-1:
Частота
вращения шпинделя n принимаем по станочному ряду равное 2400 мин-1.
Определение
силы резания. Силу резания, принято раскладывать на составляющие силы,
направленные по осям координат станка (тангенциальную Pz,
радиальную Рy и осевую Рx ). При точении эти
составляющие определяются по формуле:
(4)
где
- постоянная для расчёта силы резания [3, т. 22];
-
показатель степени [3, т. 22];
-
показатель степени [3, т. 22];
-
показатель степени [3, т. 22];
-
поправочный коэффициент.
Поправочный
коэффициент
найдём по формуле:
(5)
где
- поправочный коэффициент [3, т. 9];
-
коэффициент, учитывающий угол в плане φ [3, т. 23];
-
коэффициент, учитывающий передний угол γ [3, т. 23];
-
коэффициент, учитывающий угол наклона главного лезвия λ [3, т. 23];
-
коэффициент, учитывающий радиус при вершине r [3, т.
23].
Подставив
в формулу (5) численные значения, найдем поправочный коэффициент
:
Подставив в формулу (4) численные значения, найдем тангенциальную Pz, радиальную Рy и осевую Рx составляющие силы резания:
Мощность
резания рассчитываем по формуле:
(6)
где
- тангенциальная составляющая силы резания, Н;
-
скорость резания, мм/мин
Подставив в формулу (6) численные значения, найдем мощность резания:
Данная
операция выполнима т.к. мощность резания менее мощности привода станка.
Чистовое
точение поверхности.
Глубина
резания при чистовом точении t = 1 мм;
Подача
S = 0,6 мм/об.
Определение
скорости резания
при чистовом точении:
.
Определение числа оборотов шпинделя при чистовом точении:
Частота
вращения шпинделя n принимаем по станочному рду равное 450 мин-1.
Определение
составляющих силы резания при чистовом точении:
Определение мощности резания:
Данная операция выполнима т.к. мощность резания менее мощности привода
станка.
Фрезерование поверхности
Допустимое значение параметров фрезерной обработки подачи и
числу оборотов лежат в допустимых пределах [3]
,
,
. (3)
2. Выбираем подачу из диапазона S=0,28, мм/об
Подача на 1 зуб фрезы
Вычислим скорость резания и частота вращения [3]
, (4)
Таблица
1. Данные для расчета
|
Cv
|
q
|
x
|
y
|
u
|
p
|
m
|
|
445
|
0,2
|
0,15
|
0,35
|
0,2
|
0
|
0,32
|
|
D
|
B
|
t
|
T
|
Sz
|
z
|
|
|
200
|
200
|
3
|
240
|
0,014
|
20
|
|
,
Подставив численные значения в формулу [3], вычислим скорость
резания, м/мин
Частота
вращения фрезы вычислим по формуле, об/мин
3.
n=420 мин-1
4. По формуле [3] находим вертикальную составляющую Pz силы резания
,
Таблица
2. Коэффициенты
|
Cp
|
x
|
y
|
u
|
q
|
w
|
|
54,5
|
0,9
|
0,74
|
1
|
1
|
0
|
Подставив численные значения в формулу,
вычислим Pz, H
. Проверим выполнение ограничения 1
6. Находим мощность резания N по формуле [3]
, (5)
Подставив численные значения в формулу, вычислим N, кВт
Данная
операция выполнима т.к. мощность резания менее мощности привода станка.
. Вычисляем наименьшее время обработки при соответствующих режимах
резания
, (6)
где D - диаметр фрезы,
L - длина обрабатываемой поверхности,
S - подача,
V - скорость резания.
Подставив численные значения в формулу, вычислим t0, мин
2.3.9
Нормирование технологического процесса
Норма времени - это регламентированное время выполнения некоторого объема
работ в определенных производственных условиях одним или несколькими
исполнителями соответствующей квалификации (ГОСТ 3.1109-82).
Объектом нормирования в данной курсовой работе является технологическая
операция точения поверхности на горизонтально-расточном станке в условиях
мелкосерийного производства.
Для данного типа производства технически обоснованная норма времени Тш-к
определяется как
Тш-к=(Тш +Тп-з)/n
где Тш-к - норма штучно-калькуляционного времени (норма
времени);
Тп-з - норма подготовительно-заключительного времени на партию
заготовок;
n -
число заготовок в обрабатываемой партии;
Тш - норма штучного времени
Тш=То+Тв+Тобс+Тотд
где Топ - норма основного (технологического) времени;
Тотд - время на личные надобности и дополнительный отдых.
Сумма норм основного времени и неперекрываемого им вспомогательного
времени составляет норму оперативного времени Топ
Топ=То+Тв
Определение основного времени.
Основное (машинное) время определяется по формуле:
,
мин
Определим
вспомогательное время.
Вспомогательное
время определяется как сумма
где
- норматив вспомогательного времени на установку и
снятие детали;
- норматив
вспомогательного времени, связанного с переходом;
-
норматив вспомогательного времени на контрольные измерения обработанной
поверхности.
мин
мин
Норматив Тиз используется только для определения времени на
контрольные измерения после окончания обработки поверхности. Он предусматривает
время на выполнение следующих видов работ:
взятие инструмента;
установка размера измерения;
очистка измеряемой поверхности.
мин
Подставим
численные значения:
мин
Определение времени на обслуживание рабочего места. Норматив Тобс
предусматривает выполнение следующих работ:
техническое обслуживание рабочего места - смена инструмента вследствие
затопления, регулировка и подналадка станка в процессе работы, сметание и
периодическая уборка стружки в процессе работы;
организационное обслуживание рабочего места - осмотр и опробование
оборудования, раскладка инструмента в начале и уборка его в конце смены, смазка
и чистка станка в течении смены, уборка рабочего места в конце смены.
Определим
:
мин
Норматив
Тобс определяется в процентах от Топ.
мин
Определение
времени на отдых и личные надобности. Норматив Тотд определяется по
таблице.
мин
Определение
подготовительно-заключительного времени. Норматив Тп-з предусматривает
выполнение следующих работ:
получение
на рабочем месте наряда, технической документации и необходимого инструктажа;
ознакомление
с работой и чертежом;
подготовка
рабочего места, наладка оборудования, инструмента, приспособлений;
пробная
обработка детали на станках, работающих при выполнении однопроходных операций
инструментом, установленным на размер;
снятие
инструмента и приспособлений после окончания обработки партии деталей.
Норма
Тп-з определяется по таблице.
Определим Тш и Тш-к:
мин
мин.
Время
на организационное обслуживание рабочего места принимаем 2,4% от оперативного
времени.
Подставим
численные значения:
мин
Определим
техническое время:
Подставим
численные значения:
мин.
Полученные нормы времени занесем в таблицу.
Нормирование
времени операции
|
Номер и
наименование операции
|
Основное время
|
Вспомогательное
время
|
Оперативное
время
|
Время
обслуживания
|
Время на отдых
|
Штучное время
|
Подготовительно-заключительное
время
|
Величина
партии, штук
|
Штучно-калькуляционное
время
|
|
|
Установка и
снятие детали
|
Управление
станком
|
Измерение
деталей
|
|
Техническое
|
Организационное
|
|
|
|
|
|
|
010 Токарная с
ЧПУ
|
5,15
|
5
|
1,72
|
5
|
16,84
|
0,28
|
0,4
|
0,84
|
18,35
|
22
|
29,35
|
3. Конструкторский
раздел
3.1
Анализ существующих систем автоматического контроля
В процессе разработки систем
автоматического контроля и управления одной из важнейших является проблема
распознавания образов. Для полностью автоматического управления требуется
максимально адекватное распознавание объектов окружающей среды.
С развитием технологии производства
компонентов электронно-вычислительной техники и алгоритмов обработки
изображений расширяется спектр возможных решений данной проблемы. За последние
десятилетия были предложены разнообразные способы распознавания изображений от
громоздких и дорогостоящих устройств основанных на телевизионных системах, до
современных, с видеодатчиками на приборах с зарядовой связью и обработкой
изображения средствами электронно-вычислительной техники.
Один из вариантов решения этой проблемы
состоит в преобразовании картинки полученной с выхода видеодатчика устройства
управления, каковым может являться матрица или линейка приборов с зарядовой
связью, в последовательный, а затем и параллельный цифровой сигнал. Полученный
таким образом сигнал можно обрабатывать с помощью любых алгоритмов, время
работы которых не вступает в конфликт с требуемыми временными параметрами
технологической цепочки в которой работает транспорт-фильтрации однозначных
помех, т.е. последовательностей явно не соответствующих текущей картине на
входе видеодатчика. Реализация данного этапа обработки может быть произведена
различными способами от самых простых, типа компаратора, до сложных фильтров
использующих как аппаратные, так и программные средства фильтрации.
Далее отфильтрованный сигнал поступает на
следующий блок, задача которого адекватно распознать полученную
последовательность и передать команду далее, на блок формирования управляющих
сигналов.
В зависимости от условий работы,
технологических требований и круга решаемых задач, возможны различные
реализации блока распознавания.
Которого будет движение в специально
подготовленной среде, строго по заданному маршруту с минимизацией внешних помех
на этапе мелкой логике, которая дает ощутимый выигрыш во времени работы всего
устройства управления. Однако в данной ситуации нельзя говорить о простой
перенастраивоемости системы для работы в других условиях, т.к. это ведет
практически к полной замене блока отвечающего за распознавание и формирование
управляющих сигналов. Таким образом применение подобных систем имеет смысл
только в условиях стационарной, специальным образом подготовленной
искусственной среды.
Другим способом реализации блока
распознавания будет являться система построенная на основе современных
элементов жен широкий спектр решений данной задачи. Приведем некоторые из них.
Давно и успешно используется для решения задач среднего уровня сложности при
распознавании объектов окружающей среды. Данный подход имеет существенное
преимущество по сравнению с предыдущим, т.к. смена внешних условий не ведет к
полной замене основных управляющих блоков, распознавания, предназначенного для
обработки изображений и выработки управляющих сигналов. Еще один способ решения
данной проложенного не на самом транспортном роботе. При данном подходе нет
жестких ограничений по размерам блока, вследствие чего можно использовать
вычислительные системы любой мощности, однако встает проблема обеспечения
постоянной связи между устройством управления на транспортном роботе и
удаленном контроллере.
Два предложенных выше метода решения
проблем распознавания имеют один существенный недостаток. По сравнению с
системами, работающими на мелкой логике гораздо большее время обработки изображения.
Удешевление технологии производства
программируемых логических интегральных схем (ПЛИС) позволило совместить
преимущества мелкой логики и программной перенастраиваемости систем. В случае
использования ПЛИС в системе распознавания мы получаем время обработки,
сравнимое со временем обрасти системы, путем замены кода ПЛИС.
3.2
Разработка конструкции
В данном курсовом проекте разрабатывается система автоматического
контроля точности отлива заготовки. Производится контроль будит с помощью
системы промышленного зрения Prersence PLUS pro.
Собирается металлическая конструкция состоящая из двух опорных систем и
двух ферм. Ферма состоит из направляющей, основания, раскосов и имеет вид
показанный на рис. 1
рис. 1 - Ферма.
По бокам к основанию фермы приварены пластины с отверстиями под крепежные
болты рис.2
рис. 2 - Крепление фермы.
Собрав ферму на нее одевается каретка с системой промышленного зрения.
Далее свариваются боковые стойки(из труб ¢100мм и металлических пластин толщенной
10мм) и монтируются колеса рис. 3. Затем вся металлоконструкция собирается
воедино и ставится на рельсы с упорами.
рис. 3 - Стойка в сборе
Данная конструкция позволяет быстро и без особых затруднений установить
заготовку на плиту, и при этом очень проста в сборке и эксплуатации.
3.3
Система технического зрения
Система технического зрения состоит из лазера LG10A65PU осуществляющего позиционирование
всей системы, и камеры PresencePLUS Pro осуществляющей
контроль.
Камера PresencePLUS Pro осуществляет автоматический контроль
качества. Функционально, камера РР Pro обладает всеми теми специальными программными средствами для анализа
контролируемого объекта, которыми оснащены камеры PresencePLUS P4. каждая в отдельности. В процессе работы камера фиксирует
изображение и анализирует его с применением тех программных опций, которые
выбраны оператором. Камеры РР Pro
применяются там. где необходим комплексный анализ объекта, где применения
камеры РР Р4 недостаточно.
Непосредственно сама камера РР Pro весит всего 90 грамм и имеет габаритные размеры 32x30x78 mm. В качестве чувствительного элемента
применена CCD-матрица (charge-coupled device - прибор с
зарядовой связью. ПЗС-матрица). которая способна захватывать 30 изображений в
секунду при разрешении - 640x480 пикселей и 256 оттенков камера РР Pro может быть снабжена любой C-mounl линзой от любого производителя. Светофильтры
устанавливаются внутри камеры. Среди функциональных возможностей РР Pro - Ethernet последовательный порт,
программируемые каналы ввода/вывода, настраиваемые на ввод или вывод, требуемую
полярность (PNP или NPN): функциональность (НО или НЗ). Это позволяет
передавать данные, измерения, и информацию для систем управления процессом, а
также программировать камеру РР Pro.
Контроллер позволяет выбрать одну из 12 файлов - инспектирующих программ,
хранящихся в памяти контроллера.
Отдельный видеовыход стандарта NTSC, наличие которого опционально и оговаривается отдельно, позволяет
подключить монитор и наблюдать процесс в режиме реального времени.
Применение данных опций способно решить широкое число задач, встречаемых
как на современных предприятиях, высокопроизводительных технологических линиях,
конвейерах, так и на производствах с различными, в т.ч. начальными уровнями
автоматизации.
PfresencePLUS Pro, настройка
камеры: простой и доступный инструментарий
Настройка инструментальных опций ведется с использованием программного
пакета PresencePLUS PC Software, который поставляется в комплекте
камерой РР Pro и свободно доступен на сайте www.bannerengJneerJng.com. РР PC Software имеет интуитивно-понятный
пользовательский интерфейс, опции которого позволяют настроить инспектирующую
программу наиболее качественно. В процессе настройки оператор выбирает любые
функции, которыми обладает РР Pro.
3.3.1
Инструментарий
Инструментарий - специальные программные функции для анализа
контролируемого объекта. Все программы разбиты
на 3 группы: LOCATION TOOLS, VISION TOOLS,
ANALYSIS TOOLS
TOOLS (инструментальные средства для
анализа сформированного камерой изображения):
. BLOB (Binary Large Object) - разложение изображения объекта на пиксели, черные и
белые. Задачи данной опции - счет и измерение площади. Определяет наличие,
связность и расположение выделенных деталей. Находит группы связанных светлых
или темных пикселей в исследуемой зоне и обозначает их как BLOBs. После того как BLOBs найдены, они могут
. AVERAGE GRAY SCALE - уровень серого цвета. Опция
предназначена для определения присутствия, отсутствия предмета и интенсивность
цвета. Определяет среднее число значения шкалы серого цвета по площади
анализируемого объекта. Градация [0-255]
. EDGE - определяет наличие, количество,
классификацию и расположение краев и граней исследуемых предметов.
общее число переходов, а значит- краев, а также определено местоположение
каждого края.
. OBJECT- определяет наличие, количество,
классификацию, размер и расположение объектов. Определяет края темных и светлых
объектов и расположение их центров, считает темные и светлые объекты и измеряет
ширину каждого темного
. PATTERN COUNT - определяет наличие, количество и
расположение предварительно обозначенных пятен определенной формы, рисунков в
изображении исследуемого объекта.
LOCATION TOOLS (инструментальные средства для
определения и компенсации поступательного и вращательного движения):
. LOCATE - определяет движение и вращение
путем определения относительного движения краев и граней.
. PATTERN FIND - определяет движение и вращение
путем определения относительного движения выделенных пятен определенной формы,
рисунков.
ANALYSIS TOOLS (инструментальные средства для
измерения, оценивания результатов, полученных с использованием VISION TOOLS):
. MEASURE - измерение дистанции между двумя
выделенными точками. Этими точками могут быть края, центроиды (точка,
равноудаленная от краев пятна неправильной геометрической формы): центры
выделенных рисунков.
. TEST - оценивание результатов, полученных
при использовании любых вышеперечисленных опций и принятие решения о
положительном или отрицательном результате или исходе. Также выполняет
логическую операцию и активирует соответствующие выходы.
COMMUNICATION TOOL - инструментарий, позволяющий
настроить передачу результатов любых перечисленных инструментальных опций через
Ethernet или RS232 порт.
Наличие обширного инструментария позволяет настроить конкретную
инспектирующую программу наиболее качественно, сохранить ее в виде файла,
загрузить ее в камеру, пользуясь Elhernel или RS-232. Эту программу можно выбрать
среди 12 различных программ в качестве основной рабочей, подав управляющий
сигнал на соответствующие терминалы 16-20.
3.3.2
Характеристики оборудования
Характеристики контроллера
Материал корпуса: сталь
Размеры: 1 58х 1 27x30.9 ММ (Значения измерений не включают длин линз,
разъемов и кабелей/
Вес: около 0.55 кг
Пылевлагозащита: IP20
Рабочая температура: 0'.. .+50' С
Максимальная влажность: 90% (без конденсата)
Дисплей, опции: персональный компьютер, видео NTSC
Дискретные входы/выходы:
IN -
триггер, вход для подключения стробирующего датчика
IN -
разрешение выбора программы
OUT-
питание подсветки, строб (TTL)
IN/OUT - программируемые сигнальные входы/
выходы
IN-
номер выбираемой программы
Уровень входных сигналов: NPN - ON : < 3 V; OFF >10 V; PNP- ON: (+V-2)V; OFF<3V
Опции выходных сигналов: дискретные PNP или NPN
(по умолчанию), НО (по умолчанию) и Н3: задержка выхода: 0 (по умолчанию) -
10.000 ms, длительность выходного сигнала:
постоянно активен (по умолчанию) - импульсы длительностью
- 1Q:QQQms. Все опции настраиваются программно.
Коммуникация:
RJ-45-
10 Elhernel
HS232
- DB-9 разъем на лицевой поверхности
контроллера
RS232
- на терминальном разъеме
Питание: напряжение - 10-30VDC,
ток-650 тА (при 24 dc).
Защита: от перепутывания полюсов и от скачка электрического напряжения
Индикация: 6 светодиодов - триггер, готовность, питание, ошибка,
неудачный анализ, подключение Ethernet, передача данных Ethernet
Характеристики камеры
Материал корпуса: сталь
Размеры: 32х 30x78.2мм (Значения измерений не включают длин линз,
разъемов и кабелей)
Вес: около 0,09 кг
Пылевлагозащита: ЕС IP20
Рабочая температура: 0'.. .+50' С
Максимальная влажность: 90% (без конденсата]
Производительность: не более 48 кадров в секунду
Размер матрицы сканирования: 4.8хЗ:6 мм: диагональ- 6 мм (1/3" CCD)
Размер изображения: 307.200 (640x480] пикселей
Размер пикселя: 7.4x7.4 мкм
Время экспозиции: от 0,1 до 3600 мкс
Градация шкалы серого цвета: 256 уровней
Максимальная длина кабеля для подключения к контроллеру: 17 м.
3.4 Расчёт
фермы
Рисунок 3.1 Типы сопряжений
трубчатых стержней в узлах ферм а - бесфасоночные с фигурной
резкой концов труб; 6 - то же, со сплющенными концами труб; в
- на фасовках; г - через заводскую деталь (например, шар,
сферу и т.п.); д - стыковые соединения с подкладными кольцами и
накладкой; е - фланцевое соединение на высокопрочных болтах; /
- накладка; 2 - вставка; 3 - подкладное кольцо; 4
- накладки; 5 - заглушка 6=4..,6
Определяем расчетные изгибающие моменты
при L=6
м от равномерно распределенной нагрузки
Мтах в пролете при
однопролетной схеме
Мтоаж = ql2/8 = 1988-62/8=-2236
Н-м,
где q=388+1600=1988 Н/м -
собственный вес покрытия и снеговая нагрузка;
Мтах в пролете при
однопролетной схеме
Расчетные схемы
Мтах = 0,7ql2 + 0,096рl2 = 0,07-388-З2
+ 0,096-1600- З2 = 1626 Н-м;
момент Мтах над средней
опорой Мтах- 1988-32/8 = 2236 Н-м;
от равномерно распределенной нагрузки (q= 1988 Н/м) и
сосредоточенного груза F =1000 Н в пролете:
в пролете при однопролетной схеме
Мтах = 0,07<?/2 +
0,096р/2 + 0,203л = 0,07- 388- З2 + + 0,096-1600-3? +
0,203-1000-3 = 2236 Н-м;
в пролете при однопролетной схеме при
такой же нагрузке будет (см. рис. 8.15,6)
Мтах = ql2/8 + FIH = 1988-3V8 -j- 1000-3/4 = 2985 Н-м.
Более легкий настил получается при расчете
по однопролетной схеме, поэтому при расстоянии между прогонами 3 м может
служить доборным элементом. стойка деталь конструкция механический
Требуемый момент сопротивления при Мтах
= ==2985 Н-м = 298,5 кН-см будет
Wd = уп. Mmax/Ry Vc = 298/22 = 13,6 см3,
Согласно ГОСТ 14918-80* назначаем настил
типа Н-60-845-0,7; Wmin= 14,6 см3; Jx = 62,1 см4;
масса 1 м2 g=8,8 кг.
Предельная нагрузка по условиям жесткости
при f/i≤1/150
qn=384.2,06.10^.62.1(100)=2400
-5-3003
что больше нормативной расчетной нагрузки qn,max - = 1540 Н/м.
Расчет трубчатой
стропильной фермы. Расчетные узловые нагрузки составляют:
от собственного веса покрытия и фермы
G = gbpll = 603-3-6= 10854 Н= 10,9 кН;
3.4.1Вычисляем относительный прогиб
f/i = (5/384) (qn ls/EJx) = 5-0,0425-6003/384-2,06-10*-1006
= 1/166 > 1/200,
где qn= (415+1000)3 = 4245 Н/м =
0,0425 кН/см; £=2,06-104 кН/см2, т е
условие не удовлетворяется, поэтому назначаем швеллер 200X80X6, f,= 1374 см4,
Г*= 137,4 см', g = = 17,6 кг/м: а = M/WX = 2800/1374 = 20,4 кН/см2
(204 МПа) <КУЧС = 290 МПа.
Проверяем по прогибу f/i = 5-0,0425-6003/384.2,06-104-1374=
1/236< 1/200, условие удовлетворяется.
Расчет трубчатой стропильной
фермы. Расчетные
узловые нагрузки составляют:
от собственного веса фермы
G - gbp l-i = 603-3-6= 10854 Н = 10,9
кН;
Р=-р6р/1= 1600-3-6=
28800 Н = 28,8 кН.
Для крайних элементов при 0,5 Ьр
узловые нагрузки соответственно равны:
gi =
0,50 = 10,9-0,5 = 5,45 кН; Р1 = 0,5Р = 0,5.28,8= 14,4 кН.
Таблица 3.1 Усилие в элементах
фермы
|
Элемент
|
Обозначение
стержня
|
Длина, см, сило- вого вектора по диаг-
рамме Кремоны
|
Усилие. кН
|
|
|
|
при загружении на 0,5 пролета (по
диаграмме)
|
при полном
загруже- нии
силами f=l (по расчету)
|
|
|
|
|
|
|
|
|
|
|
сжатие
|
растяжение
|
сжатие
|
растя же- , кие
|
|
Верхний пояс
|
111-1
|
0
|
0
|
0
|
0
|
0
|
|
1V-3
|
7,7
|
3,85
|
-
|
6
|
-
|
|
V-4
|
7,7
|
3,85
|
-
|
6
|
-
|
|
VI-
6
|
8,4
|
4,2
|
-
|
7,2
|
-
|
|
VI1-6'
|
6
|
3
|
-
|
7,2
|
-
|
|
VII-
4'
|
4,3
|
2,15
|
-
|
6
|
-
|
|
V1I-3'
|
4,3
|
2,15
|
-
|
6
|
|
|
VII-
1'
|
0
|
0
|
0
|
0
|
0
|
|
Нижний пояс
|
1-2
|
5,1
|
-
|
2,55
|
-
|
3,6
|
|
1-5
|
8,4
|
-
|
4,2
|
-
|
7,2
|
|
1-7
|
7,8
|
-
|
3,9
|
-
|
7,8
|
|
1-5'
|
6
|
-
|
3
|
-
|
7,2
|
|
1-2'
|
2,1
|
-
|
1,05
|
-
|
3,6
|
|
Раскосы
|
1-2
|
7,2
|
3,6
|
-
|
5,1
|
-
|
|
2-3
|
3,8
|
-
|
1,9
|
-
|
3,3
|
|
4-5
|
1,1
|
0,55
|
-
|
1,9
|
-
|
|
6-7
|
1
|
-
|
0,5
|
0,8
|
-
|
|
7-6'
|
2,6
|
1,3
|
-
|
0,8
|
-
|
|
5'- 4'
|
2,7
|
1,35
|
-
|
1,9
|
-
|
|
3'-2'
|
2,8
|
|
1,4
|
-
|
3,3
|
|
2'-1'
|
3
|
1,5
|
-
|
5,1
|
-
|
Диаграмма построена по узловым единичным
нагрузкам (F-1) на левой половине пролета. Фактические усилия в
стержнях подсчитаны умножением усилия по диаграмме на действительные нагрузки,
на узел. Например, в опорном стержне 1-2 по диаграмме при Р = \ и
масштабе сил 1 см = 0,5 кН замерена: длина 7,2 см. Тогда усилие Д-7,2-0,5=3,6
кН; фактическое значение при F - 28,8 кН составляет di-3,6-28,8>=s= = 104 кН; аналогично
для стержня нижнего пояса 1-5 (Uz) длина по диаграмме равна
8,4 см, следовательно, усилие от F=l равно £/2 = 8,4-0,5-4,2 кН, а фактическое при F=28,8 кН равно £/2 = 4,2-28,8=121 кН и т. д.
При загружении фермы узловыми нагрузками
/?= = 1 на правой половине фермы усилия в стержнях принимают обратно
симметричными тем усилиям, которые подсчитаны при загружении левой половины
фермы. При полном загружении фермы усилия в стержнях, найденные при загружении
левой и правой половин фермы, суммируют. Значения усилий в стержнях фермы от Ви=1
приведены в табл. 8.12, а от полных узловых нагрузок- в табл. 8.13.
Расчет верхнего пояса. Nmax - 285 кН. Принимаем
предварительно ф = 0,75, тогда
Принимаем трубу 127X4,5 мм из стали марки
Ст20: А = 17,3 см2, /=325 см4; 1Г=51 см3;
г = 4,33 см (ГОСТ 8731-87).
Вычисляем гибкость Я при lef = I = 300 см, так как верхний
пояс фермы раскреплен прогонами через 3 м:
А, = 300/4,33 = 69,3. По табл. 1 прил. IV находим фактическое
значение = 0,765 и проверяем устойчивость элемента
а = #ЛрЛ = 285,5/0,765-17,3 = 21,5 кН/см*.
(215 МПа) = 225 МПа.
При использовании для верхнего пояса трубы
из стали марки ВСтЗпс4 по ГОСТ 10706-76* Я„ = 235 МПа требуемое сечение пояса
будет
Принимаем такую же трубу, как из стали
марки Ст20, т. е. 127X4,5; А = 17,34 см2.
Расчет нижнего пояса. Nmax = 309 кН. Тогда
Ad=N/Ry4c = 309/22,5.0,95== 14,5 сма,
здесь vc = 0,95 (6 СНиП П-23-81*).
Можно принять трубу 114X4,5 мм, А =
15,5 см2. Однако из условия унификации сечений и удобства решения
бесфасоночных соединений труб поясов с элементами решетки рекомендуется сечения
верхнего и нижнего поясов принимать одинаковыми, поэтому для нижнего пояса
конструктивно назначаем также трубу 127X4,5 мм, А - = 17,3 см2.
= 309/17,3=17,9 кН/см2 (179
МПа) < Ru ус = 214 МПа.
Расчет опорного раскоса 1-2. Nm(lx - =202,7^203 кН, тогда при
ф=0,б
Ad = N/tfRy ve
= 203/0,6-225 = 15,1 см2.
Принимаем трубу 127X4,5 мм; Л = 17,3 см2;
/ = = 325 см4; W=51 см3; 1=4,33 см.
3.4.2 Расчет сварных соединений в узлах
Все элементы фермы по данному примеру
соединяют в узлах без фасовок фигурной вырезкой концов труб стержней решетки и
примыканий их впритык к поясам. Контуры примыкания труб обваривают угловыми
швами.
Рисунок 3.2 Узлы фермы из труб
а - опорный узел; б - промежуточный
узел верхнего пояса
Расчетную толщину шва принимают равной
меньшей толщине стенки соединяемых труб.
Проверяем прочность шва опорного раскоса 1-2
в опорном узле А (рисунок 3.2), определяя
Ns = d sin 45° = 203-0,707 = 143 кН;
усилие отрыва
Nt = t/, - 0,707 = 142,3 -
0,707-203; площадь шва по контуру примыкания при а = 45°; Aw = 48,3.0,7-0,4= 13,5 см2;
Тш =143/13,5= 10,6 кН/см2 (106 МПа)
< 0,85Па/ = 180-0,85 = 1 3 МПа (для
сварки электродами марки Э-42),
где P = 0,7- для ручной
сварки; 0,85 - коэффициент условий работы шва по длине реза торца трубы; 1т-длина
кривой пересечения труб, определяемая по формуле (8.12);
при сопряжении опорного раскоса с опорным
ребром (см. рис. 8.19, а)
lw = а + Ь + 3 Kr2 = 8,98 + 6,95+3 К8,982
+ 6,35'г=
= 48,3 см (здесь a=d/2 sin 0=12,7/2-0,707 = 8,98
см);
6 = d/2 = 12,7/2 = 6,35 (см);
при сопряжении труб нижнего пояса и
опорного раскоса при d/D= 12,7/12,7= 1
lw = 8,98 + 9,53
+ 3 1/"8,982 +9,532 = 57,8 см;
Ъ = (d/2) [3 - (d/D)*/2
- (d/Z?)2] = = (12,7/2 [3- (la/2) - I2] =
9,53 см.
Проверяем прочность шва крепления нижнего
пояса к опорному раскосу
" = (/1//ffi,pfft/= 142,4/56,8-0,7-0,4 =
8,8 кН/см2 = 88 МПа < < VcRwfVw} = 0,85-180-1 = 153 МПа.
Сварку выполняют электродами марки 342 в
элементах из стали марки Ст20. Проверку прочности сварных соединений в других
узлах не производим, так как их прочность обычно вполне обеспечивается
контурной обваркой примыкания фигурных торцов труб. Чертеж трубчатой фермы и
детали узлов
Пример 8.4. Задание: рассчитать и
сконструировать жесткий опорный узел трубчатой фермы, примыкающей к колонне
двутаврового сечения (рис. 8.21). Исходные данные: расчетный опорный момент Ms = 750 кН-м, максимальное
давление фермы на опоре yvs -983 кН. Материал опорных фасонок и ребер -сталь
марки ВСтЗпс6 по ГОСТ 380-71*, сварка ручная электродами марки Э42.
3.4.3
Силы действующие на ферму
Моменты
Стержень 1: M(1) = 13.0497 M(2) = 5.82033
Стержень 2: M(2) = -0.920553 M(3) =
-0.432105
Стержень 3: M(3) = 0.0375613 M(4) =
0.0187806
Стержень 4: M(4) = -0.0187806 M(5) =
-0.0375613
Стержень 5: M(5) = 0.432105 M(6) = 0.920553
Стержень 6: M(6) = -5.82033 M(7) = -13.0497
Стержень 7: M(1) = -36 M(14) = 0
Стержень 8: M(15) = 0 M(7) = 36
Стержень 9: M(1) = 22.9503 M(8) = 8.83832
Стержень 10: M(2) = -3.47465 M(8) = -4.37418
Стержень 11: M(2) = -1.42513 M(9) = -0.275141
Стержень 12: M(3) = 0.360264 M(9) = 0.617556
Стержень 13: M(3) = 0.0342802 M(10) =
-0.0344113
Стержень 14: M(4) = -0.0343676 M(10) =
-0.0687353
Стержень 15: M(4) = 0.0343676 M(11) =
0.0687353
Стержень 16: M(5) = -0.0342802 M(11) =
0.0344113
Стержень 17: M(5) = -0.360264 M(12) =
-0.617556
Стержень 18: M(6) = 1.42513 M(12) = 0.275141
Стержень 19: M(6) = 3.47465 M(13) = 4.37418
Стержень 20: M(7) = -22.9503 M(13) = -8.83832
Стержень 21: M(8) = -4.46414 M(9) = 2.05727
Стержень 22: M(9) = -2.39968 M(10) = 2.82195
Стержень 23: M(10) = -2.7188 M(11) = 2.7188
Стержень 24: M(11) = -2.82195 M(12) =
2.39968
Стержень 25: M(12) = -2.05727 M(13) =
4.46414
Стержень 26: M(14) = 0 M(16) = 0
Поперечные силы
Стержень 1: Q(1) = -10.4833 Q(2) = -10.4833
Стержень 2: Q(2) = 0.751477 Q(3) = 0.751477
Стержень 3: Q(3) = -0.0313011 Q(4) =
-0.0313011
Стержень 4: Q(4) = 0.0313011 Q(5) =
0.0313011
Стержень 5: Q(5) = -0.751477 Q(6) = -0.751477
Стержень 6: Q(6) = 10.4833 Q(7) = 10.4833
Стержень 7: Q(1) = 45 Q(14) = 45
Стержень 8: Q(15) = -45 Q(7) = -45
Стержень 9: Q(1) = -32.2765 Q(8) = -32.2765
Стержень 10: Q(2) = 7.96927 Q(8) = 7.96927
Стержень 12: Q(3) = -0.992826 Q(9) = -0.992826
Стержень 13: Q(3) = 0.000133153 Q(10) =
0.000133153
Стержень 14: Q(4) = 0.104685 Q(10) = 0.104685
Стержень 15: Q(4) = -0.104685 Q(11) = -0.104685
Стержень 16: Q(5) = -0.000133153 Q(11) =
-0.000133153
Стержень 17: Q(5) = 0.992826 Q(12) = 0.992826
Стержень 18: Q(6) = -1.72637 Q(12) = -1.72637
Стержень 19: Q(6) = -7.96927 Q(13) = -7.96927
Стержень 20: Q(7) = 32.2765 Q(13) = 32.2765
Стержень 21: Q(8) = 10.3372 Q(9) = -7.66285
Стержень 22: Q(9) = 8.76541 Q(10) = -9.23459
Стержень 23: Q(10) = 9 Q(11) = -9
Стержень 24: Q(11) = 9.23459 Q(12) = -8.76541
Стержень 25: Q(12) = 7.66285 Q(13) = -10.3372
Стержень 26: Q(14) = 0 Q(16) = 0
Продольные силы
Стержень 1: N(1) = 204.309 N(2) = 204.309
Стержень 2: N(2) = 358.316 N(3) = 358.316
Стержень 3: N(3) = 441.195 N(4) = 441.195
Стержень 4: N(4) = 441.195 N(5) = 441.195
Стержень 5: N(5) = 358.316 N(6) = 358.316
Стержень 6: N(6) = 204.309 N(7) = 204.309
Стержень 7: N(1) = 0 N(14) = 0
Стержень 8: N(15) = 0 N(7) = 0
Стержень 9: N(1) = -209.234 N(8) = -209.234
Стержень 10: N(2) = 93.2287 N(8) = 93.2287
Стержень 11: N(2) = -79.6127 N(9) = -79.6127
Стержень 12: N(3) = 45.281 N(9) = 45.281
Стержень 13: N(3) = -44.9742 N(10) = -44.9742
Стержень 14: N(4) = -0.158472 N(10) = -0.158472
Стержень 15: N(4) = -0.158472 N(11) = -0.158472
Стержень 16: N(5) = -44.9742 N(11) = -44.9742
Стержень 17: N(5) = 45.281 N(12) = 45.281
Стержень 18: N(6) = -79.6127 N(12) = -79.6127
Стержень 19: N(6) = 93.2287 N(13) = 93.2287
Стержень 20: N(7) = -209.234 N(13) = -209.234
Стержень 21: N(8) = -286.266 N(9) = -286.266
Стержень 22: N(9) = -400.097 N(10) = -400.097
Стержень 23: N(10) = -441.008 N(11) = -441.008
Стержень 24: N(11) = -400.097 N(12) = -400.097
Стержень 25: N(12) = -286.266 N(13) = -286.266
Стержень 26: N(14) = 0 N(16) = 0
Перемещения
Узел 1: dx = 0 dy = -0.547 da = 0
Узел 2: dx = 0 dy = -0.547 da = 0
Узел 3: dx = 0 dy = -0.547 da = 0
Узел 4: dx = 0 dy = -0.547 da = 0
Узел 5: dx = 0 dy = -0.547 da = 0
Узел 6: dx = 0 dy = -0.547 da = 0
Узел 7: dx = 0 dy = -0.547 da = 0
Узел 8: dx = 0 dy = -0.547 da = 0
Узел 9: dx = 0 dy = -0.547 da = 0
Узел 10: dx = 0 dy = -0.547 da = 0
Узел 11: dx = 0 dy = -0.547 da = 0
Узел 12: dx = 0 dy = -0.547 da = 0
Узел 13: dx = 0 dy = -0.547 da = 0
Узел 14: dx = 0 dy = 0 da = 0
Узел 15: dx = 0 dy = 0 da = 0
Узел 16: dx = 0 dy = 0 da = 0
4. Задание на НИРС
математическое моделирование режимов обработки
.1 Моделирование черновой обработки поверхности
Наибольшая производительность достигается
при полном использовании возможностей станка и инструмента. Поэтому на
параметры обработки должны быть наложены ограничения, исключающие превышение
мощности, необходимой на резание, силы подачи, упругих отжатий элементов
технологической системы, напряжения изгиба пластины инструментального
материала, подачи, скорости и глубины резания. В рассматриваемом случае
доминирующим фактором является производительность станка, а также отсутствуют
ограничения на точность обработки и шероховатость поверхности. Это позволяет
рассматривать ограничения на упругие отжатая элементов технологической системы
в той мере, в которой это необходимо для достижения нормального процесса
обработки.
Перечисленные ограничения выражаются через
технологические параметры переходов и соответствующие величины, характеризующие
условия обработки. Используются аналитические выражения для оценки сил и
скорости резания, а также прочностные и жесткостные зависимости, известные из
сопротивления материалов. Приняты зависимости тангенциальной, нормальной и
осевой составляющих сил резания:
Для согласования значений подачи и скорости резания с паспортными
данными оборудования, на котором они устанавливаются дискретно, используются
коэффициенты геометрических рядов подач (
) и оборотов шпинделя (
):
;
.
После необходимых преобразований получим следующую систем}
ограничений:
Коэффициенты C1 - С12 зависят oт конкретных условий обработки и определяются по следующим
формулам:
В приведенных зависимостях были приняты следующие обозначения: s, v, t - подача, скорость и глубина резания на рассматриваемом
переходе соответственно; xz, xy, xx, xv, yz, yx, yy, nz, nz, ny - показатели степени при глубине резания, подаче и скорости
резания в формулах сил и скорости резания, постоянные для определения условий
обработки; m - показатель степени при принятом
значении стойкости инструмента Tш в формуле скорости резания; cz, cx, cy, cv, kz, kx, ky, kv -коэффициенты, характеризующие условия
обработки; n1, s1 - наименьшие числа в рядах чисел оборотов и подач;
,
- знаменатели геометрических рядов чисел оборотов и подач; Nэл,
- мощность электродвигателя и КПД
главного привода станка; Рдоп.ст - допустимая сила подачи станка; В,
H - размеры державки инструмента,
,
- допустимое напряжение изгиба и вылета державки инструмента; С,
- толщина пластины инструментального
материала и главный угол в плане; L, l1 - длина обрабатываемой заготовки и расстояние от переднего центра
или места закрепления до рассматриваемого сечения; fдоп - допускаемая деформация заготовки под
действием сил резания;
,
; (D - диаметр заготовки); Smax, Smin, tmax, tmin, vmax, vmin, - наименьшие и наибольшие
значения подачи, глубины резания соответственно, допускаемые в данных условиях
обработки; k - коэффициент, учитывающий способ
закрепления заготовки на станке. При обработке в центрах токарного станка
.
Система ограничений выражениями позволяет установить возможные
сочетания подачи, скорости и глубины резания на один переход. Оптимальное
сочетание выбирают по наименьшей суммарной величине тех элементов затрат,
которые зависят от варианта выполнения одного перехода. Оценить любое сочетание
подачи, глубины и скорости резания можно по затратам Сед на
удаление единичного объема материала, размеры которого определяются самими
параметрами обработки:
где
,
Vед -
единичный объем материала заготовки диаметром D; Са, C3, Сэлр, Сэлх , Ср,
Си - затраты на амортизацию оборудования, заработную плату
станочника, электроэнергию рабочего и холостого ходов, текущий ремонт
оборудования, на режущий инструмент соответственно, отнесенные к 1 мин работы
станка; tcм - время на смену затупившегося инструмента.
При выполнении нескольких последовательных переходов значительные
затраты связаны со вспомогательным временем tв (20 -
35%).
Например, для одноинструментной токарной черновой обработки
лучшему варианту маршрута соответствуют минимальные затраты, определенные по
формуле:
где р - число переходов по рассматриваемому варианту
маршрута;
L - длина обрабатываемой поверхности;
tупрi, tизмi - время на приемы управления станком и промеры поверхности на i-м переходе соответственно;
.
4.2 Моделирование чистовой обработки поверхности
При обработке заготовок методом пробных
проходов и на предварительно настроенных станках выбор параметров обработки в
основном определяется заданной точностью обработки.
Упругие отжатия технологической системы,
как правило, вызывают увеличение размеров в партии обрабатываемых деталей.
Настроечный размер (мм) в процессе обработки будет изменяться на величину
где tзад и tфакт - глубина резания заданная (установленная
настройкой станка) и фактическая, мм.
Отклонение размеров (мм) в партии деталей вследствие непостоянства
заданной глубины резания
где ymax и ymin - максимальное и минимальное суммарные
упругие перемещения технологической системы под действием нормальной
составляющей силы резания Р, (мм), т.е.
где jзаг - жесткость системы заготовка - приспособление - узлы
станка, на которых заготовка закрепляется при обработке, Н/мм; jинс - жесткость системы инструмент - приспособление - узлы станка, на
которых закреплен инструмент, Н/мм.
Наиболее существенными погрешностями являются те, которые
возникают в результате размерного износа инструмента и его тепловых деформаций.
Размерный износ вызывает закономерное увеличение расстояния от линии настройки
до вершины режущего инструмента. Угол наклона прямой нормального износа
характеризуется свойствами инструментального материала и условиями обработки.
Размерный износ инструмента (мм) выражают зависимостью
где си - коэффициент, характеризующий обрабатываемый
материал и материал инструмента; v, s, t - скорость
резания, подача и глубина резания соответственно в м/мин, мм/об, мм; кa, кv, кr, -
коэффициенты, характеризующие геометрию режущей части инструмента.
Величина тепловых деформаций инструмента вначале обработки
увеличивается резко. В определенный момент времени
наступает тепловое равновесие, т.е. вершина инструмента больше не
изменяет своего положения в результате тепловых деформаций (имеют место только
колебания положения вершины инструмента вследствие нестабильности глубины
резания в партии заготовок). Если машинное время обработки t0 больше
, то величина тепловых деформаций (мм),
соответствующая тепловому равновесию:
,
где с - коэффициент, учитывающий условия обработки; 1Р
- вылет резца, мм; F - площадь поперечного сечения державки
резца, мм2;
- предел прочности обрабатываемого
материала, Н/мм2.
Текущая тепловая деформация инструмента, мм,
,
где
- постоянная, характеризующая
теплоемкость и теплопроводность инструмента.
В зависимости от соотношений t0 и времени перерывов tпер, величина тепловых деформаций будет вызывать только
погрешности формы
каждой детали или погрешности размера
, для деталей всей партии.
Кроме перечисленных факторов и вызываемых ими погрешностей
обработки большое влияние на отклонения оказывает другая группа факторов,
определяющих погрешность формы на рассматриваемом переходе. Погрешность формы
обрабатываемой поверхности вследствие нестабильности жесткости технологической
системы:
,
где jсист, - жесткость технологической системы, Н/мм.
Погрешность формы в продольной и поперечном направлениях,
зависящая от геометрических неточностей станка
, выражается в функции линейных и угловых
координат
и
.
Суммарную погрешность обработки
определяют по формулам: при суммировании по методу
максимума-минимума
;
при вероятностном методе суммирования
,
где
- элементарная погрешность (i-индекс элементарной погрешности);
n - общее число погрешностей; ki - коэффициент относительного рассеивания,
характеризующий отношение величины поля рассеивания погрешности при нормальном
законе распределения (для которого k = 1,0)
к величине действительного поля рассеивания.
Более надежное значение
дает вероятностный метод суммирования. Однако, когда известны
знаки элементарных погрешностей, их суммирование ведут алгебраически, учитывая
возможность их частичного или полного перекрытия и взаимной компенсации.
Дня линейных размеров, координирующих положение обрабатываемого
профиля относительно другой поверхности детали, применяют расчетную формулу
.
Для диаметральных размеров цилиндрических поверхностей
,
где R1=R2=R3=1,0; R4=R5=1,73;
- сумма погрешности вследствие
геометрических неточностей станка и непостоянства жесткости технологической
системы;
- сумма тепловых деформаций
технологической системы.
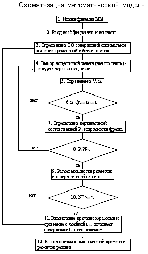
4.3 Оптимизация режимов резания при фрезеровании
Поперечина: чугунная отливка из СЧ25 ГОСТ 1412-85
Обрабатываемая поверхность 5900х1000 мм
Станок Vertimaster RPGTM 32-60
Наибольшее допустимое усилие резания,
при фрезеровании 25 Кн
Пределы рабочих подач подвижного портала 0,1….8000 мм/мин
Частоты вращения сверлильно-фрезерного привода 5-1600 мин-1
Мощность сверлильно-фрезерного привода, кВт S1 - 28, S2 -
37
Максимальный диаметр фрезы 200 мм
Глубина резания t 3 мм
Назначаем фрезу, исходя из того, что максимальный диаметр фрезы 200 мм.
Фреза торцевая ГОСТ 24360-80 с пластинами из твердого сплава
D=200мм
B=46
мм
Число зубьев 20
d(h7)=50мм
Стойкость Т=240мин
Найти минимальное время обработки плоской поверхности чугунной детали на
обрабатывающем центре Vertimaster RPGTM 32-60
При ограничениях:
. На вертикальную составляющую силы резания
, (1)
.
На мощность резания, мощность главного привода станка
(2)
- КПД главного движения
Целевая функция -
, достижение минимального времени обработки, при заданных режимах
резания.
4.4
Расчет минимального времени обработки при Smax
Допустимое значение параметров фрезерной обработки подачи и
числу оборотов лежат в допустимых пределах [3]
,
,
. (3)
3. Выбираем подачу из диапазона S=0,28, мм/об
Подача на 1 зуб фрезы
Вычислим скорость резания и частота вращения [3]
, (4)
Таблица
1. Данные для расчета
|
Cv
|
q
|
x
|
y
|
u
|
p
|
m
|
|
445
|
0,2
|
0,15
|
0,35
|
0,2
|
0
|
0,32
|
|
D
|
B
|
t
|
T
|
Sz
|
z
|
|
|
200
|
200
|
3
|
240
|
0,014
|
20
|
|
,
Подставив численные значения в формулу [3], вычислим скорость
резания, м/мин
Частота
вращения фрезы вычислим по формуле, об/мин
3.
n=420 мин-1
4. По формуле [3] находим вертикальную составляющую Pz силы резания
,
Таблица
2. Коэффициенты
|
Cp
|
x
|
y
|
u
|
q
|
w
|
|
54,5
|
0,9
|
0,74
|
1
|
1
|
0
|
Подставив численные значения в формулу,
вычислим Pz, H
. Проверим выполнение ограничения 1
6. Находим мощность резания N по формуле [3]
, (5)
Подставив численные значения в формулу, вычислим N, кВт
. Вычисляем наименьшее время обработки при соответствующих режимах
резания
, (6)
где D - диаметр фрезы,
L - длина обрабатываемой поверхности,
S - подача,
V - скорость резания.
Подставив численные значения в формулу, вычислим t0, мин
4.5
Расчет минимального времени обработки при S=0,20 мм/об
1. Выбираем подачу из диапазона S=0,20, мм/об
Подача на 1 зуб фрезы
Вычислим скорость резания и частота вращения [3]
,
Таблица
3. Данные для расчета
|
Cv
|
q
|
x
|
y
|
u
|
p
|
m
|
|
445
|
0,2
|
0,15
|
0,35
|
0,2
|
0
|
0,32
|
|
D
|
B
|
t
|
T
|
Sz
|
z
|
|
|
200
|
200
|
3
|
240
|
0,010
|
20
|
|
,
Подставив численные значения в формулу [3], вычислим скорость
резания, м/мин
Частота
вращения фрезы вычислим по формуле, об/мин
.
n=475 мин-1
4. Находим вертикальную составляющую Pz силы резания по формуле
[3]
,
Таблица
4. Коэффициенты
|
Cp
|
x
|
y
|
u
|
q
|
w
|
|
54,5
|
0,9
|
0,74
|
1
|
1
|
0
|
Подставив численные значения в формулу,
вычислим Pz, H
. Проверим выполнение ограничения 1
6. Находим мощность резания N по формуле [3]
,
Подставив численные значения в формулу, вычислим N, кВт
. Вычисляем наименьшее время обработки при соответствующих режимах
резания
,
где D - диаметр фрезы,
L - длина обрабатываемой поверхности,
S - подача,
V - скорость резания.
Подставив численные значения в формулу, вычислим t0, мин

5. Безопасность жизнедеятельности
5.1
Анализ условий труда на производстве
В результате проведенного анализ приведем некоторые факторы,
влияющие на условий труда на производстве.
В производственном цехе имеются несколько источников
освещения: естественное - боковое, осуществимое через световые проемы в
наружных стенах; искусственное - является комбинированным, так как кроме общего
освещения используется местное освещение, концентрирующее световой поток непосредственно
на рабочих местах. На рабочем месте уровень освещения является оптимальным 450
лк. Рабочие места имеют уровни и показатели освещенности, установленные
действующими строительными нормами и правилами СНиП 23-05-95.
Возможность поражением током в существующем производственном цехе очень
велико, так как используется старое оборудование и велик износ проводки. Цех
относится к категории особо опасных помещений.
Погрузочно-разгрузочные работы следует выполнять механизированным
способом с помощью подъемно-транспортного оборудования и средств малой
механизации. Механизированный способ погрузочно-разгрузочных работ является
обязательным для грузов массой более 50 кг, а также при подъеме грузов на
высоту более 3 м. Поднимать и перемещать грузы вручную необходимо при
соблюдении норм, установленных действующим законодательством.
На предприятии в соответствии с ГОСТ 12.3.020-80 перемещение грузов
массой более 20 кг в технологическом процессе производиться с помощью
подъемно-транспортных устройств или средств механизации. Также механизировано
перемещение грузов в технологическом процессе на расстояние более 25 м.
Допустимая норма перемещения грузов вручную одним мужчиной - массой не
более 50 кг на расстояние, не превышающее 25 м, и на высоту не выше 1,5 м.
Допустимая норма перемещения грузов вручную женщинами и подростками
обоего пола указана в разделах «Охрана труда женщин» и «Охрана труда молодежи».
Погрузочно-разгрузочные работы выполняться под руководством
ответственного лица, назначенного администрацией организации. При возникновении
опасных моментов или обстоятельств ответственный за производство
погрузочно-разгрузочных работ должен немедленно принять меры предосторожности,
а если это невозможно, прекратить работу до устранения опасности. Ответственный
за производство погрузочно-разгрузочных работ обязан проверить исправность
грузоподъемных механизмов, такелажного и прочего погрузочно-разгрузочного
инвентаря. Безопасность проведения погрузочно-разгрузочных работ соответствует
требованиям ГОСТ 12.3.009-76 ССБТ.
В соответствии с количеством и пожаровзрывоопасными свойствами
находящихся в помещении веществ и материалов с учетом особенностей
технологических процессов размещенных в них производств- помещение относится к
категории.
Пожарная опасность в цехе заключается в наличии разветвленной
системы кабельных сетей и большого числа электрооборудования.
Основными причинами возгорания могут являться:
·
неосторожность
при курении или курении в не отведенных для этого местах;
·
неосторожное
обращение с огнем;
·
неисправности
электрооборудования;
·
самовозгорание
промасленной ветоши или других материалов;
·
ремонт
оборудования на ходу.
При возникновении пожара он может распространяться по отходам
производства, по горючим отложениям на рабочих конструкциях, по вытяжной вентиляции.
Цех имеет огнестойкие перекрытия и колонны, стены здания цеха
сложены из силикатного кирпича, который имеет критическую tокр = 700-900 оС
и относится к группе несгораемых материалов.
По степени огнестойкости механический цех относится к зданиям I степени. В целях повышения огнестойкости стальных перекрытий
и колонн рекомендуется произвести их обшивку кирпичом: часть металлических
перекрытий рекомендуется покрыть краской типа ВПМ, которая в условиях обычной
эксплуатации будет предохранять металл от коррозии, а при пожаре повысит предел
огнестойкости конструкции.
В производственном цехе производятся токарные,
фрезерные, сверлильные, расточные и шлифовальные операции, что приводит к
образованию в воздухе дисперсных систем за счет выделения пыли, состоящей из
твердых частиц обрабатываемого и инструментального материала, которая,
систематически попадая, на слизистые оболочки работающего может вызвать
раздражение или повреждение (например, глаз)
Шум является одним из наиболее распространенных
неблагоприятных факторов условий труда на производстве. Под влиянием
интенсивного шума нарушаются функции не только слухового анализатора, но и
центральной нервной, сердечно-сосудистой и других физиологических систем.
Работа в условиях интенсивного шума приводит к снижению производительности
труда, росту брака, увеличению вероятности получения производственных травм.
Шум возникает вследствие упругих колебаний как машин в целом, так и отдельных
ее деталей. Причины возникновения этих колебаний - механические, аэродинамические,
гидродинамические и электрические явления, определяемые конструкцией и
характером работы машины, а также неточностями, допущенными при ее изготовлении
и условиями эксплуатации.
Продолжительное воздействие производственного шума
может привести к ухудшению слуха, а иногда и к глухоте. Звуковые колебания
могут восприниматься не только ухом, но и непосредственно через кости черепа
(так называемая костная проводимость).
На проектируемом участке присутствуют дополнительные источники шума. Для
снижения шума, возникающего в цехе, при использовании производственного
оборудования, предусмотрено: массивный бетонный фундамент, шумопоглащающие
лаки, применение звукоизолирующих кожухов и акустических экранов на
оборудовании, являющимся источниками повышенного уровня шума.
После применения всех вышеперечисленных мер уровень шума на рабочем месте
не превышает 80 Дб.
5.2
Предлагаемые мероприятия по улучшению условий труда
Так как в проектном варианте используется современное оборудование со
степенью защищенности IP 23
по ГОСТ 14254-80, предлагается только замена старой электропроводки.
Для снижения воздействия вредных веществ необходимо выполнять
меры предосторожности:
- Избегать образования и вдыхания пыли;
Всегда использовать вытяжную вентиляцию, которая снижает содержание
вредных элементов до нормы;
Использовать респираторы, если вентиляция невозможна или
недостаточна;
- При необходимости следует надевать защитные очки;
Носить специальную защитную одежду и перчатки.
Предлагается
применение местной искусственной вентиляции и оснащение станков защитными
кожухами, для ограждения зоны обработки.
Основным источником шума является точка контакта заготовки и режущего
инструмента в процессе обработки, предлагается снизить уровень шума за счет
нанесения звукоизолирующего материала. Проведенный анализ показывает, что для
данных условий лучше всего подходит «ВИНИПОР».
Состояние микроклимата в помещении цеха
|
Период года
|
Категория работ
|
Температура воздуха,°С
|
Температура поверхностей, °С
|
Относительная влажность
воздуха, %
|
Скорость движения воздуха,
м/с
|
|
Холодный
|
IIб
|
17-19
|
16-20
|
60-40
|
0,2
|
|
Теплый
|
IIб
|
19-21
|
18-22
|
60-40
|
0,2
|
Таблица 5.2 - Допустимые величины показателей микроклимата на рабочих
местах
|
Период года
|
Категория работ
|
Температура воздуха,°С
|
Температура поверхностей, °С
|
Относительная влаж-ность
воздуха, %
|
Скорость движения воздуха,
м/с
|
|
|
Диапазон ниже оптимальных
величин
|
Диапазон выше оптимальных
величин
|
|
|
|
|
|
|
|
|
|
Для диапазона температур
воздуха ниже оптимальных величин, не более
|
Для диапазона темпера-тур
воздуха выше оптимальных величин, не более
|
|
Холодный
|
IIб
|
15-16,9
|
19,1-22
|
14-23
|
15-75
|
0,2
|
0,4
|
|
Теплый
|
IIб
|
16-18,9
|
21,1-27
|
15-28
|
15-75
|
0,2
|
0,5
|
Приведем перечень выделяющихся в промышленную атмосферу вредных веществ.
Таблица 5.3 - Вредные вещества.
|
Наименование вещества
|
Класс опасности
|
Пути проникновения в
организм
|
ПДК в воздухе
|
Общий характер воздействия
|
|
|
|
Рабочей зоны, мг/м3
|
Атмосфер-ном, г/м3
|
|
|
Чугун (пыль)
|
4
|
Органы дыхания
|
6
|
-
|
Фиброген-ное
|
|
Легированные стали (пыль)
|
4
|
То же
|
6
|
-
|
-
|
|
Алюминий и его сплавы
|
4
|
То же
|
2
|
-
|
-
|
|
Масла минеральные
|
4
|
Органы дыхания и кожа
|
5
|
-
|
Раздра-жающее, токси-ческое
|
|
Оксид углерода
|
4
|
Органы дыхания
|
20
|
5 м. р., 3 с. с.
|
токсическое
|
5.3 Анализ
безопасности электроустановок
Анализ безопасности электроустановок сводится к определению величины
электрического тока, проходящего через тело человека, оказавшегося под
воздействием напряжения прикосновения, которое определяется между двумя точками
цепи тока, которых одновременно касается человек.
Поражение человека возможно в результате прикосновения либо
непосредственно к токоведущим частям, либо к нетоковедущим металлическим
конструкциям электороустановок, оказавшимся под напряжением.
И если к токоведущим частям возможны однополюсные и двухполюсные
прикосновения, то к нетоковедущим, как правило однополюсные.
Именно однополюсные прикосновения представляют наибольший интерес, так
как являются причиной 80% случаев поражения электрическим током. Это
объясняется тем, что наиболее вероятно прикосновение к нетоковедущим частям
(корпуса оборудования, ограждения , конструкции). В нормальном режиме работы
электроустановок это не представляет опасности, однако при повреждении изоляции
или других неисправностях происходит замыкание фазы на корпус (землю) - т.е.
случайное электрическое соединение токоведущих частей непосредственно с землей
или токоведущими проводящими конструкциями или предметами, не изолированными от
земли.
Оборудование оказывается под напряжением относительно земли, т.е. точки
земли, находящиеся вне зоны тока замыкания на землю. А человек, находящийся в
контакте с этим оборудованием, оказывается под напряжением прикосновения,
которое вызывает прохождение тока через тело человека.
5.4 Расчет
средств электробезопасности
. Определяем нормативное значение сопротивления заземления: 10 Ом.
. Естественные заземлители отсутствуют.
. Выбираем конструкцию искусственного заземлителя: вертикальные стержни,
расположенные по замкнутому контуру, объединенные в единую систему
горизонтальной полосой прямоугольного сечения.
. Определим необходимую величину сопротивления растеканию тока
искусственного заземлителя по формуле:
, (7.1)
Где
- сопротивление растеканию естественного заземлителя,
Ом;
-
нормативная величина сопротивления заземления, Ом;
Ом
.
Определим сопротивление растеканию тока единичного стержневого электрода
по формуле:
Рис. 4.1. Вертикальный электрод
, (7.2)
Где
- удельное сопротивление грунта в месте заложения
заземлителя,
Ом*м;
-
коэффициент сезонности, учитывающий удельное сопротивление грунта, в
зависимости от времени года;
l - длина
заземлителя, м;
d - диаметр
заземлителя, м;
Н
- глубина заложения центра заземлителя от поверхности земли, м.
Ом
.
Определим предварительное ориентировочное количество стержней электродов:
, (7.3)
.
Расстояние между электродами a=10 м;
.
Сопротивление растеканию тока горизонтальной соединительной полосы длинной
м
, (7.4)
подставим
значения в формулу (7.4):
Ом;
.
Определим сопротивление растекания группового искусственного заземлителя:
, (7.5)
Ом;
.
Определим общее сопротивление растеканию тока системы заземления:
, (7.6)
Ом
.
Проверим условие:
, (7.7)
-
условие выполняется.
Вибрация,
воздействующая на человека в цехе на рабочем месте, является третьей категории
- технологическая, передающаяся через фундаменты и основания на операторов
стационарно установленных машин. Тип вибрации 3а. Присутствует действие на
человека шума не превышающего допустимый уровень шума 80дБА.
Таблица
- Санитарные нормы вибрационной нагрузки.
|
Вид вибрации
|
Категория вибрации
|
|
Нормативные,
корректированные по частоте и эквивалентные корректированные значения
|
|
|
|
виброускорения
|
виброскорости
|
|
|
|
м·с-2
|
дБ
|
м·с-1·10-2
|
дБ
|
|
Общая
|
3а
|
X0,Y0,Z0
|
0,1
|
100
|
0,2
|
92
|
Расчёт средств виброзащиты
Общие сведения о вибрации
Вибрация - это механическое колебательное движение системы с
упругими связями; движение точки или механической системы, при котором
происходит поочередное возрастание и убывание во времени значений по крайней
мере одной координаты.
Причиной возбуждения вибраций являются возникающие при
работе машин и агрегатов неуравновешенные силовые воздействия. Источником
такого дисбаланса может быть неоднородность материала вращающегося тела,
несовпадение центра массы тела и оси вращения, деформация деталей, а также
неправильная установка и эксплуатация оборудования.
Основные параметры вибрации: частота, амплитуда смещения,
скорость, ускорение, период колебания.
В производственных условиях почти не встречается вибрации в
виде простых гармонических колебаний. При работе машин и оборудования обычно
возникает сложное колебательное движение, которое является апериодическим,
имеющим импульсный или толчкообразный характер.
Классификация вибраций, воздействующих на человека.
Вибрацию по способу передачи на человека (в
зависимости от характера контакта с источниками вибрации) условно подразделяют
на:
- общую вибрацию, передающуюся через опорные поверхности на тело сидящего
или стоящего человека;
локальную вибрацию, передающуюся через руки человека.
Примечание. Вибрация, передающаяся на ноги сидящего человека и на
предплечья, контактирующие с вибрирующими поверхностями рабочих столов,
относится к локальной вибрации.
В производственных условиях нередко имеет место сочетание
действий местной и общей вибрации.
По источнику возникновения вибраций различают:
локальную вибрацию, передающуюся человеку от ручного механизированного
инструмента (с двигателями), органов ручного управления машинами и
оборудованием;
локальную вибрацию, передающуюся человеку от ручного немеханизированного
инструмента (без двигателей), например, рихтовочных молотков разных моделей и
обрабатываемых деталей;
общую вибрацию 1 категории - транспортную вибрацию, воздействующую на
человека на рабочих местах самоходных и прицепных машин, транспортных средств
при движении по местности и дорогам (в том числе при их строительстве).
Общую вибрацию категории 3 по месту действия подразделяют на следующие
типы:
а) на постоянных рабочих местах производственных помещений предприятий;
б) на рабочих местах на складах, в столовых, бытовых, дежурных и других
производственных помещений, где нет машин, генерирующих вибрацию;
в) на рабочих местах в помещениях заводоуправления, конструкторских бюро,
лабораторий, учебных пунктов, вычислительных центров, здравпунктов, конторских
помещениях, рабочих комнатах и других помещениях для работников умственного
труда.
По частотному составу вибрации выделяют:
низкочастотные вибрации (1-4 Гц для общих вибраций, 8-16 Гц - для
локальных вибраций);
среднечастотные вибрации (8-16 Гц - для общих вибраций, 31,5-63 Гц - для
локальных вибраций);
высокочастотные вибрации (31,5-63 Гц - для общих вибраций, 125-1000 Гц -
для локальных вибраций).
По временным характеристикам вибрации выделяют:
постоянные вибрации, для которых величина нормируемых параметров
изменяется не более чем в 2 раза (на 6 дБ) за время наблюдения;
непостоянные вибрации, для которых величина нормируемых параметров
изменяется не менее чем в 2 раза (на 6 дБ) за время наблюдения не менее 10 мин при
измерении с постоянной времени 1 с, в том числе:
а) колеблющиеся во времени вибрации, для которых величина нормируемых
параметров непрерывно изменяется во времени;
б) прерывистые вибрации, когда контакт человека с вибрацией прерывается,
причем длительность интервалов, в течение которых имеет место контакт,
составляет более 1 с;
в) импульсные вибрации, состоящие из одного или нескольких вибрационных
воздействий (например, ударов) каждый длительностью менее 1 с.
Воздействие вибрации на организм человека.
Тело человека рассматривается как сочетание масс с упругими элементами,
имеющими собственные частоты, которые для плечевого пояса, бедер и головы
относительно опорной поверхности (положение «стоя») составляют 4-6 Гц, головы
относительно плеч (положение «сидя») - 25-30 Гц. Для большинства внутренних
органов собственные частоты лежат в диапазоне 6-9 Гц.
Местная вибрация малой интенсивности может благоприятно воздействовать на
организм человека, улучшать функциональное состояние ЦНС, ускорять заживление
ран и т.п., но при увеличении интенсивности колебаний и длительности их
воздействия возникают изменения, приводящие в ряде случаев к развитию
профессиональной патологии - вибрационной болезни.
Общая вибрация с частотой менее 0,7 Гц, определяемая как качка, хотя и
неприятна, но не приводит к вибрационной болезни. Следствием такой вибрации
является морская болезнь, вызванная нарушением нормальной деятельности
вестибулярного аппарата. При частоте колебаний рабочих мест, близкой к
собственным частотам внутренних органов, возможны механические повреждения или
даже разрывы. Систематическое воздействие общих вибраций с высоким уровнем
виброскорости приводит к вибрационной болезни, которая характеризуется
нарушениями физиологических функций организма, связанными с поражением
центральной нервной системы. Эти нарушения вызывают головные боли,
головокружения, нарушения сна, снижение работоспособности, ухудшение
самочувствия, нарушения сердечной деятельности, расстройство зрения, онемение и
отечность пальцев рук, заболевание суставов, снижение чувствительности.
Предельно допустимый уровень (ПДУ) вибрации - это уровень фактора,
который при ежедневной (кроме выходных дней) работе, но не более 40 часов в
неделю в течение всего рабочего стажа, не должен вызывать заболеваний или отклонений
в состоянии здоровья, обнаруживаемых современными методами исследований в
процессе работы или в отдаленные сроки жизни настоящего и последующих
поколений.
Основными нормативными правовыми актами, регламентирующими
параметры производственных вибраций, являются:
"Санитарные нормы и правила при работе с машинами и
оборудованием, создающими локальную вибрацию, передающуюся на руки
работающих" № 3041-84 и "Санитарные нормы вибрации рабочих мест"
№ 3044-84.
В настоящее время около 40 государственных стандартов
регламентируют технические требования к вибрационным машинам и оборудованию,
системам виброзащиты, методам измерения и оценки параметров вибрации и другие
условия.
К работе с вибрирующими машинами и оборудованием допускаются
лица не моложе 18 лет, получившие соответствующую квалификацию, сдавшие
технический минимум по правилам безопасности и прошедшие медицинский осмотр.
Работа с вибрирующим оборудованием, как правило, должна
проводиться в отапливаемых помещениях с температурой воздуха не менее 160С
при влажности 40-60%. Если создание подобных условий невозможно (работа на
открытом воздухе, подземные работы и т.д.), то для периодического обогрева
должны быть предусмотрены специальные отапливаемые помещения с температурой
воздуха не менее 220С.
Наиболее действенным средством защиты человека от вибрации
является устранение непосредственно его контакта с вибрирующим оборудованием.
Осуществляется это путем применения дистанционного управления, промышленных
роботов, автоматизации и замены технологических операций.
Снижение неблагоприятного действия вибрации ручных
механизированных инструментов на оператора достигается путем технических
решений:
уменьшением интенсивности вибрации непосредственно в
источнике (за счет конструктивных усовершенствований);
средствами внешней виброзащиты, которые представляют собой
упругодемпфирующие материалы и устройства, размещенные между источником
вибрации и руками человека-оператора.
В комплексе мероприятий важная роль отводится разработке и
внедрению научно обоснованных режимов труда и отдыха. Например, суммарное время
контакта с вибрацией не должно превышать 2/3 продолжительности рабочей смены;
рекомендуется устанавливать 2 регламентируемых перерыва для активного отдыха,
проведения физиопрофилактических процедур, производственной гимнастики по
специальному комплексу.
В целях профилактики неблагоприятного воздействия локальной и
общей вибрации работающие должны использовать средства индивидуальной защиты:
рукавицы или перчатки (ГОСТ 12.4.002-74. "Средства индивидуальной защиты рук
от вибрации. Общие требования"); спецобувь (ГОСТ 12.4.024-76. "Обувь
специальная виброзащитная").
На предприятиях с участием санэпиднадзора медицинских
учреждений, служб охраны труда должен быть разработан конкретный комплекс
медико-биологических профилактических мероприятий с учетом характера
воздействующей вибрации и сопутствующих факторов производственной среды.
В промышленности в связи новыми технологиями изготовления деталей, ростом
мощности оборудования и его быстроходности широкое применение получили машины и
оборудование, создающие вибрации, неблагоприятно воздействующие на человека.
Вибрация может быть вызвана множеством причин: неуравновешенными силовыми
воздействиями, неоднородностью материала вращающегося тела, несовпадением осей
вращения с осью массы тела.
Основными параметрами вибраций, происходящих по синусоидальному закону,
является амплитуда виброперемещений. Различают общую и локальные вибрации.
Общая вибрация вызывает сотрясение всего организма, местная вовлекает в
колебательное движение отдельные части тела. В ряде случаев рабочий может
подвергаться и общей и локальной вибрации одновременно.
Существует несколько способов борьбы с вибрацией:
отстройка от режимов резонанса путем рационального выбора массы или
жесткости колеблющихся систем;
снижение вибрации в источнике - исключением резонансных режимов работы
оборудования;
виброгашение;
виброизоляция - дорогостоящий метод;
вибродемпфирование;
индивидуальные средства защиты (спец. рукавицы, обувь и др.).
Расчет виброизоляции на рабочем месте
В цехе - общая вибрация 3-й категории типа а, т.е. при работе на
металлорежущих станках.
Среднегеометрическая частота активной полосы - 50 ГЦ.
Фактический
уровень виброскорости
составляет 103 дБ на частоте
, при нормальном уровне виброскорости
дБ.
Т.
к.
, то необходима виброзащита данного рабочего места.
Требуемая
масса виброизолируемого объекта Мтр, кг рассчитывается по формуле:
, кг.
где Мдин - масса движущихся частей
виброизолирующей машины, кг;
Адоп - допустимое значение амплитуды смещения основания
виброизолируемого объекта, м;
- эксцентриситет движущихся частей, величина
которого зависят от вида движения, в нашем случае
= 0, 2 м;
В
нашем случае Мст = 60000 кг > Мтр = 6723 кг, это
значит, что в данном случае не требуется увеличение массы станка.
Частота
возмущающих колебаний виброизолированной системы в Герцах находится по формуле:
где
п - частота вращения
исполнительного органа машины в единицу времени при рабочем режиме, об мин.;
,Гц
Допустимая
собственная частота колебаний виброизолированной системы f0 , Гц рассчитывается
как:
, Гц
Необходимая
общая жесткость всех амортизаторов виброизолирующей системы Ктр,
м
, находится по формуле:
,
м
Обеспечиваемая
эффективность виброизоляции
,
находится как
,
Требования
к виброзащите будут выполняться, если выполняется следующее условие:
Т.
к.
, то требования к виброзащите выполняются.
Расчет резиновых виброизоляторов.
Площадь
поперечного сечения всех резиновых виброизоляторов
рассчитывается по формуле:
, м2
=
9,8
- ускорение свободного падения.
-
допустимые значения статического натяжения для резины,
м
.
Рабочая
высота резиновых изоляторов Нр, м определяется по формуле:
, м
где
Един - динамический модуль упругости резины,
м
Полная
высота резиновых изоляторов Нп, м
, м
где
Ф - характерный размер поперечного сечения изоляторов, м
Характерный
размер поперечного сечения изоляторов Ф, м определяется исходя из
обеспечения условий устойчивости виброизолированной системы:
Нр
Ф
8Нр
,013
0,1
0,102
Площадь
поперечного сечения каждого резинового изолятора F1, м2 определяется, исходя из выбранных
раннее формул и размеров:
для
квадратных F1= Ф
= 0,1
= 0,01
Количество
резиновых изоляторов N, шт:
, шт.
По данному расчету видно, что условие обеспечивается. Выбранный изолятор
марка резины Н-068 и его количество полностью удовлетворяет нашим
требованиям.
5.5
Безопасность жизнедеятельности в условиях чрезвычайной ситуации
Экономика страны решает решающую роль в развитии. Объекты, на которых
будут приняты меры по повышению устойчивости их работы, будут иметь меньшие
повреждения в условиях чрезвычайной ситуации.
Согласно [17,
с.172] необходимо знать и претворить в
жизнь пути и способы повышения устойчивости функционирования объектов
экономики.
По существу это должно достигаться путем усиления наиболее слабых
элементов и участков объекта.
Основные мероприятия в решении задач повышения устойчивости работы
промышленных объектов:
-защита рабочих и служащих от оружия массового поражения;
повышение прочности и устойчивости важнейших элементов объектов
совершенствование технологического процесса;
повышение устойчивости материально-технического снабжения;
повышение устойчивости управления объектом;
разработка мероприятий по уменьшению вероятности возникновения вторичных
факторов поражения и ущерба от них;
подготовка к восстановлению производства после поражения объекта.
Разработка и осуществление мероприятий по повышению устойчивости работы
объекта в большинстве случаев проводится в мирное время.
При решении задач повышения устойчивости работы объекта особое внимание
обращается на обеспечение укрытия всех работающих людей в защитных сооружениях.
В целях выполнения этой задачи разрабатывается план накопления и строительства
необходимого количества защитных сооружений, которым предусматривается укрытие
рабочих и служащих в быстровозводимых убежищах в случае недостатка убежищ,
отвечающих современным требованиям. При организации работ по строительству
быстровозводимых убежищ в условиях угрозы нападения противника используют
имеющиеся на объекте строительные материалы.
Усиление прочности зданий, сооружений, оборудования и их конструкций
связано с большими затратами. Поэтому повышение прочностных характеристик целесообразно
в том случае, если:
отдельные особо важные производственные здания и сооружения значительно
слабее других и их прочность целесообразно довести до общепринятого для данного
предприятия предела устойчивости;
необходимо сохранить некоторые важные участки (цеха), которые могут
самостоятельно функционировать при выходе из строя остальных и обеспечат выпуск
особо ценной продукции.
При реконструкции существующих промышленных сооружений, так же как и при
строительстве новых, следует применять облегченные междуэтажные перекрытия и
лестничные марши, усиления их креплений к балкам; применять легкие, огнестойкие
кровельные материалы. Обрушение этих конструкций и материалов принесет меньший
вред оборудованию, чем тяжелые железобетонные перекрытия, кровельные и другие
конструкции.
При угрозе нападения противника в наиболее ответственных сооружениях
могут вводиться дополнительные опоры для уменьшения пролетов, усиливаться
наиболее слабые узлы и отдельные элементы несущих конструкций.
При наводнении - перед эвакуацией необходимо отключить газ, воду,
электричество, потушить горящие печи, перенести на верхние этажи зданий
(чердаки) ценные вещи и предметы, закрыть окна и двери первых этажей и обить их
досками. При получении предупреждения об эвакуации необходимо собрать
необходимые документы, деньги и ценности, медицинскую аптечку, комплект одежды
по сезону, запас продуктов на несколько дней и прибыть на сборный пункт
отправки в безопасный район.
При внезапном наводнении необходимо: как можно быстрее занять ближайшее возвышенное
место и быть готовым к эвакуации по воде плавсредствами или пешим порядком
вброд; не терять самообладание, не поддаваться панике, принять меры,
позволяющие спасателям обнаружить людей (в светлое время это достигается
вывешиванием на высоком месте белого или цветного полотнища, а в ночное -
подачей световых сигналов); до прибытия помощи оставаться на верхних этажах,
крышах, деревьях и других возвышающихся местах. Для самоэвакуации можно
использовать лодки, катера, плоты из бревен и других подручных средств.
После спада воды следует остерегаться порванных и провисших проводов,
категорически запрещается использовать продукты питания, попавшие в воду и
употреблять воду без санитарной проверки. Перед входом в жилище после
наводнения необходимо соблюдать меры предосторожности: предварительно открыть
окна и двери для проветривания, не включать освещение и электроприборы до
проверки исправности электрических сетей, не пользоваться открытым огнем.
Основное направление борьбы с наводнениями состоит в уменьшении
максимального расхода воды в реках, путем перераспределения стока воды во
времени с помощью водохранилищ, строительства дамб и отвода воды в русла других
рек и водохранилища.
Повышение устойчивости технологического и станочного оборудования. Это
достигается путем усиления наиболее слабых элементов оборудования, а также
создания запасов этих элементов, узлов, деталей и инструментов для его
восстановления. Большое значение имеет прочное закрепление на фундаментах
станков, установок, имеющих большую высоту и малую площадь опоры.
Повышение устойчивости технологического процесса. Насыщение
технологических линий средствами автоматики способствует совершенствованию
процессов, но в то же время делает их более уязвимыми к воздействию поражающих
факторов. Необходимое условие надежности технологического процесса -
устойчивость системы управления и бесперебойное обеспечение всеми видами
энергоснабжения. В случае выхода из строя автоматической системы управления
предусматривается переход на ручное управление. Способами повышения
устойчивости технологических процессов является: перевод производства в другие
цеха, замена вышедших из строя образцов оборудования другими, замена сложных
технологических процессов более простыми.
Повышение устойчивости систем энергоснабжения. Создаются дублирующие
источники электроэнергии, газа, воды и пара путем прокладки нескольких
подводящих коммуникаций и последующего их закольцовывания.
Управление производством должно быть непрерывным на всех этапах.
Предусматривается разделение всего персонала объекта в период угрозы на две
группы: работающая смена, находящаяся на территории объекта и смена,
находящаяся в загородной зоне. Для обеспечения надежного управления
деятельностью объекта в военное время в одном из убежищ оборудуется пункт управления.
Повышение устойчивости материально-технического снабжения объекта
обеспечивается созданием запасов сырья, материалов, комплектующих изделий,
оборудования и топлива. Места размещения материально-технических резервов
следует выбирать с таким расчетом, чтобы они оказались не уничтоженными при
возникновении чрезвычайной ситуации. В то же время их целесообразно располагать
возможно ближе к объекту.
6. Стандартизация
Стандартизация - деятельность, направленная на достижение оптимальной
степени упорядочения в определённой области по средствам установления положений
для всеобщего и многократного применения в отношении реально существующих и
потенциальных задач.
Объём стандартизации - предметы (продукт, процесс, услуга) подлежащие или
подвергающиеся стандартизации.
Стандарт - нормативный документ по стандартизации, разработанный на
основе согласия, характеризующийся отсутствием выражение по существенным
вопросам у большинства заинтересованных сторон и утверждённым органом, в
котором могут устанавливаться для всеобщего и многократного использования
правил, общие принципы, характеристики, требования или методы, касающиеся
определённых моментов стандартизации, и который направлен на достижение
оптимальной степени упорядочения в определённой области.
Стандарт предприятия - стандарт, утверждённый предприятием, и применяемый
только на этом предприятии.
Технические условия - нормативный документ на конкретную продукцию,
утверждённый предприятием - разработчиком, как правило по согласию с
предприятием заказчиком.
Цели стандартизации:
защита интересов потребителей и государств в вопросах номенклатуры и
качества продукции, услуг и процессов, обеспечивающих их безопасность для жизни
и здоровья людей и имущества, охрану окружающей среды;
повышение качества продукции в соответствии с развитием науки и техники,
с потребностями населения и хозяйства;
- обеспечение совместимости и взаимозаменяемости продукции;
- содействие экономики людских и материальных ресурсов, улучшению
экономических показателей производства;
- устранение технических барьеров в производстве и торговле,
обеспечение конкурентоспособности продукции на мировом рынке и эффективного
участия государства в разделении труда;
обеспечение безопасности народнохозяйственного отдела с учётом риска,
возникновение природных и техногенных катастроф и других чрезвычайных ситуаций;
- содействие повышению оборотоспособности капитала страны;
Задачи стандартизации:
- обеспечение взаимопонимания между разработчиками, изготовителями,
продавцами и потребителями.
Установление оптимальных требований к номенклатуре к качеству продукции в
интересах потребителя и государства в том числе, обеспечивающих её безопасность
для жизни, здоровья людей и имущества, охрану окружающей среды.
Установление требований по совместимости, а так же взаимозаменяемости
продукции.
Согласование и увязка показателей и характеристик продукции, её
элементов, комплектующих изделий, сырья и материалов.
Унификация на основе управления и применения параметрических и
типоразмерных рядов, базовых конструкций, конструктивно -унифицированных,
блочно-модульных и составных частей.
Установление метрологических норм, правил, положений и требований.
Нормативно- техническое обеспечение контроля; сертификация и оценка
качества продукции.
Установление требований к технологическим процессам.
Создание и введение систем классификации технико - экономической
характеристики.
7. Определение экономической
эффективности проектируемого технологического процесса изготовления стойки
станка Vertimaster
32-60
.1 Анализ условий производства и исходные данные
При известной годовой программе
производства деталей типа поперечина, необходимо определить экономическую
эффективность проектируемого технологического процесса их обработки, а так же
установить область эффективного применения предложенного способа.
Существующий (базовый) вариант обработки
предусматривает изготовление деталей типа поперечина на универсальном
оборудовании и оборудовании с ручной загрузкой-разгрузкой.
Предлагаемый вариант обработки
предусматривает изготовление деталей с применением универсального
автоматизированного оборудования, использование МЦС Vertimaster RPGTM 32-60.
Планируемая годовая программа производства
деталей N - 5 шт. Режим работы цеха - односменный. Исходные данные для расчета
затрат по вариантам приведены в таблице 6.1.
Таблица 6.1 - Исходные данные для расчета
по вариантам.
|
Наименование
данных
|
Характеристика
|
|
Базовый вариант
|
Проектный вариант
|
|
Применяемое
на операциях оборудование
|
ХФ0944 2657 7А278 Хеккерт W200HC
Чепель
|
Vertimaster
RPGTM 32-60 Хеккерт
|
|
Норма
штучно-калькуляционного времени на деталь, ч В том числе по операциям:
Продольно-фрезерная Горизонтально-расточная Продольно-строгальная
Радиально-сверлильная Продольно-шлифовальная Комплексная на станках с ЧПУ
|
330 54 40,5 58 2,5 128 -
|
297 - - - - 128 169
|
|
Производственная
площадь занимаемая единицей оборудования, м2 Продольно-фрезерный станок ХФ0944
Горизонтально-расточной станок 2657 Продольно-строгальный станок 7А278
Радиально-сверлильный станок Чепель Горизонтально-расточной станок W200HC
Продольно-шлифовальный станок Хеккерт Обрабатывающий центр Vertimaster RPGTM 32-60 ИТОГО
|
51,48 93,15 49,5 10,64
40,5 84 - 329,27
|
- - - - 84 72 156
|
|
Высота
помещений цеха, м2
|
10,8
|
10,8
|
|
Часовая
тарифная ставка рабочего по разрядам, руб: 3-й разряд 4-й разряд 5-й разряд
6-й разряд
|
43 48 55 58
|
43 48 55 58
|
|
Коэффициент,
учитывающий приработок
|
1,3
|
1,3
|
|
Коэффициент
дополнительной зарплаты
|
1,1
|
1,1
|
|
Коэффициент
начислений в единый социальный налог
|
1,26
|
1,26
|
|
Коэффициент
многостаночного обслуживания
|
1,3
|
1
|
|
Суммарная мощность
электродвигателей, кВт.
|
215
|
138
|
|
Годовые
отчисления оборудования, %
|
13,5
|
13,5
|
|
Средний КПД
электродвигателей
|
0,85
|
|
Коэффициент
потерь элекроэнергии в сети
|
1,05
|
1,05
|
|
Стоимость
электроэнергии на предприятии, руб*кВт
|
2,02
|
2,02
|
|
Среднегодовые
расходы содержания помещения цеха,
|
480
|
480
|
|
Действительный
годовой фонд рабочего времени оборудования, ч.
|
2060
|
2060
|
|
Коэффициент
загрузки оборудования по времени
|
0,87
|
0,87
|
7.2 Расчет капиталовложений
Всего на участке для изготовления
поперечины задействовано 6 единиц оборудования по базовому варианту и 2 по
проектному. Оборудование задействованное в работе приведено в таблице 6.2
Таблица 6.2 - Исходные данные для расчета
по вариантам.
|
№ п-п
|
Наименование и
модель оборудования
|
Стоимость оборудования,
тыс.руб.
|
Количество
|
|
|
|
По базовому варианту
|
По проектному варианту
|
|
1.
|
Продольно-фрезерный станок
ХФ0944
|
7508
|
1
|
-
|
|
2.
|
Горизонтально-расточной
станок 2657
|
5745
|
1
|
-
|
|
3.
|
Продольно-строгальный
станок 7А278
|
4554
|
1
|
-
|
|
4.
|
Радиально-сверлильный
станок Чепель
|
1970
|
1
|
-
|
|
5.
|
Горизонтально-расточной
станок W200HC
|
5853
|
1
|
-
|
|
6.
|
Продольно-шлифовальный
станок Хеккерт
|
3781
|
1
|
1
|
|
7.
|
Обрабатывающий центр Vertimaster RPGTM 32-60
|
28000
|
-
|
1
|
7.3 Расчет различающихся капиталовложений
Расчет капиталовложений в технологическое
оборудование при покупке нового производится по формуле:
(8.1)
где
- оптовая цена оборудования, руб.;
- коэффициент транспортно-заготовительных расходов, связанных с
приобретением оборудования;
- коэффициент, учитывающий строительные работы;
- коэффициент, учитывающий затраты на монтаж и освоение
оборудования;
Расчет капитальных вложений в здание цеха по операциям
производится по формуле:
(8.2)
где
- производственная площадь занимаемая
единицей оборудования, м2;
- коэффициент занятости площади при изготовлении продукции
данного вида;
- высота помещения цеха (от пола до подкрановых путей) в котором
изготавливается продукция, м;
- стоимость аренды 1 м2 производственного здания, руб.
По базовому варианту:
По проектному варианту
Капитальные вложения в оснастку, режущий и мерительный инструмент
по базовому и проектному вариантам пренебрегаем ввиду их одинаковости.
Суммарная величина вложений по вариантам:
При внедрении новой технологии обработки требуется дополнительные
капитальные вложения в размере 4245545.
7.4 Расчет текущих затрат на производство поперечины
Для оплаты труда основных и
вспомогательных производственных рабочих принята повременно-премиальная форма
оплаты труда.
Фонд заработной платы определяем по
формуле:
(8.3)
где
- часовая тарифная ставка рабочего, руб.;
- коэффициент, учитывающий приработок;
- коэффициент дополнительной зарплаты;
- коэффициент начислений в единый социальный налог;
- коэффициент многостаночного обслуживания.
По базовому варианту:
По проектному варианту:
Расчет амортизационных отчислений по оборудованию, приходящемуся
на операции, производим по формуле:
(8.4)
где
- капитальные вложения в технологическое
оборудование, руб.;
- годовые амортизационные отчислении, %;
По базовому варианту:
По проектному варианту
Затраты па текущий ремонт и обслуживание оборудования применяют в
размере 7% от их первоначальной стоимости.
(8.5)
где
- общая первоначальная стоимость
оборудования, руб.
По базовому варианту
По проектному варианту
Затраты на силовую электроэнергию определяются но формуле:
(8.6)
где
- стоимость 1 кВт/ч. электроэнергии,
руб.;
- годовой расход электроэнергии, кВт.
Годовой расход электроэнергии определяется по формуле:
(8.7)
где
- установочная мощность всех станков,
кВт;
- годовой фонд работы производственного оборудования, ч;
- средний коэффициент загрузки оборудования;
- коэффициент одновременной работы оборудования;
- коэффициент потерь в электрической сети;
- КПД электродвигателя.
По базовому варианту:
По проектному варианту:
Расчет затрат приходящихся на содержание помещения цеха:
(8.8)
где
- среднегодовые расходы на содержание
здания цеха, руб./м2 .
По базовому варианту:
По проектному варианту
Себестоимость заготовок были определены в п. З.2.3 и составляют
для базового и проектного варианта 34250 руб. Суммарная величина текущих затрат
по вариантам представлена в таблице 8.3.
Таблица 6.3 - Величина текущих затрат.
|
Наименование
затрат
|
Сумма, руб.
|
|
Базовый вариант
|
Проектный
вариант
|
|
Заработная
плата рабочих
|
1445460
|
422760
|
|
Затраты на
заготовки
|
34250
|
34250
|
|
Прирост
амортизационных отчислений
|
4856000
|
5150000
|
|
Ремонт оборудования
|
2515100
|
2700000
|
|
Затрата на
силовую электроэнергию
|
498291
|
283103
|
|
Затраты на
помещение цеха
|
1502100
|
711650
|
|
ИТОГО:
|
10851204
|
9301772
|
7.5 Определение годового экономического эффекта
Для определения годового экономического
эффекта от производства и использования новых средств труда долговременного
применения с улучшенными качественными характеристиками (производительности,
долговечности, издержек эксплуатации и т. д.) за срок службы с учетом
морального износа определяется по формуле:
(8.9)
где
- себестоимость годового производства
деталей соответственно по базовому и проектному вариантам, руб.;
- капитальные вложения в производство деталей по базовому и
проектному вариантам соответственно, руб.
- коэффициент морального износа оборудования.

При применении предложенного проектного варианта годовой
экономический эффект составит 904072 руб. за счет снижения расходов на
заработную плату рабочих, затраты на производство заготовок и содержание здания
цеха.
Срок окупаемости капитальных вложении определяется по формуле:
(8.10)
где
- капитальные затраты, руб.;
- годовой экономический эффект, руб.
4 года 8 месяцев 8 дней
Итак капитальные затраты на приобретение нового оборудования
окупятся за 4,69 года или 4 года 8 месяцев 8 дней.
Заключение
В данном дипломном проекте был рассмотрен процесс
обработки детали типа поперечина с использованием многоцелевого станка Vertimaster rpgtm 32-60.
Поперечина обеспечивает обработку во всем установленном для станка
диапазоне размеров и воспринимает нагрузки от собственной массы, от массы
суппорта и магазина и от усилий обработки.
Поперечина обеспечивает перемещение суппорта по гидростатическим
направляющим призмам в пределах рабочего хода и монтируется на портале с
возможностью бесступенчатого перемещения в пределах установленного хода.
В технологическом разделе были рассмотрены два
технологических маршрута изготовления поперечины. Первый, с использованием
шести типов станков, а второй с использованием нового многооперационного станка
VERTIMASTER RPGTM 32-60, а также продольно-шлифовального станка Хеккерт.
Из анализа технологических маршрутов видно, что второй
маршрут значительно выгоднее по ряду факторов: экономия времени на установку
детали, сокращение времени обработки за счёт использования современного
режущего инструмента, сокращение общего числа операций, сокращение
энергозатрат, уменьшение числа рабочих и т. д.
В конструкторском разделе предлагается использовать
координатно-измерительную машину MCT STARLIGHT - машина мостового типа,
предназначена для высокоточных измерений призматических элементов, калибровки и
обмеров механических деталей со сложной геометрией (планшайбы, зубчатые колеса,
кулачки, турбинные лопатки, аэродинамические профили), проверки поверхностей
свободной формы (штампы, пресс формы, детали из листового металла и пластика)
больших размеров, непрерывного сканирования деталей с помощью контактных
датчиков.
Выбранная координатно-измерительная машину повышает
производительность труда контролёров, улучшает условия их работы, повышает
качество и объективность их работы.
В разделе безопасности жизнедеятельности был произведён
анализ условий труда в механическом цехе, а также произведён расчёт
виброизоляции на рабочем месте.
Также было получено задание на НИРС и рассмотрена
математическая модель обработки поверхности фрезерованием.
В экономическом разделе был определён годовой экономический
эффект от производства и использования новых средств труда долговременного
применения с улучшенными качественными характеристиками (производительности,
долговечности, издержек эксплуатации и т. д.) за срок службы с учетом
морального износа.
Из результатов вычислений видно, что
капитальные затраты на приобретение нового оборудования окупятся за 4,69 года.
Список
использованной литературы
1 Разработка технологии изготовления изделия.
1.1 Балашкин Б.С. Основы технологии машиностроения. - М.:
Машиностроение. 1969.- 560 с.
1.2 Маталин А.А. Технология машиностроения: Учебник для вузов
- М.: Машиностроение, 1985.- 496 с.
1.3 Проектирование технологии. /И.М. Баранчукова, А.А.
Гусева, Ю.Б. Крамаренко и др.; под общ. Ред. Ю.М. Соломенцева.- М.:
Машиностроение, 1990. -416 с. (Технология автоматизированного машиностроения).
.4 Технологичность конструкции изделия: Справочник /
Т.К. Алферова и др.; под общ.ред. Ю.Д. Амирова. -М.: Машиностроение, 1990.- 768
с.
.5 Справочник технолога- машиностроителя./ Под ред. А.Г.
Косиловой, Р.К. Мещерякова.- М.: Машиностроение, 1985. Т.1 -656 с., Т.2 -496 с.
.6 Митрофанов С.П. Групповая технология изготовления
заготовок серийного производства. - М.: Машиностроение, 1985.- 240 с.
.7 Режимы резания металлов. Справочник /Под ред. Ю.В.
Барановского. - М.: Машиностроение, 1972. - 407 с.
2 Контроль и технические измерения.
2.1 Справочник контролёра машиностроительного завода.
Допуски, посадки, линейные измерения. / Под ред. А.И. Якушев.- М.:
машиностроение, 1980. - 527 с.
2.2 Марков Н.Н. Нормирование точности в машиностроении:
Учебник для вузов . М.: Изд-во “Станкин”, 1992. - 320 с.
2.3 Иванов А.Г. Измерительные приборы в машиностроении: Учеб.
пособие. - М.: Изд. стандартов, 1981. - 496 с.
3 Проектирование приспособлений
.1 Горошкин А.К. Приспособления для металлорежущих станков.
Справочник. - М.: Машиностроение, 1979. -303 с.
3.2 Белоусов А.П. Проектирование станочных приспособлений.
- М.: Высшая школа, 1974. -276 с.
.3 Корсаков В.С. Основы конструирования приспособлений в
машиностроении. - М.: Машиностроение, 1983. -277 с.
.4 Станочные приспособления. Альбом / А.Г. Схиртладзе, В.Ю.
Новиков и др. - Йошкар-Ола, 1988. - 169 с.
4 Проектирование производственного процесса изготовления
изделий.
.1 Вороненко В.П., Мельников Г.Н. Проектирование
механосборочных цехов: Учебник для вузов / Под ред. А.М. Дальского - М.:
Машиностроение, 1990. -352 с.
4.2 Проектирование автоматизированных участков и цехов.
Учебник для вузов / В.П, Вороненке, В.А. Егоров, М.Г. Косов и др.; под ред.
Ю.М, Соломенцева. - М.: Машиностроение, 1992. - 227 с.
.3 Ансеров М.А. приспособления для металлорежущих
станков. - М.: Машиностроение, 1973. - 652 с.
.4 Станочные приспособления. Альбом / А.Г. Схиртладзе,
В.Ю. Новиков и др. - Йошкар-Ола, 1988. - 169 с.
Автоматизация производственных процессов
.1 Научные основы автоматизации сборки. - М.:
Машиностроение, 1976. - 472 с.
5.2 Смехов А.А. Автоматизированные склады. - М.:
Машиностроение, 1979. - 288 с.
.3 Соколицын С.А., Дуболазов В.А., Домченко Ю.М.
Многоуровневая система оперативного управления ГПС в машиностроении. - М.:
Политехника, 1991.
Использование средств вычислительной техники и
элементов САПР
.1 Капустин Н.М., Васильева Г.Н. Автоматизация
конструкторского и технологического проектирования: Учеб. Пособие /Под ред.
И.П. Норенкова. - М.: Высшая школа, 1986. - 191 с.
6.2 Автоматизированное проектирование и производство в
машиностроении /Ю.М. Соломенцев, В.Г. Митрофанов и др. - М.: Машиностроение,
1986. - 256 с.
.3 Автоматизированные системы технологической подготовки
производства в машиностроении / Под ред. Г.К. Горанского. - М.: Машиностроение,
1976. - 240 с.