Проектирования выкидных линий от скважины, оборудованной винтовой насосной установки до автомат-групп замерной установки на месторождении Башенколь
Тема проекта:
Проектирования выкидных линий от
скважины, оборудованной винтовой насосной установки до автомат групп замерной
установки на месторождения Башенколь
Содержание
Аннотация
Введение
1. Геологическая часть
1.1 Литолого-стратиграфическая характеристика
1.2 Тектоника
1.3 Нефтеносность
1.4 Состав и свойства нефти в поверхностных условиях
2. Винтовые насосы
2.1 Особенности конструкции винтовых электронасосов
2.2 Автоматизированная групповая замерная установка
2.3 Требования и рекомендации к системе сбора, транспорта и
подготовки нефти
2.5.1 Теоретический коэффициент концентрации напряжений
рассчитывается по формуле
2.5.2 Теоретический коэффициент концентрации напряжений
корректируется с учетом ограниченной длины ширины бурта
2.5.3 Относительный градиент напряжений в зоне их максимальной
концентрации вычисляется по формуле
2.5.4 Отношение эффективного коэффициента концентрации и
масштабного фактора, а также каждый из указанных параметров в отдельности
рассчитываются таким образом:
3. Экономическая часть
3.1 Экономические основы конструирования
3.2 Методика определения экономической эффективности
3.3 Расчет годового экономического эффекта от внедрения
усовершенствования
4. Охрана труда и окружающей среды
4.1 Общие сведения об охране труда
4.2 Планирование мероприятий по охране труда, организация и
пропаганда безопасных методов труда
4.3 Аспекты охраны окружающей среды
4.4 Требования к технологии добычи нефти и к оборудованию
Заключение
Список использованной литературы
Аннотация
В представленном дипломном проекте рассмотрены четыре
основных раздела:
Геологическая часть
Техническая часть;
Экономическая часть;
Охрана труда и окружающей среды.
В геологической части приводятся литолого-стратиграфическая
характеристика, тектоника, нефтеносность, характеристика толщин, коллекторских
свойств продуктивных горизонтов и их неоднородность, состав и свойства нефти в
поверхностных условиях. В технической части приводятся особенности конструкции
винтовых электронасосов, автоматизированная групповая замерная установка,
Требования и рекомендации к системе сбора, транспорта и подготовки нефти и
расчет штанг верхнеприводных винтовых насосов.
В экономической части произведён расчёт годового
экономического эффекта от внедрения усовершенствованной конструкции.
В разделе "Охрана труда и окружающей среды"
затронуты вопросы планирование мероприятий по охране труда, аспекты охраны
окружающей среды и основные требования к технологии добычи нефти и к
оборудованию.
Введение
Актуальность темы исследования: Практика эксплуатации
добывающих скважин на различных месторождениях позволяет выделить ряд основных
параметров при выборе механизированного способа эксплуатации.
В качестве основных показателей при выборе способа
эксплуатации для месторождения Блиновское рассмотрены технические,
технологические, эксплуатационные и социальные аспекты вопроса. Ввиду
отсутствия прямых дифференцированных данных из-за постоянного хаотического
изменения цен определить границы технико-экономических показателей применения
различного нефтедобывающего оборудования на данный момент затруднительно.
Винтовые насосы с поверхностным приводом эффективны при
откачке нефти с высокой парафинистостью и значительном проценте выноса песка.
При выборе насоса, если необходимый дебит лежит в верхней половине интервала
скоростей, лучше выбрать насос с большой производительностью и установить
меньшее число оборотов. При появлении песка и для полного выноса его с забоя
скважины, насос рекомендуется спускать до верхних дыр интервала перфорации.
Эксплуатацию скважин следует начинать с минимальных оборотов с последующим
выводом на оптимальный режим исходя из динамических уровней и намеченных
технологических режимов.
Научная новизна и значение дипломного
исследования. С целью оптимизации работы скважин и уточнения фактической
продуктивности коллектора следует проводить исследования на установившихся
режимах, приурочивая их к геолого-техническим мероприятиям. Исследование
скважин, оборудованных винтовым насосом, заключается в регистрации уровня и
дебита при работе скважин на разных режимах, которые устанавливаются
уменьшением и увеличением скорости вращения ротора, т.е. числа оборотов в
минуту (снижая и увеличивая производительность насоса).
Практическая значимость
результатов работы В настоящее время разработаны установки типа УЭВНТ5А на подачу
16-200м3/сут при напоре 1200-900м, где Т означает - тихоходный. Их
подача меньше зависит от напора. Они оказались эффективными при работе на
вязких жидкостях и расходном газосодержании на приме до 0,5.
Современное состояние
решаемой научной проблемы. По теме дипломного исследования проведены множество
исследований и зарубежными и отечественными учеными.
Цель и задачи исследования. Целью данного
дипломного проекта является проектирования выкидных линий от скважины
оборудованной винтовой насосной установки до автомат групп замерной установки
на месторождения Башенколь. В дипломной работе была поставлена задача: В
геологической части приводит литолого-стратиграфическая характеристику,
тектонику, нефтеносность, характеристика толщин, коллекторских свойств
продуктивных горизонтов и их неоднородность, состав и свойства нефти в
поверхностных условиях. В технической части приводит особенности конструкции
винтовых электронасосов, автоматизированная групповая замерная установка,
требования и рекомендации к системе сбора, транспорта и подготовки нефти и
расчет штанг верхнеприводных винтовых насосов.
Предметом исследования к новой технике относятся
впервые реализуемые в народном хозяйстве результаты научных исследований и
прикладных разработок, содержащие изобретения и другие научно-технические
достижения или более совершенные технологические процессы, средства и предметы
труда, используемые в процессе эксплуатации; способы организации труда и
производства, обеспечивающие при их использовании повышение технико-экономических
показателей, а также решения социальных и ряда других задач хозяйствования.
винтовой электронасос нефть месторождение
Объектом исследования. В административном
отношении площадь работ находится на территории Мугалджарского и Темирского
районов Актюбинской области (рисунок 1.1).
Непосредственно на площади крупные населенные пункты
отсутствуют.
Ближайшая железнодорожная станция Караулкельды (п. Байганин)
расположена в 100 км к северо-западу от контрактной территории.
Ближайшими разрабатываемыми месторождениями являются Кенкияк,
Кокжиде и Кумсай. В 15 км к северо-западу от северной границы площади находится
нефтяной промысел Кенкияк.
Теоретической и методологической основой
исследования являются труды отечественных и зарубежных авторов.
Практическая база написания дипломного проекта
основана Поднятие
Башенколь в тектоническом отношении расположено в пределах восточной части
Прикаспийской впадины в 12,5 км к юго-востоку от нефтяного месторождения
Кенкияк.
Связь с областным центром и промыслом Кенкияк осуществляется
по асфальтированной дороге. Между поселком Кенкияк и площадью работ проходят
только проселочные дороги, проезд по которым в осенний и весенний периоды
практически не возможен. Работа на площади возможна только зимой с применением
тракторов и вездеходов.
В орографическом отношении описываемая площадь является
частью предгорной равнины, расположенной между Мугоджарскими горами и
Прикаспийской низменностью.
Морфологически район является слабо всхолмленной равниной,
изрезанной долинами рек, балок и оврагов. Площадь работ подразделяется на две
части: восточную и западную.
Восточная часть площади закрыта барханными песками песчаного
массива Кокжиде. Песчаный массив вытянут с севера на юг почти в меридиональном
направлении двух-четырёх километровой полосой. На востоке песчаный массив
ограничен долиной реки Эмба, на севере долиной реки Темир, являющейся правым
притоком р. Эмбы. Барханы образуют грядово-бугристый рельеф, высота их местами
достигает 50 м.
Западная часть площади равнинная, луговая, она является
древней долиной реки Темир, изрезана сетью мелких балок и оврагов, впадающих в
реку Темир. Абсолютные высотные отметки рельефа колеблются от +93м до +316м.
Климат района резко континентальный с сухим жарким летом и
холодной зимой, с резкими суточными и годовыми колебаниями температур. Зимой, в
январе и феврале, температура опускается до - 30-40º, летом поднимается до +30º- (+40º). Среднегодовое
количество осадков достигает 268 мм, основной максимум выпадения осадков падает
на первую половину лета, второй на сентябрь. Снеговой покров лежит с ноября до
начала апреля. Глубина промерзания земли в зимний период от 0,8 до 1,2м.
Для района характерны сильные ветры преимущественно
северо-восточного и западного направлений со средней скоростью 4-6 м/сек.
Растительность района в связи с суровыми климатическими
условиями бедна. Вдоль берегов реки Эмба и ее притоков наблюдаются
многочисленные заросли кустарников.
Гидрографическая сеть района представлена рекой Эмба и ее
притоками Темир, Байсарысай и др. протекающими с северо-востока на юго-запад.
Крутизна берегов до 6м. Воды этих рек непригодны для питья. Они пользуются для
технических целей.
Через контрактную территорию в меридиональном направлении
проходит нефтепровод Кандыагаш-Кенкияк.
1. Геологическая часть
.1
Литолого-стратиграфическая характеристика
В пределах структуры Башенколь поисково-разведочными
скважинами вскрыты отложения от верхнепермских до четвертичных включительно.
Палеозойская группа (Рz)
Отложения палеозойской группы со стратиграфическим и угловым
несогласием перекрыты триасовыми или юрскими отложениями.
На Башенкольской площади палеозойские отложения выделяются в
объёме нижнего и среднего отделов карбона, сакмарского, артинского и
кунгурского ярусов нижней перми и верхней перми.
Каменноугольная система (С)
Отложения каменноугольного возраста на площади Башенколь
вскрыты двумя параметрическими скважинами (П-5, П-6) и подразделяются на
средний и нижний карбон.
Нижний отдел - С1
Вскрыт в скважине П-6 и представлен визейским и серпуховским
ярусами. Вскрытая толщина отложений - 1107м.
Визейский ярус
Отложения визейского яруса представлены
терригенно-карбонатными породами - преимущественно песчаниками; аргиллиты,
алевролиты и известняки имеют подчиненное значение. Вскрытая толщина отложений -
450м.
Серпуховский ярус
Сложен серпуховский ярус известняками мелкозернистой
структуры, прослоями органогенно-детритовыми, неравномерно битуминозными.
Нередко известняки переходят в обломочные биогермные доломитизированные
известняки и кавернозные доломиты. Толщина отложений серпуховского яруса до
600м (скважина П-6)
Средний отдел - С2
Осадочный комплекс среднекаменноугольного возраста на
исследуемой территории развит повсеместно и включает в себя отложения
башкирского и московского ярусов. Объем и мощности стратиграфических
подразделений среднего карбона изменяются в широких пределах. В составе
среднего карбона выделяются: отложения от краснополянского до каширского
горизонта, слагающие верхнюю часть карбонатной толщи КТ-II, подольский
горизонт, сложенный терригенными породами и образующий межкарбонатную толщу МКТ
(на месторождении Урихтау палеонтологически доказано присутствие карбонатной
толщи подольского возраста), мячковский горизонт в составе первой карбонатной
толщи КТ-I.
Образования первой и второй карбонатных толщ на площади
Башенколь сложены фациями мелководного шельфа. Толщина отложений среднего
карбона в скважинах от 28 до 745м
Пермская система - Р
Нижний отдел - РI
В составе этого комплекса пород по структурным особенностям
выделяются докунгурские и кунгурские отложения. Докунгурские отложения
представлены, в основном, терригенными песчано-глинистыми породами сакмарского
и артинского ярусов.
Кунгурский ярус сложен каменной солью и
сульфатно-терригенными породами.
Сакмарский ярус - Р1s.
Отложения этого возраста сложены терригенными породами -
аргиллитами, алевролитами и песчаниками. Толщина отложений сакмарского яруса
изменяется от 247м (скважина П-6) до 476м (скважина П-5).
Артинский ярус - Р1ar.
Литологически отложения этого возраста представлены толщей
песчаников и алевролитов с прослоями гравелитов и аргиллитов. Толщина осадков
артинского яруса - 226м (скважина П-5).
Кунгурский ярус - Р1к.
Кунгурские отложения вскрыты скважинами 19, 25, 26, 27, 42,
43, П-5 и П-6.
Литологически породы кунгурского яруса представлены
галогенной и верхней терригенно-сульфатной толщей.
Галогенная толща сложена каменной солью с редкими маломощными
прослоями гипсов, ангидритов, калийных солей, редко терригенных пород. Каменная
соль белая, светло-серая, крупнокристаллическая, массивная.
Терригенно-сульфатная толща представлена ангидритами,
каменной солью, аргиллитами, алевролитами и песчаниками. Ангидриты
светло-серые, темно-серые с зеленоватым оттенком, мелкокристаллические, с
включением глинистого материала. Аргиллиты серые, темно-серые с зеленоватым
оттенком, тонкоплитчатые со следами перемятости. Алевролиты, песчаники серые,
темно-серые, полимиктовые, мелко - и среднезернистые с включением кварцевой
гальки, известковистые, плитчатые, иногда песчаник переходит в мелко галечный
конгломерат.
Толщина кунгурских отложений на Башенколе изменяется в
пределах 191м (скважина П-5) - 847м (скважина П-6).
К подошве осадков кунгурского яруса приурочен региональный
для всей Прикаспийской впадины опорный отражающий горизонт П1, по
которому вырисовывается структурный план размытой поверхности подсолевого
комплекса.
Верхний отдел - Р2
Верхнепермские отложения на Башенколе вскрыты 14 скважинами.
Литологически породы верхней перми представлены аргиллитами,
алевролитами, песчаниками, глинами и, реже, в виде прослоев, встречаются
известняки, конгломераты, ангидриты.
Аргиллиты темно-бурые, коричневые, алевритистые, плотные,
грубослоистые. Песчаники, алевролиты коричневые, светло-серые, разнозернистые,
кварцево-полевошпатовые, известковистые. Глины кирпично - и
коричневато-красные, алевритистые, плотные, известковистые.
Вскрытая толщина верхнепермских отложений изменяется от 45м
до 323м.
Мезозойская группа (Мz)
Мезозойские отложения слагают на площади Башенколь весь
комплекс надсолевых отложений. Представлены они триасовой, юрской и меловой
системами.
Триасовая система (Т)
Триас на Башенкольской площади выделяется в объёме нижнего
отдела, средний отдел повсеместно отсутствует, верхнетриасовые отложения
небольшой толщины, по-видимому, имеются в своде структуры Башенколь и
выделяются совместно с нижней юрой, поскольку литологически они однородны с
нижней юрой. Аналитических данных для их выделения нет.
Нижнетриасовые отложения на площади Башенколь по аналогии с
соседними площадями расчленяются на ветлужскую и баскунчакскую серии
Нижний отдел (Т1)
Ветлужская серия (Т1v)
Ветлужская серия на площади Башенколь, также как и на
соседних, выделяется в объёме соркольской, кокжидинской и акжарской свит.
Соркольская свита лежит с резким угловым и
стратиграфическим несогласием на кунгуре и верхней перми.
Литологически соркольская свита представлена переслаиванием
глин, песков, песчаников толщиной 3-10м, в сводовой части купола в основании
встречается так называемый конгломератовый горизонт, сложенный конгломератом
пестроцветным, глинистым, крепким, плотным, состоящим из кварцевой и кремниевой
гальки размером от 0,5 до 3см.
Толщина свиты, непостоянна и колеблется от 42 до 113 м,
причём максимальная толщина вскрыта в своде купола (скважина 26), толщина
увеличена за счет низов свиты. В своде купола Башенколь (скважина 42) свита
отсутствует, будучи срезана среднетриасовым размывом.
Кокжидинская свита согласно лежит на
соркольской, эта свита ранее выделялась как "пила", так как на
каротажных диаграммах она выделяется часто и мелко изрезанными кривыми КС.
Литологически свита сложена мелким и частым переслаиванием
песчаников глинистых слабосцементированных и глин песчанистых. Песчаники
зеленовато-серые и кирпично-красные, полимиктовые разнозернистые, слабо
сцементированные с включением и прослойками глин песчанистых. Встречаются линзы
конгломерата, состоящего из галек глины, известняка, кварца на глинистом
цементе.
Акжарская свита согласно лежит на кокжидинской.
Литологически это песчано-глинистая свита, состоит она из двух преимущественно
песчаных горизонтов в кровле и подошве толщиной по 20-30 м, разделённых
прослоем глин 20-30 м.
Песок голубовато-серый и вишнёво-красный, средне - и
крупнозернистый, полимиктовый, глинистый, с включениями и прослоями глин.
Песчаник голубовато-серый, вишнёво-красный, полимиктовый,
разнозернистый, глинистый, известковистый.
Глина кирпично-красная, зелёная, слюдистая, песчанистая,
неслоистая комковатая.
Встречаются редкие линзы, прослои конгломерата, состоящего из
гальки кварцево-кремнистых пород.
Толщина свиты изменяется в довольно широких пределах - от 0
до 63 м, что объясняется размывом в посленижнетриасовое время, нормальная
толщина свиты, не подверженной размыву, составляет 59-63 м.
Баскунчакская серия.
Баскунчакские отложения представлены на Башенкольской площади
кумсайской свитой.
Кумсайская свита в большинстве скважин
размыта. Литологически это преимущественно глинистая свита и сложена глинами с
прослоями песков и песчаников.
Глина коричневая или зелёная, не слоистая, аргиллитоподобная,
прослоями песчанистая или алевритистая, слюдистая, встречаются известковые
стяжения.
Песчаник зеленовато-серый, коричневый, полимиктовый, мелко-и
среднезернистый, глинистый, известковистый.
Песок зелёный и кирпично-красный, полимиктовый,
разнозернистый, глинистый.
В кровле свита размыта, в большинстве скважин полностью.
Сохранившаяся от размыва толщина свиты меняется от 20 до 62 м.
Юрская система (J)
Юрская система представлена на площади однородной
песчано-глинистой толщей наземно-континентальных угленосных отложений. По
спорово-пыльцевым данным в этой толще выделяются нижний и средний отделы.
Нижнеюрский отдел (J1)
Нижнеюрские отложения с резким эрозионным и угловым
несогласием перекрывают кунгур и триас. Литологически нижняя юра состоит из
двух пачек: верхняя сложена преимущественно глинами, нижняя - преимущественно
песчаная.
Песок серый слюдистый, глинистый, мелкозернистый.
Глина серая, буровато-серая, слюдистая, песчанистая, с
включениями растительных остатков и кристаллов пирита, с пропластками бурового
угля.
Алеврит серый разнозернистый, сильно пелитовый, пелитовой
фракции. Песчаник серый известковистый, кварцево-кремнистый, слюдистый, мелко -
и среднезернистый, плотный, с включениями пирита и растительных остатков.
Толщина нижней юры на площади меняется в довольно широких
пределах от 16 (скважины 74, BSK-12X) до 103 м (скважина 19), увеличиваясь в
своде купола Башенколь.
В своде купола Башенколь, между верхней пачкой глин и
песчаным горизонтом вклинивается ещё одна пачка глин, так что толщина нижней
юры увеличивается к своду купола не только за счет увеличения толщины нижнего
горизонта песков, но и за счет увеличения толщины к своду пачки глин.
Среднеюрский отдел (J2).
Среднеюрские отложения вскрыты на площади всеми скважинами,
литологически это довольно однородная песчано-глинистая толща, состоящая из
пачек глин и песков с прослоями песчаников, алевритов, бурых углей.
Песок серый и светло-серый, мелко - и среднезернистый,
прослоями глинистый, с включениями растительных остатков.
Глина светло-серая, серая и тёмно-серая, песчанистая,
слюдистая, неизвестковистая, слоистая, с включениями, налётами по плоскостям
наслоения и тонкими прослойками песка и алеврита с растительным детритом, с
мелкими кристаллами пирита.
Песчаник светло-серый и зеленовато-серый полимиктовый
мелкозернистый, с карбонатным цементом базального типа пойкилитовой структуры.
Литологически эти песчано-глинистые угленосные
континентальные отложения, вполне аналогичные типично среднеюрским, в то время
как типично верхнеюрские отложения являются глинистыми, морскими.
Поэтому верхнеюрские отложения не выделены, а пачка глин в
кровле отнесена к средней юре.
Толщина средней юры - 70-136 м. Минимальная толщина средней
юры вскрыта в своде купола Башенколь (скважина 26), максимальная - в южной
части свода купола (скважина 43).
Меловая система (К)
Меловые отложения представлены на площади только нижним
отделом, верхнемеловые отложения из разреза выпадают и, непосредственно, на
альбских лежат четвертичные осадки.
Нижний отдел (К1)
Нижний отдел меловой системы выделяется на площади в объёме
готеривского, барремского, аптского и альбского ярусов.
Готеривский ярус (К1g)
Готеривские отложения несогласно перекрывают среднюю юру.
Готеривский ярус расчленяется на пелициподовую и песчано-глинистую свиты.
Литологически это довольно однородная, преимущественно глинистая толща,
сложенная морскими серо-цветными породами. Глины серые, зеленовато-серые иногда
слабо известковистые однородные слюдистые, слабопесчанистые не яснослоистые,
оскольчатые, с включениями мелких растительных остатков и раковин. Пески и
алевриты светло-серые и зеленовато-серые, глинистые. Песчаники и алевролиты
серые, зеленовато-серые, кварцево-полевошпатовые, полимиктовые, известковистые,
мелко - и тонкозернистые, плотные, иногда встречаются маломощные прослои серых
кристаллических, иногда глинистых известняков и мергелей с обильным включением
раковин, переходящих в ракушники. Толщина готеривского яруса - 26-63 м.
Барремский ярус (К1br)
Барремский ярус выделяется на Башенкольской площади в объёме
песчаного горизонта в основании пестроцветной свиты, залегает согласно на
готериве. Сложен ярус глинами пестроцветными с прослоями песков, песчаников.
Глины серовато-зелёные, коричневые, тёмно-коричневые,
кирпично-красные, фиолетовые с разными оттенками, неравномерно алевритистые и
песчанистые, слюдистые, участками известковистые, комковатые или оскольчатые, с
зеркалами скольжения, с включением известковистых желваков.
Пески и песчаники зелёные, зеленовато-серые и серые,
слюдистые, глинистые, мелко - и среднезернистые, полимиктовые с базальным
кальцитовым крупнокристаллическим цементом. Толщина горизонта 54-113м
Аптский ярус (К1ap)
Литологически отложения аптского яруса представлены глинами
тёмно-серыми до чёрных, слюдистыми, неравномерно песчанистыми слоистыми, с
гнёздами и присыпками по плоскостям наслоения светло-серого алеврита и зелёного
кварцево-глауконитового песка, встречаются включения обуглившихся растительных
остатков и кристаллы пирита.
В основании разреза хорошо прослеживается песчаный горизонт
толщиной около 20м, сложенный песками, песчаниками и алевритами светло-серыми и
голубовато-серыми, кварцево-полевошпатовыми, глауконитовыми, мелко - и
тонкозернистыми. Песчаники и алевролиты известковистые, сливные.
Толщина аптского горизонта колеблется 12-206м.
Альбский ярус (К1al)
Альбские отложения без видимого несогласия перекрывают апт.
Литологически отложения представлены преимущественно песчаной толщей с
прослоями и линзами песчанистых глин.
Пески серые, светло-серые, желтовато-серые, жёлтые, мелко-,
средне - и крупнозернистые, кварцево-кремнистые, косослоистые. В песках
встречаются включения гальки и песчаников. Песчаники серые и жёлто-бурые,
кварцево-кремнистые, известковистые, разнозернистые с включением мелкой
кварцевой и кремниевой гальки. Глины серые, темно-серые песчанистые, слюдистые,
слоистые и косослоистые, с включением растительного детрита.
Толщина альбского яруса изменяется от 0 до 154 м, сокращение
толщин вплоть до полного выпадения альба в своде Башенколя происходит за счет
его размыва в кровле.
Четвертичная система (Q)
Четвертичные отложения повсеместно перекрывают с поверхности
коренные отложения, подразделяются они на два генетических типа: аллювиальные и
эоловые.
Аллювиальные отложения (Qal)
Аллювиальные отложения распространены в западной части
площади работ в долине реки Темир и представлены глинами, суглинками и песками.
Глины серые с коричневатым оттенком, илистые, вязкие.
Суглинки желтовато-серые, бурые комковатые с мелкой галькой.
Пески светло-серые и жёлтые, кварцево-кремнистые, глинистые, слюдистые
разнозернистые, с включениями гравия и гальки. Толщина аллювия - 4-24 м.
Эоловые отложения - Qэ
Эоловые отложения перекрывают восточную часть площади работ,
это пески барханного массива Кокжиде. Пески светло-серые, почти белые
кварцево-кремнистые средне и мелкозернистые. Толщина эоловых отложений 2-23,5м.
1.2 Тектоника
В тектоническом отношении соляной купол Башенколь расположен
в Кенкиякской седловине восточной бортовой части Прикаспийской впадины.
Соляной купол Башенколь расположен в 7 км к юго-востоку от
соляного купола Кенкияк. Башенколь - это небольшое солянокупольное поднятие
скрытопрорванного типа, простирающегося в северо-западном направлении, которое
на северном окончании образует массив овальной формы с крутыми северо - восточным
и западным склонами. Размер соляного тела - 8,0 км. х 5,0км. Кровля соли в
своде купола залегает на глубинах 330 - 420м.
Отражающий горизонт VI - соответствует кровле гидрохимических
отложений кунгура.
На отложения соленосного этажа со стратиграфическим и угловым
несогласиями ложатся комплексы мезозойских и кайнозойских пород, которые имеют
небольшие углы наклона и структурный план нижележащих пород.
Свод структуры Башенколь осложнен серией разрывных нарушений,
образующих центральный грабен, предграбеновую ступень и крылья структуры.
По результатам интерпретации сейсмических работ МОГТ-2D в
пределах площади Башенколь закартирована надсолевая структура, разбитая
системой разрывных нарушений. Над бровкой соляного уступа вдоль западного,
северного и северо-восточного склонов соли прослеживается основной разлом F,
отделяющий ненарушенные крылья структуры от предграбеновой ступени. Второй
крупный разлом F1 северо-западного простирания прослеживается
субпараллельно первому и ограничивает с запада центральный грабен. На северном
крыле расстояние между разломами 1100м, на западном крыле - 700м. На юге оба
разлома затухают. С востока центральный грабен ограничен серией коротких
разрывных нарушений северо-западного простирания, кулисообразно подставляющих
друг друга.
На юго-западе также развита серия параллельно расположенных
сбросов. Основным экранирующим элементом для нефтяной залежи является сброс F,
выявленный на западном крыле структуры. Из анализа фактического материала
бурения, промыслово-геофизических исследований и опробования скважин
установлено, что промышленное значение в пределах Башенкольского купола имеют
нефтяные залежи в отложениях западного крыла.
По надсолевым отложениям выделены сейсмические отражающие
горизонты S, D, D1 D11 V и III. Ниже приводятся
описание тектоники в пределах Западного крыла.
Верхнепермские отложения полностью прорваны соляным массивом
и с угловым несогласием залегают на соль.
По отражающему горизонту S верхней перми (P2-S)
на Башенколе отложения верхней перми представляет моноклиналь воздымающуюся на
восток и примыкающую к западному крутому склону соли. Падение горизонта S от
минус 500 до минус 900 м, амплитуда 400м. Внутри отражающего горизонта по
данным бурения выделены условные нефтяные горизонты S1, S2,
S3.
Нижнетриасовые отложения соляным массивом
приподняты и в своде размыты. В пределах нижнетриасовых отложений выделены 3
отражающих горизонта D, D1, D11.
По отражающеум горизонту D - по подошве отложений
нижнего триаса (Т1sk) структура западного крыла примыкает к сбросу F1
и имеет размеры 0,9х4,0км, амплитуда структуры 50м.
По отражающеум горизонту D1 (Т1 sk)
горизонт по кровле коллектора соркольской свиты отложений нижнего триаса в
плане совпадает с нижележащим горизонтом и оконтуривается по изогипсе 400м и
имеет размеры 1,1х5,9км, амплитуда структуры 50м.
По отражающеум горизонтуD11 (Т1sk) - по
кровле соркольской свиты нижнего триаса структурный план и размеры структуры
существенно не меняются 1,0х 5,0км., амплитуда 40м.
По отражающеум горизонту V - по подошве нижнеюрских
отложений поднятие оконтурено двумя замкнутыми изогипсами 220м и 240м, размеры
1,0х7,0км и 0,6х3,5км, амплитуда структуры 10-20м.
По отражающеум горизонту III - структура представляет
собой почти ненарушенную изометричную структуру, оконтуренную по изогипсе минус
100м, в своде образована отрицательная структура. На западном крыле развиты два
поднятия, оконтуренные изогипсами минус 125м, размерами 1,8 х5,0км. и
0,75х2,5км., амплитуда 25-125м.
По результатам данных бурения по кровле соркольской свиты
нижнетриасовых отложений структура Башенколь сбросами F1, F и f
делится на три блока: грабен, I, II и III блоки. Сброс F1
ограничивает с запада центральный грабен и экранирует залежь блока III,
западное крыло сбросом f делится на два блока I и II. Сброс F осложняет западное
крыло и является экраном залежи блока I.
.3
Нефтеносность
Промышленные залежи нефти связаны с нижнетриасовыми
отложениями, перспективные на нефть с верхнепермскими отложениями.
На основании интерпретации сейсмических исследований МОГТ 2Д, комплексов ГИС по
скважинам, данных корреляции разрезов по скважинам и с учетом принятой в
регионе стратификации, выделены 5 нефтеносных горизонтов. В разрезе отложений
верхней перми выделены 3 горизонта: P2s1, P2s2,
P2s3; нижнего триаса - 2 горизонта: T1-II и T1-III.
Описание геолого-промысловой характеристики каждого
продуктивного горизонта приводится ниже.
Нижнетриасовый горизонт Т1 - II
Горизонт вскрыт 10 разведочными скважинами (BSK-1Х, BSK-2Х,
BSK-3Х, BSK-4Х, BSK-5Х, BSK-7Х, BSK-8Х, BSK-12Х, BSK-23Х, BSK-25Х) и 3
структурно-поисковыми скважинами (24, 27, 49). По результатам корреляции
горизонт делится на 2 пласта А и Б.
Пласт А. Вскрыт 10 разведочными и 3-мя
структурно-поисковыми скважинами. По данным ГИС нефтенасыщенные коллектора
установлены в 6 скважинах (BSK1Х, BSK4Х, BSK7Х, BSK8Х BSK23 и 49), в 3
скважинах BSK-2Х, BSK-3Х и 24 коллектора водонефтенасыщенные, одна скважина
(27) за пределами контура, в остальных скважинах коллектора фациально замещены.
Продуктивность пласта доказана опробованием в 4 скважинах:
BSK-1Х, BSK-2Х, BSK-7Х и BSK-8Х.
Сбросами F, F1 и f пласт делится на 3 блока.
Продуктивными являются I и II блоки. На III блоке коллектора водонасыщены.
Залежь I блока представляет собой полусвод, тектонически
экранированный с востока сбросом F1. Прямой контакт нефть-вода по
каротажу не установлен. Среднее значение между нижними отметками нефти и
высокой отметкой воды по ГИС минус 354,4м. Принятый ВНК по пласту А минус
354,4м, что также не противоречит данным опробования.
Абсолютная минимальная отметка кровли коллектора в своде
минус 292,5м, высота залежи - 61,9м, размеры залежи в пределах контура
нефтеносности 1,43 х 5,25км.
В пределах блока II пласт А нефтенасыщен по ГИС только в
скважине BSK-8Х до минус 367,7м. Вода в скважине не выявлена. Опробованием в
скважине получена чистая нефть. Условный контур нефтеносности принят на глубине
минус 367,7м, т.е. по нижней отметке нефти по ГИС в скважине BSK8Х. Абсолютная
минимальная отметка кровли коллектора в своде - минус 360,2м, высота залежи
7,5м. Запасы пласта А оценены по категории С2. Площадь нефтеносности
3723тыс. м2.
Пласт Б. Вскрыт 10 разведочными и 2-мя
структурно-поисковыми скважинами (24, 27). По результатам ГИС нефтенасыщенные
коллектора установлены в 2 скважинах (BSK - 1Х и BSK-5Х), в 5 скважинах BSK-3Х,
BSK-8Х, BSK-12Х, BSK-25Х и 27 коллектора водонасыщенные, в остальных скважинах
коллектора фациально замещены.
При опробовании пласта в скважине BSK-1Х получены
незначительные притоки нефти.
Сбросами F, F1 и f пласт Б делится на 3 блока.
Продуктивным является I блок. На других блоках коллектора водонасыщены.
Залежь I блока представляет собой полусвод
тектонически-экранированный с востока сбросом F1. Прямой контакт
нефть-вода по каротажу не установлен. ВНК принят по нижней отметке нефти в
скважине BSK5Х на глубине минус 358м.
Абсолютная минимальная отметка кровли коллектора в своде
минус 347,9 м, высота залежи - 10,1 м, размеры залежи в пределах контура
нефтеносности - 0,38 х 2,0км. Запасы пласта А оценены по категории С2.
Площадь нефтеносности по горизонту - 902тыс. м2.
Нижнетриасовый горизонт T1-III является основным
продуктивным горизонтом. При бурении горизонт вскрыт 10
разведочными скважинами (BSK-1Х, BSK-2Х, BSK-3Х, BSK-4Х, BSK-5Х, BSK-7Х,
BSK-8Х, BSK-12Х, BSK-23Х, BSK-25Х) и 2 - мя структурно-поисковыми скважинами
(24, 27).
По комплексу ГИС нефтенасыщенные коллектора установлены в 7
скважинах (1Х, 4Х, 5Х, 7Х, 23Х, 25Х и 25) и в 5 скважинах 2Х, 3Х, 8Х, 12Х, 24
коллектора водоносные.
Продуктивность горизонта доказана опробованием в 7 разведочных
скважинах (BSK-1Х, BSK-2Х, BSK-3Х, BSK-4Х, BSK-5Х, BSK-7Х, BSK-8Х).
В пределах горизонта выделяются три самостоятельные залежи,
расположенные на разных блоках, ограниченные тектоническими нарушениями.
В пределах I блока залежь представляет полусвод субмеридонального
простирания, ограниченный с востока и юго-востока сбросом F1 и с
запада сбросом f. Горизонт нефтенасыщен по ГИС в 7 (BSK-1Х, BSK-3Х, BSK-4Х,
BSK-5Х, BSK-7Х, BSK-23Х, BSK-25Х) скважинах, нефтеводонасыщен 3 скважинах
(BSK-2Х, BSK-3Х, 24).
Прямой контакт нефть - вода по каротажу не установлен. ВНК
принят на абсолютной отметке минус - 407,5 м, как среднее значение между нижний
отметкой нефти и высокой отметкой воды по ГИС, что подтверждается опробованием.
Абсолютная отметка кровли коллектора в своде минус 342,7м,
высота залежи 64,8м, размеры залежи в пределах контура нефтеносности 1,75х
6,75км.
В пределах II блока в залежь пластовая, тектонически
экранированная с северо-востока разрывным нарушением сбросом f. Горизонт
нефтеводонасыщен в 2 скважинах BSK8Х и BSK12Х.
ВНК принят на абсолютной глубине минус 401,2 м, по высокой
отметке воды по ГИС в скважине BSK8Х, что не противоречит данным опробования.
Абсолютная отметка в своде минус 386,0 м, высота залежи
15,2м., размеры в пределах принятого ВНК 0,65х1,25км.
Залежь III блока пластовая, тектонически экранированная с
востока сбросом F. Горизонт нефтенасыщен по ГИС только в скважине 27 до минус
418,6м. Вода в скважине не выявлена. Скважина не опробована.
Условный контур нефтеносности (УКН) принят на отметке минус
418,6м, т.е. по нижней отметке нефти по ГИС в скважине 27.
Абсолютная минимальная отметка коллектора в своде минус 404м,
высота залежи 14,6м, размеры в пределах принятого контура нефтеносности
0,15х1,2км.
Площади нефтеносности горизонта составляют по категории С1
7834тыс. м2, по С2 - 3268тыс. м2.
Верхнепермский горизонт P2s1
В процессе разведочного бурения горизонт вскрыт всеми 10
скважинами (BSK-1Х, BSK-2Х, BSK-3Х, BSK-4Х, BSK-5Х, BSK-7Х, BSK-8Х, BSK-12Х,
BSK-23Х, BSK-25Х), из них в 2 скважинах (BSK-4Х и BSK-23Х) горизонт нефтеносен,
в одной скважине BSK-25Х водоносен. В остальных скважинах коллектора фациально
замещены.
Залежь в пределах горизонта имеет форму полусвода,
экранированного с востока сбросом F1.
Прямой контакт нефть - вода не установлен. ВНК принят на
абсолютной отметке минус 420,5 м., как среднее значение между нижний отметкой
нефти и высокой отметкой воды по ГИС. Опробование в скважинах не проведено.
Минимальная абсолютная отметка в своде минус 392,1 м.
(BSK-4Х), высота залежи 27,9м. При принятом ВНК размеры залежи составляют
1,1х4,75 км. Запасы отнесены к категории С2. Площадь нефтеносности
горизонта 1557тыс. м2.
Верхнепермский горизонт P2s2
Горизонт вскрыт всеми 10 разведочными скважинами (BSK-1Х,
BSK-2Х, BSK-3Х, BSK-4Х, BSK-5Х, BSK-7Х, BSK-8Х, BSK-12Х, BSK-23Х, BSK-25Х), из
них 3 скважины (BSK-1Х, BSK-4Х, BSK-7Х) нефтенасыщены, а 1 скважина (BSK-25Х)
водонасыщена. В остальных скважинах коллектора фациально замещены.
Залежь в пределах горизонта имеет форму полусвода,
экранированного с востока сбросом F1 и крутым склоном соли.
Прямой контакт нефть-вода не установлен. Внешний контур
нефтеносности (ВНК) принят на абсолютной отметке минус 444,3 м, как
среднее значение между нижний отметкой нефти и высокой отметкой воды по ГИС.
Опробование в скважинах не проведено.
Минимальная абсолютная отметка в своде минус 404,1 м, высота
залежи 40,2 м. При принятом ВНК размеры залежи составляют 1,1х5,2 км.
Запасы отнесены к категории С2. Площадь
нефтеносности горизонта 2688тыс. м2.
Верхнепермский горизонт P2s3.
Горизонт вскрыт всеми 10 разведочными скважинами (BSK-1Х,
BSK-2Х, BSK-3Х, BSK-4Х, BSK-5Х, BSK-7Х, BSK-8Х, BSK-12Х, BSK-23Х, BSK-25Х), из
них 2 скважины (BSK1Х, BSK23Х) нефтенасыщены. В остальных скважинах коллектора
фациально замещены.
Залежь в пределах горизонта имеет форму полусвода,
экранированного с востока крутым склоном соли.
Прямой контакт нефть - вода не установлен. Вода в скважине не
выявлена. Условный контур нефтеносности (УКН) принят на отметке минус 532,2м,
т.е. по нижней отметке нефти по ГИС в скважине BSK1Х. Опробование в скважинах
не проведено.
Минимальная абсолютная отметка в своде минус 476,5 м, высота
залежи - 55,7м, размеры залежи составляют 1,1х 4,63км.
Запасы отнесены к категории С2. Площадь
нефтеносности горизонта - 3872тыс. м2.
1.1 Характеристика толщин, коллекторских
свойств продуктивных горизонтов и их неоднородность
Общие эффективные, нефтенасыщенные толщины определены по
комплексу ГИС с учетом результатов исследований кернового материала и данных
опробования
Характеристика коллекторских свойств приведена по анализам
кернового материала, ГИС и по результатам опробования и гидродинамических
исследований.
Ниже приводится характеристика по продуктивным горизонтам и
пластам.
Нижнетриасовый горизонт T1-II,
пласт А.
Литологически горизонт представлен переслаиванием
разнозернистых полимиктовых песков, песчаников, алевролитов, в разной степени
насыщенных нефтью, и глин.
Общая толщина пласта колеблется от 7 м до 19м, при среднем
значении 13,4м, эффективная от 0,9м до 8,7м при среднем значении 3,4м,
нефтенасыщенная от 0,7м до 8,4м при среднем значении 3,4м.
Пласт состоит от 1 до 3 пропластков-коллекторов,
характеризуется расчлененностью в среднем 1,7 и коэффициентом песчанистости
0,301д. ед.
Анализами керна горизонт освещен в одной скважине BSK-3X, по
данным которых открытая пористость составляет 0,239 д. ед., насыщенность 0,034
д. ед, проницаемость - 0,350 д. ед. По данным ГИС коэффициент пористости в
среднем 0,273д. ед., коэффициент нефтенасыщенности 0,649д. ед.
Нижнетриасовый горизонт T1-II,
пласт Б.
Литологически горизонт представлен переслаиванием
разнозернистых полимиктовых песков, песчаников, алевролитов в разной степени
насыщенных нефтью и глин.
Общая толщина пласта колеблется от 5м до 10м, при среднем
значении 7,3м, эффективная от 0,8м до 3,2м при среднем значении 1,8м,
нефтенасыщенная от 1,7м до 3,2м при среднем значении 2,4м.
Пласт состоит от 1 до 2 пропластков-коллекторов,
характеризуется коэффициентом расчлененности 1,3 и коэффициентом песчанистости
0,259д. ед.
По данным ГИС средневзвешенный коэффициент пористости 0,
209д. ед., коэффициент нефтенасыщенности 0,541д. ед.
Нижнетриасовый горизонт T1-III.
Литологически горизонт представлен переслаиванием
разнозернистых полимиктовых песков, песчаников, алевролитов в разной степени насыщенных
нефтью и глин.
Общая толщина пласта колеблется от 27м до 32м, при среднем
значении 30,1м, эффективная от 5,9м до 17,5м при среднем значении - 11,5м,
нефтенасыщенная от 4,4м до 16,9м при среднем значении 10,4м.
Горизонт состоит от 2 до 8 песчаных пропластков-коллекторов,
отделенных глинистыми разделами, характеризуется средней расчлененностью 4 и
коэффициентом песчанистости 0,380 д. ед.
Нефтенасыщенные толщины по площади, как блоков, так и
горизонта в целом распределяются неравномерно. Зоны максимальных толщин
выделяются в блоке I (в районе скважин BSK-1Х, BSK-2Х).
По керну по представительным образцам открытая пористость в
среднем составляет - 0,233 д. ед, нефтенасыщенность 0,123 д. ед., средняя
проницаемость 0,309 мкм2.
По данным ГИС в среднем коэффициент пористости 0,272 д. ед.,
коэффициент нефтенасыщенности 0,672д. ед.
Верхнепермский горизонт P2s1.
В строении горизонта участвуют разнозернистые алевролиты,
песчаники и аргиллиты, глины и, реже, в виде прослоев, встречаются известняки,
конгломераты, ангидриты.
Общая толщина горизонта изменяется от 6,0м до 10м, средняя
7,8 м. Эффективная толщина изменяется от 0,9 до 2,2 м в среднем 1,7 м,
нефтенасыщенная варьирует в пределах от 0,9 м (BSK4Х) до 1,9 (BSK23Х), в
среднем 1,4 м.
Горизонт представлен 1 пластом - коллектором, Коэффициент
песчанистости равен 0,237д. ед.
Горизонт анализами керна не освещен. По данным ГИС в среднем
коэффициент пористости равен 0, 193 д. ед., коэффициент нефтенасыщенности
0,584д. ед.
Верхнепермский горизонт P2s2.
Литология горизонта представлена аргиллитами, алевролитами,
песчаниками, глинами и, реже, в виде прослоев, встречаются известняки,
конгломераты, ангидриты.
Общая толщина горизонта изменяется от 6м до 10м, средняя 7,4
м. Эффективная толщина изменяется от 1,6 до 3,3 м, в среднем равняясь 2,4 м,
нефтенасыщенная толщина варьирует от 1,6 м. до 3,3 м., в среднем 2,6 м.
Горизонт представлен 1-2 пластами-коллекторами и
характеризуется коэффициентом расчлененности 1,5 и коэффициентом песчанистости
0,324д. ед.
Горизонт анализами керна не освещен. По данным ГИС в среднем
коэффициент пористости равен 0,295д. ед., коэффициент нефтенасыщенности 0,679д.
ед.
Верхнепермский горизонт P2s3. Литологически горизонт
представлен песчаниками, алевролитами, аргиллитами, глинами и, реже, в виде прослоев,
встречаются известняки, конгломераты, ангидриты.
Общая толщина горизонта изменяется от 3,0м до 12м, средняя
6,3 м. Эффективная толщина изменяется от 1,9 до 3,8 м в среднем 2,9 м,
нефтенасыщенная толщина варьирует от 1,9 м (BSK1Х) до 3,8. (BSK23Х), в среднем
равняясь 2,9 м.
Горизонт представлен 1-4 пластами-коллекторами и
характеризуется коэффициентом расчлененности 2,5, коэффициентом песчанистости
0,475д. ед.
Горизонт анализами керна не освещен.
По данным ГИС в среднем коэффициент пористости равен 0,177д.
ед., коэффициент нефтенасыщенности - 0,554д. ед.
.4 Состав и
свойства нефти в поверхностных условиях
В поверхностных условиях отобраны и проанализированы 8 проб
нефти при опробовании скважин в период разведки. Поверхностные пробы отбирались
у устьев скважин и приемной емкости после сепарации.
Исследование нефти проводилось в период разведочных работ в
Испытательной лаборатории НИИ АО "СНПС - Актобемунайгаз". Исследованы
нефти только нижнетриасовых отложений. Нижнепермские горизонты пробами не
освещены.
Нижнетриасовый горизонт Т1 II.
Горизонт состоит из 2-х пластов А и Б. Самостоятельно пласты
пробами не освещены. Пласт А совместно с горизонтом Т1-III освещен
3-мя пробами из скважины BSK-2Х, пласт Б также совместно с горизонтом Т1-III
освещен 2-мя пробами из скважины BSK-1Х.
Нижнетриасовый горизонт Т1 - III.
По горизонту имеются 2 пробы нефти, отобранные из скважин
BSK-4Х и BSK-7Х блока I и одна проба из скважины BSK-8Х блока II, в которых
опробование проведено самостоятельно.
Плотность нефти по скважинам блока I изменяется от 0,875до
0,908г/см3 и в среднем составляет 0,893г/см3,
кинематическая вязкость при 20°С варьирует от 39,4 до 122 см2/с,
составляя в среднем 78,8 см2/с, при 40°С от 36,3 до 48,6 см2/с
в среднем равняясь 50,7 см2/с.
Из группового углеводородного состава определено содержание
парафина и серы. Содержание парафина изменяется от 0,39 до 1,55%мас и в среднем
составило 0,93%мас, серы колеблется от 0,34 до 1,7%мас и в среднем составило
0,71%мас. По свойствам и составу нефти блока являются тяжелыми, высоковязким,
малопарафиновыми и сернистыми. Углеводородный состав нефти не определялся.
Нефть блока II (по пробе из скважины BSK-8Х) по данным
лабораторных анализов относится к очень тяжелым (0,922г/см3),
высоковязким (99,5 см2/с при 40°С), сернистым
(0,7%мас) и парафиновым (1,5%мас).
По данным фракционного состава определен выход фракций с
200°С до 300°С.
2. Винтовые
насосы
2.1
Особенности конструкции винтовых электронасосов
Основным элементом погружного винтового насоса (ПВН) является
червячный винт, вращающийся в резиновой обойме специального профиля. В пределах
каждого шага винта между ним и резиновой обоймой образуются полости,
заполненные жидкостью и перемещающиеся вдоль оси винта. Приводом служит такой
погружной электродвигатель (ПЭД), как и для погружного центробежного
электронасоса (ПЦЭН), с частотой вращения, вдвое меньшей. Это достигается
такими соединениями и укладкой статорной обмотки двигателя, что создается
четырехполюсное магнитное поле с синхронной частотой вращения 1500 мин-1.
Если для ПЦЭН увеличение частоты вращения улучшает
эксплуатационные характеристики насоса, то для ПВН, наоборот, желательно
уменьшение частоты вращения вала, так как в противном случае увеличивается
износ, нагрев, снижается к. п. д. и другие показатели. Внешне ПВН мало
отличается от ПЦЭН.
В комплект установки входят:
автотрансформатор или трансформатор на соответствующие
напряжения для питания ПЭД;
станция управления с необходимой автоматикой и защитой;
устьевое оборудование, герметизирующее устье скважины и ввод
кабеля в скважину;
электрический кабель круглого сечения, прикрепляемый поясками
к НКТ;
винтовой насос, состоящий из двух работающих навстречу друг
другу винтов с двумя приемными сетками и общим выкидом;
гидрозащита электродвигателя; маслонаполненный
четырехполюсный электродвигатель переменного тока - ПЭД.
Основной рабочий орган винтового насоса (рисунок 2.1) состоит
из двух стальных полированных и хромированных однозаходных винтов 2 и 4
с плавной нарезкой, вращающихся в резинометаллических обоймах 1 и 5,
изготовленных из нефтестойкой резины особого состава.
Внутренняя полость обойм представляет собой двухзаходную
винтовую поверхность с шагом в два раза больше, чем шаг винта. Винты соединены
с ПЭДом и между собой валом с промежуточной эксцентриковой муфтой 3. Оба винта
имеют одинаковое направление вращения, но один винт имеет правое направление
спирали, а другой - левое. Поэтому верхний винт подает жидкость сверху вниз, а
нижний - снизу вверх. Это позволяет уравновесить винты, так как силы,
действующие на них от перепада давления со стороны выкида и приема, будут
взаимно противоположны.
Любое поперечное сечение стального винта есть правильный круг,
однако центры этих кругов лежат на винтовой линии, ось которой является осью
вращения всего винта. В любом сечении винта, перпендикулярном к его оси,
круговое сечение оказывается смещенным от оси вращения на расстояние е,
называемое эксцентриситетом (рисунок 2.2).
Поперечные сечения внутренней полости резиновой обоймы в любом
месте вдоль оси винта одинаковые, но повернуты относительно друг друга. Через
расстояние, равное шагу, эти сечения совпадают.
Само сечение внутренней полости в любом месте представляет собой
две полуокружности с радиусом, равным радиусу сечения винта, раздвинутые друг
от друга на расстояние
.
При работе двигателя винт вращается вокруг собственной оси.
Одновременно сама ось винта совершает вращательное движение по окружности
диаметром
.
Гребень спирали винта по всей своей длине находится в непрерывном
соприкосновении с резиновой обоймой. Между винтом и обоймой образуется полость,
площадь сечения которой равна произведению диаметра винта
на
, а высота этой полости в направлении оси винта равна шагу обоймы Т
(
, где
- шаг винта).
Перекачиваемая жидкость заполняет полость между винтом и обоймой в
пределах каждого шага и, так как при вращении винт в осевом направлении не
движется, то жидкость будет перемещаться вдоль оси винта на расстояние одного
шага при повороте винта на один оборот. Следовательно, суточная подача
винтового насоса будет равна
,
где
- частота вращения вала ПЭДа (примерно
1480 мин-1);
- коэффициент подачи насоса.
Коэффициент подачи насоса учитывает: обратные протечки через линию
соприкосновения гребня спирали винта с внутренней полостью обоймы; неполное
заполнение полостей за счет наличия газа во всасывающей смеси; усадку нефти при
переходе ее от термодинамических условий насоса к условиям на поверхности.
Для того, чтобы верхний и нижний винты имели возможность вращаться
не только вокруг своей оси, но и по окружности диаметром
, они соединены между собой специальными
эксцентриковыми муфтами (см. рисунок 2.1). Конец вала, выходящего из верхнего
сальника и подшипника узла гидрозащиты, соединяется с нижним винтом также с
помощью эксцентриковых муфт 3.
Рисунок 2.1 - Винтовой насос с двумя уравновешенными рабочими
органами
Эксцентриковые муфты работают в жидкости, откачиваемой насосом.
Насос имеет двухсторонний прием жидкости и общий выкид в пространство между
верхним и нижним винтами. Далее жидкость проходит по кольцевому зазору между
корпусом металло-резиновой обоймы верхнего винта и кожухом насоса. Затем по
специальным косым каналам, минуя приемную сетку верхнего винта, жидкость
попадает в головную часть ПВН, в которой имеется многофункциональный
предохранительный клапан поршеньково-золотникового типа. Обойдя по сверлению
предохранительный клапан, жидкость проходит шламовую трубу и попадает в НКТ.
Рисунок 2.2 - Сечение резиновой обоймы и винта насоса
На рисунке 2.3 показаны четыре последовательных положения сечения
винта в обойме при одном его повороте.
В нижней части насоса, ниже герметизирующего сальника и
двухрядного радиально-упорного подшипника размещается пусковая муфта. Она
соединяет вал протектора и двигателя с валом насоса только после того, как вал
двигателя разовьет число оборотов, соответствующее максимальному крутящему
моменту двигателя. Для этого в пусковой муфте имеются выдвижные эксцентриковые
кулачки, входящие в зацепление при определенной частоте вращения вала.
Такая пусковая муфта обеспечивает надежный запуск насоса при
максимальном крутящем моменте двигателя. Кроме того, она не позволяет вращаться
валу насоса в сторону, противоположному заданному направлению. В этом случае в
муфте происходит свободное проворачивание валов без зацепления, чем
предупреждается развинчивание деталей наоса и резьбовых соединений, а резиновые
обоймы рабочих органов предохраняются, таким образом, от перегрева и сухого
трения, так как при обратном вращении жидкость из НКТ откачалась бы в кольцевое
пространство. Такое обратное вращение может произойти при ошибочной
перестановке двух концов электрического кабеля на трансформаторе.
Рисунок 2.3 - Положение сечения винта в обойме при его повороте на
один оборот:- исходное положение; II - положение при повороте на 900;
III - положение при повороте на 1800; IV - положение при повороте на
2700; V - положение при повороте на 3600;
к - фиксированная точка на поверхности винта (вращение против
часовой стрелки)
Четыре эксцентриковые муфты позволяют за счет подвижности шарниров
передавать необходимый крутящий момент и одновременно совершать винтам сложное
планетарное движение в резиновых обоймах.
Поршеньково-золотниковый предохранительный клапан выполняет
следующие функции.
Так как сквозной проток жидкости при неподвижном винте в ПВН
невозможен, то при его спуске в скважину на НКТ под уровень жидкости возникает
необходимость заполнения НКТ жидкостью из межтрубного пространства. В этом
случае поршеньково-золотниковый предохранительный клапан устанавливает
сообщение внутренней полости НКТ с межтрубным пространством.
При подъеме ПВН из скважины жидкость из НКТ по тем же причинам не
может перетечь в межтрубное пространство. Поршеньково-золотниковый клапан в
этом случае также устанавливает сообщение внутренней полости НКТ с межтрубным
пространством и жидкость сливается.
При недостаточном притоке жидкости из пласта в скважину или при
содержании в жидкости большого количества газа золотник предохранительного
клапана устанавливается так, что часть жидкости из колонны НКТ перетекает через
боковой клапан в межтрубное пространство. Когда насос разовьет нормальную
подачу, золотник клапана перекроет боковой спусковой клапан и вся жидкость,
подаваемая насосом, будет поступать в НКТ.
В противоположность ПЦЭН винтовые насосы, как и все объемные
машины, не могут работать при закрытом выкиде. Поэтому при случайном закрытии
задвижки на устье ПВН выходит из строя. Для предупреждения подобных явлений
золотниковый предохранительный клапан срабатывает и сбрасывает жидкость из НКТ
в межтрубное пространство. Для этого клапан регулируется на строго регламентируемую
величину давления, при превышении которой происходит сброс.
Золотниковый предохранительный клапан позволяет откачивать
жидкость из скважин с низким динамическим уровнем и не допускает его снижения
до приемных сеток насоса, так как в этом случае клапан сбросит жидкость из НКТ
в межтрубное пространство. Это приведет к снижению результирующей подачи и
срабатыванию релейной защиты на станции управления, отключающей всю установку.
Если по каким-либо причинам установка не отключится, то после
накопления жидкости в межтрубном пространстве и повышения ее уровня клапан
закроет спусковой канал и установка перейдет на нормальный режим работы с полой
подачей жидкости в НКТ. Поскольку слабый приток из пласта сохраняется, то это
приведет снова к снижению уровня в межтрубном пространстве, клапан снова
сработает и сбросит жидкость из НКТ в межтрубное пространство. Такая
вынужденная самопроизвольная периодическая эксплуатация будет продолжаться до
тех пор, пока станция управления не отключит установку. Назначением
золотникового предохранительного клапана является недопущение сухого трения
винта в резиновой обойме и выхода из строя насоса по этой причине.
Шламовая труба предохраняет насос от попадания в его рабочие
органы твердых частиц и окалины со стенок НКТ и стеклянной крошки в случае
применения остеклованных или эмалированных НКТ. Она представляет собой обычный
патрубок с боковыми отверстиями и заглушенным верхним концом. Оседающие твердые
частицы накапливаются между внутренней поверхностью НКТ и наружной поверхностью
шламовой трубы.
Как видно из описания, ПВН - несложная машина с небольшим числом
деталей (в противоположность ПЦЭН) и в настоящее время имеет высокую надежность
и достаточно большой межремонтный период. Серийные конструкции рассчитаны в
основном на номинальную подачу 40, 80 и 100 м3/сут при диаметрах
обсадных колонн 146 и 168 мм.
Благодаря двум винтам с правым и левым направлением их спиралей
эти насосы во время работы взаимно гидравлически разгружаются, поэтому их
опорные подшипники и пяты не подвергаются большим осевым усилиям. Друг от друга
насосы отличаются только размерами винтов и резиновых обойм, благодаря чему
достигнута и высокая унификация, и взаимозаменяемость всех деталей и узлов.
Наиболее слабым местом в винтовых насосах является резиновая обойма, которая
при недостатке смазки сразу выходит из строя. Винтовые насосы на вязкой
жидкости работают лучше, чем на сильно обводненной продукции скважин. Они не
эмульгируют нефть, как центробежные насосы.К. п. д. насоса достигает 0,8.
Винтовые насосы имеют шифр, подобный шифру центробежных насосов.
Например, ЭВНТ5А-100-1000 означает: электровинтовой насос (ЭВН) тихоходный (Т)
под колонну 5А с подачей 100 м3/сут, напором 1000 м. Имеются насосы,
развивающие напор 1400 м. Насос ЭВНТ5А-100-1000 имеет на воде максимальный к.
п. д.0,68-0,7, а при незначительном повышении вязкости жидкости до 0,4 см2/с
его максимальный к. п. д. увеличивается до 0,73-0,75.
На рисунке 2.4 показаны рабочие характеристики серийного насоса
ЭВНТ5А-100-1000 при его работе на воде (кривые 1) и глицерине (кривые 2) с
вязкостью 1,35 см2/с.
Поскольку ПВН является объемной машиной, то его подача гораздо в
меньшей степени, чем в ПЭЦН, зависит от напора. Повышение напора увеличивает
протечки жидкости через линию контакта гребня винта с внутренней полостью
резиновой обоймы, и это несколько снижает подачу. Тем не менее, для ПВН
характерна более широкая область рекомендованных режимов при сохранении высоких
значений к. п. д. Это позволяет один и тот же ПВН применять для эксплуатации
скважин с различными динамическими уровнями.
Рисунок 2.4 - Рабочие характеристики винтового насоса типа
ЭВНТА5А-100-1000 при работе на воде и глицерине
Например, для насосов с напором до
м и подачами от 40 до 100 м3/сут зона оптимального к.
п. д. находится в пределах напоров от 350 до 1000 м. Продолжительность работы
ПВН без подъема в некоторых случаях достигла 16 мес.
Применение ПВН весьма эффективно при откачке высоковязких нефтей.
Они менее чувствительны к присутствию в нефти газа, а попадание последнего в
рабочие органы не вызывает срыва подачи.
В настоящее время разработаны установки типа УЭВНТ5А на подачу
16-200м3/сут при напоре 1200-900м, где Т означает - тихоходный. Их
подача меньше зависит от напора. Они оказались эффективными при работе на
вязких жидкостях и расходном газосодержании на приме до 0,5. Область применения
их ограничена температурой до 30-70 градусов С. Слабым звеном установки
является резиновая обойма. Тихоходность (частота вращения 1500 мин) по
сравнению с частотой вращения (2820 мин) электродвигателя достигается
соответствующими соединениями и укладкой статорной обмотки.
Так как установка электровинтового насоса и является наиболее
эффективной при работе с вязкой жидкостью, она имеет существенный недостаток:
для привода погружного винтового насоса требуются дорогостоящие оборудования,
за которыми требуется уход и частое обслуживание - это кабель, погружной
электродвигатель, протектор; а также необходимо строительство, монтаж и
установка станции управления и трансформатора.
Этих недостатков лишена проектируемая электровинтовая установка
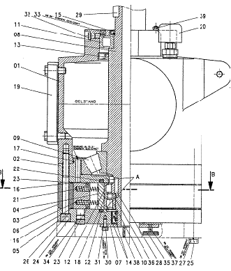
(рисунок 2.5), которая приводится в действие колонной вращающихся штанг.
Колонна штанг приводится в действие наземным электродвигателем через муфту
пусковую. Электродвигатель тихоходный (частота вращения 1500 мин) с повышенным
крутящим моментом на выходном валу.
Таким образом, отпадает необходимость в строительстве
трансформатора, станции управления, применении кабеля, протектора и погружного
двигателя.
Проектируемая штанговая установка с погружным винтовым насосом
имеет преимущества и перед обычной ШСНУ.
На колонну штанг, через которую передается вращение винту насоса,
действует постоянная нагрузка, тогда как штанги обычных глубинных насосов подвергаются
циклической нагрузке, что может привести к усталостному разрушению.
При добыче нефти высокой вязкости обычными насосами трение штанг о
жидкость может достигать такой величины, при которой колона штанг не будет
опускаться настолько быстро, насколько это необходимо, что будет ограничивать
производительность насоса.
Рисунок 2.5 - Схема проектируемой установки верхнеприводного
винтового электронасоса
Система привода обычных станков-качалок никогда не может быть
полностью сбалансирована. Поэтому значительная часть потребляемой энергии идет
на преодоление сил инерции, возникающих в результате изменения направления
движения колонны штанг.
Капитальные затраты на проектируемый винтовой насос составляют
порядка 50% и менее (до 25%) затрат на приобретение и установку обычных
станков-качалок. Эксплуатационные издержки у проектируемого насоса также ниже:
затраты энергии - на 60-75% при эксплуатации насосов данного типа с обычными
глубинными насосами аналогичной производительности.
Небольшие размеры УВЭН со штанговой колонной выгодно отличает
данный тип насосов от крупногабаритных станков-качалок.
Рисунок 2.6 - Приводная головка УЭВН с верхним приводом
Рисунок 2.7 - Редуктор приводной головки
Небольшие размеры и низкий уровень шума ставят проектируемый
винтовой насос в выгодное положение с точки зрения их использования в городских
условиях (рисунок 2.6-2.7). Компактность насосной установки обеспечивает
прекрасную возможность использования этой системы на участках территории с
повышенным количеством скважин и на морских нефтяных платформах.
2.2
Автоматизированная групповая замерная установка
Обоснование выбора рекомендуемых способов эксплуатации
скважин, устьевого и внутрискважинного оборудования. Характеристика показателей
эксплуатации скважин
Исходя из энергетической характеристики месторождения в
период пробной эксплуатации предусматривается применять фонтанный способ.
Устьевое оборудование будет стандартным, устье скважин оборудуется колонной
головкой ОКК1-21-146х245мм с фонтанной арматурой АФК1 65х21.
Внутрискважинное оборудование - колонна НКТ 73х5,5мм.
В начале пробной эксплуатации скважины предполагается эксплуатировать
на естественном режиме фонтанным способом. В случае прекращения фонтанирования
в качестве основного способа эксплуатации, предлагается механизированный с
винтовыми насосами с поверхностными приводами (ВП). Выбранное оборудование
должно обеспечить максимальный отбор жидкости по скважинам, предусмотренный в
рекомендуемом варианте.
При фонтанном способе эксплуатации скважины работают на 3-7
мм штуцере со средним дебитом жидкости 45,7 т/сут, при последующей
обводненности в среднем 10%.
Скважины для пробной эксплуатации оборудованы
одноступенчатыми фонтанными подъемниками, состоящими из труб диаметром 73 мм.
Учитывая физико-химические свойства нефти на месторождении
Блиновское при значительном отложении парафина, смол и возможной обводненности,
рекомендуется применять винтовые электронасосы. В связи с переходом с
фонтанного на насосный способ добычи нефти винтовыми системами, верхняя часть
фонтанных арматур демонтировалась и фонтанная арматура совмещалась с приводными
головками винтовых насосов.
При механизированном способе эксплуатации рекомендуется применять
три вида винтовых насосов ("Мойно", "Гриффин",
"Протекс") различных модификаций, которые работают с
производительностью 16-60 м3/сут на 1000 оборотов в минуту и
мощностью 11 и 15 KW. Возможная глубина спуска насосов на НКТ диаметром 73 мм
колеблется от 890 до 1005 м.
Контроль работы ВП будет осуществляться отбивкой
динамического уровня и замером затрубного давления, по результатам которых
устанавливаются параметры работы установки: дебит при необходимом напоре,
крутящий момент, потребляемая мощность и скорость вращения ротора. С целью
оптимизации работы скважин и уточнения фактической продуктивности коллектора
следует проводить исследования на установившихся режимах, приурочивая их к
геолого-техническим мероприятиям. Исследование скважин, оборудованных винтовым
насосом, заключается в регистрации уровня и дебита при работе скважин на разных
режимах, которые устанавливаются уменьшением и увеличением скорости вращения
ротора, т.е. числа оборотов в минуту (снижая и увеличивая производительность
насоса).
· Фонтанирование скважин в условиях эксплуатации
месторождения является обоснованным и рациональным только в том случае, когда
выполняется условие, при котором устьевое давление достаточно для пробной
эксплуатации системы сбора и транспорта нефти на промысле и при этом
обеспечивается планируемая добыча нефти.
· Предполагается, что система сбора и
транспортировки нефти будет предусматривать работу скважин в режиме
фонтанирования. Следовательно, эксплуатация скважин должна осуществляться
фонтанным способом, непосредственно после их заканчивания.
· Обоснование условий фонтанирования и выбор
оптимальных режимов работы скважин должно основываться на результатах
гидродинамических исследований.
· Механизированный способ добычи, рекомендуемый для
эксплуатации закончивших фонтанировать скважин, с использованием ВП, является
эффективным и рациональным в условиях эксплуатации месторождения
(пескопроявления, влияние парафина, обводненность и др.), поскольку благодаря
конструктивным особенностям поддерживается постоянное (не пульсирующее)
всасывание, которое заставляет флюид двигаться в фиксированном объеме, прямо
пропорционально скорости вращения ротора.
Условия фонтанирования определяются соотношением между
эффективным газовым фактором смеси, поступающей из пласта, и удельным расходом
газа, необходимым для работы газожидкостного подъемника.
Для фонтанирования скважин необходимо, чтобы эффективный
газовый фактор был больше или, по крайней мере, равен удельному расходу газа и
при работе подъемника на оптимальном режиме забойные давления обеспечивали бы
необходимую депрессию для получения проектного дебита.
Учитывая высокую парафинистость (7,94-26,4%), смолистость (до
13,85%) и небольшое содержание растворенного газа в продукции скважин
(4,82-43,9 м3/т), в том числе при отсутствии закачки воды для
поддержания пластового давления, на новых проектных скважинах срок
рентабельного фонтанирования будет не более года с даты вступления их в
эксплуатацию. При этом диаметр подъемника при фонтанном способе эксплуатации
должен составлять 73 мм.
По условиям эксплуатации месторождения, для фонтанных скважин
выбирается фонтанная арматура тройникового типа АФК1-65х21МПа ГОСТ 13846-84 с
рабочим давлением 21 МПа, проходным диаметром ствола и боковых отводов 65 мм с
ручным способом управления запорными устройствами (задвижками). Боковые отводы
арматуры оборудованы штуцерами для установления необходимых устьевых давлений с
целью регулирования дебита скважин.
Из условий эксплуатации месторождения определена компоновка
подземного оборудования, которая состоит из фонтанного однорядного подъемника
диаметром 73 мм, обоснованного выше и направляющей воронки на конце колонны,
для успешного проведения исследовательских работ со спуском прибора на забой, а
также для улавливания большей части газа для предотвращения работы скважин с
пульсацией. При возможном переводе скважин с фонтанного на механизированный
способ добычи, применяемые подъемные трубы (НКТ) можно использовать и в
дальнейшем с соответствующим внутрискважинным оборудованием.
Практика эксплуатации добывающих скважин на различных
месторождениях позволяет выделить ряд основных параметров при выборе
механизированного способа эксплуатации.
В качестве основных показателей при выборе способа
эксплуатации для месторождения Блиновское рассмотрены технические,
технологические, эксплуатационные и социальные аспекты вопроса. Ввиду
отсутствия прямых дифференцированных данных из-за постоянного хаотического
изменения цен определить границы технико-экономических показателей применения
различного нефтедобывающего оборудования на данный момент затруднительно.
Винтовые насосы с поверхностным приводом эффективны при
откачке нефти с высокой парафинистостью и значительном проценте выноса песка.
При выборе насоса, если необходимый дебит лежит в верхней половине интервала скоростей,
лучше выбрать насос с большой производительностью и установить меньшее число
оборотов. При появлении песка и для полного выноса его с забоя скважины, насос
рекомендуется спускать до верхних дыр интервала перфорации. Эксплуатацию
скважин следует начинать с минимальных оборотов с последующим выводом на
оптимальный режим исходя из динамических уровней и намеченных технологических
режимов.
Эти же насосы используются в средах с нижеследующими
характеристиками:
· Оптимальные решения для установки на мелких
и средних глубинах для выкачивания объёмов продукции от 0,1 до 600 т/сут;
· Извлекает продукцию с большей долей песка,
чем электрические погружные и скважинные насосы;
· Непрерывность подачи (отсутствие
пульсации) благоприятно влияет на вынос песка из пласта;
· Извлекает продукцию с высоким
коэффициентом газа в нефти без дополнительных ротационных и неподвижных газовых
сепараторов;
· Извлекает тяжёлые вязкие жидкости, не
понижая производительности и не повышая потребления энергии;
· Обладают свойством перекачивать
коррозийные жидкости без использования внутренних деталей, изготовленных из
дорогостоящих сплавов и керамики;
· Повышают общую производительность и
снижают потребление энергии;
· Снижают затраты капитала и проектных
вложений;
· Сокращают ремонтные расходы уже имеющегося
оборудования;
· Сокращают расходы на установку и персонал
в связи с уменьшением объёма работ;
· Небольшой надземный привод и низкий
уровень шума;
· Широкий выбор эластомера для различного
применения;
· Широкий диапазон продукции;
· Привод применим для больших нагрузок на
колонну штанг;
· Отсутствие клапанов и, следовательно,
отсутствие проблемы газовых "пробок", в отличие от электрических
погружных насосов;
· Не оказывают отрицательного влияния на
окружающую среду;
· Длительность срока службы.
С ростом обводненности свыше 50% могут возникнуть проблемы,
связанные с отложениями солей карбонатного типа (CaCO3, MgCO3)
в подземном оборудовании и призабойной зоне пласта, а также в печах подогрева
при подготовке и перекачке нефти. Поскольку не имеется проанализированных проб
пластовых вод месторождения.
Пластовые воды меловых продуктивных горизонтов по
классификации В.А. Сулина представляют собой рассолы хлоридно-кальциевого типа,
хлоридной группы, натриевой подгруппы, плотностью 1,04 - 1,051 г/см3.
Величина минерализации варьирует от 55,23 г/дм3 до 74,27 г/дм3.
Воды жесткие, величина общей жесткости изменяется от 149 до 221,74 мг-экв/дм3,
горячие (t>30 оС), слабощелочные рН = 6,42-7,5. Содержание ионов
в водах приведено в таблице 2.3.5.
Пластовые воды фундамента по классификации В.А. Сулина
представляют собой рассолы хлоридно-кальциевого типа, хлоридной группы,
натриевой подгруппы, плотностью 1,076 г/см3. Минерализация вод
фундамента достигает 107 - 110 г/дм3. Воды хлоркальциевого типа. Величина
общей жёсткости достигает 894,6 мг-экв/дм3. Воды сильно
метаморфизованы. Коэффициент метаморфизации достигает 0,72. Воды щелочные, рН =
8,44, весьма горячие (t = 85,8 оС). Лития в пластовых водах
фундамента содержится до 4,1 мг/дм3, стронция - до 276,3 мг/дм3,
фтора - до 14,5 мг/дм3, бора - до 167,6 мг/дм3. Приток
воды из фундамента незначителен.
Режим работы залежей - упруговодонапорный.
Наличие в составе нефти месторождения значительного
содержания парафина и смол способствует их отложению на стенках НКТ и
осложнениям в добыче.
В ППЭ для предупреждения застывания на надземном и подземном
оборудовании добываемой нефти под влиянием парафина рекомендовалась прокладка
кабельных электрических линий от ГУ для подключения к ним саморегулирующихся
кабелей марки 23FSLe2CT в комплекте с терморегуляторами (до 30 м на скважину).
Этими кабелями армируются корпуса колонных головок и фонтанной арматуры под
теплоизоляционным покрытием. Подключение кабельной комплектации устья скважины
от питающих силовых кабельных линий ГУ производится от щитов управления СУС-22.
Однако, при использовании в зимний период самогреющего кабеля
внутри ГУ-1 на технологической линии, желаемый результат не был получен.
Учитывая технико-экономические обоснования, рекомендуется
применять следующие методы:
· устьевые нагреватели УН-02 для скважин,
расположенных вдали от ГУ;
· для скважин, расположенных вблизи от ГУ -
электрические самогреющие кабели;
· для новых проектных добывающих скважин
использовать НКТ с гладкими защитными поверхностями.
Рекомендуется применять для предупреждения парафиноотложений
ингибиторы - химические вещества, небольшие (0,01 - 0,02%) добавки которых к
нефти способны замедлять процесс образования отложений. Удаление уже
отложившихся АСПО рекомендуется осуществлять механическим, химическим или
тепловым методами.
Применение ингибиторов парафиноотложений осуществляется тремя
способами: установкой глубинных дозаторов на хвостовике насоса и дозировочных
насосов в затрубное пространство скважины, а также периодической заливкой реагентов
в скважину через устройство типа капельницы.
В качестве ингибиторов парафиноотложений рекомендуются
реагенты ряда СНПХ (поставщик - Уруссинский опытно-химический завод, Республика
Татарстан). Удельный расход 100 г/т добываемой нефти.
Применение ингибиторов парафиноотложений целесообразно на
скважинах с дебитом не менее 45 т/сут при обводненности до 10 %.
Применение ингибиторной защиты позволяет только замедлить
процесс отложения парафина, но не прекратить полностью. Тем более в составе
нефти присутствуют смолы и асфальтены, на которые ингибиторы парафиноотложений
влияние не оказывают. Таким образом, возникает необходимость периодической
очистки призабойной зоны пласта и подземного оборудования скважин от АСПО не
реже двух раз год. Для удаления АСПО со стенок НКТ необходимо периодически
закачивать в затрубное пространство скважин горячую нефть (на основе легких и
ароматических углеводородов в присутствии ПАВ), перегретого пара или
паро-воздушной смеси. Под действием повышения температуры парафин расплавляется
и удаляется вместе с закачиваемой и добываемой жидкостью из подъемных труб, а
также из выкидных линий. Для выработки пара можно использовать передвижные
паровые установки ППУА-1200/100, для депарафинизации скважин горячей нефтью -
АДПМ.
Для очистки выкидных линий от АСПО рекомендуется периодически
запускать резиновые шары (торпеды).
Добиться продуктивности скважин особенно трудно там, где
пластовые пески склонны к разрушению. При выносе песка наиболее существенным
осложнением является образование песчаных пробок в эксплуатационных и лифтовых
колоннах скважин, которые ограничивают ее производительность. Для
восстановления продуктивности скважин обычно используют следующие методы:
· удаление пробки промывкой или
желонированием;
· установка на забое скважин специальных
средств задержания песка;
· снижение дебитов в целях уменьшения
интенсивности выноса песка из пласта в скважину;
· увеличение скорости движения жидкости в
трубах, либо применение лифтовых труб меньшего диаметра.
Наиболее простым методом является установка средств
механического задержания песка. Для этой цели используются проволочные, щелевые
и намывные гравийные фильтры. При применении этого метода борьбы с
пескопроявлениями важным конструктивным аспектом является правильный выбор
ширины щелей или размера пор гравия по отношению к диаметру частиц выносимого
из пласта песка.
Рекомендуя применение гравийных фильтров в виде щелевых с
гравийной насыпкой для месторождения можно дать следующие конструктивные
размеры щелей и диаметр гравия:
. диаметр щелей принять равным двукратному диаметру
50% отсева песка или 0,5 мм;
2. диаметр гравия принимать равным 8 - 10-кратному
диаметру 90% -ного отсева на кривой гранулометрического состава пластового
песка (0,25) или 2,0 - 2,5 мм.
Применение щелевых фильтров с гравийной насыпкой не требует
специальной конструкции забоя скважин.
Существующие методы борьбы с выносом песка условно
подразделяются на:
химические способы (обработка песка в пласте);
механические способы (перекрытие песка на забое).
К химическим методам относят искусственное закрепление рыхлых
песков путём ввода в пласт цементирующих веществ или образования их
непосредственно в пласте путём окисления нефти.
Механический способ заключается в экранировании скважины от
песка путём спуска на забой различного рода фильтров или образование их на
месте путём намывки.
На стадии пробной эксплуатации месторождения коррозионная
активность добываемой продукции была незначительной. Свидетельством этого
является низкая доля компонентов углекислого газа (0,71-1,65%) в добываемой
продукции, отсутствие сероводорода и невысокая обводненность. Но в присутствии
водонефтяной эмульсии в добываемой продукции коррозийная активность может
возрасти.
Как предполагалось ранее, в системе сбора и транспорта
нефтяной продукции коррозионные процессы по отношению к стальному оборудованию
не проявлялись из-за малой обводненности нефтяной продукции. Это соответствует
такому режиму смесей, при котором пластовая вода в эмульсии является внутренней
фазой, не смачивает стенки труб и не вызывает коррозии. Такой режим движения
продукции может сохраняться по всей длине трубопровода при обводненности не
более 30%.
Дальнейший рост обводненности приведет к обращению эмульсии.
В этом случае вода станет внешней фазой, и будет постоянно контактировать с
металлом, что приведет к появлению внутренней коррозии нефтепровода в виде язв,
канавок и других разрушений.
Наиболее опасные последствия вызывает коррозия
насосно-компрессорных труб и обсадных колонн.
Нарушения герметичности обсадных колонн связаны с коррозией
тела обсадных труб, когда цементное кольцо за колонной часто имеет различные
нарушения и не доводится до устья скважины. Внутренняя поверхность обсадных
труб подвергается воздействию среды, заполняющей межтрубное пространство.
Если наружной коррозии, обусловленной геолого-техническими
факторами подвержены все категории скважин, то внутренней коррозии подвержены,
в основном нагнетательные (поглощающие), скважины. Утилизация промысловых вод
одна из самых коррозионно-опасных факторов нефтедобычи на месторождении.
Для защиты от коррозии НКТ и внутренней поверхности обсадных
колонн, а также эксплуатационных линий скважин существуют несколько видов
борьбы. Учитывая рост обводненности на промышленной стадии разработки
месторождения следует предусмотреть ингибиторную защиту, как наиболее
эффективный способ в условиях добычи нефти. В этом случае используются
водорастворимые или вододиспергируемые ингибиторы, которые необходимо вводить
непосредственно в отделившуюся пластовую воду.
Методы защиты добывающих и нагнетательных (поглощающих)
скважин
При ингибиторной защите надземного оборудования добывающих
скважин необходимо будет учитывать конструкцию и способ эксплуатации скважин.
Подачу ингибиторов в добывающие скважины можно осуществлять
тремя способами:
. периодической подачей в кольцевое пространство между
обсадной колонной и подъемными трубами (НКТ);
2. систематической (постоянной) подачей с помощью
дозаторных установок;
. периодическим нагнетанием в призабойную зону пласта.
При первом способе между обсадной колонной и трубами (у
башмака) следует предусмотреть герметизацию пакерующим устройством (манжетой) с
небольшим (3-7 мм) отверстием для выхода ингибитора.
При втором способе вблизи к устьям скважин на территории ПСН
следует предусмотреть дозаторный пункт с емкостью для хранения ингибитора.
Расчет дозировки ингибитора осуществляется исходя из дебита пластовой воды.
Более высокий эффект достигается при непрерывной подаче
ингибиторов в систему. Для приготовления и дозировки ингибриторов коррозии
рекомендуется применять современные блочные установки или дозировочные насосы с
высокими КПД отечественного производства (СНГ) или же иностранных компаний.
Для обеспечения бесперебойной работы установок подачи
ингибиторов рекомендуется на их приемных линиях предусмотреть установку
фильтров, а линии подачи реагентов утеплять. Емкости для хранения ингибиторов
необходимо оборудовать устройствами для обогрева.
Для защиты от коррозии трубопроводов при обводненности 50% и
более предлагается использовать водорастворимые ингибиторы коррозии типа,
"ВИСКО - 938" и "Бактериам - 607".
По третьему способу можно рекомендовать периодическую
обработку задавливанием ингибитора в пласт. Закачку ингибитора в продуктивный
пласт применяют для защиты подземного оборудования, используя призабойную зону
скважин в качестве естественного и длительно функционирующего дозатора. Объем
ингибитора для задавки в пласт выбирается с учетом периодичности между
обработками, защитной концентрации реагента, времени после действия (количества
ингибитора должно хватить для формирования защитной пленки на металле труб на
всей их протяженности до устья при данной скорости потока), избытка ингибитора
для компенсации необратимой адсорбции на породах пласта.
Большой эффект в снижении скорости коррозии достигается при
использовании ингибиторов коррозии слаборастворимых как в нефти так и в водной
фазе (водонефтедиспергируемые).
При выборе ингибиторов коррозии и технологии их применения с
целью защиты подземного и надземного оборудования нефтяных скважин, можно
руководствоваться вышеприведенными данными, либо данными опытно-промысловых
испытаний аналогичных близлежащих месторождений или же результатами
лабораторных испытаний на модельных средах с подбором необходимой дозировки от
компаний-поставщиков.
Другой способ защиты оборудования водяных (поглощающих)
скважин - спуск колонн (хвостовика) из коррозионно-стойких материалов или с
защитными покрытиями.
Необходимость применения электрохимической защиты (катодная
зашита) на нефтепроводных и водопроводных коммуникациях обусловлена
агрессивностью грунтов.
Блочная установка типа "Спутник
Б-40-14-400" предназначена для автоматического измерения количества нефти
и газа, осуществления контроля за работой скважин по подаче жидкости,
раздельного сбора обводненной и необводненной нефти, подачи реагента в поток и
блокировки скважин при аварийном состоянии или по команде с диспетчерского
пульта.
Рекомендуется применять в системах
внутрипромыслового сбора продукции скважин, не содержащих сероводород и прочие
агрессивные компоненты.
Состоит из двух закрытых обогреваемых
блоков: замерно-переключающего и блока управления.
Оба блока смонтированы в утепленных
помещениях на специальных рамных основаниях, обеспечивающих удобную
транспортировку установки.
В замерно-переключающем блоке размещается
многоходовой переключатель скважин ПСМ-4, гидравлический привод ГП-1, поршневые
отсекающие клапаны КПР-1, устройство для измерения дебита нефти типа
"Импульс" с гидроциклонным сепаратором, регулятором давления и
турбинным расходомером ТОР-1, газовый счетчик "Агат", датчик
влагомера УВН-1, дозирующий насос НД-0,5Р10 для подачи реагента.
В блоке управления размещаются блок
местной автоматики и индикации, силовой блок, устройство, фиксирующее
количество газа, жидкости и чистой нефти, устройство, регистрирующее на
перфоленте номер групповой установки и номер скважины, время измерения,
суммарные данные измерений, состояние объекта, измерительный блок влагомера,
электронный блок и блок питания счетчика нефти, регистратор счетчика газа, блок
телемеханики.
Установка рассчитана на работу при
температуре окружающей среды от - 55 до +55°С и относительной влажности воздуха
до 80 %.
Техническая характеристика "Спутника
Б-40-14-400" приведена ниже.
Число подключенных скважин 14
Рабочее давление, Мпа 4
Пределы измерения по жидкости, м3/сут
5-400
Пределы измерения по газу, м3/ч
до 500
Относительная погрешность измерения, %
по водонефтяной смеси ±2,5
по нефти ±4
по газу ±6
Пропускная способность установки, м3/сут 4000
Суммарная установленная мощность
электроприемников, В, не более 10
Напряжение электрических цепей
электроприемников, В 380/220
Температура воздуха в
замерно-переключающем блоке
и щитовом помещении,°С 5-50
Габаритные размеры, мм:
замерно-переключающего блока
8350х3200х2710
блока управления 3100х2200х2500
Масса, кг:
замерно-переключающего блока 10000
блока управления 2 000
Установка работает следующим образом
(рисунок 2.8).
Продукция скважин по выкидным линиям 1,
последовательно проходя через обратный клапан 4, задвижку 2, поступает в
переключатель скважин 3. В переключателе продукция одной скважины через
замерный патрубок и поршневой отсекающий клапан КПР-1 5 направляется в замерный
сепаратор 7 устройства "Импульс", где газ отделяется от жидкости.
Продукция остальных скважин, пройдя через поршневой отсекающий клапан КПР-1 6,
поступает в сборный коллектор II.
Выделившийся в сепараторе 7 газ проходит
через датчик 12 расходомера "Агат 1П", заслонку 11 и далее поступает
в сборный коллектор, где смешивается с общим потоком.
Жидкость направляется в нижнюю полость сепарационной
емкости и за счет избыточного давления, поддерживаемого заслонкой 11,
продавливается через турбинный счетчик нефти 8, регулятор расхода 9 и датчик
влагомера 10 в сборный коллектор.
Регулятор расхода 9 и заслонка 11,
соединенная тягами с осью поплавка, обеспечивает циклическое прохождение
жидкости через счетчик 8 с постоянными скоростями, что позволяет измерять дебит
скважин в широком диапазоне с малыми погрешностями.
Рисунок 2.8 - Принципиальная схема установки
"Спутник Б-40-14-400" II, III - сборный коллектор
-выкидные линии; 2-задвижка; 3 -
переключатель скважин; 4 - обратный клапан; 5, 6 - отсекающий клапан КПР-1; 7 -
замерный сепаратор; 8 - счетчик; 9 - регулятор расхода; 10 - датчик влагомера;
11 - заслонка; 12 - датчик расходомера; 13 - блок для реагента
При раздельном сборе безводной и
обводненной нефтей скважины поочередно подключаются к ПСМ. В этом случае
продукция скважин, подающих безводную нефть, направляется в обводную линию 1 и
далее в коллектор безводной нефти III, а продукция скважин, подающих
обводненную нефть, поступает в переключатель скважин ПСМ и затем в коллектор
обводненной нефти II. Дебит каждой из этих скважин измеряется описанным выше
способом. Переключение скважин с обводной линии на переключатель скважин ПСМ и
обратно осуществляется вручную.
На установке предусмотрена возможность
подачи химреагентов в коллектор обводненной нефти. Для этой цели в
замерно-переключающем блоке смонтирован дозировочный насос типа НД-0,5Р 10/100
с блоком для реагента 13.
Установка "Спутник Б" оснащена приборами контроля,
управления и автоматического регулирования, поставляемыми комплектно с
установкой-манометром ОБМ, электроконтактным манометром ВЭ-16, регуляторами
уровня и расхода, счетчиком нефти турбинным ТОР-1, счетчиком газа турбинным
АГАТ-Ш, влагомером УВН-2МС, гидравлическим приводом ГП-1, соленоидным клапаном
КСП-4, поршневым разгруженным клапаном KJIP-1, блоком управления и индикации
БУИ.
Комплекс приборов обеспечивает:
автоматическое измерение количества
жидкости, нефти и газа;
контроль за работой скважин по подаче
жидкости;
разделительный сбор обводненной и
необводненной нефти;
подачу реагента в поток;
автоматическую блокировку скважин и
установки при отклонении давления от нормального в общем коллекторе или по
команде с диспетчерского пульта.
При отклонении давления в сборном
коллекторе от допускаемого отсекающие клапаны 5 и 6 по команде с БУИ
перекрывают замерную и рабочую линии. При этом обесточивается пилотный клапан
КСП-4 гидропривода и отсекающие клапаны под действием пружин перекрывают
сечения указанных коллекторов. При срабатывании отсекателей в выкидных линиях
скважин повышается давление, и скважины останавливаются: фонтанные отсекателями
установленными на выкидной линии, механизированные - за счет отключения
электропривода.
2.3
Требования и рекомендации к системе сбора, транспорта и подготовки нефти
В период пробной эксплуатации сбор и транспорт продукции
планируется проводить по лучевой герметизированной напорной системе: пласт -
скважина - выкидная линия - пункт сбора нефти (ПСН).
Для проведения первичной подготовки предусматривается:
. автоматизированная групповая замерная установка
(АМ40-10-400) - 2ед. и (АМ40-8-400) - 1ед.
2. печи подогрева эмульсии типа ППНП1-3,7-6,3 - 1 ед.
. резервуар для пластовой воды (V-100 м3) -
2 ед.
. резервуар для нефти (V-1000 м3) - 2 ед.
. добавка реагента через дозатор (БР-2,5) - 1ед.
. трехфазный сепаратор (НГСВ) - 1 ед.
. газосепаратор - 1 ед.
. горизонтальный отстойник (ОГ100ПК-1-1) - 1 ед.
. отстойник с патронным фильтром (ОПФ-3000) - 1 ед.
. концевая сепарационная установка (КСУ-25) - 1 ед.
. электродегидратор (ЭГ-100-16СК) - 1 ед.
Подготовка нефти в период пробной эксплуатации рекомендуется
производить следующим образом:
Сбор сырой нефти на месторождении со скважин осуществлять по
лучевой герметизированной однотрубной системе на автоматизированные групповые
замерные установки (АГЗУ), откуда после замера нефтяная эмульсия по
нефтесборному коллектору поступает в трехфазный сепаратор, где происходит предварительное
разделение нефти, газа и воды. Отделенную нефть с помощью насоса откачивают
через блок подогрева нефти, затем она поступает в горизонтальный отстойник для
обезвоживания, далее через электродегидратор для окончательного обезвоживания,
поступает в концевую сепараторную установку. Для накопления товарной нефти
предусмотрен резервуар РВС-1000 (общим объёмом 2000 м3). С нефтяного
резервуара сырая нефть с помощью насосного агрегата через наливной стояк
откачивается и транспортируется на автоцистернах.
Разделенный от жидкости газ отводится в газосепаратор, после
которого газ подается на печи подогрева нефти. Отделенная вода от трехфазного
сепаратора, от горизонтального отстойника, от электродигидратора и от КСУ
поступает в отстойник с патронным фильтром (ОПФ-3000), где производится очистка
воды от пленки нефти и мех примесей. Нефть, уловленная в отстойнике ОПФ-3000,
сбрасывается в подземную емкость ЕПП-40, оборудованную погружным
электронасосом, откуда периодически откачивается в общий коллектор перед сепараторами.
Подготовленная пластовая вода из ОПФ-3000 поступает в
резервуары пластовой воды РВС-100, оттуда пластовая вода будет использоваться
для нагнетания пласт с помощью центробежных насосов.
Для ускорения процесса деэмульсации нефти в поток жидкости
перед трехфазным сепаратором вводится деэмульгатор из блока дозирования хим.
реагента БР-2,5.
Для защиты насосного и других видов оборудования от
механических примесей необходимо установить сетчатые фильтры типа
"СДЖ" на выкидных линиях, после АГЗУ и перед трехфазным сепаратором.
Выделивший конденсат (шлам) вывозится автотранспортом на полигон.
2.4 Расчет
штанг верхнеприводных винтовых насосов
При выполнении прочностного анализа сначала рассматривается
идеальная, т.е. не имеющая отклонений геометрических параметров и
концентраторов напряжений штанга. Затем оценивается влияние на прочность ШНВ
некоторых из указанных факторов при их значениях, допускаемых ГОСТ 13877-80.
после этого рассмотривается вопрос о допустимых значениях геометрических
отклонений из условий прочности типовой компоновки колонны насосных штанг.
Для прочности сопротивления разрушению любой конструкции
относится:
сохранение первоначальной формы до предельного состояния
материала, обусловливающего разрушение конструкции либо при однократном (статическая
прочность), либо при циклическом (усталость) нагружении;
предварительная потеря первоначальной формы конструкции при
достижении некоторой комбинацией нагрузок критического состояния,
обусловливающего потерю устойчивости состояния (или формы) и последующее
разрушение.
Обычно в тонких (или тонкостенных) элементах конструкции
реализуется второй аспект, т.е. потеря устойчивости происходит намного раньше
исчерпания прочностных резервов материала, что является недостатком (часто
неизбежным) конструкций.
Вначале с позиций статической прочности и устойчивости рассмотрим
вопрос о несущей способности идеальной насосной штанги, находящейся на
прямолинейном участке скважины, нагруженной осевой нагрузкой и крутящим
моментом
.
Условие прочности ШНВ (по критерию текучести) при растяжении и
кручении имеет вид:
где
- осевая нагрузка, при приложении которой
напряжения в штанге достигают предела текучести материала
(при условии
=0);
- крутящий момент, при приложении которого напряжения в штанге
достигают предела текучести
(при условии Q = 0).
- площадь
поперечного сечения ШНВ;
- полярный момент сопротивления сечения.
В результате вычислений для ШНВ-22 имеем:
F = 380 мм2;
= 148,2 кН;
= 2,09 см3;
= 470,3 НÌм.
Особенность рассматриваемой новой конструкции насосной штанги
состоит в том, что потеря устойчивости прямолинейной формы колонны штанг
возможна только между опорами (муфтами), т.е. только на длине одной штанги.
При действии на штангу осевой нагрузки Q и крутящего
момента
условие устойчивости, определяющее
критическую комбинацию Q и
имеет вид:
где l - длина штанги;
Е - модуль
упругости материала;
- осевой момент инерции сечения.
Знаки плюс и минус соответствуют осевой сжимающей и осевой
растягивающей нагрузке.
Для случая, когда Q и
являются известными величинами, из приведенного условия
устойчивости можно найти критическую (соответствующую потере устойчивости)
длину штанги:
Из общего условия устойчивости, полагая МК=0,
получаем выражения для критических значений нагрузочных факторов при их
одиночном положении: при МК=0 и осевом сжатии:
при Q=0 и кручении

Для насосной штанги ШНВ-22 имеем: IИ = 1,15ּ104мм; Е
= 2,1ּ105 МПа и при l = 4,5 м получаем QКР = 1,18
кН; (МК) КР = 3372 НÌ м.
Таким образом, из представленных расчетов следует, что для
ШНВ-22 при sТ = 390 МПа и l = 4,5 м фактором, определяющим
разрушение при действии осевой сжимающей нагрузки, является устойчивость, при
действии крутящего момента - статическая прочность.
Критические значения крутящего момента и осевой сжимающей
нагрузки зависят от длины штанги, а именно: чем меньше длина, тем больше
значения указанных параметров. При этом (МК) КР
возрастает пропорционально уменьшению l, QКР -
пропорционально уменьшению l2.
Отсюда следует целесообразность уменьшения длины насосной
штанги, поскольку в нижней части колонны ШНВ может оказаться в сжатом
состоянии, потеряет устойчивость, примет искривленную форму и вследствие
вращения будет подвергаться воздействию переменных (циклических) напряжений. По
этой причине может возникнуть опасность усталостного разрушения, что,
по-видимому, и является в настоящее время главным фактором массового разрушения
насосных штанг при работе с верхнеприводными винтовыми насосами.
Вместе с тем уменьшенная длина штанги приведет к усложнению
колонны и, следовательно, к повышению ее стоимости и снижению надежности как
более сложной системы с последовательно соединенными звеньями. Кроме того, при
любом изменении длины штанги должна обеспечиваться компоновка свечи длиной
примерно 9 м. Это обусловлено длиной стеллажей для подземного ремонта скважин и
удобством их эксплуатации в процессе выполнения спускоподъемных операции.
На основании вышеизложенного считаем наиболее целесообразным
принять длину штанги для работы с верхнеприводными винтовыми насосами l @ 4,5 м. Такая штанга
обеспечивает более чем в три раза большую устойчивость колонны по сравнению со
стандартной ШН с длиной l @ 8 м и вполне
удовлетворяет всем другим указанным выше условиям.
Расчет резьбового соединения сводится к численному
интегрированию соответствующей системы дифференциальных уравнений четвертого
порядка. Эти уравнения выражают условия равновесия и совместимости
деформирования резьб насосной штанги и муфты при осевой растягивающей нагрузке.
Численной интегрирование указанной системы дифференциальных
уравнений осуществлялось методом двухсторонней матричной прогонки с
использованием специально разработанной для этого ПЭВМ-программы. В результате
работы ПЭВМ-программы получаем в табличной форме распределение по длине резьбы
усилия t, приходящегося на единицу длины нарезанной поверхности,
нормальных усилий в штанге Nш и муфте Nм, а
также распределение взаимных смещений штанги Uш и муфты Uм
в осевом направлении.
Представленный расчет относится в ШНВ-22 из стали 20ХН2М по
ГОСТ 43-71 с резьбой Ш22, выполненной по ГОСТ 13877-80, нагруженной допускаемой
осевой растягивающей нагрузкой:
где n - коэффициент запаса прочности.
При отсутствии нормативного документа, регламентирующего порядок
расчета и нормы прочности для насосных штанг, работающих с винтовыми насосами,
величина n = 1,45 принята как для колонны бурильных труб при роторном
бурении наклонно направленной скважины в неосложненных условиях. Нагрузка на
витки резьбы существенно неравномерна. Наиболее нагруженным является первый
виток резьбы со стороны тела штанги. Нагрузка, приходящаяся на этот виток,
составляет:
где S - шаг резьбы Ш22, S = 2,54 мм. Средняя
нагрузка на виток резьбы равна:
где m - число витков резьбы, m = 10. Таким образом,
"перегрузка" первого витка составляет:
Кп1=17,13/10,22=1,676,
где Кп1 - коэффициент перегрузки.

Нагрузка среза витка резьбы приближенно может быть вычислена по
формуле:
где d1 - наружный диаметр резьбы муфты;
D1 - ширина
витка резьбы штанги по линии диаметра в сборе.
Для ШНВ-22

Допускаемая нагрузка на срез при коэффициенте запаса n = 1,45
составит:

Таким образом, допускаемая нагрузка на срез превышает нагрузку на
наиболее нагруженный первый виток резьбы, соответствующую допускаемой нагрузке
на тело штанги. Следовательно, для ШНВ-22 можно считать, что условия
статической прочности резьбового соединения и его соответствия телу штанги
выполняются.
Перекос и несоосность крепления соединительного элемента (головки)
насосной штанги являются типичными, точнее говоря, неизбежными геометрическими
несовершенствами (ГН) или отклонениями параметров, допустимые значения которых
нормируются ГОСТ 13877-80.
Как известно, при растяжении штанги указанные геометрические
несовершенства вызывают значительные по величине дополнительные изгибные
напряжения или концентрацию напряжений и деформаций около соединительных
элементов, что обусловливает повышенный усталостный износ насосных штанг на
приконцевых участках.
Под перекосом здесь понимается пересечение под углом осей штанги и
резьбы соединительного элемента.
Максимальный изгибающий момент (МИ) мах,
возникающий в зоне перекоса осей штанги и соединительного элемента при
растяжении штанги усилием Qp, рассчитывается по формуле:

где a - угол перекоса, рад;
Согласно ГОСТ 13877-80 для ШН-22 при практическом отсутствии
несоосности можно принять в качестве допустимого угла перекоса:
a = 1,5/
(200-55) =10,345Ì10-3 рад,
где 200 мм - база измерения;
мм - длина резьбового соединения штанги, включая упорный бурт.
b = 6,505 м-1,
тогда (МИ) = 162,53 НÌм.
Соответствующие изгибающие напряжения составляют:
(sИ) мах = (МИ) мах
/ WИ; (sИ) мах=155,5 МПа,
где WИ - момент сопротивления штанги:
WИ = 2IИ/d; WИ = 1,045 см3,где
d - диаметр штанги.
Растягивающие напряжения при нагрузке
Равны
Коэффициент концентрации запаса статической прочности (по условию
текучести) при наличии рассматриваемого перекоса осей штанги и соединительного
элемента равен:
Таким образом, ориентируясь при расчете колонны насосных штанг на
запас прочности по нормальным растягивающим напряжениям n=1,45, за счет
возможного угла перекоса фактически получаем по суммарным (растяжение + изгиб)
напряжениям n<1,0. Следовательно,
допускаемый по ГОСТ 13877-80 угол перекоса, по существу, нельзя признать
обоснованным и допустимым.
Поскольку на данном этапе изменить рассматриваемое положение ГОСТ
13877-80 не представляется возможным, при расчете колонны ШНВ следует ввести
соответствующую корректировку величины допускаемой нагрузки на растяжение.
Под несоосностью здесь понимается параллельное смещение осей штанги
и резьбы соединительного элемента.
Максимальный изгибающий момент, возникающий в зоне соединения
штанги и соединительного элемента при растяжении штанги усилием QP,
рассчитывается по формуле:
где d - величина несоосности;
b - половина
длины резьбового соединения двух штанг в сборе.
Согласно ГОСТ 13877-80 для ШН-22 при практическом отсутствии
перекоса можно принять в качестве допустимой несоосность d = 1,5 мм.
=90/2+13=58
мм,
где 90 - длина муфты ШН, мм;
- длина (ширина) упорного бурта, мм.
Далее, как в предыдущем расчете, получаем:
Таким образом, и с точки зрения влияния несоосности, допускаемой
по ГОСТ 13877-80, величина этого дефекта не может быть признана обоснованной и
допустимой. Вывод, сделанный в разделе "перекос", остается
справедливым и для данного случая.
Расчет параметров переходной зоны от тела штанги к соединительному
элементу производится на основе уравнений статистической теории подобия
усталостного разрушения С.В. Серенсена и В.П. Когаева и методики, разработанной
применительно к расчету на усталость бурильных труб.
Расчету подлежат два сечения: слева и справа от переходного бурта.
Последовательность расчета следующая.
2.5.1 Òåîðåòè÷åñêèé
êîýôôèöèåíò
êîíöåíòðàöèè
íàïðÿæåíèé ðàññ÷èòûâàåòñÿ
ïî ôîðìóëå
ãäå


ãäå D - äèàìåòð
áóðòà;
d - äèàìåòð
òåëà øòàíãè;
r - ðàäèóñ
ãàëòåëüíîãî
ïåðåõîäà.
2.5.2 Òåîðåòè÷åñêèé
êîýôôèöèåíò
êîíöåíòðàöèè
íàïðÿæåíèé êîððåêòèðóåòñÿ
ñ ó÷åòîì îãðàíè÷åííîé
äëèíû øèðèíû
áóðòà

ãäå
- ïîïðàâî÷íûé
êîýôôèöèåíò.
2.5.3 Îòíîñèòåëüíûé
ãðàäèåíò íàïðÿæåíèé
â çîíå èõ ìàêñèìàëüíîé
êîíöåíòðàöèè
âû÷èñëÿåòñÿ
ïî ôîðìóëå

2.5.4 Îòíîøåíèå
ýôôåêòèâíîãî
êîýôôèöèåíòà
êîíöåíòðàöèè
è ìàñøòàáíîãî
ôàêòîðà, à òàêæå
êàæäûé èç óêàçàííûõ
ïàðàìåòðîâ â îòäåëüíîñòè
ðàññ÷èòûâàþòñÿ
òàêèì îáðàçîì:

ãäå gs - ïîñòîÿííàÿ
ìàòåðèàëà, õàðàêòåðèçóþùàÿ
÷óâñòâèòåëüíîñòü
ê êîíöåíòðàöèè
íàïðÿæåíèé.
Êîýôôèöèåíò
ÊsÄ=s-1/s-1Ä, õàðàêòåðèçóþùèé
ñíèæåíèå ïðåäåëà
âûíîñëèâîñòè
äåòàëè (øòàíãè)
/s-1Ä ïî ñðàâíåíèþ
ñ ïðåäåëîì âûíîñëèâîñòè
îáðàçöà s-1 çà ñ÷åò âëèÿíèÿ
âñåõ ôàêòîðîâ
(êîíöåíòðàöèÿ
íàïðÿæåíèé, ìàñøòàáíûé
ôàêòîð, ÷óâñòâèòåëüíîñòü
ìàòåðèàëà, êà÷åñòâî
ïîâåðõíîñòè)
âû÷èñëÿåòñÿ
ïî ôîðìóëàì:

äëÿ çîíû êîíöåíòðàöèè
íàïðÿæåíèé

äëÿ òåëà øòàíãè,
ãäå bï - êîýôôèöèåíò
êà÷åñòâà ïîâåðõíîñòè.

Îòíîøåíèå
çàïàñîâ ïî ñîïðîòèâëåíèþ
óñòàëîñòè ðàññìàòðèâàåìîãî
ñå÷åíèÿ â ïåðåõîäíîé
çîíå (èíäåêñ
"Ï") è òåëà øòàíãè
(èíäåêñ "Ø") ðàññ÷èòûâàåòñÿ
ïî âûðàæåíèþ:
Ïðèçíàêîì äîñòàòî÷íîé
ïðî÷íîñòè ðàññìàòðèâàåìûõ
ñå÷åíèé ïî îòíîøåíèþ
ê òåëó òðóáû ÿâëÿåòñÿ
âûïîëíåíèå óñëîâèÿ
n>1.
Äëÿ ñå÷åíèÿ
îêîëî áóðòà ñî
ñòîðîíû ñîåäèíèòåëüíîãî
ýëåìåíòà èìååì:
D = 43 ìì;
S = 27 ìì (ñòîðîíà
êâàäðàòà); dñð
= 34,38 ìì (ñðåäíèé
äèàìåòð îêðóæíîñòè,
ðàâíûé ïî äëèíå
ïåðèìåòðó êâàäðàòà);
r = 3,0 ìì; l = 6 ìì (äëèíà
èëè øèðèíà áóðòà);
xsl = 0,71;
= 3280,5 ìì3;
= 1045,4 ìì3;
= 0,903;
= 0,7 (ïîâåðõíîñòü,
íå îáðàáîòàííàÿ
ïîñëå ïðîêàòà).
Äëÿ ñå÷åíèÿ
îêîëî áóðòà ñî
ñòîðîíû øòàíãè
(íà÷àëî ãàëòåëüíîãî
ïåðåõîäà) ïîëó÷àåì:
D = 43 ìì; dØ =22 ìì;
lá = 6 ìì; r = 40 ìì;
xsl = 1;
=
;
=0,903;
=0,7.
Òàêèì îáðàçîì,
ïî ðàññìîòðåííîìó
êðèòåðèþ ìåíåå
ïðî÷íûì ÿâëÿåòñÿ
ñå÷åíèå ïî íà÷àëó
ãàëòåëüíîãî
ïåðåõîäà îò òåëà
øòàíãè ê áóðòó,
íî, òåì íå ìåíåå,
ïðî÷íîñòü ýòîãî
ñå÷åíèÿ (ñîïðîòèâëåíèå
óñòàëîñòè) ïðàêòè÷åñêè
ðàâíà ïðî÷íîñòè
òåëà øòàíãè.
Èç ïðîâåäåííîãî
àíàëèçà ñëåäóåò,
÷òî âûáðàííûå
äëÿ ðàáîòû ñ âåðõíåïðèâîäíûìè
íàñîñàìè äëèíà
íàñîñíûõ øòàíã,
ðàâíàÿ 4,5 ì, ðåçüáîâîå
ñîåäèíåíèå, ïåðåõîäíûå
çîíû îò ãîëîâêè
ê òåëó øòàíãè,
âûïîëíåííûå ïî
ÃÎÑÒ 13877-80, óäîâëåòâîðÿþò
óñëîâèÿì ïðî÷íîñòè,
ò.å. èõ ïðî÷íîñòü
íå íèæå ïðî÷íîñòè
òåëà øòàíãè.
Äîïóñêàåìûå
âûøåóêàçàííûì
ÃÎÑÒîì ïåðåêîñ
è íåñîîñíîñòü
êðåïëåíèÿ ñîåäèíèòåëüíûõ
ýëåìåíòîâ ê òåëó
øòàíãè ïðèâîäÿò
ê ñóùåñòâåííîìó
ñíèæåíèþ ïðî÷íîñòè
íàñîñíîé øòàíãè,
òî÷íåå ãîâîðÿ
- ê óìåíüøåíèþ
åå íåñóùåé ñïîñîáíîñòè.
3. Ýêîíîìè÷åñêàÿ
÷àñòü
3.1 Ýêîíîìè÷åñêèå
îñíîâû êîíñòðóèðîâàíèÿ
Ðåøàÿ çàäà÷è
êîíñòðóèðîâàíèÿ
îáîðóäîâàíèÿ,
íåëüçÿ îáîéòèñü
áåç ýêîíîìè÷åñêîé
îöåíêè ïðèíèìàåìûõ
ðåøåíèé.
Äëÿ îïðåäåëåíèÿ
ýêîíîìè÷åñêîé
ýôôåêòèâíîñòè
îáîðóäîâàíèÿ
íåîáõîäèìî îöåíèòü
åãî êàê îáúåêò
ïðîèçâîäñòâà
è êàê îáúåêò ýêñïëóàòàöèè.
Çà áàçó ñðàâíåíèÿ
áåðóò ëó÷øèå
îáðàçöû ñóùåñòâóþùåé
îòå÷åñòâåííîé
è çàðóáåæíîé
òåõíèêè ïî èäåíòè÷íûì
òåõíîëîãè÷åñêèì
ïðîöåññàì. Ãëàâíûå
ïàðàìåòðû ñðàâíèâàåìîãî
îáîðóäîâàíèÿ
äîëæíû ñîâïàäàòü
ïî âåëè÷èíå. Òîëüêî
ïðè ðàñøèðåíèè
îáëàñòè ïðèìåíåíèÿ
èçâåñòíûõ ìàøèí
äàííîãî íàçíà÷åíèÿ
äîïóñêàåòñÿ
ðàçëè÷èå ãëàâíûõ
ïàðàìåòðîâ ñðàâíèâàåìîãî
îáîðóäîâàíèÿ.
Êàê îáúåêò
ïðîèçâîäñòâà
íîâóþ êîíñòðóêöèþ
îöåíèâàþò ïî
òðóäîåìêîñòè
èçãîòîâëåíèÿ
(îáùåé, ñòðóêòóðíîé)
è óäåëüíîé ìàòåðèàëîåìêîñòè
(îáùåé è ñòðóêòóðíîé
ìàòåðèàëîåìêîñòè,
êîýôôèöèåíòó
èñïîëüçîâàíèÿ
ìàòåðèàëà), ìàññå
(îáùåé è îòíîñèòåëüíîé),
ñåáåñòîèìîñòè
ìàøèíû, îïðåäåëÿåìîé
íà ïðåäïðîåêòíîé
è ïðîåêòíîé ñòàäèÿõ
åå ñîçäàíèÿ, à
òàêæå ïî öåíàì
îáîðóäîâàíèÿ
(âåðõíåãî è íèæíåãî
ïðåäåëîâ ïëàíîâîé
îïòîâîé öåíû,
ëèìèòíîé öåíû).
Îáùàÿ òðóäîåìêîñòü
èçãîòîâëåíèÿ
ïðåäñòàâëÿåò
ñîáîé ñóììó
çàòðàò òðóäà
(ïî íîðìàì âðåìåíè)
íà èçãîòîâëåíèå
ìàøèíû. Íà ïðåäïðîåêòíîé
ñòàäèè îïðåäåëèòü
åå ñëîæíî.
Ñòðóêòóðíàÿ
òðóäîåìêîñòü
- ñóììà çàòðàò
òðóäà íà îòäåëüíûõ
òåõíîëîãè÷åñêèõ
ýòàïàõ (ëèòüå,
êóçíå÷íàÿ ïðîäóêöèÿ,
ïðè ìåõàíè÷åñêîé,
òåðìè÷åñêîé
îáðàáîòêå, ñáîðêå
è ò.ä.).
Óäåëüíóþ òðóäîåìêîñòü
èçãîòîâëåíèÿ
îïðåäåëÿþò îòíîøåíèå
îáùåé ñóììû òðóäîçàòðàò
íà èçãîòîâëåíèå
âñåé ìàøèíû ê
âåëè÷èíå êàêîãî-ëèáî
õàðàêòåðíîãî
ïàðàìåòðà. Åñòåñòâåííî,
÷òî òàêîé ìåòîä
îïðåäåëåíèÿ òðóäîåìêîñòè
íåòî÷åí, òàê êàê
îí íå ó÷èòûâàåò
ìàññû êîìïëåêòóþùèõ
èçäåëèé è ïðî÷èå
ôàêòîðû.
Ìàòåðèàëîåìêîñòü
â çíà÷èòåëüíîé
ìåðå çàâèñèò
îò ïðèìåíÿåìîé
òåõíîëîãèè ïðîèçâîäñòâà,
ìàññû ìàøèíû
- îò ñîâåðøåíñòâà
åå êîíñòðóêöèè.
Ñíèæåíèÿ ìàññû
ìàøèíû è ìåòàëëîåìêîñòè
ìîæíî äîñòè÷ü
ïðàâèëüíûì ïîäáîðîì
ïîïåðå÷íûõ ñå÷åíèé
äåòàëåé, îñíîâàííûì
íà ñîîòâåòñòâóþùåì
ðàñ÷åòå ïðî÷íîñòè
è æåñòêîñòè.
Öåíû íà ïðîåêòèðóåìóþ
ìàøèíó îïðåäåëÿþò
íà îñíîâå äàííûõ
ïî áàçîâîé ìàøèíå.
Ïëàíîâàÿ öåíà
íàõîäèòñÿ ìåæäó
íèæíåé è âåðõíåé
ïëàíîâûìè îïòîâûìè
öåíàìè è îïðåäåëÿåòñÿ
ïî îòðàñëåâîé
ñåáåñòîèìîñòè
ìàøèíû ñ ó÷åòîì
ïðèáûëè.
Ëèìèòíàÿ öåíà
ïðèìåðíî ðàâíà
80 % îò òîé öåíû, ïðè
êîòîðîé ýêîíîìè÷åñêèé
ýôôåêò îò ïðèìåíåíèÿ
ïðîåêòèðóåìîé
ìàøèíû ñòàíîâèòñÿ
ðàâíûì íóëþ. Òàêèì
îáðàçîì, ýòî íàèáîëüøàÿ
èç äîïóñòèìûõ
öåí ïðîåêòèðóåìîãî
îáîðóäîâàíèÿ.
Êîýôôèöèåíò
ýêñïëóàòàöèîííîé
òðóäîåìêîñòè
- ýòî îòíîøåíèå
îáúåìà òðóäîçàòðàò
íà ðåìîíòû îáîðóäîâàíèÿ
çà âåñü ñðîê åãî
ñëóæáû ê îáùåé
òðóäîåìêîñòè
âûïóñêà ýòîãî
îáîðóäîâàíèÿ.
Êîýôôèöèåíò
ýêñïëóàòàöèîííîé
ìàòåðèàëîåìêîñòè
- ýòî îòíîøåíèå
ñóììàðíîé ìàññû
ñìåííûõ ÷àñòåé,
ðàñõîäóåìûõ
ïðè ðåìîíòàõ
ìàøèíû çà âåñü
ñðîê åå ñëóæáû,
ê îáùåé ìàññå
ìàøèíû.
Êîýôôèöèåíò
ýêñïëóàòàöèîííîé
ðåìîíòîåìêîñòè
îïðåäåëÿåòñÿ
ïî ïîäîáíîìó
îòíîøåíèþ ñóììû
çàòðàò íà ðåìîíòû
ê ñòîèìîñòè ìàøèíû.
Ðåíòàáåëüíîñòü
ìàøèíû âûðàæàåòñÿ
îòíîøåíèåì ñòîèìîñòè
ïðîäóêöèè ìàøèíû
ê ñóììå ðàñõîäîâ
(çà îäèí è òîò
æå ïåðèîä âðåìåíè).
Âî âñåõ ñëó÷àÿõ
ðåíòàáåëüíîñòü
äîëæíû ïðåâûøàòü
åäèíèöó.
Ñðîê îêóïàåìîñòè
îïðåäåëÿåòñÿ
êàê ïåðèîä ñëóæáû
ìàøèíû, çà êîòîðîé
ýêîíîìè÷åñêèé
ýôôåêò îò åå ðàáîòû
áóäåò ðàâåí ñòîèìîñòè
ìàøèíû.
 íåôòåäîáûâàþùåé
ïðîìûøëåííîñòè
âñå çàòðàòû íà
ýêñïëóàòàöèþ
ìåñòîðîæäåíèé,
â òîì ÷èñëå è íà
èñïîëüçîâàíèå
ìàøèí è îáîðóäîâàíèÿ,
îòíîñÿòñÿ íà
ñåáåñòîèìîñòü
äîáûòîé íåôòè.
Ðàñ÷åòû ñðàâíèòåëüíîé
ñåáåñòîèìîñòè
ïðîäóêöèè íîâîãî
è áàçîâîãî îáîðóäîâàíèÿ
èíîãäà âûïîëíÿþòñÿ
íà ñòàäèè ðàçðàáîòêè
êîíñòðóêöèè,
à ÷àùå âñåãî ïðè
ïðîìûøëåííûõ
èñïûòàíèÿõ è
âíåäðåíèè íîâûõ
êîíñòðóêöèè
íà ïðîìûñëàõ.
Ýôôåêòèâíîñòü
èñïîëüçîâàíèÿ
ïðîåêòèðóåìîãî
îáîðóäîâàíèÿ
ìîæåò îöåíåíà
ñðàâíåíèåì ïðîåêòíîé
ñåáåñòîèìîñòè
ïðîäóêöèè è ïðèâåäåííûõ
çàòðàò ïðè íîâîì
è ýòèìè æå, íî
ôàêòè÷åñêèìè
ïîêàçàòåëÿìè
ïðè áàçîâîì îáîðóäîâàíèè.
Ýêîíîìè÷åñêèé
ýôôåêò îïðåäåëÿåòñÿ
îáû÷íî çà ãîä
óìíîæåíèåì ðàçíîñòè
ñåáåñòîèìîñòè
ïðîäóêöèè ïðè
èñïîëüçîâàíèè
áàçîâîãî è ïðîåêòèðóåìîãî
îáîðóäîâàíèÿ
íà êîëè÷åñòâî
ãîäîâîãî âûïóñêà
ïðîäóêöèè.
 áîëüøèíñòâå
ñëó÷àåâ ïðè îïðåäåëåíèè
ýêîíîìè÷åñêîãî
ýôôåêòà, îñîáåííî
íà ñòàäèè îïðåäåëåíèÿ
îæèäàåìîãî èëè
ïëàíîâîãî ýôôåêòà,
â ðàñ÷åòàõ ó÷èòûâàþò
òîëüêî òå ñòàòüè,
êîòîðûå ñóùåñòâåííî
èçìåíÿþòñÿ ïðè
èñïîëüçîâàíèè
íîâîãî îáîðóäîâàíèÿ.
Ïðè ðàçðàáîòêå
êîíñòðóêöèè
îáîðóäîâàíèÿ
íå âñåãäà èñïîëüçóþò
ïåðå÷èñëåííûå
ýêîíîìè÷åñêèå
ïîêàçàòåëè.
3.2 Ìåòîäèêà
îïðåäåëåíèÿ ýêîíîìè÷åñêîé
ýôôåêòèâíîñòè
Îñíîâíûì äîêóìåíòîì,
ðåãëàìåíòèðóþùèì
ïîðÿäîê è ïðàâèëà
îöåíêè ýêîíîìè÷åñêîé
ýôôåêòèâíîñòè
íîâîé òåõíèêè,
ÿâëÿåòñÿ "Ìåòîäèêà
îïðåäåëåíèÿ ýêîíîìè÷åñêîé
ýôôåêòèâíîñòè
èñïîëüçîâàíèÿ
íîâîé òåõíèêè,
èçîáðåòåíèé
è ðàöèîíàëüíûõ
ïðåäëîæåíèé".
Ýòà ìåòîäèêà
ïðåäíàçíà÷åíà
äëÿ:
òåõíèêî-ýêîíîìè÷åñêîãî
îáîñíîâàíèÿ
âûáîðà ëó÷øèõ
âàðèàíòîâ ïðîèçâîäñòâà
è èñïîëüçîâàíèÿ
íîâîé òåõíèêè
(îáîðóäîâàíèå,
ìàøèíû, ìåõàíèçìû,
ïðèáîðû, èíñòðóìåíòû,
ìàòåðèàëû è äð.);
îïðåäåëåíèÿ
ýêîíîìè÷åñêîé
ýôôåêòèâíîñòè
íîâîé òåõíèêè,
èçîáðåòåíèé
è ðàö. ïðåäëîæåíèé;
îïðåäåëåíèÿ
ðàçìåðà ïðåìèé
çà ñîçäàíèå è
âíåäðåíèå íîâîé
òåõíèêè è âîçíàãðàæäåíèé
çà âíåäðåíèå
èçîáðåòåíèé
è ðàö. ïðåäëîæåíèé;
ñîâåðøåíñòâîâàíèÿ
äåéñòâóþùåé
ñèñòåìû öåíîîáðàçîâàíèÿ.
Ê íîâîé òåõíèêå
îòíîñÿòñÿ âïåðâûå
ðåàëèçóåìûå
â íàðîäíîì õîçÿéñòâå
ðåçóëüòàòû íàó÷íûõ
èññëåäîâàíèé
è ïðèêëàäíûõ ðàçðàáîòîê,
ñîäåðæàùèå èçîáðåòåíèÿ
è äðóãèå íàó÷íî-òåõíè÷åñêèå
äîñòèæåíèÿ èëè
áîëåå ñîâåðøåííûå
òåõíîëîãè÷åñêèå
ïðîöåññû, ñðåäñòâà
è ïðåäìåòû òðóäà,
èñïîëüçóåìûå
â ïðîöåññå ýêñïëóàòàöèè;
ñïîñîáû îðãàíèçàöèè
òðóäà è ïðîèçâîäñòâà,
îáåñïå÷èâàþùèå
ïðè èõ èñïîëüçîâàíèè
ïîâûøåíèå òåõíèêî-ýêîíîìè÷åñêèõ
ïîêàçàòåëåé,
à òàêæå ðåøåíèÿ
ñîöèàëüíûõ è
ðÿäà äðóãèõ çàäà÷
õîçÿéñòâîâàíèÿ.
Ïðàâèëüíî
îïðåäåëèòü ýêîíîìè÷åñêóþ
ýôôåêòèâíîñòü
ìîæíî òîëüêî
ñîèçìåðåíèåì
îæèäàåìûõ (èëè
ïîëó÷åííûõ) ðåçóëüòàòîâ
îò ïëàíèðóåìûõ
ìåðîïðèÿòèé ñ
íåîáõîäèìûìè
äëÿ ýòîãî çàòðàòàìè.
Ïðè ýòîì ñëåäóåò
ðàçëè÷àòü ïîíÿòèÿ
"ýôôåêò" è "ýôôåêòèâíîñòü".
Ýôôåêòîì íàçûâàþò
êîíå÷íûé ïðîèçâîäñòâåííûé
ðåçóëüòàò - ïîâûøåíèå
ïðîèçâîäèòåëüíîñòè
òðóäà è ò.ï.
Ýôôåêòèâíîñòü
- ýòî îòíîøåíèå
âåëè÷èíû ýôôåêòà
ê âåëè÷èíå çàòðàò,
îáóñëîâèâøèõ
åãî ïîëó÷åíèå.
Ñëåäîâàòåëüíî,
ýôôåêòèâíîñòü
- âåëè÷èíà îòíîñèòåëüíàÿ.
Îñíîâíûì êðèòåðèåì
íå òîëüêî òåõíè÷åñêîãî,
íî è îáùåñòâåííîãî
ðàçâèòèÿ ñòðàíû
ÿâëÿåòñÿ óðîâåíü
ïðîèçâîäèòåëüíîñòè
òðóäà, ïîýòîìó
è ýêîíîìè÷åñêàÿ
ýôôåêòèâíîñòü
êàïèòàëüíûõ
âëîæåíèé è íîâîé
òåõíèêè äîëæíà
ðàññìàòðèâàòüñÿ
ñ òî÷êè çðåíèÿ
äîñòèãàåìîé
ïðîèçâîäèòåëüíîñòè
è ýêîíîìèè â çàòðàòàõ
îáùåñòâåííîãî
òðóäà.
Îñíîâíûìè
äåíåæíûìè ïîêàçàòåëÿìè
äëÿ ðàñ÷åòà ýêîíîìè÷åñêîé
ýôôåêòèâíîñòè
ÿâëÿþòñÿ îáùèå
êàïèòàëüíûå
âëîæåíèÿ è óäåëüíûå
âëîæåíèÿ íà åäèíèöó
ïðîäóêöèè, ýêñïëóàòàöèîííûå
ðàñõîäû è ñåáåñòîèìîñòü
åäèíèöû ïðîäóêöèè.
 êàïèòàëüíûå
çàòðàòû âêëþ÷àþòñÿ
âñå äåíåæíûå
ðàñõîäû íà ñòðîèòåëüñòâî
íîâûõ, à òàêæå
íà ðàñøèðåíèå,
ðåêîíñòðóêöèþ
è ìîäåðíèçàöèþ
äåéñòâóþùèõ
îñíîâíûõ ôîíäîâ.
Óäåëüíûìè êàïèòàëüíûìè
âëîæåíèÿìè íàçûâàþò
êàïèòàëüíûå
çàòðàòû, îòíåñåííûå
íà åäèíèöó ïðîäóêöèè.
Ê ýêñïëóàòàöèîííûì
îòíîñÿòñÿ ðàñõîäû
íà çàðàáîòàííóþ
ïëàòó ñ íà÷èñëåíèÿìè,
òîïëèâî, ýëåêòðîýíåðãèþ,
ìàòåðèàëû, àìîðòèçàöèþ
è ïðî÷èå.
Ðàñ÷åòû ýêîíîìè÷åñêîé
ýôôåêòèâíîñòè
äîëæíû îáÿçàòåëüíî
äîïîëíÿòüñÿ àíàëèçîì
êà÷åñòâåííûõ
è êîëè÷åñòâåííûõ
íàòóðàëüíûõ
ïîêàçàòåëåé.
Ê ÷èñëó íàòóðàëüíûõ
ïîêàçàòåëåé
îòíîñÿòñÿ ïðîèçâîäèòåëüíîñòü
òðóäà, ñòåïåíü
èñïîëüçîâàíèÿ
îñíîâíûõ ôîíäîâ,
íàäåæíîñòü, êà÷åñòâî
ïðîäóêöèè, ðàñõîä
òîïëèâà, ýíåðãèè
è ò.ä.
Îñíîâíûì ïîêàçàòåëåì
ýêîíîìè÷åñêîé
ýôôåêòèâíîñòè
ÿâëÿåòñÿ ãîäîâîé
ýêîíîìè÷åñêèé
ýôôåêò, êîòîðûé
îïðåäåëÿåòñÿ
ñîïîñòàâëåíèåì
ïðèâåäåííûõ çàòðàò
ïî áàçîâîé è íîâîé
òåõíèêå.
Ïðèâåäåííûå
çàòðàòû ðàññ÷èòûâàþòñÿ
ïî ôîðìóëå:
Ç = Ñ + ÅíÊ
(3.1)
ãäå Ç - ïðèâåäåííûå
çàòðàòû íà åäèíèöó
ïðîäóêöèè (ðàáîòû),
òåíãå;
Ñ - ñåáåñòîèìîñòü
åäèíèöû ïðîäóêöèè
(ðàáîòû), òåíãå;
Åí - íîðìàòèâíûé
êîýôôèöèåíò
ýôôåêòèâíîñòè
êàïèòàëüíûõ
âëîæåíèé;
Ê - êàïèòàëüíûå
âëîæåíèÿ â ïðîèçâîäñòâåííûå
ôîíäû, òåíãå.
Äëÿ îáåñïå÷åíèÿ
àäåêâàòíîãî
â ìàñøòàáå âñåãî
îáùåñòâåííîãî
ïðîèçâîäñòâà
ïîäõîäà ê îöåíêå
ýêîíîìè÷åñêîé
ýôôåêòèâíîñòè
íîâîé òåõíèêè
èñïîëüçóåòñÿ
åäèíûé äëÿ âñåõ
îòðàñëåé õîçÿéñòâà
è ïðîìûøëåííîñòè
íîðìàòèâíûé
êîýôôèöèåíò
ýêîíîìè÷åñêîé
ýôôåêòèâíîñòè
êàïèòàëüíûõ
âëîæåíèé, ðàâíûé
0,15.
Âåëè÷èíà,
îáðàòíàÿ êîýôôèöèåíòó
ýôôåêòèâíîñòè
êàïèòàëüíûõ
âëîæåíèé, íàçûâàåòñÿ
ñðîêîì îêóïàåìîñòè.
Ñðîê îêóïàåìîñòè
- ïåðèîä âðåìåíè,
â òå÷åíèå êîòîðîãî
äîïîëíèòåëüíûå
êàïèòàëüíûå
âëîæåíèÿ ïî áîëåå
äîðîãîìó âàðèàíòó
îêóïÿòñÿ çà ñ÷åò
ïîëó÷àåìîé ïðè
ýòîì ýêîíîìèè
íà ýêñïëóàòàöèîííûõ
ðàñõîäàõ.
Ñðîê îêóïàåìîñòè
îïðåäåëÿåòñÿ
ïî ôîðìóëå:
Ò0 = (Ê2 - Ê1)
/ (Ñ1 - Ñ2), (3.2)
ãäå Ê1, Ê2
- êàïèòàëüíûå
âëîæåíèÿ äî è
ïîñëå âíåäðåíèÿ
íîâîé òåõíèêè,
òåíãå;
Ñ1, Ñ2 - ñåáåñòîèìîñòü
åäèíèöû ïðîäóêöèè
äî è ïîñëå âíåäðåíèÿ
íîâîé òåõíèêè,
òåíãå.
Åñëè ñðîê îêóïàåìîñòè
íîâîé òåõíèêè
âûøå íîðìàòèâíîãî,
òî îíà, êàê ïðàâèëî,
íå èñïîëüçóåòñÿ,
çà èñêëþ÷åíèåì
ñëó÷àåâ, êîãäà
ýòà íîâàÿ òåõíèêà
óëó÷øàåò óñëîâèÿ
òðóäà, òåõíèêó
áåçîïàñíîñòè,
ñàíèòàðíî-ãèãèåíè÷åñêèå
óñëîâèÿ è ò.ï.
 êà÷åñòâå
áàçû ñðàâíåíèÿ
ïðè ðàñ÷åòàõ
ýêîíîìè÷åñêîé
ýôôåêòèâíîñòè
ïðèíèìàþòñÿ
ïîêàçàòåëè ëó÷øåé
òåõíèêè, ñïðîåêòèðîâàííîé
â ñòðàíå, èìåþùåé
íàèìåíüøèå ïðèâåäåííûå
çàòðàòû â ðàñ÷åòå
íà åäèíèöó ïðîäóêöèè
(ðàáîòû), ïðîèçâîäèìîé
ñ ïîìîùüþ ýòîé
íîâîé òåõíèêè.
 ñëó÷àÿõ,
êîãäà êàïèòàëüíûå
âëîæåíèÿ îñóùåñòâëÿþòñÿ
â òå÷åíèå ðÿäà
ëåò, íåîáõîäèìî
ïðè ðàñ÷åòå ó÷èòûâàòü
ôàêòîð âðåìåíè.
Ôàêòîð âðåìåíè
ó÷èòûâàþò ïðèâåäåíèåì
ê îäíîìó ìîìåíòó
(íà÷àëó ðàñ÷åòíîãî
ãîäà) åäèíîâðåìåííûõ
(êàïèòàëüíûõ)
è òåêóùèõ (ýêñïëóàòàöèîííûõ)
çàòðàò íà ñîçäàíèå
è èñïîëüçîâàíèå
áàçîâîé è íîâîé
òåõíèêè.
Ãîäîâîé ýêîíîìè÷åñêèé
ýôôåêò ðàññ÷èòûâàþò
ïî ñëåäóþùèì
ôîðìóëàì.
Äëÿ íîâûõ òåõíîëîãè÷åñêèõ
ïðîöåññîâ, ìåõàíèçàöèè
è àâòîìàòèçàöèè
ïðîèçâîäñòâà,
ñïîñîáîâ îðãàíèçàöèè
ïðîèçâîäñòâà
è òðóäà:
Ý = (Ç1 - Ç2) À2
=
; (3.3)
Äëÿ ïðîèçâîäñòâà
è ïðèìåíåíèÿ
íîâûõ ñðåäñòâ
òðóäà äîëãîâðåìåííîãî
ïðèìåíåíèÿ (ìàøèíû,
îáîðóäîâàíèå,
ïðèáîðû è ò.ï.):
Ý =
, (3.4)
ãäå Ç1, Ç2
- ïðèâåäåííûå çàòðàòû
íà åäèíèöó ïðîäóêöèè
ïî âàðèàíòàì;
À2 - ãîäîâîé îáúåì
ïðîèçâîäñòâà
â ðàñ÷åòíîì ãîäó
ïî ñðàâíèâàåìîìó
âàðèàíòó, íàòóðàëüíûå
åäèíèöû;
Â1, Â2 - ãîäîâûå
îáúåìû ïðîäóêöèè
(ðàáîòû), ïðîèçâîäèìûå
ïðè èñïîëüçîâàíèè
åäèíèöû ñîîòâåòñòâåííî
áàçîâîãî è íîâîãî
ñðåäñòâà òðóäà,
íàò. åäèíèöû;
Ò1, Ò2 - ñðîêè ñëóæáû
ïî âàðèàíòàì,
ëåò;
Ê11, Ê12 - ñîïóòñòâóþùèå
êàïèòàëüíûå
âëîæåíèÿ ïî âàðèàíòàì
â ðàñ÷åòå íà îáúåì
ïðîäóêöèè (ðàáîòû),
ïðîèçâîäèìîé
ñ ïîìîùüþ åäèíèöû
íîâîãî ñðåäñòâà
òðóäà, òåíãå;
È1, È2 - ãîäîâûå
ýêñïëóàòàöèîííûå
çàòðàòû ïîòðåáèòåëÿ
ïî âàðèàíòàì
â ðàñ÷åòå íà îáúåì
ïðîäóêöèè (ðàáîòû),
ïðîèçâîäèìîé
ñ ïîìîùüþ åäèíèöû
íîâîãî ñðåäñòâà
òðóäà, òåíãå.
Ïðè ïðîèçâîäñòâå
è èñïîëüçîâàíèè
íîâûõ èëè óñîâåðøåíñòâîâàííûõ
ïðåäìåòîâ òðóäà
(ìàòåðèàëû, äîëîòà,
âåùåñòâà, ñûðüå
è ò.ï.), à òàêæå ñðåäñòâ
òðóäà ñî ñðîêîì
ñëóæáû íå áîëå
îäíîãî ãîäà ãîäîâîé
ýêîíîìè÷åñêèé
ýôôåêò ðàññ÷èòûâàåòñÿ
ïî ôîðìóëå:
Ý =
, (3.5)
ãäå Ó1, Ó2
- óäåëüíûå ðàñõîäû
ñîîòâåòñòâåííî
áàçîâîãî è íîâîãî
ïðåäìåòîâ òðóäà
â ðàñ÷åòå íà åäèíèöó
ïðîäóêöèè (ðàáîòû),
âûïóñêàåìîé
ïîòðåáèòåëåì,
íàòóðàëüíûå
åäèíèöû;
È11, È12 - çàòðàòû
íà åäèíèöó ïðîäóêöèè
(ðàáîòû), âûïóñêàåìîé
ïîòðåáèòåëåì,
ïî âàðèàíòàì,
òåíãå.
Åñëè ïðè èñïîëüçîâàíèè
íîâîé òåõíèêè
íå òðåáóåòñÿ
ñîïóòñòâóþùèõ
çàòðàò, òî ôîðìóëû
(3.3) - (3.5) ïðèìóò âèä:
Ý = (Ñ1-Ñ2) À2;
(3.6)
Ý =
; (3.7)
Ýôôåêòèâíîñòü
íîâîé òåõíèêè
îòðàæàåòñÿ â
ñèñòåìå äåéñòâóþùèõ
ðàñ÷åòíûõ ïîêàçàòåëåé
ïðåäïðèÿòèé è
îáúåäèíåíèé.
Ïîýòîìó íàðÿäó
ñ îïðåäåëåíèåì
ãîäîâîãî ýêîíîìè÷åñêîãî
ýôôåêòà ðàññ÷èòûâàþò
ïðèðîñò ïðèáûëè
ñíèæåíèå ñåáåñòîèìîñòè,
ýêîíîìèþ êàïèòàëüíûõ
âëîæåíèé è ðîñò
ïðîèçâîäèòåëüíîñòè
òðóäà, ïîëó÷àåìûå
çà ñ÷åò âíåäðåíèÿ
íîâîé òåõíèêè.
3.3 Ðàñ÷åò
ãîäîâîãî ýêîíîìè÷åñêîãî
ýôôåêòà îò âíåäðåíèÿ
óñîâåðøåíñòâîâàíèÿ
Ðàñ÷åò ãîäîâîãî
ýêîíîìè÷åñêîãî
ýôôåêòà îò èñïîëüçîâàíèÿ
íîâîãî îáîðóäîâàíèÿ
ïðîèçâåäåì ïî
ôîðìóëå:
Ñåáåñòîèìîñòü
ïðîèçâîäñòâà
ïðåäëàãàåìîé
êîíñòðóêöèè
íîâîãî îáîðóäîâàíèÿ
áîëüøå, ÷åì ñåáåñòîèìîñòü
áàçîâîé ìîäåëè.
Ýòî îáúÿñíÿåòñÿ
ñëîæíîé êîíñòðóêöèåé
íîâîãî êðàíà,
ãàáàðèòàìè è
ïð. Òàêèì îáðàçîì,
Ñ1=150000 òåíãå
- ñåáåñòîèìîñòü
áàçîâîé ìîäåëè
íîâîãî îáîðóäîâàíèÿ;
Ñ2=200000 òåíãå
- ñåáåñòîèìîñòü
óñîâåðøåíñòâîâàííîé
ìîäåëè.
Äëÿ ðàçðàáîòêè
íîâîé êîíñòðóêöèè
áûëè èçðàñõîäîâàíû
åäèíîâðåìåííûå
çàòðàòû íà ÍÈèÎÊÐ
â ñóììå 3000 òåíãå.
Ñ ó÷åòîì ïðèâåäåíèÿ
èõ ïî ôàêòó âðåìåíè
îíè ñîñòàâÿò
â ðàñ÷åòå íà åäèíèöó
íîâîãî ñðåäñòâà
òðóäà:
Ê2=
=3000 òåíãå,
ãäå 0,1 - íîðìàòèâ
ïðèâåäåíèÿ ðàçíîâðåìåííûõ
çàòðàò;
- ïåðèîä ðàçíîâðåìåííîñòè
(êîëè÷åñòâî ëåò,
îòäåëÿþùèå çàòðàòû
äàííîãî ãîäà
îò íà÷àëà ðàñ÷åòíîãî);
- ðàñ÷åòíûé
îáúåì âûïóñêà
íîâûõ ëåáåäîê,
øò;
Ê1 â ñâîå âðåìÿ
ñîñòàâëÿëè 1800òåíãå.
Ïî ôîðìóëå
(3.1) îïðåäåëèì çàòðàòû
íà èçãîòîâëåíèå
íîâîãî è áàçîâîãî
ñðåäñòâ òðóäà:
Ç1=150270 òåíãå;
Ç2=200450 òåíãå.
ãäå
Òíàë=8760 ÷ - êàëåíäàðíîå
âðåìÿ;
- âðåìÿ ýêîíîìèè.
Òýê= Êð∙
(Òð1-Òð2) + (Êð1-Êð2)
∙Òð,
Êð=10 - ñðåäíåå
êîëè÷åñòâî ðåìîíòîâ
àãðåãàòà â ãîä;
Òð1=8 ÷ - ñðåäíåå
âðåìÿ äëÿ ìîíòàæíî-äåìîíòàæíûõ
ðàáîò ïðè ðåìîíòå
àãðåãàòà áàçîâûì
êðàíîì;
Òð2=5 ÷ - òî æå
âðåìÿ ïðè ðåìîíòå
íîâîãî îáîðóäîâàíèÿ;
Êð1=4 - ñðåäíåå
êîëè÷åñòâî ðåìîíòîâ
îáîðóäîâàíèÿ
áàçîâîé ìîäåëè
â ãîä;
Êð1=2 - ñðåäíåå
êîëè÷åñòâî ðåìîíòîâ
îáîðóäîâàíèÿ
óñîâåðøåíñòâîâàííîé
ìîäåëè;
Òð=12 ÷ - ñðåäíåå
âðåìÿ äëÿ ðåìîíòà
îáîðóäîâàíèÿ
ïðè íîâîé è óñîâåðøåíñòâîâàííîé
ìîäåëÿõ.
Òýê=6 ÷àñîâ.
Ð1=1/Ò1=1/15=0,06 ãîä-1;
Ð1=1/Ò2=1/18=0,05 ãîä-1
ãäå Ò1 è Ò2
- ñðîêè ñëóæáû
ñîîòâåòñòâåííî
áàçîâîé è íîâîé
ìîäåëè.
Êó÷=
= (0,06+0,15) / (0,05+0,15) =1,05 - êîýôôèöèåíò
ó÷åòà èçìåíåíèÿ
ñðîêà ñëóæáû
íîâîãî ñðåäñòâà
òðóäà ïî ñðàâíåíèþ
ñ áàçîâûì.
È1= (Êð+ Êð1)
(Òð+Òð1) ∙n∙Ñð,
È2= (Êð+ Êð2)
(Òð+Òð2) ∙n∙Ñð,
ãäå Ñð=2000 òåíãå
- ðàñöåíêà 1 ÷àñà
ðàáîòû ðåìîíòíîé
áðèãàäû; n=4 ÷åë -
ñîñòàâ áðèãàäû.
È1=58500 òåíãå,
È2=45500 òåíãå
 äàííîì ðàñ÷åòå
À2=10 - ïëàíèðóåìûé
îáúåì âûïóñêà
óñîâåðøåíñòâîâàííîãî
îáîðóäîâàíèÿ.
Òàêèì îáðàçîì,
ãîäîâîé ýêîíîìè÷åñêèé
ýôôåêò îò âíåäðåíèÿ
íîâûõ ìîäåëåé
óñòàíîâîê ñîñòàâèò
Ý=
=13272039,3 òåíãå
 ðàñ÷åòå íà
åäèíèöó ñðåäñòâà
òðóäà ýêîíîìè÷åñêèé
ýôôåêò ñîñòàâèò
Ý1=4424013,1 òåíãå.
Âûâîä:
Êîíñòðóêöèÿ
ïðåäëàãàåìîãî
îáîðóäîâàíèÿ
ïîçâîëÿåò ïîâûñèòü
íàäåæíîñòü ðàáîòû
óñòàíîâêè â öåëîì,
óâåëè÷èòü åãî
ìåæðåìîíòíûé
ïåðèîä. Â ðåçóëüòàòå
óìåíüøàåòñÿ
âðåìÿ íà ìîíòàæíûå
ðàáîòû ïðè ðåìîíòå,
ñáîðêå-ðàçáîðêå
àãðåãàòà, ñîêðàùàþòñÿ
ïðîñòîè îáîðóäîâàíèÿ.
Âñå ýòî â êîíå÷íîì
èòîãå ïðèâîäèò
ê óâåëè÷åíèþ
ãîäîâîãî ýêîíîìè÷åñêîãî
ýôôåêòà îò âíåäðåíèÿ
îáîðóäîâàíèÿ.
Îñíîâíûå ôàêòîðû,
ïðèâîäÿùèå ê ðîñòó
ýêîíîìè÷åñêîãî
ýôôåêòà:
1)
ñîêðàùåíèå
âðåìåíè íà ìîíòàæíûå
ðàáîòû ïðè ðåìîíòå,
ñáîðêå-ðàçáîðêå
àãðåãàòà, ñîêðàùåíèå
ïðîñòîåâ;
2)
óâåëè÷åíèå
ñðîêà ñëóæáû
íîâîé êîíñòðóêöèè;
3)
óìåíüøåíèå
ãîäîâûõ ýêñïëóàòàöèîííûõ
çàòðàò ïîòðåáèòåëÿ.
Ñâîäíàÿ òàáëèöà
òåõíèêî-ýêîíîìè÷åñêèõ
ïîêàçàòåëåé
|
¹
|
Íàèìåíîâàíèå
|
Îáîçíà÷åíèå
|
Åä. èçì.
|
Äî âíåäðåíèÿ
|
Ïîñëå âíåäðåíèÿ
|
|
1
|
Ñåáåñòîèìîñòü
|
Ñ
|
òåíãå
|
11000000
|
12000000
|
|
2
|
Ïðèâåäåííûå
çàòðàòû
|
Ç
|
òåíãå
|
11030000
|
12060000
|
|
3
|
Ñðåäíåå
âðåìÿ ìîíòàæíî-äåìîíòàæíûõ
ðàáîò ïðè ðåìîíòå
îáîðóäîâàíèÿ
â ãîä
|
Òð
|
-
|
8
|
5
|
|
|
|
|
|
|
|
4
|
Ñðîê ñëóæáû
|
Ò
|
ëåò
|
2
|
3,5
|
|
5
|
Äîëè îò÷èñëåíèé
îò áàëàíñîâîé
ñòîèìîñòè
|
Ð
|
ãîä-1
|
0,5
|
0,285714286
|
|
6
|
Ãîäîâûå
èçäåðæêè ïîòðåáèòåëÿ
|
È
|
òåíãå
|
58500
|
45500
|
|
7
|
Íîðìàòèâíûé
êîýôôèöèåíò
|
Åí
|
-
|
0,15
|
|
8
|
Ýêîíîìè÷åñêèé
ýôôåêò â ðàñ÷åòå
íà åäèíèöó ñðåäñòâà
òðóäà
|
Ý1
|
òåíãå
|
-
|
4424013,115
|
4. Îõðàíà
òðóäà è îêðóæàþùåé
ñðåäû
4.1 Îáùèå
ñâåäåíèÿ îá îõðàíå
òðóäà
Îñíîâíîå íàçíà÷åíèå
îõðàíû òðóäà
- ñîçäàíèå íà
ïðåäïðèÿòèÿõ
óñëîâèé, êîòîðûå
îáåñïå÷èëè áû
ïîëíóþ áåçîïàñíîñòü
ïðîèçâîäñòâåííûõ
ïðîöåññîâ, èñêëþ÷àþùèõ
íåñ÷àñòíûå ñëó÷àè
è ïðîôåññèîíàëüíûå
çàáîëåâàíèÿ,
íàïðàâëåííûå
íà âñåìåðíîå
îáëåã÷åíèå òðóäà
è íàèëó÷øóþ ñàíèòàðíî-ãèãèåíè÷åñêóþ
îáñòàíîâêó íà
ïðîèçâîäñòâå.
Îõðàíà òðóäà
ïîäðàçäåëÿåòñÿ
íà òåõíè÷åñêóþ
(ìåðîïðèÿòèÿ ïî
ïðåäóïðåæäåíèþ
íåñ÷àñòíûõ ñëó÷àåâ),
ñàíèòàðíóþ (ìåðîïðèÿòèÿ
ïî ïðîèçâîäñòâåííîé
ñàíèòàðèè è ãèãèåíå
òðóäà) è ïðàâîâóþ
(òðóäîâîå çàêîíîäàòåëüñòâî).
Ýòè ðàçäåëû, õîòÿ
è èìåþò ñàìîñòîÿòåëüíîå
çíà÷åíèå, òåñíî
ñâÿçàíû è äîïîëíÿþò
äðóã äðóãà. Ïîýòîìó
âñå âîïðîñû îõðàíû
òðóäà íà ïðîèçâîäñòâå
äîëæíû ðåøàòüñÿ
êîìïëåêñíî.
Ñèñòåìàòèçèðîâàíî
èçëîæåííûå íîðìû
ïî òðóäîâîìó ïðàâó
ïðèâîäÿòñÿ â Çàêîíå
î òðóäå (ÇOT), â êîòîðîì
ïðåäóñìàòðèâàþòñÿ
òàêæå ìåðîïðèÿòèÿ,
îáåñïå÷èâàþùèå
îçäîðîâëåíèå
óñëîâèé òðóäà.
Çàïðåùàåòñÿ
ââîä â äåéñòâèå
ïðåäïðèÿòèé áåç
ðàçðåøåíèÿ îðãàíîâ
íàäçîðà, ïðåäïèñûâàåòñÿ
áåñïëàòíàÿ âûäà÷à
ðàáî÷èì è ñëóæàùèì,
çàíÿòûì íà ðàáîòàõ
ñ âðåäíûìè èëè
îïàñíûìè óñëîâèÿìè
òðóäà, ñïåöîäåæäû,
ñïåöîáóâè, ïðåäîõðàíèòåëüíûõ
ïðèñïîñîáëåíèé,
ñìûâàþùèõ èëè
îáåçâðåæèâàþùèõ
ñðåäñòâ, à òàêæå
ìîëîêà èëè ñïåöèàëüíîãî
ïèòàíèÿ. Âìåíÿåòñÿ
â îáÿçàííîñòü
àäìèíèñòðàöèè
ïðîâîäèòü ìåäèöèíñêîå
îñâèäåòåëüñòâîâàíèå
ïåðñîíàëà, çàíÿòîãî
íà ðàáîòàõ ñ"
âðåäíûìè, òÿæåëûìè
èëè îïàñíûìè
óñëîâèÿìè òðóäà.
Ðåãëàìåíòèðóåòñÿ
òðóä æåíùèí è
ïîäðîñòêîâ.
Îðãàíèçàöèÿ
ðàáîòû â îáëàñòè
îõðàíû òðóäà
âîçëàãàåòñÿ
íà îòäåëû èëè
íà ñòàðøèõ èíæåíåðîâ
ïî òåõíèêå áåçîïàñíîñòè.
Ðóêîâîäèòåëè
ïðåäïðèÿòèé è
îðãàíèçàöèé
îáÿçàíû ñîçäàâàòü
ðàáîòíèêàì ñëóæáû
îõðàíû òðóäà
íàäëåæàùèå óñëîâèÿ
äëÿ ðàáîòû: îáåñïå÷èâàòü
ñëóæåáíûìè ïîìåùåíèÿìè,
àâòîòðàíñïîðòîì
äëÿ îáñëåäîâàíèÿ
ïðîìûøëåííûõ
îáúåêòîâ, ïðèîáðåòàòü
íåîáõîäèìóþ
ëèòåðàòóðó. Îíè
äîëæíû ñèñòåìàòè÷åñêè
ïðîâîäèòü îðãàíèçàöèîííî-òåõíè÷åñêèå
ìåðîïðèÿòèÿ ïî
óëó÷øåíèþ ñîñòîÿíèÿ
òåõíèêè áåçîïàñíîñòè
è âûïîëíåíèþ
ïðèêàçîâ, íàïðàâëåííûõ
íà îáåñïå÷åíèå
áåçîïàñíîé è
áåçàâàðèéíîé
ðàáîòû.
Ãëàâíûå (ñòàðøèå)
èíæåíåðû èëè
äðóãèå ðóêîâîäÿùèå
ðàáîòíèêè ïðåäïðèÿòèé
è îðãàíèçàöèé,
âåäàþùèå âîïðîñàìè
áåçîïàñíîñòè,
íåñóò îòâåòñòâåííîñòü
çà ðàçðàáîòêó
îðãàíèçàöèîííî-òåõíè÷åñêèõ
ìåðîïðèÿòèé è
îñóùåñòâëåíèå
ìåòîäè÷åñêîãî
ðóêîâîäñòâà ñëóæáîé
Îõðàíû òðóäà
è òåõíèêè áåçîïàñíîñòè,
à òàêæå çà ïðàâèëüíóþ
ïîñòàíîâêó îáó÷åíèÿ
ðàáî÷èõ è èíæåíåðíî-òåõíè÷åñêèõ
ðàáîòíèêîâ áåçîïàñíûì
ìåñòàì òðóäà.
Îðãàíèçàöèîííî-õîçÿéñòâåííûå
ìåðîïðèÿòèÿ ïî
îõðàíå òðóäà
è ïðîìûøëåííîé
ñàíèòàðèè ïðîâîäÿò
ñîîòâåòñòâóþùèå
ðóêîâîäèòåëè
- íà÷àëüíèêè, óïðàâëÿþùèå,
äèðåêòîðà.
Êîíòðîëü íàä
ñîáëþäåíèåì
è âûïîëíåíèåì
ìåðîïðèÿòèé ïî
îõðàíå òðóäà
íà âñåõ ïðåäïðèÿòèÿõ
âîçëàãàþòñÿ
íà îðãàíû ãîñóäàðñòâåííîãî
è îáùåñòâåííîãî
íàäçîðà. Ôóíêöèè
ãîñóäàðñòâåííîãî
íàäçîðà âûïîëíÿþò
òåõíè÷åñêèå
èíñïåêöèè ïðîôñîþçîâ,
Ãîñãîðòåõíàäçîð,
Ãîñóäàðñòâåííàÿ
ñàíèòàðíàÿ èíñïåêöèÿ,
Ýíåðãîíàäçîð
è äð.
Áîëüøóþ ðîëü
â äåëå ñîçäàíèÿ
íà ïðåäïðèÿòèÿõ
çäîðîâûõ è áåçîïàñíûõ
óñëîâèé òðóäà
èãðàþò êîìèññèè
è îáùåñòâåííûå
èíñïåêòîðû ïî
îõðàíå òðóäà.
Êîìèññèÿ ïî îõðàíå
òðóäà îáðàçóåòñÿ
èç ÷èñëà ÷ëåíîâ
ïðîôñîþçà - ðàáî÷èõ,
èíæåíåðíî-òåõíè÷åñêèõ
ðàáîòíèêîâ è
ñëóæàùèõ è âîçãëàâëÿåòñÿ
÷ëåíîì ìåñòíîãî
êîìèòåòà ïðåäïðèÿòèÿ,
â öåõå - ÷ëåíîì
öåõîâîãî êîìèòåòà.
Êîìèññèè
äîëæíû îñóùåñòâëÿòü:
êîíòðîëü íàä
âûïîëíåíèåì
çàêîíîäàòåëüñòâà
î òðóäå, ïðàâèë
è èíñòðóêöèé
ïî òåõíèêå áåçîïàñíîñòè
è ïðîìûøëåííîé
ñàíèòàðèè è íàä
ïðîâåäåíèåì ìåðîïðèÿòèé
ïî ïðåäóïðåæäåíèþ
íåñ÷àñòíûõ ñëó÷àåâ
íà ïðîèçâîäñòâå
è ïî ñíèæåíèþ
çàáîëåâàåìîñòè;
êîíòðîëü îðãàíèçàöèè
è êà÷åñòâà èíñòðóêòèðîâàíèÿ
è îáó÷åíèÿ ðàáî÷èõ
áåçîïàñíûì ïðèåìàì
ðàáîòû, à òàêæå
ñâîåâðåìåííîãî
ñíàáæåíèÿ èõ
ñïåöîäåæäîé, ñïåöîáóâüþ
è èíäèâèäóàëüíûìè
ñðåäñòâàìè çàùèòû.
Êîìèññèè
ñîäåéñòâóþò
âíåäðåíèþ â ïðîèçâîäñòâî
áîëåå ñîâðåìåííîé
òåõíîëîãèè, íîâîé
òåõíèêè, àâòîìàòèçàöèè
è ìåõàíèçàöèè
ïðîèçâîäñòâåííûõ
ïðîöåññîâ ñ öåëüþ
ëèêâèäàöèè òÿæåëûõ
ðó÷íûõ ðàáîò.
4.2 Ïëàíèðîâàíèå
ìåðîïðèÿòèé ïî
îõðàíå òðóäà,
îðãàíèçàöèÿ
è ïðîïàãàíäà
áåçîïàñíûõ ìåòîäîâ
òðóäà
Íåôòåãàçîäîáûâàþùèå
ïðåäïðèÿòèÿ ïîñòîÿííî
îñíàùàþòñÿ íîâîé
òåõíèêîé, ìåíÿþòñÿ
òåõíîëîãè÷åñêèå
è òðóäîâûå ïðîöåññû,
âíåäðÿþòñÿ ïåðåäîâûå
ìåòîäû òðóäà.
 ñâÿçè ñ ýòèì
âîçíèêàåò íåîáõîäèìîñòü
ïîñòîÿííîãî
îáó÷åíèÿ ðàáî÷èõ
áåçîïàñíûì ìåòîäàì
ðàáîòû, óìåíèþ
îáðàùàòüñÿ ñ
íîâûì ïðîèçâîäñòâåííûì
îáîðóäîâàíèåì,
ïðàâèëüíî è áåçîïàñíî
âåñòè íîâûå òåõíîëîãè÷åñêèå
ïðîöåññû. Ðàáî÷èå,
îñâàèâàþùèå
íîâóþ äëÿ íèõ
ïðîôåññèþ, äîëæíû
ïðîéòè îáó÷åíèå
ïî ñïåöèàëüíîñòè
â îáúåìå è â ñðîêè,
óñòàíîâëåííûå
ïðîãðàììàìè.
Õîðîøàÿ ïîñòàíîâêà
îáó÷åíèÿ ðàáî÷èõ
ïðàâèëàì òåõíèêè
áåçîïàñíîñòè
è áåçîïàñíûì
ìåòîäàì òðóäà
çíà÷èòåëüíî
ñïîñîáñòâóåò
áîðüáå ñ íåñ÷àñòíûìè
ñëó÷àÿìè íà ïðåäïðèÿòèÿõ.
Óïðàâëåíèþ è
îáñëóæèâàíèþ
àãðåãàòîâ, ìàøèí
è ìåõàíèçìîâ
ðàáî÷èå äîëæíû
îáó÷àòüñÿ â ó÷åáíûõ
çàâåäåíèÿõ ïðîôåññèîíàëüíî-òåõíè÷åñêîãî
îáðàçîâàíèÿ
èëè íà ñïåöèàëüíûõ
êóðñàõ, îðãàíèçóåìûõ
ó÷åáíî-êóðñîâûìè
êîìáèíàòàìè.
Îêîí÷èâøèì êóðñû
è ñäàâøèì ýêçàìåíû
äàþòñÿ óäîñòîâåðåíèÿ
óñòàíîâëåííîé
ôîðìû. Ïåðå÷åíü
ïðîôåññèé, ïî
êîòîðûì îáÿçàòåëüíî
êóðñîâîå îáó÷åíèå
ñ îòðûâîì îò ïðîèçâîäñòâà,
îïðåäåëÿþòñÿ
ñïåöèàëüíûì Ïîëîæåíèåì
î äîïóñêå ðàáî÷èõ
ê óïðàâëåíèþ è
îáñëóæèâàíèþ
îáîðóäîâàíèÿ.
Íà ïðåäïðèÿòèÿõ
ðàáî÷èå ïðîõîäÿò
ñîîòâåòñòâóþùèé
èíñòðóêòàæ, îáúåì
è ñîäåðæàíèå
êîòîðîãî è ñðîê
ñòàæèðîâêè äëÿ
ðàáî÷èõ ïî êàæäîé
ïðîôåññèè óñòàíàâëèâàåò
ãëàâíûé èíæåíåð
îáúåäèíåíèÿ,
ïðåäïðèÿòèÿ èëè
óïðàâëåíèÿ â çàâèñèìîñòè
îò õàðàêòåðà
ðàáîòû, íà êîòîðóþ
íàïðàâëÿåòñÿ
âíîâü ïðèíèìàåìûé
èëè ïåðåâîäèòñÿ
ðàáî÷èé. Îáúåì
èíñòðóêòàæà
äîëæåí áûòü íå
ìåíåå 10 ÷àñîâ,
à ñðîê ñòàæèðîâêè
- íå ìåíåå 15 ðàáî÷èõ
äíåé. Èíñòðóêòàæåì
ïðåäóñìàòðèâàþòñÿ
îáùèå âîïðîñè
áåçîïàñíîñòè,
óñòàíîâëåííûå
äëÿ äàííîãî ïðåäïðèÿòèÿ,
è ñïåöèàëüíûå
âîïðîñû òåõíèêè
áåçîïàñíîñòè,
ñâÿçàííûå ñ âûïîëíåíèåì
îòäåëüíûõ âèäîâ
ðàáîò.
Èíñòðóêòàæ
ïî îáùèì âîïðîñàì
òåõíèêè áåçîïàñíîñòè
äîëæíû ïðîâîäèòü
èíæåíåð ïî ÒÁ,
èëè ëèöî, íà êîòîðîå
âîçëîæåíû ýòè
îáÿçàííîñòè:
ïî ñïåöèàëüíûì
âîïðîñàì - ìàñòåð
èëè íà÷àëüíèê
ïðîèçâîäñòâåííîãî
ó÷àñòêà, ïî ïðàâèëàì
ïîæàðíîé áåçîïàñíîñòè
è äðóãèì ñïåöèàëüíûì
âîïðîñàì - ñîîòâåòñòâóþùèå
ñïåöèàëèñòû.
Ïðîøåäøèé
ïðîèçâîäñòâåííîå
îáó÷åíèå (ñòàæèðîâêó)
è èíñòðóêòàæ
ðàáî÷èé äîïóñêàåòñÿ
ê ñàìîñòîÿòåëüíîé
ðàáîòå òîëüêî
ïîñëå ïðîâåðêè
åãî çíàíèé ýìèññèåé
ïîä ïðåäñåäàòåëüñòâîì
ãëàâíîãî èíæåíåðà
ïðåäïðèÿòèÿ ñ
ó÷àñòèå ìàñòåðà
èëè íà÷àëüíèêà
öåõà, ìåõàíèêà,
ýíåðãåòèêà, èíæåíåðà
ïî òåõíèêå áåçîïàñíîñòè.
Âñå ðàáî÷èå
íå ðåæå îäíîãî
ðàçà â ãîä äîëæíû
ïðîõîäèòü ïîâòîðíûé
èíñòðóêòàæ ïî
òåõíèêå áåçîïàñíîñòè
è ïîäâåðãàòüñÿ
ïðîâåðêå çíàíèé
êîìèññèåé, ñîñòàâ
êîòîðîé ïðèâåäåí
âûøå. Ïðè ââåäåíèè
íîâûõ òåõíîëîãè÷åñêèõ
ïðîöåññîâ è ìåòîäîâ
òðóäà, âíåäðåíèè
íîâûõ âèäîâ îáîðóäîâàíèÿ
è ìåõàíèçìîâ,
à òàêæå ïðè ââåäåíèè
â äåéñòâèå íîâûõ
ïðàâèë è èíñòðóêöèè
ïî òåõíèêå áåçîïàñíîñòè
ðàáî÷èå äîëæíû
ïðîéòè äîïîëíèòåëüíîå
îáó÷åíèå è èíñòðóêòàæ.
Ðåçóëüòàòû âñåõ
âèäîâ èíñòðóêòàæà
è ïðîâåðêè çíàíèé
ðàáî÷èõ ïðè ïîëîæèòåëüíîé
îöåíêå çàíîñÿòñÿ
â êàðòîòåêó èíñòðóêòàæà
ïî òåõíèêå áåçîïàñíîñòè,
êîòîðóþ ïîäïèñûâàþò
âñå ÷ëåíû êîìèññèè
è ñàì èíñòðóêòèðóåìûé
Ñóùåñòâåííîå
çíà÷åíèå èìååò
ìàññîâàÿ ïðîïàãàíäà
îõðàíû òðóäà;
ôîðìû åå ðàçíîîáðàçíû.
4.3 Àñïåêòû
îõðàíû îêðóæàþùåé
ñðåäû
Îõðàíà îêðóæàþùåé
ïðèðîäíîé ñðåäû
è ðàöèîíàëüíîå
èñïîëüçîâàíèå
åå ðåñóðñîâ áûëà
è îñòàåòñÿ îäíîé
èç àêòóàëüíåéøèõ
ïðîáëåì ñîâðåìåííîñòè.
Âûäåëÿþò ñëåäóþùèå
îñíîâíûå àñïåêòû
îõðàíû îêðóæàþùåé
ñðåäû: ýêîëîãè÷åñêèé,
òåõíèêî-ýêîíîìè÷åñêèé
è ñîöèàëüíî-ïîëèòè÷åñêèé.
Ýêîëîãè÷åñêèé
àñïåêò ïðèðîäîîõðàíåíèÿ
ñîñòîèò â îáåñïå÷åíèè
íà Çåìëå áëàãîïðèÿòíûõ
áèîëîãè÷åñêèõ
óñëîâèé æèçíè
÷åëîâåêà â íàñòîÿùåì
è áóäóùåì. Ðåøåíèå
êîìïëåêñà çàäà÷
ýòîé ïðîáëåìû
ñâîäèòñÿ ê ñîõðàíåíèþ
è óëó÷øåíèþ áèîñâÿçåé
æèâîòíîãî è ðàñòèòåëüíîãî
ìèðà ñ îêðóæàþùåé
èõ ïðèðîäîé. Ðîñò
÷èñëåííîñòè
ëþäåé, ñîêðàùåíèå
ïëîùàäåé ðàñòèòåëüíîãî
ïîêðîâà ïëàíåòû
è îãðàíè÷åííîñòü
ðåçåðâîâ ìíîãèõ,
íåîáõîäèìûõ
äëÿ ñóùåñòâîâàíèÿ
÷åëîâå÷åñêîãî
îáùåñòâà ïðèðîäíûõ
áîãàòñòâ ïðèäàþò
ýêîëîãè÷åñêîìó
àñïåêòó îõðàíû
ïðèðîäû ïåðâîñòåïåííóþ
ðîëü.
Ñîõðàíåíèå,
âîññòàíîâëåíèå
è ïðåîáðàçîâàíèå
ñðåäû îáèòàíèÿ
ëþäåé â íàïðàâëåíèè,
íåîáõîäèìîì
äëÿ îáåñïå÷åíèÿ
æèçíè è ïîòðåáíîñòåé
÷åëîâå÷åñòâà,
òðåáóþò ñîçäàíèÿ
è ñîâåðøåíñòâîâàíèÿ
ñîîòâåòñòâóþùèõ
ïðîèçâîäèòåëüíûõ
ñèë äëÿ óïðàâëåíèÿ
âçàèìîäåéñòâèåì
÷åëîâåêà ñ ïðèðîäîé.
Òåõíèêî-ýêîíîìè÷åñêèé
àñïåêò çàêëþ÷àåòñÿ
â ðàöèîíàëüíîì
âûáîðå òåõíîëîãèè
ïðîèçâîäñòâåííûõ
ïðîöåññîâ, òåõíè÷åñêèõ
ñðåäñòâ, îáåñïå÷èâàþùèõ
ïðè íàèìåíüøèõ
ýêîíîìè÷åñêèõ
çàòðàòàõ ðåàëèçàöèþ
íåîáõîäèìûõ
ïðèðîäîîõðàííûõ
ìåðîïðèÿòèé.
Ñîöèàëüíî-ïîëèòè÷åñêèé
àñïåêò. Ðåçóëüòàòû
âîçäåéñòâèÿ
÷åëîâåêà íà ïðèðîäó
íåîáõîäèìî ðàññìàòðèâàòü
íå òîëüêî â ñâåòå
ðàçâèòèÿ òåõíè÷åñêîãî
ïðîãðåññà è ðîñòà
íàñåëåíèÿ, íî
è â çàâèñèìîñòè
îò ñîöèàëüíûõ
óñëîâèé, â êîòîðûõ
îíè ïðîÿâëÿþòñÿ;
ðàçëè÷íûì îáùåñòâåííî-ýêîíîìè÷åñêèì
ñèñòåìàì ñâîéñòâåííû
ðàçíûå îòíîøåíèÿ
÷åëîâåêà ñ ïðèðîäíîé
ñðåäîé.
 îáùåì ñìûñëå
ïîä ïîíÿòèåì
"ïðèðîäà" ïðîíèìàþò
Âñåëåííóþ, îäíàêî
âî ìíîãèõ ñëó÷àÿõ,
â ÷àñòíîñòè
ïðè èçó÷åíèè
ïðîáëåìû ïðèðîäîîõðàíåíèÿ,
ïîëüçóþòñÿ óçêèì,
óòèëèòàðíûì
ïîíÿòèåì ïðèðîäû,
îãðàíè÷èâàÿ
åå æèâûì ìèðîì
è íåæèâîé ìàòåðèåé
íàøåé ïëàíåòû.
Æèâàÿ ñîñòàâëÿþùàÿ
Çåìëè ïðåäñòàâëåíà
ìèðîì ðàñòåíèé,
æèâîòíûõ è ìèêðîîðãàíèçìîâ.
Íåæèâûì êîìïîíåíòîì
ÿâëÿåòñÿ àòìîñôåðà,
ãèäðîñôåðà è ëèòîñôåðà.
Îáëàñòü îáèòàíèÿ
æèâûõ îðãàíèçìîâ
íàçûâàþò "áèîñôåðîé"
- ñôåðîé æèçíè.
Áèîñôåðà ïðåäñòàâëÿåò
ñîáîé îòíîñèòåëüíóþ
òîíêóþ îáîëî÷êó
æèçíè íà Çåìëå
- îíà çàíèìàåò
íèæíþþ ÷àñòü
àòìîñôåðû, ðàñïðîñòðàíÿþùóþñÿ
íà âûñîòó 12-15 êì,
âñþ âîäíóþ ñðåäó
ïëàíåòû è åå íåäðà
äî ãëóáèíû 2-3 êì.
Ìåæäó æèâîé
è íåæèâîé ñðåäîé
ñóùåñòâóåò âçàèìîñâÿçü,
êîòîðàÿ ïðîÿâëÿåòñÿ
â ïåðâóþ î÷åðåäü
â áèîãåííîé ìèãðàöèè
àòîìîâ, ò.å. â êðóãîâîðîòå
âåùåñòâ è ïåðåðàñïðåäåëåíèè
ýíåðãèè ïðè ó÷àñòèè
âñåõ íàñåëÿþùèõ
Çåìëþ îðãàíèçìîâ.
Æèâûå îðãàíèçìû
èçìåíÿþò ñîñòàâ
àòìîñôåðû, ãèäðîñôåðû
è ëèòîñôåðû, ñïîñîáñòâóþò
ïåðåðàñïðåäåëåíèþ
õèìè÷åñêèõ ýëåìåíòîâ,
íàêîïëåíèþ îðãàíè÷åñêîãî
ìàòåðèàëà, îáðàçîâàíèþ
ïî÷âåííîãî ñëîÿ
è ìåñòîðîæäåíèé
ðÿäà ïîëåçíûõ
èñêîïàåìûõ. Ñîâîêóïíîñòü
â òîì èëè èíîì
ó÷àñòêå ïðèðîäíîé
ñðåäû æèâûõ è
íåæèâûõ êîìïîíåíòîâ,
âçàèìîäåéñòâóþùèõ
ìåæäó ñîáîé, ïîëó÷èëà
íàçâàíèå ýêîíîìè÷åñêîé
ñèñòåìû; íàóêà
î âçàèìîñâÿçè
îðãàíèçìîâ ìåæäó
ñîáîé è êîñíîé
(íåîðãàíè÷åñêîé)
ñðåäîé íàçûâàþò
ýêîëîãèåé.
Äëÿ ïðåäóïðåæäåíèÿ
ïðàâîíàðóøåíèé
â îáëàñòè îõðàíû
ïðèðîäû èñïîëüçóåòñÿ
ñèñòåìà ïîëèòè÷åñêèõ,
ïðàâîâûõ, îðãàíèçàöèîííûõ,
ýêîíîìè÷åñêèõ,
ìàòåðèàëüíî-òåõíè÷åñêèõ
è èäåîëîãè÷åñêèõ
ìåðîïðèÿòèé. Ê
íèì îòíîñÿòñÿ:
ðàçðàáîòêà ïðèðîäîîõðàíèòåëüíîé
ïîëèòèêè ãîñóäàðñòâà
è óñòàíîâëåíèå
ñîîòâåòñòâóþùèõ
ôîðì ìåæäóíàðîäíîãî
ñîòðóäíè÷åñòâà;
ñîâåðøåíñòâîâàíèå
ôîðì ìåæäóíàðîäíîãî
ïðèðîäîîõðàíèòåëüíîãî
çàêîíîäàòåëüñòâà;
âûäåëåíèå çíà÷èòåëüíûõ
àññèãíîâàíèé
íà îõðàíó ïðèðîäû;
ñòðîèòåëüñòâî
ïðèðîäîîõðàííûõ
ñîîðóæåíèé; øèðîêàÿ
ïðîïàãàíäà îõðàíû
ïðèðîäû, ïðèîáðåòåíèå
íîâûõ íàâûêîâ
è çíàíèé â îáëàñòè
ðàöèîíàëüíîãî
èñïîëüçîâàíèÿ
ïðèðîäíûõ ðåñóðñîâ.
Îäíèì èç ýëåìåíòîâ
óïðàâëåíèÿ îõðàíîé
ïðèðîäû ÿâëÿåòñÿ
ïðèâëå÷åíèå ê
îòâåòñòâåííîñòè
íàðóøèòåëåé
ïðèðîäîîõðàííîãî
çàêîíîäàòåëüñòâà.
Ê îòâåòñòâåííîñòè
ìîãóò ïðèâëåêàòüñÿ
ïðåäïðèÿòèÿ, îðãàíèçàöèè,
ó÷ðåæäåíèÿ èõ
äîëæíîñòíûå
ëèöà è ãðàæäàíå.
Ïðàâîíàðóøåíèÿ
â îáëàñòè îõðàíû
àòìîñôåðû, çåìåëü,
íåäð, âîä, æèâîòíîãî
è ðàñòèòåëüíîãî
ìèðà âëåêóò çà
ñîáîé ìàòåðèàëüíóþ,
àäìèíèñòðàòèâíóþ,
äèñöèïëèíàðíóþ,
óãîëîâíóþ îòâåòñòâåííîñòü.
4.4 Òðåáîâàíèÿ
ê òåõíîëîãèè
äîáû÷è íåôòè
è ê îáîðóäîâàíèþ
Áåçîïàñíîñòü
òðóäà â áîëüøîé
ñòåïåíè çàâèñèò
îò ñîâåðøåíñòâà
òåõíîëîãèè äîáû÷è
íåôòè è óðîâíÿ
òåõíè÷åñêîé
îñíàùåííîñòè
íåôòåãàçîäîáûâàþùåãî
ïðåäïðèÿòèÿ. Áîëåå
áåçîïàñíûìè
ñ÷èòàþòñÿ íåïðåðûâíûå
çàêðûòûå ìåõàíèçèðîâàííûå
è àâòîìàòèçèðîâàííûå
òåõíîëîãè÷åñêèå
ïðîöåññû äîáû÷è,
ñáîðà è ïåðâè÷íîé
îáðàáîòêè ïðîäóêöèè
íåôòÿíûõ ñêâàæèí.
Íîðìàòèâû ïî
òåõíèêå áåçîïàñíîñòè
äëÿ íåôòåäîáûâàþùåãî
îáîðóäîâàíèÿ
÷åòêî îïðåäåëÿþò
åãî íàçíà÷åíèå,
óñëîâèÿ èñïîëüçîâàíèÿ,
ðàáî÷èå ïàðàìåòðû,
ñðîê ñëóæáû, ìåæðåìîíòíûå
ïåðèîäû, òðåáîâàíèÿ
ê ìåõàíè÷åñêîé
ïðî÷íîñòè, ãåðìåòè÷íîñòè,
íàäåæíîñòè, îãðàæäåíèþ
îïàñíûõ çîí, îñíàùåíèþ
ÊÈÏ, ðåãóëÿòîðàìè
è àðìàòóðîé, ñòîéêîñòè
ê àãðåññèâíîìó
è àáðàçèâíîìó
âîçäåéñòâèþ,
óñòîé÷èâîñòè
ê îïðîêèäûâàíèþ,
à òàêæå ïðåäåëüíî
äîïóñòèìûå òåìïåðàòóðû
íàãðåâà èëè îõëàæäåíèþ,
óðîâåíü øóìà,
àìïëèòóäû âèáðàöèè.
Âñå òåõíè÷åñêèå
ðåøåíèÿ äîëæíû
îáåñïå÷èâàòü
íîðìàëüíûå óñëîâèÿ
òðóäà, óäîáñòâî,
áåçîïàñíîñòü
è áåçâðåäíîñòü
ìîíòàæà, îáñëóæèâàíèÿ
ïðè ýêñïëóàòàöèè
è ðåìîíòà. Ïðè
êîíñòðóèðîâàíèè
îáîðóäîâàíèÿ
òðåáîâàíèÿ òåõíèêè
áåçîïàñíîñòè
ó÷èòûâàþòñÿ
íàðÿäó ñ òðåáîâàíèÿìè
òåõíîëîãèè è
ýêîíîìèêè.
Ýðãîíîìèêà
îïðåäåëÿåò ðàöèîíàëüíîå
ðàáî÷åå ïîëîæåíèå
ðàáîòàþùèõ, ðàáî÷èõ
óñëîâèÿ, íåîáõîäèìóþ
áûñòðîòó ðåàêöèé
âçàèìîäåéñòâèå
÷åëîâåêà ñ ìàøèíàìè,
ìåõàíèçìàìè
è èíñòðóìåíòîì,
êîíñòðóêöèþ
è ðàçìåùåíèå
îðãàíîâ óïðàâëåíèÿ.
Òåõíè÷åñêàÿ
ýñòåòèêà îïðåäåëÿåò
ôîðì) è öâåò ïðåäìåòîâ,
èíòåðüåð ïðîèçâîäñòâåííûõ
ïîìåùåíèé, äîõîä÷èâîñòü
è íàãëÿäíîñòü
ïðåäóïðåäèòåëüíûõ
îêðàñîê, çíàêîâ,
íàäïèñåé. Îêðàñêà
îãðàæäàþùèõ
ïîâåðõíîñòåé
ïîìåùåíèé è îáîðóäîâàíèÿ
äîëæíà ñîçäàâàòü
îïòèìàëüíûé
öâåòîâîé êëèìàò
íîðìàëüíóþ îñâåùåííîñòü,
êîìôîðòíûå òåï
íîâûå îùóùåíèÿ
ðàáîòàþùèõ. Ýòî
äîñòèãàåòñÿ
èñïîëüçîâàíèåì
ñâåòëûõ, ÿðêèõ
êîíòðàñòíûõ,
õîëîäíûõ, òåïëûõ
èëè íåéòðàëüíûõ
òîíîâ öâåòîâîé
îòäåëêè â ñîîòâåòñòâèè
ñ äåéñòâóþùèìè
ñòðîèòåëüíûì
íîðìàìè. Íàïðèìåð,
îïàñíûå â òðàâìàòè÷åñêîì
îòíîøåíèè êàáèíû
è îáîéìû öâåòîâûõ
ìîñòîâûå êðàíîâ
îêðàøèâàþò ÷åðåäóþùèìèñÿ
âåðòèêàëüíûìè
æåëòûìè è ÷åðíûì
ïîëîñàìè, ðåçêî
âûäåëÿþùèìèñÿ
íà îêðóæàþùåì
ôîíå. Òðóáîïðîâîäû
äëÿ îõëàæäàþ ùåé
âîäû âíóòðè íàñîñíûõ
è êîìïðåññîðíûõ
îêðàøèâàþò â
òåìíî-çåëåíûé
öâåò, äëÿ âîçäóõà
- â ãîëóáîé, äëÿ
ìàñëà - â ñâåòëî
êîðè÷íåâûé, äëÿ
âîäû, èñïîëüçóåìîé
ïðè òóøåíèè ïîæàðîâ,
- â îðàíæåâûé. Áàëëîíû
äëÿ ñæàòûõ è ñæèæåííûõ
ãàçîâ òàêæå èìåþò
ñòàíäàðòíûå
ïðåäóïðåäèòåëüíûå
îêðàñêè íàäïèñè:
äëÿ êèñëîðîäà
- ãîëóáàÿ (íàäïèñü
÷åðíàÿ), äëÿ àöåòèëåíà
- áåëà (íàäïèñü
êðàñíàÿ), äëÿ àçîòà
- ÷åðíàÿ (íàäïèñü
æåëòàÿ), äëÿ ãîðþ÷èõ
ñæèæåííûõ ãàçîâ
- êðàñíàÿ (íàäïèñü
áåëàÿ) è ò.ä.
Âûáîð êîíñòðóêöèîííûõ
ìàòåðèàëîâ äåëàåòñÿ
ñ ó÷åòîì èõ ìåõàíè÷åñêèõ
ñâîéñòâ (ïðåäåëû
ïðî÷íîñòè, òåêó÷åñòè,
óñòàëîñòè, óäàðíàÿ
âÿçêîñòü è äð.).
×åòêî îïðåäåëÿþòñÿ
äîïóñêè ïðè èçãîòîâëåíèè
ýëåìåíòîâ îáîðóäîâàíèÿ
(îâàëüíîñòü, ðàçíîñòåííîñòü,
ñìåùåíèå êðîìîê
è äð.). Ìåõàíè÷åñêèå
ðàñ÷åòû äåëàþòñÿ
òîëüêî ïî ïðîâåðåííûì
ôîðìóëàì, âêëþ÷åííûì
â íîðìàòèâíûå
äîêóìåíòû. Îñîáîå
âíèìàíèå óäåëÿåòñÿ
îáåñïå÷åíèþ
òðåáóåìîãî êà÷åñòâà
ñâàðêè ìåòàëëîâ,
øèðîêî ïðèìåíÿåìîé
ïðè èçãîòîâëåíèè
è ìîíòàæå ñåïàðàòîðîâ,
òðóáîïðîâîäîâ,
ðåçåðâóàðîâ. Ðåêîìåíäóþòñÿ
òîëüêî ïðîâåðåííûå
ïðàêòèêîé ïðîìûøëåííûå
ñïîñîáû ñâàðêè.
Êîíòðîëü ñâàðíûõ
ñîåäèíåíèé ïðîâîäèòñÿ
âíåøíèì îñìîòðîì
äëÿ âûÿâëåíèÿ
òðåùèí, íàïëûâîâ,
ïîäðåçîâ, íîçäðåâàòîñòè,
ïîðèñòîñòè, ñìåùåíèÿ
êðîìîê, îòñòóïëåíèé
îò ïðîåêòíûõ
ðàçìåðîâ øâà,
à òàêæå ìåõàíè÷åñêèìè
èñïûòàíèÿìè
è ìåòàëëîãðàôè÷åñêèìè
èññëåäîâàíèÿìè
âûðåçàííûõ îáðàçöîâ,
ïðîñâå÷èâàíèåì
øâîâ è ãèäðàâëè÷åñêèìè
èñïûòàíèÿìè
àïïàðàòîâ è òðóáîïðîâîäîâ
ïîä äàâëåíèåì,
íà 25 - 50% ïðåâûøàþùèì
ðàáî÷åå.
Äëÿ èçìåðåíèÿ
äàâëåíèÿ ðåêîìåíäóåòñÿ
ïðèìåíÿòü ìàíîìåòðû
êëàññà òî÷íîñòè
íå íèæå 2,5 ñ òàêîé
øêàëîé, ÷òîáû
ïðè ðàáî÷åì äàâëåíèè
ñòðåëêè íàõîäèëèñü
â åå ñðåäíåé òðåòè.
Íà øêàëå äîëæíà
áûòü îòìåòêà
(êðàñíàÿ ÷åðòà
èëè ïðèïàÿííàÿ
ê êîðïóñó ïëàñòèíêà),
ñîîòâåòñòâóþùàÿ
íàèáîëüøåìó
äîïóñêàåìîìó
äàâëåíèþ. ×òîáû
ïîêàçàíèÿ ìàíîìåòðà
áûëè îò÷åòëèâî
âèäíû, åãî ñëåäóåò
óñòàíàâëèâàòü
íà âèäíîì, õîðîøî
îñâåùåííîì ìåñòå
òàê, ÷òîáû åãî
øêàëà íàõîäèëàñü
â âåðòèêàëüíîé
ïëîñêîñòè ñ íàêëîíîì
âïåðåä äî 30'. Íîìèíàëüíûé
äèàìåòð ìàíîìåòðà
äîëæåí áûòü íå
ìåíåå 160 ìì ïðè
óñòàíîâêå íà
âûñîòå äî 2 - 5 ì.
×òîáû èñêëþ÷èòü
îïàñíîå ïîâûøåíèå
äàâëåíèÿ â àïïàðàòàõ
è ãàçîïðîâîäàõ,
ïðèìåíÿþò ãðóçîâûå
èëè ïðóæèííûå
ïðåäîõðàíèòåëüíûå
êëàïàíû, ïðîïóñêíàÿ
ñïîñîáíîñòü
êîòîðûõ äëÿ ãàçîâ
èëè ïàðîâ îïðåäåëÿåòñÿ
ïî ôîðìóëå, ðåêîìåíäóåìîé
ïðàâèëàìè Ãîñãîðòåõíàäçîðà:
ãäå à - êîýôôèöèåíò
ðàñõîäà; F - íàèìåíüøàÿ
ïëîùàäü ñå÷åíèÿ
ïðîòî÷íîé ÷àñòè
êëàïàíà, ìì2;
 - êîýôôèöèåíò,
îïðåäåëÿåìûé
â çàâèñèìîñòè
îò îòíîøåíèÿ
ð2: ð1 è ïîêàçàòåëÿ
àäèàáàòû; ð1,
ð2 - äàâëåíèå ïåðåä
è çà ïðåäîõðàíèòåëüíûì
êëàïàíîì, êãñ/ñì2;
g1 - ïëîòíîñòü
ñðåäû ïðè äàâëåíèè
è òåìïåðàòóðå
ïåðåä êëàïàíîì,
êã/ì3.
Îïàñíûå çîíû
âáëèçè äâèæóùèõñÿ
÷àñòåé îáîðóäîâàíèÿ
äîëæíû èìåòü
ñïëîøíîå, ñåò÷àòîå
èëè ïåðèëü÷àòîå
îãðàæäåíèå. Ðàçìåðû
îòâåðñòèé ñåòîê,
ðàñïîëîæåííûõ
íà ðàññòîÿíèè
80 ìì îò äâèæóùèõñÿ
äåòàëåé, äîëæíû
áûòü íå áîëåå
14õ14 ìì, à ïðè ðàññòîÿíèè
áîëåå 80 ìì - 30õ30 ìì.
Ïåðèëü÷àòûå îãðàæäåíèÿ
óñòàíàâëèâàþòñÿ
íà ðàññòîÿíèè
íå áëèæå 600 ìì îò
äâèæóùèõñÿ ÷àñòåé.
Äëÿ îáñëóæèâàíèÿ
îáîðóäîâàíèÿ
íà âûñîòå áîëåå
750 ìì óñòðàèâàþò
ïëîùàäêè è ëåñòíèöû
èç ðèôëåíîãî
èëè ïðîñå÷íî-âûòÿæíîãî
æåëåçà. Øèðèíà
ìàðøåâîé ëåñòíèöû
äîëæíà áûòü íå
ìåíåå 650 ìì, óãîë
åå íàêëîíà ê ãîðèçîíòàëüíîé
ïîâåðõíîñòè
- íå áîëåå 60', âûñîòà
ñòóïåíåé - 250 ìì,
óêëîí ñòóïåíåé
âíóòðü - 2 - 50. Ìàðøåâûå
ëåñòíèöû äîëæíû
èìåòü ïåðèëà âûñîòîé
1000 ìì, ñðåäíþþ ïëàíêó
è íèæíþþ îáøèâêó
âûñîòîé 200 ìì. Ïëîùàäêè
øèðèíîé íå ìåíåå
700 ìì äîëæíû èìåòü
ïåðèëà âûñîòîé
1250 ìì ñî ñðåäíåé
ïëàíêîé è íèæíèì
áîðòîì âûñîòîé
200 ìì. Äîïóñêàåòñÿ
äëÿ íåðåãóëÿðíîãî
ïîëüçîâàíèÿ ïðèìåíÿòü
ëåñòíèöû-ñòðåìÿíêè
øèðèíîé íå ìåíåå
600 ìì ñî ñòóïåíüêàìè
÷åðåç 350 ìì, ñ äóãîâûìè
îãðàæäåíèÿìè
÷åðåç 800 ìì, ñ ðàçìåðîì
äóã â ñâåòó íå
ìåíåå 700 ìì è íå
áîëåå 800 ìì.
Îáîðóäîâàíèå,
êîíòðîëèðóåìîå
èíñïåêöèåé Êîòëîíàäçîðà,
ìîæåò áûòü èçãîòîâëåíî
òîëüêî ïî ñïåöèàëüíîìó
ðàçðåøåíèþ è
ïîä åå êîíòðîëåì.
Îíî ðåãèñòðèðóåòñÿ
è ïîäâåðãàåòñÿ
òåõíè÷åñêèì
îñâèäåòåëüñòâîâàíèÿì
(îñìîòðû, èñïûòàíèÿ).
Õàðàêòåðèñòèêà
îáîðóäîâàíèÿ
óêàçûâàåòñÿ
â ïàñïîðòàõ. Åãî
ñîñòîÿíèå ïåðèîäè÷åñêè
ïðîâåðÿåòñÿ ðàçëè÷íûìè
òåõíè÷åñêèìè
èñïûòàíèÿìè
(îïðåññîâêà, ïðîâåðêà
íàïðÿæåíèé, äåôåêòîñêîïèÿ
è äð.).
Îòâåòñòâåííîé
îïåðàöèåé ÿâëÿåòñÿ
îñâîåíèå íåôòÿíûõ
ñêâàæèí. Ñ öåëüþ
îáåñïå÷åíèÿ
áåçîïàñíîñòè
ñêâàæèíû îñâàèâàþò
ïî óòâåðæäåííîìó
ïëàíó è òîëüêî
ïîñëå òîãî, êàê
çàêîí÷àò óñòàíîâêó
îáîðóäîâàíèÿ
íà óñòüå. Ðàáîòû
ïî ïåðôîðàöèè
âûïîëíÿþòñÿ ïðè
ñòðîãîì ñîáëþäåíèè
ïðàâèë áåçîïàñíîñòè.
Ýòè ðàáîòû íåëüçÿ
ïðîèçâîäèòü âî
âðåìÿ ãðîçû, ïóðãè,
áóðàíà, ñèëüíîãî
òóìàíà, ïðè î÷åíü
íèçêîé òåìïåðàòóðå.
Èõ âûïîëíÿþò
òîëüêî â äíåâíîå
âðåìÿ ïî óòâåðæäåííîìó
òåõíè÷åñêîìó
ïðîåêòó. Ïåðåä
ïåðôîðèðîâàíèåì
íà óñòüå ñêâàæèíû
óñòàíàâëèâàþò
ïðîòèâîâûáðîñíóþ
çàäâèæêó, êîòîðóþ
òùàòåëüíî ïðîâåðÿþò
è îïðåññîâûâàþò.
Øòóðâàë çàäâèæêè
ñ óêàçàòåëÿìè
ïîëîæåíèÿ çàïîðíîãî
îðãàíà âûâîäèòñÿ
íå ìåíåå ÷åì íà
10 ì îò ñêâàæèíû
â ñòîðîíó îò âûêèäíûõ
ëèíèé è îãðàæäàåòñÿ
ùèòîì ñ íàâåñîì
Ñ áîëüøîé îñòîðîæíîñòüþ
ïðîâîäèòñÿ ñâàáèðîâàííèå
íåôòÿíûõ ñêâàæèí.
Ïðè ýòîé îïåðàöèè
îòêëþ÷àþòñÿ
ýëåêòðîëèíèè,
ïîäâåäåííûå ê
ñêâàæèíå. Ïîäúåìíèê
óñòàíàâëèâàþò
ñ íàâåòðåííîé
ñòîðîíû íà ðàññòîÿíèè
íå ìåíåå 25 ì îò
óñòüÿ. Ïðè ïîÿâëåíèè
ïðèçíàêîâ ôîíòàíèðîâàíèÿ
ñâàá èç ñêâàæèíû
äîëæåí áûòü íåìåäëåííî
ïîäíÿò.
Óñòüå ôîíòàííûõ
è êîìïðåññîðíûõ
ñêâàæèí îáîðóäóåòñÿ
ñòàíäàðòíîé
àðìàòóðîé, ðàáî÷åå
äàâëåíèå êîòîðîé
äîëæíî ñîîòâåòñòâîâàòü
îæèäàåìîìó ìàêñèìàëüíîìó
ýêñïëóàòàöèîííîìó
äàâëåíèþ. Äî è
ïîñëå óñòàíîâêè
àðìàòóðó íåîáõîäèìî
îïðåññîâûâàòü
ïîä ïðîáíûì äàâëåíèåì.
Àðìàòóðà äîëæíà
ìîíòèðîâàòüñÿ
ñ ïîëíûì êîìïëåêòîì
øïèëåê, áîëòîâ
è íà óïëîòíåíèÿõ,
ïðåäóñìîòðåííûõ
òåõíè÷åñêèìè
óñëîâèÿìè íà
ïîñòàâêó àðìàòóðû.
Äëÿ îáñëóæèâàíèÿ
âîçâûøàþùåéñÿ
àðìàòóðû ñîîðóæàþò
ïëîùàäêè ñ ëåñòíèöàìè
è ïåðèëàìè. Åñëè
ïðè áóðíûõ íåôòåãàçîïðîÿâëåíèÿõ
âîçíèêàåò îïàñíàÿ
âèáðàöèÿ àðìàòóðû,
òî åå óêðåïëÿþò
àíêåðíûìè áîëòàìè
ñ îòòÿæêàìè.
Ñíèæàòü çàòðóáíîå
äàâëåíèå ãàçà
ðàçðåøàåòñÿ òîëüêî
ïðè ïîìîùè øòóöåðà
÷åðåç âòîðóþ îò
êðåñòîâèêà çàäâèæêó
ïðè îòêðûòîé ïåðâîé.
Ïåðåä ñìåíîé øòóöåðà
íåîáõîäèìî ïîñëå
ïåðåâîäà ñòðóè
íà ðåçåðâíûé
âûêèä ïóòåì ïåðåêëþ÷åíèÿ
ñîîòâåòñòâóþùèõ
çàäâèæåê ñíèçèòü
äàâëåíèå çà øòóöåðîì
äî àòìîñôåðíîãî
ïðè ïîìîùè âåíòèëÿ
íà ëèíèè.
Äëÿ îáëåã÷åíèÿ
ñíÿòèÿ è óñòàíîâêè
ôîíòàííîé àðìàòóðû
ïðèìåíÿåòñÿ ïðèñïîñîáëåíèå
ÂÍÈÈÒÁ.
Ïðè êîìïðåññîðíîé
ýêñïëóàòàöèè
íåôòÿíûõ ñêâàæèí
ñåðüåçíîå âíèìàíèå
óäåëÿåòñÿ îáåñïå÷åíèþ
áåçîïàñíîãî
îáñëóæèâàíèÿ
êîìïðåññîðíûõ
óñòàíîâîê è ãàçî
- èëè âîçäóõîðàñïðåäåëèòåëüíûõ
áóäîê. Êîìïðåññîðû
äîëæíû áûòü ñíàáæåíû
ìàíîìåòðàìè,
îáðàòíûìè è ïðåäîõðàíèòåëüíûìè
êëàïàíàìè, àâòîìàòè÷åñêèìè
îòêëþ÷àþùèìè
óñòðîéñòâàìè
è ñèãíàëèçàöèåé.
Íà íèõ ðàñïðîñòðàíÿþòñÿ
îáùèå ïðàâèëà
óñòðîéñòâà è
áåçîïàñíîé ýêñïëóàòàöèè
ïðîìûøëåííûõ
êîìïðåññîðíûõ
óñòàíîâîê. Íà
ãàçîâûõ è âîçäóøíûõ
ëèíèÿõ óñòàíàâëèâàþò
ñåïàðàòîðû, ìàñëîîòäåëèòåëå,
õîëîäèëüíèêè,
ôèëüòðû. Ñìîíòèðîâàííûå
òðóáîïðîâîäû
ïîäâåðãàþòñÿ
ãèäðàâëè÷åñêîé
îïðåññîâêå íà
ïîëóòîðàêðàòíîå
ðàáî÷åå äàâëåíèå.
Êîìïðåññîðû
â êîìïðåññîðíîì
öåõå óñòàíàâëèâàþò
íà ïðî÷íûõ ôóíäàìåíòàõ,
ðàññòîÿíèå ìåæäó
êîòîðûìè äîëæíî
áûòü íå ìåíåå
15 ì. Âñå äâèæóùèåñÿ
÷àñòè îãðàæäàþòñÿ.
Ïðè âîäÿíîì îõëàæäåíèè
êîìïðåññîðîâ
ïåðåïàä òåìïåðàòóðû
âîäû íå äîëæåí
ïðåâûøàòü 15'Ñ. Äëÿ
ñìàçêè êîìïðåññîðîâ
íóæíî èñïîëüçîâàòü
÷èñòîå ñòàíäàðòíîå
êîìïðåññîðíîå
ìàñëî ñ òåìïåðàòóðîé
âñïûøêè íå ìåíåå
240'Ñ. Âîçäóøíûå
êîììóíèêàöèè
äîëæíû î÷èùàòüñÿ
îò ìàñëÿíûõ îòëîæåíèé
ïðîìûâêîé âîäíûì
ðàñòâîðîì ñóëüôàíîëà
÷åðåç êàæäûå äâà
ìåñÿöà ðàáîòû
êîìïðåññîðà.
Ñîäåðæàíèå
âîçäóõà â ãàçîâîçäóøíîé
ñìåñè, ïîñòóïàþùåé
íà ïðèåì êîìïðåññîðà,
íå äîëæíî ïðåâûøàòü
60% îáúåìí. ïðè äàâëåíèè
5 ÌÏà, 35% - ïðè 10 ÌÏà,
30% - ïðè 20 ÌÏà, 20% - ïðè
35 ÌÏà.
Îñíîâíîé îïàñíîñòüþ
â ãàçîðàñïðåäåëèòåëüíûõ
áóäêàõ ÿâëÿåòñÿ
âîçìîæíîñòü
ñêîïëåíèÿ âíóòðè
èõ íåôòÿíîãî
ãàçà. Ýòà îïàñíîñòü
óñòðàíÿåòñÿ
ïîääåðæàíèåì
ãåðìåòè÷íîñòè
îáîðóäîâàíèÿ
è âåíòèëÿöèåé
ïîìåùåíèé. Áóäêè
íåîáõîäèìî íà
çèìó óòåïëÿòü,
÷òîáû èñêëþ÷èòü
çàìåðçàíèå êîíäåíñàòà
â áàòàðåÿõ. Íà
ðàñïðåäåëèòåëüíûõ
ëèíèÿõ â ïîíèæåííûõ
òî÷êàõ ÷åðåç
êàæäûå 100 - 200 ì óñòàíàâëèâàþò
âëàãîîòäåëèòåëè
(êîíäåíñàöèîííûå
ãîðøêè). Çàìåðçøèå
ëèíèè îòîãðåâàþò
òîëüêî ãîðÿ÷åé
âîäîé èëè ïàðîì.
Ïðè ãëóáèííî-íàñîñíîì
ñïîñîáå ýêñïëóàòàöèè
íåôòÿíûõ ñêâàæèí
ïî ñðàâíåíèþ
ñ äðóãèìè ñïîñîáàìè
îòìå÷åíî íàèáîëüøåå
÷èñëî íåñ÷àñòíûõ
ñëó÷àåâ. Ýòî îáóñëîâëåíî
íàëè÷èåì äâèæóùèõñÿ
è òîêîâåäóùèõ
÷àñòåé ñòàíêà-êà÷àëêè,
íåîáõîäèìîñòüþ
ñìàçêè, îáñëóæèâàíèÿ,
÷àñòîé ñìåíû
è ðåìîíòà óçëîâ
è äåòàëåé. Îïàñíîñòè
óñòðàíÿþòñÿ
ïðè íàäåæíîì
îãðàæäåíèè âñåõ
äâèæóùèõñÿ ÷àñòåé
è ïðîâåäåíèè ñìàçêè,
íàëàäêè, è ðåìîíòà
îáîðóäîâàíèÿ
ïðè ïîëíîé îñòàíîâêå
ñòàíêà-êà÷àëêè.
Âî ÂÍÈÈÒÁ ðàçðàáîòàíî
òðè âàðèàíòà
òèïîâûõ îãðàæäåíèé
øàòóííî-êðèâîøèïíîãî
ìåõàíèçìà è
êëèíîðåìåííîé
ïåðåäà÷è ñòàíêîâ-êà÷àëîê
íîðìàëüíîãî ðÿäà:
) â âèäå êîìïëåêòà
èç äåâÿòè ïëîñêèõ
ùèòîâ, ñîåäèíÿåìûõ
áîëòàìè;
) îãðàæäåíèå
ñâàðíîé êîíñòðóêöèè
èç äâóõ ðåøåò÷àòûõ
êîðûòîîáðàçíûõ
ùèòîâ, ïðèêðåïëÿåìûõ
ê ðàìå áîëòàìè;
) èçãîòîâëÿåìîå
â ïîëåâûõ óñëîâèÿõ
îãðàæäåíèå èç
îòðàáîòàííûõ
òðóá è øòàíã.
Îãðàæäåíèå
êëèíîðåìåííîé
ïåðåäà÷è ïðåäñòàâëÿåò
ñîáîé êîæóõ èç
ëèñòîâîé ñòàëè
òîëùèíîé 4 ìì
äëÿ ëîáîâîé ñòåíêè
è 3 ìì äëÿ áîêîâîé.
Äëÿ óñòðàíåíèÿ
îïàñíîñòè ïàäåíèÿ
ñ âûñîòû ïðè âûïîëíåíèè
ðàáîò ïî ñíÿòèþ
êàíàòíîé ïîäâåñêè
è íàäåâàíèþ åå
âî ÂÍÈÈÒÁ ðàçðàáîòàíà
êîíñòðóêöèÿ ñòàöèîíàðíîé
îäíîñòîðîííåé
ïëîùàäêè. Öåíòðàëèçîâàííàÿ
ñìàçêà ñòàíêà
ãàðàíòèðóåò
áåçîïàñíîå âûïîëíåíèå
ýòîé îïåðàöèè.
Íîðìàëüíàÿ
ðàáîòà ñòàíêà
îáåñïå÷èâàåòñÿ
íàäåæíûì óðàâíîâåøèâàíèåì
áàëàíñèðà ðîòîðíûìè
ïðîòèâîâåñàìè,
óñòàíîâêà è ñíÿòèå
êîòîðûõ ÿâëÿþòñÿ
òðóäîåìêîé è
îïàñíîé ðàáîòîé.
Ýòà ðàáîòà äîëæíà
áûòü ìåõàíèçèðîâàíà.
Ïðèìåíåíèå ïîâîðîòíîé
ãîëîâêè áàëàíñèðà
âìåñòî îòêèäíîé
ÿâëÿåòñÿ áîëåå
áåçîïàñíûì òåõíè÷åñêèì
ðåøåíèåì.
Ïðè ýêñïëóàòàöèè
ñêâàæèí ïîãðóæíûìè
öåíòðîáåæíûìè
ýëåêòðîíàñîñàìè
îïàñíûìè îïåðàöèÿìè
ÿâëÿþòñÿ íàìîòêà
è ðàçìîòêà êàáåëÿ,
ñïóñê è. ïîäúåì
ïîãðóæíîãî àãðåãàòà,
ïîãðóçêà, âûãðóçêà
è òðàíñïîðòèðîâêà
îáîðóäîâàíèÿ.
Âñå ýòè ðàáîòû
äîëæíû áûòü ìåõàíèçèðîâàíû.
Äëÿ îïåðàöèé ñ
êàáåëåì ïðåäíàçíà÷åíî
óñòðîéñòâî, ñîñòîÿùåå
èç ïðèâîäà è áàðàáàíà
íà ñàíÿõ. Ïåðåâîçÿò
îáîðóäîâàíèå
íà ñïåöèàëüíî
îñíàùåííîì øàññè
àâòîìàøèíû ÇÈË-151.
Ìíîãî ýôôåêòèâíûõ
ïðèñïîñîáëåíèé,
øèðîêîå èñïîëüçîâàíèå
êîòîðûõ ïîâûøàåò
óðîâåíü áåçîïàñíîñòè
òðóäà, ðàçðàáîòàíî
ðàöèîíàëèçàòîðàìè
ÍÃÄÓ. Ê íèì îòíîñÿòñÿ
ïðèñïîñîáëåíèÿ
è óñòðîéñòâà
äëÿ ñìåíû øòóöåðîâ,
âûïðåññîâêè ïàëüöåâ
êðèâîøèïîâ ñòàíêîâ-êà÷àëêè,
ñáðîñà ãàçà èç
çàòðóáíîãî ïðîñòðàíñòâà,
òðàíñïîðòèðîâêè
ñòàíêîâ-êà÷àëîê,
ïîäúåìà ãîëîâêè
áàëàíñèðà ñî
øòàíãàìè ïðè
îáðûâå øàòóíà,
ïåðåäâèæåíèÿ
ðîòîðíûõ ãðóçîâ
ñòàíêà-êà÷àëêè,
ïðîôèëàêòè÷åñêîãî
îñìîòðà ñòàíêîâ-êà÷àëîê.
Î÷èñòêà òðóá
îò îòëîæåíèé
ïàðàôèíà ïðîâîäèòñÿ
ñ ïîìîùüþ ïàðîïåðåäâèæíûõ
óñòàíîâîê (ÏÏÓ),
ðàñïîëàãàåìûõ
íà ðàññòîÿíèè
íå ìåíåå 25 ì îò
óñòüÿ ñêâàæèí.
Èõ íåëüçÿ ðàçìåùàòü
ïîä âîçäóøíûìè
ýëåêòðîëèíèÿìè.
Âûõëîïíàÿ òðóáà
îò äâèãàòåëÿ
ÏÏÓ ñíàáæàåòñÿ
ãëóøèòåëåì ñ
èñêðîãàñèòåëåì
è âûâîäèòñÿ íà
âûñîòó íå ìåíåå
2 ì îò ïëàòôîðìû
àãðåãàòà. Íà ïàðîïðîâîäå,
ïðåäâàðèòåëüíî
îïðåññîâàííîì
íà äàâëåíèå, â
1,5 ðàçà ïðåâûøàþùåå
ìàêñèìàëüíîå
ðàáî÷åå, îáÿçàòåëüíî
óñòàíàâëèâàåòñÿ
ïðåäîõðàíèòåëüíûé
êëàïàí.
Ïðè ÷èñòêå
ïàðàôèíîâûõ
ïðîáîê â ñêâàæèíàõ
ñêðåáêè ñïóñêàþòñÿ
è ïîäíèìàþòñÿ
÷åðåç ëóáðèêàòîðû
ñ îòòÿæíûìè ðîëèêàìè
äëÿ ïðîâîëîêè.
Êèñëîòíàÿ
îáðàáîòêà ñêâàæèí
äîëæíà îñóùåñòâëÿòüñÿ
ñïåöèàëüíî ïîäãîòîâëåííîé
áðèãàäîé ïîä ðóêîâîäñòâîì
ìàñòåðà. Ñòàöèîíàðíûå
åìêîñòè äëÿ õðàíåíèÿ
ñîëÿíîé êèñëîòû
äîëæíû èìåòü
ïðîòèâîêîððîçèîííîå
ïîêðûòèå è ñíàáæàòüñÿ
ïåðåêà÷åííûìè
ñðåäñòâàìè äëÿ
ñëèâà è íàëèâà
êèñëîòû. Áóòûëè
ñ êèñëîòîé íåîáõîäèìî
õðàíèòü, ïåðåâîçèòü
è ïåðåíîñèòü
â ïëåòåíûõ êîðçèíàõ
èëè äåðåâÿííûõ
ÿùèêàõ ñ ðó÷êàìè.
Äëÿ âûëèâàíèÿ
êèñëîòû èç áóòûëåé
â ìåðíèê îáîðóäóåòñÿ
óäîáíàÿ äëÿ äâóõ
ðàáî÷èõ ïëîùàäêà
ñ òðàïîì è ïåðèëàìè.
Íåðàçáàâëåííóþ
êèñëîòó ñëåäóåò
âûëèâàòü â âîäó,
à íå íàîáîðîò.
Íà êðûøêå ìåðèíêà
äîëæíî áûòü íå
ìåíåå äâóõ îòâåðñòèé
ñ êîçûðüêàìè
è ðåøåòêàìè: îäíî
äëÿ çàëèâà êèñëîòû,
äðóãîå, äëÿ îòâîäà
åå ïàðîâ. Íà ìåñòå
ðàáîòû ñ êèñëîòîé
äîëæåí áûòü íåîáõîäèìûé
çàïàñ âîäû. Ïîñëå
îêîí÷àíèÿ ðàáîò
ïî çàêà÷êå êèñëîòû
â ïëàñò âñå îáîðóäîâàíèå
è êîììóíèêàöèè
ñëåäóåò òùàòåëüíî
ïðîìûòü âîäîé.
Ãèäðàâëè÷åñêèé
ðàçðûâ ïëàñòîâ
òàêæå ïðîâîäèòñÿ
ñïåöèàëüíî ïîäãîòîâëåííîé
áðèãàäîé. Åñëè
äàâëåíèå ðàçðûâà
ïðåâûøàåò äîïóñòèìîå
äëÿ ýêñïëóàòàöèîííîé
êîëîííû, òî ñëåäóåò
ïðèìåíÿòü çàùèòíûé
ïàêåð. Ìåñòî óñòàíîâêè
àãðåãàòîâ äëÿ
ãèäðîðàçðûâà
äîëæíî áûòü ïîäãîòîâëåíî.
Àãðåãàòû óñòàíàâëèâàþò
íà ðàññòîÿíèè
íå ìåíåå 10 ì îò
óñòüÿ ñêâàæèíû
òàê, ÷òîáû èõ
êàáèíû íå áûëè
îáðàùåíû ê ñêâàæèíå.
Êàæäûé àãðåãàò
ñîåäèíÿåòñÿ
ñ öåìåíòèðîâî÷íîé
ãîëîâêîé òðóáàìè
èëè øëàíãàìè
âûñîêîãî äàâëåíèÿ
ñ îáðàòíûìè êëàïàíàìè.
Íà íàñîñàõ
äîëæíû áûòü ìàíîìåòðû
è òàðèðîâàííûå
ïðåäîõðàíèòåëüíûå
óñòðîéñòâà ñ
âûêèäàìè ïîä
àãðåãàò. Ê öåìåíòèðîâî÷íîé
ãîëîâêå ïðèñîåäèíÿþòñÿ
óêàçûâàþùèé
è ðåãèñòðèðóþùèé
ìàíîìåòðû, âûíåñåííûå
ïðè ïîìîùè èìïóëüñíûõ
òðóáîê íà áåçîïàñíîå
ðàññòîÿíèå. Ïðîäàâî÷íûå
òðóáîïðîâîäû
ïðåäâàðèòåëüíî
îïðåññîâûâàþò
íà ïîëóòîðàêðàòíîå
äàâëåíèå îò ìàêñèìàëüíî
âîçìîæíîãî ïðè
ãèäðîðàçðûâå.
Âûõëîïíûå òðóáû
àãðåãàòîâ ñíàáæàþòñÿ
ãëóøèòåëÿìè,
èñêðîãàñèòåëÿìè
è íåéòðàëèçàòîðàìè
ÿäîâèòûõ ãàçîâ.
Âî âðåìÿ çàêà÷êè
è ïðîäàâêè æèäêîñòè
ïðèñóòñòâèå
ëþäåé âáëèçè
óñòüÿ ñêâàæèíû
è òðóáîïðîâîäîâ
çàïðåùàåòñÿ.
Ïóñê àãðåãàòîâ
ðàçðåøàåòñÿ òîëüêî
ïîñëå óäàëåíèÿ
âñåõ íåçàíÿòûõ
ëþäåé çà ïðåäåëû
îïàñíîé çîíû.
Ïåðåä îòñîåäèíåíèåì
òðóáîïðîâîäîâ
ñëåäóåò çàêðûòü
êðàíû íà öåìåíòèðîâî÷íîé
ãîëîâêå è ñíèçèòü
äàâëåíèå â òðóáàõ
äî àòìîñôåðíîãî.
Îñòàòêè æèäêîñòè
ðàçðûâà è íåôòè
ñëèâàþò â ïðîìêàíàëèçàöèþ,
íåôòåëîâóøêó
èëè ñáîðíóþ åìêîñòü.
Áåçîïàñíàÿ
ýêñïëóàòàöèÿ
îáîðóäîâàíèÿ
äëÿ ñáîðà, ïîäãîòîâêè,
õðàíåíèÿ è òðàíñïîðòèðîâêè
íåôòè è ãàçà
îáåñïå÷èâàåòñÿ
ñòðîãèì âûïîëíåíèåì
òåõíè÷åñêèõ
óñëîâèé, ñòðîèòåëüíûõ
íîðì è ïðàâèë è
ïðîåêòíûõ ðåøåíèé,
õîðîøèì êà÷åñòâîì
ñòðîèòåëüíî-ìîíòàæíûõ
ðàáîò, ïîääåðæàíèåì
íåîáõîäèìîé
ãåðìåòè÷íîñòè
îáîðóäîâàíèÿ
è òðóáîïðîâîäîâ,
ïðåäóïðåæäåíèåì
êîððîçèè, ñâîåâðåìåííûì
óñòðàíåíèåì
óòå÷åê, ñîáëþäåíèåì
ñðîêîâ ðåìîíòîâ
è òåõíè÷åñêèõ
îñâèäåòåëüñòâîâàíèé,
ïîñòîÿííûì íàäçîðîì
çà èñïðàâíîñòüþ
îáîðóäîâàíèÿ.
Çàêëþ÷åíèå
Äèïëîìíûé
ïðîåêò âêëþ÷àåò
íåñêîëüêî ðàçäåëîâ:
ãåîëîãè÷åñêàÿ
÷àñòü, òåõíè÷åñêàÿ
÷àñòü, ýêîíîìè÷åñêàÿ
÷àñòü, ðàçäåë
îõðàíû òðóäà
è îêðóæàþùåé
ñðåäû.
 ãåîëîãè÷åñêîé
÷àñòè ïðèâîäÿòñÿ
ëèòîëîãî-ñòðàòèãðàôè÷åñêàÿ
õàðàêòåðèñòèêà,
òåêòîíèêà, íåôòåíîñíîñòü,
õàðàêòåðèñòèêà
òîëùèí, êîëëåêòîðñêèõ
ñâîéñòâ ïðîäóêòèâíûõ
ãîðèçîíòîâ è
èõ íåîäíîðîäíîñòü,
ñîñòàâ è ñâîéñòâà
íåôòè â ïîâåðõíîñòíûõ
óñëîâèÿõ.  òåõíè÷åñêîé
÷àñòè ïðèâîäÿòñÿ
îñîáåííîñòè
êîíñòðóêöèè
âèíòîâûõ ýëåêòðîíàñîñîâ,
àâòîìàòèçèðîâàííàÿ
ãðóïïîâàÿ çàìåðíàÿ
óñòàíîâêà, Òðåáîâàíèÿ
è ðåêîìåíäàöèè
ê ñèñòåìå ñáîðà,
òðàíñïîðòà è
ïîäãîòîâêè íåôòè
è ðàñ÷åò øòàíã
âåðõíåïðèâîäíûõ
âèíòîâûõ íàñîñîâ.
 äèïëîìíîì
ïðîåêòå ïðåäëàãàþ
ñâîþ óñîâåðøåíñòâîâàííóþ
êîíñòðóêöèþ
ãèäðîäèíàìè÷åñêîãî
ãåíåðàòîðà, ïðèíöèï
åãî ðàáîòû è ò.ï.,
èìåþùóþ íîâèçíó,
óëó÷øàþùóþ òåõíèêî-ýêîíîìè÷åñêóþ
õàðàêòåðèñòèêó
áàçîâîé ìîäåëè.
Ïðè ýòîì ïðåäëàãàåìàÿ
êîíñòðóêöèÿ îöåíèâàåòñÿ
ñ òåõíè÷åñêîé,
òåõíîëîãè÷åñêîé,
ýêîíîìè÷åñêîé
òî÷êè çðåíèÿ.
Êîíå÷íûì ðåçóëüòàòîì
ÿâëÿåòñÿ îïðåäåëåíèÿ
ãîäîâîãî ýêîíîìè÷åñêîãî
ýôôåêòà, êîòîðûé
äîëæåí áûòü âûøå.
Êîíñòðóêöèÿ óñîâåðøåíñòâîâàííîé
âèíòîâîãî íàñîñà
ïîçâîëÿåò óâåëè÷èòü
ðåñóðñ. Â ðåçóëüòàòå
ñîêðàùàþòñÿ
ïðîñòîè, ñâÿçàííûå
ñ ðåìîíòîì.
 ýêîíîìè÷åñêîé
÷àñòè äàåòñÿ
îöåíêà óñîâåðøåíñòâîâàííîé
êîíñòðóêöèè
ñ ýêîíîìè÷åñêîé
òî÷êè çðåíèÿ.
Ðàññ÷èòûâàåòñÿ
ãîäîâîé ýêîíîìè÷åñêèé
ýôôåêò, äàåòñÿ
ñðàâíèòåëüíàÿ
õàðàêòåðèñòèêà
ÒÝÏ.
 çàêëþ÷èòåëüíîì
ðàçäåëå ïðèâîäèòñÿ
îñíîâíûå àñïåêòû
îõðàíû òðóäà
è îêðóæàþùåé
ñðåäû.
Ñïèñîê
èñïîëüçîâàííîé
ëèòåðàòóðû
1.
×åêàëþê Ý.Á. Òåðìîäèíàìèêà
íåôòÿíîãî ïëàñòà.Ì.,
èçä-âî "Íåäðà",
1965.
.
Àìáàðöóìÿí À.Ï.,
Êðþ÷êèíà Ñ.Á., Íèêèòèí
Ï.È. Âòîðè÷íûå
ìåòîäû äîáû÷è
íåôòè.Ì., èçä-âî
"Íåäðà", 1965.
.
Àìåëèí È.Ä. Îïûò
èññëåäîâàíèÿ
ñêâàæèí ñ öåëüþ
îïðåäåëåíèÿ ïàðàìåòðîâ
íåôòÿíûõ ïëàñòîâ.Ì.,
ÃÎÑÈÍÒÈ, 1962.
.
Àìèðîâ À.Ä. Äîáû÷à
íåôòè. Áàêó, Àçãèç,
1963.
.
Àìèÿí Â.À. Ïîâûøåíèå
ïðîèçâîäèòåëüíîñòè
ñêâàæèí.Ì., Ãîñòîï
- òåõèçäàò, 1961.
.
Àìèÿí Â.À., Ì ó ð
à â ü å â Â.Ì. Òåõíè÷åñêèé
ïðîãðåññ â äîáû÷å
íåôòè.Ì., Ãîñòîïòåõèçäàò,
1962.
.
Áàáàëÿí Ã.À. Ïðèìåíåíèå
ïîâåðõíîñòíî-àêòèâíûõ
âåùåñòâ â íåôòÿíîé
ïðîìûøëåííîñòè.Ì.,
ÂÍÈÈÎÝÍÃ, 1966.
.
Áàëàêèðîâ Þ.À.
Îïûò ñîâåðøåíñòâîâàíèÿ
ìåòîäîâ èññëåäîâàíèÿ
ñêâàæèí è ïëàñòîâ.
Áàêó, Àçåðíåôòíåøð,
1963.
.
Áåëîâ È.Ã. Èññëåäîâàíèå
ðàáîòû ãëóáèííûõ
íàñîñîâ äèíàìîãðàôîì.
Ì.,) Ãîñòîïòåõèçäàò,
1960.
.
Áîãäàíîâ À.À. Ïîãðóæíûå
öåíòðîáåæíûå
ýëåêòðîíàñîñû
äëÿ äîáû÷è íåôòè.Ì.,
èçä-âî "Íåäðà",
1968.
.
Áóçèíîâ Ñ.Í., Ó
ì ð è õ è í È.Ä. Èññëåäîâàíèå
ïëàñòîâ è ñêâàæèí
ïðè óïðóãîì ðåæèìå
ôèëüòðàöèè.Ì.,
èçä-âî "Íåäðà",
1964.
.
Åðîíèí Â.À. è äð.
Ýêñïëóàòàöèÿ
ñèñòåìû çàâîäíåíèÿ
ïëàñòîâ.Ì., èçä-âî
"Íåäðà", 1967.
.
Æóêîâ À.È., ×åðíîâ
Á.Ñ., Á àç ëîâ Ì.Í.
Ýêñïëóàòàöèÿ
íåôòÿíûõ ìåñòîðîæäåíèé.Ì.,
Ãîñòîïòåõèçäàò,
1961.
.
Èîàêèì Ã. Äîáû÷à
íåôòè è ãàçà.Ì.,
èçä-âî "Íåäðà",
1966.
.
Êàçàê À.Ñ. Ïîãðóæíûå
ïîðøíåâûå áåñøòàíãîâûå
íàñîñû ñ ãèäðîïðèâîäîì.Ì.,
Ãîñòîïòåõèçäàò,
1961.
.
Êàðàïåòîâ Ê.À.,
Áàëàêèðîâ Þ.À.,
Êðîëü Â.Ñ. Ðàöèîíàëüíàÿ
ýêñïëóàòàöèÿ
ìàëîäåáèòíûõ
íåôòÿíûõ ñêâàæèí.Ì.,
èçä-âî "Íåäðà",
1966.
.
Êîâàëåíê î Ê.È.
Íîâûå ìåòîäû
ðàçðàáîòêè è
íåôòåîòäà÷è
ïëàñòîâ.Ì., èçä-âî
"Íåäðà", 1964.
.
Êîëãàíîâ Â.È., Ñóðãó÷åâ
Ì.Ë., Ñàçîíîâ Ï.Ô.
Îáâîäíåíèå íåôòÿíûõ
ñêâàæèí è ïëàñòîâ.Ì.,
èçä-âî "Íåäðà",
1965.
.
Êðàôò Á.Ñ., Õîêèí
ñ Ì.Ô. Ïðèêëàäíîé
êóðñ òåõíîëîãèè
äîáû÷è íåôòè.Ì.,
Ãîñòîïòåõèçäàò,
1963.
.
Êðûëîâ À.Â. Îäíîâèíòîâûå
íàñîñû.Ì., Ãîñòîïòåõèçäàò,
1962. ~1. Ëàâðóøêî Ï.Í.
Ïîäçåìíûé ðåìîíò
íåôòÿíûõ ñêâàæèí.
Ì.,
Ãîñòîïòåõèçäàò,
1961.
.
Ëàâðóøêî Ï.Í., Ìóðàâüåâ
Â.Ì. Ýêñïëóàòàöèÿ
íåôòÿíûõ è ãàçîâûõ
ñêâàæèí.Ì., èçä-âî
"Íåäðà", 1964.
.
Ëîã èíîâ Á.Ã., Áëàæåâ
è÷ Â.À. Ãèäðàâëè÷åñêèé
ðàçðûâ ïëàñòîâ.Ì.,
èçä-âî "Íåäðà",
1966.
.
Ëîãèíîâ Á.Ã., Ìàëûøåâ
Ë.Ã., Ãàðèôóëëèí
Ø.Ñ. Ðóêîâîäñòâî
ïî êèñëîòíûì
îáðàáîòêàì ñêâàæèí.Ì.,
èçä-âî "Íåäðà",
1965. '
.
Ìåëèêáåêîâ À.Ñ.
Òåîðèÿ è ïðàêòèêà
ãèäðàâëè÷åñêîãî
ðàçðûâà.Ì., èçä-âî
"Íåäðà", 1967.
.
Ìóðàâüåâ È.Ì., À
áä ó ëè í Ô.Ñ. Îñâîåíèå
è èññëåäîâàíèå
íàãíåòàòåëüíûõ
ñêâàæèí.Ì., Ãîñòîïòåõèçäàò,
1963.
.
Ìóðàâüåâ È.Ì. è
äð. Ðàçðàáîòêà
è ýêñïëóàòàöèÿ
íåôòÿíûõ è ãàçîâûõ
ìåñòîðîæäåíèé.
Èçä.3-å.Ì., èçä-âî
"Íåäðà", 1970.
.
Ìóðàâüå â È.Ì., Ìèùåíêî
È.Ò. Íàñîñíàÿ
ýêñïëóàòàöèÿ
ñêâàæèí çà ðóáåæîì.Ì.,
èçä-âî "Íåäðà",
1967.
.
Ìóðàâüåâ Â.Ì., Ñ
å ð å ä à Í.Ã. Îñíîâû
íåôòÿíîãî è ãàçîâîãî
äåëà.Ì., èçä-âî
"Íåäðà", 1967. /
.
Îràíîâ Ê.À. Îñíîâû
òåïëîâîãî âîçäåéñòâèÿ
íà ïëàñò.Ì., èçä-âî
"Íåäðà", 1967.
.
Îðêèè Ê.Ã., Þð÷óê
À.Ì. Ðàñ÷åòû â òåõíîëîãèè
è òåõíèêå äîáû÷è
íåôòè.Ì., èçä-âî
"Íåäðà", 1967.
.
Ïðîê È.Þ. Ñîâåðøåíñòâîâàíèå
òåõíèêè ýêñïëóàòàöèè
íåôòÿíûõ ñêâàæèí.
Ì., èçä-âî "Íåäðà",
1968.
Ðàçìåùåíî
íà Allbest.ru