Проектирование цеха ремонта пневматических шин в г. Олекминске
Введение
В условиях рыночной экономики все более актуальными
становятся проблемы рационального использования производственного потенциала,
своевременного и эффективного ремонта техники, обновления машинно-тракторного
парка в соответствии с требованиями научно-технического прогресса. Сейчас любые
технические проблемы могут быть правильно поняты и обоснованно решены лишь с
учетом их экономической составляющей. Экономика становится определяющей при
выборе тех или иных вариантов технических решений; поэтому любой специалист
сельского хозяйства должен обладать как базовыми знаниями в этой области, так и
умением проводить расчеты. Перед инженерной службой предприятий стоит задача
правильно организовать технический сервис, добиться эффективного использования
всей многообразной техники с организацией на конечный результат - производство
конкурентоспособной продукции с минимально возможными затратами.
Нормальное развитие экономики России возможно лишь при
регулярном переоснащении современной, высокопроизводительной и экономичной
техникой. Рост обеспеченности тракторами, автомобилями, комбайнами и другими
машинами является прямым катализатором рынка услуг по ТО и ремонту
перечисленной техники.
Для поддержания технических средств в работоспособном состоянии была
создана и непрерывно совершенствуется ремонтно-обслуживающая база - система
ремонтных предприятий и станции технического обслуживания, оснащенных
соответствующим оборудованием. Ее основная задача - своевременное и
высококачественное проведение работ по техническому обслуживанию и ремонту
техники, восстановлению узлов и деталей, обеспечение ремонтного производства
технологическим оборудованием, совершенствование технологии и организации
ремонта во всех звеньях ремонтной сети.
Ремонтное производство совершенствуется путем
экономически обоснованной специализации и кооперирования ремонтных предприятий,
разработки и внедрения передовой технологии, новой техники.
На современном этапе развития сельского хозяйства
ремонт машин как средство их частичного воспроизводства получил широкое
развитие. Вместе с тем резко возросли требования к обоснованию экономической
целесообразности ремонта; они во многом определяют границы целесообразного
использования техники.
Экономическая эффективность восстановления деталей,
узлов и агрегатов служит основным критерием при выборе способов их
восстановления, технологии производства ремонтных работ, обосновании закупок
новой техники. Эффективность технического сервиса определяется первоначальными
технико-экономическими характеристиками машин, уровнем их использования,
своевременность проведения технического обслуживания и ремонта.
Забота об экономичности технического сервиса диктуется рынком,
необходимость снижения себестоимости товаров и услуг.
1. Технико-экономическое обоснование проекта
.1 Технико-экономическая характеристика района проектирования
.1.1 Характеристика и место расположения района проектирования
Олекминский улус (район) образован 9 января 1930 года. Расположен на
юго-западе республики . Площадь - 160,8 тыс. кв. км.
Административный центр - город Олекминск, расстояние от столицы
республики города Якутска: наземным путем - 651 км, водным - 620 км, воздушным
- 530 км.
Населенных пунктов 54, в том числе 1 город, 2 рабочих поселка, 51
сельский населенный пункт в составе 20 наслегов. Численность постоянного
населения 27 тыс. чел.
В улусе развиты как сельское хозяйство, так и промышленность. Главная
отрасль сельского хозяйства - животноводство (мясомолочное, скотоводство,
мясное табунное коневодство, свиноводство, звероводство). Выращиваются зерно,
картофель, овощи и кормовые культуры. Земли сельскохозяйственного назначения
составляют 70,7 тыс. га, из них пашни - 18,8%, сенокосы - 28,6%, пастбища -
52,6%. Развит пушной промысел. В улусе имеются сельскохозяйственные предприятия
, родовые общины, крестьянские хозяйства. Ведущее место в промышленности
занимает горнодобывающая, лесная промышленность (лесозаготовки и
деревообработка) и производство строительных материалов; пищевая
промышленность. Основные элементы транспортной системы, поддерживающие внешние
и внутренние связи - речной, автомобильный и воздушный виды транспорта.
Говоря о промышленности, хочется отметить, что рост производства
промышленной продукции по сравнению с 2010 годом вырос в 1,2 раза. Хорошим
источником пополнения улусного бюджета является деятельность: нефтепроводной
системы ВСТО и её подрядных организаций: «Велесстрой», ЗАО «Возрождение» и
т.п.; ОАО «Сахаэнерго» и высоковольтная линия электропередач; на юге нашего
улуса золотодобывающего предприятия ООО «Нерюнгри-Металлик». Идет реорганизация
лесной промышленности. Стабильно в улусе работает транспорт. Сохранено
муниципальное автотранспортное предприятие, которое осуществляет пассажирские
перевозки по всему улусу и за его пределами. Стабильно работает
жилищно-коммунальное хозяйство. На 18% вырос оборот общественного питания.
Торговля в улусе представлена разными формами собственности, при этом 85%
занимает оборот частной собственности.
Климат в данной местности резко-континентальный, с
относительно теплым коротким летом и продолжительной зимой. Средняя летняя
температура +18°С, средняя температура зимой -32°С. Территория хозяйства
охватывает 1ую агроклиматическую зону. Район достаточно теплый, увлажненный. В
летнее время на климат долины существенное влияние оказывает река Лена, дающая
тепловой баланс. Климат района значительно мягче климата Центральной Якутии и
более благоприятен для возделывания районированных сельскохозяйственных культур
Якутии. По количеству осадков район относится к слабо засушливой зоне. Годовая
сумма осадков в среднем за пять лет составляет 335 мм. Количество осадков по
годам очень неустойчивое. В связи с большой изменчивостью осадков по годам, в
отдельные годы запасы продуктивной влаги в почве бывают недостаточными.
Среднегодовая температура воздуха колеблется от +4,8 до -6,9 по Цельсию.
Средняя максимальная температура воздуха колеблется от +0,5 до +1,6 градусов, а
средне-минимальная от -9,6 до -12 градусов. Среднегодовая температура самого
холодного месяца - января составляет минус 28,4 и 39,1 градуса. Абсолютный
минимум опускается до минус 53,2 градуса. Период с температурой выше 10
градусов продолжается 90-100 дней. Сроки перехода среднесуточной температуры
воздуха через 5 градусов для большинства сельскохозяйственных культур совпадает
с периодом вегетации. Первое понижение температуры в ночное время наступает в
первой декаде августа. Число дней с морозами в среднем за 5 лет составило 249
дней, или безморозный период равняется 116 дням. Средняя температура
поверхности почвы составляет минус 6-8 градусов, средний максимальный плюс 3
минус 6 градусов, а средняя минимальная температура минус 14 минус 16градусов.
Влажность воздуха держится на уровне 70-75%. Скорость
ветра незначительная-1,9-2,5м/с.
Территория Олекминского района, где планируется
мастерская, расположена на «Приленском плато», отметки высот над уровнем моря
составляют 250-300 метров. Пойменная заливная терраса сложена слоистыми
аллювиальными суглинками - супесями, рельеф - грядоволнистый. Первая
надпойменная терраса сложена толщей песков, супесей, прикрытых сверху
лессовидными суглинками мощностью 0,5 - 1 метр. Мезорельеф и микрорельеф слабо
выраженный, почвенный покров неоднородный.
Территория планирования расположена на берегу реки
Лена, поэтому выгодно отличается изобилием водных источников. Основным стоком
является весенний паводковый, который обычно продолжается 30-40 дней. Питание
рек и озер снеговое и дождевое.
1.2 Обоснование
спроса на услуги цеха по ремонту шин
От маркетингового анализа и обоснования спроса во
многом зависит последующая работа цеха. Мощность цеха должна быть такой, чтобы
обеспечивалась прибыльность и привлекательность ее для клиентуры. Он, наряду с
уровнем цен и составом предоставляемых услуг определяется качеством и
продолжительностью обслуживания, включая время ожидания.
Одним из наиболее важных факторов, определяющих
мощность и размеры цеха по ремонту шин, является число автомобилей, находящимся
в зоне обслуживания проектируемого цеха, а также число их заездов в цех.
При обосновании мощности и размеров проектируемого
цеха необходимо учитывать наличие и пропускную способность действующих
предприятий автосервиса в данном районе, возможность их совершенствования и
развития. Проектирование и последующее строительство любого предприятия, а
особенно предприятия автосервиса, необходимо связывать с перспективой
увеличения предлагаемых услуги, изменениями в конструкции автомобилей, условий
их эксплуатации и др.
1.3 Обоснование коммерческой идеи
Обоснование коммерческой идеи строительства цеха по ремонту шин грузовых
и легковых автомобилей в городе Олекминске.
В настоящее время обслуживание грузовых и легковых автомобилей различных
марок и модификаций, принадлежащих гражданам и АТП, выходит на новый уровень в
связи со строительством нефтепровода и высоковольтной линии электропередач, а
также возможно газопровода также в районе государство активно развивает
сельское хозяйство. В связи с этим были сделаны следующие выводы при
проектировании цеха по ремонту шин:
1. Наибольшим спросом будут пользоваться услуги по ремонту шин легковых
машин, но этот рынок уже практически сформировался стихийно. Осталась не
занятая ниша - это ремонт шин грузовых автомобилей, еще больше перспектив этому
сегменту рынка добавляет реализация государственных и республиканских
мегапроектов: ВСТО, ВЛ Сунтар т.е. увеличение количества грузовой и специальной
технике занятой в районе.
. Поставлять услуги по ремонту не только на стационарном посту, но
и с выездом к заказчику.
. Предлагаемые услуги цеха по ремонту шин должны быть быстрыми и
качественными и выполнятся квалифицированными специалистами.
. Оснащение цеха новой высокоэффективной техникой и оборудованием,
снижение доли ручного труда и повышает качество услуг.
Одним из важнейших факторов, определяющих мощность цеха, является
количество автомобилей в данном районе.
Таблица 1.1 Количество автомобилей в Олекминском районе по данным ГИБДД
на 28.04.11 .
|
Автомобили
|
ТС юр.лиц.
|
ТС физ.лиц.
|
Всего
|
|
Грузовые автомобили
|
304
|
615
|
919
|
|
Легковые автомобили
|
97
|
2518
|
2615
|
|
Прицепы
|
29
|
4
|
33
|
|
Полуприцепы
|
15
|
6
|
21
|
|
Автобусы
|
78
|
296
|
374
|
Таблица 1.2 Количество автомобилей в Олекминском районе по данным ГИБДД
на 01.02.10.
|
Автомобили
|
ТС юр.лиц.
|
ТС физ.лиц.
|
Всего
|
|
Грузовые автомобили
|
280
|
588
|
868
|
|
Легковые автомобили*
|
102
|
2673
|
2775
|
|
Прицепы
|
27
|
3
|
30
|
|
Полуприцепы
|
15
|
6
|
21
|
|
Автобусы
|
40
|
51
|
91
|
Таблица 1.3 Количество автомобилей в Олекминском районе по данным ГИБДД
на 01.02.09.
|
Автомобили
|
ТС юр.лиц.
|
ТС физ.лиц.
|
Всего
|
|
Грузовые автомобили
|
276
|
574
|
850
|
|
Легковые автомобили*
|
95
|
2547
|
2642
|
|
Прицепы
|
27
|
3
|
30
|
|
Полуприцепы
|
13
|
6
|
19
|
|
Автобусы
|
40
|
43
|
83
|
*- В строку легковые автомобили также входят автомобили марки УАЗ и его
модификации.
Из анализа данных полученных в ГИБДД видно, что в основном транспортный
поток формируется из частных автомобилей. В связи с интенсивным развитием
сельского хозяйства, строительства новых объектов, увеличение численности
населения можно прогнозировать увеличение транспортных потоков.
.4 Описание рынка и конкуренции
Анализ рынка предоставляемых услуг для грузовых и легковых автомобилей в
Олекминском районе выявил потребность в услугах цеха по ремонту шин, особенно
для грузовой техники, так как другие шиномонтажные предприятия не могут
обхватить этот сегмент рынка, что делает проект выгодным с позиции
конкурентоспособности.
.5 Список наиболее востребованных услуг
Прежде всего, выбирается перечень услуг, которые шиномонтажный цех
предложит автолюбителям.
Виды услуг цеха:
· Балансировка штампованных дисков.
· Балансировка литых дисков.
· Смена покрышек (переобувка).
· Сборка колеса (покрышка + камера + диск).
· Демонтаж, монтаж колеса (легковой, грузовой машины).
· Ремонт проколов камеры покрышки.
· Подкачка колеса.
· Проверка давления в шинах.
2. Технологическая часть
.1 Технология производственного процесса ремонта шин
Производственный процесс - это совокупность действий людей и орудий
производства конкретного предприятия, направленных на изготовление или ремонт
(обслуживание) выпускаемых изделий. В ремонтном производстве в результате
производственной деятельности работников предприятий восстанавливают исправность,
работоспособность объекта или ресурс изделия и его составных частей.
Производственный процесс ремонта машин отражает организацию и
последовательность выполнения ряда технологических процессов при участии в этом
основных и вспомогательных служб предприятий. В него входят разборка
неисправного изделия, ремонт и восстановление деталей, сборка изделия,
контрольные и транспортные операции, хранение материалов, запасных частей и др.
Производственный процесс включает в себя основной (технологический),
вспомогательный и обслуживающий процессы.
Технологический процесс непосредственно связан с последовательным
изменением состояния и формы объекта.
К вспомогательным и обслуживающим процессам относят технический контроль,
транспортирование и складирование.
Технологический процесс - это часть производственного процесса,
содержащая действия по изменению и последующему определению состояния предмета
производства. При этом указывается, например, последовательность установки
деталей, оборудование, контрольный инструмент, применяемые в процессе сборки
объекта.
Технологический процесс восстановления деталей, к примеру, включает
последовательность выполнения технологических операций, связанных с подготовкой
детали к процессу восстановления (очистка, разборка, дефектация и т. п.),
собственно восстановления (наложение заплат, нанесение покрытия и т п.) и
необходимых операций по обработке и проверке на соответствие восстановленной
детали требованиям технической документации.
Технологическая операция - законченная часть технологического процесса,
выполняемая на одном рабочем месте при изготовлении одной и той же продукции
(ремонт детали).
.1.1 Приемка объектов в ремонт
Подготовка машины к ремонту проводится на предприятии. Она включает, при
необходимости наружную очистку, мойку машины либо детали.
Наружная очистка - весьма трудоемкая операция. Ее выполняют не только
перед отправкой или постановкой машины на ремонт, но и перед проведением ТО и
ее постановкой на хранение.
Один из наиболее эффективных способов - подача на очищаемую поверхность
смеси пара с водой под давлением 0,6...2,0 МПа.
Дорожную грязь отмывают водяной струей при давлении 1,6...2,0 МПа и
температуре 70...90 °С без моющих средств.
Если колеса загрязнены маслом и дорожной пылью, то их очищают пароводяной
струей при 0,8-1,2 МПа к температуре 95...100 °С с добавлением моющих средств.
Перед ремонтом детали (покрышки и шины) осматривают и подвергают
диагностированию, чтобы определить ее техническое coстояние.
Методы и средства диагностирования различны. Их цель состоит в определении
технического состояния и причин неисправностей детали и в выдаче рекомендаций
по выполнению необходимых операций ремонта.
Решаются следующие задачи:
Ø проверка с исправности и работоспособности;
Ø поиск дефектов, нарушивших исправность или работоспособность;
Ø сбор исходных данных для прогнозирования остаточного ресурса
или вероятности безотказной работы деталей в межремонтный период.
Если объем работ достаточно большой и требует длительного нахождения в
мастерской, на принятую машину составляют приемо-сдаточный акт в двух
экземплярах, один из которых остается в мастерской, а другой выдается
заказчику.
В акте указывают техническое состояние и комплектность машин, агрегатов,
вид ремонта и дополнительные требования заказчика. При этом по письменной
заявке заказчика в акте должны быть особо оговорены необходимость замены или
ремонта пневматических шин, продолжительность нахождения машины (деталей) в
ремонте.
2.1.2 Разборка машин и агрегатов
При текущем ремонте (а ремонт шин попадает именно в эту категорию работ)
машину разбирают только в тех пределах, которые необходимы для замены (ремонта)
агрегатов (колесо в сборе), узлов и сборочных единиц (диск, камера, покрышка),
утративших работоспособность.
Разборочные операции выполняют в последовательности гарантирующих
неповреждение машины и её деталей, используя универсальные и специальные стенды
и оснастку.
Крепежные детали (болты, гайки) после разъединения сборочных единиц
следует вновь установить на свои места, чтобы сберечь приработанность
(прилегаемость) резьбовых поверхностей и в дальнейшем сохранить жесткость
соединений.
Для облегчения разборки корродированных резьбовых соединений применяют
специальные гайковерты со значительным крутящим моментом. Если такая
возможность отсутствует, работу выполняют вручную после предварительной
выдержки резьбового соединения в керосине - накладывают ветошь, смоченную
керосином (или уксусной кислотой). При использовании уксусной кислоты следует
соблюдать меры предосторожности, а разобранные резьбовые поверхности сразу же
тщательно промывать большим количеством воды.
.1.3 Оборудование и оснастка для разборочных работ
На предприятиях всех уровней для увеличения производительности труда
повышают степень механизации разборочных и сборочных операций, создают
максимальные удобства для работы с объектом разборки.
Стационарные стенды. Разборку агрегатов и узлов ведут на передвижных или
стационарных стендах. Для разборки используют универсальные стенды, позволяющие
изменять положение объекта разборки.
Механизированный инструмент. Во время разборки и сборки резьбовых
соединений применяют механизированный инструмент (гайковерты, винтоверты,
шпильковерты к т. п.), что способствует повышению производительности труда, а
также улучшению качества работы.
Подъемно-транспортное оборудование. Его подразделяют на три вида:
подъемное, подъемно-транспортное и транспортное.
Подъемное оборудование. К нему относятся ручные и электрические тали,
пневматические подъемники, гидравлические и электромеханические, передвижные и
стационарные домкраты. Указанные устройства предназначены для подъема
(вертикального перемещения) агрегатов, узлов или всей машины при выполнении
работ по текущему ремонту, техническому обслуживанию, погрузке (разгрузке).Для
подвешивания агрегата или детали на крюке подъемного устройства используют
грузозахватные приспособления, способствующие быстроте, надежности и удобству
крепления.
Подъемно-транспортное оборудование. В ремонтных предприятиях применяют
кран-балки, мостовые краны, монорельсы, поворотные консольные краны, краны-штабелеры
и манипуляторы. Транспортное оборудование. К нему относятся безрельсовые
тележки (ручные и самоходные), конвейеры и рольганги. Это оборудование
предназначено в основном для горизонтального непрерывного или периодического
перемещения различных грузов (машин, агрегатов и деталей).
.1.5 Дефектация деталей
Дефектация - операция технологического процесса ремонта машины,
заключающаяся в определении степени годности бывших в эксплуатации деталей и
сборочных единиц к использованию на ремонтируемом объекте. Она необходима для
выявления у деталей эксплуатационных дефектов, возникающих в результате
изнашивания, коррозии, усталости материала и других процессов, а также из-за
нарушений режимов эксплуатации и правил технического обслуживания. В результате
трения и изнашивания деталей в конкретных условиях эксплуатации изменяются
геометрические параметры (высота протектора), шероховатость рабочих
поверхностей и физико-механические свойства поверхностных слоев материала
(эластичность резины), а также возникают и накапливаются усталостные
повреждения (трещины, разрывы). У деталей обычно контролируют только те
параметры, которые могут изменяться в процессе эксплуатации машины. Многие из
них имеют несколько дефектов, каждый из которых требует проверки. Для
уменьшения трудоемкости дефектации необходимо придерживаться той
последовательности контроля, которая указана в технологических картах, где
вначале приведены наиболее часто встречающиеся дефекты.
Методы дефектации. При дефектации применяются различные методы выявления
дефектов. Осмотр. Это наиболее распространенный метод дефектации. С ею помощью
выявляют наружные повреждения деталей: деформации, трещины» задиры, царапины,
механическое истерание, раковины, выкрашивания, повреждение покрытий,
негерметичность и др. Осмотр возможен как невооруженным глазом, так и с помощью
оптических средств. Простукивание. Метод используется для определения плотности
посадки шпилек, нарушения плотности (целостности) деталей, основан на изменении
тембра звучания детали при нанесении по ней легкого удара молотком. Если
посадка плотная и деталь сплошная, то звучание чистое. При нарушенной
сплошности звук получается глухой, дребезжащий.
Проверка на ощупь. Определяют, есть или нет зазор, плавность вращения,
перемещения детали, свободный ход, эластичность и местный износ. Измерение
размеров. Метод используется для определения дефектов, связанных с износом,
короблением, нарушением взаимного расположения геометрических осей и
поверхностей. Порядок измерения, применяемый инструмент и приспособления, место
и число замеров оговаривается в соответствующих технологических картах.
Дефектация ведется не только статическими методами, но и динамически
(балансировка).
Для определения геометрических параметров деталей и соединений используют
штангенциркули, индикаторные нутромеры, универсальные штативы с индикаторами.
.1.6 Описание технологического процесса
2.2 Расчет производственной программы цеха
.2.1 Расчет годового объема работ
Годовой объем работ цеха по ремонту шин:
Т = Nсо×tср×Драб(2.1)
где: Nсо - число обслуживаемых автомобилей;ср -
средняя трудоемкость работ одного заезда автомобиля в цех чел.ч.;
Драб - число рабочих дней в году.
Для легковых:
Тл = 5*255*0,7=892,5 чел.ч
Для грузовых:
Тг=2*255*1,2=612 чел.ч
Общая трудоемкость цеха по ремонту пневматических шин:
Тобщ= Тл + Тг = 892,5+612=1504,5 чел.ч
.2.2 Годовой объем работ по самообслуживанию
Объем вспомогательных работ цеха по ремонту составляет 20% от общего
годового объема работ это 300,9 чел.ч. Распределение вспомогательных работ по
их видам приводится в таблице 2.1.
Таблица 2.1 Распределение вспомогательных работ по их видам.
|
Виды работ
|
Трудоемкость, чел.ч
|
%
|
|
По самообслуживанию
|
150,45
|
50
|
|
Транспортные
|
30,09
|
10
|
|
Приемка, хранение и выдача
материальных ценностей
|
45,135
|
15
|
2.2.3 Расчет числа производственных рабочих
Технически необходимо число рабочих:
Рт = Тг /Фг, (2.2)
где Тг - годовой объем работ, человек.
Фг - годовой фонд рабочего времени, человек.
Годовой фонд времени технологически необходимого рабочего, при
односменной рабочей недели, определяется продолжительностью смены и числом
рабочих дней в году:
Фг = ( ДК.Г. - ДВ П ) ЧСМ - ДПП
(2.3)
где: Фг - годовой фонд времени технологически необходимого
рабочего, час;
ДК.Г. - число календарных дней в году, дн;
ДВ П - число праздничных дней - число выходных дней в году,
дн;
ЧСМ - продолжительность рабочей смены, ч;
ДПП - число предпраздничных дней, дн;
ФТ = ( 366-111)×7=1785 ч
Рт = (1504,5+300,9) / 1785 = 1,01 =1 человек.
.2.4 Участок диагностирования и ремонта шин
Площадь цеха по ремонту шин:
ПР = КОБ * FОБ
где: КОБ - коэффициент плотности расстановки оборудования;ОБ
- площадь занимаемая оборудованием на участке (суммарная площадь
горизонтальной проекции оборудования);
Распределение оборудования по участку
цех
ремонт шина тележка
Таблица 2.4 Распределение оборудования.
|
№
|
Оборудование
|
Кол-во
|
Габаритные размеры, мм
|
Площадь, м2
|
|
Шиномонтажный стенд: Ш-515Б
|
1
|
1650/1500/1000
|
2,47
|
|
Балансировочный стенд:
СБМП-200
|
1
|
1280/1730/1350
|
2,21
|
|
Компрессор переносной: К 11
|
1
|
1000/470/800
|
0,47
|
|
Ванна для проверки колес и
камер: КС-013
|
1
|
900/510/780
|
0,45
|
|
Тележка инструментальная:
ТУ-1
|
1
|
660/410/800
|
0,35
|
|
Верстак
|
1
|
1380/600/845
|
0,85
|
|
Стеллаж для расходных
материалов
|
1
|
1000/500/2000
|
0,5
|
|
Ларь для отходов
|
1
|
300/500/500
|
0,15
|
|
Стеллаж для покрышек
|
1
|
2000/1000/1000
|
2
|
|
Пневмогайковерт для гаек
колес грузовых автомобилей и автобусов: И-350 Передвижной, напольный,
пневматический, реверсивный.
|
1
|
790/750/1020
|
0,6
|
|
Электровулканизатор: Гном-Т
|
1
|
450/300/115
|
0,05
|
|
Тележка для снятия колес
грузовых автомобилей: П-254
|
1
|
1160/820/920
|
0,95
|
|
ИТОГО
|
|
|
11,075
|
ПР = 4 * 11,075 = 44,3 м2
.3 Расчет площади складских и вспомогательных помещений
Площадь складских помещений (SСК) считается приближенно по
нормируемой площади складов на 1000 обслуживаемых автомобилей.
Согласно ОНТП существуют следующие нормы:
шины 8 м2
Принимаем SСК = 8 м2
Всего площадь мастерской и площадь складских и вспомогательных помещений
равна 52,3 м2 Экономически целесообразнее снимать помещение для цеха
по ремонту шин в черте города с тем же метражом, который рассчитан в данной
дипломной работе выше.
Здание цеха по ремонту шин подобрано, так что бы при окупаемости цеха
можно было увеличить его масштаб, или открыть какое либо новое производство
совместно с уже имеющимся.
3. Конструкторская часть
.1 Технические требования к приспособлению
Приспособление должно быть универсальным, надежным, безопасным в
обращении, требовать небольшого усилия от рабочего, быть простым и дешевым в
изготовлении.
.2 Техническое задание конструирование приспособления
· Произвести расчет основных деталей приспособления.
· Описать работу приспособления.
.3 Обоснование выбора конструкции
Тележка монтажно-транспортная предназначена для подъёма и опускания
крупногабаритных колёс при их монтаже и демонтаже с транспортного средства, а
так же транспортировки крупногабаритных шин по территории шиномонтажного цеха.
Широкий диапазон транспортируемых колес техники.
Возможность транспортировать колеса тракторов и погрузчиков
Прочная и устойчивая металлическая конструкция
Легкость монтажа, либо поставка “готовым к использованию”
Безотказная эксплуатация
Простой и надежный механизм подъема
Инструмент тележка, который можно изготовить на любом предприятии,
имеющем ремонтную базу. Достоинством этой разработки является простота
изготовления, а также долговечная и бесперебойная эксплуатация.
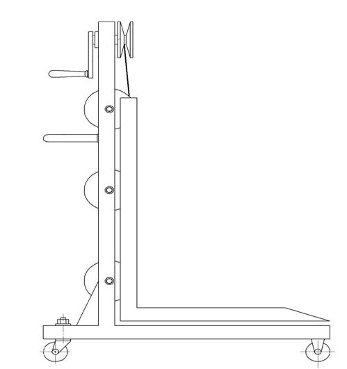
Тележка монтажно-транспортная
.4 Общее устройство
Приспособление для транспортировки шин состоит из основной рамы; поднимающееся
платформа с вилами для колес; водило для транспортировки; имеет 4 колеса, 2 из
них поворотные; в качестве подъемного механизма используется лебедка.
.5 Расчет основных деталей приспособления
Максимальная распределенная нагрузка на тележку составляет 5000Н, так как
масса некоторых шин не превышает 500 кг. Расчет ведется по подбору подходящих
профилей, с последующим определением их прочностных характеристик.
.5.1 Расчет сварного соединения
Тавровое соединение испытывает нагрузки силы F = 5000 Н, при общей длине
шва b = 7 см. Соединение следует сконструировать равнопрочным цельному
элементу.
Наиболее нагруженным звеном стенда являются сварные
соединения деталей каркаса, работающие на сжатие. Из условия прочности шва
следует, что
с
- толщина свариваемой детали, с = 50 мм
σ - расчетное напряжение растяжения сжатия в сварном шве, МПа,
[σ'р] -
допускаемое напряжение сварного шва, МПа
Допускаемое
напряжение для сварного шва в машиностроительных конструкциях при ручной сварке
электродом Э42 при растяжении равно допускаемому напряжению стали [σ'р]= [σр]
При
изготовлении данного приспособления была использована сталь прокатная угловая
равнополочная ГОСТ 8509-72 профиль № 3,2 марка стали Ст 3 с допускаемым
напряжением [σр]=160
МПа; сварка произведена электродом Э42
[σ'р]=[σр]=160МПа
[σр]=160 МПа
>
σ = 1,43МПа
Из расчета видно, что расчетное напряжение не превышает допустимое
напряжение на сварном шве, откуда следует, что при данных условиях сварных
работ, приспособление сохранит достаточную устойчивость и жесткость.
.5.2 Определение параметров для каната
Определяем усилие в канате, набегающем на барабан при подъеме груза:
, Н
где
G - грузоподъемность, тележки кг;
ηб - КПД
барабана;= 500 кг = 5000 Н
Определяем
расчетное разрывное усилие в канате при максимальной нагрузке:
, Н
где
k - коэффициент запаса прочности
Н
По
разрывному усилию выбираем соответствующий диаметр каната.
Канат
одинарной свивки типа ЛК-О конструкции 1×5 (1+4). ГОСТ 3062-80. Техническая характеристика приведена в
таблице 3.2 .
Таблица
3.1 Техническая характеристика стального каната
|
Диаметр каната, мм
|
Масса 100м каната, кг
|
Разрывное усилие каната,
кН, не менее
|
Маркировочная группа, МПа
|
|
5,40
|
122,6
|
12,5
|
470
|
3.5.2 Определение основных параметров для барабана
Определяем диаметр барабана по средней линии навитого стального каната:
где
dk - диаметр выбранного каната;- коэффициент, зависящий от типа
привода механизма и режима работы (ПВ %).
Определяем
длину каната, навиваемого на барабан:
, мм
где
H - высота подъема груза, м;- диаметр барабана по средней линии навитого
каната, м;1 - число запасных витков на барабане до места крепления
(1,5…2,0) принимаем 1,5;2 - число витков каната, находящихся под
зажимным устройством барабане (3…4) принимаем 3;
Определяем
рабочую длину барабана:
где lк - длина
каната, м;- шаг витка принимаем по табл. 5 [7., c.20]- число слоев навивки;к
- диаметр каната, мм;- диаметр барабана, мм;
γ
- коэффициент не плотности навивки каната
(для нарезных γ=1,0
для гладких - многослойных барабанов γ=0,9…0,95)
принимаем γ=0,9 для гладких - многослойных барабанов.
При навивки каната в
несколько слоев барабан изготавливаются гладким.
м
Определяем полную длину
барабана:
, мм (3.6) [7., c. 20]
где B - расстояние между
центрами блоков крюковой обоймы, мм;- часть барабана, необходимая для
закрепления каната;
мм
мм
Определяем толщину стенки
барабана из расчета на сжатие:
где Fб - усилие в
канате, Н;- шаг витков каната на барабане, мм;
[σcж] -
допускаемое напряжение сжатия материала барабана,
[σcж]=0,5σт - для
стали,
Для стали 35 Л ГОСТ 977-65 σт=280 Н/мм2.
Н/мм2.
Н/мм2.
Определяем минимальную
толщину стенки барабана, мм:
, мм (3.8) [7., c. 21]
где Dб - диаметр
барабана по дну канавки;
, мм
мм.
мм.
В процессе работы стенки
барабана испытывают сложное напряжение сжатия, кручения и изгиба.
При длине барабана менее трех
диаметров напряжения изгиба и кручения не превышает 10-15 % от напряжения
сжатия. В этом случае основным расчетом стенки барабана является расчет на
сжатие; больше трех диаметров, то расчет стенки барабана осуществляется по
сложному напряженному состоянию стенки.
Определяем напряжение от
изгиба и кручения, Н/мм2:
(3.9) [7., c,21]
где α - коэффициент приведения, учитывающий отношение
допускаемого напряжения на изгиб, соответствующего режиму изгибающих нагрузок,
к допускаемому напряжению на изгиб, соответствующему режиму крутящих нагрузок, α=0,75.
Определяем изгибающий момент
в опасном сечении барабана, расчет производим по формуле
(3.10) [7., c.21]
Определяем крутящий момент:
(3.11) [7., c. 21]
Определяем эквивалентный
момент сопротивления поперечного сечения барабана.
(3.12) [7., c. 21]
Напряжение от изгиба кручения
определяем по формуле (3.9)
При многослойной навивки
каната на барабан, определяем допускаемое напряжение сжатия в стенке барабана:
(3.13) [7., c. 22]
где k - коэффициент,
учитывающий повышение напряжения сжатия в стенке барабана.
Ориентировочно при m=2;
k=1,28.
При однослойной навивке
каната на барабан, которая применяется на гладких барабанах расчетный диаметр
определяется по зависимости:
(3.14) [7., c. 22]
где Dmax - диаметр
по средней линии каната на последнем слое навивки;б - диаметр
барабана по наружной поверхности;1 - диаметр барабана по внутренней
поверхности;- диаметр каната;
Конец каната на барабан
наиболее часто крепят накладкой с трапецеидальной канавкой. Накладка крепится
двумя болтами.
Определяем натяжение каната в
месте крепления на барабане:
(3.15) [7., c. 24]
где f - коэффициент трения
между канатом и барабаном, f=0.1;
α
- угол обхвата барабана запасными витками
каната, рад: α=3π;
е - основание логарифма,
е=2,74;
Сила, растягивающая один болт
при креплении конца каната на барабане накладкой:
(3.16) [7., c. 24]
где f1 -
приведенный коэффициент трения между канатом и накладкой с трапецеидальным
сечениям канавки.
β
- угол наклона боковой грани канавки β=400.
Z - число болтов в накладке;
α1
- угол обхвата барабана витком каната,
рад:, α1=2π.
Определяем силу, изгибающую
болт:
(3.17) [7., c. 25]
Суммарное напряжение каждом
болте:
(3.18) [7., c. 25]
где k - коэффициент запаса
надежности крепления каната: k=1.5;
ℓ - расстояние от
головки болта до барабана, мм;1 - внутренний диаметр резьбы болта,
мм;
[σр] -
допускаемое напряжение на растяжение материала болта, Н/мм2
При креплении каната
прижимной планкой сила F1прижатия планки одним болтом:
(3.19) [7., c. 25]
Сила изгибающая болт:
(3.20) [7., c. 25]
Определяем суммарное
напряжение в каждом болте:
(3.21) [7., c.25]
4. Экономическая часть
.1 Стоимость основных производственных фондов
Расчет стоимости основных производственных фондов
Основные производственные фонды - это те средства труда, которые
участвуют во многих производственных циклах, сохраняя при этом свою натуральную
форму, а их стоимость переносится на годовой продукт в течение длительного
времени, их стоимость определяется:
СОФ = СЗД + СОБ + СИНВ + СТР
где: СОФ - стоимость основных производственных фондов, руб.;
СЗД - расчетная стоимость здания, руб.;
СИНВ - стоимость инвентаря, руб.;
СТР - стоимость транспортных расходов, руб.;
СОБ - стоимость оборудования, руб.;
СЗД = S × P
где: S - площадь здания, м2;- стоимость одного кв. метра
площади, руб.;
СЗД =52,3 × 7000 =366100 руб.
Стоимость оборудования определяется:
СОБ = Σ Сi × n
где: Сi - стоимость единицы оборудования, руб.;- количество
единиц оборудования;
Таблица 4.1 Оборудование мастерской.
|
№
|
Наименование
|
Количество
|
Цена, руб.
|
|
1
|
Шиномонтажный стенд
|
1
|
130 000
|
|
2
|
Балансировочный стенд
|
1
|
98 850
|
|
3
|
Компрессор переносной
|
1
|
14000
|
|
4
|
Домкрат
|
2
|
3450
|
|
5
|
Ванна для проверки колес и
камер
|
1
|
3900
|
|
6
|
Тележка инструментальная
|
1
|
8600
|
|
7
|
Тележка для снятия колес
грузовых автомобилей
|
1
|
15440
|
|
8
|
Верстак
|
1
|
12000
|
|
9
|
Стеллаж для расходных
материалов
|
1
|
4900
|
|
10
|
Ларь для отходов
|
1
|
370
|
|
11
|
Стеллаж для покрышек
|
1
|
2000
|
|
12
|
Пневмогайковерт для гаек
колес грузовых автомобилей и автобусов
|
1
|
23400
|
|
13
|
Электровулканизатор
|
1
|
10250
|
|
Итого
|
-
|
327160
|
СОБ =327160
Стоимость инвентаря составляет 2% от стоимости оборудования:
СИНВ = 0,02 × СОБ
СИНВ = 0,02 * 327160 = 6543,2 руб.
.2 Расчет затрат на заработную плату производственных рабочих
Фонд заработной платы определяется на основании данных о плановой
численности ремонтных рабочих, годовом объеме работ, плановом фонде рабочего
времени одного рабочего и средней часовой тарифной ставки, рассчитанной для
рабочих.
Кроме 1 ставки производственного рабочего предприятию необходимы не
производственные рабочие: бухгалтер, экономист, инженерно-технический персонал,
технический персонал. Так как планируемое предприятие небольшое в штат введем
только ставку инженерно-технического работника (ИТР), сразу оговоримся, что
достойную (рыночную) оплату труда выплачивать будет не рентабельно и объем работ
по ставкам небольшой, поэтому функции ИТР возможно будет выполнять владелец
мастерской.
Таблица 4.2 Исходные данные для расчета
|
№
|
Показатель
|
Обозначение
|
Единица измерения
|
Значение
|
|
1
|
Годовой объем работ на
участке
|
ТУЧ
|
чел.-ч.
|
1805,4
|
|
2
|
Число рабочих на участке
|
N
|
чел.
|
1
|
Фонд заработной платы производственного работника по тарифу:
ФЗПТ = СЧ × ТУЧ
ФЗПТ = 35 × 1805,4 = 63189 руб.
Премии за производственные показатели составляют:
ПР = 0,5 × ФЗПТ. ОБЩ
ПР = 0,5 × 63189 = 31594,5 руб.
Основной фонд заработной платы производственного работника определяется:
ФЗПОСН = (ФЗПТ. ОБЩ + ПР)
×2,5
ФЗПОСН = (63189+ 31594,5)×2,5 = 236958,75
руб.
Средняя заработная плата производственного рабочего за месяц:
ЗПСР = ФЗПОСН/ nм
ЗПСР =236958,75/12 = 19746,56 руб.
где: nм -количество месяцев в году;
Таблица 4.3 Всего затрат на оплату труда.
|
№
|
Показатель
|
Обозначение
|
Единица измерения
|
Значение
|
|
1
|
Численность работников
|
N
|
чел.
|
1
|
|
2
|
Основной фонд заработной
платы
|
ФЗПОСН
|
руб.
|
236958,75
|
|
3
|
Отчисления на социальные
нужды (ЕСН 26,1%)
|
ОСОЦ
|
руб.
|
61846,23
|
|
4
|
Общие затраты на оплату
труда с отчислениями
|
ФЗПОБЩ..СОЦ
|
руб.
|
298804,98
|
.3 Расчет затрат на амортизационные отчисления
Затраты на амортизационные отчисления состоят из двух статей:
а) на полное восстановление оборудования принимаем равными 12% от
балансовой стоимости оборудования - СА.ОБ ;
СА.ОБ = 0,12 × 327160 = 39259,2 руб.
б) отчисления на восстановление здания принимаем равными 3% от его
стоимости - СА.ЗД .; СА.ЗД = 0,03 ×
366100 = 10983 руб.
Суммарные амортизационные отчисления СА.ОБЩ;
СА.ОБЩ = СА.ОБ + СА.ЗД = 39259,2 + 10983
= 50242,2 руб.
.4 Расчет хозяйственных накладных расходов
.4.1 Расчет затрат на электроэнергию для силовой и осветительной нагрузки
Расходы на электроэнергию для силовой и осветительной нагрузки определяются
умножением годового расхода электроэнергии в киловатт-часах на стоимость одного
киловатт-часа.
Подсчитать суммарную активную мощность электрооборудования.
По выбранному оборудованию, представленному во второй части дипломного
проекта определяем суммарную мощность. Расчет представлен в таблице.
Таблица 4.4 Суммарная мощность.
|
№
|
Вид оборудования
|
Кол-во
|
РП, кВт
|
Номин. мощность
|
Коэф. использования
|
Активная мощность
|
|
1
|
Шиномонтажный стенд
|
1
|
2,2
|
8,5
|
0,6
|
5,1
|
|
2
|
Балансировочный станок
|
1
|
0,5
|
1,9
|
0,6
|
1,14
|
|
3
|
Компрессор
|
1
|
2,2
|
8,5
|
0,7
|
5,95
|
|
4
|
Вулканизатор
|
1
|
0,3
|
1
|
0,2
|
0,2
|
|
Итого
|
-
|
-
|
19,9
|
-
|
12,39
|
Определим годовой расход электроэнергии:
Эт=Фвр.об×Ксм×∑Ра,
где Фвр.об - фонд времени оборудования, составляет 2009 ч.;
Ксм - коэффициент сменности;
∑Ра - суммарная активная мощность, кВт.
Эт=2009× 1×12,39= 24891,51кВт-ч.
Затраты на электроэнергию по оборудованию за год:
Сэ=Эт×С;
СЭ=24891,51×2,70=67207рублей.
Определим расходы на электроэнергию, расходуемую на освещение:
Рэ.о=Кс×∑Nо.у×Пи.г×Со.н,
где Кс - коэффициент спроса для осветительных установок, Кс= 0,85;
∑No.y - мощность осветительных установок, Квт;
Пи.г - число часов максимального использования осветительной нагрузки в
год,
Со.н - стоимость 1 кВт-ч. осветительной нагрузки, руб.
Рэ.о= 0,85×13,9×490×2,70=15631,2руб.
Общие затраты на электроэнергию:
Сэ.о.=67207 +15631,2=82838,2руб.
.4.2 Расчет потребляемого количества воды
Вода потребляется на производственные и бытовые нужды.
Расчет воды на бытовые нужды:
Ø для хозяйственно-питьевых нужд, в основных целях - 25 л в
смену на каждого работающего;
Ø для групповых умывальников: при чистых производствах 3 л на
процедуру.
VХОЗ = 1 × 255 × 25 = 6375 л.УМ
= 2 × 255 × 6 = 3060 л.общ =6375 + 3060=9435 л.
СВ = 9435 × 3,07 = 28965,45 руб.
.4.3 Расчет затрат на эксплуатацию оборудования
Затраты на ремонт оборудования принимаются примерно 5% от его стоимости:
СР.ОБ. = 0,05 × СОБ
СР.ОБ. = 0,05 × 327160 = 16358 руб.
4.5 Общецеховые расходы цеха по ремонту шин
Общецеховые расходы на содержание помещений (ЗПОМ) принимаем
равными 3% от стоимости здания:
ЗПОМ = 0,03 × 366100 =10983 руб.
Расходы на текущий ремонт здания (ЗТР.ЗД) обычно
составляют порядка 2% от стоимости здания:
ЗТР.ЗД = 0,02 × 366100= 7322 руб.
Затраты на содержание и ремонт инвентаря составляют 7% от его стоимости
ЗИНВ = 0,07 × 6543,2 = 458,2 руб.
Затраты на охрану труда принимаем равными из расчета 100 руб. на одного
работающего - ЗОХР.ТР.
ЗОХР.ТР = 100 × 3 = 300 руб.
Прочие расходы принимают 10% от суммы всех общецеховых расходов:
ЗПР.Р = 0,1 × ( ЗПОМ + ЗТР.ЗД +
ЗИНВ + ЗОХР.ТР )
ЗПР.Р = 0,1 × (10983+7322+458,2+300 ) =
1906,32 руб.
Таблица 4.5 Расходы
|
Статьи расходов
|
Обозначение
|
Сумма, руб
|
|
Затраты на заработная плату
|
ФЗПОБЩ.СОЦ
|
298804,98
|
|
Затраты на электроэнергию
|
Сэ.о.
|
82838,2
|
|
Затраты на воду
|
СВ
|
28965,45
|
|
Затраты на ремонт
оборудования
|
СР.ОБ
|
16358,0
|
|
Затраты на общая
амортизация
|
СА.ОБЩ
|
50242,2
|
|
Затраты на на содержание
помещений
|
ЗПОМ
|
10983,0
|
|
затраты на содержание и
ремонт инвентаря
|
ЗИНВ
|
458,2
|
|
Расходы на текущий ремонт
здания
|
ЗТР.ЗД
|
7322,0
|
|
Затраты на охрану труда
|
ЗОХР.ТР
|
300,0
|
|
Прочие расходы
|
ЗПР.Р
|
1906,32
|
|
Затраты на приобретение
здания
|
ЗАРН
|
366100,0
|
|
Стоимость оборудования
|
СОБ
|
327160,0
|
|
Стоимость инвентаря
|
СИНВ
|
6543,2
|
|
ВСЕГО
|
1197981,55
|
.6 Технико-экономические показатели
Себестоимость человеко-часа определяется по формуле:
S = Σ Cгод / ТУЧ
где: Cгод - затраты за год, руб;
ТУЧ - трудоемкость работ в год, чел.-ч.=1197981,55 / 1805,4=
663,55 руб.
В данном дипломном проекте принимаем рентабельность производства 10%. Для
того чтоб цены мастерской могли конкурировать с ценами на услуги других
мастерских, что благотворно сложиться на имидже и обеспеченностью клиентами
мастерской.
Цена трудозатрат:
Ц = 663,55 × 1,1 = 729,91 руб.
Выручка от производства услуг в цехе по ремонту шин рассчитывается
следующим образом:
Д = Ц × ТУЧ
Д = 729,91 × 1805,4 = 1317779,51 руб.
Цель проекта формулируется в виде величины годового экономического
эффекта вычисляемого по формуле:
Э = Д × КНДС - СГОД
где: Д - суммарная величина выручки;
КНДС - коэффициент учитывающий НДС;
СГОД - суммарные годовые затраты;
Э = 1317779,51 × 0,83 - 1197981,55 = -104224,56 руб.
Величина чистой прибыли определяется по формуле:
П = Э × КП
где: КП = 1,24 - коэффициент учитывающий налог на прибыль, при
отрицательном экономическом эффекте;
П = -104224,56 × 1,24 = -129238,45 руб.
Отрицательный экономический эффект означает, что по результату года
мастерская потребует еще капиталовложений в размере 129238,45 рублей, до
истечения срока окупаемости.
Таблица 4.6 Расчеты экономических показателей.
|
№
|
Показатели
|
Обозначения
|
Сумма расходов, руб.
|
|
1
|
Выручка от предоставляемых
услуг
|
Д
|
1557374,15
|
|
2
|
Затраты на производство
|
Сгод
|
1197981,55
|
|
3
|
Чистая прибыль от
реализации (до окончания срока окупаемости)
|
П
|
-129238,45
|
.7 Расчет финансово-экономических показателей
Срок окупаемости определяется по формуле:
Т = Сгод / ( Д × 0,83)
×0,76
Т =1197981,55 / (1317779,51 × 0,83 ) ×
0,76 = 1,44 года
Как было сказано ранее до окончания срока окупаемости предприятию
потребуется еще капиталовложения. Размер капиталовложений:
СДОП = Т × П
СДОП =1,44 × 129238,45 = 186103,37 руб.
Уточненный срок окупаемости составит:
Т = (Сгод + СДОП) / Д ×
0,83 ×0,76
Т =(1197981,55+186103,37)/(1317779,51×0,83×0,76)
= 1,67 года
Таблица 4.7 Технико-экономические и финансовые показатели.
|
Показатели
|
Единицы измерения
|
Значения в проекте
|
|
Годовая производственная
программа предприятия
|
чел.-ч.
|
1805,4
|
|
Минимальное количество
обслуживаемых машин в день
|
шт.
|
7
|
|
Количество производственных
рабочих
|
чел.
|
1
|
|
Средняя заработная плата за
месяц
|
руб.
|
19746,56
|
|
Выручка от предоставляемых
услуг
|
Д
|
1557374,15
|
|
Затраты на производство
|
Сгод
|
1197981,55
|
|
Срок окупаемости
капитальных вложений
|
лет
|
1,67
|
Производство по окупаемости получилось краткосрочное.
5. Безопасность и экологичность проекта
.1 Общие положения
БЕЗОПАСНОСТЬ ЖИЗНЕДЕЯТЕЛЬНОСТИ В ЦЕХЕ ПО РЕМОНТУ ШИН.
Безопасность жизнедеятельности (БЖД) - это теоретические основы
безопасности, приложенные к любому виду человеческой деятельности.
Безопасность жизнедеятельности тесно связана с такими науками, как
психология, экология, эргономика, экономика и другие.
Безопасность жизнедеятельности шире охраны труда, которая рассматривает
вопросы создания безопасных условий труда. Безопасность жизнедеятельности
рассматривает не только опасности на производстве и защиту от них, но и
особенности самого человека, возможные его ошибочные действия.
Вопросы безопасности жизнедеятельности, экологии и охраны труда в данном
дипломном проекте рассматриваться в цехе по ремонту шин легковых и грузовых
автомобилей, где будет расположен стенд по балансировке, а также шиномонтажный
стенд.
Цель безопасности - обеспечением безопасности является выявление причин,
влияющих на появление нежелательных событий и разработке предупредительных
мероприятий, снижающих вероятность их появления.
При проектировании шиномонтажного цеха должны учитываться следующие
требования безопасности:
технологическое оборудование должно иметь фундамент с
акустическими разрывами, которые заполняются пористыми материалами (шлаком или
керамзитом) - снижение распространение звука;
проектируется водяная система отопления;
пол участка ремонта изготавливается из асфальтобетонного
покрытия, устойчивого на воздействие смазочных веществ, кислот и щелочей;
строительным конструкциям придают матовую или полуматовую
фактуру окраски;
предусматривается защитное заземление источников питания
оборудования;
эвакуационные пути в случае пожара - не должно быть выступающих
конструктивных элементов; двери должны открываться по направлению выхода;
размер дверного проема должен быть не менее 1,9 метра в высоту, ширина
коридоров - в зависимости от общей численности рабочих;
наличие на участке средств защиты персонала при монтаже и
эксплуатации оборудования - средства индивидуальной и комплексной защиты;
наличие на участке средств пожаротушения.
Любые нововведения вызывают необходимость более тщательного рассмотрения
вопросов безопасности жизнедеятельности, экологии и охраны труда при работе на
технически сложном оборудовании.
Обеспечением безопасности возможно в случае предупреждения и разработке
мероприятий снижающих появление опасностей
Классификация опасностей на участках ремонта.
Классификация опасностей производится согласно принятому мировому
стандарту:
. По природе происхождения
Химическая опасность- воздействие на рабочих вредных веществ при
проведении процессов, связанных с работой на данном участке - это раздражающие
и канцерогенные вещества, проникающие в организм через органы дыхания и кожный
покров.
Физическая - работа, связанная с применением сложного оборудования -
шиномонтажного и балансировочного стендов; физический труд, связанный с
разбортировкой шин. Это может быть опасность от воздействия механического
инструмента и приспособлений, таких как, например, домкрат , которая может
обернуться ушибами, порезами и другими травмами. Также источники физической
опасности - это производственный шум от работы оборудования, вибрация от
работающих стендов, ультразвук, недостаточная освещённость при выходе из строя
части ламп освещения участка.
. По времени проявления
Импульсные опасности. Это мгновенные опасности, связанные с травмами при
работе с диагностическим инструментом, оборудованием стендов, поражение
электрическим током
Кумулятивные опасности. Это опасности, связанные с постепенным их
накоплением. К ним относят: усталость, плохая атмосфера в коллективе; возможные
низкие температуры в холодное время года.
. По вызываемым последствиям
Утомления, вызываемые усталостью от монотонной работы на стендах участка,
плохой атмосферой в коллективе и так далее.
Заболевания, вызываемые неудовлетворительными метеорологическими
условиями труда в зимнее время
Травмы, получаемые при регулировке , при поражении электрическим током и
так далее.
. По приносимому ущербу
Социальный ущерб - связанный, например, с выполнением монотонной работы
на участке.
Технологические ущерб - связанный с нарушением технологического процесса
выполнения работ, например, при поломке оборудования.
. По характеру воздействия
Активные - это опасности, возникающие при работе на стендах и
механизированном инструменте: травмы, ушибы, порезы.
Пассивные - это опасность поражения электрическим током при плохом
заземлении и занулении, нарушении изоляции.
На рабочего воздействуют следующие вредные и опасные факторы:
- вредные вещества, не удалённые в атмосферу пары масла, воды, клея,
неорганической пыли;
- электрическая энергия неисправного силового электрооборудования,
силовых щитов;
- шум и вибрация при работе не отрегулированных, неисправных стендов;
- механическая энергия движущихся частей стенда, опасное расположение на
стенде;
- метеоусловия производственной среды при неисправном отоплении;
- плохое освещение при неработающих лампах дневного света
Наиболее опасными являются факторы 1, 2, 3, 4, так как они могут вызвать
травму, то есть мгновенно вывести человека из работоспособного состояния. Так
же все эти факторы могут привести к появлению опасного фактора
психофизиологического состояния человека (особенности профессиональной
подготовки, переутомление и т.д.)
Рассмотрим все вредные вышеперечисленные и опасные факторы, которые имеют
место при работе шиномонтажного цеха:
) Воздействие вредных веществ. При работе на участке рабочий подвержен
воздействию вредных веществ. Это пыль, вредные пары масла и клея. Вредные
вещества, проникая в организм человека через кожу, слизистые оболочки,
дыхательные пути, оказывают на него вредное воздействие Постоянное действие
этих вредных веществ приводит к хроническим заболеваниям. Средствами защиты
являются эффективные и заведомо исправные вентиляционные и фильтрационные
системы, регулярная влажная уборка стенда, предотвращающая появление пыли.
Основным нормативным документом по защите рабочих от вредных веществ,
находящихся в воздухе производственной зоны, является ГОСТ 12.1.005-88
) Воздействие электричества. При работе стендов участка широко
используется электрическая энергия (220 и 380 Вольт), что влечёт за собой риск
поражения электрическим током и приводит к необходимости уделять внимание
борьбе с электрическим травматизмом.
Основными нормативными документами по защите от поражения электрическим
током являются:
. Правила устройства электроустановок (ПУЭ-98)
. Государственные стандарты (ГОСТ 12.1.009 - 90, ГОСТ 12.2.007.3 - 90,
ГОСТ 12.4.011-90)
Мероприятия по предупреждению воздействия электрической энергии:
v периодическая проверка исправности работы механизмов и систем подъемников
(стендов), состояния электропроводки;
v организация ограждений в виде шкафов для защиты рабочих от механизмов
подъемников (стендов), находящихся под высоким напряжением;
v использование инструмента с рукояткой из изолирующего материала согласно
ГОСТ-12.1.051-90
v обязательное использование на оборудовании защитного заземления и
зануления, спецодежда с электроизоляцией
) Воздействие шума и вибраций. Шум и вибрация при работе стендов
возникает вследствие работы роликовых или цепных агрегатов, особенно
изношенных; при работе вентиляционной системы.
Основным нормативным документом по защите от шума является ГОСТ
12.1.003-83* ССБТ « Шум. Общие требования безопасности »
Параметры вибрации нормирует ГОСТ 12.1.012 - 90 ССБТ. «Вибрация. Общие
требования безопасности»
Мероприятия по предупреждению шума и вибраций: использование специальных
фундаментов под роликовыми агрегатами стендов и виброплощадками; установка
электродвигателей в системах удаления выхлопных газов на виброоснования.
) Воздействие механической энергии. Так как объём работ, выполняемых на
стендах вручную невелик, то опасность в данном случае представляет собой
травматизм, возникающий при неправильном использовании автоматического
оборудования, нарушении инструкций по пользованию стендами и несоблюдении
техники безопасности. При работе с оборудованием стенда у человека могут
возникнуть неблагоприятные последствия (ушибы, растяжения, получение травм и
так далее). Каждый рабочий должен сам следить за безопасностью своих действий.
Меры безопасности: соблюдение правил безопасности при пользовании
стендами; обучение производственных рабочих безопасным условиям труда;
использование производственных рабочих соответствующей квалификации.
) Воздействие пневматической энергии на рабочих участка возможно при
работе компрессора. Компрессор работает постоянно в автономном режиме,
обеспечивая сжатым воздухом стенды. Давление в системе - до 5 атмосфер.
Необходимо опасаться внезапной разгерметизации пневмосистемы, грозящей
травмами, а также внезапного выхода из строя компрессора, иногда даже
сопровождающегося взрывом. Компрессор необходимо предоставлять для регулярной
проверки органам гостехнадзора города Олекминска, следить за давлением в
ресивере, отсутствием перегибов шлангов. Смазывать компрессор следует только
компрессорными маслами.
) Метеоусловия производственной среды. Согласно ГОСТ 12.1.005-91
предусмотрены следующие нормы создания рациональных метеорологических условий:
температура t° = 17 - 19 градусов, относительная влажность W = 40 - 60 %,
скорость движения воздуха VB = 0,3 м/с
Для обеспечения рациональных метеорологических условий в холодный период
времени участок, где находится стенд, отапливается; при въезде на участок
устанавливается тепловая завеса. В соответствии с ГОСТ 12.1.005-88 "Общих
санитарно-гигиенических требований" работы на подъемниках и стендах
относятся к категории II - физические работы средней тяжести.
) Освещение. Организация рационального освещения рабочего места является
одним из основных вопросов охраны труда. При неудовлетворительном освещении
зрительная способность снижается, и могут появляться близорукость, резь в
глазах, катаракта, головные боли. На участке технического обслуживания и
ремонта автомобилей используется комбинированное освещение, но доля
естественного света в нём невелика
Освещение должно быть достаточным для безопасности выполняемых работ на
стенде.
На участке присутствует освещение лампами накаливания.
Нормы искусственной освещенности для участка диагностики регламентируются
согласно СНиП 23-05-95.
Оценка степени риска:
При работе на стендах высока вероятность поражения электрическим током;
для её снижения следует проверять исправность механизмов и систем стендов
участка и своевременно устранять возникшие неполадки, своевременно проводить
техническое обслуживание стенда.
.2 Пожарная безопасность
Пожарная безопасность предусматривает обеспечение безопасности людей и
сохранение материальных ценностей предприятия на всех стадия его жизненного
цикла (научная разработка, проектирование, строительство и эксплуатация).
Основными системами пожаробезопасности являются системы предотвращения
пожара и противопожарной защиты, включая организационно-технические
мероприятия.
Обязательно проводится проверка силовых электроцепей на целостность
изоляции проводки, отсутствие оголённых или иным образом повреждённых проводов.
Железобетонные стены цеха по ремонту шин имеют предел огнестойкости не
менее 2,5 часов. Противопожарные двери изготавливаются из несгораемых или
трудносгораемых материалов с огнестойкостью 1,2 часа.
Для ликвидации возгорания на участке имеются огнетушители ОУ-2, ОУ-5,
ОУ-8 (в связи с имеющимся электрооборудованием применяют углекислотные
огнетушители), каждому стенду полагается один такой огнетушитель, подвешенный к
стене в непосредственной близости с ним. Предусмотрен внутренний
противопожарный водопровод с гидрантом.
Использованные обтирочные материалы складываются в металлические ящики с
крышками, и после окончания смены выносятся в безопасное в пожарном отношении
место.
.3 Экологическая безопасность
Для защиты окружающей среды в шиномонтажном цехе проводится сбор и
надлежащая утилизация отработанных жидкостей и материалов.
.4 Расчет заземления
Заземление в вечной мерзлоте
Известно,
что с уменьшением температуры - удельное сопротивление грунта
<#"810463.files/image056.gif">
Схема1 Зависимость удельного сопротивления грунта (суглинок) от его
температуры.
Для вечно мерзлого грунта, температура которого всегда составляет -3 -5
С°, характерно удельное сопротивление в 10-50 тысяч Ом*м.
Чтобы
достигнуть необходимого сопротивления заземления
<#"810463.files/image058.jpg">
где: R1 - сопротивление одиночного заземлителя/электрода (Ом)
Ки
- коэффициент использования
<#"810463.files/image059.gif">

Ом.
Заключение
При разработке данного проекта были проанализированы
технико-экономические показатели района проектирования и литературные
источники. На основе данных анализа предложен проект цеха ремонта
пневматических шин в г.Олекминске, который будет производить техническое
обслуживание и текущий ремонт пневматических шин, что позволит эксплуатировать
технику более длительное время. Рассмотрены основные технико-экономические показатели
района проектирования, приведена его краткая характеристика современного
состояния, климатические условия. В технологической части проекта произведен
расчет производственной программы по ТО и ТР, расчет штата работников,
оборудования и производственной площади.
В конструкторской части разработан тележка монтажно-транспортная для
разборки сборки и ремонта пневматических шин, которая позволяет экономить время
на ремонт, облегчает трудовой процесс при разборке и ремонте шин, улучшает
условия труда.
В экономической части приведены статьи затрат на организацию мастерской,
рассчитаны срок окупаемости, экономический эффект.
В разделе безопасность и экологичность проекта была предложена безопасная
организация работы на ремонтном предприятии и мероприятия по соблюдению и
предупреждению охраны природы, противопожарные мероприятия, а также произведен
расчет заземления мастерской.
Осуществление данного проекта принесет существенную прибыль т.к. для
функционирования автомобилей необходим периодическое техническое обслуживание и
ремонт пневматических шин. Мастерская будет обеспечен работой так как
количество автомобилей год от года увеличивается и количество владельцев
автомобилей не имеющих навыки по ТО и ремонту шин соответственно тоже.
Список использованной литературы
1.Боголюбов С. К. Инженерная графика: Учебник для средних специальных
учебных заведений. - 3-е изд., испр. И дополн. - М.: Машиностроение, 2004. - с.
352: ил.
2.
Алиев И. И.
Справочник по электротехнике и электрооборудованию: Учеб. Пособие для вузов. -
2-е изд., доп. - М.: Высш. шк., 2000. - 255 с, ил.
3.
Иванов А. А.
Справочник по электротехнике: Учебное пособие для средне-специальных учебных
заведений. - 2-е изд., перераб и доп. - М.: Высш. шк., 1973.-224 с, ил.
4.
Комплексная
система технического обслуживания и ремонта машин в сельском хозяйстве (часть
1). ГОСНИТИ, Москва.: - 1985.
5.
Техническое
обслуживание и ремонт машин / И.Е. Ульман, Г.С. Игнатьев, В.А. Борисенко и др.
- М.: Агропромиздат, 1990. - 399 с.
6.
Устюгов И. И.
Детали машин: Учеб. Пособие для учащихся техникумов. - 2-е изд., перераб и доп.
-М.: Высш. Школа, 1981. - 399 с, ил.
7.
Лёвочкин Н. И.
Охрана труда: Учебно-методическое пособие к расчётно-графическим работам для
студентов всех специальностей. - Красноярск: СТИ, 1993.-52 с.
8.
Дарков А.В.,
Шпиро Г.С. Сопротивление материалов: Учеб. Для. Техн. вузов - 5-е издание-М.:
Высшая школа. 1989. - 624 с.
9.
Корпачёв В.П.
Основы проектирования объёмного гидропривода: Учебное пособие. - Красноярск:
РИО КГТА, 1997. - 84 с.
10.
Осипов П.Е. Гидравлика,
гидравлические машины и гидропривод. Учебное пособие для вузов. 3-е изд.,
перераб. и доп. - М.: Лесная промышленность. 1981.-424 с.
11.
Курсовое и
дипломное проектирование по механизации сельского хозяйства / Водолазов Н.К. -
М.: Агропромиздат, 1991 - 335 с.
12.
Курсовое и
дипломное проектирование по ремонту машин / А.П. Смелов, И.С. Серый, И.П.
Удалов и др. -М.:Колос,1984. - 192 с.
13.
Напольский Г.М.
Технологическое проектирование автотранспортных предприятий и станций
технического обслуживания: Учебник для вузов. -М.: Транспорт, 1985.-231 с.
14.
Техническое
обслуживание и ремонт автомобилей: Пособие по дипломному проектированию. / Б.Н.
Суханов, И.О. Борзых, Ю.Ф. Бедарев. - М.: Транспорт, 1991. - 159 с: ил., табл.
15.
Положение о
техническом обслуживании и ремонте подвижного состава автомобильного транспорта
/ Министерство автомобильного транспорта РСФСР. -М.: Транспорт, 1986.-72 с.
16.
Типовые нормативы
времени на станочные, слесарные, сварочные и кузнечные работы в с/х. Изд.
2"е, перераб. и доп. -М.:, «Колос», 1977, 184 с.
17.
Матвеев В.А.,
Пустовалов И.И. Техническое нормирование ремонтных работ в сельском хозяйстве.
- М.:Колос, 1979. - 288 с.