Проектирование установки пневмоклассификатора
РЕФЕРАТ
пневмоклассификатор конструкция полочный
Пояснительная записка: с, рис., таблиц, приложение, источника.
Целью работы является исследование процесса разделения сыпучих материалов
и совершенствование конструкции полочного классификатора, определение влияния
конструктивных особенностей проточной части пневмоклассификатора на процесс
разделения; изучение эффективности разделения в классификаторе при различных
конструкциях полок; анализ зависимости между давлением в аппарате, скоростью и
размером фракции и эффективностью классификации, проведение исследований и
постановка экспериментов с выбранной проточной частью пневмоклассификатора.
Проведены экспериментальные исследования процесса разделения сыпучих
веществ на лабораторной установке по разделению смеси песка с массовым
соотношением 1:1 фракций -0,315+0,2 и -0,63+0,4; проведено компьютерное
моделирование процессов происходящих в аппарате.
Получены оптимальные технологические параметры для выделения отдельных
фракций в средней части аппарата при условии удовлетворительной очистки от
крупных и пылевидных частиц.
Новизной данной работы является возможность разделения сыпучих материалов
в одном аппарате на две и более фракции с высокой степенью разделения.
Данную установку можно использовать в химическом и строительном
производствах, а также сельском хозяйстве.
Ключевые слова: АППАРАТ, ПНЕВМОКЛАССИФИКАТОР, УСТАНОВКА, ПОЛКИ,
РАЗДЕЛЕНИЕ, ОТСЕВ, ФРАКЦИЯ, УНОС, ПРОВАЛ, ДАВЛЕНИЕ,
СКОРОСТЬ, РАСЧЕТ.
ВВЕДЕНИЕ
Химическая, горнодобывающая, строительная и другие отрасли промышленности
часто используют в качестве исходного сырья
или конечного продукта дисперсные вещества, к фракционному составу которых
предъявляются высокие требования. Нередко и продукты получают в виде порошка,
крупнозернистого материала или гранул, качество которых существенно зависит от
их однородности. Разделить полидисперсный материал на узкие фракции с заданным
гранулометрическим составом можно путем проведения технологического процесса
называемого классификацией, область использования которого чрезвычайно широка.
Например, фракционирование гранулированных материалов применяется при получении
минеральных удобрений, удаление высокодисперсных частиц (обеспыливание) из
подсыпочного материала камер обжиговых печей используется при производстве
электродов, очистка и подготовка семян к посеву является важнейшей
технологической операцией в сельском хозяйстве. Высокая степень разделения при
осуществлении процессов классификации дисперсных материалов влияет не только на
расходные нормы сырья и его качество, но и определяет производительность и
эффективность работы других машин и аппаратов в технологической схеме, что в
конечном итоге сказывается на технико-экономических показателях всего
производства.
Задачи, на которые ориентировано проведение разделительных процессов в
различных отраслях промышленности, можно сформулировать следующим образом:
- удаление тонкодисперсных фракций и получение обеспыленых
продуктов;
- удаление крупных фракций и получение тонкодисперсного
продукта;
- выделение из сыпучего материала требуемой фракции по
граничному размеру частиц;
- выделение из полидисперсного материала более двух фракций с
заданным гранулометрическим составом.
Самыми распространенными методами в практике разделительных процессов
являются механический, гидравлический и пневматический, каждый из которых имеет
свою область применения.
Механический метод (грохочение) осуществляется путем рассева сыпучих
материалов по геометрическому признаку на фракции при помощи сит с определенным
размером отверстий. Данный метод применяется преимущественно для разделения частиц размерами
от нескольких сантиметров до миллиметра. Скорость и полнота разделения
полидисперсных смесей на фракции посредством грохочения падает при рассеве
материала, размер частиц которого менее одного миллиметра. Это объясняется
увеличением засоренности надрешеточного материала из-за уменьшения вероятности
попадания в отверстия сита частиц при значительной величине их пробега или
большой плотности слоя. Кроме этого, грохочение имеет ряд и других существенных
недостатков, таких как вибрация, шум, износ сеток, громоздкость, энергоемкость
и пылевыделения, вызванные переизмельчением материала и не герметичностью
оборудования.
Гидравлическая классификация базируется на различии скоростей осаждения
отдельных фракций разделяемой смеси в жидкости. Наибольшее распространение этот
метод нашел в горнодобывающей промышленности при обогащении полезных
ископаемых, тогда как в химической используется значительно реже. Это связано с
изменением физико-химических и технологических свойств обрабатываемого
материала при его увлажнении. Кроме того, при проведении гидравлической
классификации образуются большие объемы шламовых вод, требующие значительных
энергетических затрат на выделение твердой фазы и последующего обезвоживания
материала.
Пневматическая классификация основана па разнице скоростей витания частиц
различных фракций в потоке воздуха. Этот метод лишен многих недостатков,
свойственных механической и гидравлической классификации, и имеет определенные
преимущества. Так, в отличие от механической классификации в воздушном потоке
разделяют исходный материал на фракции по совокупности физико-механических
свойств частиц: размерам, форме, шероховатости поверхности и плотности. По
сравнению с гидравлической классификацией пневматический метод разделения
позволяет получать продукты в сухом виде, что снижает энергоемкость проводимых
технологических процессов. Эти отличительные признака способствуют
распространению пневматической классификации в различные отрасли
промышленности.
Основными способами пневматической классификации являются гравитационный
и центробежный, последний успешно используется при разделении тонко дисперсных
материалов по граничному размеру менее 0,1 мм. Гравитационная классификация
позволяет разделять смеси с частицами от 0,1 до 5 мм. наиболее часто
встречающихся в технологии производства минеральных удобрений, электродной,
пищевой, зерноперерабатывающей и других отраслях промышленности.
Теорию гравитационных процессов разделения разработали П. Риттингер и Р.
Ричардс и далее развили ее в своих работах Ф. Кайзер, Р. Ханкок, Г.О. Чечот,
П.В. Лященко, И.М. Верховский, И.Н. Плаксин, В.И. Классен Н.И. Виноградов, В.И. Ревнивиев и др.
Несомненный вклад в дальнейшее углубление теоретических основ воздушной
гравитационной классификации внесли М.Д. Барский, Е.В. Донат, Г.Л. Бабуха, А.Д.
Шрайбер, А.М. Кутепов, Н.М. Зверев, С.Г. Ушаков, В.Е. Мизонов, В.В. Гортинский,
А.Б. Демский и многие другие ученые.
В настоящее время, с учетом возросших требовании к качеству продуктов и
экономии сырьевых материалов, разработка новых принципов организации процесса
гравитационной пневмоклассификании, его теоретических основ и аппаратурного
оформления является актуальной проблемой.
М.Д. Барский принимая во внимание исследования немецкого ученого Ф.
Каизера, предложил новые принципы рациональной организации процесса
гравитационной классификации и разработал их физические основы. Основная суть
этих принципов заключается в переводе процесса на неустановившийся режим
движения потока воздуха, что достигается размещением внутри сепарационного
канала аппарата каскада контактных элементов. Перспективность каскадной
пневмоклассификации, организованной в объеме одного аппарата, подтверждена им
при использовании в качестве контактных элементов наклонных сплошных
пластинчатых полок.
С целью повышения эффективности процесса разделения сыпучих материалов и
расширения области его использования дальнейшее усовершенствование каскадных
пневмоклассификаторов идет в основном по пути создания новых контактных
элементов. Это, по-нашему мнению, вполне оправдано, так как конструкция
контактных элементов в значительной степени определяет структуру двухфазного
потока и механизм протекания процесса разделения в целом. От типа и количества
контактных элементов, представляющих собой своеобразные местные сопротивления
при движении восходящего воздушного потока, зависит также и энергоемкость
аппарата.
Однако на сегодня известны лишь отдельные работы, в которых предпринимают
попытки следовать тем или иным принципам разработки эффективных образцов
соответствующего оборудования. Отсутствие систематических исследований,
посвященных глубокому изучению особенностей и закономерностей процесса
пневмоклассификации, протекающего в таких аппаратах, которые позволили бы
провести сравнительный анализ новых конструкций контактных элементов и выявить
оптимальные области их использования, препятствует накоплению
экспериментального материала. Это, учитывая преимущество статистического
подхода к описанию сложного многофакторного процесса разделения частиц в
условиях каскадной пневмоклассификации, сдерживает получение новых углубленных
теоретических знаний, создание надежных инженерных методов расчета каскадных
пневмоклассификаторов и широкое их внедрение в различные отрасли
промышленности.
Целью настоящей работы является разработка научных основ и принципов
совершенствования процессов и аппарата пневмоклиссификации сыпучих
полидисперсных материалов.
Для достижения указанной цели поставлен и решен комплекс следующих задач:
1. Проведены исследования процесса в пневмоклассификаторах традиционных
конструкций: пустотелом (равновесном), с пластинчатыми сплошными и
перфорированными наклонными полками, в результате которых выявлены
гидродинамические особенности функционирования аппаратов и их влияние на
эффективность классификации полидисперсных материалов.
2. С учетом выявленных негативных гидродинамических эффектов в указанных
выше аппаратах разработаны научно обоснованные принципы конструирования
контактных элементов каскадных пневмоклассификаторов и осуществлена их
практическая реализация.
3. Проведена экспериментальная оценка и выявлен положительный эффект влияния
конструктивных инноваций на механизм работы контактных элементов, структуру
воздушного потока и характер распределения твердых частиц в сепарационной
камере пневмоклассификатора.
4. Проведен сравнительный анализ и определены области предпочтительного
технологического применения певмоклассификаторов с новыми конструкциями
контактных элементов.
5. Экспериментально установлены технологические и конструктивные
параметры процесса многокомпонентной пневмоклассификации полидисперсных
материалов, обеспечивающие высокую эффективность фракционирования в объеме
одного аппарата.
1.
МАТЕМАТИЧЕСКОЕ МОДЕЛИРОВАНИЕ И ОПТИМИЗАЦИЯ ПРОТОЧНОЙ ЧАСТИ ПНЕВМОКЛАССИФИКАТОРА
1.1
Создание 3D моделей пневмоклассификатора с различными видами полок
В данное время компьютерная техника позволяет решать сложные задачи,
которые ранее были не доступны или занимали очень продолжительное время. На
сегодняшний день производительности персонального компьютера или рабочих
станций хватает для проведения огромного количества вычислений за короткое
время. Программные комплексы и продукты для расчета, проектирования и
моделирования гидродинамических, теплообменных, массообменных и химических процессов
получают все большее распространение в проектных организациях, научных кругах и
предприятиях, которые проводят опыты и моделируют вышеперечисленные процессы.
Компьютерное моделирование в ближайшее время в полном объеме заменит
физическое моделирование. Уже сейчас заметно огромное стремление к виртуальному
моделированию, которое исключает расходы на изготовление металлоемких модельных
и опытно-промышленных образцов оборудования, экспериментальных стендов с
высокоточными и ценными контрольно-измерительными приборами и при условии
правильно составленной математической модели сводит погрешности эксперимента
практически к минимуму.
D модель пневматического классификатора создана с помощью системы
твердотелого моделирования КОМПАС-3D V13 (#"810446.files/image001.gif"> (1.6)
где k - турбулентная энергия, м2/с;
ε - скорость диссипации турбулентной
энергии, м2/с3.
(1.7)
где ρhyd - гидростатическая плотность, кг/м3;
g -
вектор силы веса, м/с2;
В - сила вращения (Кориолиса и центростремительная) в системе координат,
которая вращается, м/с2;
R -
силы изотропного и (или) анизотропного фильтра сопротивления, кг/(м2·с2).
Уравнение энергии [24]:
где h - энтальпия, м2/с2;
λ - коэффициент теплопроводности,
Вт/(м·К);
Cp - удельная теплоемкость, Дж/(кг·К);
Prt - турбулентное число Прандтля;
Q -
источник тепла анизотропного фильтра сопротивления, Вт/м3.
Модель турбулентной несжимаемой жидкости основывается на k-ε
модели турбулентности
[24]:
где εini - начальное значение турбулентной диссипации, м2/с3;
σk = 1, σε = 1, C1 = 1,44, C2 = 1,92 - значения параметров k-ε модели.
Динамика частиц (particles) [24]:
(1.11)
где хч - положение
частицы (вектор), м;ч - диаметр частицы, м;- масса частицы, кг;
ζf
- коэффициент сопротивления;
w -скорость частицы относительно несущей фазы, м/с.
Уравнение неразрывности для
несущей фазы:
(1.13)
где Qmass - источник массы за счет частиц, кг /(м3·с).
Процесс задания граничных
условий разбит на два этапа. На первом этапе необходимо описать граничные
условия, выбирая из списков тип и подтип граничного условия и, указывая
параметры, когда это необходимо. На втором этапе - установить описанные
граничные условия на определенных поверхностях. Задание параметров методов
расчета и физических параметров осуществляется вводом в папках Physical Parameters (Физические параметры) и Method
Parameters (Параметры метода). При создании нового варианта
автоматически вводятся параметры, большинство из которых уже имеют оптимальные
значения. В папке Physical Parameters (Физические параметры)
осуществляется также выбор свойств веществ, которые находятся в выбранной
подобласти (Воздух (Air)). Существует как возможность создания всех свойств
вручную (в том числе и с помощью уравнений или внешних функций), так и
загрузивши их с базы данных веществ. Задаются параметры скоростей и давлений,
температур, а также свойства материала, шероховатость стенки, и многое другое.
1.3
Визуализация результатов компьютерного моделирования
Визуализацию результатов расчета осуществлено с помощью постпроцессора.
Анализ может производиться как в процессе расчета, так и после его завершения.
Постпроцессор предоставляет большой выбор методов визуализации скалярных и
векторных переменных на различных геометрических объектах, а также позволяет
сохранить данные в файл для обработки другими средствами.
Смоделированные течения потока воздуха по пневмоклассификатору
визуализированы методами компьютерной графики в виде шаров пересечения вдоль
движения потока с заливками со значениями давления (рис. 1.1 - 1.4), модуля
скорости (рис. 1.5 - 1.8).
Выбор оптимальной проточной части классификатора, с целью формирования
потока, в котором будут образовываться стабильные крупномасштабные вихри,
является самой основной задачей моделирования. При создании этих вихрей можно
интенсифицировать инерционную составляющую процесса классификации. В
центральной части будут скапливаться мелкие частицы, которые будут уноситься в
выше лежащие зоны, на которые разделен аппарат. Крупные частицы, попадая в
вихри, подвергаются интенсивному рассредоточению по поперечному сечению, с
целью исключения образования агломератов.
Аппарат относится к высокоинтенсивным аппаратам, в которых твердая фаза
подвергается интенсивному воздействию. В них стоит задача в организации
локальной высокоскоростной струи. Данный аппарат является промежуточным вариантом
между полыми равновесными классификаторами и с кипящим слоем.

Рисунок 1.1 - Пневмоклассификатор с длинными сплошными полками. Заливка по значениям
динамического давления р, Па,



Рисунок 1.3 - Пневмоклассификатор с изогнутыми сплошными полками. Заливка
по значениям динамического давления р, Па,

Рисунок 1.4 - Пневмоклассификатор с изогнутыми вниз полками. Заливка по
значениям динамического давления р, Па

Рисунок 1.5 - Пневмоклассификатор с длинными сплошными полками. Изолинии
по значению модуля скорости v, м/с.

Рисунок 1.6 - Пневмоклассификатор с длинными перфарироваными полками.
Изолинии по значению модуля скорости v, м/с.

Рисунок 1.7 - Пневмоклассификатор с изогнутыми сплошными полками.
Изолинии по значению модуля скорости v, м/с

Рисунок 1.8 - Пневмоклассификатор с изогнутыми вниз полками. Заливка по
значению модуля скорости v, м/с
Оценивая результаты моделирования, мы видим, что самая активная зона
взаимодействия процесса происходит между нижней и верхней полками, что
позволяет избежать уноса мелкой фракции, и в нижней части сужение канала обеспечивает
перечистку крупных частиц от мелких.
Выводы:
. Оптимальной необходимо считать проточную часть классификатора с
потоком, в котором будут образовываться стабильные крупномасштабные вихри.
. Переход от прямых полок к изогнутым не способствует формированию
стабильного симметричного вихря из твердых частиц.
. Установка перфорированных полок позволяет уменьшить гидравлическое
сопротивление и выровнять профиль скоростей по сечению аппарата.
. При помощи компьютерного моделирования возможно определить характер
распределения скорости движения потока воздуха и распределения дисперсных
частиц в аппарате с разными видами полок.
. Визуализация результатов моделирования позволяет определить значения
гидродинамических параметров потока, геометрию зон пониженного давления и
вихреобразования.
. Для разработки методики расчета параметров процесса в
пневмоклассификаторе необходимо провести сравнительный анализ
расчетно-теоретических зависимостей, полученных при математическом
моделировании, результатов экспериментальных исследований и компьютерного
моделирования.
2.
СОВРЕМЕННЫЕ КОНСТРУКЦИИ КЛАССИФИКАТОРОВ ДЛЯ СЫПУЧИХ МАТЕРИАЛОВ
2.1
Пневмоклассификаторы гравитационные и псевдоожиженого слоя
Зернистые материалы разделяются преимущественно под действием
гравитационных и инерционных сил в восходящем потоке газа в гравитационных
пневмоклассификаторах.
Простейший из них (рис. 2.1), представляющий собой вертикальный канал, в
среднюю часть которого вводится полидисперсный материал. Этот классификатор не
нашел достаточно широкого применения, так как не всегда обеспечивает
достаточную производительность и четкость разделения.
В мелкую фракцию, выносимую потоком газа в циклон, из-за стесненных
условий и местной турбулизации потока струей вводимого материала, увлекается и
некоторая часть крупных частиц, скорость витания которых больше скорости
восходящего потока. В то же время нисходящий поток крупных частиц увлекает
через низ аппарата некоторое количество мелких, которые поток мог бы. вынести
из аппарата. Для повышения эффективности этих пневмоклассификаторов используют
разбрасыватели, которые разбрасывают вводимую в поток струю материала и
сравнительно равномерно распределяют его по сечению аппарата.
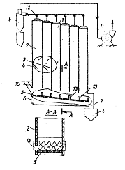
Рисунок 2.1 - Пневмоклассификатор со свободным сечением.
- бункеры; 2 - циклон; 3 - корпус; 4 - питатели; 5 - патрубок.
Дальнейшее развитие этих аппаратов представляют зигзагообразные аппараты
(рис. 2.2), в которых за счет поворота потока газа возникают центробежные силы
и начинается циркуляция частиц. Такие пневмоклассификаторы известны в
огнеупорной и абразивной промышленности как обеспылеватели. Отдельные варианты
этого аппарата с расширяющимся по высоте сечением позволяют отбирать несколько
фракций на разных его уровнях.
Проще в изготовлении аппараты, представляющие собой прямой вертикальный
канал прямоугольного сечения, в котором через две противоположные стороны
вводятся под углом к потоку сплошные полки.
Рисунок 2.2 - Зигзагообразный классификатор
Определенную четкость разделения обеспечивают аппараты, в которых в
вертикальном канале на специальных решетках создается псевдоожиженный слой.
Одним из ранних представителей этой группы аппаратов является модернизированный
аппарат Гоннеля, в котором введенный в поток высокодисперсный материал
последовательно проходит несколько цилиндров (рис. 2.3).
Диаметр каждого следующего цилиндра больше предыдущего. Все цилиндры
плавными переходами соединяются со стаканами, в нижнюю часть которых по
специальной трубке вводится газопылевой поток из предыдущего цилиндра, а в
первый - из тарельчатого питателя. В этих стаканах на газораспределительной
решетке, а в некоторых конструкциях и без нее, создается псевдоожиженный слой,
из которого потоком воздуха в следующий цилиндр выносятся высокодисперсные
частицы, скорость витания которых меньше скорости потока воздуха, создаваемой в
цилиндре. Из последнего цилиндра газопылевой поток поступает в фильтр, где
улавливаются наиболее мелкие частицы.
В каждом стакане постепенно накапливается материал с близкими по размерам
частицами (монофракциями), который периодически или непрерывно разгружается в
специальные емкости. Этот материал тем мельче, чем больше диаметр цилиндра,
присоединенного к стакану. Для повышения интенсивности псевдоожижения, а
соответственно и четкости разделения, в каждый стакан помещаются инертные
частицы (стеклянные или металлические шарики) размерами в несколько
миллиметров.
Рисунок 2.3 - Многотрубный пневмоклассификатор
- тарельчатый пневмопитатель; 2 - эжектор - смеситель; 3 - стакан с
псевдоожиженым слоем; 4 - цилиндры; 5 - емкости.
Более производительны колонные классификаторы, в которых псевдоожиженный
слой создается на нескольких установленных друг над другом газораспределительных
решетках различных конструкций.
В этих аппаратах для повышения интенсивности псевдоожижения
высокодисперсных частиц на определенных уровнях по высоте увеличивают скорость
восходящего потока путем уменьшения площади поперечного сечения. Это
достигается или выполнением корпуса аппарата в виде двух конусов (диффузоров),
соединенных плавным переходом (конфузором), или установкой в определенных
местах по высоте постепенно расширяющегося корпуса контактного элемента из
нескольких параллельно расположенных клиновидных элементов (рис. 2.4 и 2.5).
При этом площадь основания вышерасположенного конуса меньше, чем площадь
верхнего основания нижнего конуса. Место сужения устанавливается на таком
расстоянии от создаваемого внизу аппарата псевдоожиженного слоя, чтобы до него
не долетали крупные частицы. Мелкие же частицы, достигнув этого участка,
увеличивают свою скорость и выносятся в верхний конус. На решетках,
установленных за местом сужения в аппарате на рис 2.4, материал псевдоожижается
более интенсивно.
Рисунок 2.4 - Двухконусный пневмоклассификатор
Если материал содержит комки, вместо обычных перфорированных решеток
устанавливаются упомянутые выше параллельно расположенные обтекаемые
клиновидные элементы. Они, по сравнению с решетками, обладают меньшим
гидравлическим сопротивлением и не создают пульсации потока. Концентрация
частиц в возникающем над ними взвешенном слое меньше.
Рисунок 2.5 - Пневмоклассификатор с клиновидными элементами
Меняя расстояние между клиновидными элементами, удается выровнять
распределение скоростей потока и концентрации частиц по сечению аппарата. В
отличие от аппаратов с псевдоожиженными слоями над клиновидными решетками
отсутствует пульсация потока, что улучшает четкость классификации.
Второй особенностью этих аппаратов является дополнительная продувка
фракций, разгружаемых с каждого контакта в вертикальных трубопроводах или
усеченных пирамидах. Последние устанавливаются непосредственно над бункером,
через который подается воздух для этой продувки. В нижней части этих
трубопроводов или пирамид размещены перфорированные газораспределительные
решетки, наклонные или перфорированные пластины, которые, сужая сечение
трубопровода, повышают интенсивность воздействия воздуха с материалом. Верхняя
часть трубопроводов и пирамид остается свободной для стабилизации в ней потока,
поскольку его скорость влияет на размеры частиц, выносимых потоком газа в
основной сепаратор. На дополнительную продувку подается 5-10% воздуха от его
расхода через основной сепаратор.
Дальнейшее развитие пневмоклассификаторов привело к объединению в одной
конструкции различных их типов. Так, Кайзер, взяв за основу аппарат с
псевдоожиженным на наклонной газораспределительной решетке слоем частиц (пневможелоб),
разбил сепарационное пространство над ним на серию зигзагообразных каналов.
Игнатьев И.К., установив пластины, образующие зигзагообразные каналы, на
шарнирах, получил возможность регулировать расход воздуха в отдельных каналах.
Барский М.Д. [5] установил в сепарационном пространстве серию каналов с
полками, направленными навстречу потоку (рис. 2.6). Такое устройство каналов
исключает регулировку расхода воздуха по отдельным каналам, что, как указывает
сам автор [5], приводит к выносу через последние по ходу материала канала до 15
% крупнокристаллического продукта, который обеспыливается в этом аппарате.
Вращение двухфазного потока под большим числом полок приводит к значительным
затратам энергии и переизмельчению материала.
Описанные выше классификаторы, использующие гравитационные и инерционные
силы, не обеспечивают достаточно эффективного выделения фракций с частицами
мельче 30 - 50 мкм. Чтобы получить более мелкие фракции необходимо, как указано
выше, применять центробежные сепараторы или ротоклоны.
Рисунок 2.6 - Многокамерный пневмоклассификатор со сплошными полками.
В ротоклоне удается получить фракции с размерами частиц 10-20 мкм, а
наиболее мелкие частицы будут улавливаться в тканевом фильтре или другом пылеуловителе.
Четкость разделения зернистых материалов на фракции и производительность
устройств для пневмоклассификации существенно повышаются при сочетании
пневматической классификации с механической на виброгрохотах различной
конструкции. Механическая классификация превосходит пневматическую по четкости
и производительности, если размеры частиц материала превышают 700-1000 мкм.
Разделение на фракции или обеспыливание более мелких материалов посредством
только одной механической классификации приводит к быстрому забиванию ячеек
сит, что ухудшает качество продукта и снижает производительность грохотов.
.2
Полочные аппараты
Интенсивность контакта фаз можно повысить установкой в аппарате одной или
нескольких сплошных или перфорированных полок различных конструкций (рис. 2.2),
создающих местное увеличение скорости и турбулентности потока. Такие аппараты
применяют для обеспыливания, пневмоклассификации, теплообмена и сушки, а также
для перегрузки материала на более низкий уровень (течки). В последнем случае полки
замедляют скорость движения материала, который при падении инжектирует
некоторое количество воздуха. Обычно полки устанавливают каскадом на
противоположных сторонах аппарата. В некоторых конструкциях полки располагают с
одной стороны наклонного корпуса, а в других - с обеих сторон, друг против
друга.
Для устранения пылевыделения в месте разгрузки материала снизу вверх
просасывают некоторый объем воздуха, который уносит мелкие частицы. Для
уменьшения нежелательного уноса крупных частиц, вместе с мелкими, верхнюю часть
таких аппаратов иногда выполняют в виде диффузора, в котором для равномерного
распределения скоростей потока по сечению устанавливают выпрямляющие участки из
системы цилиндров, обтекаемые клиновидными элементами. Из верхней
(сепарационной) части иногда отбирают некоторое количество взвешенного
материала с помощью воронок или специальных отборников. При этом уменьшается
размер частиц, уносимых из пневмоклассификатора в пылеуловители. Отбор
некоторой части взвешенного материала осуществляют также с помощью полок,
направленных незакрепленным концом вверх. Выпавший при повороте потока материал
скатывается по такой полке к стенке корпуса аппарата и уходит из него по
наклонному патрубку на дополнительную продувку.
На рисунке 2.7 представлен пневматический классификатор сыпучих
материалов в восходящем потоке [6].
Пневматический классификатор включает в себя полый корпус 1, имеющий
наклонное перфорированное днище 2 с отверстиями 3 для прохода газового потока,
укрепленные внутри корпуса сепарационные элементы 4, установленные друг над
другом, образующие сепарационные шахты 5, загрузочный патрубок 6 для подачи
исходного материала, расположенный над верхней кромкой наклонного
перфорированного днища, патрубок вывода 7 крупного продукта, закрепленный в
нижней части корпуса патрубок 8 вывода газового потока с мелким продуктом. Под
каждой сепарационной шахтой 5, часть наклонного перфорированного днища 2
выполнена с выступом 9 в виде неправильной треугольной пирамиды с основанием 10
и вершиной 11, направленной в сторону наклона перфорированного днища 2, причем
хотя бы одна грань 12 (верхняя) пирамидального выступа 9 выполнена
перфорированной.
Рисунок 2.7 - Пневматический классификатор с восходящим потоком
Пневматический классификатор работает следующим образом:
Исходный материал через загрузочный патрубок 6 подается в полый корпус 1
на наклонное перфорированное днище 2 под первую сепарационную шахту 5, где
начинается процесс разделения. Под первой сепарационной шахтой 5 часть материала
поступает вверх, в ее внутреннюю полость, где разделяется на крупный и мелкий
продукты. Мелкий продукт выносится газом в патрубок 8 вывода газового потока с
мелким продуктом, крупная фракция опускается по наклонному перфорированному
днищу 2 к следующей сепарационной шахте 5. При движении по наклонному
перфорированному днищу 2 крупные частицы попадают на перфорированную
треугольную грань 12 пирамидального выступа 9. Двигаясь по ней, они продуваются
восходящим потоком воздуха и, поскольку вершина грани 12 направлена в сторону
наклона перфорированного днища, 2, крупные частицы пересыпаются на поверхность
наклонного перфорированного днища 2, имеющего большой уклон. Благодаря этому
крупные частицы приобретают большую скорость движения по наклонному перфорированному
днищу 2. Поскольку скорость движения крупных частиц по наклонному
перфорированному днищу 2 увеличена, то и их начальная скорость на
перфорированной грани следующего пирамидального выступа 9 будет больше, а
значит несмотря на то, что угол наклона перфорированной грани пирамидального
выступа 9 меньше, чем угол наклона перфорированного днища 2, по поверхности
грани выступа 9 крупные частицы пройдут за меньшее время и быстрее попадут на
наклонное перфорированное днище 2. Двигаясь таким образом, крупные частицы
будут приобретать более высокую скорость от элемента к элементу. Мелкие частицы
находятся в верхней части песевдоожиженного слоя и вероятность их попадания с
перфорированной грани пирамидального выступа 9 на наклонное перфорированное
днище 2 ниже, а вероятность выноса в сепарационную шахту 5 выше. Выше и
скорость их выноса из аппарата. Сечение аппарата представлено на рис. 2.8.
Таким образом, время прохождения перфорированного днища 2 крупными и
мелкими частицами сокращено, что позволяет поднять расходную концентрацию и
таким образом увеличить производительность. При этом качество разделения не
ухудшится, так как локальная концентрация на наклонном перфорированном днище 2
не повысится. Скорость движения приграничных классов частиц будет соответствовать
промежуточному значению между скоростью движения при угле наклона грани
пирамидального выступа 9 и угле наклона перфорированного днища 2, что обеспечит
качественное разделение материала при повышенных расходных концентрациях
(производительностях). После последней сепарационной шахты 5 крупные частицы
поступают в патрубок вывода 7 крупного продукта.
Основное отличие данного аппарата от других - с целью повышения качества
разделения и производительности работы под каждой сепарационной шахтой часть
перфорированного днища выполнена в виде выступа в форме неправильной
треугольной пирамиды с вершиной, направленной в сторону уклона перфорированного
днища, при чем по меньшей мере верхняя грань неправильной треугольной пирамиды
выполнена перфорированной.
Рисунок 2.8 - Пневматический классификатор с восходящим потоком
Пневматический классификатор [7] представленный на рисунке 2.9
предназначен для классификации полидисперсных сыпучих материалов и может быть
использован в промышленности стройматериалов, горно-обогатительной, химической,
и других отраслях промышленности.
Пневматический классификатор состоит из корпуса 1, который образован
нижней 2 и верхней 3 частями. В корпусе 1 установлены пакеты вертикальных
вставок 4, образующих вертикальные сепарационные каналы 5. К вертикальным
вставкам 4 прикреплены наклонные полки 6. Под вставками 4 установлены
разгрузочные полосы 7 V- образной формы. Между боковыми сторонами полос 7
имеются зазоры а, симметричные относительно вертикальной оси каждого
сепарационного канала 5. Величина зазора а может регулироваться. С этой целью
боковые стенки V-образных полос 7 могут быть соединены между собой «шарнирами».
Рисунок 2.9 - Пневматический классификатор
На верхней части 3 корпуса 1 размещен патрубок 8 отвода воздуха и
наиболее тонкого продукта разделения. В нижней части 2 вертикально
установлен патрубок 9 подвода воздуха, на котором крепится загрузочный патрубок
10 исходного материала. В нижней части 2 корпуса 1 установлены сборники 11
крупной фракции.
Полосы 7, установленные между стенками 12 и 13, своими внутренними
поверхностями совместно с пластинами 14 образуют каналы отвода продуктов
разделения. Пластины 14 установлены с наклоном к отверстиям в стенке 13, на
которой, охватывая эти отверстия, крепятся сборники 15 промежуточных фракций.
Вид сбоку представлен на рис. 2.10.
Пневматический классификатор работает следующим образом:
Рисунок 2.10 - Пневматический классификатор (вид сбоку)
При движении по сепарационным каналам из пылевоздушного потока выделяется
материал более крупных фракций, попадающих на пластины 14, установленные в
V-образных полосах, по которым через отверстия в стенке 13 поступает в сборник
15, промежуточных продуктов разделения. Более тонкие фракции с воздушным
потоком поступают в следующую секцию сепарационных каналов, где происходят
аналогичные процессы. Самый тонкий продукт с воздухом направляется через
патрубок 8 в пылеочистительную систему.
При работе классификатора с мельницей-вентилятором пылевоздушный поток от
мельницы непосредственно подается через патрубок 9, при этом патрубок 10
загрузки перекрыт.
Количество секций и сепарационных каналов в них определяется требуемым
количеством и величиной промежуточных фракций, а также производительностью
классификатора.
Основное отличие данного аппарата от других - с целью повышения
производительности и качества разделения за счет равномерного распределения
аэросмеси в сепарационных каналах, разгрузочные полосы установлены в
горизонтальной плоскости под вставками с возможностью образования зазоров,
симметричных относительно вертикальных осей сепарационных каналов, при этом
количество сепарационных каналов увеличивается в направлении движения
воздушного потока.
Пневматический классификатор [8] представленный на рисунке 2.11
предназначен для пневматической классификации различных сыпучих материалов в
восходящем потоке воздуха и для разделения материалов крупностью не более 10 мм
на два или несколько продуктов по граничному зерну 5 - 0,05 мм, а также для
фракционирования и обогащения сыпучих материалов в горной, металлургической,
химической ,строительной и других отраслях промышленности.
Пневматический классификатор включает корпус 1, вертикальные и боковые
стенки 2 и поперечные вставки 3, образующие сепарационные колонны с пересыпными
приспособлениями 4, установленную в нижней части корпуса наклонную
распределительную решетку 5, патрубок 6 для подвода воздуха, разгрузочные
устройства в виде патрубка 7, бункера 8 и циклона 9, загрузочный патрубок 10,
вентилятор 11, вентили 12 для регулировки скорости потока в колонках.
Рисунок 2.11 - Пневматический классификатор
Распределительная решетка 5 снабжена сменными перегородками 13,
выполненными из пластин, верхний обрез которых имеет волнообразную Форму.
Классификатор комплектуется набором волнообразных перегородок 13.
Классификатор работает следующим образом:
Исходный материал через загрузочный патрубок 10 подается на
распределительную решетку 5 классификатора. Воздух поступает снизу через
решетку 5 из патрубка 6, Таким образом, на решетке создается псевдоожиженый
слой материала. Материал провеивается на решетке при своем движении вниз. Часть
его (тонкие фракции) поступает (вдувается) в сепарационные колонки. Крупные
фракции, двигаясь вниз по решетке 5, многократно последовательно подвергаются
перечистке и через разгрузочный патрубок 7 поступают в бункер 8. Благодаря
наличию сменных перегородок 13, установленных на решетке 5, материал перед ними
тормозится, причем, поскольку верхний обрез пластин имеет волнообразную форму
крупные частицы проходят нарез впадины перегородок 13 и поступают на выгрузку.
Подбирая необходимое живое сечение сменных перегородок 13, добиваются
одинаковой концентрации материала по всей длине решетки 5. Таким образом,
благодаря установке перегородок 13, концентрация материала по всей длине
решетки одинакова. Регулирование скорости воздуха в колоннах осуществляется с
помощью вентилей 12. Тонкие фракции отделяются от воздуха в циклонах 9.
Благодаря тому, что концентрация материала и скорость воздушного потока
одинаковы по длине решетки и в каждой сепарационной колонке, процесс разделения
в них протекает эффективно, граница разделения поддерживается одинаковой и
постоянной, что обеспечивает более высокое качество разделения.
Основное отличие данного аппарата от других - с целью улучшения качества
разделения за счет равномерной концентрации материала по длине распределительной
решетки, последняя снабжена сменными перегородками, выполненными в виде
пластин, установленных на распределительной решетке под вертикальными вставками
и имеющих обращенный к ним обрез волнообразной формы.
Пневматический классификатор [9] представленный на рисунке 2.12
предназначен для пневматической классификации полидисперсных материалов и
использовано для фракционирования карбонатных отходов камнедобычи с равновесной
влажностью 7-14% с целью получения минеральной муки и заполнителей для бетонов.
Классификатор включает сужающуюся камеру 1 классификации, в верхней части
которой установлен загрузочный бункер 2 и питатель 3. Под питателем 3
расположено диспергирующее приспособление, выполненное в виде полок 4,
установленных на горизонтальных внецентренных осях 5 (т.е. смещенных
относительно центра тяжести полок 4) с возможностью поворота и фиксации.
Регулирующие полки 6 установлены с возможностью поворота.
Рисунок 2.12 - Пневматический классификатор
Под диспергирующим приспособлением 4 расположены разгрузочные бункеры для
сбора минеральной муки 7 и для сбора песка 8 с разделительной перегородкой 9, в
которой выполнено окно 10. Нижняя часть корпуса классификатора соединена с
разгрузочным бункером 11 для сбора щебня. Бункер 7 соединен с вентилятором 12 и
циклоном 13. Вентилятор 14 направлен в сторону бункера 7. Одна регулирующая
полка 6 установлена в окне 10 разделительной перегородки 9 и выполнена
квадратной, другая - на разделительной перегородке 9, остальные - между полками
4 и разделительной перегородкой 9. Механизм поворота полок 4 состоит из гайки
15, болта 16, эллипсовидного ограничителя 17 и рычага 18.
Классификатор работает следующим образом:
Перед началом работы классификатора положение полок 4 на оси 5 задается
следующим образом. Откручивается гайка 15 от болта 16. Поворачиваются
эллипсовидные ограничители 17 и фиксируются болтом 16 с гайкой 15, чтобы рычаг
18 мог поворачиваться на угол 2φ, где φ - угол наклона решеток в зависимости
от равновесной влажности карбонатных отходов камнедобычи.
Включают, питатель 3, и на все полки 4 насыпаются карбонатные отходы.
Затем включаются вентиляторы 12 и 14. Полки 4 под действием аэродинамического
напора и массы "скользящей" по ступенькам струи наклоняются на оптимальный
угол φ.
При образовании на полках 4 слипшихся комков материала, полка 4 под
действием своей силы тяжести поворачивается на угол слипшийся комок падает на
регулирующие полки 6 и разрушается. Одновременно происходит некоторое
подсушивание материала и выравнивание влажности материалов.
При нарушении равновесия на полках 6 они наклоняются на угол 2φ
и высыпают подсушенные
карбонатные частицы, которые падают в бункер 8, а мелкая фракция либо идет в
бункер 7 через окно 10 ,либо оседает на полке 6. Вентилятор 12 увлекает мелкие
частицы с полок 6 над бункером 7 и из зоны над полками 6. Мелкие частицы
оседают в бункере 7 и циклоне 13. Последний соединяется с двумя вентиляторами
12 и 14. Вентилятор 14 создает аэродинамическое давление на частицы и выносит
их в верхнюю часть слоя. Затем мелкие частицы, как более легкие, падают в
верхнюю часть камеры 1 и через полки 4 в бункер 7. Воздух в классификаторе
движется по замкнутой схеме, что исключает пылевыделение.
Основное отличие данного аппарата от других - регулируемая полка,
установленная в окне разделительной перегородки, выполнена квадратной.
Пневматический классификатор [10] представленный на рисунке 2.13
предназначен для воздушной классификации сыпучих материалов и может быть
использован в угольной, химической и других отраслях промышленности.
Пневмоклассификатор состоит из двух смежных пневмошахт: первичной 1 и
вторичной 2, В нижней части первичной пневмошахты расположены патрубки для
подачи исходного материала 3 и выхода крупного продукта 4, а также, штуцер 5 для
забора воздуха, подаваемого под перфорированную решетку 6.
Рисунок 2.13 - Пневматический классификатор
Нижняя часть пневмошахты 2 снабжена аналогичной релеткой 7, но
перекрывающей только часть сечения шахты, а также патрубками для выхода мелкого
продукта 8 и для забора воздуха 9. В верхней части пневмошахты находятся
направляющие козырьки 10 и штуцер 11 для отвода пылевоздушной смеси,
оборудованный жалюзями 12.
Корпус аппарата имеет прямоугольное сечение. Причем две противоположные
стенки каждой из пневмошахт имеют форму зигзага, а две другие стенки - плоские.
Зигзагообразные стенки установлены одна относительно другой таким образом» что
поперечное сечение каждой пневмошахты поочередно сужается и расширяется по высоте
аппарата. В расширениях пневмошахт 1 и 2 установлены двухскатные
перфорированные вставки 13 и 14, ориентированные вершиной скатов в сторону
загрузочного приспособления. Вставки 13 установлены с образованием зазора между
собой в вершине ската и закреплены с помощью шарниров 15. Скаты вставок 14
соединены между собой шарнирами 16, установленными на вертикальной оси
пневмошахты 2.
При выборе величины углов между скатами руководствуются требованиями к
дисперсному составу продуктов классификации, так как именением углов можно
регулировать время пребывания твердого материала в рабочей зоне классификатора,
а следовательно, и состав получаемых продуктов. Для интенсификации процесса
взаимодействия воздушного потока с зернистым материалом скаты вставок 13 и 14 выполнены
перфорированными, их живое сечение зависит от состава исходного продукта и
может изменяться от 10 до 30%.
Пневмоклассификатор работает следующим образом:
Исходный материал подается в патрубок 3 и попадает на наклонную
перфорированную полку. Двигаясь по ней, материал интенсивно продувается потоком
воздуха через перфорацию и уносится вверх. Грубые фракции (крупный продукт)
удаляются через патрубок 4. Остальной материал уносится потоком и проходит
последовательно несколько ступеней очистки, двигаясь от одной вставки к другой.
Частицы, попадающие в пространство между скатами вставок, проваливаются в
щелевой зазор и вновь участвуют в разделительном процессе. Изменяя величину
щелевого зазора, можно регулировать время пребывания частиц в рабочей зоне и эффективность
разделения в пневмошахте 1.
Пройдя последнюю ступень очистки, двухфазный поток попадает по
соединительному колену в пневмошахту 2. Последняя работает в режиме
противотока. Достигнув верхней вставки 16, материал расслаивается на два
потока, которые, ссыпаясь со скатов, 10 попадают на наклонные участки
зигзагообразных стенок. Двигаясь по ним к оси камеры, оба потока перемешиваются
и попадают на вставку и т.д.