Проектирование резервуарного парка нефтеперекачивающей станции

  • Вид работы:
    Контрольная работа
  • Предмет:
    Другое
  • Язык:
    Русский
    ,
    Формат файла:
    MS Word
    1,21 Мб
  • Опубликовано:
    2015-01-15
Вы можете узнать стоимость помощи в написании студенческой работы.
Помощь в написании работы, которую точно примут!

Проектирование резервуарного парка нефтеперекачивающей станции















Контрольная работа

Проектирование резервуарного парка нефтеперекачивающей станции

Содержание

1. Введение

. Проектирование резервуарного парка ГПС

2.1 Выбор магистрального насоса

2.2 Расчет допустимого кавитационного запаса

. Вопросы экологии при проектировании генерального плана

Заключение

Список использованных источников

насос нефтепровод резервуар нефтеперекачивающая станция

1. Введение

Головная нефтеперекачивающая станция - комплекс сооружений, расположенный в начале магистрального нефтепровода или его отдельного эксплуатационного участка и предназначенный для накопления и перекачки по трубопроводу нефти и нефтепродуктов.

В состав головной нефтеперекачивающей станции входят: насосные станции (основная и подпорная), резервуарный парк, сеть технологических трубопроводов, электроподстанция, котельная, объекты водоснабжения и канализации, подсобные и административные здания, культурно-бытовые объекты и др. Насосные станции оборудуют центробежными насосами с подачей до 12500 м3/ч. Количество насосов на основной станции 3-4, один из них - резервный. Соединение насосов, как правило, последовательное. В качестве привода преимущественно применяются электродвигатели мощностью до 8000 кВт. Насосы подпорной станции создают дополнительное давление на входе основных насосов, необходимое для их бескавитационной работы. Резервуарный парк головной нефтеперекачивающей станции включает металлические резервуары. Вместимость парка зависит от объёма перекачки, а при последовательном её характере от числа циклов. Технологические трубопроводы головной нефтеперекачивающей станции оборудуются переключающими, предохранительными и регулирующими устройствами, обеспечивающими приём нефти и нефтепродуктов, очистку их от механических примесей, замер и учёт их количества, защиту трубопроводов и резервуарного парка от повышения давления, регулирование давления на выходе станции, периодический запуск специальных устройств для очистки внутренней полости трубопровода. Схема технологических трубопроводов обеспечивает работу насосов в любых сочетаниях, а также возможность прямой, обратной и внутристанционной перекачки. Головная нефтеперекачивающая станция при последовательной перекачке нефтепродуктов оборудуется специальной лабораторией по контролю качества нефтепродуктов и приборами для быстрого и точного определения концентрации одного нефтепродукта в другом. Головная нефтеперекачивающая станция трубопровода, по которому перекачивают подогретые нефти, снабжается подогревательными устройствами (печами, теплообменниками). При сооружении магистральных трубопроводов применяются блочно-комплектные насосные станции, включающие набор отдельных блоков технологического, энергетического и вспомогательно-функционального назначения, а также общее укрытие для магистральных насосных агрегатов с узлами обвязки их трубопроводами и другими коммуникациями. Технологическое оборудование, аппаратура, контрольно-измерительные приборы размещаются в блок-боксах, монтажных блоках и блок-контейнерах, которые изготовляют и собирают в заводских условиях, а затем в готовом виде транспортируют к месту строительства.

2. Проектирование резервуарного парка ГПС

Резервуарные парки предназначены для размещения стальных вертикальных резервуаров с целью обеспечения нефтеперекачивающих станций необходимой емкостью.

Резервуарный парк размещают на более высоких отметках по отношению к остальным сооружениям производственной зоны. Резервуары размещают на площадке группами или поодиночке.

Общую вместимость группы наземных резервуаров, а также расстояние между стенками резервуаров, располагаемых в одной группе, определяют по таблице 1.1.

По периметру каждой группы наземных резервуаров необходимо предусматривать замкнутое земляное обвалование, рассчитанное на гидростатическое давление разлившейся жидкости, шириной по верху не менее 0,5 м или ограждающую стену из негорючих материалов. Высота обвалования или ограждающей стены должна быть на 0,2 м выше уровня расчетного объема разлившейся жидкости, но не менее 1 м для резервуаров номинальным объемом до 10 000 м3 и 1,5 м для резервуаров объемом 10 000 м3 и более.

В пределах одной группы наземных резервуаров внутренними земляными валами или ограждающими стенами следует отделять каждый резервуар объемом 20 000 м3 и более; несколько меньших резервуаров суммарной вместимостью 20 000 м3. В нашем случае имеем резервуары объёмом 20 000 м3 и соответственно каждый из них отделяется обвалованием в пределах одной группы.

Объем, образуемый между откосами обвалования должен быть равным:

- для отдельно стоящих резервуаров - полной емкости резервуара;

-        для группы резервуаров - емкости большего резервуара.

Таблица 1.1 - Допустимая общая вместимость группы резервуаров и минимальное расстояние между резервуарами, располагаемыми в одной группе

Резервуары

Единичный номинальный объем резервуаров, устанавливаемых в группе, м3

Вид хранимых нефти и нефтепродуктов

Допустимая общая номинальная вместимость группы, м3

Минимальное расстояние между резервуарами, располагаемыми в одной группе

С плавающей крышей

50000 и более

Независимо от вида жидкости

200 000

30 м


Менее 50000

То же

120 000

0,5 Д, но не более 30 м

С понтоном

50000

То же

200 000

30 м


Менее 50000

То же

120 000

0,65 Д, но не более 30 м

Со стационарной крышей

50000 и менее

Нефть и нефтепродукты с температурой вспышки выше

120 000

0,75 Д, но не более 30 м


50000 и менее

То же, с температурой вспышки 45 °С и ниже 45 °С

80 000

0,75 Д, но не более 30 м


Для перехода через обвалование или ограждающую стену должны быть предусмотрены лестницы-переходы шириной не менее 0,7 м в количестве четырех штук для группы резервуаров и не менее двух - для отдельно стоящих резервуаров.

Расстояние от стенок резервуаров до подошвы внутренних откосов обвалования или до ограждающих стен следует принимать равным:

не менее 3 м от резервуаров объемом до 10 000 м3;

6 м от резервуаров объемом 10 000 м3 и более.

Расстояние между стенками ближайших резервуаров, расположенных в соседних группах, должно быть: для наземных резервуаров номинальным объемом 20 000 м3 и более - 60 м; объемом до 20 000 м3 - 40 м; для подземных - 15 м.  Молниезащита резервуаров выполняется в целом для резервуарного парка отдельно стоящими молниеприемниками в соответствии с «Регламентом по проектированию и эксплуатации комплексной защиты резервуарных парков НПС и нефтебаз ОАО АК «Транснефть» от воздействия опасных факторов молнии, статического электричества и искрения».

Для обеспечения подъезда противопожарной техники вокруг обвалования каждой группы резервуаров выполняется кольцевой проезд с проезжей частью шириной, как минимум, 3,5 м, с асфальто-бетонным покрытием. [8]

Внутриплощадочные автодороги и проезды, подъезды к пожарным гидрантам и гребенкам для забора раствора пенообразователя, узлам для подключения передвижения передвижной пожарной техники, напорным узлам на территории НПС выполняются с твердым покрытием (асфальтовое, железобетонные плиты) и с устройством поребриков.

Проезды вокруг резервуаров и в технологической зоне проектируются приподнятыми над планировочным рельефом и служат ограждающим валом от перелива нефти и нефтепродуктов через обвалование резервуарного парка и случайных разливов нефти и нефтепродуктов.

Как правило, проезды имеют следующие технические параметры:

- ширина проезжей части - 4,5 м;

-        ширина обочины - 1,50 м;

         покрытие из двухслойного асфальтобетона толщиной - 0,11 м;

         щебенчатое основание толщиной - 0,16 м;

         с пропиткой битумом глубиной - 0,08 м;

Полезный объем резервуарного парка головной НПС принимают из расчета 2-3 суточных объемов перекачки магистрального нефтепровода.

В нашем случае суточный объем перекачки составляет:

м3/сут.

Необходимый максимальный объем резервуарного парка составляет:

Vр.п.max = 86782·3 = 260346 м3/сут.

Минимальный объем резервуарного парка:

Vр.п.min = 86782·2 = 173564 м3/сут.

Общий объем резервуарного парка составляет Vр.п. = 200000 м3, что составляет 2,3 суточного объема перекачки. Принимаем по конструктивным соображениям резервуары объемом Vр = 20000 м3. Количество резервуаров на НПС принимаем равным 10 шт.

2.1 Выбор магистрального насоса

В соответствии с проектным расходом, который составляет Qчас=86782/24=3616 м3/ч, подбираем насос типа НМ марки НМ 3600-230 с ротором на подачу 1,0Qном, при скорости вращения n=3000 об/мин (в количестве 3 основных, устанавливаемых на последовательную работу, и 1 резервного).

Насосы типа НМ - центробежные горизонтальные одноступенчатые с рабочим колесом двустороннего входа и двухзавитковым спиральным отводом. Входной и выходной патрубки расположены в нижней части корпуса и направлены в противоположные стороны, что обеспечивает удобный доступ ротору без отсоединения патрубков от технологических трубопроводов.

Корпус насоса литой имеет горизонтальный разъем. Всасывающий и напорный патрубки расположены горизонтально в нижней части корпуса, что позволяет разбирать насос без демонтажа основных трубопроводов. Ротор представляет собой самостоятельный узел; состоит из вала, рабочего колеса и втулок. Рабочее колесо - сварно-литое, двустороннего входа.

Опорами ротора служат подшипники скольжения с принудительной смазкой. Концевые уплотнения ротора - торцового типа, рассчитанные на давление до 25 кгс/см2.

Для расширения области применения насосов допускается изменение подачи и напора в пределах рабочей зоны, указанной на характеристиках насосов.

Технические характеристики насоса НМ 3600-230 с ротором на подачу 1,0Qном с диаметром рабочего колеса D2=405 мм приведены в таблице 2.1 и на рисунке 2.1. Устройство насоса типа НМ изображено на рисунке 2.2.

Таблица 2.1 - Технические характеристики насоса НМ 3600-230 с ротором на подачу 1,0Qном

Подача, м3

Напор, м

Скорость вращения, об/мин

Допустимый кавитационный запас (на воде), м

КПД (на воде), %

3600

230

3000

40

87


Рисунок 2.1 - Характеристика насоса НМ 3600-230

Рисунок 2.2 - Продольный разрез одноступенчатого насоса типа «НМ» с рабочим колесом двустороннего входа жидкости.

Горизонтальный разъем корпуса между нижней 1 и верхней 4 его частями уплотнен прокладками. Ротор насоса состоит из вала 3, рабочего колеса 7, защитных втулок 5 и 6.

Двусторонний подвод жидкости к рабочему колесу и двухзавитковый спиральный отвод обеспечивает уравновешивание гидравлических осевых и радиальных сил, действующих на ротор.

Опорами ротора служат подшипники скольжения 8 с жидкой принудительной смазкой (под давлением) от маслоустановки агрегатов. Остаточное осевое усилие ротора воспринимают два упорных подшипника 9.

Рабочее колесо литое, одностороннего входа. Направляющий аппарат - литой. Для обеспечения бескавитационной работы насоса устанавливается литое предвключенное колесо.

Осевое усилие ротора уравновешено разгрузочным диском.

Концевые уплотнения ротора - механические торцевые. Опоры ротора - подшипники скольжения с кольцевой смазкой и водяным охлаждением.

Крышки всасывания и напорная стягиваются стяжными шпильками, образуя вместе с секциями корпус насоса.

Насос и электродвигатель, соединенные муфтой, устанавливают на отдельных фундаментных рамах.

Направление вращения вала - по часовой стрелке, если смотреть со стороны электродвигателя.

2.2 Расчет допустимого кавитационного запаса

Для нормальной работы насоса необходимо, чтобы допустимый кавитационный запас насоса при работе на нефти Δhдоп.н. превышал кавитационный запасна входе в насос Δh.

Допустимый кавитационный запас насоса НМ 3600-230 при работе на воде составляет Δhдоп.в. =40 м.

Пересчитаем допустимый кавитационный запас насоса при работе на нефти Δhдоп.н.:

Δhдоп.н. = Δhдоп.в. - Ак(Δht - Δhv),(2.1)

где Ак = 1,25 -коэффициент запаса;

Δht, Δhv - поправки на температуру и вязкость перекачиваемой жидкости.


где ωвх - скорость жидкости во всасывающем патрубке насоса;

ξвх - коэффициент сопротивления на входе в насос.

Вычислим число Рейнольдса:

где dвх =512 мм - диаметр входного патрубка насоса [4]

n =3000 - число оборотов вала;

ν - кинематический коэффициент вязкости.

При Re>9330 коэффициент сопротивления на входе в насос принимается равным ξвх = 1.


где Q - номинальная подача насоса.


По формуле (2.3):


Отсюда допустимый кавитационный запас насоса при пересчете на нефть: Δhдоп.н. = 40- 1,25(0,89 - 1,20) =40,38 м.

Вычислим кавитационный запас на входе в насос:


где p2 = pатм - давление в начале всасывающего участка.


Поскольку Δh< Δhдоп.н., то требуется установка подпорных насосов.

Подпорные вертикальные насосы типа НПВ - центробежные вертикальные одноступенчатые (рисунок 1.5).

Насосы располагаются в вертикальном колодце. Входной и выходной патрубки насоса направлены в противоположные стороны, расположены горизонтально. Входной патрубок присоединяется к технологическим трубопроводом сваркой, напорный - с помощью фланцев

Рабочее колесо двустороннего входа. Насосы укомплектованы электродвигателем взрывозащищенного исполнения серии ВАОВ (вертикальный асинхронный обдуваемый). Роторы насоса и электродвигателя соединены втулочно-пальцевой муфтой.


Таблица 2.2 - Технические характеристики насоса НПВ 3600-90

Подача, м3

Напор, м

Скорость вращения, об/мин

Допустимый кавитационный запас (на воде), м

КПД (на воде), %

Номинальная мощность привода, кВт

3600

90

1500

4,8

84

1250


Рисунок 2.3 - Характеристика НПВ 3600-90

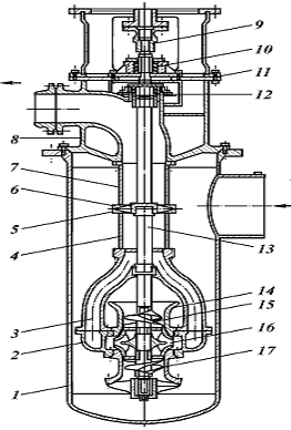
Рисунок 2.4 - Поперечный разрез вертикального подпорного насоса

Конструктивно этот насос, расположенный в нижний части стакана 1, сходен с насосом НМП. Он также имеет рабочее колесо 16, предвключенные колеса 15, 17, вал 13, спиральный корпус. Нагнетательные патрубки 3, подводы 14, 18.

На верхний фланец фонаря 11 устанавливается электродвигатель, соединяемый с помощью муфты с валом насоса. Нефть входит в стакан по всасывающему патрубку 21, выходит по напорным патрубкам 4,7. Весь вал вращается на подшипниках скольжения 6, 19, опираясь на крестовины 20, 5. Напорные патрубки конструктивно переходят в напорную крышку 8.

Подшипник 10 радиально-упорный. Он воспринимает нагрузку от вала двигателя. В месте выхода вала 13 из напорной крышки устанавливаются торцевые уплотнения 12. Стакан 1 герметичный, он эксплуатируется под абсолютным давлением 0,05 - 0,1 МПа. Эти насосы допускают как последовательную, так и параллельную схему. Кавитационный запас насосов НПВ в пределах 2 - 5 м.

3. Вопросы экологии при разработке генерального плана

НПС должны размещаться на удаленной от населенных пунктов и промышленных предприятий площадке, огражденной тремя видами ограждений: основными (высотой не менее 2,5 м), дополнительными и предупредительными.

При размещении станций у рек или водоемов высотные отметки площадки НПС должны быть не менее чем на 0,5 м выше расчетного горизонта высоких вод. За расчетный горизонт воды принимают наивысший ее уровень за 100 лет. Нефтеперекачивающие станции, сооружаемые вблизи рек, размещают ниже ближайших населенных пунктов.

НПС с резервуарными парками должны размещаться не менее чем в
100 м ниже (по течению реки) пристаней, речных вокзалов, гидроэлектростанций и гидротехнических сооружений.

При невозможности расположения складов ниже по течению реки допускается размещать их выше по течению реки от указанных объектов на расстоянии: для складов I категории - 3000 м, для II категории - 2000 м, для III - 1500 м от гидроэлектростанций, судостроительных и судоремонтных заводов и  1000 м от всех остальных объектов.

Вертикальную планировку площадки НПС производят с учетом следующих требований:

1)   должны быть созданы нормальные условия всасывания насосов (подпорная насосная должна быть ниже, чем резервуарный парк);

2)   трубопроводы должны быть проложены с уклоном, исключающим образование скоплений жидкости;

3)   здания и сооружения производственного блока следует располагать ниже по рельефу по отношению к зданиям т сооружениям других зон;

4)   объем земляных работ для изменения существующего рельефа должен быть минимальным.

При горизонтальной планировке должны быть выполнены следующие условия:

1)   площадь застройки должна быть минимальной;

2)   минимально допустимые расстояния между объектами должны приниматься с учетом требований пожарной безопасности;

3)   наиболее пожароопасные объекты должны быть размещены с учетом «розы ветров» (ветер не должен дуть с котельной на резервуарный парк).

Заключение

Необходимо отметить, что именно нефтеперекачивающие станции играют главную роль в процессе транспортировки нефти и нефтепродуктов по трубопроводам.

Основная задача головной нефтеперекачивающей станции - создание напора в начале трубопровода с целью обеспечения дальнейшей перекачки транспортируемой нефти. При дальнейшей работе ПНПС “из насоса в насос” (т.е режиме, при котором конец предыдущего участка нефтепровода подключен непосредственно к линии всасывания насосов следующей НПС) промежуточные НПС не имеют резервуарных парков; в других случаях, когда перекачка ведется через резервуары (или с подключенными резервуарами) или на ПНПС на границе эксплуатационных участков такие парки имеются.

В ходе работы над данным проектом была спроектирована головная нефтеперекачивающая станция.

В результате разработан генеральный план и подобрано соответствующее оборудование.

Графическая часть состоит из генерального плана НПС.

Список использованных источников

1.Коннова, Г.В. Оборудование транспорта и хранения нефти и газа: Учебное пособие для вузов / Г.В. Коннова. - Ростов-на-Дону.: Феникс, 2006 - 128 с.

.Коршак, А.А. Нефтеперекачивающие станции / А.А. Коршак, Л.П. Новоселова. - Уфа: ДизайнПолиграфСервис, 2008. - 384 с.

.Коршак, А.А. Основы нефтегазового дела / А.А. Коршак, А.М. Шаммазов. - Уфа.: ООО «ДизайнПолиграфСервис», 2005. - 528 с.

.Типовые расчеты при проектировании и эксплуатации нефтебаз и нефтепроводов / П.И. Тугунов, В.Ф. Новоселов, А.А. Коршак, А.М. Шаммазов. - Уфа: ДизайнПолиграфСервис, 2002. - 658 с.

.Трубопроводный транспорт нефти / Г.Г. Васильев, Г.Е. Коробков, А.А. Коршак и др.; Под редакцией С.М. Вайнштока: Учебник для вузов: В 2 т. - М.: ООО «Недра-Бизнесцентр», 2002. - Т.1. - 407 с.

.Шаммазов, А.М. Проектирование и эксплуатация насосных и компрессорных станций / А.М. Шаммазов, В.Н. Александров, А.И. Гольянов, Г.Е. Коробков, Б.Н. Мастобаев. - М.: ООО «Недра-Бизнесцентр», 2003. - 404 с.

.Центробежные нефтяные магистральные и подпорные насосы: Каталог / Под редакцией Б.Л. Молчадской. - М.: ЦИНТИХИМНЕФТЕМАШ, 1981. - 18 с.

.СНИП 2.11.03-93 «Склады нефти и нефтепродуктов. Противопожарные нормы.»

Похожие работы на - Проектирование резервуарного парка нефтеперекачивающей станции

 

Не нашли материал для своей работы?
Поможем написать уникальную работу
Без плагиата!
Без нейросетей!